Title: Dictionnaire raisonné de l'architecture française du XIe au XVIe siècle - Tome 5 - (D - E- F)
Author: Eugène-Emmanuel Viollet-le-Duc
Release date: December 28, 2009 [eBook #30785]
Language: French
Other information and formats: www.gutenberg.org/ebooks/30785
Credits: Produced by Michel Laglasse, Rénald Lévesque and the Online
Distributed Proofreaders Europe at http://dp.rastko.net.


PARIS
B. BANCE, ÉDITEUR
RUE BONAPARTE, 13.
MDCCCLXI

DAIS, s. m. C'est le nom que l'on donne à des pierres saillantes, plus
ou moins ornées de sculptures, qui sont destinées à couvrir des statues
à l'extérieur et même à l'intérieur des édifices religieux et civils du
moyen âge. Les artistes de cette époque ne trouvaient pas qu'il fût
convenable d'adosser une figure de saint ou de personnage célèbre à un
mur, sans préserver sa tête de la pluie ou de la poussière par une sorte
de petit auvent tenant à la construction. Ce n'est guère qu'à dater du
XIIe siècle, cependant, que les dais furent, presque sans exception,
placés au-dessus des statues extérieures. Quelquefois, à cette époque,
comme par exemple sur la face du porche de l'église de Moissac, les dais
ne sont qu'une assise basse, une dalle taillée sur ses faces en forme
d'arcades (1). Néanmoins, on voit dans des monuments du XIIe siècle des
dais richement décorés déjà et qui figurent de petits monuments
suspendus au-dessus des statues. L'église du Saint-Sauveur de Dinan, des
deux côtés du portail, nous montre deux dais, importants comme masse et
délicatement travaillés, qui couvrent des figures de saints. Taillés
dans un granit friable, ils sont malheureusement très-altérés par le
temps. Quelquefois les statues étant adossées à des colonnes, les dais
tiennent également à leur fût. Alors la colonne, la statue, son support
et le dais sont taillés dans un seul morceau de pierre. Au portail royal
de la cathédrale de Chartres on remarque, suspendus sur la tête des
figures du XIIe siècle qui décorent les trois portes, plusieurs dais
d'un beau style; nous donnons ici (2) l'un d'eux.

Les dais nous fournissent souvent des motifs variés de couronnements d'édifices, c'est-à-dire certaines parties de ces édifices qui sont presque toujours détruites ou modifiées. Il est à remarquer, même pendant les XIIe et XIIIe siècles, que ces petits modèles reproduisent généralement des exemples d'édifices antérieurs à l'époque où les dais ont été sculptés. Ce fait peut être observé au-dessus des statues de la porte centrale du portail occidental de la cathédrale de Paris (3). Ces dais figurent encore des coupoles, des combles plats comme on n'en faisait plus alors dans cette partie de la France.
Les dais qui protégent les statues du XIIe siècle et du commencement du XIIIe, placées dans les ébrasements des portails, sont taillés sur un modèle différent. Chaque statue possède son cul-de-lampe et son dais particuliers. Cependant il est à cette règle une exception fort remarquable à la porte de la Vierge de la façade occidentale de Notre-Dame de Paris. Les statues qui décorent les deux ébrasements de cette porte sont surmontées d'une série de dais tous pareils qui forment au-dessus de la tête de ces statues un abri d'un style peu commun. La sculpture de la porte de la Vierge est, d'ailleurs, empreinte d'un caractère original, et nous ne connaissons rien de cette époque (1215 à 1220) qui puisse lui être comparé comme grandeur de composition et comme beauté d'exécution. Voici (4) comment sont disposés ces dais formant une sorte d'entablement au-dessus des chapiteaux des colonnettes placées entre et derrière les statues, et ne se confondant pas avec ces chapiteaux mêmes, ainsi que cela se pratiquait alors.

Les monuments religieux de la Bourgogne sont presque tous dépouillés de leurs statues extérieures. Dans cette province, la révolution du dernier siècle a mutilé les églises avec plus d'acharnement que dans l'Île-de-France et les provinces de l'Ouest. Jetant bas les statues, la rage des iconoclastes n'a pas respecté davantage ce qui les accompagnait, et les sculptures des portails ont été non-seulement brisées, mais coupées au ras des murs, ainsi qu'on peut le voir à Semur, à Beaune, à Notre-Dame de Dijon. Le peu de dais qui restent du commencement du XIIIe siècle, dans cette province, font regretter qu'on les ait presque partout détruits, car ces rares exemples sont admirablement composés et sculptés. On en jugera par l'exemple que nous donnons ici (5), et qui provient du portail de la petite église de Saint-Père-sous-Vézelay. Ce dais était peint comme toute la sculpture du portail. La statue était adossée à la colonnette A, dont le chapiteau est pénétré par le dais.

À cette époque déjà, les dais bourguignons sont surmontés d'édicules en forme de pyramide ou de tour, posés sur l'assise engagée dans la bâtisse. Cette superfétation ne se trouve que plus tard dans les édifices de l'Île-de-France et de la Champagne.
Vers le milieu du XIIIe siècle, au moment où l'architecture devient plus délicate, l'ornementation plus fine, les dais sont souvent d'une extrême richesse de sculpture; alors ce sont de petits châteaux couronnés de tours crénelées, avec leur donjon. À l'intérieur de la Sainte-Chapelle de Paris, au-dessus des douze apôtres adossés aux piliers, on voit des dais crénelés dont les tourelles sont percées de fenêtres remplies de verres bleus ou rouges. Mais les dais les plus remarquables, en ce genre, que nous connaissions, existent au-dessus des figures de la porte du nord de la cathédrale de Bordeaux (6) 1.

Jusqu'à cette époque, ainsi que nous l'avons fait remarquer tout à l'heure, les dais d'une même ordonnance de statues juxtaposées sont variés dans leur forme et leur dimension; mais, à dater du milieu du XIIIe siècle, les dais d'une même rangée de figures sont habituellement semblables et forment une ceinture d'arcatures uniformes, ainsi qu'on le peut voir au portail occidental de la cathédrale de Reims (7); cependant ils ne sont pas encore surmontés de hautes pyramides, si ce n'est en Bourgogne, où l'on voit déjà, au milieu du XIIIe siècle, quelques dais terminés en façons de pinacles ou clochetons.

Pendant le XIVe siècle les dais prennent beaucoup d'importance, se couvrent de détails, sont taillés en forme de petites voûtes précieusement travaillées; quelquefois, dans les ébrasements des portails, sous les porches, ils figurent une arcature saillante découpée, portée de distance en distance sur des pilettes très-déliées, entre lesquelles sont alors posées les figures. On voit des pinacles ainsi disposés sous le porche occidental non-terminé de l'église Saint-Urbain de Troyes (8), sous le porche de l'église de Semur en Auxois. Alors, au lieu de poser sur des culs-de-lampe, les statues sont debout, sur une saillie continue A, recevant les pilettes B, figure 8; elles s'abritent ainsi sous une galerie profonde, peuvent prendre des mouvements variés, se toucher, faire partie d'une même scène, comme l'Adoration des Mages, la Présentation au temple, le Baptême de Jésus-Christ, etc. Cette disposition nouvelle se prêtait au sentiment dramatique que cherchait déjà la statuaire à cette époque.

Au-dessus des statues isolées, posées soit à l'intérieur, soit à l'extérieur des édifices, au XIVe siècle, les dais sont généralement surmontés de riches pyramides à jour qui n'offrent rien de particulier et ressemblent à toutes les terminaisons des clochetons d'alors (voyez PINACLE).
Sans changer notablement les formes de ces dais du XIVe siècle, le XVe siècle ne fait que les exagérer; les dais se voient encore dans l'architecture du XVIe siècle au-dessus des figures; ils sont refouillés à l'excès, couverts de détails sans nombre: tels sont ceux du portail de la cathédrale de Tours, ceux de l'église de Saint-Michel de Dijon. Il paraît inutile de donner des exemples de ces derniers détails qui sont entre les mains de tout le monde. Les stalles en bois des choeurs des églises étaient surmontées de dais qui préservaient les religieux du froid. Ces dais ont une grande importance comme ouvrage de menuiserie (voyez STALLE). Quelquefois des statues assises du Christ ou de la sainte Vierge, dépendant de retables ou posées dans les tympans des portails ou même des pignons d'églises, sont sculptées sous un dais porté sur des colonnes, disposé comme un cyborium. Ces sortes de couronnements accompagnant des figures sacrées méritent toute l'attention des artistes, car ils fournissent des exemples de ces décorations intérieures de sanctuaires, détruites en France, aujourd'hui, sans exception. Un retable fort curieux, du commencement du XIIe siècle, et qui fut, il y a quelques années, l'objet d'un procès entre l'État et un conseil de fabrique qui avait vendu cet objet à un marchand de curiosités (procès gagné par l'État, et à la suite duquel le bas-relief fut réintégré dans l'église de Carrières-Saint-Denis, près Paris), se compose de trois sujets: d'une Annonciation, d'un Baptême de Jésus-Christ, et, au centre, d'une figure assise de la Vierge tenant l'Enfant sur ses genoux. La Vierge est surmontée d'un dais figurant la Jérusalem céleste, porté sur deux colonnes (9).

À la cathédrale de Chartres, dans le tympan de la porte de droite du portail royal, on voit aussi une Vierge dans la même attitude, surmontée d'un dais. À la cathédrale de Paris, la porte Sainte-Anne présente au sommet de son tympan un dais magnifique protégeant la statue assise de la Mère de Dieu. L'article ARCHE d'alliance, du Dictionnaire, donne un dessin du dais posé au-dessus de la statue adossée au trumeau de la porte de la Vierge (même édifice).
DALLAGE, s. m. De tout temps et dans tous les pays on a employé, pour revêtir les aires des rez-de-chaussées, soit dans les édifices publics, soit dans les habitations particulières, des pierres plates, dures, polies, jointives, sans ordre ou avec symétrie. La plupart des carrières de pierres calcaires possèdent des bancs supérieurs minces, d'une contexture compacte, propres à ce genre de pavage. Les Romains avaient employé comme dallages des matières précieuses telles que le marbre, le porphyre, le granit, le jaspe même, et cela avec une prodigalité singulière. Il existe encore quelques-uns de ces dallages qui se font remarquer par la grande et simple ordonnance du dessin et la beauté des matières employées: tels sont les dallages du Panthéon de Rome, de la basilique du Forum de Trajan. Les architectes du moyen âge ne possédaient pas, comme les Romains, ces matières précieuses, et les eussent-ils possédées, qu'ils n'avaient plus les facilités pour les tailler en grands morceaux et les polir. Lorsqu'ils voulurent décorer les aires des édifices, ils adoptèrent donc des moyens plus simples et surtout moins dispendieux. Dès l'époque byzantine les Grecs avaient essayé de décorer les surfaces planes, verticales ou horizontales de leurs monuments au moyen d'incrustations de marbres de couleur ou de mastics colorés dans des plaques de marbre blanc ou de pierre calcaire. On obtenait ainsi des dessins d'une grande richesse, très-variés et très-fins, avec des matières faciles à se procurer; ce n'était plus qu'une affaire de main-d'oeuvre. Ces procédés furent employés en France dès le XIIe siècle, et peut-être même avant cette époque, bien que les exemples nous manquent absolument. Grégoire de Tours parle de pavages d'églises d'une grande magnificence; mais il est à croire que ces dallages étaient faits conformément aux procédés antiques, peut-être même avec des débris de monuments romains, ou se composaient de grossières mosaïques comme on en trouve encore un si grand nombre sur la surface de la France (voyez MOSAÏQUE).
Pendant le moyen âge, en France, la mosaïque ne fut employée que très-rarement, et ces sortes de pavages, composés de petits morceaux de pierres dures formant des entrelacs, connus sous le nom d'opus Alexandrinum, si communs en Italie et en Sicile, ne se rencontrent qu'exceptionnellement; encore sont-ils évidemment importés d'Italie. On voit de ces pavages dans le sanctuaire de l'église abbatiale de Westminster, à Londres, et dans celui de l'église de Saint-Benoît-sur-Loire. Cette importation ne fut point imitée par nos architectes clercs ou laïques. Ceux-ci adoptèrent de préférence les dallages en pierre calcaire dure; et lorsqu'ils voulurent les décorer, ils gravèrent des dessins sur leur surface, qu'ils remplirent de plomb, ou de mastics colorés en noir, en vert, en rouge, en brun, en bleu clair ou sombre. Deux causes contribuèrent à détruire ces dallages: d'abord le passage fréquent des fidèles qui usaient leur surface avec leurs chaussures, puis l'usage admis généralement, à dater du XIIIe siècle, d'enterrer les clercs et même les laïques sous le pavé des églises. Ainsi beaucoup de dallages anciens furent enlevés pour faire place à des pierres tombales qui, à leur tour, composaient une riche décoration obtenue par les mêmes procédés de gravures et d'incrustations (voy. TOMBES).

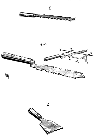
Les plus anciens fragments de dallages gravés que nous possédions proviennent de l'église de Saint-Menoux, près Moulins. Ces fragments (1 et 1 bis) datent du XIIe siècle; ils sont en pierre blanche incrustée d'un mastic résineux noir. Le morceau de dallage (fig. 1) formait le fond; celui (fig. 1 bis), la bordure.

Les nombreux fragments de dallages gravés et incrustés que l'on voit encore dans l'ancienne cathédrale de Saint-Omer, et qui ont été publiés par M. E. Wallet 2, nous présentent le spécimen le plus complet de ces sortes d'ouvrages qui, autrefois, décoraient l'aire des choeurs et des chapelles absidales des principales églises de France. Ces fragments appartiennent évidemment à diverses époques 3; déplacés aujourd'hui, ils faisaient originairement partie des dallages du choeur et de plusieurs chapelles, et ne furent pas tous exécutés à la fois. Conformément à la méthode employée dans la sculpture du moyen âge, chaque dalle, sauf quelques exceptions, inscrit un dessin complet, et l'ensemble de la composition était obtenu au moyen de la juxtaposition de ces dalles. Ainsi le dallage était travaillé et terminé à l'atelier avant la pose. Les dessins sont très-variés; plusieurs de ces dalles, qui appartiennent à la fin de la première moitié du XIIIe siècle, représentent des guerriers à cheval, couverts seulement de l'écu et tenant un pennon à leurs armes. Quelques inscriptions se lisent encore autour des figures et indiquent que ce pavage a été fait au moyen de dons, chaque dalle ayant été donnée par le personnage représenté.
Voici (2) l'une de ces pierres gravées, autour de laquelle on lit cette inscription:
+ EGIDIUS FILIUS FULCONIS DE SANCTA ALDEGUNDE DEDIT ISTUM LAPIDEM IN HONORE BEATI AUDOMARI.

Les fonds sont bruns ainsi que l'inscription, et les traits de la figure et du cheval sont rouges. D'autres plaques de pierre provenant de la même décoration composée d'une réunion de carrés représentent des figures grotesques, des ornements, des personnages assis sur un trône. Une suite de dalles d'une dimension plus petite, et qui paraissent appartenir au commencement du XIIIe siècle, représentent les Arts libéraux, un zodiaque avec les travaux de l'année 4. Une troisième série nombreuse de petits carreaux de pierre renferme un nombre considérable d'animaux fantastiques et d'ornements d'un beau caractère dont le dessin remonte à la fin du XIIe siècle ou au commencement du XIIIe. M. E. Wallet 5 a essayé de reconstituer les compositions d'ensemble de ces dalles, et il les sépare au moyen de bandes formées de petits carreaux de marbre noir. Nous ne pensons pas que cette restauration puisse être admise, d'abord parce que, dans les dallages gravés dont nous possédons des ensembles encore existants, comme ceux de Saint-Nicaise de Reims, de Saint-Denis et de Canterbury, on ne trouve rien qui justifie cette hypothèse; puis, parce qu'en exécution le contraste de ces bandes pleines avec ces dessins déliés produit le plus fâcheux effet, ainsi que nous avons été à même de le reconnaître. Les bandes pleines, noires ou rouge sombre, se marient parfaitement avec les carrelages en terres cuites émaillées (voy. CARRELAGE) dont les tons sont vifs et brillants et qui sont de même matière que ces bandes; mais cette harmonie ne peut exister entre des pierres dont les fines gravures sont remplies de mastics colorés et des carreaux de marbre noir dont l'aspect est toujours dur et froid. Les bandes de carreaux noirs détruisent absolument l'effet des gravures. À défaut d'un grand nombre de monuments existants, nous possédons les dessins de feu Percier sur l'église abbatiale de Saint-Denis; ces dessins nous donnent une quantité de dallages composés de pierres gravées, et aucun de ces dallages ne présente de ces bordures ou encadrements de pierres de couleur; il est certain, au contraire, que les architectes ont voulu obtenir dans leurs dallages cette harmonie tranquille des tapis qui convient si bien à une surface horizontale faite pour marcher. Il est déplaisant de poser les pieds sur un pavé dont les tons violents font croire à des saillies et des creux; les artistes des XIIe et XIIIe siècles avaient assez l'instinct des effets de coloration dans les édifices, pour éviter ces défauts avec soin.
Les dallages gravés qui décoraient l'aire de plusieurs des chapelles absidales de l'église abbatiale de Saint-Denis en France étaient fort beaux. Ils existent encore en partie, ont été rétablis à leur ancienne place, ou sont reproduits dans l'Album de feu Percier.

Nous donnons ici (3) une portion du dallage de la chapelle Sainte-Osmane. La marche de l'autel, dont notre planche laisse voir une portion en A, représente les quatre Vertus, avec un encadrement d'ornements très-délicats composés de quatre-feuilles contenant des animaux fantastiques.
Autour de cette marche, relevée de 0,14 c. au-dessus du pavé de la chapelle, se développent des sujets dans des médaillons circulaires représentant les travaux et plaisirs des douze mois de l'année (voy. ZODIAQUE). Cet encadrement, relevé par des fonds noirs, se détache sur un fond plus simple composé de grands quatre-feuilles avec rosettes, entre lesquels sont gravés des animaux symboliques, des chasses entremêlées de feuillages. Une fine bordure B encadre l'ensemble de cette composition. On remarquera combien l'aspect décoratif de ce riche dallage est délicat, sans être confus; l'artiste a eu le soin de faire les ornements de la marche de l'autel sur une échelle beaucoup plus petite que ceux du fond du dallage, afin de donner à cette marche relevée quelque chose de particulièrement précieux. À distance, le dessin général se comprend, et de près il attire les yeux par la combinaison gracieuse des gravures, qui sont toutes remplies de mastic noir. Quelquefois, comme dans la chapelle de Saint-Pérégrin de la même église, le dallage se compose d'un dessin uniforme entouré d'une bordure ou d'une inscription (4).

Ce dallage, dont nous donnons ci-contre un fragment au quart de l'exécution, est de même en liais. Le fond des fleurs de lis est noir, le fond des rosaces vert olive, les rosettes rouges ainsi que l'inscription; de petits cubes de verre dorés incrustés en A égayent l'ensemble de la coloration un peu sombre 6.
Les dessins des dallages de Saint-Denis sont d'une grande pureté; les figures sont tracées de main de maître et d'un style très-remarquable. Tous ces dallages appartiennent aux restaurations commandées par saint Louis dans l'ancienne abbatiale; c'est dire qu'ils datent du milieu du XIIIe siècle. Les gravures sont faites dans du liais (cliquart) fort dur, intaillées de cinq millimètres environ et remplies de mastics noir, rouge, vert sombre, bleu glauque et brun. Par places sont incrustées des plaques de verre coloré ou blanc verdâtre, peint et doré par-dessous en manière de fixés, ou encore de ces petits cubes de pâte dorée comme dans la figure précédente. Quelques-uns de ces beaux dallages ont été réparés et remis en place; leur effet est celui produit par un tapis d'un ton très-doux et harmonieux.

Il existe encore, dans l'église de Saint-Remy de Reims, une portion du dallage qui autrefois couvrait l'aire du choeur de l'église de Saint-Nicaise de la même ville. Ce dallage date des premières années du XIVe siècle et représente des scènes de l'Ancien Testament, inscrites dans des compartiments carrés (5). Chaque dalle porte un sujet, et celui que nous avons choisi figure Moïse, Aaron et Hur, pendant la bataille livrée par Israël contre Amalech 7. Là les traits gravés sont remplis de plomb sans autre coloration. Il n'est pas besoin de dire que ces sortes de dallages coûtaient fort cher, et qu'on ne pouvait les placer que dans des églises riches, dans les sanctuaires et quelques chapelles privilégiées. Souvent on se contentait de dallages unis ou composés de carreaux noirs et blancs. Alors les dessins sont variés, les carreaux à l'échelle du monument et généralement de petite dimension.

La cathédrale d'Amiens conserve encore presque tout son dallage du XIIIe siècle, qui ne consiste qu'en petites dalles carrées de 0,32 c. (un pied) de côté, noires et blanches, formant à chaque travée un dessin différent. Voici (6) une de ces combinaisons. Pour juger de l'effet de ce dallage, fort détérioré aujourd'hui, il faut monter dans les galeries et le regarder de haut et à distance; les compartiments sont très-heureusement combinés; dans la nef, ils étaient interrompus par un grand labyrinthe également formé de carreaux noirs et blancs (voy. LABYRINTHE). Ces dallages, d'une date ancienne, sont assez peu communs. On en trouve des débris d'une époque plus récente dans beaucoup de petites églises trop pauvres pour avoir pu remplacer ces anciens pavés.

L'église d'Orbais (Marne) possède un dallage du XVe siècle (7), composé de petits carreaux de marbre noir de 0,14 c. de côté et de dalles barlongues blanches posées de façon à figurer une sorte de natte d'un bon effet. Ces dessins, si simples qu'ils soient, ne sont jamais vulgaires. Les dallages étaient employés non-seulement dans les édifices publics, mais aussi dans les habitations privées. La plupart des grand'salles des châteaux, des évêchés, des hôtels de ville étaient pavées en grandes dalles de pierre dure. Souvent même, dans les châteaux, ces dallages étaient décorés d'incrustations de pierres de couleur ou de mastics, ou encore les dalles alternaient avec les stucs peints.
Dans un compte de la construction du château de Bellver, dans l'île Mayorque 8, il est question des pavages de cette habitation seigneuriale, «faits de stucs composés de chaux vive, de plâtre et de grandes pierres mélangées de couleur; le tout si bien poli qu'on eût pu croire ces aires composées de marbre et de porphyre.» Les anciens avaient compris l'importance des pavages comme moyen de décorer les intérieurs des édifices, et le moyen âge ne fit que suivre et perpétuer cette tradition. En effet, il faut avoir perdu le sens décoratif, dirons-nous, pour souffrir, dans un intérieur décoré de sculptures, de peintures et de vitraux colorés, des dallages gris, uniformes de ton, qui, par la surface étendue qu'ils occupent, prennent une valeur telle que toute ornementation des parements, si riche qu'elle soit, est détruite, ou tout au moins refroidie. Les dallages colorés sont une des plus splendides et plaisantes décorations qu'on puisse imaginer. En France comme en Italie, le moyen âge ne manqua jamais d'employer cette sorte de décoration trop rarement appliquée aujourd'hui 9.
Note 3: (retour) M. Vitet, dans un rapport au ministre de l'intérieur (1830), regarde ces dalles comme appartenant à la fin du XIIe siècle. M. Hermand ne les croit pas antérieures à 1260. Le fait est qu'elles n'appartiennent pas toutes à la même époque; quelques-unes de ces dalles ont tous les caractères du dessin du commencement du XIIIe siècle; d'autres sont plus récentes.
Note 9: (retour) Ce n'est que depuis le dernier siècle que l'on a cessé d'employer les dallages colorés dans les édifices, et, sous Louis XIV encore, de magnifiques pavages ont été exécutés; nous citerons entre autres ceux de la grande chapelle de Fontainebleau et du choeur de la cathédrale de Paris: ce dernier est un chef-d'oeuvre. Il est restauré et replacé.
DALLAGE employé comme couverture. Lorsqu'on eut l'idée de remplacer les charpentes qui couvraient les salles et les vaisseaux par des voûtes, on pensa d'abord à protéger l'extrados de ces voûtes par des dalles ou de grandes tuiles posées à bain de mortier; ce système de couverture s'appliquait parfaitement d'ailleurs sur les voûtes en berceau plein cintre ou composées d'arcs brisés. Dans le midi de la France, en Provence, sur les bords du Rhône et dans le Centre, on voit encore des nefs d'église dont les voûtes sont ainsi couvertes par des dalles superposées (8).

Mais on reconnut bientôt que, si bien exécutés que fussent ces dallages, et si bonnes que fussent les pierres employées, ces pierres cependant, par l'effet de la capillarité, absorbaient une grande quantité d'eau et maintenaient sur les voûtes une humidité permanente; on reconnut aussi que, du moment que les dalles étaient isolées de l'extrados, l'effet de la capillarité cessait, ou du moins que l'humidité ne se communiquait plus aux voûtes. On songea donc, vers le commencement du XIIIe siècle, à poser les dallages sur des arcs au-dessus des voûtes, de manière à laisser l'air circuler entre le dessous des dalles et l'extrados des voûtes, et à combiner ces dallages de manière à éviter autant que possible les joints découverts. Les constructeurs reconnurent aussi que les dallages ayant une pente assez faible, il était nécessaire d'activer l'écoulement des eaux pluviales sur leur surface pour éviter les détériorations de la pierre sur laquelle la pluie ne s'écoule pas rapidement. En conséquence, ils eurent le soin de tailler la surface extérieure des dalles en forme de cuvette (9).

Par ce moyen, l'eau réunie au milieu de chaque dalle se trouvait former un volume assez considérable pour produire un écoulement rapide, même pendant ces pluies fines qui, bien plus que les ondées, pénètrent et détruisent les matériaux calcaires. Les joints de ces sortes de dallages n'étaient pas assez relevés cependant pour ne pas être baignés pendant les averses; on donna donc bientôt un profil décidé aux rebords des dalles, afin de relever entièrement le joint et ne plus l'exposer qu'aux gouttes d'eau tombant directement du ciel. C'est ainsi que sont exécutés les dallages des terrasses de la cathédrale de Paris posés sur des arcs et complétement isolés des voûtes (10). Ces grandes dalles sont encore légèrement creusées en canal dans leur milieu, afin de précipiter l'écoulement des eaux en formant dans ces milieux de petits ruisseaux. En outre, le recouvrement A de chaque dalle est taillé en mouchette, ainsi que l'indique le profil A', pour éviter que les eaux en bavant sur les bords ne viennent, par l'effet de la capillarité ou d'un vent violent, à remonter dans le lit E.
Les dallages des terrasses de Notre-Dame de Paris reposent (comme le fait voir notre fig. 10) sur des pannes en pierre dure B, portées sur des arcs bandés de distance en distance et suivant la projection horizontale donnée par les arcs des voûtes, afin de ne pas multiplier les poussées. Au sommet et à l'extrémité inférieure de la pente, les dalles s'appuient sur le chéneau D et sur une assise saillante C incrustée dans le mur.

Un ouvrier s'introduisant sous ces dallages, au moyen de trappes ménagées à cet effet et percées ainsi que l'indique le tracé G, on peut surveiller ces voûtes, les réparer, les reconstruire même à couvert, s'assurer de l'état des joints des dalles, enlever celles-ci et les remplacer facilement si elles viennent à se détériorer. Certes, l'apparence extérieure de l'architecture demande chez l'architecte un goût sûr, une parfaite connaissance des ressources de son art; mais ces soins apportés dans la combinaison des parties de la construction qui contribuent essentiellement à la conservation des édifices et à leur facile entretien ne sauraient trop être recommandés, car c'est à cette attention dans les moindres détails que l'on reconnaît le véritable maître de l'oeuvre, celui dont l'esprit embrasse à la fois et les conceptions d'ensemble et l'organisation intime de l'édifice qu'il construit. Sous ce rapport, il faut avouer, encore cette fois, que nous avons beaucoup à prendre à ces artistes méconnus des siècles passés.

On trouve aussi des exemples de dallages dont la combinaison est moins simple, mais est plus propre encore à éviter l'entretien, en ce qu'aucun joint n'est découvert. Ce sont des dallages combinés à peu près comme l'étaient les couvertures en marbre ou en terre cuite des édifices grecs de l'antiquité. Des arcs légers (11) sont espacés de façon à recevoir des rangs de dalles creuses superposées; sur les rangées de dalles servant de canal sont posés d'autres rangs de dalles formant un recouvrement complet, comme le fait voir le profil A. Dans ces sortes de dallages, il n'est besoin nulle part de mastic ou de mortier pour calfeutrer les joints sont tous masqués. On trouve de ces sortes de dallages sur les bas-côtés de l'église de Chaumont (Haute-Marne) et sur ceux de l'église collégiale de Poissy. Toutefois ces dallages sont chers, en ce qu'ils obligent de multiplier les arcs et exigent des tailles nombreuses.
DALLES, s. f. (voy. DALLAGE). Dalles tumulaires (voy. TOMBEAU).
DAMIER, s. m. Le damier est un ornement d'architecture fréquemment employé, pendant le XIIe siècle, pour décorer les bandeaux, les archivoltes, les corniches des édifices en pierre; il forme, avec les billettes et les dents-de-scie (voy. ces mots), des découpures géométriques qui rompent la monotonie des moulures horizontales ou concentriques par des jeux d'ombre très-simplement obtenus sans avoir recours à la sculpture. C'est surtout dans l'Île-de-France, le Soissonnais et en Normandie que l'on trouve l'emploi des damiers à dater de la fin du XIe siècle jusqu'au commencement du XIIIe. L'église de Notre-Dame de Paris était couronnée, dans sa partie supérieure, par une belle corniche composée de quatre rangées de damiers, dont trois sont encore en place autour de l'abside.

Voici (1), en A, comment sont taillés ces damiers, dont chaque rang est pris dans une assise de 0,25 c. de hauteur.
Quelquefois deux rangs de damiers sont taillés dans une seule assise B. Ils décorent alors la tablette supérieure d'une corniche, un bandeau ou un archivolte. Les damiers couvrent aussi, en Normandie, des parements de murs, des rampants de contre-forts; alors ils figurent des essentes ou bardeaux de bois. C'était un moyen peu dispendieux de donner de la richesse aux tympans, aux surfaces des murs dont l'aspect paraissait trop froid.
DAUPHIN, s. m. Bouche inférieure d'un tuyau de descente se recourbant pour jeter les eaux dans un caniveau. Dès le XIIIe siècle, les tuyaux de descente en plomb furent employés (voy. CONDUITE, CONSTRUCTION); mais nous ne connaissons pas de dauphins affectant la forme qui leur a donné ce nom avant le XVIe siècle. On voit encore un dauphin en fonte de fer de cette époque attaché à la base d'une maison située en face le portail royal de la cathédrale de Chartres. La fig. 1 en donne une copie. Lorsque des tuyaux de descente sont appliqués à des édifices des XIIIe et XIVe siècles, les dauphins (c'est-à-dire les bouches inférieures de ces tuyaux) se composent d'une pierre évidée de façon à détourner les eaux dans le caniveau qui les doit recevoir.

DÉCORATION, s, f. Il y a dans l'architecture deux genres de décoration: la décoration fixe, qui tient aux édifices, et la décoration d'emprunt, appliquée à l'occasion de certaines solennités. La décoration fixe, surtout pendant le moyen âge, étant inhérente à la structure, il n'y a pas lieu de lui consacrer ici un article spécial, et nous renvoyons nos lecteurs à tous les mots qui traitent des parties des édifices susceptibles d'être ornées, et notamment aux articles SCULPTURE et STATUAIRE. Quant à la décoration temporaire, elle fut appliquée de tout temps. Les anciens décoraient leurs temples de fleurs, de feuillages et de tentures à certaines occasions, et les chrétiens ne firent en cela que suivre leur exemple. Il ne paraît pas que, pendant le moyen âge, on ait fait dans les églises des décorations temporaires qui pussent changer les dispositions et la forme apparente de ces édifices. C'étaient des tentures accrochées aux piliers ou aux murs, des guirlandes de feuillages, des écussons armoyés, quelquefois cependant des échafauds tapissés destinés à recevoir certains personnages et surtout des exhibitions des pièces composant les trésors si riches des abbayes et des cathédrales. On trouvera, dans le Dictionnaire du Mobilier, des détails sur ces sortes de décorations. Ce que l'on doit observer dans les décorations temporaires employées autrefois, c'est le soin apporté par les décorateurs dans le choix de l'échelle des ornements. Ceux-ci sont toujours en proportion relative avec le monument auquel on les applique. La plupart de nos décorations temporaires modernes, par suite de la non-observation de cette règle essentielle, détruisent l'effet que doit produire un édifice, au lieu de l'augmenter.
DÉLIT (voy. LIT.).
DENT-DE-SCIE, s. f. Terme employé pour indiquer un genre d'ornement que l'on voit naître au XIe siècle et qui est fort usité pendant le XIIe, surtout dans les provinces de l'Île-de-France, de la Normandie et de l'Ouest. Les dents-de-scie servent à décorer particulièrement les bandeaux, les corniches et les archivoltes. Les plus anciennes sont habituellement larges, formant des angles droits, et portant une faible saillie (1). Bientôt elles se serrent, deviennent aigües(2), se détachent vivement sur un fond parallèle à leur face A, ou sur un fond taillé en biseau B. Vers la fin du XIIe siècle, les angles rentrants et saillants sont tronqués D.


Quelquefois, lorsque les dents-de-scie de cette époque ont une petite dimension, particulièrement dans les monuments de l'Ouest, elles sont taillées encore à angles droits G. Les dents-de-scie doublées ou chevauchées sont taillées ainsi que l'indique la figure 3, de façon à présenter un rang de pointes passant sur l'autre. Dans les archivoltes, souvent plusieurs rangs de dents-de-scie sont superposés, s'alternant et formant les sailles indiquées en E.

Conformément à la méthode employée par les architectes du moyen-âge, chaque rang de dents-de-scie était pris dans une hauteur d'assise, les joints verticaux tombant dans les vides. Comme ces ornements étaient taillés avant la pose et que les appareilleurs ne voulaient pas perdre de la pierre, il en résultait que les dents-de-scie étaient souvent inégales en largeur, puisqu'il fallait toujours comprendre un certain nombre de dents entières dans une pierre, quelle que fût sa longueur. Mais ces irrégularités ne paraissent pas avoir préoccupé les architectes; il faut dire cependant qu'elles sont beaucoup plus prononcées dans les édifices bâtis avec parcimonie, comme les églises de village, par exemple, que dans des monuments importants. Les dents-de-scie appartiennent bien au moyen âge; rien dans les édifices romains ne pouvait donner l'idée de cet ornement, qui donne tant de vivacité aux profils, aux bandeaux, et qui fait si bien valoir les parties nues de l'architecture (voy. Bâtons-rompus, zigzags).
DEVIS, s. m. Devise. Au XIVe siècle, on appelait devis ou devise un projet graphique accompagné d'une description écrite indiquant un travail à faire 10 et l'estimation de ce travail.
Le devis fait, on procédait à une adjudication au rabais, à peu près comme cela se pratique de nos jours, si ce n'est que, pour concourir à l'adjudication, il fallait faire partie d'un corps de métier, et qu'il ne suffisait pas de se présenter aux autorités compétentes avec un certificat délivré, souvent, par complaisance. Les devis étaient faits ou en bloc ou détaillés: s'ils étaient faits en bloc, à la suite de la description des travaux à exécuter, il était dit que ces travaux valaient tant; s'ils étaient détaillés, chaque article de l'ouvrage était suivi d'une estimation. Les séries de prix jointes aux devis n'étant pas encore en usage, les adjudications étaient de véritables forfaits. Nos archives départementales conservent encore un grand nombre de ces sortes de marchés. Nous ne savons si, au XIIIe siècle, le maître de l'oeuvre faisait le devis général de tout l'ouvrage qui lui était commandé; ce qui est certain, c'est que, pendant les XIVe et XVe siècles, chaque chef de corps de métiers était souvent appelé à faire un devis de la portion des travaux qui le concernait. Ce devis fait, il soumissionnait l'ouvrage à forfait; mais alors il n'y avait pas d'adjudication, c'est-à-dire de concurrence entre gens de même état.
Note 10: (retour) «Guillaume de Longueil, vicomte d'Auge, au sergent de la sergenterie de Pont-l'Évesque, vous mandons que la taache de machonerie qu'il est convenant faire au pont au pain, dont mencion est faite au deviz, vous fachiez crier à rabais accoustumé par touz les lieux de vostre sergenterie où l'on a accoustumé à faire iceulz cris... L'an mil ccc IIIIXX et dix-neuf.» MARCHÉ, coll. Millin.
DIABLE, s. m. Deable. Ange déchu, personnification du mal. Dans les premiers monuments du moyen âge, on ne trouve pas de représentations du diable, et nous ne saurions dire à quelle époque précise les sculpteurs ou peintres ont commencé à figurer le démon dans les bas-reliefs ou peintures. Les manuscrits grecs des VIIe et VIIIe siècles qui représentent des résurrections font voir les morts ressuscitants; mais les peintres n'ont figuré que les esprits célestes, le diable est absent de la scène.

Une bible latine du IXe ou Xe siècle 11, ornée de nombreuses vignettes au trait, nous montre Job assis sur les ruines de sa maison; l'ange du mal lui parle (1); il est nimbé et armé d'ailes; dans sa main gauche, il tient une cassolette pleine de feu; les ongles de ses pieds sont crochus: c'est une des plus anciennes représentations du diable que nous connaissions. Ici le démon conserve les attributs de sa puissance première. Dans la sculpture du XIe siècle, en France, le diable commence à jouer un rôle important: il apparaît sur les chapiteaux, sur les tympans; il se trouve mêlé à toutes les scènes de l'Ancien et du Nouveau-Testament, ainsi qu'à toutes les légendes de saints. Alors, l'imagination des artistes s'est plue à lui donner les figures les plus étranges et les plus hideuses: tantôt il se présente sous la forme d'un homme monstrueux, souvent pourvu d'ailes et de queue; tantôt sous la forme d'animaux fantastiques.
Les chapiteaux de l'église de Vézelay, qui datent de la fin du XIe siècle, sont remplis de ces représentations de l'esprit du mal. Voici l'un d'eux, qui figure l'homme riche orgueilleux, arraché de son palais par trois démons (2): c'est une des nombreuses visions de saint-Antoine, que le sculpteur a représenté priant.

À l'article CHAPITEAU, nous avons donné une représentation du démon chassé du veau d'or par Moïse, provenant de la même église: c'est une des plus énergiques figures que nous connaissions de cette époque. Dans ces images primitives, le diable agit ou conseille: lorsqu'il agit, il prend la forme d'un être humain plus ou moins difforme, pourvu d'ailes et quelquefois d'une queue terminée par une tête de serpent, ses membres sont grêles, décharnés, ses mains et ses pieds volumineux, sa chevelure ébouriffée, sa bouche énorme, il est nu; lorsqu'il conseille, il prend la figure d'un animal fantastique, sirène, dragon, serpent, crapaud, basilic (oiseau à queue de serpent), chien à tête d'homme. Au XIIe siècle déjà, les auteurs des bestiaires s'étaient évertués à faire, des animaux réels ou imaginaires, des figures symboliques des vertus et des vices (voy. BESTIAIRE); alors, dans les sculptures ou peintures, lorsqu'on voulait représenter un personnage sous l'influence d'une mauvaise passion, on l'accompagnait d'un de ces animaux, symbole de cette mauvaise passion. Dans le musée du moyen âge de la ville d'Avignon, nous voyons un fragment de chapiteau en marbre blanc, du XIIe siècle, représentant Job auquel sa femme et ses amis viennent faire des reproches. À côté d'Eliut, l'un des amis de Job, est une sirène qui semble le conseiller (3).

Or la sirène, pendant le moyen âge, est le symbole de la fausseté, de la
déception. Sur les portails des églises de cette époque, les vices sont
parfois personnifiés (voy. VICE), et les personnages qui figurent les
vices sont accompagnés de diables qui se plaisent à les tourmenter. Les
diables apparaissent aussi dans les paraboles et légendes, comme dans la
parabole du mauvais riche, par exemple, et dans les légendes de
saint-Antoine et de saint-Benoît, qui ont eu, disent ces légendes, avec
le diable, des rapports si fréquents. Il serait assez inutile de copier
ici de nombreux exemples de ces figures monstrueuses; nous nous
contenterons d'indiquer les caractères donnés aux représentations du
diable pendant les périodes diverses du moyen âge. Pendant la période
romane, le diable est un être que les sculpteurs ou peintres s'efforcent
de rendre terrible, effrayant, qui joue le rôle d'une puissance avec
laquelle il n'est pas permis de prendre des libertés. Chez les
sculpteurs occidentaux du XIIIe siècle, laïques fort avancés comme
artistes, l'esprit gaulois commence à percer. Le diable prend un
caractère moins terrible; il est souvent ridicule, son caractère est
plus dépravé qu'effrayant, sa physionomie est plus ironique que sauvage
ou cruelle; parfois il triche, souvent il est dupé. La scène du Pèsement
des âmes, qui occupe une place principale dans le drame du Jugement
dernier, nous montre un diable qui s'efforce, avec assez peu de loyauté,
de faire pencher l'un des plateaux de la balance de son côté. Les démons
qui accompagnent les damnés semblent railler la troupe des malheureux
entraînés dans les enfers; quelques-uns de ces subalternes de l'armée
des ténèbres ont même parfois un air de bonhomie brutale qui peut faire
croire à des accommodements. Cependant l'ensemble des scènes infernales
sculptées au commencement du XIIIe siècle a toujours un aspect
dramatique fait pour émouvoir. À la porte centrale de la cathédrale de
Paris, par exemple, tout le côté occupé par les démons et les âmes qui
leur sont livrées, à la gauche du Christ, est sculpté de main de maître;
quelques épisodes sont rendus d'une façon émouvante (voy. JUGEMENT
DERNIER). Parmi les voussures chargées de démons et de damnés semble
trôner un diable supérieur; il est couronné (4). Sa taille est entourée
d'un serpent; il est assis sur un tas de personnages, parmi lesquels on
voit un évêque et un roi. Ce diable souverain est gras, lippu; il est
pourvu de mamelles gonflées et semble se reposer dans son triomphe. À
côté de lui sont représentées des scènes de désordre, de confusion, de
désespoir, rendues avec une énergie et un talent d'exécution vraiment
remarquables. Les peintres et sculpteurs du moyen âge ont admis une
trinité du mal, en opposition avec la trinité divine (voy. TRINITÉ). Dès
la fin du XIIIe siècle, le diable, dans la sculpture et la peinture,
perd beaucoup de son caractère féroce; il est relégué au dernier rang,
il est bafoué et porte souvent la physionomie de ce rôle; dans beaucoup
de légendes refaites à cette époque, il est la dupe de fraudes pieuses,
comme dans la célèbre légende du moine Théophile et celle du serrurier
Biscornet, qui fit, dit-on, les pentures des portes de la cathédrale de
Paris. Ce serrurier, qui vivait au XIVe siècle, fut chargé de ferrer les
trois portes principales de Notre-Dame
12. Voulant faire un
chef-d'oeuvre, et fort empêché de savoir comment s'y prendre, il se
donne au diable, qui lui apparaît et lui propose de forger les pentures,
à une condition, bien entendu, c'est que lui Biscornet, par un marché en
règle, écrit, livrera son âme aux esprits des ténèbres. Le marché est
signé, le diable se met à l'oeuvre et fournit les pentures. Biscornet,
aidé de son infernal forgeron, pose les ferrures des deux portes
latérales; mais quand il s'agit de ferrer la porte centrale, la chose
devient impossible, par la raison que la porte centrale sert de passage
au Saint-Sacrement. Le diable n'avait pas songé à cette difficulté; mais
le marché ne pouvant être entièrement rempli par l'une des parties,
Biscornet redevient possesseur de son âme, et le diable en est pour ses
ferrures des deux portes.
On le voit, vers la fin du moyen âge, le diable a vieilli et ne fait plus ses affaires. Les arts plastiques de cette époque ne font que reproduire l'esprit de ces légendes populaires dont nous avons suivi les dernières traces sur le théâtre des marionnettes, où le diable, malgré ses tours et ses finesses, est toujours battu par Polichinelle.
Le grand diable sculpté sur le tympan de la porte de la cathédrale d'Autun, au XIIe siècle, est un être effrayant bien fait pour épouvanter des imaginations neuves; mais les diablotins sculptés sur les bas-reliefs du XVe siècle sont plus comiques que terribles, et il est évident que les artistes qui les façonnaient se souciaient assez peu des méchants tours de l'esprit du mal.
Note 12: (retour) Ces pentures datent de la fin du XIIe siècle ou des premières années du XIIIe, et l'histoire du serrurier Biscornet est un conte populaire; il ne fait qu'indiquer la tendance des esprits, au XIVe siècle, à ne plus voir dans le diable qu'une puissance déchue, dont on avait facilement raison avec un peu d'adresse.
DIEU. Le moyen âge représentait Dieu, dans les monuments religieux, par ses oeuvres; il n'était figuré que dans les scènes de l'Ancien Testament, dans la création, lorsqu'il parle à Adam, à Caïn, à Noé, lorsqu'il apparaît à Moïse. Dans la nouvelle loi, le Christ représente seul la divinité. S'il existe des images de Dieu le Père, elles se trouvent avec le Fils et le Saint-Esprit (voy. TRINITÉ). Ce n'est qu'à l'époque de la Renaissance que les artistes sculpteurs ou peintres font intervenir Dieu le Père dans les scènes qu'ils représentent 13 . Cependant on voit quelquefois, au-dessus des tympans des portails des XIIIe, XIVe et XVe siècles, représentant le Christ dans sa gloire, au jour du jugement, Dieu le Père en buste, bénissant; il est nimbé du nimbe crucifère, porte une longue barbe, sa chevelure tombe sur ses épaules. À la fin du XVe siècle Dieu le Père est habituellement coiffé de la tiare à triple couronne, comme un pape. Nous ne connaissons pas une seule statue des XIIIe et XIVe siècles représentant Dieu le Père; la seule personne divine prenant une place principale dans les édifices religieux est le Christ homme ou le Christ triomphant (voy. CHRIST). La Vierge Marie et son Fils occupent tous deux l'imagination et la main des artistes (voy. VIERGE SAINTE). Il semble que Dieu leur ait délégué toute sa puissance sur les êtres créés.
DÔME, s. m. S'emploie (improprement) pour coupole. Duomo, en italien, s'entend pour cathédrale, église épiscopale; comme beaucoup d'églises cathédrales d'Italie sont surmontées d'une ou de plusieurs coupoles, on a pris la partie pour le tout: on dit le dôme des Invalides, le dôme du Panthéon; on devrait dire la coupole des Invalides ou du Panthéon (voy. COUPOLE). Il duomo di Parigi, pour un Italien, c'est l'église Notre-Dame de Paris, laquelle, comme on sait, n'est pas surmontée d'une coupole.
DONJON, s. m. Dongun, doignon, dangon 14 Le donjon appartient essentiellement à la féodalité. Ce n'est pas le castellum romain, ce n'est pas non plus le retrait, la dernière défense de la citadelle des premiers temps du moyen âge. Le donjon commande les défenses du château, mais il commande aussi les dehors et est indépendant de l'enceinte de la forteresse du moyen âge, en ce qu'il possède toujours une issue particulière sur la campagne. C'est là ce qui caractérise essentiellement le donjon, ce qui le distingue d'une tour. Il n'y a pas de château féodal sans donjon, comme il n'y avait pas, autrefois, de ville forte sans château, et comme, de nos jours, il n'y a pas de place de guerre sans citadelle. Toute bonne citadelle doit commander la ville et rester cependant indépendante de ses défenses.
Au moyen âge, il en était de même du château, et le donjon était au château ce que celui-ci était à la ville. Les garnisons du moyen âge possédaient une défense de plus que les nôtres: chassées de la cité, elles se retiraient dans le château; celui-ci pris, elles se réfugiaient dans le donjon; le donjon serré de trop près, elles pouvaient encore courir la chance de s'échapper par une issue habilement masquée ou de passer à travers les lignes de circonvallation, la nuit, par un coup hardi. Mais cette disposition du donjon appartenant à la forteresse féodale n'était pas seulement prise pour résister ou échapper à l'ennemi du dehors, elle était la conséquence du système féodal. Un seigneur, si puissant qu'il fût, ne tenait sa puissance que de ses vassaux. Au moment du péril, ceux-ci devaient se rendre à l'appel du seigneur, se renfermer au besoin dans le château et concourir à sa défense; mais il arrivait que ces vassaux n'étaient pas toujours d'une fidélité à toute épreuve. Souvent l'ennemi les gagnait; alors le seigneur trahi n'avait d'autre refuge que son donjon, dans lequel il se renfermait avec ses gens à lui. Il lui restait alors pour dernière ressource, ou de se défendre jusqu'à l'extrémité, ou de prendre son temps pour s'échapper, ou de capituler.
Nous l'avons dit ailleurs (voy. CHÂTEAU), le système de la défense des places, pendant la féodalité, n'était qu'une série de moyens accumulés par la défiance, non-seulement envers un ennemi déclaré, mais envers les garnisons mêmes. C'est pourquoi l'étude des forteresses de cette époque fournit un sujet inépuisable d'observations intéressantes; la défiance aiguise l'esprit et fait trouver des ressources. En effet, si quelques châteaux présentent des dispositions d'ensemble à peu près semblables, les donjons offrent, au contraire, une variété infinie, soit dans la conception générale, soit dans les détails de la défense. Les seigneurs, pouvant être à chaque instant en guerre les uns avec les autres, tenaient beaucoup à ce que leurs voisins ne trouvassent pas, s'ils venaient l'attaquer, des défenses disposées comme celles qu'ils possédaient chez eux. Chacun s'ingéniait ainsi à dérouter son ennemi, parfois l'ami de la veille; aussi lorsqu'un seigneur recevait ses égaux dans son château, fussent-ils ses amis, avait-il le soin de les loger dans un corps de bâtiment spécial, les recevait-il dans la grand'salle, dans les appartements des femmes, mais ne les conduisait-il que très-rarement dans le donjon, qui, en temps de paix, était fermé, menaçant, pendant qu'on se donnait réciproquement des témoignages d'amitié. En temps de paix, le donjon renfermait les trésors, les armes, les archives de la famille, mais le seigneur n'y logeait point; il ne s'y retirait seulement, avec sa femme et ses enfants, que s'il lui fallait appeler une garnison dans l'enceinte du château. Comme il ne pouvait y demeurer et s'y défendre seul, il s'entourait alors d'un plus ou moins grand nombre d'hommes d'armes à sa solde, qui s'y renfermaient avec lui. De là, exerçant une surveillance minutieuse sur la garnison et sur les dehors (car le donjon est toujours placé en face du point attaquable de la forteresse), ses fidèles et lui tenaient en respect les vassaux et leurs hommes, entassés dans les logis; à toute heure pouvant sortir et rentrer par des issues masquées et bien gardées, la garnison ne savait pas quels étaient les moyens de défense, et naturellement le seigneur faisait tout pour qu'on les crût formidables. Il est difficile de trouver un plus beau programme pour un architecte militaire; aussi les donjons, parmi les édifices du moyen âge, sont-ils souvent des chefs-d'oeuvre de prévoyance. Nous avons trouvé dans ces constructions, peu connues généralement ou incomplétement étudiées, des dispositions qui demandent un examen attentif, parce qu'elles mettent en lumière un des côtés de la vie féodale 15.
La raison première qui fit élever des donjons fut l'invasion normande. Les villæ mérovingiennes devaient fort ressembler aux villæ romaines; mais quand les Normands se jetèrent périodiquement sur le continent occidental, les seigneurs, les monastères, les rois et les villes elles-mêmes, songèrent à protéger leurs domaines par des sortes de blockhaus en bois que l'on élevait sur le bord des rivières et autant que possible sur des emplacements déjà défendus par la nature. Ces forteresses, dans lesquelles, au besoin, on apportait à la hâte ce qu'on possédait de plus précieux, commandaient des retranchements plus ou moins étendus, composés d'un escarpement couronné par une palissade et protégé par un fossé. Les Normands eux-mêmes, lorsqu'ils eurent pris l'habitude de descendre sur les côtes des Gaules et de remonter les fleuves, établirent, dans quelques îles près des embouchures, ou sur des promontoires, des camps retranchés avec une forteresse, pour mettre leur butin à l'abri des attaques et protéger leurs bateaux amarrés. C'est aussi dans les contrées qui furent particulièrement ravagées par les Normands que l'on trouve les plus anciens donjons, et ces forteresses primitives sont habituellement bâties sur plan rectangulaire formant un parallélogramme divisé quelquefois en deux parties.
Sur beaucoup de points des bords de la Seine, de la Loire, de l'Eure, et sur les côtes du Nord et de l'Ouest, on trouve des restes de ces donjons primitifs; mais ces constructions, modifiées profondément depuis l'époque où elles furent élevées, ne laissent voir que des soubassements souvent même incomplets. Il paraîtrait que les premiers donjons, bâtis en maçonnerie suivant une donnée à peu près uniforme, ont été faits par les Normands lorsqu'ils se furent définitivement établis sur le continent (voy. CHÂTEAU); et l'un des mieux conservés parmi ces donjons est celui du château d'Arques près de Dieppe, construit, vers 1040, par Guillaume, oncle de Guillaume le Bâtard. En disant que le donjon d'Arques est un des mieux conservés, il ne faut pas croire que l'on trouve là un édifice dont les dispositions soient faciles à saisir au premier coup d'oeil. Le donjon d'Arques, réparé au XVe siècle, approprié au service de l'artillerie à feu au XVIe siècle, mutilé depuis la révolution par les mains des habitants du village qui en ont enlevé tout ce qu'ils ont pu, ne présente, au premier aspect, qu'une masse informe de blocages dépouillée de leurs parements, qu'une ruine ravagée par le temps et les hommes. Il faut observer ces restes avec la plus scrupuleuse attention, tenir compte des moindres traces, examiner les nombreux détours des passages, les réduits; revenir vingt fois sur le terrain, pour se rendre compte des efforts d'intelligence dont les constructeurs ont fait preuve dans la combinaison de cette forteresse, l'une des plus remarquables à notre avis.
Disons d'abord un mot de la bâtisse. Ici, comme dans la plupart des édifices militaires de l'époque romane, la construction est faite suivant le mode romain, c'est-à-dire qu'elle se compose d'un blocage composé de silex noyés dans un bain de mortier très-dur et grossier, parementé de petites pierres d'appareil de 0,15 c. à 0,20 c. de hauteur entre lits, sur 0,20 c. à 0,32 c. de long. Ce parement est en calcaire d'eau douce provenant de la vallée de la Sie, d'une bonne qualité quoique assez tendre, mais durcissant à l'air 16. Nous devons réclamer toute l'attention de nos lecteurs pour nous suivre dans la description suivante, que nous allons essayer de rendre aussi claire que possible.

La fig. 1 donne le plan du rez-de-chaussée du donjon d'Arques qui se trouve situé près de la porte méridionale du château (voy. CHÂTEAU, fig. 4). En A est l'entrée avec son pont volant, sa double défense B, en forme de tour intérieure, avec large mâchicoulis commandant la porte A. Un long couloir détourné conduit dans la cour intérieure. En C était un petit poste, sans communication directe avec l'intérieur du donjon, mais enclavé dans son périmètre. Pour pénétrer dans le fort, il fallait se détourner à gauche et arriver à la porte D. Cette porte franchie, on trouvait une rampe à droite avec une seconde porte E percée à travers un contre-fort; puis, en tournant à main gauche, on montait un degré très-long E', direct et assez roide. Nous y reviendrons tout à l'heure. Le long du rempart du château en F, et masquée du dehors par le relief du chemin de ronde crénelé, on arrive à une autre porte G très-étroite, qui donne entrée dans une cage d'escalier, contenant un degré central se détournant à main gauche, formant une révolution complète et arrivant à un palier I, d'où, par une rampe tournant à droite dans l'épaisseur du mur, on monte au second étage, ainsi que nous allons le voir. Les deux salles basses JJ n'avaient aucune communication directe avec le dehors (le couloir L ayant été ouvert au XVe siècle) et n'étaient même pas en communication entre elles.
On devait descendre dans ces deux salles basses par des escaliers ou échelles passant par des trappes ménagées dans le plancher du premier étage. Ces salles étaient de véritables celliers propres à contenir des provisions. En K est un puits de plus de 80 mètres de profondeur et dont l'enveloppe est maçonnée jusqu'à la hauteur du plancher du second étage. N'omettons pas de signaler l'escalier M taillé dans le roc (craie) et descendant par une pente rapide jusqu'au fond du fossé extérieur. Signalons aussi l'escalier N qui passe par-dessus le couloir d'entrée B; son utilité sera bientôt démontrée.

Voyons le plan du premier étage (2). On ne pouvait arriver à cet étage que par l'escalier à vis O, communiquant de ce premier étage au second, c'est-à-dire qu'il fallait descendre au premier étage après être monté au second; ou bien, prenant l'escalier N (mentionné tout à l'heure) passant à travers la tour commandant l'entrée B, montant un degré, tournant à main droite, dans un étroit couloir avec rampe, on entrait dans l'antisalle P, et de là on pénétrait dans une des salles J' du premier étage du donjon. Quant à la salle J'', il fallait, pour y arriver, se résoudre à passer par une trappe ménagée dans le plancher du second étage. Tout cela est fort compliqué; ce n'est rien encore cependant. Essayons de nous souvenir de ces diverses issues, de ne pas perdre la trace de ces escaliers et de ces couloirs, véritable dédale.

Arrivons au second étage (3). Là encore existe le mur de refend non interrompu, interdisant toute communication entre les deux salles du donjon. Reprenons la grande rampe E' que nous avons abandonnée tout à l'heure; elle arrive droit à un palier sur lequel, à main gauche, s'ouvre une porte entrant directement dans la salle J''''. Mais il ne faut pas croire qu'il fût facile de gravir cette longue rampe: d'abord, à droite et à gauche existent deux trottoirs R, de plein pied avec le palier supérieur, qui permettaient à de nombreux défenseurs d'écraser l'assaillant gravissant ce long degré; puis plusieurs mâchicoulis ouverts dans le plancher supérieur de cet escalier faisaient tomber une pluie de pierres, de poutres, d'eau bouillante sur les assaillants. De la cage d'escalier à révolution que nous avons observée à droite dans les plans du rez-de-chaussée et du premier étage, par la rampe détournée prise aux dépens de l'épaisseur du mur, on arrive au couloir S, qui, par une porte, permet d'entrer dans la salle J''''. De sorte que si, par surprise ou autrement, un ennemi parvenait à franchir la rampe E', les défenseurs pouvaient passer par le couloir S, se dérober, descendre par la cage de l'escalier I (plan du rez-de-chaussée), sortir par la porte G, aller chercher l'issue M communiquant avec le fossé; ou encore remonter par l'escalier N, la tour B (plan du premier étage), rentrer dans la salle J' par l'antisalle P, prendre l'escalier à vis et se joindre à la portion de la garnison qui occupait encore la moitié du donjon. Si, au contraire, l'assaillant, par la sape ou l'escalade (ce qui n'était guère possible), s'emparait de la salle J''' (plan du deuxième étage, fig. 3), les défenseurs pouvaient encore se dérober en sortant par l'antisalle P' et en descendant les rampes T communiquant, ainsi que nous l'avons vu, soit avec la salle J' du premier étage, soit avec l'escalier N. Ou bien les défenseurs pouvaient encore monter ou descendre l'escalier à vis O, en passant à travers le cabinet V. Du palier T on descendait au terre-plein U commandé par des meurtrières percées dans les couloirs SS'.
De tout ceci on peut admettre déjà que la garnison du donjon était double dans les deux étages (premier et second); que ces deux fractions de la garnison n'avaient pas de communication directe entre elles; que, pour établir cette communication, il fallait monter au troisième étage occupé par le commandant, et que, par conséquent, si l'un des côtés du donjon était pris, la garnison pouvait se réunir à la partie supérieure, reprendre l'offensive, écraser l'assaillant égaré au milieu de ce labyrinthe de couloirs et d'escaliers, et regagner la portion déjà perdue.

Le troisième étage (4) est entièrement détruit, et nous ne pouvons en avoir une idée que par les dessins de 1708, reproduits dans l'ouvrage de M. Deville 17. Ces dessins indiquent les mâchicoulis qui existaient encore à cette époque dans la partie supérieure et la disposition générale de cet étage, converti en plate-forme depuis le XVe siècle, pour placer de l'artillerie à feu. M. Deville ne paraît pas reconnaître de l'âge des voûtes qui couvraient encore en 1708 le second étage.

Cependant les profils des arcs de ces voûtes (5) font assez voir qu'elles appartiennent aux restaurations de la fin du XVe siècle. Primitivement, les étages du donjon, conformément à la méthode normande, n'étaient séparés que par des planchers en bois dont on trouve les traces sur les parois intérieures. Le plan de la plate-forme, donné dans les dessins de 1708, fait assez voir que le mur de refend n'existait plus au troisième étage. C'était de cet étage, en effet, que le commandement devait se faire et la défense s'organiser avec ensemble.
Ce plan donc (fig. 4) indique une seule salle X, avec un poteau central, destiné à soulager la charpente supérieure; un réduit Y, qui pouvait servir de chambre au commandant; les mâchicoulis percés dans la chambre Z, au-dessus de la grande rampe de l'escalier; les deux mâchicoulis aa, auxquels on arrivait par les deux baies bb; le couloir cc de défense, pris dans l'épaisseur du mur au-dessus des arcs de ces mâchicoulis, et les mâchicoulis d'angle dd. Dans ce plan, on voit aussi la défense de la traverse e qui commandait le dehors et permettait de voir ce qui se passait dans le fossé du côté de la porte. En f est une cheminée et en h un four, car le donjon contenait un moulin (à bras probablement). Nous ne possédons sur la disposition de l'étage supérieur crénelé que des données très-vagues, puisqu'en 1708 cet étage était détruit; nous voyons seulement, dans un compte de réparations de 1355 à 1380 18, que des tourelles couvertes de plomb terminaient cet étage; ces tourelles devaient être des échauguettes pour abriter les défenseurs, ainsi qu'il en existe encore au sommet du donjon de Chambois 19.

Le plan de cet étage, que nous donnons (6), indique en l, l' deux échauguettes; l'échauguette l' montrant son mâchicoulis i ouvert sur la rampe du grand escalier; de plus, en m, on aperçoit les ouvertures des autres mâchicoulis commandant les rentrants des contre-forts. Celui m' s'ouvrait sur la rampe inférieure du grand escalier, montant derrière un simple mur de garde non couvert, tracé en D' dans le plan du rez-de-chaussée, fig. 1.

La fig. 7 présente la façade du donjon d'Arques, sur la cour. En A est le débouché du grand couloir de la porte extérieure; en B, l'entrée de la rampe du donjon. Les autres parties de cette figure s'expliquent d'elles-mêmes par l'examen des plans.

La fig. 8 donne la coupe du bâtiment sur la ligne brisée AA, BB des plans. En C est le petit corps-de-garde tracé en C sur le plan du rez-de-chaussée; en D, l'escalier à révolution situé sous la grande rampe dont le palier arrive en E; on voit, en F, les mâchicoulis qui commandent ce palier. Aujourd'hui, la construction ne s'élève pas au-dessus du niveau G; en 1708, elle existait jusqu'au niveau H, et l'extrados des voûtes faites au XVe siècle ne dépassait pas ce niveau G: de sorte que les murs compris entre G et H servaient de merlons et les baies d'embrasures pour des bouches à feu. Les pièces braquées sur cette plate-forme contribuèrent, en tirant sur les troupes du duc de Mayenne, au succès de la bataille gagnée dans la vallée d'Arques par Henri IV.

La fig. 9 trace la coupe du donjon sur la ligne CC, DD des plans. En A se détache du corps principal le contre-fort servant de traverse, pour voir le fond du fossé et le commander du sommet du donjon. En B est tranché le couloir au niveau du deuxième étage qui commande le chemin de ronde D et le terre-plein C. En E se voient les grands mâchicoulis avec la défense supérieure à deux étages prise aux dépens des murs sur les arcs.

La coupe (10), faite sur la ligne EE, FF des plans, permet de comprendre la combinaison ingénieuse des escaliers. En A se profile la grande rampe arrivant au second étage avec les mâchicoulis supérieurs qui commandent ses dernières marches et son palier. En R, on voit l'un des deux trottoirs disposés pour recevoir les défenseurs de la rampe et pour écraser les assaillants. En D apparaît la trace de l'étroit degré intérieur qui aboutit au couloir S indiqué sur le plan du deuxième étage, et qui permet aux défenseurs de se dérober ou de sortir par l'escalier à révolution B. En C est un contre-palier qui commande les révolutions de l'escalier B.
Le château d'Arques, admirablement situé, entouré de fossés larges et profonds, commandé par un donjon de cette importance, devait être une place inexpugnable avant l'artillerie à feu. À peine construit, il fut assiégé par Guillaume le Conquérant et ne fut pris que par famine après un long blocus. Réparé et reconstruit en partie par Henri Ier en 1123, il fut assiégé par Geoffroy Plantagenet, qui ne put y entrer qu'après la mort de son commandant, Guillaume Lemoine, tué par une flèche; ce siége avait duré une année entière, 1145. Philippe-Auguste investit le château d'Arques en 1202, et leva bientôt le siége à la nouvelle de la captivité du jeune Arthur de Bretagne, tombé entre les mains de Jean sans Terre. Le donjon d'Arques fut la dernière forteresse qui se rendit au roi de France, après la conquête de la Normandie échappée des mains de Jean sans Terre. Henri Ier, comme nous l'avons dit, fit exécuter des travaux considérables au château d'Arques; mais l'examen des constructions existantes ne peut faire supposer que le gros oeuvre du donjon appartienne à cette époque. Peut-être Henri restaura-t-il les parties supérieures qui n'existent plus, peut-être même les grands mâchicoulis de la façade (fig. 7) datent-ils du règne de ce prince, car les arcs de ces mâchicoulis, que nous avons figurés plein cintre, sont des arcs brisés sur le dessin de 1708, tracé incorrect d'ailleurs, puisqu'il n'indique pas avec exactitude les parties de la construction que nous voyons encore debout. Quant aux dispositions générales, quant au système de dégagements, d'escaliers, avec un peu de soin on en reconnaît parfaitement les traces, et c'est en cela que le donjon d'Arques, qui jamais ne fut pris de vive force, est un édifice militaire du plus haut intérêt, et, malgré son état de ruine, beaucoup plus complet, au point de vue de la défense, que ne le sont les célèbres donjons de Loches, de Montrichard, de Beaugency, construits à peu près d'après les mêmes données. Ce qui fait surtout du donjon d'Arques un type complet, c'est sa position dans le plan du château; protégé par les courtines de la place et deux tours, il commande cependant les dehors; il possède sa porte de secours extérieure bien défendue; il protége l'enceinte, mais aussi il peut la battre au besoin avec succès; il est absolument inattaquable par la sape, seul moyen employé alors pour renverser des murailles; il permet de renfermer et de maintenir une garnison peu sûre, car ses défenseurs ne peuvent agir qu'en aveugles et sur le point qui leur est assigné. Une trahison, une surprise n'étaient pas praticables, puisque, une partie du donjon prise, il devenait facile à quelques hommes déterminés de couper les communications, de renfermer l'assaillant, de l'écraser avant qu'il ne se fût reconnu. Comme dernière ressource, le commandant et ses hommes dévoués pouvaient encore s'échapper. Le feu seul pouvait avoir raison de cette forteresse; mais quand on considère la largeur des fossés du château creusés au sommet d'une colline, l'élévation des murs, l'absence d'ouvertures extérieures, on ne comprend pas comment un assaillant aurait pu jeter des matières incendiaires sur les combles, d'autant qu'il lui était difficile de s'établir à une distance convenable pour faire agir ses machines de jet avec succès.
Les donjons normands et les donjons romans, en général, sont élevés sur plan rectangulaire; c'est une habitation fortifiée, la demeure du seigneur; ils contenaient des celliers ou caves pour les provisions, une chapelle, des salles avec cabinet, et toujours, au sommet, un grand espace libre pour organiser facilement la défense. La plupart de ces logis quadrangulaires possèdent leur escalier principal séparé du corps de la bâtisse, et quelquefois ce mur de refend qui les divise en deux parties égales. L'entrée est habituellement placée beaucoup au-dessus du sol, au niveau du premier étage. On ne peut s'introduire dans le donjon que par une échelle ou au moyen d'un pont volant avec escalier de bois que l'on détruisait en temps de guerre.
Le petit donjon de Chambois (Orne), qui date du XIIe siècle, présente la plupart de ces dispositions de détail. Son plan est rectangulaire, avec quatre renforts carrés aux angles. Une tour carrée, posée sur un de ses côtés, contenait dans l'origine de petits cabinets et un escalier de bois couronné d'une défense et ne montant que jusqu'au troisième étage. On arrivait à la défense du sommet par un escalier à vis pratiqué dans un des contre-forts d'angle. Les parties supérieures du donjon furent refaites au XIVe siècle et conformément au système de défense de cette époque; mais, des dispositions premières, il reste encore trois étages et un chemin de ronde supérieur extrêmement curieux. Le plan du donjon de Chambois est donné ci-contre par la fig. 11.

On voit, en A, la tourelle carrée accolée au corps de logis et dans laquelle, au XIVe siècle, on a fait un escalier à vis. Ce donjon n'était pas voûté, non plus que la plupart des donjons normands; les étages étaient séparés par des planchers en bois portés sur des corbelets intérieurs. Sa porte est relevée à six mètres au-dessus du sol, et s'ouvre sur le flanc de la tour carrée contenant l'escalier en bois; on ne pouvait arriver à cette porte, dont le seuil est au niveau du plancher du premier étage, qu'au moyen d'une échelle, et le donjon ne se défendait, dans sa partie inférieure, que par l'épaisseur de ses murs. Au commencement du XIVe siècle, l'ancien crénelage fut remplacé par un parapet avec mâchicoulis, créneaux et meurtrières. Sur les quatre contre-forts d'angle furent élevées de belles échauguettes avec étage supérieur crénelé, à la place, probablement, des anciennes échauguettes flanquantes.

Voici (12) l'élévation du donjon de Chambois du côté de la petite tour carrée avant la construction des crénelages du XIVe siècle. La bâtisse du XIIe siècle s'élève intacte aujourd'hui jusqu'au niveau B; c'est au niveau C que s'ouvre la poterne. Mais la particularité la plus curieuse du donjon de Chambois consiste en un chemin de ronde supérieur qui, sous le crénelage, mettait les quatre échauguettes et la petite tour accolée en communication les unes avec les autres, sans qu'il fût nécessaire de passer dans la salle centrale occupée par le commandant. La défense était ainsi complétement indépendante de l'habitation, et elle occupait deux étages, l'un couvert, l'autre découvert. Voici, en coupe (13), quelle est la disposition de ce chemin de ronde couvert qui fait le tour du donjon et réunit les échauguettes sous le crénelage. Ce chemin de ronde existe encore à peu près complet. Le donjon est construit en moellons réunis par un excellent mortier; les contre-forts d'angle sont bâtis en petites pierres d'appareil, ainsi que les entourages des baies.
Les donjons carrés, comme celui d'Arques, ceux de Loches, de Beaugency, de Domfront, de Falaise, de Broue, de Pons, de Nogent-le-Rotrou, de Montrichard, de Montbason, de Chauvigny, de Blanzac, de Pouzanges (Vendée), qui tous sont construits sous l'influence normande, pendant les XIe et XIIe siècles, n'étaient guère, à l'époque même où ils furent élevés, que des défenses passives, se gardant plutôt par leur masse, par l'épaisseur de leurs murs et la difficulté d'accès, que par des défenses proprement dites. C'étaient des retraites excellentes lorsqu'il n'était besoin que de se garantir contre des troupes armées d'arcs et d'arbalètes, possédant quelques engins imparfaits, et ne pouvant recourir, en dernier ressort, qu'à la sape. Mais si de l'intérieur de ces demeures on méprisait des assaillants munis de machines de guerre d'une faible puissance, on ne pouvait non plus leur causer des pertes sérieuses. Les seigneurs assiégés n'avaient qu'à veiller sur leurs hommes, faire des rondes fréquentes, s'assurer de la fermeture des portes, lancer quelques projectiles du haut des créneaux si les assaillants tentaient de s'approcher des murs, contre-miner si on minait; et d'ailleurs ils pouvaient ainsi rester des mois entiers, même devant un gros corps d'armée, sans avoir rien à craindre. Aussi était-ce presque toujours par famine que l'on prenait ces forteresses. Mais lorsque l'art de l'attaque se fut perfectionné à la suite des premières croisades, que les assiégeants mirent en batterie des engins puissants, que l'on fit des boyaux de tranchée, que l'on mit en usage ces longs chariots couverts, ces chats, pour permettre de saper les murs sans danger pour les mineurs, alors les donjons rectangulaires, si épais que fussent leurs murs, parurent insuffisants; leurs angles n'étaient pas flanqués et offraient des points saillants que le mineur attaquait sans grand péril; les garnisons enfermées dans ces réduits voyaient difficilement ce qui se passait à l'extérieur; elles ne pouvaient tenter des sorties par ces portes placées à plusieurs mètres au-dessus du sol; la complication des défenses était, dans un moment pressant, une cause de désordre; les assiégés eux-mêmes s'égaraient ou au moins perdaient beaucoup de temps au milieu de ces nombreux détours, ou encore se trouvaient pris dans les piéges qu'eux-mêmes avaient tendus. Dès le milieu du XIIe siècle, ces défauts de la défense du donjon normand furent certainement reconnus, car on changea complétement de système, et on abandonna tout d'abord la forme rectangulaire. Une des premières et une des plus heureuses tentatives vers un système nouveau se voit à Étampes. Le donjon du château d'Étampes, quoique fort ruiné, possède encore cependant plus de trois étages, et on peut se rendre compte des divers détails de sa défense. Nous ne saurions assigner à cette construction une date antérieure à 1150 ni postérieure à 1170. Quelques chapiteaux qui existent encore et le mode de bâtir appartiennent à la dernière période de l'époque romane, mais ne peuvent cependant dater du règne de Philippe-Auguste. La tradition fait remonter la construction du donjon d'Étampes au commencement du XIe siècle, ce qui n'est pas admissible. Philippe-Auguste fit enfermer sa femme Isburge, en 1199, dans le donjon que nous voyons encore aujourd'hui 20: donc il existait avant cette époque. Le chapiteau dessiné ici (14) ne peut laisser de doutes sur la date de cette forteresse: c'est bien la sculpture du commencement de la seconde moitié du XIIe siècle.

Le plan du donjon d'Étampes est un quatre-feuilles, ce qui donne un meilleur flanquement qu'une tour cylindrique. Il est posé à l'extrémité d'un plateau qui domine la ville d'Étampes, au-dessus de la gare du chemin de fer. Les défenses du château s'étendaient autrefois assez loin sur le plateau, se dirigeant vers l'ouest et le midi; aussi, du côté de l'ouest, ce donjon était-il protégé par un mur de contre-garde ou chemise dont on voit encore les soubassements.

Ce mur (15) se retournait probablement, faisant face au sud, et aboutissait à une sorte de chaussée diagonale A' destinée à recevoir l'extrémité du pont volant qui permettait d'entrer dans la tour par une poterne percée au-dessous du niveau du premier étage. Le rez-de-chaussée était voûté grossièrement en moellons, et ces voûtes reposaient sur une grosse colonne centrale qui montait jusqu'au deuxième étage. Il fallait du premier étage descendre au niveau du rez-de-chaussée par un escalier B, pris aux dépens de l'épaisseur du mur, qui n'a pas moins de quatre mètres. En C est un puits et en D une fosse de latrines. Du vestibule E de la poterne, tournant à main gauche, on descendait donc par le degré B à l'étage inférieur; tournant à main droite, on montait par quelques marches au niveau du premier étage. Le vestibule E était ainsi placé à mi-étage afin que l'assaillant, entrant précipitamment par la poterne et allant droit devant lui, tombât d'une hauteur de quatre mètres au moins en F sur le sol de la cave, où il se trouvait enfermé; les défenseurs postés sur la rampe ascendante de droite devaient d'ailleurs le pousser dans cette fosse ouverte. La rampe de droite arrivait donc au niveau du premier étage (16), en G; de là on entrait dans la salle par l'embrasure d'une fenêtre.

Mais si l'on voulait monter au second étage, il fallait entrer dans le petit corps-de-garde H, placé juste au-dessus du vestibule de la poterne et percé d'un mâchicoulis, prendre la rampe d'escalier I qui menait à un escalier à vis desservant le second étage et les étages supérieurs; l'arrivée au niveau du second étage était placée au-dessus du point G. La margelle du puits C était placée sur les voûtes du rez-de-chaussée: c'était donc du premier étage que l'on tirait l'eau nécessaire aux besoins de la garnison. En L se voit un cabinet d'aisances. Le premier étage était primitivement couvert par un plancher dont les poutres principales, conformément au tracé ponctué, portaient sur la colonne centrale. Vers le milieu du XIIIe siècle, ce plancher fut remplacé par des voûtes. Les profils d'arêtiers de ces voûtes, les culs-de-lampe qui les portent, et la façon dont ils ont été incrustés après coup dans la construction, sont des signes certains de la restauration qui a modifié les dispositions premières du donjon d'Étampes. Le petit corps-de-garde H, placé au-dessus de la poterne, contenait probablement le mécanisme destiné à faire jouer le pont volant s'abattant sur la chaussée A'.

Le second étage (17) était destiné à l'habitation du seigneur. Il est muni de deux cheminées O et possède des latrines en L. On voit en G' l'arrivée de l'escalier dans une embrasure de fenêtre dont le sol est placé un peu au-dessous du plancher. Quatre colonnes engagées portent deux gros arcs doubleaux diagonaux dont nous reconnaîtrons l'utilité tout à l'heure; de plus, deux autres arcs doubleaux sont bandés en P, pour porter le comble central. L'escalier à vis continuait et arrivait au niveau du troisième étage crénelé disposé pour la défense. Le comble se composait d'un pavillon carré pénétré par des croupes coniques.

Supposons maintenant (18) une coupe faite sur la ligne AB des plans. Nous voyons en F la fausse entrée intérieure percée au niveau du sol de la poterne et tombant dans la cave; en B', la rampe descendant sur le sol de cette cave le long du puits; en G, l'arrivée de la rampe au niveau du sol du premier étage; en H, la porte donnant entrée dans le corps-de-garde situé au-dessus du vestibule de la poterne et dans l'escalier, partie à vis, dont la première issue se voit en G', à quelques marches au-dessous du sol du second étage. En continuant à monter cet escalier à vis, on arrivait à la porte M, percée au niveau du plancher du troisième étage, au-dessus de la grand'salle, étage uniquement destiné à la défense. Mais pour que les défenseurs pussent recevoir facilement des ordres du commandant demeurant ans cette grand'salle, ou le prévenir promptement de ce qui se passait au dehors, on avait établi des sortes de tribunes T à mi-hauteur de cette salle, dans les quatre lobes formés par le quatre-feuilles, tribunes auxquelles on descendait par des échelles de meunier passant à travers le plancher du troisième étage, ainsi que l'indique le plan de la partie supérieure (19). Cette disposition avait encore l'avantage de permettre de réunir toute la garnison dans la grand'salle sans encombrement, et d'envoyer promptement les défenseurs aux créneaux. On retrouve en place aujourd'hui les scellements des poutres principales de ces quatre tribunes, les corbeaux qui recevaient les liens, les naissances des arcs doubleaux diagonaux et des arcs parallèles avec l'amorce des deux murs qu'ils portaient; les baies supérieures sont conservées jusqu'à moitié environ de leur hauteur.

Le plan (fig. 19) fait voir que la partie supérieure était complétement libre, traversée seulement par les murs portant sur les deux arcs doubleaux marqués P dans le plan du second étage, murs percés de baies et destinés à porter la toiture centrale. Les deux gros arcs doubleaux diagonaux supportaient le plancher et le poinçon du comble. En effet, ce plancher, sur lequel il était nécessaire de mettre en réserve un approvisionnement considérable de projectiles, et qui avait à résister au mouvement des défenseurs, devait offrir une grande solidité. Il fallait donc que les solives fussent soulagées dans leur portée; les arcs diagonaux remplissaient parfaitement cet office. L'étage supérieur était percé de nombreux créneaux, ainsi que l'indique une vue cavalière gravée par Chastillon, et devait pouvoir être garni de hourds en temps de siége, conformément au système défensif de cette époque. Ces hourds, que nous avons figurés en plan (fig. 19), se retrouvent en S' sur l'un des lobes de la tour en élévation extérieure (20).

Cette élévation est prise du côté de la poterne. Aujourd'hui les constructions supérieures, à partir du niveau V, n'existent plus; mais, quoique ce donjon 21 soit fort ruiné, cependant toutes ses dispositions intérieures sont parfaitement visibles et s'expliquent pour peu qu'on apporte quelque attention dans leur examen. La bâtisse est bien faite; les pieds-droits des fenêtres, les arcs, les piles et angles sont en pierre de taille; le reste de la maçonnerie est en moellon réuni par un excellent mortier. Le donjon d'Étampes devait être une puissante défense pour l'époque; très-habitable d'ailleurs, il pouvait contenir une nombreuse garnison relativement à la surface qu'il occupe.
Les donjons sont certainement de toutes les constructions militaires celles qui expliquent le plus clairement le genre de vie, les habitudes et les moeurs des seigneurs féodaux du moyen âge. Le seigneur féodal conservait encore quelque chose du chef frank, il vivait dans ces demeures au milieu de ses compagnons d'armes; mais cependant on s'aperçoit déjà, dès le XIIe siècle, qu'il cherche à s'isoler, à se séparer, lui et sa famille, de sa garnison; on sent la défiance partout, au dedans comme en dehors de la forteresse. La nuit, les clefs du donjon et même celles du château étaient remises au seigneur, qui les plaçait sous son chevet 22. Comme nous l'avons vu et le verrons, le véritable donjon est rapproché des dehors; il possède souvent même des issues secrètes indépendantes de celles du château, pour s'échapper ou faire des sorties dans la campagne; ses étages inférieurs, bien murés, sont destinés aux provisions; ses étages intermédiaires contiennent une chapelle et l'habitation; son sommet sert à la défense; on y trouve toujours un puits, des cheminées et même des fours. D'ailleurs, les donjons présentent des dispositions très-variées, et cette variété indique l'attention particulière apportée par les seigneurs dans la construction d'une partie si importante de leurs châteaux. Il est évident que chaque seigneur voulait dérouter les assaillants par des combinaisons défensives nouvelles et qui lui appartenaient. C'est à dater du XIIe siècle que l'on remarque une singulière diversité dans ces demeures fortifiées; autant de donjons en France, autant d'exemples. Nous choisirons parmi ces exemples ceux qui présentent le plus d'intérêt au point de vue de la défense, car il faudrait sortir des limites que nous nous sommes imposées dans cet ouvrage pour les donner tous.
Suger 23 dit quelques mots du château de La Roche-Guyon, à propos de la trahison de Guillaume, beau-frère du roi, envers son gendre Gui. «Sur un promontoire que forment dans un endroit de difficile accès les rives du grand fleuve de la Seine, est bâti un château non noble, d'un aspect effrayant, et qu'on nomme La Roche-Guyon: invisible à sa surface, il est creusé dans une roche élevée; la main habile de celui qui le construisit a coupé sur le penchant de la montagne, et à l'aide d'une étroite et chétive ouverture, le rocher même, et formé sous terre une habitation d'une très-vaste étendue. C'était autrefois, selon l'opinion générale, soit un antre prophétique où l'on prenait les oracles d'Apollon, soit le lieu dont Lucain dit:
... Nam quamvis Thessala vates
Vim faciat satis, dubium est quid tra erit illue,
Aspiciat Stygias, an quod descenderit, umbras.
De là peut-être descend-on aux enfers.»
Suger parle ainsi du château dont nous voyons aujourd'hui les restes. Les souterrains taillés dans le roc existent encore, et s'ils ne sont point des antres antiques, s'ils ne descendent pas aux enfers, ils datent d'une époque assez éloignée. Les logements n'étaient cependant pas creusés dans la falaise, ainsi que le prétend Suger, mais adossés à un escarpement de craie taillé à main d'homme (voy. CHÂTEAU, fig. 8 et 9). Le château de La Roche-Guyon est de nos jours à peu près méconnaissable par suite des changements qu'il a subis; on y retrouve quelques traces de bâtisses du XIIe siècle; quant au donjon, il est entièrement conservé, sauf ses couronnements, et sa construction paraît appartenir au milieu de ce siècle.

La fig. 21 donne, en A, l'emplacement du château de La Roche-Guyon. Par un pont volant B communiquant avec les étages supérieurs du château, on arrivait à la plate-forme C taillée dans la colline coupée à pic; cette plate-forme donnait entrée dans un premier souterrain ascendant, qui aboutissait à une seconde plate-forme D à ciel ouvert. Une coupure E interceptait toute communication avec une troisième plate-forme F. Un pont de bois, que l'on pouvait détruire en cas d'attaque, permettait seul d'arriver à cette troisième plate-forme. De là, par un long souterrain ascendant dont les marches taillées dans la craie et le silex n'ont pas moins de 0,30 c. à 0,40 c. de hauteur, on arrivait, en G, dans la seconde enceinte du donjon, bâti sur le penchant de l'escarpement. En K est tracée la coupe transversale de ce souterrain. Il était absolument impossible de forcer une semblable entrée, et l'assaillant qui se serait emparé du château eût été facilement écrasé par la garnison du donjon. Voyons maintenant comment sont disposées les défenses du donjon proprement dit, placé, à La Roche-Guyon, dans une position exceptionnelle.

Voici (22) le plan, à rez-de-chaussée, de ce donjon. C'est en A que débouche le passage souterrain; à côté sont disposées des latrines dans l'épaisseur de la chemise. Un petit redan commande l'orifice inférieur du tuyau de chute de ces latrines. Du débouché A pour monter au donjon, il faut se détourner brusquement à droite et monter le degré B qui aboutit à la poterne C. À gauche, on trouve l'escalier à vis qui dessert les étages supérieurs. Le palier devant la poterne, à l'extérieur, était en bois et mobile, ainsi que le ponceau D qui aboutissait au chemin de ronde E, commandant l'escarpement. En P est un puits; en S, un petit silo destiné à conserver des salaisons 24. De l'enceinte intérieure du donjon, on débouchait dans l'enceinte extérieure par deux poternes GG', qui sont intactes. Passant sur une fosse F, les assiégés pouvaient sortir au dehors par la poterne extérieure H, parfaitement défendue par les deux parapets se coupant à angle droit. En I, à une époque assez récente, on a percé une seconde poterne extérieure; mais, primitivement, la tour I était pleine et formait un éperon épais et défendable du côté où l'assaillant devait diriger son attaque. Un fossé taillé dans le roc entourait la première enceinte, et un système de palissades et de tranchées reliait le donjon à un ouvrage avancé indiqué dans les fig. 8 et 9 de l'article CHÂTEAU. Si nous coupons le donjon longitudinalement sur la ligne OX, nous obtenons la fig. 23.

Dans cette coupe, on voit comme les deux chemises de la tour principale s'élèvent en suivant la pente du plateau pour commander les dehors du côté attaquable, comme ces chemises et la tour elle-même forment éperons de ce côté. De la tour principale, la garnison se répandait sur le chemin de ronde de la seconde chemise au moyen du pont volant indiqué en D au plan; par une suite de degrés, elle arrivait au point culminant R. Par des portes ménagées dans le parapet de cette seconde enceinte, elle se jetait sur le chemin de ronde de la première, dont le point culminant est en T. Un assaillant ne pouvait songer à attaquer le donjon par les deux flancs M et N (voy. le plan fig. 22). Il devait nécessairement diriger son attaque principale au sommet de l'angle en I; mais là, s'il voulait escalader les remparts, il trouvait derrière les parapets les défenseurs massés sur une large plate-forme; s'il voulait employer la sape, il rencontrait une masse énorme de rocher et de maçonnerie. En admettant qu'il pût pénétrer entre la première et la seconde enceinte, il lui était difficile de monter sur le chemin de ronde de la chemise extérieure, et il se trouvait exposé aux projectiles lancés du haut des chemins de ronde de la première et de la seconde chemise. Les mêmes difficultés se rencontraient s'il voulait percer cette seconde chemise. S'il parvenait à la franchir, il lui était impossible de se maintenir et d'agir dans l'étroit espace laissé entre la seconde chemise et la tour. Il n'y avait d'autre moyen de s'emparer de ce donjon que de cheminer, par la mine souterraine, du point I au point S; or on comprend qu'une pareille entreprise fût longue et d'une exécution difficile, d'autant que l'assiégé pouvait contre-miner facilement entre les deux chemises et détruire les travaux des assiégeants.

L'élévation latérale (24) indique la pente du plateau de craie, son escarpement fait à main d'homme, la position des souterrains communiquant avec le château et les niveaux différents des parapets des deux chemises, ainsi que le commandement de la tour principale. Tout, dans cette construction entièrement dépourvue d'ornements, est profondément calculé au point de vue de la défense. Le renforcement des murs des deux chemises, à mesure que ces murs prennent plus d'élévation et se rapprochent du point attaquable, la disposition des éperons destinés à résister à la sape et à recevoir un nombre considérable de défenseurs à l'extrémité du saillant en face la partie dominante du plateau, la manière dont les poternes sont disposées de façon à être masquées pour les assaillants, tout cela est fort sagement conçu et exécuté avec soin. Ici la règle «ce qui défend doit être défendu» est parfaitement observée. Les constructions sont bien faites, en moellons avec arêtes, arcs et pieds-droits en pierre de taille. Dans cette bâtisse, pas un profil, pas un coup de ciseau inutile; celui qui l'a commandée et celui qui l'a exécutée n'ont eu que la pensée d'élever sur ce promontoire un poste imprenable; l'artillerie moderne seule peut avoir raison de cette petite forteresse.
Il est certain que les seigneurs féodaux qui habitaient ces demeures devaient y mourir d'ennui, lorsqu'ils étaient obligés de s'y renfermer (ce qui arrivait souvent); aussi ne doit-on pas s'étonner si, à la fin du XIe siècle et pendant le XIIe, ils s'empressèrent de se croiser et de courir les aventures en terre sainte. Pendant les longues heures de loisir laissées à un châtelain enfermé dans un de ces tristes donjons, l'envie, les sentiments de haine et de défiance devaient germer et se développer sans obstacles; mais aussi, dans les âmes bien faites, les résolutions généreuses, mûries, les pensées élevées devaient se faire jour: car si la solitude est dangereuse pour les esprits faibles, elle développe et agrandit. les coeurs bien nés. C'est, en effet, du fond de ces sombres donjons que sont sortis ces principes de chevalerie qui ont pris dans l'histoire de notre pays une si large part, et qui, malgré bien des fautes, ont contribué à assurer sa grandeur. Respectons ces débris; s'ils rappellent des abus odieux, des crimes même, ils conservent l'empreinte de l'énergie morale dont heureusement nous possédons encore la tradition.
On observera que les donjons romans que nous avons reproduits jusqu'à présent ne sont pas voûtés à l'intérieur, mais que leurs étages sont habituellement séparés par des planchers de bois; les défenseurs admettaient qu'un étage inférieur étant pris, la défense pouvait encore se prolonger et la garnison reprendre l'offensive. L'assaillant avait cependant un moyen bien simple de s'emparer de la forteresse s'il parvenait à pénétrer dans les étages bas: c'était de mettre le feu aux planchers. Les assiégés devaient déployer une bien grande activité s'ils voulaient empêcher cette catastrophe. Il est certain que ce moyen fut souvent employé par des assaillants; aussi pensa-t-on bientôt à voûter au moins les étages inférieurs des donjons.
Il existe encore à Provins un donjon bâti sur le point culminant de cette ville, si curieuse par la quantité d'édifices publics et privés qu'elle renferme: c'est la tour dite de César, ou la Tour-le-Roi, ou Notre-Sire-le-Roi. C'est un véritable donjon dont relevaient la plupart des fiefs du domaine de Provins, et qui fut construit vers le milieu du XIIe siècle. Le donjon de Provins présente en plan un octogone à quatre côtés plus petits que les quatre autres, les petits côtés étant flanqués de tourelles engagées à leur base, mais qui, se détachant du corps de la construction dans la partie supérieure, permettent ainsi de battre tous les alentours. Ce donjon pouvait être garni d'un grand nombre de défenseurs, à cause des différents étages en retraite et de la position flanquante des tourelles.

Voici (25) le plan du rez-de-chaussée de ce donjon dont la base fut terrassée, au XVe siècle, par les Anglais, pour recevoir probablement de l'artillerie à feu. En C, on voit la place qu'occupe ce terrassement. En P est un puits auquel on descend par une rampe dont l'entrée est en F. En G, un four établi au XVe siècle; en H, une ancienne chapelle.

La fig. 26 donne le plan du premier étage de ce donjon; c'est seulement au niveau de cet étage que l'on trouvait quatre poternes I mises en communication avec la chemise extérieure au moyen de ponts volants. D'un côté, au sud, l'un de ces ponts volants, tombant sur une chaussée détournée, correspondait au mur de prolongement D aboutissant à la porte de Paris et mettant le parapet de la chemise en communication avec le chemin de ronde de ce rempart. Par l'escalier à vis K, on montait aux chemins de ronde supérieurs indépendants du logis. Il fallait du premier étage descendre au rez-de-chaussée, qui n'avait avec les dehors aucune communication. On trouve dans l'épaisseur du mur du rez-de-chaussée un assez vaste cachot qui, dit-on, servit de prison à Jean le Bon, duc de Bretagne. Le premier étage présente un grand nombre de réduits, de pièces séparées propres au logement des chefs. On pouvait du premier étage, par les quatre poternes I, se répandre facilement sur le chemin de ronde de la chemise, terrassée aujourd'hui.
Le second étage (27) fait voir, en K, l'arrivée de l'escalier à vis; en L, les chemins de ronde crénelés auxquels on arrive par les petites rampes doubles N; en M, les quatre tourelles flanquantes. Ici, comme à Chambois, un chemin de ronde voûté en berceau se trouve sous le crénelage supérieur.

La coupe (28), faite sur la ligne AB des plans du rez-de-chaussée et du premier étage, indique la descente au puits, les poternes percées à des niveaux différents, celle de droite, principale (puisqu'elle est percée en face le chemin d'arrivée), n'étant pas en communication directe avec la salle intérieure du premier étage. À mi-hauteur du premier étage, on voit un crénelage défendant les quatre faces principales; puis, à la hauteur du second étage, le chemin de ronde voûté en berceau et le crénelage supérieur dont les crénelages sont munis de hourds saillants débordant les tourelles. Aujourd'hui, la construction est à peu près détruite à partir du niveau XX. La position des hourds en bois des quatre faces supérieures ne paraît pas douteuse; on ne s'expliquerait pas autrement la retraite ménagée au-dessus du chemin de ronde de l'entre-sol, retraite qui paraît avoir été destinée à porter les pieds des grands liens de ces hourds, assez saillants pour former mâchicoulis en avant du chemin de ronde supérieur. Ces hourds, ainsi disposés, flanquent les tourelles qui, elles-mêmes, flanquent les faces.

Une élévation intérieure (29), en supposant le mur de la chemise coupé suivant la ligne RS du plan, fig. 26, explique la disposition des poternes avec les ponts volants C, ainsi que les étages de défenses superposées avec les hourds de bois. Le donjon de Provins est bâti avec grand soin. Au XVIe siècle, ces ponts volants n'existaient plus; le mur de la chemise, dérasé, terrassé, laissait le seuil des poternes à quelques mètres au-dessus du niveau de la plate-forme, et on n'entrait dans le donjon que par des échelles 25. Le rez-de-chaussée et le premier étage, ainsi que le fait voir la coupe (fig. 28), sont voûtés, la voûte supérieure étant percée d'un oeil afin de permettre de hisser facilement des projectiles sur les chemins de ronde supérieurs et de donner des ordres du sommet aux gens postés dans la salle du premier étage.
Le principal défaut de ces forteresses, en se reportant même au temps où elles ont été bâties, c'est la complication des moyens défensifs, l'exiguïté des passages, ces dispositions de détail multipliées, ces chicanes qui, dans un moment de presse, ralentissaient l'action de la défense, l'empêchaient d'agir avec vigueur et promptitude sur un point attaqué. Ces donjons des XIe et XIIe siècles sont plutôt faits pour se garantir des surprises et des trahisons que contre une attaque de vive force dirigée par un capitaine hardi et tenace. De ces sommets étroits, encombrés, on se défendait mal. Au moment d'une alerte un peu chaude, les défenseurs, par leur empressement même, se gênaient réciproquement, encombraient les chemins de ronde, s'égaraient dans les nombreux détours de la forteresse. Aussi, quand des princes devinrent assez puissants pour mettre en campagne des armées passablement organisées, nombreuses et agissant avec quelque ensemble, ces donjons romans ne purent se défendre autrement que par leur masse. Leurs garnisons, réduites à un rôle presque passif, ne pouvaient faire beaucoup de mal à des assaillants bien couverts par des mantelets ou des galeries, procédant avec méthode et employant déjà des engins d'une certaine puissance. Philippe-Auguste et son terrible adversaire, Richard-Coeur-de-Lion, tous deux grands preneurs de places, tenaces dans l'attaque, possédant des corps armés pleins de confiance dans la valeur de leurs chefs, excellents ingénieurs pour leur temps, firent une véritable révolution dans l'art de fortifier les places et particulièrement les donjons. Tous deux sentirent l'inutilité et le danger même, au point de vue de la défense, de ces détours prodigués dans les dernières forteresses romanes. Nous avons essayé de faire ressortir l'importance de la citadelle des Andelys, le Château-Gaillard, bâti sous la direction et sous les yeux de Richard 26; le donjon de cette forteresse est, pour le temps, une oeuvre tout à fait remarquable. Le premier, Richard remplaça les hourds de bois des crénelages par des mâchicoulis de pierre, conçus de manière à enfiler entièrement le pied de la fortification du côté attaquable.

La vue perspective (30) du donjon du Château-Gaillard, prise du côté de la poterne, explique la disposition savante de ces mâchicoulis, composés d'arcs portés sur des contre-forts plus larges au sommet qu'à la base et naissant sur un talus prononcé très-propre à faire ricocher les projectiles lancés par les larges rainures laissées entre ces arcs et le nu du mur.

Le plan (31) de ce donjon, pris au niveau de la poterne qui s'ouvre au premier étage, fait voir la disposition de cette poterne P, avec sa meurtrière enfilant la rampe très-roide qui y conduit et le large mâchicoulis qui la surmonte; les fenêtres ouvertes du côté de l'escarpement; l'éperon saillant A renforçant la tour du côté attaquable et contraignant l'assaillant à se démasquer; le front B développé en face la porte du château. Le degré C aboutissait à une poterne d'un accès très-difficile ménagée sur le précipice et s'ouvrant dans l'enceinte bien flanquée décrite dans l'article CHÂTEAU, fig. 11. Le donjon, dont le pied est entièrement plein et par conséquent à l'abri de la sape, se composait d'une salle ronde à rez-de-chaussée à laquelle il fallait descendre, d'un premier étage au niveau de la poterne P, d'un second étage au niveau des mâchicoulis avec chemin de ronde crénelé, d'un troisième étage en retraite, fermé, propre aux approvisionnements de projectiles, et d'un quatrième étage crénelé et couvert, commandant le chemin de ronde et les dehors au loin (fig. 30). Du côté de l'escarpement abrupt D, qui domine le cours de la Seine (fig. 31), les mâchicoulis étaient inutiles, car il n'était pas possible à des assaillants de se présenter sur ce point; aussi Richard n'en fit point établir. À l'intérieur, les divers étages n'étaient en communication entre eux qu'au moyen d'escaliers de bois traversant les planchers. Ainsi, dans ce donjon, rien de trop, rien d'inutile, rien que ce qui est absolument nécessaire à la défense. Cet ouvrage, à notre avis, dévoile, chez le roi Richard, un génie militaire vraiment remarquable, une étude approfondie des moyens d'attaque employés de son temps, un esprit pratique fort éloigné de la fougue inconsidérée que les historiens modernes prêtent à ce prince. Aujourd'hui les constructions sont dérasées à la hauteur de la naissance des mâchicoulis en O (fig. 30).
Cependant ce donjon fut pris par Philippe-Auguste, sans que les défenseurs, réduits à un petit nombre d'hommes, eussent le temps de s'y réfugier; ces défenses étaient encore trop étroites, l'espace manquait; il faut dire que cette tour ne doit être considérée que comme le réduit d'un ouvrage très-fort qui lui servait de chemise. Les portes relevées des donjons romans, auxquelles on ne pouvait arriver qu'au moyen d'échelles ou de rampes d'un accès difficile, étaient, en cas d'attaque vive, une difficulté pour les défenseurs aussi bien que pour les assiégeants, si ces défenseurs, à cause de la faiblesse de la garnison, se trouvaient forcés de descendre tous pour garder les dehors. Mais alors, comme aujourd'hui, toute garnison qui n'était pas en rapport de nombre avec l'importance de la forteresse était compromise, et ces réduits devaient conserver leur garnison propre, quitte à sacrifier les défenseurs des ouvrages extérieurs, si ces ouvrages étaient pris. À la prise du Château-Gaillard, Roger de Lascy, qui commandait pour le roi Jean sans Terre, ne possédant plus que les débris d'une garnison réduite par un siége de huit mois, avait dû se porter avec tout son monde sur la brèche de la chemise extérieure du donjon pour la défendre; ses hommes et lui, entourés par les nombreux soldats de Philippe-Auguste se précipitant à l'assaut, ne purent se faire jour jusqu'à cette rampe étroite du donjon: Roger de Lascy fut pris, et le donjon tomba entre les mains du vainqueur à l'instant même. Il semble que cette expérience profita à Philippe-Auguste, car lorsque ce prince bâtit le donjon du Louvre, il le perça d'une poterne presque au niveau du sol extérieur avec pont à bascule et fossé. Du donjon du Louvre il ne reste que des descriptions très-laconiques et des figurés fort imparfaits; nous savons seulement qu'il était cylindrique, que son diamètre extérieur était de vingt mètres et sa hauteur de quarante mètres environ. Philippe-Auguste paraît avoir considéré la forme cylindrique comme étant celle qui convenait le mieux à ces défenses suprêmes. Si le donjon du Louvre n'existe plus, celui du château de Rouen, bâti par ce prince, existe encore, du moins en grande partie, et nous donne un diminutif de la célèbre tour du Louvre dont relevaient tous les fiefs de France. Ce donjon était à cheval sur la courtine du château et possédait deux entrées le long des parements intérieurs de cette courtine. Ces entrées, peu relevées au-dessus du sol, étaient en communication avec de petits degrés isolés, sur la tête desquels tombaient des ponts à bascule.

Voici (32) le plan du rez-de-chaussée du donjon du château de Rouen. En AA' sont les deux poternes; en BB', les murs de la courtine dont on voit encore les arrachements. À côté de l'escalier à vis qui monte aux étages supérieurs sont des latrines, et en C est un puits. Ce rez-de-chaussée et le premier étage (33) sont voûtés; les murs ont près de quatre mètres d'épaisseur. Aujourd'hui (34) 27, les constructions sont dérasées au niveau D, et nous n'avons, pour restaurer la partie supérieure, que des données insuffisantes.

Toutefois on doit admettre que cette partie supérieure comprenait, suivant l'usage, un étage sans plancher et l'étage de la défense avec son chemin de ronde muni de hourds portés sur des corbeaux de pierre. Le donjon du château de Rouen tenait à deux courtines, en interrompant absolument la communication d'un chemin de ronde à l'autre, puisque aucune issue ne s'ouvrait de l'intérieur du donjon sur ces chemins de ronde. Au Louvre, le donjon, planté au centre d'une cour carrée, était entièrement isolé et ne commandait pas les dehors suivant la règle ordinaire. Mais le Louvre tout entier pouvait être considéré comme un vaste donjon dont la grosse tour centrale était le réduit. Cependant la forme cylindrique, adoptée par Philippe-Auguste, était évidemment celle qui convenait le mieux à ce genre de défense, eu égard aux moyens d'attaque de l'époque. Ce prince pensait avec raison que ses ennemis emploieraient, pour prendre ses châteaux, les moyens que lui-même avait mis en pratique avec succès: or Philippe-Auguste avait eu à faire le siége d'un grand nombre de châteaux bâtis conformément au système normand, et il avait pu reconnaître, par expérience, que les angles des tours et donjons quadrangulaires donnaient toujours prise aux assaillants; car ces angles saillants, mal défendus, permettaient aux pionniers de s'attacher à leur base, de saper les fondations à droite et à gauche, et de faire tomber deux pans de mur. La forme cylindrique ne donnait pas plus de prise sur un point que sur un autre, et, admettant que les pionniers pussent saper un segment du cercle, il fallait que ces excavations fussent très-étendues pour faire tomber une tranche du cylindre: de plus, Philippe-Auguste, ainsi que le fait voir le plan du donjon du château de Rouen, donnait aux murs de ses donjons cylindriques une épaisseur énorme comparativement à leur diamètre; il était avare d'ouvertures, renonçait aux planchers de bois inférieurs afin d'éviter les chances d'incendie. Ce système prévalut pendant le cours du XIIIe siècle.
Le donjon du Louvre était à peine bâti et Philippe-Auguste dans la tombe, que le seigneur de Coucy, Enguerrand III, prétendit élever un château féodal dont le donjon surpassât de beaucoup, en force et en étendue, l'oeuvre de son suzerain. Cette entreprise colossale fut conduite avec une activité prodigieuse, car le château de Coucy et son donjon, commencés sitôt après la mort de Philippe-Auguste en 1223, étaient achevés en 1230 (voy. CHÂTEAU, CONSTRUCTION). Le donjon de Coucy est la plus belle construction militaire du moyen âge qui existe en Europe, et heureusement elle nous est conservée à peu près intacte. Auprès de ce géant, les plus grosses tours connues, soit en France, soit en Italie ou en Allemagne, ne sont que des fuseaux. De plus, cette belle tour nous donne de précieux spécimens de la sculpture et de la peinture du commencement du XIIIe siècle appliqués aux résidences féodales. Les plans que nous avons donnés du château de Coucy à l'article CHÂTEAU, fig. 16, 17 et 18, font assez connaître l'assiette de la forteresse pour qu'il ne soit pas nécessaire de revenir ici sur cet ensemble de constructions militaires. Nous nous occuperons exclusivement ici du donjon, en renvoyant nos lecteurs à l'article précité, pour l'explication de ses abords, de sa chemise, de ses défenses, de ses issues extérieures et de son excellente assiette, si bien choisie pour commander les dehors de la forteresse du côté attaquable, pour protéger les défenses du château lui-même. Le diamètre de l'énorme tour, non compris le talus inférieur, a trente mètres cinquante centimètres hors oeuvre; sa hauteur, du fond du fossé dallé au sommet, non compris les pinacles, est de cinquante-cinq mètres.

Voici (35) le plan du rez-de-chaussée du donjon de Coucy. La poterne est en A; c'est l'unique entrée défendue par un pont à bascule très-adroitement combiné (voy. POTERNE), par un mâchicoulis, une herse, un ventail barré, un second ventail au delà de l'entrée de l'escalier et une grille. Une haute chemise en maçonnerie protége la base du donjon du côté des dehors, et, entre cette chemise et la tour, est un fossé de huit mètres de largeur, entièrement dallé, dont le fond est à cinq mètres en contre-bas du seuil de la poterne. Le couloir d'entrée permet de prendre à droite une rampe aboutissant à un large escalier à vis qui dessert tous les étages. En se détournant à gauche, on arrive à des latrines B. En D est un puits très-large, qui n'a pas encore été vidé, mais qui, dans l'état actuel, n'a pas moins de trente mètres de profondeur. De plain-pied, par le couloir de la poterne, on entrait dans une salle à douze pans percés de douze niches à double étage pour pouvoir ranger des provisions et des armes; une de ces niches, la seconde après le puits, sert de cheminée. Cette salle, éclairée par deux fenêtres carrées très-relevées au-dessus du sol, était voûtée au moyen de douze arcs aboutissant à une clef centrale percée d'un oeil, pour permettre de hisser au sommet les armes et engins de défense. Nous avons fait, au centre de cette salle, une fouille, afin de reconnaître s'il existait un étage souterrain; mais la fouille ne nous a montré que le roc à une assez faible profondeur, de sorte que les pionniers qui seraient parvenus à percer le cylindre au niveau du fond du fossé auraient pu cheminer sans rencontrer de vide nulle part. On remarquera que, du fond des niches à la circonférence de la tour, la maçonnerie n'a pas moins de cinq mètres cinquante centimètres.

L'escalier à vis nous conduit au premier étage (36), voûté comme le rez-de-chaussée, possédant des niches, trois fenêtres, des latrines et une cheminée E avec un four par-derrière. Au-dessous de l'une des baies de fenêtres, on établit, au XVe siècle, un cabinet avec passage particulier; cette modification est indiquée au plan par une teinte grise. Au fond d'une des niches de droite est percé un couloir étroit aboutissant à un pont volant D communiquant avec le chemin de ronde de la chemise (voy. la description du château à l'article CHÂTEAU, fig. 17).

Reprenant l'escalier à vis, nous montons au second étage (37), qui nous présente l'une des plus belles conceptions du moyen âge. Cet étage, voûté comme ceux du dessous, se composait d'une salle dodécagone entourée d'une galerie relevée de 3m,30 au-dessus du pavé de cette salle et formant ainsi un large portique avec balcons disposés pour réunir toute la garnison sur un seul point, en permettant à chacun d'entendre les ordres généraux et de voir le commandant placé au centre. Deux fenêtres et l'oeil central éclairaient cette salle. Sous les balcons, en G, sont des niches qui ajoutent à la surface de la salle. L'escalier à vis est disposé de façon à donner entrée à droite et à gauche dans le portique.

Le troisième étage (38) est à ciel ouvert, percé de nombreuses meurtrières et de créneaux; des corbeaux en pierre, formant une forte saillie à l'extérieur, étaient destinés à supporter un double hourdage en bois, propre à la défense. La voûte centrale était couverte de plomb ainsi que celles du portique. Les créneaux, fermés par des arcs brisés, sont surmontés d'une belle corniche à doubles crochets avec larmier.

Une coupe de ce donjon (39), faite sur OP, explique mieux que toute description les dispositions grandioses de la grosse tour du château de Coucy. Nous avons représenté, au sommet, une partie des hourds à double défense, posés sur les corbeaux de pierre. Quatre grands pinacles en pierre avec fleurons et crochets surmontaient le chaperon supérieur du mur crénelé; ces pinacles sont indiqués dans la gravure de Ducerceau, et, dans les décombres extraits du fossé, nous en avons retrouvé des fragments d'un beau style du commencement du XIIIe siècle. Tout, dans ce donjon, est bâti sur une échelle plus grande que nature; les allèges des créneaux, les marches des escaliers, les bornes, les appuis semblent faits pour des hommes d'une taille au-dessus de l'ordinaire. Les salles étaient entièrement peintes à l'intérieur, sur un enduit mince à la chaux, recouvrant l'appareil qui est grossier (voy. PEINTURE). La maçonnerie, élevée en assises régulières de 0,40 c. à 0,50 c. de hauteur, est bien faite; le mortier excellent, les lits épais et bien remplis. La sculpture est traitée avec un soin particulier et des plus belles de cette époque; elle est complétement peinte.
L'ingénieur Métezeau, qui fut chargé par le cardinal Mazarin de détruire le château de Coucy, voulut faire sauter le donjon. À cet effet, il chargea, au centre, à deux mètres au-dessous du sol, un fourneau de mine dont nous avons retrouvé la trace. Il pensait ainsi faire crever l'énorme cylindre; mais l'explosion n'eut d'autre résultat que d'envoyer les voûtes centrales en l'air et d'occasionner trois principales lézardes dans les parois du tube de pierre. Les choses restèrent en cet état jusqu'à ces derniers temps. De nouveaux mouvements ayant fait craindre l'écroulement d'une des tranches de la tour lézardée, des travaux de restauration furent entrepris sous la direction des Monuments historiques dépendant du ministère d'État, et aujourd'hui cette belle ruine est à l'abri des intempéries; les lézardes ont été reprises à fond, les parties écrasées consolidées. Si les voûtes étaient rétablies, on retrouverait le donjon d'Enguerrand III dans toute sa splendeur sauvage. La disposition vraiment originale du donjon de Coucy est celle de ce second étage destiné à réunir la garnison.

Nous essayons d'en donner une faible idée dans la fig. 40. Qu'on se représente par la pensée un millier d'hommes d'armes réunis dans cette rotonde et son portique disposé comme des loges d'une salle de spectacle, des jours rares éclairant cette foule; au centre, le châtelain donnant ses ordres, pendant qu'on s'empresse de monter, au moyen d'un treuil, des armes et des projectiles à travers les oeils des voûtes. Ou encore, la nuit, quelques lampes accrochées aux parois du portique, la garnison sommeillant ou causant dans ce vaste réservoir d'hommes; qu'on écoute les bruits du dehors qui arrivent par l'oeil central de la voûte, l'appel aux armes, les pas précipités des défenseurs sur les hourds de bois, certes on se peindra une scène d'une singulière grandeur. Si loin que puisse aller l'imagination des romanciers ou des historiens chercheurs de la couleur locale, elle leur représentera difficilement ce que la vue de ces monuments si grands et si simples dans leurs dispositions rend intelligible au premier coup d'oeil. Aussi conseillons-nous à tous ceux qui aiment à vivre quelquefois dans le passé d'aller voir le donjon de Coucy, car rien ne peint mieux la féodalité dans sa puissance, ses moeurs, sa vie toute guerrière, que cet admirable débris du château d'Enguerrand.
Les donjons normands sont des logis plus ou moins bien défendus, élevés par la ruse et la défiance; les petits moyens sont accumulés pour dérouter l'assaillant: ce sont des tanières plutôt que des édifices. Au fond, dans ces forteresses, nulle disposition d'ensemble, mais force expédients. Le donjon normand tient encore de la demeure du sauvage rusé; mais, à Coucy, on reconnaît la conception méthodique de l'homme civilisé qui sait ce qu'il veut et dont la volonté est puissante; ici plus de tâtonnements: la forteresse est bâtie rapidement, d'un seul jet; tout est prévu, calculé, et cela avec une ampleur, une simplicité de moyens faites pour étonner l'homme indécis de notre temps.
Cependant, au XIIIe siècle déjà, la féodalité perdait ces moeurs héroïques, peut-on dire, dont Enguerrand III est le dernier et le plus grand modèle. Ces demeures de géants ne pouvaient convenir à une noblesse aimant ses aises, politiquement affaiblie, ruinée par son luxe, par ses luttes et ses rivalités, prévoyant la fin de sa puissance et incapable de la retarder. Les grands vassaux de saint Louis et de Philippe le Hardi n'étaient plus de taille à construire de pareilles forteresses; ils ne pouvaient se résoudre à passer les journées d'un long siége dans ces grandes salles voûtées, à peine éclairées, en compagnie de leurs hommes d'armes, partageant leur pain et leurs provisions. Chose digne de remarque, d'ailleurs, le donjon normand est divisé en un assez grand nombre de chambres; le seigneur peut y vivre seul; il cherche à s'isoler des siens, et même, au besoin, à se garantir d'une trahison. Le donjon de Philippe-Auguste, dont Coucy nous présente le spécimen le plus complet, est la forteresse dernière, le réduit d'un corps armé, agissant avec ensemble, mu par la pensée d'unité d'action. La tour est cylindrique; cette forme de plan seule indique le système de défense partant d'un centre, qui est le commandant, pour se répandre suivant le besoin et rayonner, pour ainsi dire. C'est ainsi qu'on voit poindre chez nous, en pleine féodalité, ce principe de force militaire qui réside, avant tout, dans l'unité du commandement et la confiance des soldats en leur chef suprême. Et ce principe, que Philippe-Auguste avait si bien compris et mis en pratique, ce principe admis par quelques grands vassaux au commencement du XIIIe siècle, la féodalité l'abandonne dès que le pouvoir monarchique s'étend et attire à lui les forces du pays. C'est ainsi que les monuments gardent toujours l'empreinte du temps qui les a élevés.
Les peintures intérieures du donjon de Coucy ne consistent qu'en refends blancs sur fond ocre jaune, avec de belles bordures autour des archivoltes. Bientôt on ne se contenta pas de ces décorations d'un style sévère; on voulut couvrir les parois des salles de sujets, de personnages, d'armoiries, de légendes. La noblesse féodale aimait les lettres, s'occupait d'art, tenait à instruire la jeunesse et lui présenter sans cesse devant les yeux de beaux exemples de chevalerie. «En l'an que l'on contoit mil quatre cens et XVI, et le premier jour de may, je, le seigneur de Caumont, estant de l'aage de XXV ans, me estoie en ung beau jardin de fleurs où il avoit foyson de oiseaux qui chantoient de beaux et gracieux chans, et en plusieurs de manières, don ils me feirent resjouir, si que, emprès, je fuy tant en pansant sur le fait de cest monde, que je veoye moult soutil et incliné à mault fère, et que tout ce estoit néant, à comparer à l'autre qui dure sans fin...»
«Et lors il me va souvenir de mes petits enfants qui sont jeunes et ignocens, lesquelx je voudroie que à bien et honneur tournassent, et bon cuer eussent, ainxi comme père doit vouloir de ces filz. Et parce que, selon nature, ils doyvent vivre plus que moy, et que je ne leur pourroie pas enseigner ne endoctrinier, car il faudra que je laisse cest monde, comme les autres, me suis pansé que je leur feisse et laissasse, tant dés que je y surs, ung livre de ensenhemens, pour leur demonstrer comment ilz se devront gouverner, selon se que est à ma semblance... 28» Ce passage indique assez quelles étaient, au commencement du XIVe siècle, les tendances de la noblesse féodale; le temps de la sauvage rudesse était passé; beaucoup de seigneurs s'adonnaient à l'étude des lettres et des arts, cherchant à s'entourer dans leurs châteaux de tout ce qui était propre à rendre ces demeures supportables et à élever l'esprit de la jeunesse. «...Au chef de le ditte ville (de Mazières) a ung très beau chasteau et fort sur une rivière, bien enmurré et de grosses tours machacollées tout autour, et par dedens est tout dépint merveilleusemant de batailles; et y troverez de toux les généracions Crestiens et Sarrazins, ung pareil, mascle et femèle, chacun sellon le porteure de son païs 29.»
Nous trouvons la trace de ces décorations intérieures des donjons déjà au XIIIe siècle.
«De vert marbre fu li muralz (du donjon),
Mult par esteit espès è halz;
N'i out fors une sule entrée,
Cele fu noit è jur gardée.
De l'altre part fu clos de mer
Nuls ne pout issir ne entrer,
Si ceo ne fust od un batel,
Qui busuin éust ù castel.
Li Sire out fair dedenz le meur,
Pur sa femme metre à seur.
Chaumbre souz ciel n'ont plus bele;
À l'entrée fu la capele:
La caumbre est painte tut entur;
Vénus la dieuesse d'amur,
Fu très bien mis en la peinture,
Les traiz mustrez è la nature,
Cument hum deit amur tenir,
E léalment é bien servir,
Le livre Ovide ù il enseigne,
Coment cascuns s'amour tesmegne,
En un fu ardent les jettout;
E tuz iceux escumengout,
Ki jamais cel livre lireient,
Et sun enseignement fereient 30.»
Ici les sujets de peinture sont empruntés à l'antiquité païenne. Souvent, dans ces peintures, les artistes interprétaient, de la façon la plus singulière, les traits de l'histoire grecque et romaine, les soumettant aux moeurs chevaleresques de l'époque. Hector, Josué, Scipion, Judas-Macchabée, César, se trouvaient compris parmi les preux, avec Charlemagne, Roland et Godefroy de Bouillon. Les héros de l'histoire sacrée et profane avaient leurs armoiries tout comme les chevaliers du moyen âge.
Des hommes qui se piquaient de sentiments chevaleresques, qui considéraient la courtoisie comme la plus belle des qualités et la société des femmes comme la seule qui pût former la jeunesse, devaient nécessairement abandonner les tristes donjons du temps de Philippe-Auguste. Cependant il fallait toujours songer à la défense. Au XIVe siècle, la féodalité renonce aux gros donjons cylindriques; elle adopte de préférence la tour carrée flanquée de tourelles aux angles, comme plus propre à l'habitation. C'est sur ce programme que Charles V fit rebâtir le célèbre donjon de Vincennes, qui existe encore, sauf quelques mutilations qui ont modifié les détails de la défense 31. Ce donjon, commandant les dehors et placé sur un des grands côtés de l'enceinte du château, est protégé par un fossé revêtu et par une chemise carrée, avec porte bien défendue du côté de la cour du château. Il se compose, comme chacun sait, d'une tour carrée de quarante mètres de haut environ avec quatre tourelles d'angle montant de fond. Sa partie supérieure se défend par deux étages de créneaux. Il fut toujours couvert par une plate-forme posée sur voûte. À l'intérieur, chaque étage était divisé en plusieurs pièces, une grande, oblongue, une de dimension moyenne et un cabinet, sans compter les tourelles; ces pièces possédaient, la plupart, des cheminées, un four, et sont éclairées par de belles fenêtres terminées par des archivoltes brisées. Déjà le donjon du Temple à Paris, achevé en 1306 32, avait été bâti sur ce plan; sa partie supérieure, au lieu d'être terminée par une plate-forme, était couverte par un comble en pavillon, avec quatre toits coniques sur les tourelles d'angle; mais le donjon du Temple était plutôt un trésor, un dépôt de chartes, de finances, qu'une défense.
Nous croyons inutile de multiplier les exemples de donjons des XIIIe et XIVe siècles, car ils ne se font pas remarquer par des dispositions particulières; ils sont carrés ou cylindriques: s'ils sont carrés, ils ressemblent fort aux tours bâties à cette époque et n'en diffèrent que par les dimensions (voy. TOUR); s'ils sont cylindriques, à partir de la fin du XIIIe siècle, ils contiennent des étages voûtés, et ne sauraient être comparés au donjon de Coucy que nous venons de donner. Ce n'est qu'au moment où les moeurs féodales se transforment, où les seigneurs châtelains prétendent avoir des demeures moins fermées et moins tristes, que le donjon abandonne la forme d'une tour qu'il avait adoptée vers la fin du XIIe siècle, pour revêtir celle d'un logis défendu, mais contenant tout ce qui peut rendre l'habitation facile.
Louis de France, duc d'Orléans, second fils de Charles V, né en 1371 et assassiné à Paris en novembre 1407, dans la rue Barbette, était grand amateur des arts. Ce prince rebâtit les châteaux de Pierrefonds, de la Ferté-Milon, de Villers-Cotterets; fit exécuter des travaux considérables dans le château de Coucy, qu'il avait acquis de la dernière héritière des sires de Coucy. Louis d'Orléans fut le premier qui sut allier les dispositions défensives adoptées, à la fin du XIVe siècle, dans les demeures féodales, aux agréments d'une habitation seigneuriale. Les châteaux qu'il nous a laissés, et dont nous trouvons le spécimen le plus complet à Pierrefonds, sont non-seulement de magnifiques demeures qui seraient encore très-habitables de nos jours, mais des places fortes de premier ordre, que l'artillerie déjà perfectionnée du XVIIe siècle put seule réduire.
Il est étrange que l'influence des princes de la branche cadette issue de Charles V sur les arts en France n'ait pas encore été constatée comme elle mérite de l'être. Les monuments laissés par Louis d'Orléans et par son fils Charles sont en avance de près d'un demi-siècle sur le mouvement des arts dans notre pays. Le château de Pierrefonds, commencé en 1400 et terminé avant la mort du premier des Valois, est encore une place forte du XIVe siècle, mais décorée avec le goût délicat des habitations du temps de Charles VIII.
Le donjon de ce château contient les logis du seigneur, non plus renfermés dans une tour cylindrique ou carrée, mais distribués de manière à présenter une demeure vaste, commode, pourvue des accessoires exigés par une existence élégante et recherchée, en même temps qu'elle est une défense puissante parfaitement entendue, impossible à attaquer autrement que par des batteries de siége; or, au commencement du XVe siècle, on ne savait pas encore ce que c'était que l'artillerie de siége. Les bouches à feu étaient de petite dimension, portées en campagne sur des chevaux ou des chariots, et n'étaient guère employées que contre la formidable gendarmerie de l'époque. Examinons les dispositions du donjon de Pierrefonds, que nous avons déjà données dans le plan d'ensemble de ce château (voy. CHÂTEAU, fig. 24).

Le donjon de Pierrefonds (41) 33 est voisin de l'entrée principale A du château, et flanque cette entrée de façon à en interdire complétement l'approche. Il possède, en outre, une poterne B, très-relevée au-dessus du sol extérieur. Ainsi remplit-il les conditions ordinaires qui voulaient que tout donjon eût deux issues, l'une apparente, l'autre dérobée. La porte A du château, défendue par un pont-levis, des vantaux, un corps-de-garde a, une herse et une seconde porte barrée, avait, comme annexe obligée à cette époque, une poterne pour les piétons, avec son pont-levis particulier b et entrée détournée le long du corps-de-garde; de plus, le couloir de la porte était enfilé par une échauguette posée sur le contre-fort C. Pour entrer dans le logis, on trouvait un beau perron D avec deux montoirs (voy. MONTOIR, PERRON), puis un large escalier à vis E montant aux étages supérieurs. Une porte bâtarde F donnait entrée dans le rez-de-chaussée voûté servant de magasin pour les approvisionnements. Par un degré assez large G, de ce rez-de-chaussée on descend dans une cave peu spacieuse, mais disposée avec des niches comme pour recevoir des vins de diverses sortes. Les murs de ce rez-de-chaussée, épais de trois à quatre mètres, sont percés de rares ouvertures, particulièrement du côté extérieur. Une petite porte H, masquée dans l'angle rentrant de la tour carrée, permet de pénétrer dans la salle voûtée I formant le rez-de-chaussée de cette tour, et de prendre un escalier à rampes droites montant seulement au premier étage. Nous allons y revenir tout à l'heure. La poterne B, munie d'une herse et de vantaux, surmontée de mâchicoulis qui règnent tout le long de la courtine, a son seuil posé à sept mètres environ au-dessus du sol extérieur qui, à cet endroit, ne présente qu'un chemin de six mètres de largeur; puis, au-dessous de ce chemin, est un escarpement prononcé, inaccessible, au bas duquel passe une des rampes qui montaient au château, rampe défendue par une traverse percée d'une porte; de l'autre côté de la porte, commandant le vallon, est une motte faite à main d'hommes qui était certainement couronnée d'un ouvrage détruit aujourd'hui. De la poterne B, on pouvait donc, soit par une trémie, soit par un pont volant, défendre la porte de la rampe du château, passer par-dessus cette porte et arriver à l'ouvrage avancé qui commande le vallon au loin. La poterne B servait ainsi de sortie à la garnison, pour prendre l'offensive contre un corps d'investissement, de porte de secours et d'approvisionnement. On observera que l'espace K est une cour dont le sol est au-dessous du sol de la cour principale du château, et que, pour s'introduire dans cette cour principale, il faut passer par une seconde poterne L, dont le seuil est relevé au-dessus du sol K, et qui est défendue par une herse, des vantaux et des mâchicoulis avec créneaux. L'escalier M, qui donne dans la chapelle N et dans la cour, monte de fond et permet d'arriver à la chambre de la herse.

En continuant à monter par cet escalier à vis, on arrive (42) au-dessus de la chambre de la herse, dans l'étage percé de mâchicoulis; traversant un couloir; on descend une rampe O, qui vous conduit au premier étage de la tour carrée, d'où on peut pénétrer dans les grandes pièces du logis principal, lesquelles se composent d'une vaste salle P, en communication directe avec le grand escalier à vis E, de deux salons R avec logis S au-dessus de la porte d'entrée, et des chambres prises dans les deux grosses tours défendant l'extérieur. En T sont des garde-robes, latrines et cabinets. On voit encore en place la belle cheminée qui chauffait la grande salle P, bien éclairée par de grandes fenêtres à meneaux, avec doubles traverses. Un second étage était à peu près pareil à celui-ci, au moins quant aux dispositions générales; l'un et l'autre ne se défendaient que par l'épaisseur des murs et les flanquements des tours.

Ce n'est qu'au troisième étage (43) que commencent à paraître les défenses. À la base des grands pignons qui ferment les couvertures du logis principal sont pratiqués des mâchicoulis avec crénelages en c et en d. Les deux grosses tours rondes et la tour carrée continuent à s'élever, se dégagent au-dessus des combles du logis, et sont toutes trois couronnées de mâchicoulis avec meurtrières et crénelages couverts; puis, au-dessus, d'un dernier parapet crénelé à ciel ouvert à la base des toits. La tour carrée possède en outre sur ses trois contre-forts trois échauguettes flanquantes. À la hauteur du second étage, en continuant à gravir l'escalier M de la poterne, on trouve un parapet crénelé au-dessus des mâchicoulis de cette poterne et une porte donnant entrée dans la tour carrée; de là on prend un petit escalier à vis V qui monte aux trois derniers étages de cette tour n'étant plus en communication avec l'intérieur du gros logis. Cependant, de l'étage des mâchicoulis de la tour carrée, on peut prendre un escalier rampant au-dessus de la couverture des grands pignons crénelés du logis principal, et aller rejoindre les mâchicoulis de la grosse tour d'angle, de même que, par l'escalier de l'échauguette C, on peut, en gravissant les degrés derrière les pignons crénelés de ce côté, arriver aux mâchicoulis de la grosse tour proche l'entrée. Sur le front extérieur, ces deux tours sont mises en communication par un parapet crénelé à la base des combles. Des dégagements et garde-robes T, on descendait sur le chemin de ronde X de la grande courtine défendant l'extérieur avec son échauguette X' au-dessus de la poterne. Ce chemin de ronde était aussi en communication avec les chemins de ronde inférieurs de la tour de la chapelle N. De la salle R ou de la tour R', on pouvait communiquer également aux défenses du château du côté sud par la pièce S située au troisième étage au-dessus de l'entrée en descendant l'escalier U.
Si l'on a suivi notre description avec quelque attention, il sera facile de comprendre les dispositions d'ensemble et de détail du donjon de Pierrefonds, de se faire une idée exacte du programme rempli par l'architecte. Vastes magasins au rez-de-chaussée avec le moins d'issues possible. Sur le dehors, du côté de l'entrée, qui est le plus favorable à l'attaque, énormes et massives tours pleines dans la hauteur du talus, et pouvant résister à la sape. Du côté de la poterne, courtine de garde très-épaisse et haute avec cour intérieure entre cette courtine et le logis; seconde poterne pour passer de cette première cour dans la cour principale. Comme surcroît de précaution, de ce côté, très-haute tour carrée enfilant le logis sur deux de ses faces, commandant toute la cour K et aussi les dehors, avec échauguettes au sommet flanquant les faces mêmes de la tour carrée. D'ailleurs, possibilité d'isoler les deux tours rondes et la tour carrée en fermant les étroits passages donnant dans le logis, et de rendre ainsi la défense indépendante de l'habitation. Possibilité de communiquer d'une de ces tours aux deux autres par les chemins de ronde supérieurs, sans passer par les pièces destinées à l'habitation. Outre la porte du château et le grand escalier avec perron, issue particulière pour la tour carrée, soit par la petite porte de l'angle rentrant, soit par l'escalier de la chapelle. Issue particulière de la tour du coin par la courtine dans laquelle est percée la poterne et par les escaliers de la chapelle. Issue particulière de la tour de la porte d'entrée par les salles situées au-dessus de cette porte et l'escalier U qui descend de fond. Communication facile établie entre les tours et les défenses du château par les chemins de ronde. Logis d'habitation se défendant lui-même, soit du côté de la cour K, soit du côté de l'entrée du château, au moyen de crénelages et mâchicoulis à la base des pignons. Ce logis, bien protégé du côté du dehors, masqué, flanqué, n'ayant qu'une seule entrée pour les appartements, celle du perron, et cette entrée, placée dans la cour d'honneur, commandée par une des faces de la tour carrée. Impossibilité à toute personne n'étant pas familière avec les distributions du logis de se reconnaître à travers ces passages, ces escaliers, ces détours, ces issues secrètes; et pour celui qui habite, facilité de se porter rapidement sur tous les points de la défense, soit du donjon lui-même, soit du château. Facilité de faire des sorties si l'on est attaqué. Facilité de recevoir des secours ou provisions par la poterne B, sans craindre les surprises, puisque cette poterne s'ouvre dans une première cour qui est isolée, et ne donne dans la cour principale que par une seconde poterne dont la herse et la porte barrée sont gardées par les gens du donjon. Belles salles bien disposées, bien orientées, bien éclairées; appartements privés avec cabinets, dégagements et escaliers particuliers pour le service. Certes, il y a loin du donjon de Coucy, qui n'est qu'une tour où chefs et soldats devaient vivre pêle-mêle, avec ce dernier donjon, qui, encore aujourd'hui, serait une habitation agréable et commode; mais c'est que les moeurs féodales des seigneurs du XVe siècle ne ressemblaient guère à celles des châtelains du commencement du XIIIe.

Nous complétons la série des plans du donjon de Pierrefonds par une élévation géométrale de ce logis (44) prise du côté de la poterne sur la ligne QZ des plans. En A, on voit la grosse tour du coin; en B, la tour carrée; entre elles, les deux pignons crénelés des salles; en C est la tour de la chapelle, dans laquelle les habitants du donjon pouvaient se rendre directement en passant par la tour carrée et le petit escalier à vis marqué M sur les plans, sans mettre les pieds dehors. On voit la haute courtine de garde, entre la grosse tour de coin et celle de la chapelle, qui masque la cour isolée R. Au milieu de cette courtine est la poterne relevée qui communiquait avec un ouvrage avancé en passant par-dessus la porte D de la rampe extérieure du château. Comme construction, rien ne peut rivaliser avec le donjon de Pierrefonds; la perfection de l'appareil, de la taille, de la pose de toutes les assises réglées et d'une épaisseur uniforme de 0,33 c. (un pied) entre lits, est faite pour surprendre les personnes qui pratiquent l'art de bâtir. Dans ces murs d'une hauteur peu ordinaire et inégaux d'épaisseur, nul tassement, nulle déchirure; tout cela a été élevé par arasements réguliers; des chaînages, on n'en trouve pas trace, et bien qu'on ait fait sauter les deux tours rondes par la mine, que les murs aient été sapés du haut en bas, cependant les parties encore debout semblent avoir été construites hier. Les matériaux sont excellents, bien choisis, et les mortiers d'une parfaite résistance 34. Les traces nombreuses de boiseries, d'attaches de tentures que l'on aperçoit encore sur les parois intérieures du donjon de Pierrefonds, indiquent assez que les appartements du seigneur étaient richement décorés et meublés, et que cette résidence réunissait les avantages d'une place forte de premier ordre à ceux d'une habitation plaisante située dans un charmant pays. L'habitude que nous avons des dispositions symétriques dans les bâtiments depuis le XVIIe siècle fera paraître étranges, peut-être, les irrégularités que l'on remarque dans le plan du donjon de Pierrefonds. Mais, comme nous le faisons observer à l'article CHÂTEAU, l'orientation, la vue, les exigences de la défense, exerçaient une influence majeure sur le tracé de ces plans. Ainsi, par exemple, le biais que l'on remarque dans le mur oriental du logis (biais qui est inaperçu en exécution) est évidemment imposé par le désir d'obtenir des jours sur le dehors d'un côté où la campagne présente de charmants points de vue, de laisser la place nécessaire au flanquement de la tour carrée, ainsi qu'à la poterne intérieure entre cette tour et la chapelle, la disposition du plateau ne permettant pas d'ailleurs de faire saillir davantage la tour contenant cette chapelle. Le plan de la partie destinée aux appartements est donné par les besoins mêmes de cette habitation, chaque pièce n'ayant que la dimension nécessaire. En élévation, les différences de hauteurs des fractions du plan sont de même imposées par les nécessités de la défense ou des distributions.
Il était peu de châteaux des XIVe et XVe siècles qui possédassent des donjons aussi étendus, aussi beaux et aussi propres à loger un grand seigneur, que celui de Pierrefonds. La plupart des donjons de cette époque, bien que plus agréables à habiter que les donjons des XIIe et XIIIe siècles, ne se composent cependant que d'un corps de logis plus ou moins bien défendu. Nous trouvons un exemple de ces demeures seigneuriales, sur une échelle réduite, dans la même contrée.
Le château de Véz relevait du château de Pierrefonds; il est situé non loin de ce domaine, sur les limites de la forêt de Compiègne, près de Morienval, sur un plateau élevé qui domine les vallées de l'Automne et de Vandi. Sa situation militaire est excellente en ce qu'elle complète au sud la ligne de défense des abords de la forêt, protégée par les deux cours d'eau ci-dessus mentionnés, par le château même de Pierrefonds au nord-est, les défilés de la forêt de l'Aigle et de la rivière de l'Aisne au nord, par les plateaux de Champlieu et le bourg de Verberie à l'ouest, par le cours de l'Oise au nord-nord-ouest. Le château de Véz est un poste très-ancien, placé à l'extrémité d'un promontoire entre deux petites vallées. Louis d'Orléans dut le rebâtir presque entièrement lorsqu'il voulut prendre ses sûretés au nord de Paris, pour être en état de résister aux prétentions du duc de Bourgogne, qui, de son côté, se fortifiait au sud du domaine royal. Véz n'est, comparativement à Pierrefonds, qu'un poste défendu par une enceinte et un petit donjon merveilleusement planté, bâti avec le plus grand soin, probablement par l'architecte du château de Pierrefonds 35

Ce donjon (45) s'élève en A (voy. le plan d'ensemble), à l'angle formé par deux courtines, dont l'une, celle B, domine un escarpement B', et l'autre, C, flanquée extérieurement d'échauguettes, est séparée d'une basse-cour ou baille E par un large fossé. Du côté G, le plateau descend rapidement vers une vallée profonde; aussi les deux courtines HH' sont-elles plus basses que les deux autres BC, et leur chemin de ronde se trouve-t-il au niveau du plateau sur lequel s'élevait un logis K du XIIe siècle presque entièrement rebâti au commencement du XVe. Ce logis, en ruine aujourd'hui, était une charmante construction. La porte du château, défendue par deux tours de petite dimension, est en I. On voit encore quelques restes des défenses de la baille E, mais converties aujourd'hui en murs de terrasses 36. Le donjon est détaillé dans le plan du rez-de-chaussée X. Son entrée est en L, et consistait en une étroite poterne avec pont à bascule 37 donnant sur un large escalier à vis montant de fond. Chaque étage contenait deux pièces, l'une grande et l'autre plus petite, munies de cheminées et de réduits. En P est un puits. On voit en F le fossé et en M l'entrée du château avec ses tours et son pont détourné. La courtine C est défendue par des échauguettes extérieures flanquantes O, tandis que la courtine B, qui n'avait guère à craindre une attaque du dehors, à cause de l'escarpement, était protégée à l'intérieur par des échauguettes flanquantes R. Par les tourelles SS', bâties aux deux extrémités des courtines élevées, on montait sur les chemins de ronde de ces courtines au moyen d'escaliers. En V était une poterne descendant de la plate-forme sur l'escarpement. Quand on examine la situation du plateau, on s'explique parfaitement le plan du donjon d'angle dont les faces extérieures enfilent les abords du château les plus accessibles. Les tourelles d'angle montant de fond forment d'ailleurs un flanquement de second ordre, en prévision d'une attaque rapprochée.

La fig. 46, qui donne l'élévation perspective du donjon de Véz, prise de l'intérieur de l'enceinte, fait voir la disposition des échauguettes flanquantes R de la courtine B, la poterne avec son petit fossé et son pont à bascule, l'ouverture du puits, la disposition des mâchicoulis-latrines, le long de l'escalier, le sommet de l'escalier terminé par une tourelle servant de guette. Du premier étage du donjon, on communiquait aux chemins de ronde des deux courtines par de petites portes bien défendues. Ainsi la garnison du donjon pouvait, en cas d'attaque, se répandre promptement sur les deux courtines faisant face aux deux fronts qui seuls étaient attaquables. Si l'un de ces fronts, celui C, était pris (c'est le plus faible à cause de la nature du terrain et du percement de la porte), les défenseurs pouvaient encore conserver le second front B, rendu plus fort par les échauguettes intérieures R (voy. les plans); s'ils ne pouvaient garder ce second front, ils rentraient dans le donjon et de là reprenaient l'offensive ou capitulaient à loisir. Dans un poste si bien disposé, une garnison de cinquante hommes arrêtait facilement un corps d'armée pendant plusieurs jours; et il faut dire que l'assaillant, entouré de ravins, de petits cours d'eau et de forêts, arrêté sur un pareil terrain, avait grand'peine à se garder contre un corps de secours. Or le château de Véz n'était autre chose qu'un fort destiné à conserver un point d'une grande ligne de défenses très-bien choisie. Peut-être n'a-t-on pas encore assez observé la corrélation qui existe presque toujours, au moyen âge, entre les diverses forteresses d'un territoire; on les étudie isolément, mais on ne se rend pas compte généralement de leur importance et de leur utilité relative. À ce point de vue, il nous paraît que les fortifications du moyen âge ouvrent aux études un champ nouveau.
Telle est l'influence persistante des traditions, même aux époques où on a la prétention de s'y soustraire, que nous voyons les derniers vestiges du donjon féodal pénétrer jusque dans les châteaux bâtis pendant le XVIIe siècle, alors que l'on ne songeait plus aux demeures fortifiées des châtelains féodaux. La plupart de nos châteaux des XVIe et XVIIe siècles conservent encore, au centre des corps de logis, un gros pavillon, qui certes n'était pas une importation étrangère, mais bien plutôt un dernier souvenir du donjon du moyen âge. Nous retrouvons encore ce logis dominant à Chambord, à Saint-Germain-en-Laye, aux Tuileries, et plus tard aux châteaux de Richelieu en Poitou, de Maisons, de Vaux près Paris, de Coulommiers, etc.
Note 15: (retour) Jusqu'à présent on ne s'est guère occupé, dans le monde archéologique, que de l'architecture religieuse ou de l'architecture civile; cependant l'architecture féodale, dont le donjon est l'expression la plus saisissante, est supérieure, à notre avis, à tout ce que l'art du constructeur a produit au moyen âge.
Note 33: (retour) On remarquera, entre ce plan et celui donné dans l'ensemble du château, quelques différences de détail, résultat des déblais exécutés en 1858 et 1859 dans ce domaine, d'après les ordres de l'Empereur. Ces déblais ont mis au jour certaines parties inférieures des bâtiments dont on ne pouvait prendre qu'une idée très-incomplète. Le plan que nous donnons aujourd'hui peut être regardé comme parfaitement exact.
Note 34: (retour) L'Empereur Napoléon III a reconnu l'importance des ruines de Pierrefonds, au point de vue de l'histoire et des arts. Le donjon reprendra son ancien aspect; déjà la partie de la tour carrée qui avait été jetée bas est remontée; nous pourrons voir bientôt le plus beau spécimen de l'architecture féodale du XVe siècle en France renaître sous l'auguste volonté du souverain. Nous n'avons que trop de ruines dans notre pays, et nous en apprécions difficilement la valeur. Le château de Pierrefonds, rétabli en partie, fera connaître cet art à la fois civil et militaire qui, de Charles V à Louis XI, était supérieur à tout ce que l'on faisait alors en Europe.
DORMANT, s. m. (Bâtis-dormant). C'est le nom que l'on donne au châssis fixe, en menuiserie, sur lequel est ferrée une porte ou une croisée. Dans les premiers temps du moyen âge, les portes et fenêtres étaient ferrées dans les feuillures en pierre sans dormants; mais ce moyen primitif, tradition de l'antiquité, avait l'inconvénient de laisser passer l'air par ces feuillures et de rendre les intérieurs très-froids en hiver. Lorsque les habitudes de la vie ordinaire commencèrent à devenir plus molles, on prétendit avoir des pièces bien closes, et on ferra les portes et croisées sur des dormants ou bâtis-dormants en bois, scellés au fond des feuillures réservées dans la pierre. Les dormants n'apparaissent dans l'architecture privée que vers le XVe siècle.
DORTOIR, s. m. Dortouoir. Naturellement, les dortoirs occupent, dans les anciens établissements religieux, une place importante. Ils sont le plus souvent bâtis dans le prolongement de l'un des bras du transsept de l'église, de manière à mettre les religieux en communication facile avec le choeur, et sans sortir dans les cloîtres, pour les offices de nuit. Quand la saison était rude ou le temps mauvais, les religieux descendaient à couvert dans le transsept et de là se répandaient dans le choeur. Les dortoirs sont établis au premier étage, sur des celliers, ou des services du couvent qui ne peuvent donner ni odeur, ni humidité, ni trop de chaleur. Les dortoirs des monastères sont ordinairement divisés longitudinalement par une rangée de colonnes formant deux nefs voûtées ou tout au moins lambrissées; ils prennent du jour et de l'air à l'ouest et à l'est, par suite de la position du bâtiment imposée par l'orientation invariable de l'église. Les grandes abbayes possédaient des dortoirs bâtis avec magnificence et présentant un aspect vraiment monumental. La science moderne a reconnu qu'il fallait pour chaque dormeur, pendant le temps du sommeil, 32m cubes d'air respirable au moins. Les poumons des moines des XIIe, XIIIe et XIVe siècles, pouvaient consommer un beaucoup plus volumineux cube d'air, si bon leur semblait, et encore se levaient-ils à minuit passé, pour chanter matines.
Lebeuf 38 décrit ainsi le dortoir des religieux de l'abbaye du Val-Notre-Dame, dépendant du doyenné de Montmorency: «Le réfectoir est un assez petit quarré; il est au-dessous du dortoir, qui est très-clair, et dont la voûte est soutenue par des colonnes ou piliers anciens délicatement travaillés, ainsi qu'on en voit dans plusieurs autres dortoirs de l'ordre de Cîteaux construits au XIIIe siècle ou au XIVe.» Il ne faut pas croire que les dortoirs des religieux fussent disposés comme les dortoirs de nos casernes ou de nos lycées. Ces grandes salles étaient divisées, au moyen de cloisons peu élevées, en autant de cellules qu'il y avait de religieux; ces cellules ou stalles contenaient un lit et les meubles les plus indispensables; elles devaient rester ouvertes, ou fermées seulement par une courtine.
Au XVIe siècle, tous les ordres religieux voulurent avoir des cellules ou chambres particulières pour chaque moine, ainsi que cela se pratique dans nos séminaires. Les mêmes habitudes furent observées dans les couvents de femmes. Dès le XIIe siècle cependant, les clunisiens, qui étaient des gens aimant leurs aises, avaient déjà établi des chambres ou cellules distinctes pour chaque religieux, et parfois même ces cellules étaient richement meublées. Pierre le Vénérable s'en plaignait de son temps, et saint Bernard s'élevait avec son énergie habituelle contre ces abus qu'il regardait comme opposés à l'humilité monastique. Aussi les premiers dortoirs des cisterciens semblent avoir été des salles communes garnies de lits, mais sans séparations entre eux.

Voici (1) l'aspect extérieur d'un de ces dortoirs communs: c'est le dortoir du monastère de Chelles (abbaye de femmes); il avait été construit au commencement du XIIIe siècle 39; le rez-de-chaussée était occupé par des celliers et un chauffoir; une épine de colonnes supportait la charpente formant deux berceaux lambrissés avec entraits apparents. Dans l'article ARCHITECTURE MONASTIQUE, nous avons eu l'occasion de donner un certain nombre de ces bâtiments; il paraît inutile de s'étendre ici sur leurs dispositions générales, leur forme et les détails de leur architecture fort simple, mais parfaitement appropriée à l'objet. Ainsi, par exemple, les fenêtres étaient habituellement composées d'une partie supérieure dormante, percée surtout pour éclairer la salle, et d'une partie inférieure pouvant s'ouvrir pour l'aérer (voy. FENÊTRE). Si les religieux possédaient chacun une chambre, on n'en donnait pas moins le nom de dortoir au bâtiment ou à l'étage qui les contenait, et particulièrement au large couloir central qui donnait entrée à droite et à gauche dans chaque cellule. Cependant il existait encore, au XVIe siècle, des dortoirs de couvents de femmes disposés comme les chambrées de nos casernes, c'est-à-dire consistant en plusieurs grandes chambres contenant chacune quelques lits. Nous en trouvons la preuve dans le Pantagruel de Rabelais 40. «Mais, dist l'abbesse, meschante que tu es, pourquoy ne faisois-tu signe à tes voisines de chambre?»
DOSSERET, s. m. C'est un bout de mur en retour d'équerre sur un autre, portant un linteau de porte ou un arc. AA (1) sont les dosserets d'une baie.

DOUELLE, s. f. C'est le parement intérieur d'un arc, qu'on désigne aussi sous le nom d'intrados. Dans une voûte, chaque claveau possède sa douelle. A est la douelle du claveau représenté fig. 1.


ÉBRASEMENT, s. m. Indique l'ouverture comprise entre le tableau d'une fenêtre et le parement du mur intérieur d'une salle. L'ébrasement s'élargit du dehors au dedans, afin de faciliter l'introduction du jour et aussi de dégager les vantaux d'une croisée ouvrante (voy. FENÊTRE).
ÉCAILLES, s. f. S'emploie seulement au pluriel, et désigne une sorte d'ornementation fort usitée dans les édifices, au moyen âge, pour décorer des rampants de contre-forts, des talus de chéneaux, des couronnements de pinacles, des flèches en pierre, etc. Les écailles sont évidemment une imitation de la couverture en bardeaux de bois ou essentes (voy. BARDEAU); aussi est-ce particulièrement dans les provinces où cette sorte de couverture était employée, c'est-à-dire en Normandie, en Picardie, dans le Soissonnais et dans l'Île-de-France, que les écailles apparaissent sur les constructions de pierre à dater du XIIe siècle. En Normandie même, il n'est pas rare, dès le commencement de ce siècle, de voir certains parements verticaux, des fonds d'arcatures aveugles, par exemple, décorés d'écailles sculptées sur la pierre et présentant une très-faible saillie. C'était un moyen de distinguer ces fonds au milieu des parties solides de la construction, de les colorer, pour ainsi dire, et de les rendre moins lourds en apparence. Les bas-reliefs des XIe et XIIe siècles, dans lesquels sont figurés des édifices, montrent souvent les parements de ces édifices ainsi décorés. Nous en avons donné un exemple remarquable à l'article ARCHITECTURE RELIGIEUSE, fig. 47, et provenant d'un chapiteau de l'église de Saint-Sauveur de Nevers. La curieuse église de Thaon, près de Caen, nous montre une partie de ses parements extérieurs décorés d'écailles de forme carrée, rappelant ces revêtements en bardeaux si fort en usage dans les constructions privées construites en pans-de-bois. Ces écailles sont quelquefois superposées ou le plus souvent contrariées, c'est-à-dire pleins sur vides, ainsi que l'indique la fig. 1.

En divisant l'eau de pluie qui fouette sur les parements, en éloignant l'humidité des joints et lui donnant un écoulement, ces écailles, outre leur effet décoratif, ont encore l'avantage de conserver les ravalements extérieurs. Si cet effet est sensible sur les parements verticaux, à plus forte raison l'est-il sur les surfaces inclinées, sur les talus directement exposés à la pluie. Sur les surfaces inclinées élevées en pierre, toute saillie propre, par sa forme, à diriger les eaux est éminemment favorable à la conservation de la maçonnerie, en évitant l'imbibition uniforme de la pluie. Que les architectes du XIIe siècle aient fait cette expérience ou qu'ils aient simplement eu en vue la décoration des surfaces inclinées (décoration logique d'ailleurs, puisqu'elle rappelait une couverture en tuiles ou en bardeaux), toujours est-il que ces architectes ont adopté les écailles sculptées sur la pierre pour toute surface en talus.

Les formes les plus anciennes données à ces écailles présentent une suite de carrés ou de billettes, comme la figure ci-dessus, ou de petits arcs plein cintre et brisés, ainsi que l'indique la fig. 2 41. Il faut observer que chaque rang d'écailles est toujours pris dans une hauteur d'assises, les joints verticaux étant placés au milieu des vides laissés entre les écailles. L'eau pluviale tombant de A en B est conduite par la taille de la pierre le long des deux arêtes AC, BC; en C, elle s'égoutte, arrive à l'extrémité D, et ainsi successivement jusqu'à la corniche. Les parties les plus humectées sont donc toujours les arêtes des écailles; mais, par leur saillie même, ces arêtes sèchent plus facilement que les parements unis; l'humidité demeure donc moins longtemps sous les parements: c'est là tout le secret de la conservation de ces surfaces couvertes d'écailles. Les ombres fines et les lumières qui se jouent sur ces petites surfaces découpées donnent de la légèreté et de l'élégance aux couronnements; aussi les architectes ont-ils usé de ce moyen à l'époque de la renaissance. Nous ne pouvons prétendre donner tous les exemples d'écailles taillées sur parements; nous nous contenterons d'indiquer les principaux.
À la fin du XIIe siècle, les écailles, particulièrement dans les édifices de la Normandie et de l'Île-de-France, affectent la forme de petits arcs brisés avec partie droite, ainsi que l'indique la fig. 3. Jusqu'alors les écailles sont peu saillantes et présentent un relief égal dans toute leur longueur. Mais dans les grands monuments construits au commencement du XIIIe siècle, il fallait obtenir des effets prononcés dans l'exécution de détails d'une aussi petite échelle; aussi voyons-nous, en Picardie, par exemple, sur les pyramides qui surmontent les escaliers des deux tours de la façade de la cathédrale d'Amiens, des écailles d'un puissant relief et d'une forme évidemment destinée à produire un grand effet à distance (4).

Jamais, dans l'Île-de-France, les architectes n'ont ainsi exagéré l'importance de détails qui, après tout, ne doivent pas détruire la tranquilité de surfaces planes et ne sont pas faits pour lutter avec la sculpture. Cependant parfois les écailles taillées sur les édifices de la première moitié du XIIIe siècle, dans l'Île-de-France, présentent plus de saillie à leur extrémité inférieure qu'à leur sommet; leur forme la plus générale est celle présentée dans la fig. 5. Dans ce cas, les écailles sont évidées suivant le profil A ou suivant le profil B. Les écailles fortement détachées à leur extrémité inférieure, conformément au profil A, appartiennent plutôt aux flèches des clochers, c'est-à-dire qu'elles sont placées à une grande hauteur. Sur les rampants des contre-forts, leur saillie est égale dans toute leur longueur.

Au XIVe siècle, les écailles se rapprochent davantage de la forme des bardeaux; elles se touchent presque, ont leurs deux côtés parallèles, sont allongées et terminées par des angles abattus (6). Les pinacles des contre-forts du choeur de la cathédrale de Paris (XIVe siècle) et ceux du choeur de l'église d'Eu (XVe siècle) sont couverts d'écailles taillées suivant cette forme.
Les écailles appartenant aux monuments construits dans des provinces où les couvertures en pierre ont été adoptées dès l'époque romane, comme dans le midi de la France et dans l'ouest, ne sont pas disposées comme des bardeaux de couvertures en bois; elles sont retournées, de façon à laisser entre chacune d'elles comme autant de petits canaux propres à éloigner les eaux des joints verticaux (voyez ce que nous disons à propos de ces sortes d'écailles, à l'article CLOCHER, fig. 14 et 15).
ÉCHAFAUD, s. m. Chaffaud. Dans l'art de bâtir on entend par échafaud l'oeuvre de charpente provisoirement établie pour permettre d'élever les maçonneries. Les échafauds sont adhérents à la construction qu'on élève ou en sont indépendants. Les constructions du moyen âge, ainsi que les constructions romaines, étaient montées au moyen d'échafauds tenant à la maçonnerie, et qu'on posait en élevant celle-ci. À cet effet, on réservait dans les murs soit en brique, soit en moellon, soit en pierre, des trous de 0,15 c. de côté environ, profonds, et dans lesquels on engageait des chevrons ou des rondins en bascule que l'on soulageait à leur extrémité opposée par des pièces de bois verticales. Ces chevrons ou rondins engagés sont les boulins, et les trous réservés pour les recevoir s'appellent trous de boulins; les pièces de bois verticales sont désignées sous le nom d'échasses. Les architectes du moyen âge élevaient ainsi leurs plus grands édifices au moyen de boulins et d'échasses d'un médiocre équarrissage. Sur ces boulins, placés à des distances assez rapprochées, on posait des planches, plateaux, plabords, sur lesquels se tenaient les ouvriers; ces planchers, plus ou moins larges, suivant le besoin, se répétaient de six pieds en six pieds au plus; afin de rendre chaque partie de la construction accessible aux travailleurs. Les matériaux de gros volume n'étaient jamais montés sur ces planchers ou ponts, mais sur les murs eux-mêmes, au moyen d'engins placés sur le sol correspondant à des grues ou chèvres haubannées sur la construction même. D'ailleurs, presque toujours, les matériaux étaient montés par l'intérieur, bardés sur les murs, posés et jointoyés par les ouvriers circulant sur ces murs mêmes ou sur les échafauds.
L'échafaud d'un édifice romain ou du moyen âge montait donc en même temps que la construction. Les constructeurs de ces temps reculés ne faisaient certainement pas de grands frais d'échafaudages. Ils laissaient les trous de boulins apparents sur les parements, ne se donnant pas la peine de les boucher à mesure qu'ils démontaient les échafauds lorsque la construction était terminée. Alors on ne ravalait pas les édifices; chaque pierre était posée toute taillée, et il n'y avait plus à y toucher; donc le jour où la dernière pierre était mise en place, l'édifice était achevé, et l'échafaud pouvait être enlevé. Il faut observer aussi que les grands édifices gothiques présentent des retraites prononcées à différentes hauteurs, ce qui permettait de reprendre sur chacune de ces retraites un système d'échafaudage, sans qu'il fût nécessaire de porter les échafauds de fond. Cependant il est tels édifices, comme les tours de défense, par exemple, qui s'élèvent verticalement à une grande hauteur sans ressauts, sans retraite aucune. Il est intéressant d'étudier comment ont été montées ces énormes bâtisses.
La construction du donjon de Coucy, qui présente un cylindre dont les parois verticales ont 60 mètres d'élévation, n'a exigé qu'un échafaudage extrêmement simple, échafaudage qui avait encore le mérite d'éviter les montages lents obtenus par des engins. On remarque sur la surface de l'énorme cylindre, à l'extérieur, une suite de trous de boulins disposés en spirale et formant, à cause de la largeur extraordinaire du diamètre, une pente assez douce. Ces trous de boulins, espacés de quatre en quatre mètres environ, sont doubles, c'est-à-dire qu'ils présentent deux spirales, ainsi que le fait voir la fig. 1.

Au moyen de chevrons engagés dans les trous A supérieurs et soulagés par des liens portant dans les trous B inférieurs, le constructeur établissait ainsi, en même temps qu'il élevait sa bâtisse, un chemin en spirale dont l'inclinaison peu prononcée permettait de monter tous les matériaux sur de petits chariots tirés par des hommes ou au moyen de treuils placés de distance en distance.

La fig. 2 fera comprendre cette opération. Les maçons et poseurs avaient le soin d'araser toujours la construction sur tout le pourtour du donjon, comme on le voit ici, et, sur cet arasement, ils circulaient et bardaient leurs pierres. Afin de poser les parements extérieurs verticalement (parements taillés à l'avance sur le chantier), il suffisait d'un fil-à-plomb et d'un rayon de bois tournant horizontalement sur un arbre vertical planté au centre de la tour. Aujourd'hui, nos maçons procèdent de la même manière lorsqu'ils élèvent ces grandes cheminées en brique de nos usines, de l'intérieur du tuyau, sans échafaudage. L'échafaud dont la trace existe sur les parois du donjon de Coucy n'est réellement qu'un chemin de bardage, et ce chemin pouvait être fort large, ainsi que le démontre la fig. 3, donnant une de ses fermes engagées.

En A et B sont les deux trous espacés de 1m,80; au moyen des deux moises C étreignant les poutrelles à leur sortie des trous, on pouvait avoir deux liens EF, le second formant croix de Saint-André avec une contre-fiche G. La tête du lien F et le pied de la contre-fiche G s'assemblaient dans un potelet H, moisé à son extrémité inférieure avec la poutrelle B. Un lien extrême K, assemblé dans le pied de cette poutrelle B, soulageait l'extrémité de la poutrelle supérieure A. Il était ainsi facile d'avoir un chemin de 5m,30 de largeur, non compris un garde-corps. Ces fermettes recevaient des solives qui portaient les madriers posés en travers de manière à présenter un obstacle au glissement des chariots. Il eût fallu un poids énorme pour rompre des fermettes ainsi combinées, bien qu'elles ne fussent maintenues dans la muraille que par deux scellements. Non-seulement la combinaison de ces fermettes ne leur permettait pas de quitter les scellements; mais, étant réunies par des solives formant une suite de polygones autour du cylindre, elles étaient toujours bridées contre la muraille.
Dans les provinces où l'on bâtit encore sans faire de ravalements après la pose, on a conservé ces moyens primitifs d'échafaudages. Les échafauds ne se composent que de boulins engagés dans des trous ménagés en construisant et d'échasses, les boulins étant liés aux échasses par des cordelettes. À Paris même ces traditions se sont conservées, et nos Limousins déploient une habileté singulière dans la combinaison de ces légers échafaudages composés de brins de bois qui n'ont guère que 0,10 c. de diamètre en moyenne.
En Bourgogne et en Champagne (pays de bois), nous avons vu souvent employer des échafauds en potence taillés conformément au tracé perspectif (4). La partie A de la poutrelle horizontale AB est engagée dans le trou de boulin; cette poutrelle est entaillée en C au ras du mur, ainsi que l'indique le détail C'. Deux jambettes DD, assemblées à la tête à mi-bois, entrent dans cette entaille C, et, s'appuyant le long du mur, sont reliées entre elles par l'entre-toise E. Deux liens GG, assemblés dans le pied de ces jambettes, vont soutenir, au moyen de deux joints-à-paume, l'extrémité de la pièce horizontale AB. C'est une potence avec deux liens qui empêchent la poutrelle horizontale de fléchir à droite ou à gauche sous la charge et la maintiennent rigide.

Il n'est pas douteux que les charpentiers du moyen âge, qui étaient fort ingénieux, ne fissent, dans certains cas, des échafauds en charpente, indépendants de la construction, échafauds montant de fond ou suspendus. Nous ne pouvons avoir une idée de ces échafauds que par les traces de leurs scellements encore existantes sur les monuments. Il arrive, par exemple, qu'au-dessus d'un étage de bâtiment disposé de telle façon que l'on ne pouvait établir des échafauds de fond, on aperçoit des trous carrés de 0,30 c. sur 0,33 c., perçant la muraille de part en part, et espacés de manière à laisser entre eux la longueur d'une solive; au-dessus de ces larges trous bien faits, on remarque d'autres petits trous de boulins de 0,10 c. sur 0,10 c. environ et ne traversant pas la maçonnerie. Ceci nous indique la pose d'un échafaud disposé comme l'indique la fig. 5. AB est l'épaisseur du mur; les poutrelles C le traversaient de part en part et étaient armées, à l'intérieur, d'une forte clef moisée D; deux moises E verticales pinçaient la poutrelle au ras du mur sur le parement extérieur; dans ces moises s'assemblaient deux liens F réunis à mi-bois qui venaient soulager la poutrelle en G et H. Sur cette pièce, rendue rigide, on élevait alors les échafaudages en échasses I et boulins K, avec contre-fiches L, les boulins étant retenus au moyen de calles de bois dans les trous laissés sur les parements extérieurs. Un pareil échafaud présentait toute la solidité d'une charpente montant de fond.
La hauteur excessive de certains édifices gothiques, et notamment des tours des églises surmontées de flèches en pierre, était telle qu'on ne pouvait songer à élever ces constructions au moyen d'échafauds montant de fond, car l'établissement de ces échafaudages eût absorbé des sommes considérables, et ils auraient eu le temps de pourrir dix fois pendant le travail des maçons. On élevait les soubassements avec des échasses et des boulins; on profitait des retraites ménagées avec soin dans ces sortes de constructions pour prendre des points d'appui nouveaux au-dessus du sol; puis, arrivé à la hauteur des plates-formes ou galeries d'où les tours s'élèvent indépendantes, on déchafaudait les parties inférieures pour monter les charpentes nécessaires à la construction de ces tours. Les baies de ces tours étaient alors d'un grand secours pour poser des échafauds solides, propres à résister à la violence du vent et à toutes les causes de dégradations qui augmentent du moment qu'on s'élève beaucoup au-dessus du sol.
Pour peu que l'on examine avec soin les constructions gothiques, on demeure persuadé que les architectes chargés de les élever ont souvent manqué de ressources en rapport avec la nature et l'importance de ces bâtisses. Ils devaient donc être fort avares d'échafaudages, lesquels coûtent fort cher et ne représentent rien, du moment que l'édifice est achevé. Au-dessus d'une certaine hauteur, on reconnaît encore, par la position des trous d'échafauds, que ceux-ci étaient suspendus. Suspendre un échafaud à un monument existant ne demande pas des combinaisons bien savantes; mais suspendre un échafaud pour élever un édifice, avant que cet édifice ne soit construit, c'est un problème qui paraît difficile à résoudre: on sait que les difficultés matérielles n'arrêtaient pas les architectes gothiques.
Habituellement les tours des grandes églises sont, dans leur partie supérieure, à la hauteur des beffrois, sous les flèches, percées, sur chaque face, de doubles baies étroites et longues. Les angles sont renforcés de contre-forts terminés par des pinacles; mais dans les angles rentrants formés par ces contre-forts, et suivant les diagonales du carré sur lequel le plan de ces tours est tracé, on remarque presque toujours, à la base des beffrois, des trous plus ou moins grands et quelquefois des repos. Au-dessus de la partie verticale des tours, à la base des flèches qui s'élèvent sur plan octogonal, on voit, sur les huit faces, des lucarnes, des issues plus ou moins larges, mais étroites et longues. Ces dispositions nous conduisent à admettre que les échafauds destinés à élever les parties supérieures et dégagées des tours d'églises étaient suspendus, c'est-à-dire qu'ils laissaient la partie inférieure des façades complétement libre.

Partant de ce principe, soit A (6) le plan d'une tour de façade d'une grande église à la base du beffroi, et B le plan de cette tour à la base de la flèche en pierre qui la couronne. Ayant deux baies sur chacune des faces du beffroi, nous disposons à travers ces baies des fermes d'échafauds se croisant en G et se rapprochant le plus possible des contre-forts d'angles. En élévation, chacune de ces fermes donne le tracé F; les quatre poteaux G montent d'une seule pièce ou sont entés (en raison de la hauteur du beffroi) de E en H; de H en K est un chapeau qui traverse d'une baie à l'autre. Les deux liens IL assemblés à mi-bois soulagent puissamment ces chapeaux. Du point M pendent de doubles moises inclinées MN, qui portent l'extrémité de la pièce horizontale NO posant sur l'appui des baies; des moises horizontales P, serrant tout le système intérieur et se réunissant à leur extrémité extérieure pour être pincées à leur tour par les grandes moises inclinées MN, composent autant de planchers pour les maçons. Ainsi, avant que la tour ne soit élevée, cet échafaud suspendu peut être établi. La construction arasée au niveau des chapeaux HK, nous posons sur les premiers poteaux G d'autres poteaux G', d'autres chapeaux RS, d'autres liens TV, puis des moises doubles X qui suspendent encore l'extrémité des premiers chapeaux et les ponts intermédiaires. On remarquera que les seconds chapeaux RS et les liens T passent à travers la flèche en pierre dans des trous ménagés exprès, bouchés après coup ou même laissés apparents. Des lucarnes sur les quatre faces de la flèche, parallèles à celles de la tour, partent des pièces en gousset empêchant le hiement de l'échafaudage. Les huit baies du beffroi permettent donc ainsi de sortir, au dehors de la construction, des échafauds saillants, sur lesquels on peut établir des ponts. Restent les angles à échafauder. Pour ce faire, nous avons un grand poteau central ab, un repos en c dans l'angle rentrant, et un trou réservé en d suivant la diagonale du carré (voy. le tracé J sur la diagonale UZ du plan); cela suffit. Les chapeaux ef, passant à travers ces trous, reposent sur les poteaux G et le poteau central, sont soulagés par les grands liens il; deux moises pendantes no suspendent les ponts intermédiaires. Arasés au niveau ef, nous retrouvons la continuation du poteau central et des poteaux G; nous assemblons le second chapeau pq, les liens rs qui le soulagent en passant à travers les lucarnes de la flèche; nous disposons les moises pendantes tv, et nous réunissons ces pièces diagonales avec les pièces parallèles au moyen de solives horizontales, qui font, à différentes hauteurs, tout le tour du clocher. La construction terminée, tous ces échafaudages sont facilement déposés par l'intérieur.
À voir les dispositions encore existantes à l'extérieur des grands
édifices du moyen âge, il est certain que les échafauds suspendus
étaient alors fort usités. Pendant les XIVe et XVe siècles, on rhabilla
beaucoup de monuments d'une époque antérieure, soit parce que leurs
parements étaient dégradés, soit parce qu'on voulait les mettre en
harmonie avec les formes nouvelles. Dans le cas de reprises ou de
restaurations extérieures, ces échafauds étaient très-utiles en ce
qu'ils n'embarrassaient pas les rez-de-chaussée et qu'ils coûtaient
moins cher que des charpentes montant de fond. Les charpentiers
établissaient une suite de ponts principaux (7), au moyen de poutres A
engagées dans la maçonnerie, dont la bascule était maintenue par de
grands liens B et par des moises pendantes C. Si l'espace qu'il fallait
laisser entre chaque armature était trop large pour poser de l'une à
l'autre des solives simples, on établissait d'une poutre à l'autre des
fermes pendantes D, dont la disposition est détaillée dans le tracé
perspectif (8). Les bouts ab sont engagés dans le mur; les moises
pendantes sont indiquées en M, les entre-toises armées en E. Des
plats-bords P, portant sur ces entre-toises, composaient les ponts
principaux sur lesquels on pouvait barder les matériaux. Suivant la
méthode employée par les charpentiers du moyen âge, les moises étaient
serrées au moyen de clefs de bois, sans qu'il fût besoin de boulons et
de ferrements. Dans les échafauds, comme dans toutes les constructions
de cette époque, on cherchait à économiser les matériaux, et on ne se
préoccupait pas de la main-d'oeuvre. De notre temps, nous voyons faire
des échafauds simplement et solidement combinés; cependant il faut dire
que les architectes abandonnent trop facilement la direction de cet
accessoire nécessaire à toute construction importante: un peu d'étude et
d'attention de leur part éviteraient bien des dépenses inutiles, et,
grâce au déplorable système des adjudications, nous sommes souvent
obligés d'employer des entrepreneurs de charpente qui sont hors d'état
de trouver les moyens les plus propres à élever des échafauds solides en
employant peu de bois. Un échafaud bien fait est cependant une des
parties de l'art du constructeur qui accuse le mieux son intelligence et
sa bonne direction. On peut juger la science réelle du constructeur à la
manière dont il dispose ses échafauds.

Les échafauds bien établis font gagner du temps aux ouvriers, leur donnent de la confiance, les obligent à plus de régularité, de méthode et de soin; s'ils sont massifs, s'ils emploient le bois avec profusion, les ouvriers savent parfaitement le reconnaître; ils jugent sur ce travail provisoire du degré de connaissances pratiques de leur chef et ne lui savent aucun gré de cet abus de moyens. Si, au contraire, des maçons sont appelés à travailler sur des échafauds hardis, légers en apparence, mais dont quelques jours d'épreuve suffisent pour reconnaître la solidité, ils apprécient bien vite ces qualités et comprennent que, dans l'oeuvre, ce qu'on exigera d'eux, c'est du soin, de la précision, que l'on ne se contentera pas d'à-peu-près. Dans les restaurations d'anciens édifices, les échafauds demandent chez l'architecte une grande fertilité de combinaisons; on ne saurait donc trop attirer leur attention sur cette étude: l'économie, l'ordre dans le travail, et, plus que tout cela, la vie des ouvriers en dépendent.
ÉCHAUGUETTE, s. f. Eschauguette, eschargaite, escargaite, eschegaite, esgaritte, garite. Échauguette, au moyen âge, désignait la sentinelle.
Aussi la garde, le poste:
«Par l'escargaite Droom le Poitevin,
Le fil le roi en laissa fors issir 44.»
On disait escargaiter pour garder, épier:
«L'ost escargaïte Salemon li Senés 45.»
Pendant les XIVe, XVe et XVIe siècles, dans le nord de la France, les petites loges destinées aux sentinelles, sur les tours et les courtines, sont appelées indifféremment garites, escharguettes, pionnelles, esgarittes, maisoncelles, centinelles ou sentinelles, hobettes 46. Ainsi le poste prend le nom de la qualité de ceux qu'il renferme.
Dans les plus anciennes fortifications du moyen âge, il y avait des échauguettes. Il est à croire que ces premières échauguettes étaient en bois, comme les hourds, et qu'on les posait en temps de guerre. Tous les couronnements de forteresses antérieures au XIIe siècle étant détruits, nous ne pouvons donner une idée de la forme exacte de ces échauguettes primitives; lorsqu'elles ne consistaient pas seulement en petites loges de bois, mais si elles étaient construites en maçonnerie, ce n'étaient que de petits pavillons carrés ou cylindriques couronnant les angles des défenses principales, comme ceux que nous avons figurés au sommet du donjon du château d'Arques (voy. DONJON, fig. 7, 8 et 9). Les premières échauguettes permanentes dont nous trouvons des exemples ne sont pas antérieures au XIIe siècle; alors on les prodiguait sur les défenses; elles sont ou fermées, couvertes et munies même de cheminées, ou ne présentent qu'une saillie sur un angle, le long d'une courtine, de manière à offrir un petit flanquement destiné à faciliter la surveillance, à poser une sentinelle, une guette. C'était particulièrement dans le voisinage des portes, aux angles des gros ouvrages, au sommet des donjons, que l'on construisait des échauguettes.
Nous voyons quatre belles échauguettes couronnant le donjon de Provins (voy. DONJON, fig. 27 et suivantes); celles-ci étaient couvertes et ne pouvaient contenir chacune qu'un homme. Quelquefois l'échauguette est un petit poste clos capable de renfermer deux ou trois soldats, comme un corps de garde supérieur. Au sommet du donjon de Chambois (Orne), il existe encore une de ces échauguettes, du XIIIe siècle, au-dessus de la cage de l'escalier du XIIe.

Voici (1) l'aspect intérieur de ce poste, qui peut contenir quatre hommes. Il est voûté et surmonté d'un terrasson autrefois crénelé. Une petite fenêtre donnant sur la campagne l'éclaire; une cheminée permet de le chauffer; à droite de la cheminée est la tablette destinée à recevoir une lampe. Les gens du poste pouvaient facilement monter sur le terrasson supérieur pour voir ce qui se passait au loin. Ces grandes échauguettes à deux étages sont assez communes; il est à croire qu'en temps de guerre les soldats abrités dans l'étage couvert étaient posés en faction, à tour de rôle, sur la terrasse supérieure. Des deux côtés de la tour du Trésau, à Carcassonne, nous voyons de même deux hautes échauguettes ainsi combinées; seulement il fallait de l'étage fermé monter sur le terrasson par une échelle, en passant à travers un trou pratiqué dans le milieu de la petite voûte (voy. CONSTRUCTION, fig. 154).
Il faut distinguer toutefois les échauguettes destinées uniquement à la surveillance au loin de celles qui servent en même temps de guette et de défense. Les donjons possédaient toujours une échauguette, au moins, au sommet de laquelle se tenait la sentinelle de jour et de nuit qui, sonnant du cor, avertissait la garnison en cas de surprise, de mouvement extraordinaire à l'extérieur, d'incendie; qui annonçait le lever du soleil, le couvre-feu, la rentrée d'un corps de troupes, l'arrivée des étrangers, le départ ou le retour de la chasse: «La nuit dormi et fu aise et quant il oï le gaite corner le jour, si se leva et ala à l'église proijer Dieu, qu'il li aidast 47.» Ces sortes de guettes consistent en une tourelle dominant les alentours par-dessus les crénelages et les combles. Certains donjons, par leur situation même, comme les donjons des châteaux Gaillard, de Coucy, n'avaient pas besoin de guette: leur défense supérieure en tenait lieu; mais les donjons composés de plusieurs logis agglomérés, comme le donjon d'Arques et, beaucoup plus tard, celui de Pierrefonds par exemple, devaient nécessairement posséder une guette. Dans le château de Carcassonne, qui date du commencement du XIIe siècle, la guette est une tour spéciale sur plan barlong, contenant un escalier avec un terrasson crénelé au sommet. Cette tour domine toutes les défenses du château et même celles de la cité; elle renfermait, vers les deux tiers de sa hauteur, un petit poste éclairé par une fenêtre donnant sur la campagne (voy. ARCHITECTURE MILITAIRE, fig. 12 et 13). Les échauguettes destinées seulement à l'observation n'offrent rien de particulier: ce sont des tourelles carrées, à pans, ou le plus souvent cylindriques, qui terminent les escaliers au-dessus des tours principales des châteaux, en dépassant de beaucoup le niveau de la crête des combles les plus élevés. Les échauguettes servant à contenir un poste ou même une sentinelle pouvant au besoin agir pour la défense d'une place sont, au contraire, fort intéressantes à étudier, leurs dispositions étant très-variées, suivant la place qu'elles occupent.

Vers la fin du XIIIe siècle, les portes sont habituellement munies d'échauguettes bâties en encorbellement aux angles du logis couronnant l'entrée (voy. PORTE). Ces échauguettes servent en même temps de guérites pour les sentinelles et de flanquement. La belle porte qui, à Prague en Bohême, défend l'entrée du vieux pont jeté sur la Moldau, du côté de la ville basse, est munie, sur les quatre angles, de charmantes échauguettes dont nous présentons ici l'aspect (2). Elles prennent naissance sur une colonne surmontée d'un large chapiteau avec encorbellement sculpté; sur ce premier plateau sont posées des colonnettes (voy. le plan A) laissant entre elles un ajour purement décoratif; à la hauteur du crénelage supérieur est une guérite percée elle-même de créneaux 48. Cet ouvrage date du milieu du XIVe siècle; il est d'une conservation parfaite et bâti en grès. Mais ici les échauguettes sont autant une décoration qu'une défense; tandis que celles qui flanquaient la porte de Notre-Dame à Sens (3), élevée vers le commencement du XIVe siècle, avaient un caractère purement défensif; la guérite supérieure était à deux étages et présentait des meurtrières et créneaux bien disposés pour enfiler les faces de la porte et protéger les angles 49.

Si on plaçait des échauguettes flanquantes aux côtés des portes, à plus forte raison en mettait-on aux angles saillants formés par des courtines, lorsqu'une raison empêchait de munir ces angles d'une tour ronde. Il arrivait, par exemple, que la disposition du terrain ne permettait pas d'élever une tour d'un diamètre convenable, ou bien que les architectes militaires voulaient faire un redan soit pour masquer une poterne, soit pour flanquer un front, sans cependant encombrer la place par une tour qui eût pu nuire à l'ensemble de la défense. C'est ainsi, par exemple, que sur le front sud-est de l'enceinte extérieure de la cité de Carcassonne il existe un redan A (4), motivé par la présence d'un gros ouvrage cylindrique avancé K, dit la tour du Papegay, qui était élevé sur ce point, au sommet d'un angle très-ouvert, pour commander en même temps les dehors en G et l'intérieur des lices (espace laissé entre les deux enceintes) en L, par-dessus le redan. Il ne fallait pas, par conséquent, à l'angle de ce redan, en C, élever une tour qui eût défilé le chemin de ronde B; cependant il fallait protéger le front B, le flanc A et l'angle saillant lui-même. On bâtit donc sur cet angle une large échauguette qui suffit pour protéger l'angle saillant, mais ne peut nuire au commandement de la grosse tour K.

La fig. 5 reproduit la vue extérieure de cette échauguette 50, dont le crénelage était un peu plus élevé que celui des courtines voisines. Cet ouvrage pouvait être, en temps de guerre, muni de hourds, ce qui en augmentait beaucoup la force. Entre la porte Narbonnaise et la tour du Trésau de la même cité, on a ainsi pratiqué un redan qui enfile l'entrée de la barbacane élevée en avant de cette porte: ce redan est surmonté d'une belle échauguette. Une longue meurtrière flanquante est ouverte sur son flanc.

La fig. 6 présente en A le plan du redan au niveau du sol de la ville, avec son petit poste E et la meurtrière F donnant vers la porte Narbonnaise. De ce poste E, par un escalier à vis, on arrive à l'échauguette (plan B), qui n'est que le crénelage de la courtine formant un flanquement oblique en encorbellement sur l'angle G. La coupe C faite sur la ligne OP du plan B explique la construction de cette échauguette, qui pouvait être munie de hourds comme les courtines; en D, nous avons figuré le profil de l'encorbellement H.
Toutefois, jusqu'au XIVe siècle, les échauguettes flanquantes posées sur les courtines ne sont que des accidents et ne se rattachent pas à un système général défensif; tandis qu'à dater de cette époque, nous voyons les échauguettes adoptées régulièrement, soit pour suppléer aux tours, soit pour défendre les courtines entre deux tours. Mais ce fait nous oblige à quelques explications.
Depuis l'époque romaine jusqu'au XIIe siècle, on admettait qu'une place était d'autant plus forte que ses tours étaient plus rapprochées, et nous avons vu qu'à la fin du XIIe siècle encore Richard Coeur-de-Lion, en bâtissant le château Gaillard, avait composé sa dernière défense d'une suite de tours ou de segments de cercle se touchant presque. Lorsqu'au XIIIe siècle les armes de jet eurent été perfectionnées et que l'on disposa d'arbalètes de main d'une plus longue portée, on dut, comme conséquence, laisser entre les tours une distance plus grande, et, en allongeant ainsi les fronts, mettre les flanquements en rapport avec leur étendue, c'est-à-dire donner aux tours un plus grand diamètre, afin d'y pouvoir placer un plus grand nombre de défenseurs. Si c'était un avantage d'allonger les fronts, il y avait un inconvénient à augmenter de beaucoup le diamètre des tours, car c'était donner des défilements à l'assaillant dans un grand nombre de cas, comme, par exemple, lorsqu'il parvenait à cheminer près des murailles entre deux tours et qu'il avait détruit leurs défenses supérieures. Tout système porte avec lui les défauts inhérents à ses qualités mêmes. Puisque les armes de jet avaient une plus longue portée, il fallait étendre autant que possible les fronts; cependant on ne pouvait négliger les flanquements, car si l'assaillant s'attachait au pied de la courtine, ils devenaient nécessaires: or, plus ces flanquements étaient formidables, moins les fronts pouvaient rendre de services pour la défense éloignée.

Soit (7) un front AB muni de tours; BC est la largeur du fossé; le jet d'arbalète est EF. Si l'assaillant dispose son attaque conformément au tracé FGH, neuf embrasures le découvrent. Mais soit IK un front continu non flanqué de tours, l'attaque étant disposée de même que ci-dessus en FGH, les embrasures étant d'ailleurs percées à des distances égales à celles du front AB, treize de ces embrasures pourront découvrir l'assaillant. Que celui-ci traverse le fossé et vienne se poster en M, les assiégés ne peuvent se défendre que par les mâchicoulis directement placés au-dessus de ce point M; mais ils voient sur une grande longueur la nature des opérations de l'ennemi, et l'inquiètent par des sorties dans le fond du fossé, où il ne trouve aucun défilement.
Quand on assiégeait régulièrement une place, à la fin du XIIIe siècle (voy. SIÉGE), on attaquait ordinairement deux tours, seulement pour éteindre leur feu, comme on dirait aujourd'hui, en démantelant leurs défenses supérieures, et on faisait brèche au moyen de la sape dans la courtine comprise entre ces deux tours; car, celles-ci réduites à l'impuissance, leur masse protégeait l'assaillant en couvrant ses flancs. Au moment de l'application définitive des mâchicoulis de pierre à la place des hourds, vers le commencement du XIVe siècle, il y eut évidemment une réaction contre le système défensif des fronts courts; on espaça beaucoup plus les tours, on agrandit les fronts entre elles, et, pour protéger ces fronts, sans rien ôter à leurs qualités, on les munit d'échauguettes P, ainsi que l'indique le tracé NO, fig. 7. Ce nouveau système fut particulièrement appliqué dans les défenses de la ville d'Avignon, élevées à cette époque. Ces défenses ont toujours dû être assez faibles; mais, eu égard au peu de relief des courtines, on a tiré un excellent parti de ce système d'échauguettes flanquantes, et la faiblesse de la défense ne résulte pas du nouveau parti adopté, qui avait pour résultat d'obliger l'assaillant à commencer ses travaux de siége à une plus grande distance de la place. Duguesclin, en brusquant les assauts toujours, donna tort au système des grands fronts flanqués seulement de tours très-espacées; les échauguettes n'étaient pas assez fortes pour empêcher une échelade vigoureuse; on y renonça donc vers la fin du XIVe siècle pour revenir aux tours rapprochées, et surtout pour augmenter singulièrement le relief des courtines. Examinons donc ces échauguettes des murailles papales d'Avignon.

La fig. 8 présente le plan d'une de ces échauguettes au-dessous des mâchicoulis; elles ne consistent qu'en deux contre-forts extérieurs A, entre lesquels est pratiqué un talus dont nous allons reconnaître l'utilité; un arc réunit ces deux contre-forts.

Voici (9) en A l'élévation extérieure de cet ouvrage, et en B sa coupe. L'échauguette s'élève beaucoup au-dessus de la courtine; elle est munie, à son sommet, comme celle-ci, de beaux mâchicoulis de pierre sur sa face et ses deux retours; de plus, ainsi que le fait voir la coupe, au droit du mur faisant fond entre les contre-forts, est pratiqué un second mâchicoulis C, comme une rainure de 0,25 c. de largeur environ. Si l'assaillant se présentait devant l'échauguette, il recevait d'aplomb les projectiles lancés par les mâchicoulis vus D et, obliquement, ceux qu'on laissait tomber par le second mâchicoulis masqué C; car on observera que, grâce au talus E, les boulets de pierre qu'on laissait choir par ce second mâchicoulis devaient nécessairement ricocher sur ce talus E et aller frapper les assaillants à une certaine distance du pied de l'échauguette au fond du fossé. Les deux contre-forts, le vide entre eux et le talus étaient donc une défense de ricochet, faite pour forcer l'assaillant à s'éloigner du pied du rempart et, en s'éloignant, à se présenter aux coups des arbalétriers garnissant les chemins de ronde de la courtine. Ces échauguettes flanquent les courtines, ainsi que le font voir les plans supérieurs (10 et 10 bis). Elles permettaient encore à un petit poste de se tenir à couvert, à l'intérieur, sous la galerie G, et de se rendre instantanément sur le chemin de ronde supérieur H, au premier appel de la sentinelle 51.


La vue perspective intérieure (11) fait comprendre la disposition du petit poste couvert qui intercepte le passage au niveau du chemin de ronde de la courtine; elle explique les degrés qui montent à la plate-forme de l'échauguette, et rend compte de la construction de l'ouvrage. N'oublions pas de mentionner la présence des corbeaux A qui étaient placés ainsi à l'intérieur du rempart pour recevoir une filière portant des solives et un plancher, dont l'autre extrémité reposait intérieurement sur des poteaux, afin d'augmenter la largeur du chemin de ronde en temps de guerre, soit pour faciliter les communications, soit pour déposer les projectiles ou établir des engins. Nous avons expliqué ailleurs l'utilité de ces chemins de ronde supplémentaires (voy. ARCHITECTURE MILITAIRE, fig. 32 et 33).
Ces sortes d'échauguettes interrompant la circulation sur les courtines avaient, comme les tours, l'avantage d'obliger les rondes à se faire reconnaître soit par la sentinelle placée au sommet de l'ouvrage, soit par le poste abrité sous la petite plate-forme supérieure. Quelquefois même ces échauguettes sont fermées, barrent complétement le chemin de ronde: ce sont de véritables corps de garde. Nous voyons encore une échauguette de ce genre sur la courtine occidentale de la forteresse de Villeneuve-lès-Avignon. Cette échauguette ne flanque pas la courtine et déborde à peine son parement extérieur; elle est réservée pour le service de la garnison. Voici son plan (12). En A est le chemin de ronde interrompu par l'échauguette et ses deux portes B; un seul créneau C a vue sur l'extérieur; en D est une petite cheminée. Deux ou trois hommes au plus pouvaient se tenir dans ce poste dont nous présentons (13) l'aspect intérieur, en supposant le comble, tracé en E, enlevé. Cette partie des murs de la citadelle de Villeneuve-lès-Avignon date de la première moitié du XIVe siècle.

Les formes données aux échauguettes, pendant les XIVe et XVe siècles, sont très-variées; lorsqu'elles servent de flanquements, elles sont ou barlongues comme celles d'Avignon, ou semi-circulaires, ou à pans, portées sur des contre-forts, sur des encorbellements ou des corbeaux, suivant le besoin ou la nature des défenses; elles sont ou couvertes ou découvertes, contenant un ou plusieurs étages de crénelages, avec ou sans mâchicoulis.
Il existait encore, en 1835, au sommet des remparts de l'abbaye du Mont-Saint-Michel-en-Mer, du côté du midi, une belle échauguette avec mâchicoulis sur la face et sur les côtés, interceptant, comme celle de Villeneuve-lès-Avignon, la communication sur le chemin de ronde de la courtine. Cette échauguette tenait aux constructions du XIVe siècle 52.

Le plan (14), pris au niveau du crénelage, fait voir les deux baies fermant l'échauguette, la petite cheminée qui servait à chauffer les gens de guet, l'ouverture du mâchicoulis de face en A et celles des mâchicoulis latéraux en B. Ces mâchicoulis se fermaient au moyen de planchettes munies de gonds.

La fig. 15 donne une vue perspective extérieure de ce poste avec sa couverture. Cette construction était en granit rouge.

La fig. 15 bis présente, en A, la coupe de l'échauguette sur la ligne EG, et, en B, sur la ligne CD du plan.
Dans la première de ces coupes est indiquée l'ouverture du mâchicoulis de face en H avec la saillie K, sur le parement du mur, pour empêcher les traits décochés d'en bas de remonter en glissant le long du parement jusqu'aux défenseurs. Dans la seconde coupe B, on voit l'ouverture du mâchicoulis de face en L, et, en M, celles des mâchicoulis latéraux avec les arrêts O pour les traits venant du dehors. Ces mâchicoulis latéraux servaient, avec les meurtrières P, à flanquer la courtine, car on remarquera que les défenseurs pouvaient non-seulement laisser tomber des pierres verticalement, mais aussi envoyer des traits d'arbalète obliquement, ainsi que l'indique le tracé ponctué MN. On trouve assez souvent, dans nos anciennes forteresses, beaucoup d'échauguettes disposées de cette manière, au moins quant au mâchicoulis de face; mais il ne faut pas prendre pour telles des latrines qui souvent ont la même apparence extérieure, et ont leur vidange sur le dehors (voy. LATRINE), quand ce dehors est un fossé ou un escarpement.
Ainsi que nous avons l'occasion de le constater bien des fois dans le Dictionnaire, les architectes des XIIIe, XIVe et XVe siècles, employaient les encorbellements toutes les fois que ce système de construction pouvait leur être utile; il arrive souvent qu'on est obligé, dans les bâtisses, de donner aux parties supérieures plus de surface qu'aux parties inférieures des maçonneries. Les architectes du moyen âge s'étaient soumis à ces besoins; ils n'hésitaient jamais à faire emploi du système des encorbellements, et se tiraient avec beaucoup d'adresse des difficultés qu'il présente, tout en obtenant des constructions parfaitement solides.

Sur l'un des fronts de l'enceinte du château de Véz (voy. le plan d'ensemble de ce château à l'article DONJON, fig. 45), il existe encore de belles échauguettes semi-circulaires flanquantes, dont nous donnons la vue perspective extérieure (16). Sur le talus de la courtine naît un contre-fort rectangulaire peu saillant, qui, au moyen de trois corbelets, porte un demi-cylindre inférieur sur lequel posent quatre assises profilées arrivant à former un puissant encorbellement portant l'échauguette. La bascule de cette masse est parfaitement maintenue par le massif de la courtine.

Sur l'autre front de la même enceinte, à l'intérieur de la cour du château, il existe des échauguettes rectangulaires cette fois, à doubles flanquements, c'est-à-dire formant deux redans de chaque côté (17), destinés à flanquer la courtine à droite et à gauche: le premier redan assez long pour permettre un tir parallèle aux parements de cette courtine; le second plus court, mais suffisant pour le tir oblique, ainsi que l'indique le plan A. Ici encore, c'est un large contre-fort rectangulaire naissant sur le talus inférieur et portant l'encorbellement du premier redan; puis un second contre-fort en encorbellement lui-même portant la saillie du second redan. Des larmiers abritent les profils et empêchent la pluie de baver sur les parements.
Dans l'architecture militaire, les échauguettes n'ont été abandonnées qu'après Vauban. On les regardait comme utiles, même avec l'artillerie à feu, pendant les XVIe et XVIIe siècles; les angles saillants des bastions portaient encore des échauguettes, il y a deux cents ans, destinées uniquement à abriter les sentinelles. Il va sans dire qu'en cas de siége c'était la première chose qu'abattait l'assaillant. Cette persistance de l'échauguette constate seulement son importance dans les ouvrages militaires du moyen âge, puisqu'on eut tant de peine à l'abandonner, même après que tout le système de la défense s'était transformé. Les dernières échauguettes sont en forme de poivrière, très-étroites, portées sur un cul-de-lampe et n'ayant que la valeur d'une guérite, c'est-à-dire bonnes seulement pour surveiller les dehors, mais ne pouvant servir à la défense. Cependant, au commencement du XVIe siècle, et au moment où l'on établit déjà des boulevards revêtus, en dehors des anciennes enceintes, lorsque ces boulevards présentent un angle saillant (ce qui est rare, la forme circulaire étant alors admise), cet angle saillant est garni quelquefois d'une assez large échauguette quadrangulaire, posée la face sur l'angle du boulevard, ainsi que l'indique la fig. 18.

Ces échauguettes pouvaient recevoir un fauconneau; elles étaient ordinairement revêtues de combles en dalles posées sur une voûte, décorées d'armoiries et d'autres ornements qui donnaient aux saillants des boulevards un certain air monumental. Le temps et les boulets ont laissé peu de traces de ces petits ouvrages que nous ne retrouvons plus que dans d'anciennes gravures; et c'est à peine si, aujourd'hui, sur nos vieux bastions français, on aperçoit quelques assises des encorbellements qui portaient ces sortes d'échauguettes.
Sur les boulevards en terre et clayonnages dont on fit un grand usage pendant les guerres du XVIe siècle pour couvrir d'anciennes fortifications, on établissait des échauguettes en bois en dehors de l'angle saillant des bastions et au milieu des courtines (18 bis), afin de permettre aux sentinelles de voir ce qui se passait au fond des fossés. Ces sortes d'échauguettes sont employées jusqu'au XVIIe siècle.
On établissait aussi des échauguettes transitoires en bois sur les chemins de ronde des fortifications du moyen âge; ces échauguettes se reliaient aux hourds et formaient des sortes de bretèches (voy. ce mot). Quant aux échauguettes à demeure en charpente, nous les avons scrupuleusement détruites en France. À peine si nous en apercevons les traces sur quelques tours ou clochers. Pour trouver de ces sortes d'ouvrages encore entiers, il faut se décider à passer le Rhin et parcourir l'Allemagne conservatrice.
Sur le bord oriental du lac de Constance est une charmante petite ville qui a nom Lindau; c'est une tête du chemin de fer bavarois. Lindau a respecté ses murailles du moyen âge, avec quelques-unes des anciennes tours flanquantes. L'une de ces tours, dont la construction remonte au XIVe siècle, est couronnée de quatre échauguettes du XVe siècle, en bois, posant sur des encorbellements de pierre.

Voici (19) l'ensemble de cette construction. Les combles sont couverts en tuiles vernissées, avec boules et girouettes en cuivre doré. Depuis le XVe siècle, pas une main profane n'a touché cette innocente défense que pour l'entretenir; aucun Conseil municipal n'a prétendu que les bois du comble fussent pourris ou que la tour gênât les promeneurs.

Nous donnons (20) le détail de l'une de ces quatre échauguettes, dont les pans-de-bois sont hourdés en maçonnerie, avec meurtrières sur chacune des faces. Il suffit de jeter les yeux sur les gravures d'Israël Sylvestre, de Mérian, de Chastillon, pour constater qu'en France toutes les villes du Nord et de l'Est renfermaient quantité de ces tours couronnées d'échauguettes qui se découpaient si heureusement sur le ciel et donnaient aux cités une physionomie pittoresque. Aujourd'hui nous en sommes réduits à admirer ces restes du passé en Allemagne, en Belgique ou en Angleterre.
Dans la campagne, et surtout dans les pays de plaines, les combles des tours des châteaux se garnissaient d'échauguettes qui permettaient de découvrir au loin ce qui se passait; la Picardie et les Flandres surmontaient les combles de leurs donjons d'échauguettes de bois recouvertes de plomb ou d'ardoises. Les gravures nous ont conservé quelques-unes de ces guettes de charpenterie. Nous donnons ici l'une d'elles (21) en A 53.

À la base du pignon se voient deux autres échauguettes de pierre B, à deux étages, flanquant le chemin de ronde des mâchicoulis.
Nous retrouvons encore la tradition de ces guettes couronnant les combles des tours dans la plupart des châteaux de la Renaissance, comme à Chambord, à Tanlay, à Ancy-le-Franc, et, plus tard, au château de Richelieu en Poitou, de Blérancourt en Picardie, etc. Ce ne fut que sous le règne de Louis XIV, et lorsque les combles ne furent plus de mise sur les édifices publics ou privés, que disparurent ces derniers restes de la guette du château féodal.
Les combles des beffrois de ville étaient souvent munies d'échauguettes de bois. Comme les combles des donjons, on a eu grand soin de les détruire chez nous, et il nous faut sans cesse avoir recours aux anciennes gravures si nous voulons prendre une idée de leur disposition. La plupart des tours de beffrois des villes du nord en France, élevées pendant les XIIIe et XIVe siècles, étaient carrées 54; elles se terminaient par une galerie fermée ou à ciel ouvert, avec échauguettes aux angles; de plus, le comble en charpente, très-élevé et très-orné généralement (car les villes attachaient une sorte de gloire à posséder un beffroi magnifique), était percé de lanternes ou d'échauguettes, servant de guérites au guetteur. Il nous faut bien, cette fois encore, emprunter aux pays d'outre-Rhin, pour appuyer nos descriptions sur des monuments. Retournons donc à Prague, la ville des échauguettes, et celle dont l'architecture gothique se rapproche le plus de notre école picarde.
La cathédrale de cette ville possède deux tours sur sa façade occidentale dont les couronnements affectent bien plutôt la forme de nos beffrois municipaux du Nord que celle d'un clocher d'église. Ces tours, à défaut d'autres renseignements existants, vont nous servir à reconstituer les échauguettes des tours de ville des XIVe et XVe siècles.

Sur un dernier étage carré (22) s'épanouit un large encorbellement décoré d'écussons armoyés aux quatre angles; cet encorbellement arrive à former des portions d'octogones, ainsi que l'indique le plan A. Une balustrade de pierre pourtourne le couronnement et est surmontée aux angles de logettes également en pierre couvertes de pavillons aigus en charpente. En retraite, sur le parement intérieur de la tour, s'élève un grand comble à huit pans sur quatre faces duquel sont posées des échauguettes en bois couvertes aussi de pyramides à huit pans. Tous ces combles sont revêtus d'ardoises et de plomb, avec épis, boules, girouettes. Quatre petits combles diagonaux permettent de passer à couvert de la base de la charpente dans chacune des échauguettes d'angle.

La fig. 23 donne le détail de l'une des quatre échauguettes supérieures du comble. C'était un couronnement de ce genre, mais plus somptueux probablement, qui devait terminer le beffroi de la ville d'Amiens construit vers 1410 et brûlé en 1562. Un guetteur avait charge, du haut de ce beffroi, de sonner les cloches pour annoncer le bannissement de quelque malfaiteur, les incendies qui se déclaraient dans la ville ou la banlieue, pour donner l'alarme s'il voyait s'avancer vers la cité une troupe d'hommes d'armes, pour prévenir les sentinelles posées aux portes. Le son différent des cloches mises en branle faisait connaître aux habitants le motif pour lequel on les réunissait. Ce guetteur, au XVe siècle, recevait pour traitement un écu quarante sols par an, plus une cotte en drap moitié rouge moitié bleu qu'il portait à cause des «grans vans et froidures estant au hault dudict beffroi.» Il logeait dans la tour, devait jouer de sa «pipette» à la sonnerie du matin; il cornait pour annoncer aux bourgeois rassemblés hors la ville, à l'occasion de quelque fête ou cérémonie, qu'ils pouvaient être en paix et que rien de fâcheux ne survenait dans la cité. Il lui fallait aussi jouer certains airs lorsque des processions circulaient dans la ville 55. C'était, on en conviendra, un homme qui gagnait bien un écu quarante sols et un habit rouge et bleu par an.
Certains moustiers, certaines églises étaient fortifiées pendant le
moyen âge, et ces églises étant habituellement entourées de
contre-forts, on surmontait ceux-ci d'échauguettes. On voit encore, sur
la façade occidentale de l'église abbatiale de Saint-Denis, des traces
d'échauguettes circulaires bâties au XVe siècle sur les contre-forts du
XIIe. Pendant les guerres avec les Anglais, sous Charles VI et Charles
VII, en Normandie, sur les frontières de la Bretagne, sur les bords de
la Loire, beaucoup d'églises abbatiales furent ainsi munies
d'échauguettes. Dans les contrées exposées aux courses d'aventuriers,
dans les montagnes et les lieux déserts, presque toujours les églises
furent remaniées, à l'extérieur, de manière à pouvoir se défendre contre
une troupe de brigands. Les échauguettes alors servaient non-seulement à
poster des guetteurs de jour et de nuit, mais encore elles flanquaient
les murs et en commandaient les approches. L'église abbatiale de
Saint-Claude, dans le Jura, aujourd'hui cathédrale, bâtie vers la fin du
XIV siècle, porte sur ses contre-forts des échauguettes bien fermées et
commandant parfaitement les dehors. Ces échauguettes (24) sont à un
étage couvert sur les contre-forts latéraux, et à deux étages (25) sur
les contre-forts d'angle. On communique d'un de ces étages à l'autre par
une trappe réservée dans le plancher et une petite échelle de meunier.
Dans le midi de la France, on remarque, sur des églises romanes, des
échauguettes construites à la hâte au XIVe siècle, pour mettre ces
édifices en état de résister aux courses des troupes du Prince Noir. On
éleva encore des échauguettes sur les édifices religieux pendant les
guerres de religion du XVIe siècle, et quelquefois même des échauguettes
furent disposées pour recevoir de petites bouches à feu.

Du jour où chacun n'eut plus à songer à sa défense personnelle, l'échauguette disparut de nos édifices civils ou religieux; et il faut reconnaître que la gendarmerie de notre temps remplace avec avantage ces petits postes de surveillance.
Note 48: (retour) Si nous donnons ici cet exemple, c'est qu'il nous semble être l'oeuvre d'un architecte picard. En effet, en Bohême, pendant le XIVe siècle, on avait eu recours à des architectes de notre pays. Ainsi le choeur de la cathédrale de Prague est bâtie en 1344 par un Français, Mathieu d'Arras, appelé en Bohême par le roi Jean et son fils Charles, margrave de Moravie. Parmi les écussons armoyés qui décorent la porte, sur le vieux pont, on trouve l'écu de France semé de fleurs de lis sans nombre, par conséquent antérieur à Charles V.
ÉCHELLE, s. f. Nous ne parlons pas ici de l'échelle dont se servent les ouvriers pour monter sur les échafauds, non plus des échelles qui étaient en permanence sur les places réservées aux exécutions, et auxquelles on attachait les gens coupables de faux serments ou de quelque délit honteux pour les laisser ainsi exposés aux quolibets de la foule 56. Nous ne nous occupons que de l'échelle relative. En architecture, on dit «l'échelle d'un monument... Cet édifice n'est pas à l'échelle.» L'échelle d'une cabane à chien est le chien, c'est-à-dire qu'il convient que cette cabane soit en proportion avec l'animal qu'elle doit contenir. Une cabane à chien dans laquelle un âne pourrait entrer et se coucher ne serait pas à l'échelle.
Ce principe, qui paraît si naturel et si simple au premier abord, est cependant un de ceux sur lesquels les diverses écoles d'architecture (de notre temps) s'entendent le moins. Nous avons touché cette question déjà dans l'article ARCHITECTURE, et notre confrère regretté, M. Lassus, l'avait traitée avant nous 57. Dans la pratique, cependant, il ne semble pas que les observations mises en avant sur ce sujet aient produit des résultats. Nous n'avons pas la vanité de nous en étonner; nous croyons simplement que nos explications n'ont été ni assez étendues ni assez claires. Il faut donc reprendre la question et la traiter à fond, car elle en vaut la peine.
Les Grecs, dans leur architecture, ont admis un module, on n'en saurait douter; ils ne paraissent pas avoir eu d'échelle. Ainsi, qu'un ordre grec ait cinq mètres ou dix mètres de hauteur, les rapports harmoniques sont les mêmes dans l'un comme dans l'autre, c'est-à-dire, par exemple, que si le diamètre de la colonne à la base est un, la hauteur de la colonne sera six, et l'entre-colonnement un et demi vers le milieu du fût, dans le petit comme dans le grand ordre. En un mot, la dimension ne paraît pas changer les proportions relatives des divers membres de l'ordre. Cependant les Grecs ont été pourvus de sens si délicats qu'on ne saurait guère admettre chez eux la non application d'un principe vrai en matière d'art, sans une cause majeure. Nous ignorons le mécanisme harmonique de l'architecture grecque; nous ne pouvons que constater ses résultats sans avoir découvert, jusqu'à présent, ses formules. Nous reconnaissons bien qu'il existe un module, des tonalités différentes, des règles mathématiques, mais nous n'en possédons pas la clef, et Vitruve ne peut guère nous aider en ceci, car lui-même ne semble pas avoir été initié aux formules de l'architecture grecque des beaux temps, et ce qu'il dit au sujet des ordres n'est pas d'accord avec les exemples laissés par ses maîtres. Laissons donc ce problème à résoudre, ne voyons que l'apparence. Si nous considérons seulement les deux architectures mères des arts du moyen âge, c'est-à-dire l'architecture grecque et l'architecture romaine, nous trouvons dans la première un art complet, tout d'une pièce, conséquent, formulé, dans lequel l'apparence est d'accord avec le principe; dans la seconde, une structure indépendante souvent de l'apparence, le besoin et l'art, l'objet et sa décoration. Le besoin étant manifesté dans l'architecture romaine, étant impérieux même habituellement, et le besoin se rapportant à l'homme, l'harmonie pure de l'art grec est détruite; l'échelle apparaît déjà dans les édifices romains; elle devient impérieuse dans l'architecture du moyen âge. De même que, dans la société antique, l'individu n'est rien, qu'il est le jouet du destin, qu'il est perdu dans la chose publique, aussi ne peut-il exercer une influence sur la forme ou les proportions des monuments qu'il élève. Un temple est un temple; il est grand, si la cité peut le faire grand; il est petit, si sa destination ou la pénurie des ressources exige qu'il soit petit; s'il est grand, il y a une grande porte; s'il est petit, il n'a qu'une petite porte. Les impossibilités résultant de la nature des matériaux mettent seules une limite aux dimensions du grand monument, comme l'obligation de passer sous une porte empêche seule qu'elle ne s'abaisse au-dessous de la taille humaine; mais il ne venait certainement pas à l'esprit d'un Grec de mettre en rapport son édifice avec lui-homme, comme il ne supposait pas que son moi pût modifier les arrêts du destin. Les rapports harmoniques qui existent entre les membres d'un ordre grec sont si bien commandés par l'art et non par l'objet, que, par exemple, un portique de colonnes doriques devant toujours s'élever sur un socle composé d'assises en retraite les unes sur les autres comme des degrés, la hauteur de ces degrés devant être dans un rapport harmonique avec le diamètre des colonnes, si le diamètre de ces colonnes est tel que chacun des degrés ait la hauteur d'une marche ordinaire, c'est tant mieux pour les jambes de ceux qui veulent entrer sous le portique. Mais si le diamètre de ces colonnes est beaucoup plus grand, la hauteur harmonique des degrés augmentera en proportion; il deviendra impossible à des jambes humaines de les franchir, et comme, après tout, il faut monter, on pratiquera, à même ces degrés, des marches sur quelques points, comme une concession faite par l'art aux besoins de l'homme, mais faite, on s'en aperçoit, avec regret. Évidemment le Grec considérait les choses d'art plutôt en amant qu'en maître. Chez lui, l'architecture n'obéissait qu'à ses propres lois. Cela est bien beau assurément, mais ne peut exister qu'au milieu d'une société comme la société grecque, chez laquelle le culte, le respect, l'amour et la conservation du beau étaient l'affaire principale. Rendez-nous ces temps favorables, ou mettez vos édifices à l'échelle. D'ailleurs il ne faut pas espérer pouvoir en même temps sacrifier à ces deux principes opposés. Quand, dans une cité, les édifices publics et privés sont tous construits suivant une harmonie propre, tenant à l'architecture elle-même, il s'établit entre ces oeuvres de dimensions très-différentes des rapports qui probablement donnent aux yeux le plaisir que procure à l'ouïe une symphonie bien écrite. L'oeil fait facilement abstraction de la dimension quand les proportions sont les mêmes, et on conçoit très-bien qu'un Grec éprouvât autant de plaisir à voir un petit ordre établi suivant les règles harmoniques qu'un grand; qu'il ne fût pas choqué de voir le petit et le grand à côté l'un de l'autre, pas plus qu'on n'est choqué d'entendre une mélodie chantée par un soprano et une basse-taille. Peut-être même les Grecs établissaient-ils dans les relations entre les dimensions les rapports harmoniques que nous reconnaissons entre des voix chantant à l'octave. Peut-être les monuments destinés à être vus ensemble étaient-ils composés par antiphonies? Nous pouvons bien croire que les Grecs ont été capables de tout en fait d'art, qu'ils éprouvaient par le sens de la vue des jouissances que nous sommes trop grossiers pour jamais connaître.
Le mode grec, que les Romains ne comprirent pas, fut perdu. À la place de ces principes harmoniques, basés sur le module abstrait, le moyen âge émit un autre principe, celui de l'échelle, c'est-à-dire qu'à la place d'un module variable comme la dimension des édifices, il prit une mesure uniforme, et cette mesure uniforme est donnée par la taille de l'homme d'abord, puis par la nature de la matière employée. Ces nouveaux principes (nous disons nouveaux, car nous ne les voyons appliqués nulle part dans l'antiquité) ne font pas que, parce que l'homme est petit, tous les monuments seront petits; ils se bornent, même dans les plus vastes édifices (et le moyen âge ne se fit pas faute d'en élever de cette sorte), à forcer l'architecte à rappeler toujours la dimension de l'homme, à tenir compte toujours de la dimension des matériaux qu'il emploie.
Dorénavant, une porte ne grandira plus en proportion de l'édifice, car la porte est faite pour l'homme, elle conservera l'échelle de sa destination; un degré sera toujours un degré praticable. La taille de l'homme (nous choisissons, bien entendu, parmi les plus grands) est divisée en six parties, lesquelles sont divisées en douze, car le système duodécimal, qui peut se diviser par moitié, par quarts et par tiers, est d'abord admis comme le plus complet. L'homme est la toise, le sixième de l'homme est le pied, le douzième du pied est le pouce. Armés de cette mesure, les architectes vont y subordonner tous les membres de leurs édifices: c'est donc l'homme qui devient le module, et ce module est invariable. Cela ne veut pas dire que l'architecture du moyen âge, à son origine et à son apogée, soit un simple calcul, une formule numérique; non, ce principe se borne à rappeler toujours la taille humaine. Ainsi, quelle que soit la hauteur d'une pile, la base de cette pile ne dépasse jamais la hauteur d'appui; quelle que soit la hauteur d'une façade, la hauteur des portes n'excédera pas deux toises, deux toises et demie au plus, parce qu'on ne suppose pas que des hommes et ce qu'ils peuvent porter, tels que bannières, dais, bâtons, puissent dépasser cette hauteur. Quelle que soit la hauteur d'un vaisseau, les galeries de service à différents étages seront proportionnées, non à la grandeur de l'édifice, mais à la taille de l'homme. Voilà pour certains membres principaux. Entrons plus avant dans la théorie. On a été chercher fort loin l'origine des colonnes engagées qui, dans les monuments du moyen âge, s'allongent indéfiniment, quel que soit leur diamètre, contrairement au mode grec; il n'était besoin cependant que de recourir au principe de l'échelle admis par les architectes de ces temps pour trouver la raison de cette innovation. On nous a dénié l'influence de l'échelle humaine, en nous disant, par exemple, que les colonnes engagées des piles de la cathédrale de Reims sont bien plus grosses que celles d'une église de village; nous répondons que les colonnes engagées de la cathédrale de Reims ne sont pas dans un rapport proportionnel avec des colonnes engagées d'un édifice quatre fois plus petit. C'est matière de géométrie.
Prenons un monument franchement gothique, la nef principale de la cathédrale d'Amiens. Cette nef a, d'axe en axe des piles, 14m,50; les colonnes centrales portent 1m,36 de diamètre, et les quatre colonnettes engagées qui cantonnent ces colonnes centrales, 0,405m. Nous demandons que l'on nous indique une nef de la même époque, n'ayant que 7m,25 de largeur d'axe en axe des piles, dont les colonnes centrales n'auraient que 0,68 c. de diamètre et les colonnes engagées 0,20 c., c'est-à-dire étant dans un rapport exact de proportion avec la nef de la cathédrale d'Amiens.
Voici un monument qui se présente à propos, construit en matériaux très-résistants, tandis que ceux dont se compose la cathédrale d'Amiens ne le sont que médiocrement: c'est la nef de l'église de Semur-en-Auxois, bâtie en même temps que celle de la cathédrale d'Amiens. La nef n'a en largeur qu'un peu moins de la moitié de celle-ci, 6m,29. Or les colonnes centrales ont 1m,08 de diamètre, et les colonnes engagées qui les cantonnent, 0,27 c., au lieu de 0,64 c. et 0,19 c. Ces rapports proportionnels que nous trouvons dans l'architecture antique n'existent donc pas ici; notez que 0,405m font juste 15 pouces, et 0,27 c., 10 pouces, et les colonnettes cantonnantes des piles de l'église de Semur sont les plus grêles que nous connaissions de cette époque; ordinairement ces colonnettes, qui ont une si grande importance parce qu'elles portent en apparence les membres principaux de l'architecture, ont, dans les plus petits édifices, 0,32 c. (1 pied), dans les plus grands 0,40 c. (15 pouces); par cas exceptionnel, comme à Reims, 0,49 c. (18 pouces) 58; c'est-à-dire l'unité, l'unité plus 1/4, l'unité plus 1/2. Mais ce qui donne l'échelle d'un édifice, ce sont bien plus les mesures en hauteur que les mesures en largeur. Or, dans cette petite église de Semur, le niveau du dessus des bases est à 1m,06 du sol, et les piles n'ont que 5m,00 de haut, compris le chapiteau, jusqu'aux naissances des voûtes des bas-côtés. Dans la cathédrale d'Amiens, les piles qui remplissent le même objet ont 13m,80, et le niveau du dessus des bases... 1m,06. Dans la cathédrale de Reims, les piles ont 11m,20 de haut, et les bases 1m,30; 1m,06 font juste 3 pieds 3 pouces; 1m,30, 4 pieds, c'est-à-dire 3 unités 1/4, 4 unités. Les chapiteaux de ces piles de la nef d'Amiens ont, tout compris, 1m,14 de haut; ceux de Reims, 1m,14, c'est-à-dire 3 pieds 6 pouces; ceux des petites piles de l'église de Semur, 1m,06, comme les bases (3 pieds 3 pouces). La nef de la cathédrale de Reims a 37m,00 sous clef; les colonnettes de son triforium ont 3m,50 de haut. La nef de la cathédrale d'Amiens a 42m,00 sous clef; les colonnes de son triforium ont de hauteur 3m,00. La nef de l'église de Semur a, sous clef, 24m,00; les colonnettes de son triforium ont de hauteur 2m,00: c'est le minimum, parce que le triforium est un passage de service, qu'il indique la présence de l'homme; aussi ne grandit-il pas en proportion de la dimension de l'édifice. Les architectes, au contraire, même lorsque, comme à Amiens, la construction les oblige à donner au triforium une grande hauteur sous plafond, rappellent, par un détail important, très-visible, comme les colonnettes, la dimension humaine. C'est pour cela qu'à la base des édifices, dans les intérieurs, sous les grandes fenêtres, les architectes ont le soin de plaquer des arcatures qui, quelle que soit la dimension de ces édifices, ne sont toujours portées que par des colonnettes de 2m,00 de hauteur au plus, colonnettes qui sont ainsi, tout au pourtour du monument, à la hauteur de l'oeil, comme des moyens multipliés de rappeler l'échelle humaine, et cela d'une façon d'autant plus frappante, que ces colonnettes d'arcatures portent toujours sur un banc, qui, bien entendu, est fait pour s'asseoir, et n'a que la hauteur convenable à cet usage, c'est-à-dire de 0,40 à 0,45 c. Il va sans dire que les balustrades, les appuis n'ont jamais, quelle que soit la dimension des édifices, que la hauteur nécessaire, c'est-à-dire 1m,00 (3 pieds).
Non-seulement la taille de l'homme, mais aussi la dimension des matériaux déterminent l'échelle de l'architecture romaine et surtout de l'architecture gothique. Tout membre d'architecture doit être pris dans une hauteur d'assise; mais comme les pierres à bâtir ne sont pas partout de la même hauteur de banc, c'est là où l'on reconnaît la souplesse des principes de cette architecture. Avec un tact et un sentiment de l'art assez peu appréciés de nos jours, l'architecte du moyen âge élève sa construction de façon à la mettre d'accord avec la dimension de l'édifice qu'il bâtit. Peu importe que les matériaux soient hauts ou bas, il sait en même temps le soumettre à l'échelle imposée par ces matériaux et aux proportions convenables à un grand ou à un petit monument. Supposons qu'il ne possède que des pierres calcaires dont la hauteur de banc est de 0,40 c. au plus, et qu'il veuille bâtir un édifice d'une très-grande dimension, comme la façade de la cathédrale de Paris, par exemple; admettons même qu'il tienne à donner à cette façade de grandes proportions, ou, pour mieux dire, une échelle supérieure à l'échelle commune. Il élèvera les soubassements en assises régulières, basses; si, dans ces soubassements, il veut faire saillir des bandeaux, il ne donnera à ces bandeaux qu'une très-faible hauteur, et encore les fera-t-il tailler sur des profils fins, délicats, afin de laisser à la masse inférieure toute son importance; il maintiendra les lignes horizontales, comme indiquant mieux la stabilité. Arrivé à une certaine hauteur, il sent qu'il faut éviter l'uniformité convenable à un soubassement, que les lits horizontaux donnés par les assises détruiront l'effet des lignes verticales. Alors, devant cette structure composée d'assises, il place des colonnettes en délit qui sont comme un dessin d'architecture indépendant de la structure; il surmonte ces colonnettes d'arcatures prises dans des pierres posées de même en délit et appareillées de telle façon qu'on n'aperçoive plus les joints de la construction: ainsi donne-t-il à son architecture les proportions qui lui conviennent, et il laisse à ces proportions d'autant plus de grandeur que, derrière ce placage décoratif, l'oeil retrouve l'échelle vraie de la bâtisse, celle qui est donnée par la dimension des matériaux. La grande galerie à jour qui, sous les tours, termine la façade de Notre-Dame de Paris, est un chef-d'oeuvre de ce genre. La structure vraie, comme un thème invariable, se continue du haut en bas, par assises réglées de 0,40 c. de hauteur environ. Devant cette masse uniforme se dessine d'abord la galerie des Rois, avec ses colonnes monolithes de 0,25 c. de diamètre, dressées entre des statues de 3m,00 de hauteur. Puis vient se poser immédiatement une balustrade à l'échelle humaine, c'est-à-dire de 1m,00 de hauteur, qui rend à la galerie sa grandeur, en rappelant, près des figures colossales, la hauteur de l'homme. Au-dessus, les assises horizontales; le thème continue sans rien qui altère son effet. L'oeuvre se termine par cette grande galerie verticale dont les colonnes monolithes ont 5m,10 de hauteur sur 0,18 c. de diamètre, couronnée par une arcature et une corniche saillante, haute, ferme, dans laquelle cependant l'ornementation et les profils se soumettent à la dimension des matériaux (voy. CORNICHE, fig. 17). Les tours s'élèvent sur ce vaste soubassement; elles se composent, comme chacun sait, de piles cantonnées de colonnettes engagées bâties par assises de 0,45 c. de hauteur; mais pour que l'oeil, à cette distance, puisse saisir la construction, énorme empilage d'assises, dans les angles, chacune de ces assises porte un crochet saillant se découpant sur les fonds ou sur le ciel. Ces longues séries de crochets, marquant ainsi l'échelle de la construction, rendent aux tours leur dimension véritable en faisant voir de combien d'assises elles se composent. Sur la façade de Notre-Dame de Paris, l'échelle donnée par la dimension de l'homme et par la nature des matériaux est donc soigneusement observée de la base au faîte. La statuaire, qui sert de point de comparaison, n'existe que dans les parties inférieures; les couronnements en sont dépourvus, et, en cela, l'architecte a procédé sagement: car, dans un édifice de cette hauteur, si l'on place des statues sur les couronnements, celles-ci paraissent trop petites lorsqu'elles ne dépassent pas du double au moins la dimension de l'homme; elles écrasent l'architecture lorsqu'elles sont colossales.
En entrant dans une église ou une salle gothique, chacun est disposé à croire ces intérieurs beaucoup plus grands qu'ils ne le sont réellement; c'est encore par une judicieuse application du principe de l'échelle humaine que ce résultat est obtenu. Comme nous l'avons dit tout à l'heure, les bases des piles, leurs chapiteaux, les colonnettes des galeries supérieures rappellent à diverses hauteurs la dimension de l'homme, quelle que soit la proportion du monument. De plus, la multiplicité des lignes verticales ajoute singulièrement à l'élévation. Dans ces intérieurs, les profils sont camards, fins, toujours pris dans des assises plus basses que celles des piles ou des parements. Les vides entre les meneaux des fenêtres ne dépassent jamais la largeur d'une baie ordinaire, soit 1m,25 (4 pieds) au plus. Si les fenêtres sont très-larges, ce sont les meneaux qui, en se multipliant, rappellent toujours ces dimensions auxquelles l'oeil est habitué, et font qu'en effet ces fenêtres paraissent avoir leur largeur réelle. D'ailleurs ces baies sont garnies de panneaux de vitraux séparés par des armatures en fer, qui contribuent encore à donner aux ouvertures vitrées leur grandeur vraie; et pour en revenir aux colonnes engagées indéfiniment allongées, dans l'emploi desquelles les uns voient une décadence ou plutôt un oubli des règles de l'antiquité sur les ordres, les autres une influence d'un art étranger, d'autres encore un produit du hasard, elles ne sont que la conséquence d'un principe qui n'a aucun point de rapport avec les principes de l'architecture antique. D'abord il faut admettre que les ordres grecs n'existent plus, parce qu'en effet ils n'ont aucune raison d'exister chez un peuple qui abandonne complétement la plate-bande pour l'arc. La plate-bande n'étant plus admise, le point d'appui n'est plus colonne, c'est une pile. La colonne qui porte une plate-bande est et doit être diminuée, c'est-à-dire présenter à sa base une section plus large que sous le chapiteau; c'est un besoin de l'oeil d'abord, c'est aussi une loi de statique; car la plate-bande étant un poids inerte, il faut que le quillage sur lequel pose ce poids présente une stabilité parfaite. L'arc, au contraire, est une pesanteur agissante qui ne peut être maintenue que par une action opposée. Quatre arcs qui reposent sur une pile se contre-buttent réciproquement, et la pile n'est plus qu'une résistance opposée à la résultante de ces actions opposées. Il ne viendra jamais à la pensée d'un architecte (nous disons architecte qui construit) de reposer quatre arcs sur une pile conique ou pyramidale. Il les bandera sur un cylindre ou un prisme, puisqu'il sait que la résultante des pressions obliques de ces quatre arcs, s'ils sont égaux de diamètre, d'épaisseur et de charge, passe dans l'axe de ce cylindre ou de ce prisme sans dévier. Il pourrait se contenter d'un poinçon posé sur sa pointe pour porter ces arcs. Or, comme nous l'avons assez fait ressortir dans l'article CONSTRUCTION, le système des voûtes et d'arcs adopté par les architectes du moyen âge n'étant autre chose qu'un système d'équilibre des forces opposées les unes aux autres par des buttées ou des charges, tout dans cette architecture tend à se résoudre en des pressions verticales, et le système d'équilibre étant admis, comme il faut tout prévoir, même l'imperfection dans l'exécution, comme il faut compter sur des erreurs dans l'évaluation des pressions obliques opposées ou chargées, et par conséquent sur des déviations dans les résultantes verticales, mieux vaut dans ce cas une pile qui se prête à ces déviations qu'une pile inflexible sur sa base.

En effet, soit (1), sur une pile A, une résultante de pressions qui, au lieu d'être parfaitement verticale, soit oblique suivant la ligne CD, cette résultante oblique tendra à faire faire à la pile le mouvement indiqué en B. Alors la pile sera broyée sur ses arêtes. Mais soit, au contraire, sur une pile E, une résultante de pressions obliques, la pile tendra à pivoter sur sa base de manière à ce que la résultante rentre dans la verticale, comme le démontre le tracé F. Alors, si la pile est chargée, ce mouvement ne peut avoir aucun inconvénient sérieux. Tout le monde peut faire cette expérience avec un cône sur le sommet ou la base duquel on appuierait le doigt. Dans le premier cas, on fera sortir la base du plan horizontal; dans le second, le cône obéira, et à moins de faire sortir le centre de gravité de la surface conique, on sentira sous la pression une résistance toujours aussi puissante.
Ainsi laissons donc là les rapports de la colonne des ordres antiques, qui n'ont rien à faire avec le système de construction de l'architecture du moyen âge. Ne comparons pas des modes opposés par leurs principes mêmes. Les architectes gothiques et même romans du Nord n'ont pas, à proprement parler, connu la colonne; ils n'ont connu que la pile. Cette pile, quand l'architecture se perfectionne, ils la décomposent en autant de membres qu'ils ont d'arcs à porter; rien n'est plus logique assurément. Ces membres ont des pressions égales ou à peu près égales à recevoir; ils admettent donc qu'en raison de l'étendue des monuments ils donneront à chacun d'eux le diamètre convenable, 1 pied, 15 pouces, ou 18 pouces, comme nous l'avons démontré plus haut; cela est encore très-logique. Ils poseront ces membres réunis sur une base unique, non faite pour eux, mais faite pour l'homme, comme les portes, les balustrades, les marches, les appuis sont faits pour l'homme et non pour les monuments; cela n'est pas conforme à la donnée antique, mais c'est encore conforme à la logique, car ce ne sont pas les édifices qui entrent par leurs propres portes, qui montent leurs propres degrés ou s'appuient sur leurs propres balustrades, mais bien les hommes. Ces membres, ou fractions de piles, ces points d'appui ont, celui-ci un arc à soutenir à cinq mètres du sol: on l'arrête à cette hauteur, on pose son chapiteau (qui n'est qu'un encorbellement propre à recevoir le sommier de l'arc, voy. CHAPITEAU); cet autre doit porter son arc à huit mètres du sol: il s'arrête à son tour à ce niveau; le dernier recevra sa charge à quinze mètres, son chapiteau sera placé à quinze mètres de hauteur. Cela n'est ni grec, ni même romain, mais cela est toujours parfaitement logique. La colonne engagée gothique, qui s'allonge ainsi ou se raccourcit suivant le niveau de la charge qu'elle doit porter, n'a pas de module, mais elle a son échelle, qui est son diamètre; elle est cylindrique et non conique, parce qu'elle n'indique qu'un point d'appui recevant une charge passant par son axe, et qu'en supposant même une déviation dans la résultante des pressions, il est moins dangereux pour la stabilité de l'édifice qu'elle puisse s'incliner comme le ferait un poteau, que si elle avait une large assiette s'opposant à ce mouvement. Son diamètre est aussi peu variable que possible, quelle que soit la dimension de l'édifice, parce que ce diamètre uniforme, auquel l'oeil s'habitue, paraissant grêle dans un vaste monument, large dans un petit, indique ainsi la dimension réelle, sert d'échelle, en un mot, comme les bases, les arcatures, balustrades, etc.
Mais comme les architectes du moyen âge ont le désir manifeste de faire paraître les intérieurs des monuments grands (ce qui n'est pas un mal), ils évitent avec soin tout ce qui pourrait nuire à cette grandeur. Ainsi ils évitent de placer des statues dans ces intérieurs, si ce n'est dans les parties inférieures, et, alors, ils ne leur donnent que la dimension humaine, tout au plus. L'idée de jeter des figures colossales sous une voûte ou un plafond ne leur est jamais venue à la pensée, parce qu'ils étaient architectes, qu'ils aimaient l'architecture et ne permettaient pas aux autres arts de détruire l'effet qu'elle doit produire. Les sculpteurs n'en étaient pas plus malheureux ou moins habiles pour faire de la statuaire à l'échelle; ils y trouvaient leur compte et l'architecture y trouvait le sien (voy. STATUAIRE).
Que, d'un point de départ si vrai, si logique, si conforme aux principes invariables de tout art; que, de ce sentiment exquis de l'artiste se soumettant à une loi rigoureuse sans affaiblir l'expression de son génie personnel, on en soit venu à dresser dans une ville, centre de ces écoles délicates et sensées, un monument comme l'arc de triomphe de l'Étoile, c'est-à-dire hors d'échelle avec tout ce qui l'entoure, une porte sous laquelle passerait une frégate mâtée; un monument dont le mérite principal est de faire paraître la plus grande promenade de l'Europe un bosquet d'arbrisseaux; il faut que le sens de la vue ait été parmi nous singulièrement faussé et que, par une longue suite d'abus en matière d'art, nous ayons perdu tout sentiment du vrai. Il y a plus d'un siècle déjà, le président De Brosses 59, parlant de sa première visite à la basilique de Saint-Pierre de Rome, dit que, à l'intérieur, ce vaste édifice ne lui sembla «ni grand, ni petit, ni haut, ni bas, ni large, ni étroit.» Il ajoute: «On ne s'aperçoit de son énorme étendue que par relation, lorsqu'en considérant une chapelle, on la trouve grande comme une cathédrale; lorsqu'en mesurant un marmouset qui est là au pied d'une colonne, on lui trouve «un pouce gros comme le poignet. Tout cet édifice, par l'admirable justesse de ses proportions, a la propriété de réduire les choses démesurées à leur juste valeur.» Voilà une propriété bien heureuse! Faire un édifice colossal pour qu'il ne paraisse que de dimension ordinaire, faire des statues d'enfants de trois mètres de hauteur pour qu'elles paraissent être des marmots de grandeur naturelle! Le président De Brosses est cependant un homme d'esprit, très-éclairé, aimant les arts; ses lettres sont pleines d'appréciations très-justes. C'est à qui, depuis lui, a répété ce jugement d'amateur terrible, a fait à Saint-Pierre de Rome ce mauvais compliment. On pourrait en dire autant de notre arc de triomphe de l'Étoile et de quelques autres de nos monuments modernes: «L'arc de l'Étoile, par l'admirable justesse de ses proportions, ne paraît qu'une porte ordinaire; il a la propriété de réduire tout ce qui l'entoure à des dimensions tellement exiguës, que l'avenue des Champs-Élysées paraît un sentier bordé de haies et les voitures qui la parcourent des fourmis qui vont à leurs affaires sur une traînée de sable.» Si c'est là le but de l'art, le mont Blanc est fait pour désespérer tous les architectes, car jamais ils n'arriveront à faire un édifice qui ait à ce degré le mérite de réduire à néant tout ce qui l'entoure. Dans la ville où nous nous évertuons à élever des édifices publics qui ne rappellent en rien l'échelle humaine, percés de fenêtres tellement hors de proportion avec les services qu'elles sont destinées à éclairer, qu'il faut les couper en deux et en quatre par des planchers et des cloisons, si bien que des pièces prennent leurs jours ainsi que l'indique la figure ci-contre (2), ce qui n'est ni beau ni commode; que nous couronnons les corniches de ces édifices de lucarnes avec lesquelles on ferait une façade raisonnable pour une habitation; dans cette même ville, disons-nous, on nous impose (et l'édilité en soit louée!) des dimensions pour les hauteurs de nos maisons et de leurs étages. La raison publique veut qu'on se tienne, quand il s'agit d'édifices privés, dans les limites qu'imposent le bon sens et la salubrité.

Voilà qui n'est plus du tout conforme à la logique, car les édifices publics (ou nous nous abusons étrangement) sont faits pour les hommes aussi bien que les maisons, et nous ne grandissons pas du double ou du triple quand nous y entrons. Pourquoi donc ces édifices sont-ils hors d'échelle avec nous, avec nos besoins et nos habitudes?... Cela est plus majestueux, dit-on. Mais la façade de Notre-Dame de Paris est suffisamment majestueuse, et elle est à l'échelle de notre faiblesse humaine; elle est grande, elle paraît telle, mais les maisons qui l'entourent sont toujours des maisons et ne ressemblent pas à des boîtes à souris, parce que, sur cette façade de Notre-Dame, si grande qu'elle soit, les architectes ont eu le soin de rappeler, du haut en bas, cette échelle humaine, échelle infime, nous le voulons bien, mais dont nous ne sommes pas les auteurs.
Note 56: (retour) Voy. le curieux bas-relief qui se trouve à la base du portail méridional de Notre-Dame de Paris, et qui représente un écolier attaché à une échelle; d'autres écoliers l'entourent et paraissent le bafouer. Sur la poitrine du coupable est attaché un petit écriteau carré sur lequel sont gravées ces lettres P. FAVS.S. por faus sermens.
ÉCHIFFRE (Mur d'). C'est le mur sur lequel s'appuient les marches d'un escalier, quand ce mur ne dépasse pas les niveaux ressautants du degré (voy. ESCALIER).
ÉCOLE, s. f. Pendant le moyen âge, il y a eu, sur le territoire de la France de nos jours, plusieurs écoles, soit pendant l'époque romane, soit pendant la période gothique. Les écoles romanes sont sorties, la plupart, des établissements monastiques; quelques-unes, comme l'école romane de l'Île-de-France et de Normandie, tiennent à l'organisation politique de ces contrées; d'autres, comme les écoles de la Provence et d'une partie du Languedoc, ne sont que l'expression du système des municipalités romaines qui, dans ces contrées, se conserva jusqu'à l'époque de la guerre des Albigeois; ces dernières écoles suivent, plus que toute autre, les traditions de l'architecture antique. D'autres encore, comme les écoles du Périgord, de la Saintonge, de l'Angoumois et d'une partie du Poitou, ont subi, vers le XIe siècle, les influences de l'art byzantin. On ne compte, dans nos provinces, que quatre écoles pendant la période gothique: l'école de l'Île-de-France, du Soissonnais, du Beauvoisis; l'école bourguignonne; l'école champenoise, et l'école normande (voy., pour les développements, les articles ARCHITECTURE religieuse, monastique, CATHÉDRALE, CLOCHER, CONSTRUCTION, ÉGLISE, PEINTURE, SCULPTURE, STATUAIRE).
ÉCU, s. m. (voy. ARMOIRIES).
ÉGLISE PERSONNIFIÉE, SYNAGOGUE PERSONNIFIÉE. Vers le commencement du XIIIe siècle, les constructeurs de nos cathédrales, se conformant à l'esprit du temps, voulurent retracer sur les portails de ces grands édifices à la fois religieux et civils, non-seulement l'histoire du monde, mais tout ce qui se rattache à la création et aux connaissances de l'homme, à ses penchants bons ou mauvais (voy. CATHÉDRALE). En sculptant sous les voussures de ces portails et les vastes ébrasements des portes les scènes de l'Ancien Testament et celles du Nouveau, ils prétendirent cependant indiquer à la foule des fidèles la distinction qu'il faut établir entre la loi Nouvelle et l'Ancienne; c'est pourquoi, à une place apparente, sur ces façades, ils posèrent deux statues de femme, l'une tenant un étendard qui se brise dans ses mains, ayant une couronne renversée à ses pieds, laissant échapper des tablettes, baissant la tête, les yeux voilés par un bandeau ou par un dragon qui s'enroule autour de son front: c'est l'Ancienne loi, la Synagogue, reine déchue dont la gloire est passée, aveuglée par l'esprit du mal, ou incapable au moins de connaître les vérités éternelles de la Nouvelle loi. L'autre statue de femme porte la couronne en tête, le front levé; son expression est fière; elle tient d'une main l'étendard de la foi, de l'autre un calice; elle triomphe et se tourne du côté de l'assemblée des apôtres, au milieu de laquelle se dresse le Christ enseignant: c'est la loi Nouvelle, l'Église. Ce beau programme était rempli de la façon la plus complète sur le portail de la cathédrale de Paris. Les statues de l'Église et de la Synagogue se voyaient encore des deux côtés de la porte principale, à la fin du dernier siècle, dans de larges niches pratiquées sur la face des contre-forts: l'Église à la droite du Christ entouré des apôtres, la Synagogue à la gauche 60.
Nous ne possédons plus en France qu'un très-petit nombre de ces statues. L'église de Saint-Seurin de Bordeaux a conservé les siennes, ainsi que la cathédrale de Strasbourg. L'Église et la Synagogue manquent parmi les statues de nos grandes cathédrales vraiment françaises, comme Chartres, Amiens, Reims, Bourges; elles n'existent qu'à Paris. On doit observer à ce propos que les statues de l'Église et de la Synagogue, mises en parallèle et occupant des places très-apparentes, ne se trouvent que dans des villes où il existait, au moyen âge, des populations juives nombreuses. Il n'y avait que peu ou point de juifs à Chartres, à Reims, à Bourges, à Amiens; tandis qu'à Paris, à Bordeaux, dans les villes du Rhin, en Allemagne, les familles juives étaient considérables, et furent souvent l'objet de persécutions. La partie inférieure de la façade de Notre-Dame de Paris ayant été bâtie sous Philippe-Auguste, ennemi des juifs, il n'est pas surprenant qu'on ait, à cette époque, voulu faire voir à la foule l'état d'infériorité dans lequel on tenait à maintenir l'Ancienne loi. À Bordeaux, ville passablement peuplée de juifs, au XIIIe siècle, les artistes statuaires qui sculptèrent les figures du portail méridional de Saint-Seurin ne se bornèrent pas à poser un bandeau sur les yeux de la Synagogue, ils entourèrent sa tête d'un dragon (1), ainsi que l'avaient fait les artistes parisiens. La Synagogue de Saint-Seurin de Bordeaux a laissé choir sa couronne à ses pieds; elle ne tient que le tronçon de son étendard et ses tablettes sont renversées; à sa ceinture est attachée une bourse. Est-ce un emblème des richesses que l'on supposait aux juifs? En A est un détail de la tête de cette statue.

À la cathédrale de Bamberg, dont la statuaire est si remarquable et rappelle, plus qu'aucune autre en Allemagne, les bonnes écoles françaises des XIIe et XIIIe siècles, les représentations de l'Église et de la Synagogue existent encore des deux côtés du portail nord; et, fait curieux en ce qu'il se rattache peut-être à quelque acte politique de l'époque, bien que ce portail soit du XIIe siècle, les deux statues de l'Ancienne et de la Nouvelle loi sont de 1230 environ; de plus, elles sont accompagnées de figures accessoires qui leur donnent une signification plus marquée que partout ailleurs.

La Synagogue de la cathédrale de Bamberg (2) repose sur une colonne à laquelle est adossée une petite figure de juif, facile à reconnaître à son bonnet pointu 61. Au-dessus de cette statuette est un diable dont les jambes sont pourvues d'ailes; il s'appuie sur le bonnet du juif. La statue de l'Ancienne loi est belle; ses yeux sont voilés par un bandeau d'étoffe; de la main gauche elle laisse échapper cinq tablettes, et de la droite elle tient à peine son étendard brisé. On ne voit pas de couronne à ses pieds. En pendant, à la gauche du spectateur, par conséquent à la droite de la porte, l'Église repose de même sur une colonnette dont le fût, à sa partie inférieure, est occupé par une figure assise ayant un phylactère déployé sur ses genoux (3); de la main droite (mutilée aujourd'hui), ce personnage paraît bénir; la tête manque, ce qui nous embarrasse un peu pour désigner cette statuette que cependant nous croyons être le Christ. Au-dessus sont les quatre évangélistes, c'est-à-dire en bas le lion et le boeuf, au-dessus l'aigle et l'ange. Malheureusement les deux bras de la loi Nouvelle sont brisés. Au geste, on reconnaît toutefois qu'elle tenait l'étendard de la main droite et le calice de la gauche. Cette statue, d'une belle exécution, pleine de noblesse, et nullement maniérée comme le sont déjà les statues de cette époque en Allemagne, est couronnée. Elle est, ainsi que son pendant, couverte par un dais.

La cathédrale de Strasbourg conserve encore, des deux côtés de son portail méridional, qui date du XIIe siècle, deux statues de l'Église et de la Synagogue sculptées vers le milieu du XIIIe siècle. Ainsi ces représentations sculptées sur les portails des églises paraissent avoir été faites de 1210 à 1260, c'est-à-dire pendant la période particulièrement funeste aux juifs, celle où ils furent persécutés avec le plus d'énergie en Occident. La Synagogue de la cathédrale de Strasbourg que nous donnons (4) a les yeux bandés; son étendard se brise dans sa main; son bras gauche, pendant, laisse tomber les tables. L'Église (5) est une gracieuse figure, presque souriante, sculptée avec une finesse rare dans ce beau grès rouge des Vosges qui prend la couleur du bronze.

Cette manière de personnifier la religion chrétienne et la religion juive n'est pas la seule. Nous voyons au-dessus de la porte méridionale de la cathédrale de Worms, dans le tympan du gâble qui surmonte cette porte, une grande figure de femme couronnée, tenant un calice de la main droite comme on tient un vase dans lequel on se fait verser un liquide.

Cette femme couronnée (6) est fièrement assise sur une bête ayant quatre têtes, aigle, lion, boeuf, homme; quatre jambes, pied humain, pied fendu, patte de lion et serre d'aigle: c'est encore la Nouvelle loi. Dans le tympan de la porte qui surmonte cette statue, on voit un couronnement de la Vierge; dans les voussures, la Nativité, l'arche de Noé, Adam et Ève, le crucifiement, les trois femmes au tombeau, Jésus-Christ ressuscitant et des prophètes. Parmi les statues des ébrasements, on remarque l'Église et la Synagogue. La religion chrétienne porte l'étendard levé, elle est couronnée; la religion juive a les yeux bandés, elle égorge un bouc; sa couronne tombe d'un côté, ses tablettes de l'autre.
Nous trouvons l'explication étendue de la statue assise sur la bête à quatre têtes dans le manuscrit d'Herrade de Landsberg, le Hortus deliciarum, déposé aujourd'hui dans la bibliothèque de Strasbourg 62. L'une des vignettes de ce manuscrit représente le Christ en croix. Au-dessus des deux bras de la croix, on voit le soleil qui pleure et la lune, puis les voiles du temple déchirés. Au-dessous, deux Romains tenant l'un la lance, l'autre l'éponge imprégnée de vinaigre et de fiel; la Vierge, saint Jean et les deux larrons. Sur le premier plan, à la droite du Sauveur, une femme couronnée assise, comme celle de la cathédrale de Worms, sur la bête, symbole des quatre évangiles; elle tend une coupe dans laquelle tombe le sang du Christ; dans la main gauche, elle porte un étendard terminé par une croix. À la gauche du divin supplicié est une autre femme, assise sur un âne dont les pieds buttent dans des cordes nouées; la femme a les jambes nues; un voile tombe sur ses yeux; sa main droite tient un couteau, sa main gauche des tablettes; sur son giron repose un bouc; son étendard est renversé. En bas de la miniature, des morts sortent de leurs tombeaux.
Bien que la sculpture de Worms date du milieu du XIIIe siècle, elle nous donne, en statuaire d'un beau style, un fragment de cette scène si complétement tracée au XIIe par Herrade de Landsberg, c'est-à-dire l'Église recueillant le sang du Sauveur assise sur les quatre évangiles. La femme portée par l'âne buttant personnifie la Synagogue: c'était traiter l'Ancien Testament avec quelque dureté.
Souvent, dans nos vitraux français, on voit de même un Christ en croix avec l'Église et la Synagogue à ses côtés, mais représentées sans leurs montures, l'Église recueillant le sang du Sauveur dans un calice, et la Synagogue voilée, se détournant comme les statues de Bamberg et de Strasbourg, ou tenant un jeune bouc qu'elle égorge. Villard de Honnecourt paraît, dans la vignette 57e de son manuscrit, avoir copié une de ces figures de l'Église sur un vitrail ou peut-être sur une peinture de son temps.
ÉGLISE, s. f. Lieu de réunion des fidèles. Pendant le moyen âge, on a divisé les églises en églises cathédrales, abbatiales, conventuelles, collégiales et paroissiales.
Les églises paroissiales se trouvaient sous la juridiction épiscopale ou sous celle des abbés; aussi c'était à qui, des évêques et des abbés, auraient à gouverner un nombre de paroisses plus considérable; de là une des premières causes du nombre prodigieux d'églises paroissiales élevées dans les villes et les bourgades pendant les XIIe et XIIIe siècles, c'est-à-dire à l'époque de la lutte entamée entre le pouvoir monastique et le pouvoir épiscopal. D'ailleurs, la division, l'antagonisme existent dans toutes les institutions religieuses ou politiques du moyen âge; chacun, dans l'ordre civil comme dans l'ordre spirituel, veut avoir une part distincte. Les grandes abbayes, dès le XIe siècle, cherchèrent à mettre de l'unité au milieu de ce morcellement général; mais il devint bientôt évident que l'institut monastique établissait cette unité à son propre avantage; l'épiscopat le reconnut assez tôt pour profiter du développement municipal du XIIe siècle et ramener les populations vers lui, soit en bâtissant d'immenses cathédrales, soit en faisant reconstruire, surtout dans les villes, les églises paroissiales sur de plus grandes proportions. Si nous parcourons, en effet, les villes de la France, au nord de la Loire, nous voyons que, non-seulement toutes les cathédrales, mais aussi les églises paroissiales, sont rebâties pendant la période comprise entre 1150 et 1250. Ce mouvement, provoqué par l'épiscopat, encouragé par la noblesse séculière, qui voyait dans les abbés des seigneurs féodaux trop puissants, fut suivi avec ardeur par les populations urbaines, chez lesquelles l'église était alors un signe d'indépendance et d'unité. Aussi, du XIIe au XIIIe siècle, l'argent affluait pour bâtir ces grandes cathédrales et les paroisses qui se groupaient autour d'elles.
Les églises abbatiales des clunisiens avaient fait école, c'est-à-dire que les paroisses qui en dépendaient imitaient, autant que possible, et dans des proportions plus modestes, ces monuments types. Il en fut de même pour les cathédrales lorsqu'on les rebâtit à la fin du XIIe siècle et au commencement du XIIIe; elles servirent de modèles pour les paroisses qui s'élevaient dans le diocèse. Il ne faudrait pas croire cependant que ces petits monuments fussent des réductions des grands; l'imitation se bornait sagement à adopter les méthodes de construire, les dispositions de détail, l'ornementation et certains caractères iconographiques des vastes églises abbatiales ou des cathédrales.
Vers le Ve siècle, lorsque le nouveau culte put s'exercer publiquement, deux principes eurent une action marquée dans la construction des églises en Occident: la tradition des basiliques antiques qui, parmi les monuments païens, servirent les premiers de lieu de réunion pour les fidèles; puis le souvenir des sanctuaires vénérables creusés sous terre, des cryptes qui avaient renfermé les restes des martyrs, et dans lesquelles les saints mystères avaient été pratiqués pendant les jours de persécution. Rien ne ressemble moins à une crypte qu'une basilique romaine; cependant la basilique romaine possède, à son extrémité opposée à l'entrée, un hémicycle voûté en cul-de-four, le tribunal. C'est là que, dans les premières églises chrétiennes, on établit le siége de l'évêque ou du ministre ecclésiastique qui le remplaçait; autour de lui se rangeaient les clercs; l'autel était placé en avant, à l'entrée de l'hémicycle relevé de plusieurs marches. Les fidèles se tenaient dans les nefs, les hommes d'un côté, les femmes de l'autre. Habituellement nos premières églises françaises possèdent, sous l'hémicycle, l'abside, une crypte dans laquelle était déposé un corps saint, et quelquefois le fond de l'église lui-même rappelle les dispositions de ces constructions souterraines, bien que la nef conserve la physionomie de la basilique antique. Ces deux genres de constructions si opposés laissent longtemps des traces dans nos églises, et les sanctuaires sont voûtés, élevés suivant la méthode concrète des édifices romains bâtis en briques et blocages, que les nefs ne consistent qu'en des murs légers reposant sur des rangs de piles avec une couverture en charpente comme les basiliques antiques.
Nous ne possédons sur les églises primitives du sol de la France que des données très-vagues, et ce n'est guère qu'à dater du Xe siècle que nous pouvons nous faire une idée passablement exacte de ce qu'étaient ces édifices; encore, à cette époque, présentaient-ils des variétés suivant les provinces au milieu desquelles on les élevait. Les églises primitives de l'Île-de-France ne ressemblent pas à celles de l'Auvergne; celles-ci ne rappellent en rien les églises de la Champagne, ou de la Normandie, ou du Poitou. Les monuments religieux du Languedoc diffèrent essentiellement de ceux élevés en Bourgogne. Chaque province, pendant la période romane, possédait son école, issue de traditions diverses. Partout l'influence latine se fait jour d'abord; elle s'altère plus ou moins, suivant que ces provinces se mettent en rapport avec des centres actifs de civilisation voisins ou trouvent dans leur propre sein des ferments nouveaux. L'Auvergne, par exemple, qui, depuis des siècles, passe pour une des provinces de France les plus arriérées, possédait, au XIe siècle, un art très-avancé, très-complet, qui lui permit d'élever des églises belles et solides, encore debout aujourd'hui. La Champagne, de toutes les provinces françaises, la Provence exceptée, est celle qui garda le plus longtemps les traditions latines, peut-être parce que son territoire renfermait encore, dans les premiers siècles du moyen âge, un grand nombre d'édifices romains. Il en est de même du Soissonnais. En Occident, près des rivages de l'Océan, nous trouvons, au contraire, dès le Xe siècle, une influence byzantine marquée dans la construction des édifices religieux. Cette influence byzantine se fait jour à l'Est le long des rives du Rhin, mais elle prend une autre allure. Ayant maintes fois, dans ce Dictionnaire, l'occasion de nous occuper des églises et des diverses parties qui entrent dans leur construction (voy. ABSIDE, ARCHITECTURE RELIGIEUSE, CATHÉDRALE, CHAPELLE, CHOEUR, CLOCHER, CONSTRUCTION, NEF, TRAVÉE), nous nous bornerons à signaler ici les caractères généraux qui peuvent aider à classer les églises par écoles et par époques.
ÉCOLE FRANÇAISE. L'une des plus anciennes églises de l'école française, proprement dite, est la Basse-OEuvre de Beauvais, dont la nef appartient au VIIIe ou IXe siècle. Cette nef est celle d'une basilique romaine avec ses collatéraux. Elle se compose de deux murs percés de fenêtres terminées en plein cintre, de deux rangs de piliers à section carrée portant des archivoltes plein cintre et les murs supérieurs percés également de fenêtres. Cette construction si simple était couverte par une charpente apparente. L'abside, détruite aujourd'hui, se composait probablement d'un hémicycle couvert en cul-de-four; existait-il un transsept? c'est ce que nous ne saurions dire. Quant à la façade reconstruite au XIe siècle, elle était vraisemblablement précédée, dans l'origine, d'un portique ou d'un narthex, suivant l'usage de l'église primitive. La construction de cet édifice est encore toute romaine, avec parements de petits moellons à faces carrées et cordons de brique. Nulle apparence de décoration, si ce n'est sur la façade élevée postérieurement. Il faut voir là l'église franco-latine dans sa simplicité grossière. Les murs, à l'intérieur, devaient être décorés de peintures, puisque les auteurs qui s'occupent des monuments religieux mérovingiens et carlovingiens, Grégoire de Tours en tête, parlent sans cesse des peintures qui tapissaient les églises de leur temps. Les fenêtres devaient être fermées de treillis de pierre ou de bois dans lesquels s'enchâssaient des morceaux de verre ou de gypse (voy. FENÊTRE). L'ancien Beauvoisis conserve encore d'autres églises à peu près contemporaines de la Basse-OEuvre, mais plus petites, sans collatéraux, et ne se composant que d'une salle quadrangulaire avec abside carrée ou semi-circulaire. Ce sont de véritables granges. Telles sont les églises d'Abbecourt, d'Auviller, de Bailleval, de Bresles 63. Ces églises n'étaient point voûtées, mais couvertes par des charpentes apparentes. Nous voyons cette tradition persister jusque vers le commencement du XIIe siècle. Les nefs continuent à être lambrissées; les sanctuaires seuls, carrés généralement, sont petits et voûtés. Les transsepts apparaissent rarement; mais, quand ils existent, ils sont très-prononcés, débordant les nefs de toute leur largeur. L'église de Montmille 64 est une des plus caractérisées parmi ces dernières. La nef avec ses collatéraux était lambrissée ainsi que le transsept. Quatre arcs doubleaux, sur la croisée, portaient une tour très-probablement; le choeur seul est voûté.
Dès le XIe siècle, on construit à Paris l'église du prieuré de Saint-Martin-des-Champs de l'ordre de Cluny, dont le choeur existe encore. Déjà, dans cet édifice, le sanctuaire est entouré d'un bas-côté avec chapelles rayonnantes 65. Même disposition dans l'église abbatiale de Morienval (Oise), qui date du commencement du XIe siècle.
Mais c'est au XIIe siècle que, dans l'Île-de-France, l'architecture religieuse prend un grand essor. Au milieu de ce siècle, l'abbé Suger bâtit l'église abbatiale de Saint-Denis avec nombreuses chapelles rayonnantes autour du choeur. Immédiatement après s'élèvent les cathédrales de Noyon, de Senlis 66, de Paris 67, l'église abbatiale de Saint-Germer, les églises de Saint-Maclou, de Pontoise, dont il ne reste que quelques parties anciennes à l'abside, les églises de Bagneux et d'Arcueil, celle de l'abbaye de Montmartre, la petite église de Saint-Julien-le-Pauvre à Paris, celle de Vernouillet, de Vétheuil dont le choeur seul du XIIe siècle subsiste, l'église de Nesles (Seine-et-Oise), le choeur de l'église abbatiale de Saint-Germain-des-Prés à Paris, les églises de Saint-Étienne de Beauvais 68, de Saint-Évremont de Creil, de Saint-Martin de Laon, l'église abbatiale de Saint-Leu d'Esserent (Oise), la cathédrale de Soissons 69.
ÉCOLE FRANCO-CHAMPENOISE. Cette école est un dérivé de la précédente; mais elle emprunte certains caractères à l'école champenoise, qui est plus robuste et conserve des traditions de l'architecture antique. Les matériaux de la Brie sont peu résistants, et les constructeurs ont tenu compte de leur défaut de solidité en donnant aux piliers, aux murs, une plus forte épaisseur, en tenant leurs édifices plus trapus que dans l'Île-de-France proprement dite.
La cathédrale de Meaux appartient encore entièrement à l'école française 70; mais l'influence de l'école champenoise se fait sentir à la fin du XIIe siècle dans les églises de Saint-Quiriace de Provins, de Moret 71, de Nemours, de Champeaux, de Brie-Comte-Robert.
ÉCOLE CHAMPENOISE. C'est une des plus brillantes; elle se développe rapidement, et ses premiers essais sont considérables. Les églises champenoises des Xe et XIe siècles possédaient, comme celles de l'Île-de-France, des nefs couvertes en charpente; alors les sanctuaires seuls étaient voûtés. La grande église abbatiale de Saint-Remy de Reims, d'une étendue peu commune, se composait d'une nef lambrissée avec doubles bas-côtés voûtés à deux étages. Un choeur vaste, avec bas-côtés et chapelles, remplaça, au XIIe siècle, les absides en cul-de-four 72. L'église de Notre-Dame de Châlons-sur-Marne ne portait, sur la nef centrale, que des charpentes. Lorsqu'au XIIe siècle on reconstruisit le choeur de cette église, on éleva des voûtes sur la nef. Les églises importantes de la basse Champagne possèdent, comme celles de l'Île-de-France, des galeries voûtées au-dessus des bas-côtés, comprenant la largeur de ces collatéraux. Au XIIe siècle, on élève, dans la haute Champagne, des églises qui se rapprochent encore davantage de l'architecture antique romaine et qui se fondent dans l'école bourguignonne: telle est, par exemple, la cathédrale de Saint-Mammès à Langres, et plus tard la charmante église de Montiérender, les églises d'Isomes et de Saint-Jean-Baptiste à Chaumont.
ÉCOLE BOURGUIGNONNE. Elle naît chez les clunisiens. Dès le XIe siècle, elle renonce aux charpentes sur les nefs; elle fait, la première, des efforts persistants pour allier la voûte au plan de la basilique antique. Nous en avons un exemple complet dans la nef de l'église abbatiale de Vézelay. Au XIIe siècle, cette école est puissante, bâtit en grands et solides matériaux; elle prend aux restes des édifices antiques certains détails d'architecture, tels que les pilastres cannelés, par exemple, les corniches à modillons; elle couvre le sol d'une grande quantité d'églises dont nous citons seulement les principales: Cluny, Vézelay, la Charité-sur-Loire, d'abord; puis les églises de Paray-le-Monial, de Semur-en-Brionnais, de Châteauneuf, de Saulieu, de Beaune, de Saint-Philibert de Dijon, de Montréale (Yonne), à la fin du XIIe siècle.
L'école bourguignonne abandonne difficilement les traditions romanes, et pendant que déjà on construisait, dans l'Île-de-France et la basse Champagne, des églises qui présentent tous les caractères de l'architecture gothique, on suivait en Bourgogne, avec succès, les méthodes clunisiennes en les perfectionnant.
ÉCOLE AUVERGNATE. Elle peut passer pour la plus belle école romane; seule, elle sut, dès le XIe siècle, élever des églises entièrement voûtées et parfaitement solides; aussi, le type trouvé, elle ne s'en écarte pas. À la fin du XIe siècle et pendant le XIIe, on bâtissait, dans cette province, l'église de Saint-Paul d'Issoire, la cathédrale du Puy-en-Vélay, les églises de Saint-Nectaire, de Notre-Dame-du-Port (Clermont), de Saint-Julien de Brioude, et quantité de petits monuments à peu près tous conçus d'après le même principe. Cette école s'étendait, au nord, jusque sur les bords de l'Allier, à Ébreuil, à Châtel-Montagne, à Cogniat, jusqu'à Nevers dans la construction de l'église de Saint-Étienne; au sud, jusqu'à Toulouse (église de Saint-Sernin), et même jusqu'à Saint-Papoul.
ÉCOLE POITEVINE. Très-féconde en monuments, à cause de la quantité et de la qualité des matériaux calcaires, cette école est moins avancée que l'école auvergnate; elle possède à un degré moins élevé le sentiment des belles dispositions. Comme cette dernière, elle sut bâtir des églises voûtées durables, dès le XIe siècle, en contre-buttant les voûtes en berceau des grandes nefs par celles des collatéraux, mais sans les galeries de premier étage des églises d'Auvergne, c'est-à-dire que les églises romanes du Poitou se composent généralement de trois nefs à peu près égales en hauteur sous clef, voûtées au moyen de trois berceaux, celui central plus large que les deux autres; tandis que les églises auvergnates comprennent des collatéraux voûtés en arêtes, avec galeries supérieures voûtées en demi-berceaux, contre-buttant le berceau central 73. Dans le Poitou, et en Auvergne très-anciennement, les sanctuaires sont entourés d'un bas-côté avec chapelles rayonnantes, comme dans l'église de Saint-Savin près Poitiers, qui date du XIe siècle, dans l'église haute de Chauvigny (commencement du XIIe siècle). L'école poitevine se soumet à des influences diverses. En dehors du principe décrit ci-dessus, elle admet le système des coupoles de l'école de la Saintonge et du Périgord, comme dans la construction de l'église Saint-Hilaire de Poitiers, et dans celle de Sainte-Radegonde, comprenant une seule nef. Au XIIe siècle, l'école de l'Ouest (du Périgord et de la Saintonge) eut une si puissante influence qu'elle étouffa non-seulement l'école poitevine, mais qu'elle pénétra jusque dans le Limousin et le Quercy au sud, et, au nord, jusque dans l'Anjou et le Maine.
ÉCOLE DU PÉRIGORD. Son type primitif se trouve à Périgueux dans l'ancienne cathédrale de cette ville, et dans l'église abbatiale de Saint-Front; c'est une importation byzantine 74. Le principe de cette école est celui de la coupole portée sur pendentifs. Dans un temps où la plupart des écoles romanes en France ne savaient trop comment résoudre le problème consistant à poser des voûtes sur les plans de la basilique antique, cette importation étrangère dut avoir et eut en effet un grand succès. On abandonna donc, dans les provinces de l'Ouest, pendant les XIe et XIIe siècles, sauf de rares exceptions, le plan romain pour adopter le plan byzantin. Les provinces plus particulièrement attachées aux traditions latines, comme l'Île-de-France, la Champagne et la Bourgogne, résistèrent seules à cette nouvelle influence et poursuivirent la solution du problème posé, ce qui les conduisit au système de construction gothique. Outre les deux types que nous venons de citer, l'école du Périgord présente une quantité prodigieuse d'exemples d'églises dérivées de ces types. Nous nous bornerons à en citer quelques-uns: la cathédrale de Cahors, l'église abbatiale de Souillac (XIe siècle), celle de Solignac, la cathédrale d'Angoulême, les églises de Saint-Avit-Seigneur, du Vieux-Mareuil, de Saint-Jean de Cole, de Trémolac, l'église abbatiale de Fontevrault (XIIe siècle), et la majeure partie des petites églises de la Charente.
ÉCOLE NORMANDE. Les églises normandes antérieures au XIIe siècle étaient couvertes par des charpentes apparentes, sauf les sanctuaires, qui étaient voûtés en cul-de-four. C'est d'après ce principe que furent élevées les deux églises abbatiales de Saint-Étienne et de la Trinité à Caen 75, fondées par Guillaume le Bâtard et Mathilde sa femme. Ces dispositions primitives se retrouvent dans un assez grand nombre d'églises d'Angleterre, tandis qu'en France elles ont été modifiées dès le XIIe siècle; les voûtes remplacèrent les anciennes charpentes. Les Normands furent bientôt d'habiles et actifs constructeurs; aussi leurs églises des XIe et XIIe siècles sont-elles grandes, si on les compare aux églises de l'Île-de-France; les nefs sont allongées, ainsi que les transsepts; les choeurs ne furent enveloppés de bas-côtés que vers le milieu du XIIe siècle.
Ces écoles, diverses par leurs origines et leurs travaux, progressent chacune de leur côté jusqu'au moment où se fait sentir l'influence de la nouvelle architecture de l'Île-de-France et de la Champagne, l'architecture gothique.
L'architecture gothique est une des expressions les plus vives des sentiments des populations vers l'unité. En effet, peu après sa naissance, nous voyons les écoles romanes (dont nous n'avons indiqué que les divisions principales) s'éteindre et accepter les nouvelles méthodes adoptées par les architectes du domaine royal. Cependant, au commencement du XIIIe siècle, on distingue encore trois écoles bien distinctes: l'école de l'Île-de-France, qui comprend le bassin de la Seine entre Montereau et Rouen, ceux de l'Oise et de l'Aisne entre Laon, Noyon et Paris, le bassin de la Marne entre Meaux et Paris et une partie du bassin de la Somme; l'école champenoise, qui a son siége à Reims, et l'école bourguignonne, qui a son siége à Dijon.
L'école gothique normande ne se développe que plus tard, vers 1240, et son véritable siége est en Angleterre.
La passion de bâtir des églises, de 1200 à 1250, fut telle au nord de la Loire, que non-seulement beaucoup de monuments romans furent détruits pour faire place à de nouvelles constructions, mais encore que l'on modifia, sans autre raison que l'amour de la nouveauté, la plupart des édifices rebâtis pendant le XIIe siècle; les cathédrales de Paris, de Senlis, de Soissons, de Laon, de Rouen, du Mans, de Chartres, de Bayeux, nous présentent des exemples frappants de ce besoin de changer ce qui venait d'être achevé à peine. Les monastères, avec plus de réserve cependant, suivirent ce mouvement vers un renouvellement de l'architecture; quant aux paroisses, celles qui étaient riches ne manquèrent pas de jeter bas leurs vieilles églises pour en construire de neuves. Si bien qu'on ne peut s'expliquer comment il se trouva, pendant un espace de cinquante années à peine, assez d'ouvriers de bâtiment, de sculpteurs, de statuaires, de peintres verriers, pour exécuter un nombre aussi prodigieux d'édifices sur un territoire qui ne comprend à peu près que le tiers de la France actuelle. Bientôt même les provinces du Centre, de l'Est et de l'Ouest suivirent l'impulsion, et ces ouvriers se répandirent en dehors des contrées où l'architecture gothique avait pris naissance. Bien qu'on ait démoli plus de la moitié des églises anciennes depuis la fin du dernier siècle, il reste encore en France une quantité considérable de ces édifices. Nous nous bornons à donner ici un catalogue de celles qui présentent assez d'intérêt au point de vue de l'art pour être mises au rang des monuments historiques, comme cathédrales, églises conventuelles ou paroissiales.
Afin de faciliter les recherches, nous classons ces églises par départements et arrondissements, en suivant l'ordre alphabétique.
AIN.
Arrond. de Bourg. Église de Brou
76, ég. de Saint-André de Bagé.
Arrond. de Nantua. Ég. de Nantua
77.
Arrond. de Trévoux. Ég. de Saint-Paul de Varax.
AISNE.
Arrond. de Laon. Ég. Notre-Dame de Laon (ancienne cathédrale)
78, ég.
Saint-Martin de Laon
79, ég. Saint-Julien de Royaucourt, ég. de
Nouvion-le-Vineux, ég. de Marle.
Arrond. de Château-Thierry. Ég. de Mezy-Moulins, ég. d'Essomes, ég. de
La Ferté-Milon.
Arrond. de Saint-Quentin. Ég. collég. de Saint-Quentin
80.
Arrond. de Soissons. Ég. cathédrale de Soissons
81, ég. abb. de
Saint-Médard à Soissons, ég. abb. de Saint-Jean-des-Vignes, id.
82, ég.
abb. de Saint-Julien, id., ég. abb. de Saint-Yved de Braisne
83.
Arrond. de Vervins. Ég. d'Aubenton, ég. de Saint-Michel (près
d'Hirson), ég. d'Esquehéries, ég. de la Vacqueresse.
Note 78: (retour) L'un des plus beaux spécimens de l'architecture du commencement du XIIIe siècle (voy. CATHÉDRALE, fig. 9; CLOCHER, fig. 73). Dans l'origine, la cathédrale de Laon, possédait une abside circulaire, avec bas-côté. Vers 1230, cette abside fut démolie pour être remplacée par une abside carrée. Il est difficile de se rendre compte des motifs de ce changement. Les fondations du choeur circulaire ont été retrouvées par l'architecte M. Boeswilwald, et des chapiteaux faisant partie de ce sanctuaire primitif ont été replacés dans l'abside carrée. La sculpture de la cathédrale de Laon est fort belle. Villard de Honnecourt cite les clochers de Laon et en donne un figuré.
Note 83: (retour) L'église Saint-Yved de Braisne est un des plus beaux monuments de cette partie de la France. Le plan de l'abside présente une disposition excellente et rare (voy. la Monog. de l'ég. abb. de Braisne, par M. Prioux). Cette église paraît avoir été construite par l'architecte de la cathédrale de Laon; elle date du commencement du XIIIe siècle. La façade et quelques travées de la nef ont été détruites il y a peu d'années. Les sculptures du portail sont en partie déposées dans le musée de Soissons. L'église Saint-Yved contenait, avant la Révolution, de magnifiques tombes en cuivre émaillé, dont les dessins se trouvent aujourd'hui dans la collection Gaignères de la bib. Bodléienne d'Oxford.
ALLIER.
Arrond. de Moulins. Cathédrale de Moulins, ég. de
Bourbon-l'Archambault, ég. de Saint-Menoux
84, ég. abb. de
Souvigny
85, ég. de Meilliers, ég. de Toulon.
Arrond. de Gannat. Ég. de Gannat
86, ég. d'Ébreuil
87, ég. de
Biozat, ég. de Saint-Pourçain
88, ég. de Cogniat
89, ég. de Vicq, ég.
abb. de Chantel
90.
Arrond. de La Palisse. Ég. de Châtel-Montagne
91.
Arrond. de Montluçon. Ég. d'Huriel, ég. de Néris.
ALPES (BASSES-).
Arrond. de Digne. Ég. de Notre-Dame à Digne (cathéd.), ég. de Seyne.
Arrond. de Barcelonnette. Ég. d'Allos.
Arrond. de Castellane. Ancienne cathéd. de Senez.
Arrond. de Forcalquier. Ég. de Manosque.
Arrond. de Sisteron. Ég. de Sisteron.
ALPES (HAUTES-).
Arrond. de Gap. Ég. de Lagrand.
Arrond. d'Embrun. Ancienne cathéd. d'Embrun.
ARDÈCHE.
Arrond. de Privas. Ég. de Bourg-Saint-Andéol, ég. de Cruas, ég.
cathéd. de Viviers
92.
Arrond. de l'Argentière. Ég. de Thines.
Arrond. de Champagne. Ég. de Champagne.
ARDENNES.
Arrond. de Braux. Ég. de Braux.
Arrond. de Réthel. Ég. de Saint-Nicolas de Réthel.
Arrond. de Sédan. Ég. de Mouzon
93.
Arrond. de Vouziers. Ég. de Vouziers, ég. de Bouilly, ég. de Verpel,
ég. abb. d'Attigny, ég. de Sainte-Vauxbourg.
ARIÈGE.
Arrond. de Foix.. Ég. d'Unac.
Arrond. de Saint-Girons. Ég. de Saint-Lizier
94.
Arrond. de Pamiers. Ég. de la Roque, ég. de Mirepoix.
AUBE.
Arrond. de Troyes. Ég. de Saint-Pierre (cathéd.)
95, ég. Saint-Urbain
à Troyes
96, ég. de la Madeleine, id.
97, ég. Saint-André, id., ég.
Saint-Jean, id., ég. Saint-Nizier, id., ég. Saint-Pantaléon, id., ég.
Saint-Gilles
98, ég. de Bérulle, ég. de Montiéramey.
Arrond. d'Arcis sur-Aube. Ég. d'Arcis-sur-Aube, ég. d'Uitre.
Arrond. de Bar-sur-Aube. Ég. Saint-Maclou à Bar-sur-Aube, ég.
Saint-Pierre, id., ég. de Rosnay.
Arrond. de Bar-sur-Seine. Ég. de Fouchères
99, ég. de
Mussy-sur-Seine, ég. de Ricey-Bas, ég. de Rumilly-les-Vaudes, ég. de
Chaource.
Arrond. de Nogent-sur-Seine. Ég. de Saint-Laurent à Nogent-sur-Seine,
ég. de Villenauxe.
Note 96: (retour) L'église Saint-Urbain de Troyes, bâtie pendant les dernières années du XIIIe siècle, est l'exemple le plus remarquable du style gothique champenois arrivé à son dernier développement (voy. CONSTRUCTION, fig. 102, 103, 104, 105 et 106). La nef est restée inachevée. Cette église, qui est petite, et dont le choeur est dépourvu de bas-côtés, devait posséder trois clochers, l'un sur le transsept et les deux autres sur la façade.
AUDE.
Arrond. de Carcassonne. Ancienne cathéd. de Saint-Nazaire de
Carcassonne
100, ég. Saint-Michel de la ville basse à Carcassonne
(cathéd. actuelle), ég. de Rieux-Minervois
101, ég. de Saint-Vincent de
Montréal.
Arrond. de Castelnaudary. Ancienne cathéd. de Saint-Papoul
102.
Arrond. de Limoux. Ancienne cathéd. d'Alet, ég. abb. de Saint-Hilaire
à Limoux.
Arrond. de Narbonne. Ancienne cathéd. de Narbonne
103, ég.
Saint-Paul, id.
104, ég. abb. de Fontfroide
105.
Note 100: (retour) L'un des plus remarquables édifices du midi de la France; la nef date du XIe siècle, le choeur et le transsept du commencement du XIVe (voy. CATHÉDRALE, fig. 49; CONSTRUCTION, fig. 109, 110, 111, 112, 113 et 114). Magnifiques vitraux du XIVe siècle, restes de peintures de la même époque.
AVEYRON.
Arrond. de Rodez. Cathéd. de Rodez, ég. abb. de Sainte-Foi à
Conques
106.
Arrond. d'Espalion. Ég. de Perse.
Arrond. de Saint-Affrique. Ég. abb. de Belmont.
Arrond. de Villefranche. Ég. abb. de Villefranche.
Note 106: (retour) Grande église du XIIe siècle, avec collatéraux dans le transsept; bas-côtés autour du choeur; trois chapelles absidales et quatre chapelles orientées dans le transsept. Style rappelant beaucoup celui de l'église Saint-Sernin de Toulouse; nef voûtée en berceau plein cintre, avec galeries de premier étage, dont les voûtes en demi-berceau contre-buttent la poussée du berceau central; coupole et clocher sur le milieu de la croisée; narthex.
BOUCHES-DU-RHÔNE.
Arrond. de Marseille. Ég. abb. de Saint-Victor à Marseille
107.
Arrond. d'Aix. Ég. cathéd. d'Aix, ég. Saint-Jean à Aix, ég. abb. de
Silvacane
108, ég. Saint-Laurent à Salon.
Arrond. d'Arles. Ég. abb. de Saint-Trophyme à Arles
109, ég. de
Saint-Césaire, id., ég. Saint-Jean, id. (Musée), ég. Saint-Honorat, id.,
ég. de Saint-Gabriel, ég. abb. de Montmajour, ég. des
Saintes-Maries
110, ég. de Sainte-Marthe à Tarascon.
Note 110: (retour) Église à une seule nef, avec abside semi-circulaire voûtée en cul-de-four plein cintre. La nef est voûtée en berceau légèrement brisé avec arcs doubleaux. Cette église est fortifiée et date du XIIe siècle (voy. les Arch. de la comm. des Mon. historiques, pub. sous les ausp. de M. le ministre d'État).
CALVADOS.
Arrond. de Caen. Ég. abb. de la Trinité à Caen
111, ég. abb. de
Saint-Étienne, id.
112, ég. Saint-Gilles, id.
113, ég. Notre-Dame,
id., ég. Saint-Pierre, id.
114, ég. Saint-Jean, id., ég. Saint-Nicolas,
id.
115, ég. de Bernières, ég. de Saint-Contest, ég. de Fresne-Camilly,
ég. du prieuré de Saint-Gabriel, ég. de Norey, ég. d'Ouistreham, ég. de
Secqueville-en-Bessin, ég. de Thaon, ég. de Bretteville-l'Orgueilleuse,
ég. de Langrune, ég. de Mathieu, ég. de Cully, ég. d'Audrien, ég. de
Mouen, ég. de Douvres, ég. de Fontaine-Henry.
Arrond. de Bayeux. Ég. cathéd. de Bayeux
116, ég. de Tour près
Bayeux
117, ég. de Saint-Loup, id.
118, ég. d'Asnières, ég. de
Colleville, ég. d'Etreham, ég. de Formigny, ég. de Louvières, ég. de
Ryes, ég. de Vierville, ég. de Campigny, ég. de Guéron, ég. de Marigny,
ég. de Briqueville, ég. de Sainte-Marie-aux-Anglais
119, ég. de
Vouilly.
Arrond. de Falaise. Ég. Saint-Gervais à Falaise, ég.
Saint-Jacques, id., ég. de Guibray près Falaise, ég. de Maizières, ég.
de Sassy.
Arrond. de Lizieux. Ég. de Saint-Pierre à Lizieux, ég. de
Saint-Pierre-sur-Dive, ég. de Vieux-Pont-en-Auge, ég. du Breuil.
Arrond. de Pont-l'Évêque. Ég. de Saint-Pierre à Touques.
Arrond. de Vire. Ég. de Vire.
CANTAL.
Arrond. d'Aurillac. Ég. de Montsalvi.
Arrond. de Saint-Flour. Ég. abb. de Ville-Dieu.
Arrond. de Mauriac. Ég. Notre-Dame des Miracles à Mauriac, ég. d'Ydes,
ég. de Brageac, ég. Saint-Martin-Valmeroux.
Arrond. de Murat. Ég. de Bredons.
CHARENTE.
Arrond. d'Angoulême. Ég. cathéd. d'Angoulême
120, ég. abb. de
Saint-Amant de Boixe
121, ég. abb. de la Couronne, ég. Saint-Michel
d'Entraigues
122, ég. de Charmant, ég. de Roullet
123, ég. de Plassac,
ég. de Torsac, ég. de Montberon
124, ég. de Mouthiers.
Arrond. de Barbezieux. Ég. d'Aubeterre, ég. de Montmoreau, ég. de
Riou-Martin.
Arrond. de Cognac. Ég. de Châteauneuf, ég. de Gensac
125, ég. de
Richemont.
Arrond. de Confolens. Ég. Saint-Barthélemy à Confolens, ég. de
Lesterps.
Note 121: (retour) Église du XIIe siècle, à coupoles, avec galerie sous la calotte de la coupole centrale. Beau plan. Abside avec chapelles dans l'axe des collatéraux de la nef et deux chapelles plus vastes orientées dans les bras de la croisée. L'un des édifices religieux les plus remarquables de la Charente.
CHARENTE-INFÉRIEURE.
Arrond. de La Rochelle. Ég. d'Esnandes.
Arrond. de Marennes. Ég. de Marennes, ég. d'Echillais, ég. de Moëse,
ég. Saint-Denis d'Oleron.
Arrond. de Rochefort. Ég. de Surgères.
126
Arrond. de Saintes. Ég. Saint-Euthrope à Saintes
127, ég.
Saint-Pierre, id., ég. Sainte-Marie-des-Dames, id.
128, ég. de
Saint-Gemmes, ég. de Rétaud, ég. de Thézac.
Arrond. de Saint-Jean-d'Angely. Ég. Saint-Pierre à Aulnay, ég. de
Fénioux.
CHER.
Arrond. de Bourges. Ég. cathéd. de Bourges
129, ég. de Saint-Bonnet à
Bourges, ég. des Aix-d'Angillon, ég. de Mehun-sur-Yèvre, ég. de
Plaimpied.
Arrond. de Saint-Amand. Ég. de la Celle-Bruère, ég. de Charly, ég. de
Condé, ég. abb. de Noirlac, ég. de Dun-le-Roy, ég. de
Saint-Pierre-des-Étieux, ég. d'Ineuil, ég. de Châteaumeillant.
Arrond. de Sancerre. Ég. d'Aubigny, ég. de Jars, ég. de Saint-Satur.
CORRÈZE.
Arrond. de Tulle. Ég. cathéd. de Tulle
130, ég. d'Uzerche
131.
Arrond. de Brives. Ég. Saint-Martin à Brives-la-Gaillarde
132 ég.
d'Arnac-Pompadour, ég. d'Aubazine
133, ég. de Beaulieu
134, ég. de
Saint-Cyr-la-Roche, ég. de Saint-Robert.
Arrond. d'Ussel. Ég. d'Ussel, ég. de Saint-Angel
135, ég. de Meymac.
CÔTE-D'OR.
Arrond. de Dijon. Ég. abb. de Saint-Bénigne de Dijon (cath.)
136, ég.
Notre-Dame de Dijon
137, ég. Saint-Michel, id.
138, ég. Saint-Étienne,
id., ég. Saint-Philibert, id., ég. Saint-Jean, id., ég. de la
Chartreuse, id., ég. de Saint-Seine, ég. de Rouvres, ég. de Plombières,
ég. de Thil-Châtel.
Arrond. de Beaune. Ég. de Beaune
139, ég. de Meursault, ég. de
Sainte-Sabine
140.
Arrond. de Châtillon-sur-Seine. Ég. de Saint-Vorle à
Châtillon-s.-Seine, ég. d'Aignay-le-Duc.
Arrond. de Semur. Ég. Notre-Dame de Semur
141, ég. de Flavigny
142,
ég.
abb, de Fontenay près Montbard
143, ég. Saint-Andoche de
Saulieu
144, ég. de Saint-Thibault
145.
Note 136: (retour) Restes d'une crypte du XIe siècle (voy. CRYPTE, fig. 5). Église rebâtie, à la fin du XIIIe siècle, à la place d'une église du XIe siècle. Abside sans collatéraux; deux chapelles dans les deux bras de croix; nef d'une grande simplicité; chapiteaux dépourvus de sculpture; deux tours sur la façade d'un pauvre style; flèche en bois, du XVIIe siècle, sur le centre de la croisée.
Note 137: (retour) Le type le plus complet de l'architecture bourguignonne du XIIIe siècle (1230 environ). Porche vaste, abside sans bas-côtés; tour sur le centre de la croisée dont la disposition est des plus remarquables, quoiqu'on n'en puisse juger aujourd hui par suite d'adjonctions (voy. CONSTRUCTION, fig. 75, 76, 77, 78, 79, 79 bis, 80, 81 et 82).
CÔTES-DU-NORD.
Arrond. de Saint-Brieuc. Ég. cathéd. de Saint-Brieuc, ég. de Lanleff,
ég. Notre-Dame de Lamballe, ég. de Montcontour.
Arrond. de Dinan. Ég. de Saint-Sauveur de Dinan, ég. du pr. de Lehon.
Arrond. de Lannion. Ég. Saint-Pierre de Lannion, ég. de Tréguier
(ancienne cathéd.).
CREUSE.
Arrond. de Guéret. Ég. de la Souterraine
146.
Arrond. d'Aubusson. Ég. d'Evaux, ég. de Fellein.
Arrond. de Bourganeuf. Ég. de Bénévent.
Arrond. de Boussac. Ég. Sainte-Valérie à Chambon.
Note 146: (retour) Belle église de la fin du XIIe siècle, avec abside carrée et quatre chapelles dans les bras de croix; bas-côté de la nef très-étroit; coupole sur la première travée avec clocher au-dessus; coupole au centre de la croisée; crypte (voy. Arch. de la comm. des Mon. historiques, pub. sous les ausp. de M. le ministre d'État). Église disposée pour être fortifiée; collatéraux très-élevés dont les voûtes contre-buttent celles de la nef. L'un des exemples les plus remarquables de ce style mixte qui commence vers Châteauroux, suit la route de Limoges et s'étend jusque dans la Corrèze.
DORDOGNE.
Arrond. de Périgueux. Ég. abb. de Saint-Front à Périgueux
(cathéd.)
147, ég. de la Cité, id. (anc. cathéd.), ég. abb. de
Brantôme
148.
Arrond. de Bergerac. Ég. de Beaumont, ég. de Montpazier, ég. abb. de
Saint-Avit-Seigneur
149.
Arrond. de Nontron. Ég. de Cercles, ég. de Saint-Jean-de-Col, ég. de
Bussières-Badil.
Arrond. de Sarlat. Ég. de Sarlat (anc. cathéd,), ég. de Saint-Cyprien.
Arrond. de Ribérac. Ég. de Saint-Privat.
DOUBS.
Arrond. de Besançon. Ég. cathéd. de Besançon
150, ég. de
Saint-Vincent de Besançon.
Arrond. de Montbelliard. Ég. de Courtefontaine.
Arrond. de Pontarlier. Ég. abb. de Montbenoît, ég. du prieuré de
Morteau, ég. abb. de Sept-Fontaines.
DRÔME.
Arrond. de Valence. Ég. cathéd. de Valence
151, ég. de Saint-Bernard à
Romans.
Arrond. de Die. Ég. de Die (anc. cathéd.), ég. de Chabrillan.
Arrond. de Montélimart.. Ég. de Grignan, ég. de
Saint-Paul-Trois-Châteaux (anc. cathéd.); ég. de Saint-Restitut, ég. de
Saint-Marcel-des-Sauzet, ég. de la Garde-Adhémar.
EURE.
Arrond. d'Évreux. Ég. cathéd. d'Évreux
152, ég. de Saint-Taurin à
Évreux, ég. de Conches
153, ég. de Pacy-sur-Eure, ég. de Vernon, ég. de
Vernonet, ég. de Saint-Luc.
Arrond. des Andelys. Ég. du Grand-Andely, ég. du Petit-Andely, ég. de
Gisors.
Arrond. de Bernay. Ég. abb. à Bernay, ég. de Broglie, ég. de
Fontaine-la-Sorêt, ég. d'Harcourt, ég. de Serquigny, ég. de Boisney, ég.
Notre-Dame-de-Louviers, ég. de Pont-de-l'Arche.
Arrond. de Pont-Audemer. Ég. d'Annebaut, ég. de Quillebeuf.
EURE-ET-LOIR.
Arrond. de Chartres. Ég. Notre-Dame-de-Chartres (cath.)
154, ég. de
Saint-Aignan à Chartres, ég. abb. de Saint-Père, id.
155, ég.
Saint-André, id., ég. de Gallardon.
Arrond. de Châteaudun. Ég. de Sainte-Madeleine à Châteaudun, ég. de
Bonneval.
Arrond. de Dreux. Ég. Saint-Pierre à Dreux, ég. de Nogent-le-Roi.
FINISTÈRE.
Arrond. de Quimper. Ég. cathéd. de Quimper, ég. de Loctudy, ég. de
Pen-Marc'h, ég. de Plogastel-Saint-Germain, ég. de Pontcroix.
Arrond. de Brest. Ég. Notre-Dame du Folgoët, ég. de Goulven.
Arrond. de Châteaulin. Ég. de Pleyben, ég. de Loc-Ronan.
Arrond. de Morlaix. Ég. de Saint-Jean-du-Doigt, ég. de Lambader, ég.
de Saint-Pol-de-Léon (anc. cathéd.), ég. Notre-Dame du Creisquer à
Saint-Pol-de-Léon.
Arrond. de Quimperlé. Ég. Sainte-Croix de Quimperlé
156.
GARD.
Arrond. de Nîmes. Ég. abb. de Saint-Gilles
157, ég. Sainte-Marthe de
Tarascon.
Arrond. d'Uzès. Ég. de Villeneuve-lès-Avignon.
Note 157: (retour) Portail du XIIe siècle, dont la sculpture présente un des exemples les plus complets de l'école des statuaires de cette époque en Provence. Nef très-mutilée; crypte du XIIe siècle; choeur (détruit) de la fin du XIIe siècle, dont les débris présentent un grand intérêt comme perfection d'exécution.
GARONNE (HAUTE-).
Arrond. de Toulouse. Ég. cathéd. de Toulouse
158, ég. conv. des
Jacobins à Toulouse
159, ég. du Taur, id., ég. abb. de Saint-Sernin,
id.
160, ég. conv. des Cordeliers, id.
Arrond. de Muret. Ég. de Venerque.
Arrond. de Saint-Gaudens. Ég. de Saint-Gaudens
161, ég. de
Saint-Aventin, ég. de Saint-Bertrand-de-Comminges (anc. cathéd.), ég.
Saint-Just de Valcabrère
162, ég. abb. de Montsaunès
163.
Note 160: (retour) Le plus vaste édifice du midi de la France, XIIe siècle; choeur avec collatéral et chapelles rayonnantes; transsepts avec chapelles circulaires orientées; nef avec doubles bas-côtés se retournant dans le transsept. Clocher du XIIIe siècle sur le centre de la croisée. Façade inachevée. La nef rebâtie au XVe siècle, en suivant les données primitives. Voûtes en berceau contre-buttées par les demi-berceaux des galeries de premier étage. Construction, pierre et brique. Belle sculpture; fragments importants d'un édifice plus ancien. Crypte rebâtie au XIVe siècle et mutilée depuis peu. Style auvergnat développé.
GERS.
Arrond. d'Auch. Ég. cathéd. d'Auch
164.
Arrond. de Condom. Ég. de Condom (anc. cathéd.).
Arrond. de Lectoure. Ég. de Fleurance.
Arrond. de Lombez. Ég. de Lombez, ég. de Simorre
165.
GIRONDE.
Arrond. de Bordeaux. Ég. Saint-André (cathéd. de Bordeaux), ég.
Sainte-Croix à Bordeaux
166, église Saint-Seurin, id.
167, ég.
Saint-Michel, id., ég. d'Avensan, ég. de Bouillac, ég. de Léognan, ég. de
Loupiac de Cadillac
168, ég. de Moulis, ég. de la Sauve.
Arrond. de
Bazas. Ég. de Bazas (anc. cathéd.), ég. d'Aillas, ég. du Pondaurat, ég.
d'Uzeste.
Arrond. de La Réole. Ég. Saint-Pierre de La Réole, ég. de Blazimon,
ég. de Saint-Ferme, ég. de Saint-Macaire
169, ég. de Saint-Michel.
Arrond. de Lesparre. Ég. de Bégadan, ég. de Gaillan, ég. de Vertheuil,
ég. de Saint-Vivien.
Arrond. de Libourne. Ég. de Saint-Denis de Piles, ég. de
Saint-Émilion, ég. de Saint-Pierre de Petit-Palais, ég. de Pujols.
HÉRAULT.
Arrond. de Montpellier. Ég. de Castries, ég. Sainte-Croix à
Celleneuve, ég. abb. de Saint-Guilhem-le-Désert
170, ég. abb. de
Maguelonne, ég. abb. de Vignogoul à Pignan, ég. abb. de Vallemagne, ég.
de Villeneuve-lès-Maguelonne.
Arrond. de Béziers. Ég. de Saint-Nazaire de Béziers (anc.
cathéd.)
171, ég. d'Agde (anc. cathéd.), ég. d'Espondeilhan.
Arrond. de Lodève. Ég. Saint-Fulcran de Lodève, ég. Saint-Paul de
Clermont, ég. Saint-Pargoire.
Arrond. de Saint-Pons. Ég. de Saint-Pons.
ILLE-ET-VILAINE.
Arrond. de Montfort-sur-Meu. Ég. de Montauban.
Arrond. de Redon. Ég. Saint-Sauveur de Redon.
Arrond. de Saint-Malo.. Ég. de Dol (anc. cathéd.)
172.
Arrond. de Vitré. Ég. de Vitré.
INDRE.
Arrond. de Châteauroux. Ég. de Châtillon-sur-Indre, ég. abb. de Déols
près Châteauroux
173, ég. de Levroux, ég. de Méobecq, ég. de
Saint-Genou
174, ég. de Saint-Martin d'Ardental.
Arrond. du Blanc. Ég. abb. de Fontgombaud
175, ég. de
Mézières-en-Brenne.
Arrond. de la Châtre. Ég. de la Châtre
176, ég. de Gargilesse, ég. de
Neuvy-Saint-Sépulcre
177, ég. de Nohant-Vic.
Note 175: (retour) Grande et belle église du XIIe siècle, avec collatéral autour du choeur; tour sur la croisée; voûtes en berceau et voûtes d'arête; galeries extérieures autour de l'abside. La nef a été détruite; le choeur et le transsept seuls sont debout et occupés aujourd'hui par des trappistes.
INDRE-ET-LOIRE.
Arrond. de Tours. Ég. cathéd. de Tours
178, ég. abb. de Saint-Martin
à Tours
179, ég. abb. de Saint-Julien, id.
180, ég. Saint-Denis à
Amboise, ég. de Vernon.
Arrond. de Chinon. Ég. abb. de Saint-Mesme à Chinon, ég.
d'Azay-le-Rideau, ég. de Candes, ég. de Langeais, ég. de Rivière.
Arrond. de Loches. Ég. Saint-Ours de Loches
181, ég. de Beaulieu, ég.
de Montrésor, ég. de Preuilly.
ISÈRE.
Arrond. de Grenoble. Ég. cathéd. de Grenoble.
Arrond. de Saint-Marcellin. Ég. Saint-Antoine près Saint-Marcellin,
ég. de Marnans.
Arrond. de la Tour-du-Pin. Ég. de Saint-Chef
182.
Arrond. de Vienne.. Ég. Saint-André-le-Bas à Vienne, ég.
Saint-Maurice, id., ég. Saint-Pierre, id.
Note 182: (retour) Église composée d'une large nef avec collatéraux, d'un transsept étroit avec abside circulaire et quatre absidioles prises dans l'épaisseur du mur des bras de croix, XIIe siècle. Charpente sur la nef. L'abside et le transsept sont seuls voûtés. Peintures de la fin du XIIe siècle dans une des deux tribunes qui terminent les deux bras de croix. Les quatre travées de ces deux bras de croix sont voûtées au moyen de berceaux perpendiculaires aux murs et reposant sur des arcs doubleaux construits à la hauteur des archivoltes réunissant les piles de la nef. Clochers sur plan barlong aux extrémités du transsept sur les tribunes. Le clocher sud seul existe.
JURA.
Arrond. de Lons-le-Saunier. Ég. de Baume-les-Messieurs.
Arrond. de Dôle. Ég. de Chissey.
Arrond. de Poligny. Ég. Saint-Anatole de Salins.
LANDES.
Arrond. de Dax. Ég. de Sordes, ég. de Saint-Paul-lès-Dax.
Arrond. de Saint-Sever. Ég. de Saint-Géron à Hagetman, ég. de
Sainte-Quitterie au Mas-d'Aire
183.
LOIR-ET-CHER.
Arrond. de Blois. Ég. de Saint-Latimer à Blois
184, ég. de
Saint-Aignan, ég. de Mesland, ég. de Nanteuil à Montrichard, ég. de
Cours-sur-Loire, ég. Saint-Lubin à Suèvres.
Arrond. de Romorantin. Ég. de Romorantin, ég. de Lassay, ég. de
Saint-Thaurin à Selles-Saint-Denis, ég. de Saint-Genoux, id., ég. de S
elles-sur-Cher.
Arrond. de Vendôme. Ég. abb. de la Trinité à Vendôme
185, ég. de
Troo, ég. de Lavardin, ég. Saint-Gilles de Montoire.
LOIRE.
Arrond. de Roanne. Ég. d'Ambierle, ég. abb. de Charlieu
186, ég. de
la Benison-Dieu.
LOIRE (HAUTE-).
Arrond. du Puy. Ég. cathéd. du Puy
187, ég. Saint-Jean au Puy
188,
baptistère au Puy, ég. Saint-Laurent, id., ég.
Saint-Michel-de-l'Aiguilhe, id., ég. de Chamalières, ég. de Monestier,
ég. de Polignac
189, ég. de Saint-Paulien, ég. de Saugues.
Arrond. de Brioude. Ég. de Saint-Julien de Brioude
190, ég. abb. de
Chaise-Dieu, ég. de Chanteuges.
Arrond. d'Yssingeaux. Ég. de Bauzac, ég. de Saint-Didier-la-Sauve, ég.
de Riotord.
Note 187: (retour) Monument dont la disposition est unique. En passant sous un porche très-relevé comme une loge immense, on pénètre sous le pavé de l'église et on débouche, par un escalier, devant le maître-autel. Ce degré se prolonge au loin dans la rue percée en face le portail. Cette disposition si étrange avait été prise pour permettre aux nombreux pèlerins qui visitaient Notre-Dame du Puy d'arriver processionnellement jusqu'à l'image vénérée. La cathédrale du Puy présente des traces d'un édifice très-ancien. Les constructions en élévation datent du XIe siècle; elles ont été couronnées au XIIe par des coupoles. Une lanterne s'élève sur le centre de la croisée. L'abside était carrée, et les extrémités du transsept sont terminées, au nord et au sud, par des absidioles peu élevées. Les parements extérieurs sont composés de pierre blanche (grès) et de lave noire, de façon à former de grandes mosaïques. Il y avait autrefois, à l'intérieur, de nombreuses peintures du XIIe siècle, d'un grand style, qui ont été en partie détruites. La cathédrale du Puy a conservé ses dépendances: une grande salle du XIIe siècle, un cloître du Xe et du XIIe, une salle capitulaire et une maîtrise avec des peintures du XIVe.
Note 190: (retour) Belle église du XIIe et du commencement du XIIIe siècle; le choeur est de cette dernière époque, mais les masses de l'architecture et le système de construction sont restés romans. Le style nouveau ne se fait sentir que dans les détails de la sculpture et les profils. Traces nombreuses de peintures.
LOIRE-INFÉRIEURE.
Arrond. de Nantes. Ég. cathéd. de Nantes, ég. Saint-Jacques à Nantes.
Arrond. de Sapenay. Ég. de Saint-Gildas-des-Bois, ég. de
Saint-Gonstan, ég. de Guérande.
LOIRET.
Arrond. d'Orléans. Ég. cathéd. d'Orléans, ég. Saint-Aignan à Orléans,
ég. de Beaugency, ég. Saint-Étienne de Beaugency
191, ég. Notre-Dame de
Cléry, ég. de Germigny-les-Prés
192, ég. de Meung, ég. de la chapelle
Saint-Mesmin.
Arrond. de Gien. Ég. abb. de Saint-Benoît-sur-Loire
193, ég. de
Saint-Brisson.
Arrond. de Montargis. Ég. de Ferrières, ég. de Lorris.
Arrond. de Pithiviers. Ég. de Puiseaux, ég. de Yèvres-le-Châtel.
Note 191: (retour) Église fort ancienne, IXe ou Xe siècle. Nef étroite, longue, sans bas-côtés. Transsept très-prononcé, avec chapelles semi-circulaires orientées; choeur presque égal à la nef, avec abside en cul-de-four. Voûtes en berceaux, voûtes d'arête sur le centre de la croisée, avec large clocher au-dessus. Absence totale d'ornementation; enduits.
Note 192: (retour) Petite église du IXe siècle, avec abside circulaire et deux absidioles. Clocher central porté sur quatre piles isolées, avec circulation autour, comme dans certaines églises grecques et de l'Angoumois. Transsept passant sous le clocher, terminé par deux absides circulaires; voûtes d'arête et en berceau. Mosaïque à fond d'or revêtissant le cul-de-four de l'abside principale. Clocher avec colonnettes et bandeaux décorés de stucs. (Ce monument a été publié par M. Constant Dufeux dans la Revue d'Architecture de M. Daly, t. VIII.)
LOT.
Arrond. de Cahors. Ég. cathéd. de Cahors
194, ég. de Montat.
Arrond. de Figeac. Ég. abb. de Saint-Sauveur à Figeac, ég. d'Assier.
Arrond. de Gourdon. Ég. de Gourdon, ég. abb. de Souillac
195.
LOT-ET-GARONNE.
Arrond. d'Agen. Ég. cathéd. d'Agen
196, ancienne ég. des Jacobins
d'Agen
197, ég. de Layrac, ég. de Moiran.
Arrond. de Marmande. Ég. de Marmande, ég. du Mas-d'Agenais.
Arrond. de Nérac. Ég. de Mézin.
LOZÈRE.
Arrond. de Mende.. Ég. cathéd. de Mende, ég. de Langogne.
MAINE-ET-LOIRE.
Arrond. d'Angers. Ég. cathéd. d'Angers
198, ég. abb. de Saint-Serge à
Angers, ég. de Saint-Martin, id., ég. abb. de la Trinité, id., ég. du
Ronceray, id., ég. du Lion-d'Angers, ég. de Savennières, ég. de
Beaulieu.
Arrond. de Bauge. Ég. de Pontigné.
Arrond. de Beaupréau. Ég. de Chemillé.
Arrond. de Saumur. Ég. de Nantilly à Saumur, ég. de Saint-Pierre, id.,
ég. de Cunault, ég. abb. de Fontevrault
199, ég. de
Saint-Georges-Chatelaison, ég. de Montreuil-Bellay, ég. du
Puy-Notre-Dame, ég. Saint-Eusèbe de Gennes, ég. Saint-Vétérin, id.
Note 198: (retour) Vaste église avec nef; transsept, choeur et abside sans chapelles ni collatéraux. Bâtie vers la fin du XIIe siècle, mais présentant des traces de constructions antérieures. Voûtes d'arête à plan carré, et rappelant la coupole par leur forme très-bombée. Vitraux. Style des Plantagenet (voy. l'Architecture byzantine en France, par M. Félix de Verneilh; voy. CATHÉDRALE, fig. 43).
MANCHE.
Arrond. de Saint-Lô. Ég. Sainte-Croix de Saint-Lô, ég. Notre-Dame,
id., ég. de Carentan, ég. de Martigny.
Arrond. d'Avranches. Ég. abb. du Mont-Saint-Michel-en-Mer
200.
Arrond. de Cherbourg. Ég. de Querqueville.
Arrond. de Coutances. Ég. cathéd. de Coutances
201, ég. Saint-Pierre
à Coutances
202, ég. de Lessay, ég. de Périers.
Arrond. de Mortain. Ég. abb. de Mortain.
Arrond. de Valognes. Ég. de Sainte-Marie-du-Mont, ég. de
Sainte-Mère-Église, ég. abb. de Saint-Sauveur-le-Vicomte, ég. de
Saint-Michel à Lestre.
MARNE.
Arrond. de Châlons. Ég. cathéd. de Châlons
203, ég. Notre-Dame de
Châlons
204, ég. Saint-Jean, id.
205, ég. Saint-Alpin, id., ég.
Notre-Dame de l'Épine
206, ég. des Vertus, ég. de Courtisols
207.
Arrond. d'Épernay. Ég. d'Épernay, ég. de Montmort, ég. d'Orbay
208,
ég. d'Avenay, ég. de Dormans, ég. d'Oger
209.
Arrond. de Reims. Ég. Notre-Dame de Reims (cathéd.)
210, ég. abb. de
Saint-Remy à Reims
211, ég. de Cauroy.
Arrond. de Sainte-Menehould.. Ég. de Sommepy.
Arrond. de Vitry. Ég. de Maisons-sous-Vitry
212, ég. de Maurupt, ég.
de Cheminon, ég. de Saint-Amand
213x.
Note 203: (retour) Église champenoise présentant des dispositions très-anciennes. Le choeur, primitivement dépourvu de bas-côtés, était flanqué de deux tours sur plan barlong. L'une de ces tours date du commencement du XIIe siècle. Le choeur, le transsept et la nef ont été reconstruits au XIIIe siècle. Au XIVe siècle, des chapelles avec collatéral ont été ajoutées autour du sanctuaire. La nef remaniée sur quelques points. Après un incendie, l'édifice fut restauré au XVIIe siècle d'une façon barbare. Beaux fragments de vitraux (voy. CATHÉDRALE, fig. 33).
Note 204: (retour) Église champenoise bâtie au XIIe siècle, remaniée bientôt après à la fin de ce siècle. La nef primitivement disposée pour être couverte par une charpente. Le choeur dépourvu de bas-côtés dans l'origine; collatéral et chapelles ajoutées vers 1180. Quatre tours, dont deux sont encore couvertes par des flèches en plomb; l'une de celles-ci refaite depuis peu (voy. CONSTRUCTION, fig. 41, 42 et 43).
Note 211: (retour) Nef du Xe siècle, construite pour recevoir une charpente avec doubles collatéraux voûtés, dans l'origine, au moyen de berceaux perpendiculaires à la nef. Choeur de la fin du XIIe siècle. Beaux fragments de vitraux. Transsept avec chapelles orientées à deux étages. Galerie de premier étage voûtée tout autour de l'édifice. Façade du XIIe siècle (restaurée). Pignon du transsept sud du XVIe siècle. Tombeau de Saint-Remy, du XVIe siècle, d'un très-médiocre style.
MARNE (HAUTE-).
Arrond. de Chaumont. Ég. de Saint-Jean-Baptiste à Chaumont, ég. de
Vignory
214.
Arrond. de Langres. Ég. de Saint-Mammès de Langres (cathéd.)
215, ég.
d'Issômes, ég. de Villars-Saint-Marcellin.
Arrond. de Vassy. Ég. de Vassy, ég. de Blécourt, ég. de Ceffonds, ég.
de Joinville, ég. de Moutiérender
216, ég. Saint-Aubin à Moëslains, ég.
abb. de Trois-Fontaines.
MAYENNE.
Arrond. de Laval.. Ég. de la Trinité à Laval, ég. de Saint-Martin,
id., ég. d'Avesnières, ég. d'Évron.
Arrond. de Château-Gontier. Ég. de Saint-Jean à Château-Gontier, ég.
abb. de la Roe.
Arrond. de Mayenne. Ég. de Javron.
MEURTHE.
Arrond. de Nancy. Ég. de Laître-sous-Amance, ég. de
Saint-Nicolas-du-Port, ég. de Mousson
217
.
Arrond. de Sarrebourg. Ég. de Fenestrange.
Arrond. de Toul. Ég. de Toul (anc. cathéd.)
218
, ég. de
Saint-Gengoulf à Toul, ég. de Blenod-aux-Oignons, ég. de Minorville.
MEUSE.
Arrond. de Bar-le-Duc. Ég, de Rambercourt-aux-Pots.
Arrond. de Montmédy. Ég. d'Avioth.
Arrond. de Verdun. Ég. cathéd. de Verdun
219, ég. d'Étain, ég. abb.
de Lachalade.
MORBIHAN.
Arrond. de Vannes. Ég. de Saint-Gildas-de-Ruys, ég. de l'île d'Arz.
Arrond. de Lorient. Ég. d'Hennebon.
Arrond. de Ploërmel. Ég. de Ploërmel.
Arrond. de Pontivy. Ég. de Quelven à Guern.
MOSELLE.
Arrond. de Metz. Ég. cathéd. de Metz
220, ég. de Saint-Vincent à
Metz, ég. de Chazelle, ég. de Norroy-le-Veneur, ég. de Jussy.
Arrond. de Briey. Ég. d'Olley, ég. de Longuyon.
Note 220: (retour) Église dont la nef date du XIIIe siècle et le choeur du XVe; cette dernière construction refaite toutefois en se raccordant aux précédentes. Style gothique empreint déjà du goût allemand. Très-beaux vitraux du XVIe siècle dans le transsept, lequel est éclairé, non par des roses, mais par des fenêtres immenses comprenant l'espace entier laissé entre la première galerie et les voûtes. Les clochers, au lieu d'être élevés sur la façade, sont posés sur les troisièmes travées des collatéraux de la nef.
NIÈVRE.
Arrond. de Nevers. Ég. cathéd. de Nevers
221, ég. Saint-Étienne à
Nevers
222, ég. de Saint-Saulge, ég. de Saint-Parize-le-Châtel.
Arrond. de Clamecy. Ég. Saint-Martin à Clamecy
223, ég. de Corbigny,
ég. de Saint-Reverien, ég. de Saint-Léger à Tannay, ég. de Varzy.
Arrond. de Cosne. Ég. abb. de Sainte-Croix à la Charité
224, ég. de
Donzy, ég. de Premery.
Note 221: (retour) Église ayant une abside à l'occident construite au XIe siècle. Vaste transsept dans lequel donne cette abside; date également de cette époque. La nef fut rebâtie au XIIIe siècle; puis le choeur, après un incendie, fut refait à la fin de ce siècle. Restaurations et adjonctions pendant les XIVe et XVe siècles. Cette église menace ruine; la nef est déversée; son triforium présente une ornementation de cariatides et de figures d'anges dans les tympans, qui donnent à cet intérieur un aspect très-original. L'édifice est très-mutilé par la main des hommes et par le temps.
NORD.
Arrond. de Lille. Ég. Saint-Maurice à Lille.
Arrond. d'Avesnes. Ég. de Solre-le-Château.
Arrond. de Dunkerque. Ég. de Saint-Éloi de Dunkerque.
OISE.
Arrond. de Beauvais. Ég. cathéd. de Beauvais
225, ég. de la
Basse-OEuvre à Beauvais
226, ég. de Saint-Étienne, id.
227, ég. abb.
de Saint-Germer
228, ég. de Montagny, ég. de Trye-Château.
Arrond. de Clermont. Ég. de Clermont, ég. d'Agnetz, ég. de Maignelay,
ég. du pr. de Bury, ég. de Saint-Martin-aux-Bois, ég. de
Magneville
229.
Arrond. de Compiègne. Ég. Saint-Antoine à Compiègne, ég. abb. de
Saint-Jean-aux-Bois
230, ég. Notre-Dame de Noyon (anc. cathéd.)
231,
ég. de Pierrefonds
232, ég. de Tracy-le-Val
233.
Arrond. de Senlis. Ég. de Senlis (anc. cathéd.)
234, ég. collég. de
Saint-Frambourg à Senlis, ég. Saint-Vincent, id., ég. d'Acy-en-Multien,
ég. abb. de Chaalis, ég. Notre-Dame de Chambly, ég. de Creil (en
l'Île)
235, ég. abb. de Saint-Leu d'Esserent
236, ég. collég. de
Mello
237,
ég. collég. de Montataire, ég. abb. de Morienval
238, ég.
de Nogent-les-Vierges, ég. d'Ermenonville, ég. de Baron, ég. de
Verberie.
Note 234: (retour) Édifice de la fin du XIIe siècle, avec galerie voûtée de premier étage. Cette église n'avait pas de transsept dans l'origine; ses bras de croix ont été établis, au XVe siècle, en coupant deux travées de la nef. Chapelles rayonnantes très-exiguës. Beau clocher du commencement du XIIe siècle (voy. CLOCHER, fig. 63).
ORNE.
Arrond. d'Alençon. Ég. Notre-Dame d'Alençon, ég. cathéd. de Séez
239.
Arrond. d'Argentan. Ég. de Saint-Martin à Argentan, ég. de Chambois.
Arrond. de Domfront. Ég. de Notre-Dame-sous-l'eau à Domfront, ég. de
Lonlay-l'Abbaye.
Note 239: (retour) Restes d'un portail de la fin du XIIe siècle. Nef du XIIIe siècle, style normand. Choeur de la fin du XIIIe siècle, style français. Deux clochers du XIIIe siècle sur la façade. Cet édifice menace ruine sur plusieurs points et a subi de graves mutilations. Les chapelles absidales datent du milieu du XIIIe siècle.
PAS-DE-CALAIS.
Arrond. de Saint-Omer. Ég. Notre-Dame à Saint-Omer (anc. cathéd.), ég.
abb. de Saint-Bertin à Saint-Omer, ég. d'Acre-sur-la-Lys.
PUY-DE-DOME.
Arrond. de Clermont. Ég. cathédr. de Clermont
240, ég.
Notre-Dame-du-Port à Clermont
241, ég. de Saint-Cerneuf à Billom, ég.
de Chauriat, ég. de Notre-Dame d'Orcival, ég. de Montferrand, ég. de
Royat
242, ég. de Saint-Saturnin, ég. de Chamalières.
Arrond. d'Issoire. Ég. Saint-Paul à Issoire
243, ég. de Chambon, ég.
de Manglieu, ég. de Saint-Nectaire
244.
Arrond. de Riom. Ég. Notre-Dame-du-Marturet à Riom, ég. de
Saint-Amable de Riom, ég. d'Ennezat
245, ég. de Saint-Hilaire-la-Croix,
ég. de Mozat, ég. de Thuret, ég. de Volvic
246, ég. de Condat, ég. de
Menat.
Arrond. de Thiers. Ég. Saint-Genest de Thiers, ég. du Dorat.
PYRÉNÉES (BASSES-).
Arrond. de Pau. Ég. de Lembeye, ég. de Lescar, ég. de Morlaas.
Arrond. de Bayonne. Ég. cathéd. de Bayonne
247.
Arrond. de Mauléon. Ég. de Saint-Engrace.
Arrond. d'Oloron. Ég. Sainte-Croix à Oloron, ég. Sainte-Marie à
Oloron.
PYRÉNÉES (HAUTES-).
Ég. de Luz
248, ég. de Saint-Savin, ég. d'Ibos près Tarbes.
PYRÉNÉES-ORIENTALES.
Arrond. de Perpignan. Ég. Saint-Jean à Perpignan (aujourd'hui
cathéd.), ég. d'Elne
249.
Arrond. de Céret. Ég. de Coustouges.
Arrond. de Prades. Ég. de Marceval, ég. abb. de Saint-Martin du
Canigou
250, ég. de Corneilla, ég. de Serrabone
251, ég. de
Villefranche.
RHIN (BAS-).
Arrond. de Strasbourg. Ég. cathéd. de Strasbourg
252, ég.
Saint-Pierre à Strasbourg, ég. abb. de Saint-Étienne, id., ég.
Saint-Thomas, id., ég. de Niederhaslach.
Arrond. de Saverne. Ég. de Saint-Jean-des-Choux, ég. abb. de
Marmoutier
253, ég. de Neuwiller
254.
Arrond. de Schelestadt. Ég. Saint-Georges de Schelestadt, ég.
Sainte-Foi à Schelestadt
255, ég. d'Andlau, ég. abb. de Saint-Odile,
ég. de Rosheim
256.
Arrond. de Wissembourg. Ég. de Walbourg.
RHIN (HAUT-).
Arrond. de Colmar. Ég. Saint-Martin à Colmar, ég. de Gueberschwyr, ég.
de Guebwiller
257, ég. de Pfaffenheim, ég. de Rouffach, ég. de
Sigolsheim, ég. de Luttenbach, ég. abb. de Murbach
258.
Arrond. d'Altkirck. Ég. d'Ottmarsheim
259.
Arrond. de Belfort. Ég. de Thann.
RHÔNE.
Arrond. de Lyon. Ég. cathéd. de Lyon
260, ég. de Saint-Nizier à Lyon,
ég. d'Ainay, id.
261, ég. Saint-Paul, id., ég. Saint-Irénée, id., ég.
de l'Île-Barbe.
Arrond. de Villefranche. Ég. de Villefranche, ég. de Salles, ég. de
Belleville, ég. de Châtillon-d'Azergue.
Note 260: (retour) Choeur de la fin du XIIe siècle, sans bas-côté, avec deux chapelles profondes donnant sur le transsept. Nef des XIIIe et XIVe siècles. Façade du XIVe. Clochers des deux côtés du choeur. Singulier mélange des styles gothiques de la haute Bourgogne, du Bourbonnais, de la Haute-Marne et du Rhin.
SAÔNE (HAUTE-).
Arrond. de Vesoul. Ég. abb. de Cherlieu, ég. de Favernay, ég. de
Chambarnay-les-Bellevaux.
Arrond. de Lure. Ég. abb. de Luxeuil.
SAÔNE-ET-LOIRE.
Ég. abb. de Saint-Vincent à Macon, ég. abb. de Saint-Philibert à
Tournus
262, ég. de Brancion, ég. de Chapaise, ég. abb. de Cluny
263,
ég. Notre-Dame à Cluny
264.
Arrond. d'Autun. Ég. cathéd. d'Autun
265.
Arrond. de Châlon. Ég. Saint-Vincent à Châlon, ég. Saint-Marcel, ég.
de Sennecey-le-Grand.
Arrond. de Charolles. Ég. de Paray-le-Monial
266, ég. de
Semur-en-Brionnais
267, ég. d'Anzy, ég. de Bois-Sainte-Marie
268, ég.
de Châteauneuf
269, ég. de Saint-Germain.
Note 262: (retour) Nef du commencement du XIe siècle, avec vaste narthex. Les voûtes hautes de la nef présentent cette particularité qu'elles se composent de berceaux plein-cintre bandés perpendiculairement à l'axe sur des arcs doubleaux. Les voûtes centrales sont contre-buttées par celles des collatéraux, qui sont d'arête. Les piliers sont monostyles, terminés par des chapiteaux plats sans ornements, comme de simples cordons. Le narthex est à deux étages. Transsept et choeur du commencement du XIIe siècle, avec crypte, bas-côté et chapelles rectangulaires. Clocher carré sur le centre de la croisée et deux clochers sur les premières travées du narthex, du XIIe siècle (voy. ARCHITECTURE MONASTIQUE, fig, 3, et les Archives des mon. hist.).
Note 265: (retour) Église du XIIe siècle, avec porche ouvert peu postérieur à la construction primitive. Style de la haute Bourgogne. Nef voûtée en berceau brisé avec arcs doubleaux. Choeur sans collatéral (voy. ARCHITECTURE RELIGIEUSE, fig. 20; CATHÉDRALE, fig. 27). Flèche du XVe siècle, en pierre, sur le centre de la croisée. Arcs-boutants du XVe siècle contre-buttant les voûtes hautes.
Note 266: (retour) Très-remarquable édifice contemporain de la cathédrale d'Autun (XIIe siècle), avec porche fermé à deux étages; sanctuaire avec collatéral et trois chapelles rayonnantes. Tour centrale à huit pans. Deux tours sur les deux premières travées du porche (voy. les Archives des mon. hist.). Belle construction exécutée en beaux matériaux.
Note 268: (retour) Petite église du XIIe siècle, dont le choeur présente en plan une disposition toute particulière. Bas-côté sans chapelles rayonnantes, et sanctuaire porté sur des réunions de colonnes, deux grosses posées suivant le rayon et deux plus grêles posées sur la circonférence. Tour centrale; nef en berceau brisé avec arcs doubleaux; voûtes d'arête sur les bas-côtés, sans arcs-boutants.
Note 269: (retour) Petite église du XIIe siècle, sans transsept; nef avec collatéraux étroits et trois absides. Clocher carré en avant du sanctuaire. Voûtes hautes en berceau brisé, contre-buttées par des voûtes d'arêtes rampantes sur les bas-côtés. Le berceau central se retournant accuse seul le transsept en élévation.
SARTHE.
Arrond. du Mans. Ég. cathéd. du Mans
270, ég. Notre-Dame-du-Pré au
Mans
271, ég. Notre-Dame-de-la-Coulture au Mans
272.
Arrond. de la Flèche. Ég. du pr. de Solesmes, ég. de Bazouges, ég. de
la Bruère.
Arrond. de Mamers. Ég. de la Ferté-Bernard
273.
Arrond. de Saint-Calais. Ég. de Saint-Calais.
SEINE.
Arrond. de Paris. Ég. Notre-Dame (cathéd. de Paris)
274, ég. abb. de
Saint-Germain-des-Prés à Paris
275, ég. de Saint-Germain-l'Auxerrois,
id.
276, ég. Saint-Eustache, id.
277, ég. Saint-Merry, id., ég.
Saint-Séverin, id., ég. du pr. de Saint-Martin-des-Champs, id.
278, ég.
Saint-Julien-le-Pauvre, id.
279, ég. Saint-Étienne-du-Mont, id., ég.
Saint-Gervais et Saint-Protais, id.
Arrond. de Sceaux. Ég. d'Arcueil, ég. de Vitry, ég. d'Issy, ég. de
Saint-Maur, ég. de Nogent-sur-Marne, ég. de Bagneux
280.
Arrond. de Saint-Denis. Ég. abb. de Saint-Denis
281, ég. de
Boulogne
282, ég. abb. de Montmartre
283, ég. de Suresne, ég. abb. de
Longchamp, ég. de Charonne.
Note 281: (retour) Crypte du IXe siècle. Pourtour du choeur, chapelles et partie antérieure de la nef bâtis par l'abbé Suger au milieu du XIIe siècle. Choeur, transsept et nef élevés sous saint Louis. Anciens vitraux du XIIe siècle. Quantité de fragments précieux (voy. l'Abbaye de Saint-Denis, par M. le baron de Guilhermy).
SEINE-INFÉRIEURE.
Arrond. de Rouen. Ég. cathéd. de Rouen
284, ég. de Saint-Maclou à
Rouen
285, ég. abb. de Saint-Ouen, id.
286, ég. Saint-Patrice, id.,
ég. Saint-Vincent, id., ég. Saint-Godard, id., ég. Saint-Gervais, id.,
ég. du Mont-aux-Malades, id., ég. abb. de Saint-Georges de
Bocherville
287, ég. Duclair, ég. Saint-Étienne à Elbeuf, ég.
Saint-Jean, id., ég. abb. de Jumièges
288, ég. de Moulineaux, ég.
d'Yainville, ég. d'Houppeville.
Arrond. du Havre. Ég.
d'Angerville-l'Orcher, ég. d'Étretat, ég. de Graville-l'Eure, ég. de
Harfleur, ég. de Lillebonne, ég. de Montiviller.
Arrond. de Dieppe.
Ég. Saint-Jacques de Dieppe, ég. abb. de Saint-Victor, ég. d'Arques, ég.
d'Aufray, ég. de Bourgdun, ég. abb. d'Eu
289, ég. du collége d'Eu, ég.
de Tréport.
Arrond. de Neufchâtel. Ég. de Gournay, ég. d'Aumale.
Arrond. d'Yvetot.. Ég. de Caudebec, ég. de Sainte-Gertrude, ég. de
Valliquerville, ég. d'Auzebosq, ég. abb. de Saint-Wandrille
290, ég. de
Saint-Wandrille.
SEINE-ET-MARNE.
Arrond. de Melun. Ég. Notre-Dame de Melun
291, ég.
Saint-Aspais à Melun, ég. de Brie-Comte-Robert, ég. de Champeaux
292.
Arrond. de Coulommiers. Ég. de Saint-Cyr, ég. de Villeneuve-le-Comte.
Arrond. de Fontainebleau. Ég. de Château-Landon, ég. de Larchant, ég.
de Moret
293, ég. de Nemours.
Arrond. de Meaux. Ég. cathéd. de Meaux
294, ég. de Chamigny, ég. de
la Chapelle-sous-Crécy
295, ég. de Ferrières
296, ég. d'Othis.
Arrond. de Provins. Ég. de Saint-Quiriace à Provins
297, ég.
Sainte-Croix, id., ég. Saint-Ayoul, id., ég. de Donnemarie, ég. de
Saint-Loup de Naud
298, ég. de Rampillon
299, ég. de Voulton.
SEINE-ET-OISE.
Arrond. de Versailles. Ég. de Poissy
300, ég. de Triel, ég. de
Bougival, ég. de Vernouillet
301, ég. de Thiverval.
Arrond. de Corbeil. Ég. Saint-Spire de Corbeil, ég. d'Athis-Mons, ég.
abb. de Longpont.
Arrond. d'Étampes. Ég. Notre-Dame à Étampes
302, ég. Saint-Martin,
id., ég. Saint-Basile, id., ég. abb. de Marigny, ég. de la
Ferté-Aleps
303.
Arrond. de Mantes.. Ég. Notre-Dame de Mantes
304, ég. de Houdan, ég.
de Vétheuil
305, ég. de Gassicourt
306, ég. de Limay, ég. de Fusiers,
ég. de Richebourg.
Arrond. de Pontoise. Ég. Saint-Maclou de Pontoise, ég. de Deuil, ég.
d'Ecouen, ég. de Taverny, ég. de Luzarches, ég. de Mareil-en-France, ég.
Saint-Martin à Montmorency, ég. de Belloy
307, ég. de Champagne
308,
ég. abb. de Royaumont, ég. de Beaumont-sur-Oise, ég. de Nesles
309, ég.
de Gonesse, ég. abb. de Maubuisson.
Arrond. de Rambouillet. Ég. de Montfort-l'Amaury
310, ég. de
Saint-Sulpice de Favières
311.
Note 300: (retour) Porche de la façade du IXe siècle; quelques piles à l'intérieur de la fin du XIe; nef du XIIe, remaniée au XVIe et au XVIIe siècles; choeur de la fin du XIIe siècle; chapelle absidale du XIIIe; chapelles de la nef et porche latéral du XVIe. Clocher central du XIIe; clocher sur la façade du XIIe, reconstruit en partie au XVIe. Pas de transsept. Bas-côté pourtournant le choeur avec deux chapelles latérales orientées de la fin du XIIe siècle.
SÈVRES (DEUX-).
Arrond. de Niort. Ég. Notre-Dame de Niort, ég. de Champdeniers, ég. de
Saint-Maixent.
Arrond. de Bressuire. Ég. de Bressuire, ég. d'Oyron, ég. Saint-Denis à
Thouars.
Arrond. de Melle. Ég. Saint-Pierre à Melle
312, ég. Saint-Hilaire,
id.
313, ég. Saint-Savinien, id., ég. de Celles, ég. de Javarzay.
Arrond. de Parthenay.. Ég. Saint-Laurent à Parthenay, ég.
Sainte-Croix, id., ég. Notre-Dame-de-la-Couldre, id., ég. Saint-Pierre à
Airvault, ég. de Saint-Géneroux, ég. de Marnes, ég. Saint-Louis de
Marnes, ég. de Parthenay-le-Vieux
314, ég. de Verrines-sous-Celles.
SOMME.
Arrond. d'Amiens. Ég. Notre-Dame (cathéd. d'Amiens)
315, ég.
Notre-Dame d'Araines, ég. de Namps-au-Val, ég. Saint-Denis de Poix.
Arrond. d'Abbeville. Ég. coll. de Saint-Wulfran d'Abbeville
316, ég.
abb. de Saint-Riquier
317, ég. de Rue.
Arrond. de Doullens. Ég. de Beauval.
Arrond. de Montdidier. Ég. d'Ailly-sur-Noye, ég. abb. de
Bertheaucourt, ég. de Folleville, ég. Saint-Pierre de Roye, ég. de
Tilloloy.
TARN.
Arrond. d'Alby. Ég. Sainte-Cécile (cathéd. d'Alby)
318, ég.
Saint-Salvy à Alby.
Arrond. de Castres. Ég. de Burlatz.
TARN-ET-GARONNE.
Arrond. de Montauban. Ég. de Caussade
319, ég. de Montpezat
320, ég.
de Varen
321.
Arrond. de Castel-Sarrazin. Ég. de Beaumont-de-Lomagne, ég. abb. de
Moissac
322.
VAR.
Arrond. de Draguignan. Ég. cath. de Fréjus, ég. abb. du Thoronet
323,
ég. de Caunet, ég. du Luc.
Arrond. de Brignoles. Ég. de Saint-Maximin.
Arrond. de Grasse.. Ég. de Vence (anc. cathéd.).
Arrond. de Toulon. Ég. Saint-Louis à Hyères, ég. de Sollies-Ville, ég.
de Sixfours.
VAUCLUZE.
Arrond. d'Avignon.. Ég. Notre-Dame-des-Dons (cathéd. d'Avignon)
324,
ég. de Cavaillon (anc. cathéd.)
325, ég. du Thor
326, ég. de Vaucluze,
ég. abb. de Sénanque.
Arrond. d'Apt. Ég. d'Apt (anc. cathéd.).
Arrond. de Carpentras. Ég. de Saint-Siffrin à Carpentras, ég. de
Pernes, ég. bapt. de Vénasques
327, ég. de Caromb.
Arrond. d'Orange. Ég. de Vaison (anc. cathéd.), ég. de Valréas.
VENDÉE.
Arrond. de Fontenay. Ég. de Fontenay-le-Comte, ég. de Maillezais, ég.
abb. de Nieuil-sur-Authise, ég. de Vouvant.
VIENNE.
Arrond. de Poitiers.. Ég. cathéd. de Poitiers
328, ég.
Notre-Dame-la-Grande à Poitiers
329, ég. de Moustier-Neuf, id., ég.
abb. de Saint-Hilaire, id.
330, ég. de Sainte-Radegonde, id.
331; ég.
de Fontaine-Lecomte, ég. abb. de Ligugé, ég. de Nouaillé, ég. de
Lusignan.
Arrond. de Civray. Ég. Saint-Nicolas de Civray, ég. abb. de
Charroux
332.
Arrond. de Montmorillon. Ég. de Montmorillon, ég. d'Antigny, ég.
Saint-Pierre à Chauvigny, ég. Notre-Dame, id., ég. de la Puye, ég. abb.
de Saint-Savin
333.
VIENNE (HAUTE-).
Arrond. de Limoges. Ég. cathéd. de Limoges
334.
Arrond. de Bellac. Ég. abb. du Dorat
335.
Arrond. de Rochechouart. Ég. de Rochechouart, ég. de Saint-Junien, ég.
de Solignac
336.
Arrond. de Saint-Yriex. Ég. de Saint-Yriex.
VOSGES.
Arrond. d'Épinal. Ég. d'Épinal.
Arrond de Saint-Dié. Ég. cath. de Saint-Dié
337, ég. de Moyenmoutier.
YONNE.
Arrond. d'Auxerre. Ég. Saint-Étienne à Auxerre (anc. cathéd.)
338,
ég. Saint-Pierre à Auxerre, ég. Saint-Germain, id.
339, ég.
Saint-Eusèbe, id.
340, ég. de Saint-Florentin
341, ég. abb. de
Pontigny
342, ég. de Chitri-le-Fort, ég. de Moutiers, ég. de Chablis,
ég. de Vermanton, ég. de Mailly-le-Château.
Arrond. d'Avallon. Ég. Saint-Lazare d'Avallon, ég. Saint-Martin, id.,
ég. abb. de Sainte-Madeleine à Vézelay
343, ég. de Saint-Père sous
Vézelay
344, ég. de Civry, ég. de Montréal
345, ég. de
Pontaubert
346.
Arrond. de Joigny. Ég. de Saint-Julien-du-Sault
347, ég. de
Villeneuve-le-Roi
348, ég. de Saint-Fargeau.
Arrond. de Sens. Ég. Saint-Étienne (cathéd. de Sens)
349, ég. de
l'hôpital de Sens
350, ég. Saint-Savinien et Saint-Potentien, id.
Arrond. de Tonnerre. Ég. Saint-Pierre de Tonnerre, ég. de l'hospice de
Tonnerre
351, ég. de Neuvy-Saultour.
ÉGOÛT, s. m. Conduit souterrain en maçonnerie destiné à écouler les eaux pluviales et ménagères. Les Romains étaient grands constructeurs d'égoûts, et lorsqu'ils bâtissaient une ville, ils pensaient d'abord à l'établissement de ces services souterrains. Quand les barbares devinrent possesseurs des villes gallo-romaines, ils ne songèrent pas à entretenir les égoûts antiques, qui bientôt s'engorgèrent ou furent perdus; les villes renfermaient alors de véritables cloaques, les eaux croupies pénétraient le sol, les rues étaient infectes et la peste décimait périodiquement les populations. On commença par faire des tranchées au milieu des voies principales, des ruisseaux profonds, encaissés, que l'on recouvrait de dalles ou que l'on laissait à l'air libre. Les orages se chargeaient de curer ces profonds caniveaux encombrés de détritus de toutes sortes. Ce ne fut guère qu'au XIIe siècle que l'on revint à la méthode antique, et que l'on construisit des égoûts souterrains en maçonnerie sous les voies principales des villes. Corrozet parle d'égoûts trouvés vis-à-vis le Louvre lorsqu'on reconstruisit ce palais en 1538. Il existait, sous le quartier de l'Université de Paris, des égoûts (romains probablement) qui furent longtemps utilisés et refaits en 1412 352, parce qu'ils étaient hors de service. Nous avons vu souvent, en faisant des fouilles dans le voisinage d'édifices du moyen âge, des restes d'égoûts construits en belles pierres de taille. Les établissements religieux et les châteaux féodaux sont déjà munis d'égoûts bien disposés et construits dès la fin du XIIe siècle. Il arrive souvent même que ces égoûts sont praticables pour des hommes. Lorsqu'on démolit l'hôtel de la Trémoille à Paris, en 1840, on découvrit dans le jardin un premier égoût qui paraissait fort ancien et qui présentait la section indiquée fig. 1.

Cet égoût était traversé par un autre plus moderne du XIIIe siècle probablement(2), qui se composait d'une suite d'arcs plein cintre sur lesquels reposaient des dalles très-épaisses. Ces dalles étaient usées comme si elles eussent été longtemps exposées au passage des chariots, chevaux et piétons; elles se raccordaient avec un pavage de petit échantillon en grès. Sous le Palais de Justice de Paris et sous les terrains de l'ancien Évêché, il existe encore des égoûts qui datent de l'époque de saint Louis et de Philippe-le-Bel. Ils sont bâtis en pierre dure avec grand soin et voûtés en berceau plein cintre, dallés au fond et d'une largeur de 0m,75 environ (2 pieds et demi). Toutefois, les égoûts étaient rares dans les villes du moyen âge relativement au nombre et à l'étendue des rues; ils n'étaient guère construits que sous les voies principales aboutissant aux rivières, avec bouches au niveau du sol pour recevoir les eaux des ruisseaux tracés dans les rues perpendiculaires à ces voies.
EMBRASURE, s. f. Baie percée dans un mur de forteresse ou dans un parapet de couronnement pour placer la bouche d'une pièce d'artillerie à feu. Les embrasures n'apparaissent donc dans l'architecture militaire qu'au moment où l'on fait un usage régulier du canon pour la défense des places. Nous avons dit ailleurs (voy. CHÂTEAU) qu'à la fin du XVe siècle, sans changer d'une manière notable la disposition générale des défenses, on s'était contenté de percer, au rez-de-chaussée des courtines et des tours, des ouvertures pour battre les dehors par un tir rasant, ou de placer des bouches à feu au sommet des tours dont on supprimait les toits pour établir des plates-formes avec parapets. Le château de Bonaguil, qui date du règne de Louis XI, possède à la base des remparts quelques embrasures dont la disposition et la forme sont indiquées dans la fig. 1.

La bouche de la pièce est à peu près à mi-épaisseur du mur, comme le fait voir le plan A. À l'intérieur de la muraille B, l'embrasure est construite en arcade et fermée par une épaisse dalle percée d'un trou circulaire avec une mire. À l'extérieur C, on n'aperçoit que le trou et sa mire dégagés par un ébrasement qui permet de pointer la pièce à droite et à gauche. La partie extérieure de ces sortes d'embrasures était promptement égueulée par le souffle de la pièce; aussi pensa-t-on à leur donner plus d'air (2), en couvrant l'ébrasement extérieur par un arc.

Ou bien encore, comme dans les batteries casematées du grand boulevard de Schaffhausen (3), les architectes avancèrent la bouche des canons près du parement extérieur formant intérieurement une chambre voûtée, et disposèrent l'ébrasement du dehors en ovale, avec redans curvilignes, pour détourner les projectiles lancés par les assiégeants. Ces précautions de détail ne pouvaient être efficaces qu'autant que l'ennemi ne mettait pas en batterie de grosses pièces d'artillerie et qu'il n'avait à sa disposition que de la mousqueterie ou de très-petites pièces. Cependant ces sortes d'embrasures furent encore employées pour les batteries couvertes jusque vers le commencement du XVIe siècle 353.
Les architectes militaires cherchaient des combinaisons qui pussent faciliter le tir oblique en même temps qu'elles garantissaient les servants des pièces; mais l'artillerie à feu faisait de rapides progrès. Au commencement du XVIe siècle, les armées assiégeantes possédaient déjà des pièces de gros calibre qui d'une volée ruinaient ces défenses trop faibles, car il est à remarquer que, depuis le moment où l'artillerie à feu est devenue d'un emploi général, les moyens défensifs ont été inférieurs à la puissance toujours croissante de cette arme. Il ne faut donc pas s'étonner si les premières fortifications faites pour résister au canon présentent une variété singulière de moyens défensifs, tous très-ingénieux, très-subtils, mais bientôt abandonnés comme insuffisants, pour être remplacés par d'autres qui ne l'étaient guère moins. Ainsi, dans les fortifications bâties par Albert Dürer à Nuremberg, nous voyons des embrasures de batteries couvertes (4) qui permettaient de pointer un canon et d'obtenir un tir plongeant et oblique pour des arquebusiers.

À Munich, il existe sur la face de la porte en brique de Carlsthor, qui remonte au commencement du XVIe siècle, des embrasures disposées pour un tir oblique et plongeant (5), destinées à de petites pièces d'artillerie. À la porte Laufer de Nuremberg, le long du boulevard extérieur, on remarque encore des embrasures destinées à de très-petites pièces d'artillerie, et dont les ouvertures sont protégées par des cylindres en bois à pivots, percés de trous (6), comme les créneaux d'une des portes de Bâle en Suisse (voy. CRÉNEAU) 354.


En France, ces moyens subtils, tradition des arts militaires du moyen âge, furent promptement mis de côté; on adopta de préférence, pour les batteries couvertes, les embrasures profondes, présentant un angle peu ouvert, ne laissant qu'un trou avec une mire pour la bouche de la pièce, et à l'extérieur ne montrant qu'une large fente horizontale prise dans une hauteur d'assise (7), quelquefois avec un talus inférieur lorsqu'on voulait obtenir un tir plongeant. Cette méthode fut habituellement suivie en Italie dès les premières années du XVIe siècle.

Quant aux embrasures des batteries découvertes, Albert Dürer les a construites à Nuremberg, ainsi que l'indique la fig. 8, sur les courtines et quelques-uns de ses boulevards. Le parapet, large, en pierre, présente une surface convexe pour mieux résister à l'effet des projectiles ennemis. Un volet tournant sur un axe garantit les artilleurs lorsqu'on charge la pièce. Ces volets étaient assez épais et solides pour que les boulets, venant horizontalement, pussent ricocher sur leur surface externe, car alors le tir de plein fouet était mou à cause de la qualité médiocre de la poudre et de la proportion vicieuse des pièces, dont l'âme était relativement d'un trop grand diamètre pour la charge employée.
Quelquefois, en France et en Italie, on eut l'idée de profiler les embrasures ainsi que l'indique la fig. 9, afin d'empêcher les boulets ennemis de glisser sur les parois des ébrasements et de frapper la pièce. Il va sans dire que ces redans sont promptement détruits par l'artillerie des assiégeants et même altérés par le souffle de la pièce. Dès l'époque de François Ier, on en vint, lorsqu'on voulut armer une forteresse, à couronner les boulevards et les courtines par des talus en terre mélangée avec des brins de bois ou du chaume. En cas de siége, on ouvrait des embrasures dans ces talus (10), et on maintenait leurs parois verticales par des madriers. Cette méthode est encore suivie de nos jours. On augmentait au besoin le relief du parapet par des gabionnades ou des sacs à terre.

Quelquefois même ces parapets, avec leurs embrasures, étaient faits de clayonnages triangulaires juxtaposés et remplis de terre et de fumier (11). Ces moyens étaient particulièrement employés pour des ouvrages de campagne qu'il fallait faire à la hâte, et quand on n'avait pas le loisir de laisser tasser les terrassements.

Comme aujourd'hui, les ingénieurs militaires se préoccupaient de masquer les embrasures lorsqu'on chargeait les pièces en batterie. À cet effet, ils employaient des claies épaisses, des volets glissant sur des coulisses, des rideaux d'étoupe capitonnés. De tous ces moyens, l'un des plus ingénieux est celui que nous donnons (12). En A, on voit la plate-forme en charpente recouverte de madriers sur laquelle roule la pièce en batterie. Contre la paroi intérieure du parapet est posé le bâtis B, muni, à sa partie supérieure, d'un volet triangulaire roulant sur un axe et mu par deux leviers C. La pièce chargée, on appuyait sur les deux leviers juste ce qu'il fallait pour pouvoir pointer; sitôt la balle partie, on laissait retomber le volet qui, par son propre poids, reprenait la position verticale.
Les embrasures ont de tout temps fort préoccupé des architectes ou ingénieurs militaires, et, après bien des tentatives, on en est revenu toujours aux clayonnages, aux formes en terre pour les batteries découvertes. Quant aux embrasures des batteries couvertes ou casemates, on n'a pas encore trouvé un système qui présentât des garanties de durée contre des batteries de siége, et depuis le XVIe siècle, sous ce rapport, l'art de la fortification n'a pas fait de progrès sensibles.
ENCEINTE, s. f. Murs en palissades entourant une ville, un bourg ou un camp. Les Gaulois, au dire de César, faisaient des enceintes de villes, de bourgades ou de camps fortifiés, au moyen de troncs d'arbres entremêlés de pierres. Les Germains les composaient de palissades de bois entre lesquelles on amassait de la terre, des branches d'arbres, de l'herbe, de façon à former une véritable muraille très-propre à résister aux efforts du bélier; le feu même n'avait que peu de prise sur ces ouvrages, presque toujours humides. Les Romains, dans leurs camps d'hiver (camps-permanents), employaient à peu près les mêmes procédés ou se contentaient d'une levée en terre couronnée par une palissade et protégée extérieurement par un fossé. Habituellement les portes de ces camps étaient défendues par une sorte d'ouvrage avancé, clavicula, ressemblant assez aux barbacanes du moyen âge (1).

En A étaient des ponts de bois jetés sur le fossé, et, en B, la porte du camp. Ce mélange de pierre et de bois employé dans les enceintes des villes ou camps gaulois donna l'idée à quelques-unes des peuplades de ce pays d'obtenir des remparts vitrifiés, par conséquent d'une dureté et d'une cohésion complètes. Il existe, à vingt-huit kilomètres de Saint-Brieuc, une enceinte ovale composée de granit, d'argile et de troncs d'arbre, que l'on est parvenu à vitrifier en mettant le feu au bois après avoir enveloppé le retranchement de fagots.

Nous donnons (2) une coupe de cette enceinte, dite de Péron. On a commencé par faire un vallum composé de morceaux de granit entremêlés de troncs d'arbres A; à l'extérieur, on a revêtu ce vallum d'une couche d'argile B; le tout a dû être enveloppé d'une quantité considérable de fagots auxquels on a mis le feu; le granit s'est vitrifié, s'est agglutiné; l'argile a fait un corps solide adhérent à cette vitrification; un fossé et un petit épaulement en terre C défendent à l'extérieur cette singulière enceinte. Nous ne connaissons pas d'autre exemple de ce genre de retranchement en France; on prétend qu'il en existe en Irlande et dans le nord de l'Écosse.
Dans les premiers temps du moyen âge, beaucoup de villes en France ne possédaient que des enceintes de bois. À l'époque des invasions des Normands, on en voyait un grand nombre de ce genre auxquelles, bien entendu, les barbares mettaient le feu. On fit donc en sorte de remplacer ces défenses fragiles par des murailles en maçonnerie; mais la force de l'habitude et la facilité avec laquelle on pouvait se procurer du bois en grande quantité firent que, pendant longtemps, beaucoup de villes du Nord ne furent encloses que de palissades de bois terrassées ou non terrassées. Alors même que l'on éleva des murailles en maçonnerie aux XIe et XIIe siècles, le bois remplit encore un rôle très-important dans ces défenses, soit pour garnir leurs couronnements, soit pour faire des enceintes extérieures en dehors des fossés, devant les portes, les ponts et à l'extérieur des faubourgs.
Pendant les guerres du XVe siècle, il est souvent question de bourgades défendues simplement par des enceintes de palissades. «Et puis vindrent à Perrepont (Pierrepont), dit Pierre de Fenin 355, et prindrent la ville, qui estoit close de palais et de fossés.» Froissard 356 parle aussi de plusieurs villes dont les enceintes ne se composaient, de son temps, que de palissades avec bretèches de bois et fossés.
Beaucoup de villes, pendant le moyen âge, étaient ouvertes, car pour les fermer il fallait en obtenir la permission du suzerain, et comme la construction de ces enceintes était habituellement à la charge des bourgeois, les populations urbaines n'étaient pas toujours assez riches pour faire une aussi grande dépense. En temps de guerre, on fermait ces villes à la hâte pour se mettre à l'abri d'un coup de main ou pour servir d'appui à un corps d'armée. «Si s'en ala à Ypre, et entra en la ville (le cuens de Bouloigne): onques li bourgois n'i misent contredit, ains le rechurent à grant joie. Quant li cuens et si home furent dedans Ypre, moult furent boen gré as bourgois de lor boin samblant que il fait lor avoient; ils devisèrent que il là arriesteroient, et fremeroient la ville, et là seroit lor repaires de la guerre. Moult i fisent boins fossés et riches, et boine soif à hyreçon et boines portes de fust et boins pons et boines barbacanes et boines touretes de fust entour la ville 357.» Comme les armées romaines, les armées occidentales du moyen âge faisaient des enceintes autour de leurs camps, lorsqu'elles voulaient tenir une contrée sous leur obéissance ou posséder une base d'opérations. «Toutefoys (Gérard de Roussillon) avec ce peu de gens qu'il avoit approcha le roy et vint en Bourgongne, et choisit une place belle et emple là où estoit une montaigne sur laquelle il se arresta et la fist clore de fossez et de boulevers de boys dont ses gens eurent grant merveille 358.» Les enceintes en bois faites en dehors des murs autour des places fortes étaient désignées, au XIIIe siècle, sous les noms de fors rolléis:
«Clos de fossés et de fors rolléis 359»;
de forclose:
«À la forclose li dus Begues en vint 360»;
et plus tard sous les noms de polis, de barrière. Les espaces libres laissés entre ces clôtures extérieures et les enceintes de maçonnerie s'appelaient les lices.
On ne considérait une enceinte de ville comme très-forte qu'autant qu'elle était double; lorsqu'on ne pouvait construire deux murailles flanquées de tours en maçonnerie, on disposait au moins des palissades avec fossés en avant de l'enceinte maçonnée, de manière cependant que l'enceinte intérieure pût toujours commander celle extérieure, et que celle-ci ne fût distante que d'une petite portée d'arbalète. Si les enceintes extérieures étaient en maçonnerie, flanquées de tours et munies de barbacanes, ces tours et barbacanes étaient ouvertes du côté de la ville, ouvertes à la gorge, comme on dirait aujourd'hui, afin d'empêcher les assiégeants de s'y établir après s'en être emparés.
Lorsqu'on veut se rendre compte des moyens d'investissement et d'attaque des places fortes au moyen âge, on comprend parfaitement de quelle valeur étaient les enceintes extérieures; aussi attachait-on à leur conservation une grande importance. Entre les deux enceintes, une garnison avait une entière liberté d'action, soit pour se défendre, soit pour faire entrer des secours, soit pour prendre l'offensive en tentant des sorties. Dans les lices, les troupes assiégées sentaient une protection puissante derrière eux; elles pouvaient se porter en masses sur les points attaqués en s'appuyant aux murailles intérieures, d'où, à cause de leur relief, on dirigeait leurs efforts, on leur envoyait des secours, on protégeait leur retraite. C'était dans les lices que les assiégés plaçaient leurs grands engins de guerre pour obliger les assiégeants à faire des travaux d'approche, lents et fort difficiles à pousser sur un terrain pierreux. Si l'ennemi s'emparait d'une courtine ou d'une tour extérieure, les assiégés remparaient les lices en établissant deux traverses à droite et à gauche de l'attaque, ce qui pouvait empêcher les assiégeants de s'approcher de l'enceinte intérieure (voy. ARCHITECTURE MILITAIRE, BARBACANE, CHÂTEAU, PORTE, SIÉGE, TOUR).
Dans les villes, on trouvait souvent plusieurs enceintes contiguës. Les abbayes possédaient leurs enceintes particulières, ainsi que la plupart des cloîtres des cathédrales; les châteaux, les palais et même certains quartiers étaient clos de murs, et leurs portes se fermaient la nuit.
ENCLOSURE, s. f. Pourpris, paliz (voy. CLÔTURE).
ENCORBELLEMENT, s. m. Système de construction de pierre ou de bois qui permet de porter une charge en surplomb sur le nu d'un mur, d'une pile, d'un contre-fort. On dit construction en encorbellement pour désigner la partie d'une bâtisse posée sur un encorbellement (voy. CONSTRUCTION, fig. 40, 81, 82, 96, 101, 128, 129, 130, 131, 132, 133, 134, 135, 136, 137; ÉCHAUGUETTE, MÂCHICOULIS).
ENDUIT, s. m. Couverte en mortier, en plâtre ou en blanc-en-bourre, posée sur une maçonnerie de moellon, de brique, parfois même sur de la pierre de taille, afin d'obtenir une surface unie, homogène, propre à recevoir de la peinture.
Les Grecs mettaient des enduits sur toutes leurs constructions, à l'extérieur comme à l'intérieur, à moins qu'elles ne fussent faites de marbre blanc. Encore coloraient-ils cette dernière matière, pour éviter l'aspect froid et uniforme de surfaces d'une même couleur et pour distinguer les divers membres de l'architecture. L'enduit qu'ils posaient sur leurs constructions de pierres, si bien appareillées qu'elles fussent, est très-mince (un ou deux millimètres) et toujours coloré 361. Tous les joints et lits de la construction se trouvaient ainsi masqués sous cette légère couverte. Les Romains excellaient dans l'art de préparer et de poser les enduits. Les grands édifices comme les habitations privées étant construits en brique et blocage, ils revêtissaient leurs parements extérieurs et intérieurs de plaques de marbre et d'enduits posés en plusieurs couches, une grossière d'abord, une plus fine et une dernière très-mince, bien dressée, polie et couverte de peintures. Dans les premiers temps du moyen âge, on voulut imiter ces procédés; mais les barbares ne savaient pas faire de bonne chaux et savaient encore moins l'employer. Aussi les enduits que l'on trouve sur quelques rares monuments de l'époque mérovingienne et carlovingienne sont-ils friables, soufflés et mal dressés. Ce n'est qu'au XIIe siècle que les enduits sont faits avec soin; encore ne sauraient-ils être comparés à ceux des Romains.
Il faut dire que le système de construction adopté par les architectes du moyen âge n'admettait les enduits que là où il y avait du moellon brut; ces architectes, à dater du XIIe siècle, ne posèrent qu'exceptionnellement des enduits sur de la pierre de taille, qui, dût-elle être peinte, laissait voir son parement. C'était à l'intrados des voûtes faites en moellon brut comme celles des édifices de la Bourgogne et du Centre, sur les murs de remplissage entre des piles engagées, que les enduits s'appliquaient, et alors ils étaient toujours couverts de peintures (voy. PEINTURE).
Dans les habitations, les intérieurs des châteaux, on passait cependant parfois un enduit très-mince, même sur la pierre de taille. C'est ainsi que sont tapissées les salles du château de Coucy, qui datent du commencement du XIIIe siècle, afin de dissimuler les joints et de poser la peinture sur des surfaces unies. Mais ces enduits, assez semblables aux enduits grecs, ne sont qu'une couche épaisse de chaux et de sable très-fin posée au pinceau et comprimée au moyen d'une petite taloche. Les couleurs étaient appliquées sur cette couverte pendant qu'elle était encore humide, puis encaustiquée lorsque le tout était parfaitement sec: procédé qui rappelle la peinture monumentale des anciens. Dès le XIIIe siècle, dans les intérieurs, on employait les enduits au plâtre, soit sur les murs en maçonnerie, soit sur les pans-de-bois et cloisons. Ces enduits au plâtre sont généralement très-solides, très-minces et posés sur un pigeonnage de plâtre ou de mortier dans lequel il entre toujours du gros sable. Nous avons vu de ces enduits qui avaient acquis une extrême dureté, le plâtre présentant dans la cassure un grand nombre de parcelles brillantes.
Les enduits en blanc-en-bourre se faisaient et se font encore aujourd'hui avec de la chaux, du sable fin ou de la poussière de pierre et du poil de vache. Quand ils ne sont pas exposés à l'humidité et qu'ils s'attachent à un bon fond, ces enduits durent longtemps; mais ils n'acquièrent jamais de fermeté. Ils n'ont d'autre avantage que de ne pas coûter cher et d'être fort légers.
ENFER, s. m. Le séjour des damnés est représenté habituellement dans les peintures et les sculptures du moyen âge par une gueule monstrueuse dans laquelle s'engloutissent les réprouvés. Dans l'Office des morts, on lit cette prière: «Libera me, Domine, de morte oeterna, de manu inferni, de ore leonis, etc.» Les artistes anciens ont traduit le texte à la lettre. Sur le linteau de la porte principale de la cathédrale d'Autun, qui date du XIIe siècle, on voit, en effet, dans le Jugement dernier, du côté des damnés, deux mains colossales qui s'emparent d'un ressuscité. Quant aux gueules indiquant l'entrée de l'enfer, on les retrouve sur quantité de bas-reliefs et de peintures. L'idée de classification des damnés dans l'enfer par genres de peines en raison des causes de la damnation est une idée dont on retrouve très-anciennement la trace dans les monuments du moyen âge, et le Dante n'a fait que donner à ces traditions une forme poétique, qui résume dans son oeuvre tout ce que les artistes occidentaux avaient peint ou sculpté sur les monuments religieux. En effet, dans des édifices des XIe et XIIe siècles, nous voyons l'avarice, la luxure, l'orgueil, la paresse, etc., subissant en enfer des peines proportionnées à ces vices. Les avares sont accablés sous le faix de sacoches d'argent suspendues à leur cou; ceux qui se sont abandonnés aux plaisirs des sens sont dévorés par des animaux immondes; les orgueilleux sont précipités à bas de chevaux lancés au galop; des crapauds s'attachent aux lèvres des calomniateurs, etc. (voy. JUGEMENT DERNIER, VICES).
ENGIN, s. m. On donnait ce nom à toute machine; d'où est venu le mot engineor, engingneur, pour désigner l'homme chargé de la fabrication, du montage et de l'emploi des machines; d'où le nom d'ingénieur donné de nos jours à toute personne occupée de l'érection des ponts, du tracé des voies, de la construction des usines, des machines, des navires, des fortifications, etc.; d'où enfin le nom de génie donné au corps.
Parmi les engins du moyen âge, il y a les engins employés pour un service civil, comme les engins propres à monter ou transporter des fardeaux, les grues, les chèvres, les treuils, les machines hydrauliques, les presses; puis les engins de guerre, lesquels se divisent en engins offensifs, engins défensifs et engins à la fois offensifs et défensifs.
Il est certain que les Romains possédaient des machines puissantes pour transporter et monter les matériaux énormes qu'ils ont si souvent mis en oeuvre dans leurs constructions. Vitruve ne nous donne sur ce sujet que des renseignements peu étendus et très-vagues. Les Grecs étaient fort avancés dans les arts mécaniques; ce qui ne peut surprendre, si l'on songe aux connaissances qu'ils avaient acquises en géométrie dès une époque fort ancienne et qu'ils tenaient peut-être des Phéniciens. Depuis l'antiquité, les puissances mécaniques n'ont pas fait un pas; les applications seules de ces puissances se sont étendues, car les lois de la mécanique dérivent de la géométrie; ces lois ne varient pas, une fois connues; et parmi tant de choses, ici-bas, qu'on donne comme des vérités, ce sont les seules qui ne peuvent être mises en doute.
Les anciens connaissaient le levier, le coin, la vis, le plan incliné, le treuil et la poulie; comme force motrice, ils n'employaient que la force de l'homme, celle de la bête de somme, les courants d'air ou d'eau et les poids. Ils n'avaient pas besoin, comme nous, d'économiser les bras de l'homme, puisqu'ils avaient des esclaves, et ils ignoraient ces forces modernes produites par la vapeur, la dilatation des gaz et l'électricité. Le moyen âge hérita des connaissances laissées par les anciens sans y rien ajouter, jusqu'à l'époque où l'esprit laïque prit la tête des arts et chercha des voies nouvelles en multipliant d'abord les puissances connues, puis en essayant de trouver d'autres forces motrices. De même qu'en cherchant la pierre philosophale, les alchimistes du moyen âge firent des découvertes précieuses, les mécaniciens géomètres, en cherchant le mouvement perpétuel, but de leurs travaux, résolurent des problèmes intéressants et qui étaient ignorés avant eux ou peut-être oubliés; car nous sommes disposé à croire que les Grecs, doués d'une activité d'esprit merveilleuse, les forces motrices de leur temps admises seules, avaient poussé les arts mécaniques aussi loin que possible.
ENGINS APPLIQUÉS À LA CONSTRUCTION. Nous voyons, dans des manuscrits, bas-reliefs et peintures du IXe au XIIe siècle, le treuil, la poulie, la roue d'engrenage, la romaine, les applications diverses du levier et des plans inclinés. Nous ne saurions préciser l'époque de la découverte du cric; mais déjà, au XIVe siècle, son principe est parfaitement admis dans certaines machines de guerre.
D'ailleurs chacun sait que le principe en mécanique est celui-ci, savoir: que la quantité de mouvement d'un corps est le produit de sa vitesse, c'est-à-dire de l'espace qu'il parcourt dans un temps donné, par sa masse; et une fois ce principe reconnu, les diverses applications devaient s'ensuivre naturellement, avec plus ou moins d'adresse. Dans les constructions romanes, on ne voit guère que de petits matériaux employés, matériaux qui étaient montés soit à l'épaule, soit au bourriquet au moyen de poulies, soit en employant le treuil à roues que des hommes de peine faisaient tourner par leur poids (1).

Cet engin primitif est encore mis en oeuvre dans certains départements du centre et de l'ouest de la France; il est puissant lorsque la roue est d'un diamètre de six mètres, comme celle que nous avons tracée dans cet exemple, et qu'on peut la faire mouvoir par la force de trois hommes; mais il a l'inconvénient d'occuper beaucoup de place, d'être d'un transport difficile, et il ne permet pas de régler le mouvement d'ascension comme on peut le faire avec les machines de notre temps employées aux mêmes usages. Le seul moyen de donner une grande puissance aux forces motrices autrefois connues, c'était de les multiplier par les longueurs des leviers. Aussi, pendant le moyen âge, comme pendant l'antiquité, le levier joue-t-il le principal rôle dans la fabrication des engins. Les Romains avaient élevé des blocs de pierre d'un volume énorme à une grande hauteur, et ils dressaient tous les jours des monostyles de granit ou de marbre de deux mètres de diamètre à la base sur quinze à dix-huit mètres de hauteur. Les Phéniciens et les Égyptiens l'avaient fait bien avant eux; or de pareils résultats ne pouvaient être obtenus que par la puissance du levier et les applications très-étendues et perfectionnées de ce moyen primitif.

On comprend, par exemple, quelle puissance peut avoir un engin disposé comme celui-ci (2). Soit AB un monostyle posé sur chantier incliné ayant en C un axe roulant dans une entaille longitudinale pratiquée dans une forte pièce de bois E, que l'on calle en X lorsque le chantier est arrivé à sa place; soient, assemblées dans l'axe et les pièces inclinées, deux bigues CD, réunies à leur sommet D comme un pied de chèvre, ainsi que le fait voir le tracé P; soient des écharpes en bois G, puis un système de haubans en cordages H fortement serrés par des clefs; soient, le long des deux bigues, des poulies K, et sur le sol, fixées à deux pièces longitudinales, d'autres poulies correspondantes L dont les dernières renvoient les câbles à deux cabestans placés à distance. Il faudra que le monostyle AB, si pesant qu'il soit, arrive à décrire un arc de cercle et à prendre la position a b; on passera sous son lit inférieur des calles ou un bon lit de mortier, et lâchant les cordes qui le lient peu à peu, il glissera sur son chantier et se posera de lui-même sur sa base M. Il ne s'agit que d'avoir des bigues d'une dimension proportionnée à la hauteur du bloc à dresser et un nombre de poulies ou de moufles en rapport avec le poids du bloc. C'est ce même principe qui est adopté de temps immémorial dans la construction des petits fardiers (2 bis) propres à soulever et transporter de grosses pièces de bois.

Mais il était fort rare que les architectes du moyen âge missent en oeuvre des monostyles d'une dimension telle qu'elle exigeât de pareils moyens. Pour élever des colonnes monolithes comme celles de la cathédrale de Mantes, de l'église de Semur en Auxois, du choeur de l'église de Vézelay, de la cathédrale de Langres, etc., les architectes pouvaient n'employer que le grand treuil à levier que nous voyons figuré dans les vitraux et dans les vignettes des manuscrits. Ce treuil, malgré son volume, pouvait être transporté sur des rouleaux, et s'il ne s'agissait que d'élever les colonnes d'un sanctuaire, il n'était besoin que de lui faire faire une conversion, de façon à placer son axe normal à la courbe du chevet 362.

Voici (3) un de ces engins que nous avons essayé de rendre pratique, car les tracés que nous donnent les peintures anciennes sont d'une naïveté telle qu'on ne doit les considérer que comme une indication de convention, une façon d'hiéroglyphe. En A, on voit le plan de l'engin, dont le treuil horizontal B est disposé de manière à pouvoir enrouler deux câbles. Le profil D de cet engin montre l'un des deux plateaux circulaires C du plan, lesquels sont munis, sur chacune de leurs faces, de huit dents mobiles, dont le détail est présenté en G de face et de profil. Les grands leviers E sont à fourchettes et embrassent les plateaux circulaires; abandonnés à eux-mêmes, ces leviers prennent la position KL, venant frapper leur extrémité sur la traverse L, à cause des contre-poids I. Alors les dents M, tombées sur la partie inférieure de leur entaille, par leur propre poids et la position de leur axe, opposent un arrêt à l'extrémité de la flèche du levier entre la fourchette; les hommes qui, étant montés par l'échelle N, posent leurs pieds sur la traverse O, en tirant, s'il est besoin, sur les échelons, comme l'indique le personnage tracé sur notre profil, font descendre l'extrémité du levier O jusqu'en O'. Le plateau a ainsi fait un huitième de sa révolution et les câbles se sont enroulés sur le treuil. Abandonnant la traverse O, le levier remonte à sa première position, sous l'action du contre-poids; les hommes remontent se placer sur la traverse, et ainsi de suite. L'échelle N et la traverse O occupant toute la largeur de l'engin entre les deux leviers, six hommes au moins peuvent se placer sur cette traverse façonnée ainsi que l'indique le détail P, et donner aux leviers une puissance très-considérable, d'autant que ces hommes n'agissent pas seulement par leur poids, mais par l'action de tirage de leurs bras sur les échelons. Dans le détail G, nous avons figuré, en R, une des dents tombée, et, en S, la dent correspondante relevée. Ces sortes d'engrenages mobiles, opposant une résistance dans un sens et s'annulant dans l'autre, prenant leur fonction de dent par suite de la position de la roue, sont très-fréquents dans les machines du moyen âge. Villard de Honnecourt en donne plusieurs exemples, et entre autres dans sa roue à marteaux, au moyen de laquelle il prétend obtenir une rotation sans le secours d'une force motrice étrangère.
Le vérin, cet engin composé aujourd'hui de fortes pièces de bois horizontales dans lesquelles passent deux grosses vis en bois qui traversent l'une des deux pièces et d'un pointail vertical qui les réunit, était employé, pendant le moyen âge, pour soulever des poids très-considérables, et a dû précéder le cric. Villard de Honnecourt donne un de ces engins 363 dont la puissance est supérieure à celle du cric, mais aussi est-il beaucoup plus volumineux (4).

Une grosse vis en bois verticale, terminée à sa partie inférieure par un cabestan, passe à travers la pièce A et tourne au moyen des pivots engagés dans la sablière B et dans le chapeau C; deux montants inclinés relient ensemble les trois pièces horizontales. Deux montants à coulisses D reçoivent, conformément à la section E, un gros écrou en bois dur armé de brides de fer et supportant un anneau avec sa louve F. En virant au cabestan, on faisait nécessairement monter l'écrou entre les deux rainures des montants D, et l'on pouvait ainsi soulever d'énormes fardeaux, pour peu que l'engin fût d'une assez grande dimension.
L'emploi des plans inclinés était très-fréquent dans les constructions de l'antiquité et du moyen âge; nous en avons donné un exemple remarquable à l'article ÉCHAFAUD (fig. 1 et 2). On évitait ainsi le danger des ruptures de câbles dans un temps où les chaînes en fer n'étaient pas employées pour élever des matériaux d'un fort volume, et on n'avait pas besoin d'employer des puissances motrices extraordinaires. Il est certain qu'au moyen d'une trémie élevée suivant un angle de 45 degrés, par exemple (5), deux poulies étant placées au sommet en A, deux autres poulies de renvoi en D, et un ou deux cabestans en B, le poids C étant posé sur des rouleaux, on épargnait beaucoup de forces; mais il va sans dire que cette manière d'élever des matériaux propres à la construction ne pouvait s'employer qu'autant que les bâtiments n'atteignaient qu'une hauteur très-médiocre: or les édifices du moyen âge sont souvent fort élevés. Aussi, pour la construction des oeuvres hautes de ces édifices, paraît-il que l'on employa la chèvre et la grue. Il existait encore, vers le commencement de notre siècle, sur le clocher sud de la cathédrale de Cologne, alors élevée au niveau des voûtes hautes de la nef environ, une grue soigneusement recouverte d'une chape en plomb et qui datait du XIVe siècle, c'est-à-dire du moment où les travaux avaient été interrompus. Nous ne possédons pas, sur cet engin curieux, de documents certains; nous n'en connaissons que la forme générale, qui rappelait celle des grues encore employées pendant le dernier siècle. Les matériaux étaient apportés à pied d'oeuvre sous le bec de la grue au moyen de grands binards ou fardiers à deux roues, ainsi que l'indique la fig. 6. Un long timon servant de levier permettait, lorsque la pierre avait été bardée sur le plateau A, de soulever ce plateau en abaissant l'extrémité B, et de faire rouler l'engin jusqu'au point où le câble de la grue pouvait saisir la pierre au moyen d'une louve.

Ces engins sont encore en usage aujourd'hui dans les provinces du Midi. Il n'y a pas plus de vingt ans que des perfectionnements notables ont été apportés dans le système et la fabrication des engins employés pour les constructions; jusqu'alors les engins dont on se servait au XIIIe siècle étaient aussi employés soit pour transporter les matériaux d'un point à un autre, soit pour les élever verticalement. La chèvre, cette admirable et simple invention qui remonte à la plus haute antiquité, est encore en usage aujourd'hui, et il est probable qu'on s'en servira longtemps.
ENGINS DE GUERRE. Il est nécessaire, pour mettre de la clarté dans notre texte, de diviser ces machines en raison de leur fonction: engins d'attaque, engins d'attaque et de défense, engins de défense seulement.
Engins offensifs avant l'artillerie à feu.--Vitruve 364 parle de trois machines propres à l'attaque: les catapultes, les scorpions et les balistes. Les catapultes et les scorpions sont rangés par lui dans la même catégorie; ces engins étaient destinés à projeter des dards d'une grande longueur et d'un poids assez considérable. Naturellement c'est la dimension du projectile qui donne celle de la machine. Le propulseur consistait en des ressorts de bois tendus au moyen de cordes et de treuils. Malheureusement Vitruve, qui relève scrupuleusement les dimensions relatives de chaque partie de ces machines, oublie de nous décrire leur structure; de sorte qu'il est difficile de se faire une idée passablement exacte du système adopté. Perrault, dans sa traduction du texte latin, nous donne la représentation d'une catapulte 365; mais nous avouons ne pas être satisfait de son interprétation. Son propulseur ne pourrait avoir qu'une action très-faible et ferait plutôt basculer le trait qu'il ne l'enverrait suivant une ligne droite. Végèce 366 parle des balistes, des onagres, des scorpions, des arcs-balistes; mais ses descriptions sont d'un laconisme tel que l'on ne peut en rien tirer de concluant; nous savons seulement par lui que la baliste était tendue au moyen de cordes ou de nerfs, que le scorpion était une baliste de petite dimension, une sorte d'arbalète, «scorpiones dicebant, quas nunc manubalistas vocant;» que l'onagre lançait des pierres et que la force des nerfs devait être calculée en raison du poids des projectiles; mais il se garde bien de nous faire savoir si ces onagres sont des machines mises en mouvement par des contre-poids, des cordes tordues ou des ressorts. Les commentateurs de ces auteurs anciens sont d'autant plus prolixes que les textes sont plus laconiques ou plus obscurs; mais ils ne nous donnent pas de solutions pratiques.
Si Végèce semble indiquer que la baliste soit une grande arbalète fixe propre à lancer des traits, Vitruve prétend que la baliste est destinée à lancer des pierres dont le poids varie de deux livres à deux cent cinquante livres; il ne nous fait pas connaître si cet engin est mu par des contre-poids ou des ressorts. La baliste donnée par Perrault enverrait son projectile à dix pas, si même il ne tombait pas sur l'affût. Ammien Marcellin 367 est un peu moins obscur dans les descriptions qu'il nous a laissées des machines de guerre offensives employées de son temps, c'est-à-dire au IVe siècle. D'après cet auteur, la baliste est une sorte de grande arbalète dont le projectile (le javelot) est lancé par la force de réaction de plusieurs cordes à boyaux tordues. Le scorpion, que de son temps on appelait onagre, est positivement le cable du moyen âge, c'est-à-dire un engin composé d'un style dont le pied est tortillé entre des cordes tendues, comme la clef d'une scie, et dont la tête, munie d'une cuiller, reçoit un boulet que ce style en décliquant envoie en bombe. Ammien Marcellin désigne aussi cet engin sous le nom de tormentum, de torquere, tordre.
Nos lecteurs ne nous sauront pas mauvais gré de ne rien ajouter aux textes aussi diffus que peu concluants des commentateurs de Vitruve, de Végèce, d'Ammien Marcellin; ils voudront bien nous permettre de passer à l'étude des engins du moyen âge sur lesquels nous possédons des données un peu moins vagues.
Les engins d'attaque, depuis l'invasion des barbares jusqu'à l'emploi de l'artillerie à feu, sont en grand nombre: les uns sont mus par des contre-poids comme les trébuchets, les mangonneaux; d'autres par la tension de cordes, de nerfs, de branches de ressorts de bois ou d'acier, comme les caables, malvéisines ou male-voisines, les pierrières; d'autres par leur propre poids et l'impulsion des bras, comme les moutons, béliers, bossons. Rien ne nous indique que les Romains, avant le Ve siècle, aient employé des machines de jet à contre-poids, tandis qu'ils connaissaient et employaient, ainsi que nous venons de le dire, les engins à ressorts, les grandes arbalètes à tour 368 à un ou deux pieds, ainsi qu'on peut s'en assurer en examinant les bas-reliefs de la colonne Trajane. Les machines de jet mues par des contre-poids sont d'une invention postérieure aux machines à ressorts, par la raison que les engins à ressorts ne sont que l'application en grand d'une autre arme de main connue de toute antiquité, l'arc. Les machines à contre-poids exigent, dans leur fabrication, un si grand nombre de précautions, de calculs, et des moyens si puissants, qu'on ne peut admettre qu'elles aient été connues des barbares qui envahirent les Gaules. Ceux-ci durent imiter d'abord les machines de guerre romaines, puis aller demander plus tard à Byzance les inventions très-perfectionnées des Grecs. Les engins inconnus jusqu'alors dont parlent les annales de Saint-Bertin, et qui furent dressés devant les murailles d'Angers occupée en 873 par les Normands, avaient probablement été importés en France par ces artistes que Charles le Chauve faisait venir de Byzance. Les annalistes et les poëtes de ces temps reculés, et même ceux d'une époque plus récente, sont d'un laconisme désespérant lorsqu'ils parlent de ces engins, et ils les désignent indifféremment par des noms pris au hasard dans l'arsenal de guerre, pour les besoins de la mesure ou de la rime, de sorte que, jusque vers le temps de Charles V, où les chroniqueurs deviennent plus précis, plus clairs, il est certaines machines auxquelles on peut difficilement donner leur nom propre. Nous allons essayer cependant de trouver l'emploi et la forme de ces divers engins.
Dans la chanson de Roland, on lit:
«Li reis Marsilie est de guerre vencud,
Vus li avez tuz ses castels toluz,
Od vos caables avez fruiset ses murs,
...»
Or, pour que les murs aient été froissés, endommagés par les caables, il faut admettre que les caables lançaient des blocs de pierre. Le caable est donc une pierrière. «Une grande perière, que l'on claime chaable, si grosse... 369.» Guibert de Nogent, dans son Histoire des Croisades 370, parle des nombreuses balistes qui furent dressées autour des murailles de la ville de Césarée par l'armée des chrétiens. Ces caables ou chaables et ces balistes nous paraissent être une imitation des engins à ressorts en usage chez les Romains et perfectionnés par les Byzantins. Il est certain que ces engins avaient une grande puissance, car le même auteur rapporte que ces machines vomissaient avec fureur les plus grosses pierres qui, «non-seulement allaient frapper les murs extérieurs, mais souvent même atteignaient de leur choc les palais les plus élevés dans l'intérieur de la ville.» Ces balistes étaient posées sur des roues et pouvaient ainsi être changées de place suivant le besoin; c'était là, d'ailleurs, une tradition romaine, car sur les bas-reliefs de la colonne Trajane on voit quelques-uns de ces engins posés sur des chariots traînés par des chevaux. Beaucoup d'auteurs ont essayé, en s'appuyant sur les représentations peintes ou sculptées du moyen âge, de rendre compte de la construction de ces machines de jet; mais ces interprétations figurées nous paraissent être en dehors de la pratique et ressembler à des jouets d'enfants assez naïvement conçus. Cependant leur effet, bien qu'il ne pût être comparé à celui produit par l'artillerie à feu, occasionnait de tels désordres dans les travaux de fortification, qu'il faut bien croire à leur puissance et tâcher d'en donner une idée exacte. C'est ce à quoi nous nous attachons dans les figurés qui vont suivre, et qui, tout en respectant les données générales que nous fournissent les vignettes des manuscrits et les bas-reliefs, sont étudiés comme s'il fallait en venir à l'exécution. Bien entendu, dans ces figurés, nous n'avons admis que les procédés mécaniques connus des ingénieurs du moyen âge.

Voici donc d'abord un de ces engins, baliste, caable ou pierrière, mu par des ressorts et des cordes bridées, propre à lancer des pierres (7). La pièce principale est la verge A, dont l'extrémité inférieure passe dans un faisceau de cordes tordues au moyen de clefs B et de roues à dents C, arrêtées par des cliquets. Les cordes sont passées dans deux anneaux tenant à la tige à laquelle la roue à dents vient s'adapter, ainsi que l'indique le détail D. Ces cordes ou nerfs tordus à volonté à la partie inférieure de la verge avaient une grande force de rappel 371. Mais pour augmenter encore la rapidité de mouvement que devait prendre la verge, des ressorts en bois et nerfs entourés de cordes, formant deux branches d'arcs E attachées à la traverse-obstacle, forçaient la verge à venir frapper violemment cette traverse F, lorsqu'au moyen du treuil G on avait amené cette verge à la position horizontale. Lorsque la verge A était abaissée autant que possible, un homme, tirant sur la cordelette H, faisait échapper la branche de fer I (voy. le détail K), et la verge ramenée rapidement à la position verticale, arrêtée par la traverse-obstacle F, envoyait au loin le projectile placé dans la cuiller L. On réglait le tir en ajoutant ou en supprimant des fourrures en dedans de la traverse F, de manière à avancer ou à reculer l'obstacle, ou en attachant des coussins de cuir rembourrés de chiffons à la paroi antérieure de l'arbre de la verge. Plus l'obstacle était avancé, plus le tir était élevé; plus il était reculé, plus le tir était rasant. Le projectile obéissait à la force centrifuge déterminée par le mouvement de rotation de la cuiller et à la force d'impulsion horizontale déterminée par l'arrêt de la traverse F. La partie inférieure de la verge présentait la section M, afin d'empêcher la déviation de l'arbre qui, d'ailleurs, était maintenu dans son plan par les deux tirages des branches du ressort E. Les crochets O servaient à fixer le chariot en place, au moyen de cordes liées à des piquets enfoncés en terre, et à attacher les traits et palonniers nécessaires lorsqu'il était besoin de le traîner. Quatre hommes pouvaient abaisser la verge en agissant sur le treuil G. Pour qu'un engin pareil ne fût pas détraqué promptement par la secousse terrible que devait occasionner la verge en frappant sur la traverse-obstacle, il fallait nécessairement que cette traverse fût maintenue par des contre-fiches en charpente et par des brides en fer, ainsi que l'indique notre fig. 7. Un profil géométral (8) fait voir la verge abaissée au moyen du treuil et la verge frappant la traverse-obstacle, ainsi que le départ du projectile de la cuiller, les ressorts tendus lorsque la verge est abaissée, et détendus lorsqu'elle est revenue à sa position normale.

Des machines analogues à celle-ci servaient aussi à lancer des traits; mais nous y reviendrons bientôt en parlant des grandes arbalètes à tour. Nous allons continuer la revue des engins propres à jeter des pierres ou autres projectiles en bombe.
Villard de Honnecourt 372 nous donne le plan d'un de ces grands trébuchets à contre-poids si fort employés pendant les guerres des XIIe et XIIIe siècles. Quoique l'élévation de cet engin manque dans le manuscrit de notre architecte picard du XIIIe siècle, cependant la figure qu'il présente et l'explication qu'il y joint jettent une vive lumière sur ces sortes de machines. Villard écrit au bas de son plan la légende suivante 373: «Se vus voles faire le fort engieng con apiele trebucet prendes ci gard. Ves ent ci les soles si com il siet sor tierre. Ves la devant les. ij. windas 374 et le corde ploie a coi ou ravale la verge. Veir le poes en cele autre pagene (c'est cette seconde page qui manque). Il y a grant fais al ravaler, car li contrepois est mult pesans. Car il i a une huge plainne de tierre. Ki. ij. grans toizes a de lonc et. viiij. pies de le, et. xij. pies de profont. El al descocier de le fleke 375 penses. Et si vus en donez gard, car ille doit estre atenue a cel estancon la devant.» Le plan donné par Villard présente deux sablières parallèles espacées l'une de l'autre de huit pieds, et ayant chacune trente-quatre pieds de long. À quatorze pieds de l'extrémité antérieure des sablières est une traverse qui, à l'échelle, paraît avoir vingt-cinq pieds de long; puis quatre grands goussets, une croix de Saint-André horizontale entre les deux sablières longitudinales; près de l'extrémité postérieure, les deux treuils accompagnés de deux grands ressorts horizontaux en bois. C'est là un engin énorme, et Villard a raison de recommander de prendre garde à soi au moment où la verge est décochée. Présentons de suite une élévation perspective de cette machine, afin que nos lecteurs puissent en prendre une idée générale. Villard ne nous donne que le plan des sablières sur le sol, mais nombre de vignettes de manuscrits nous permettent de compléter la figure. Un des points importants de la description de Villard, c'est le cube du contre-poids.

Ces huches ne sont pas des parallélipipèdes, mais des portions de cylindres dans la plupart des anciennes représentations: or, en donnant à cette huche la forme indiquée dans notre fig. 9 et les dimensions exprimées dans le texte de Villard, nous trouvons un cube d'environ 20 mètres; en mettant le mètre de terre à 1,200 kil., nous obtenons 26,000 kil. «Il y a grand faix à ravaler.» Pour faire changer de place un pareil poids, il fallait un levier d'une grande longueur: la verge était ce levier; elle avait de quatre toises à six toises de long (de huit à douze mètres), se composait de deux pièces de bois fortement réunies par des frettes en fer et des cordes, et recevant entre elles deux un axe en fer façonné ainsi que l'indique le détail A. Les tourillons de cet axe entraient dans les deux pièces verticales B, renforcées, ferrées à leur extrémité et maintenues dans leur plan par des contre-fiches. En cas de rupture du tourillon, un repos C recevait le renfort C', afin d'éviter la chute de la verge et tous les dégâts que cette chute pouvait causer.

Voyons comme on manoeuvrait cet engin, dont le profil géométral est donné (10). Lorsque la verge était laissée libre, sollicitée par le contre-poids C, elle prenait la position verticale AB. C'était pour lui faire abandonner cette position verticale qu'il fallait un plus grand effort de tirage, à cause de l'aiguité de l'angle formé par la corde de tirage et la verge; alors on avait recours aux deux grands ressorts de bois tracés sur le plan de Villard et reproduits sur notre vue perspective (fig. 9). Les cordes attachées aux extrémités de ces deux ressorts venaient, en passant dans la gorge de deux poulies de renvoi, s'attacher à des chevilles plantées dans le second treuil D (fig. 10); en manoeuvrant ce treuil à rebours, on bandait les deux cordes autant que pouvaient le permettre les deux ressorts. Préalablement, la boucle E, avec ses poulies jumelles F, dans lesquelles passait la corde de tirage, avait été fixée à l'anneau G au moyen de la cheville H (voy. le détail X). La poulie I roulait sur un cordage peu tendu K, L, afin de rendre le tirage des treuils aussi direct que possible. Au moment donc où il s'agissait d'abaisser la verge, tout étant ainsi préparé, un servant étant monté attacher la corde double à l'anneau de la poulie de tirage, on décliquait le treuil tourné à rebours, les ressorts tendaient à reprendre leur position, ils faisaient faire un ou deux tours au treuil D dans le sens voulu pour l'abattage et aidaient ainsi aux hommes qui commençaient à agir sur les deux treuils, ce qui demandait d'autant moins de force que la verge s'éloignait de la verticale. Alors on détachait les boucles des cordes des ressorts et on continuait l'abattage sur les deux treuils en a b et a' b'. Huit hommes (deux par levier pour un engin de la dimension de celui représenté fig. 10), dès l'instant que la verge était sortie de la ligne verticale au moyen des ressorts, pouvaient amener celle-ci suivant la position A'B'. Le chargeur prenait la poche en cuir et cordes M, la rangeait dans la rigole horizontale en M', plaçait dedans un projectile; puis, d'un coup de maillet, le décliqueur faisait sauter la cheville H. La verge, n'étant plus retenue, reprenait la position verticale par un mouvement rapide et envoyait le projectile au loin. C'est ici où l'on ne se rend pas, faute de l'expérience acquise par la pratique, un compte exact de l'effet des forces combinées, de la révolution suivie par le projectile et du moment où il doit quitter sa poche. Quelques commentateurs paraissent avoir considéré la poche du projectile comme une véritable fronde se composant de deux attaches, dont une fixe et l'autre mobile, de manière que, par le mouvement de rotation imprimé au projectile, l'une des deux attaches de la fronde quittait son point d'attache provisoire, et le projectile ainsi abandonné à lui-même décrivait dans l'espace une parabole plus ou moins allongée.
D'abord, bien des causes pouvaient modifier le décrochement de l'une des cordes de la fronde: le poids du projectile, son tirage plus ou moins prononcé sur l'une des deux cordes, un léger obstacle, un frottement. Il pouvait se faire ou que le décrochement eût lieu trop tôt, alors le projectile était lancé verticalement et retombait sur la tête des tendeurs; ou qu'il ne se décrochât pas du tout, et qu'alors, rabattu avec violence sur la verge, il ne la brisât. En consultant les bas-reliefs et les vignettes des manuscrits, nous ne voyons pas figurés ces ceux brides de fronde et l'attache provisoire de l'une d'elles; au contraire, les brides de la fronde paraissent ne faire qu'un seul faisceau de cordes ou de lanières, avec une poche à l'extrémité, comme l'indique nos figures. De plus, nous voyons souvent, dans les vignettes des manuscrits, une seconde attache placée en contre-bas de l'attache de la fronde et qui paraît devoir brider celle-ci, ainsi que le fait voir même la vignette (11) reproduite dans les éditions française et anglaise de Villard de Honnecourt.

Ici le tendeur tient à la main cette bride secondaire et paraît l'attacher à la queue de la fronde. C'est cette bride, ce sous-tendeur, que dans nos deux fig. 9 et 10 nous avons tracé en P, le supposant double et pouvant être attaché à différents points de la queue de la fronde; on va voir pourquoi.

Soit (12) le mouvement de la verge, lorsque après avoir été abaissée elle reprend brusquement la position verticale par l'effet du contre-poids. Le projectile devra décrire la courbe ABC. Or il arrive un moment où la fronde sera normale à l'arc de cercle décrit par la verge, c'est-à-dire où cette fronde sera exactement dans le prolongement de la verge qui est le rayon de cet arc de cercle. Alors le projectile, mu par une force centrifuge considérable, tendra à s'échapper de sa poche. Il est clair que la fronde sera plus rapidement amenée dans la ligne de prolongement de la verge suivant que cette fronde sera plus courte et que le poids du projectile sera plus considérable. Si la fronde arrive dans le prolongement de la ligne de la verge lorsque celle-ci est au point D de l'arc de cercle, le projectile ne sera pas lancé du côté des ennemis, mais au contraire sur ceux qui sont placés derrière l'engin. Il y avait donc un premier calcul à faire pour donner à la fronde une longueur voulue, afin qu'ayant à lancer un poids de... elle arrivât dans le prolongement de la ligne de la verge lorsque celle-ci était près d'atteindre son apogée. Mais il fallait alors déterminer par une secousse brusque le départ du projectile, qui autrement aurait quitté le rayon en s'éloignant de l'engin presque verticalement. C'était pour déterminer cette secousse qu'était fait le sous-tendeur P. Si ce sous-tendeur P était attaché en P', par exemple, de manière à former avec la verge et la queue de la fronde le triangle P'OR, la queue OP' ne pouvait plus sortir de l'angle P'OR, ni se mouvoir sur le point de rotation O. Mais le projectile C continuant sa course forçait la poche de la fronde à obéir à ce mouvement d'impulsion jusqu'au moment où cette poche, se renversant tout à fait, le projectile abandonné à lui-même était appelé par la force centrifuge et la force d'impulsion donnée par l'arrêt brusque du sous-tendeur à décrire une parabole C'E.
Si, comme l'indique le tracé S, le sous-tendeur P était fixé en P'', c'est-à-dire plus près de l'attache de la queue de la fronde, et formait un triangle P''O''R'' dont l'angle O' était moins obtus que celui de l'exemple précédent, la secousse se faisait sentir plus tôt, la portion de la fronde laissée libre décrivait une portion de cercle C''C''', ou plutôt une courbe C''C'''', par suite du mouvement principal de la verge; le projectile C'''', abandonné à lui-même sous le double mouvement de la force centrifuge principale et de la force centrifuge secondaire occasionnée par l'arrêt P'', était lancé suivant une ligne parabolique C''''E'', se rapprochant plus de la ligne horizontale que dans l'exemple précédent. En un mot, plus le sous-tendeur P était raidi et fixé près de l'attache de la fronde, plus le projectile était lancé horizontalement; plus, au contraire, ce sous-tendeur était lâche et attaché près de la poche de la fronde, plus le projectile était lancé verticalement. Ces sous-tendeurs étaient donc un moyen nécessaire pour régler le tir et assurer le départ du projectile.
S'il fallait régler le tir, il fallait aussi éviter les effets destructeurs du contre-poids qui, arrivé à son point extrême de chute, devait occasionner une secousse terrible à la verge, ou briser tous les assemblages des contre-fiches. À cet effet, non-seulement le mouvement du contre-poids était double, c'est-à-dire que ce contre-poids était attaché à deux bielles avec deux tourillons, mais encore, souvent aux bielles mêmes, étaient fixés des poids en bascule, ainsi que le font voir nos figures précédentes. Voici quel était l'effet de ces poids T. Lorsque la verge se relevait brusquement sous l'influence de la huche chargée de terre ou de pierres, les poids T, en descendant rapidement, exerçaient une influence sur les bielles au moment où la huche arrivait au point extrême de sa chute et où elle était retenue par la résistance opposée par la verge. Les poids n'ayant pas à subir directement cette résistance, continuant leur mouvement de chute, faisaient incliner les bielles suivant une ligne gh et détruisaient ainsi en partie le mouvement de secousse imprimé par la tension brusque de ces bielles. Les poids T décomposaient, jusqu'à un certain point, le tirage vertical produit par la huche, et neutralisaient la secousse qui eût fait rompre tous les tourillons, sans altérer en rien le mouvement rapide de la verge, en substituant un frottement sur les tourillons à un choc produit par une brusque tension.
Ces engins à contre-poids furent en usage jusqu'au moment où l'artillerie à feu vint remplacer toutes les machines de jet du moyen âge. Le savant bibliophile M. Pichon possède un compte (attachement) de ce qui a été payé pour le transport d'un de ces engins en 1378, lequel avait servi au siége de Cherbourg. Voici ce curieux document, que son possesseur a bien voulu nous communiquer: «La monstre Thomin le bourgois de Pontorson gouvernour de l'engin de la dite ville, du maistre charpentier, de V autres charpentiers, de X maçons et cancours, de XL tendeurs et XXXI charrêt à compter le cariot qui porte la verge d'iceluy engin; pour trois charreltiers qui sont ordennés servir celui engin au siége de Cherbourt, venu à Carentan et nous Endouin Channeron, dotteur en la seigneurie, bailly de Costentin et Jehan des Îles, bailly illec pour le roy notre sire es terres qui furent au roy de Navarre, comis et députez en ceste partie, de par nos seigneurs les généraulx commis, du roy notre sire pour le fait dudit siége; le XV jour de novembre l'an MCCCLXXVIII.
«Et premièrement:
|
«Le dit Thomin le maistre gonduom dudit engin, X jours. vault pour X jours Some ci dessus.» «Michel Rouffe, maistre charpentier dudit engin, X jours. vault pour X jours Etc.» |
|
Suit le compte des charpentiers, maçons, tendeurs, charrettes et chevaux. Cet attachement fait connaître l'importance de ces machines qui exigeaient un personnel aussi nombreux pour les monter et les faire agir. Le chiffre de quarante tendeurs indique assez la puissance de ces engins: car, en supposant qu'ils fussent divisés en deux brigades (leur service étant très-fatigant, puisqu'ils étaient chargés de la manoeuvre des treuils), il fallait donc vingt tendeurs pour abaisser la verge du trébuchet. Les maçons étaient probablement employés à dresser les aires de niveau sur lesquelles on asseyait l'engin 376. Pierre de Vaux-Cernay, dans son Histoire des Albigeois, parle de nombreux mangonneaux dressés par l'armée des croisés devant le château des Termes, et qui jetaient contre cette place des pierres énormes, si bien que ces projectiles firent plusieurs brèches. Au siége du château de Minerve (en Minervois), dit ce même auteur, «on éleva du côté des Gascons une machine de celles qu'on nomme mangonneaux, dans laquelle ils travaillaient nuit et jour avec beaucoup d'ardeur. Pareillement, au midi et au nord, on dressa deux machines, savoir une de chaque côté; enfin, du côté du comte, c'est-à-dire à l'orient, était une excellente et immense pierrière, qui chaque jour coûtait vingt et une livres pour le salaire des ouvriers qui y étaient employés.» Au siége de Castelnaudary, entrepris contre Simon de Montfort, le comte de Toulouse fit «préparer un engin de grandeur monstrueuse pour ruiner les murailles du château, lequel lançait des pierres énormes, et renversait tout ce qu'il atteignait... Un jour le comte (Simon de Montfort) s'avançait pour détruire la susdite machine; et comme les ennemis l'avaient entourée de fossés et de barrières tellement que nos gens ne pouvaient y arriver...» En effet, on avait toujours le soin d'entourer ces engins de barrières, de claies, tant pour empêcher les ennemis de les détruire que pour préserver les hommes qui les servaient. Au siége de Toulouse, Pierre de Vaux-Cernay raconte que, dans le combat où Simon de Montfort fut tué, «le comte et le peu de monde qui était avec lui se retirant à cause d'une grêle de pierres et de l'insupportable nuée de flèches qui les accablaient, s'arrêtèrent devant les machines, derrière des claies, pour se mettre à l'abri des unes et des autres; car les ennemis lançaient sur les nôtres une énorme quantité de cailloux au moyen de deux trébuchets, un mangonneau et plusieurs engins...» C'est alors que Simon de Montfort fut atteint d'une pierre lancée par une pierrière que servaient des femmes sur la place de Saint-Sernin, c'est-à-dire à cent toises au moins de l'endroit où se livrait le combat. Quelquefois les anciens auteurs semblent distinguer, comme dans ce passage, les trébuchets des mangonneaux. Les mangonneaux sont certainement des machines à contre-poids comme les trébuchets; mais les mangonneaux avaient un poids fixe placé à la queue de la verge au lieu d'un poids mobile, ce qui leur donnait une qualité particulière.
Villard de Honnecourt appelle l'engin à contre-poids suspendu par des bielles, à contre-poids en forme de huche, trébuchet; d'où l'on doit conclure que si le mangonneau est aussi un engin à contre-poids, ce ne peut être que l'engin-balancier, tel que celui figuré dans le bas-relief de Saint-Nazaire de Carcassonne 377 et dans beaucoup de vignettes de manuscrits 378.
Nous avons vu que la fronde du trébuchet a ses deux branches attachées à la tête de la verge, et que le projectile quitte la poche de cette fronde par l'effet d'une secousse produite par des sous-tendeurs. Dans les représentations des engins à verge et à balancier, l'un des bras de la fronde est fixé à l'extrémité de la verge et l'autre est simplement passé dans un style disposé de telle façon que, quand la verge arrive à son apogée, ce bras de fronde quitte son style et le projectile est lancé comme la balle d'une fronde à main. Cet engin, ainsi que nous le disions tout à l'heure, possède d'autres qualités que le trébuchet. Le trébuchet, par son mouvement brusque, saccadé, était bon pour lancer les projectiles par-dessus de hautes murailles, sur des combles, comme nos mortiers lancent les bombes; mais il ne pouvait faire décrire au projectile une parabole très-allongée se rapprochant de la ligne horizontale. Le tir du mangonneau pouvait se régler beaucoup mieux que celui du trébuchet, parce qu'il décrivait un plus grand arc de cercle et qu'il était possible d'accélérer son mouvement.
Essayons donc d'expliquer cet engin.

D'abord (voy. fig. 13) la verge, au lieu de passer dans l'axe du tourillon, se trouvait fixée en dehors, ainsi que l'indique le tracé en A. À son extrémité inférieure, qui s'élargissait beaucoup (nous allons voir comment et pourquoi), étaient attachés des poids, lingots de fer ou de plomb, ou des pierres, maintenus par une armature et un coffre de planches B. Dans son état normal, la verge, au lieu d'être verticale comme dans le trébuchet, devait nécessairement s'incliner du côté de l'ennemi, c'est-à-dire sur la face de l'engin 379, à cause de la position du contre-poids et celle de l'arbre. Pour abaisser la verge, on se servait de deux roues C, fixées à un treuil et correspondant à deux poulies de renvoi D. Il est clair que devant l'ennemi, il n'était pas possible de faire monter un servant au sommet de la verge pour y fixer la corde double de tirage avec sa poulie et son crochet, d'abord parce que cette corde et cette poulie devaient être d'un poids assez considérable, puis parce qu'un homme qui se serait ainsi exposé aux regards ennemis eût servi de point de mire à tous les archers et arbalétriers. Nous avons vu tout à l'heure que ces engins étaient entourés de barrières et de claies destinées à garantir les servants qui restaient sur le sol. Au moyen d'un petit treuil E, attaché aux parois de la caisse du contre-poids et mu par deux manivelles, on amenait, à l'aide de la corde double F passant par deux fortes poulies G, la poulie H et son crochet auquel préalablement on avait accroché l'autre poulie K. La verge abaissée suivant l'inclinaison LM, on faisait sauter le crochet de la poulie K, et la verge décrivait l'arc de cercle MN. Les servants précipitaient ce mouvement en tirant sur plusieurs cordes attachées en O, suivant la direction OR. Si, lors du décliquement de la verge, les servants tiraient vivement et bien ensemble sur ces cordes, ils faisaient décrire à l'extrémité supérieure de la verge un arc de cercle beaucoup plus grand que celui donné par la seule action du contre-poids, et ils augmentaient ainsi la force d'impulsion du projectile S au moment de son départ. Pour rattacher la poulie K à la poulie H, on tirait celle-ci au moyen d'un fil P en déroulant le treuil E, on descendait cette poulie H aussi bas qu'il était nécessaire, on y rattachait la poulie K, on appuyait de nouveau sur le treuil E. Cette manoeuvre était assez rapide pour qu'il fût possible d'envoyer douze projectiles en une heure.
Pour faciliter l'abaissement de la verge, lorsque les tendeurs agissaient sur les deux grandes roues C, les hommes préposés à la manoeuvre des cordes du balancier B tiraient sur ces cordes attachées en O, suivant la ligne OV. Lorsque la verge était abaissée, les servants chargés de l'attache de la fronde étendaient les deux brides de cette fronde dans la rigole T. L'une de ces brides restait fixée à l'anneau X, l'autre était sortie d'elle-même du style U; les servants avaient le soin de replacer l'anneau de cette seconde bride dans le style et, bien entendu, laissaient passer ces deux brides par-dessus la corde double de tirage de la verge, ainsi que l'indique la coupe Z, présentant en a l'extrémité de la verge abaissée avec sa poulie H en h, sa poulie K en k, les deux poulies D en d, les deux brides de la fronde en gg. Lorsque le décliqueur agissait sur la petite bascule e du crochet, la poulie K tombait entre les deux sablières, la verge se relevait et les deux brides gg tiraient le projectile S. On observera ici que le projectile S étant posé dans la poche de la fronde, les deux brides de cette fronde devant être égales en longueur, l'une, celle attachée à l'anneau X, est lâche, tandis que celle fixée au style est presque tendue. L'utilité de cette manoeuvre va tout à l'heure être démontrée. On voudra bien encore examiner la position du contre-poids lorsque la verge est abaissée; cette position est telle que la verge devait se trouver en équilibre; que, par conséquent, l'effort des tendeurs, pour l'amener à son déclin, devait être à peu près nul, ce qui permettait de tendre la corde sur la poulie k, ainsi que l'indique la coupe Z; que cet équilibre, obtenu par les pesanteurs principales reportées sur le tourillon A, rendait efficace le tirage des hommes préposés au balancier, puisqu'au moment du décliquement il devait y avoir une sorte d'indécision dans le mouvement de la verge; que ce tirage ajoutait alors un puissant appoint au poids du balancier, ce qui était nécessaire pour que la fronde fonctionnât convenablement.

La fig. 14 représente le mangonneau du côté de sa face antérieure, au moment où la verge est abaissée. Les six hommes agissant sur les deux grands treuils sont restés dans les roues afin de dérouler le câble doublé lorsque la verge aura lancé le projectile qui est placé dans la poche de la fronde. Seize hommes s'apprêtent à tirer sur les quatre cordes attachées à la partie inférieure du contre-poids. Le décliqueur est à son poste, en A, prêt à faire sauter le crochet qui retient l'extrémité de la verge abaissée. Le maître de l'engin est en B; il va donner le signal qui doit faire agir simultanément le décliqueur et les tireurs; à sa voix, la verge n'étant plus retenue, sollicitée par les seize hommes placés en avant, va se relever brusquement, entraînant sa fronde, qui, en sifflant, décrira une grande courbe et lancera son projectile.
Examinons maintenant comment la fronde devait être attachée pour qu'une de ses branches pût quitter en temps opportun le style de l'engin, afin de laisser au projectile la liberté de s'échapper de la poche.

Voici (15) l'extrémité de la verge; on voit, en A, l'attache fixe qui se compose d'un long étrier tournant sur un boulon B; puis, en C, le style en fer, élargi à sa base, et en D la boucle qui n'entre dans ce style que jusqu'à un certain point qu'elle ne peut dépasser à cause de cet élargissement. Lorsque l'étrier est sollicité par l'une des brides de la fronde (voy. le profil G), il faut que son anneau E tombe sur la circonférence décrite par l'anneau F de la boucle, circonférence dont, bien entendu, la verge est le rayon; il faut aussi que l'étrier ne puisse dépasser la ligne IE et soit arrêté en K par la largeur du bout de la verge. Tant que la bride de la fronde attachée à l'anneau E de l'étrier n'a pas, par suite du mouvement imprimé, dépassé la ligne EE'; prolongement de la ligne IE, l'autre bride de la fronde tire sur la boucle F obliquement, de telle façon que cette boucle ne peut quitter le style C.
Ceci compris, la figure 16 indique le mouvement de rotation de la verge. La bride mobile de la fronde ne quittera le style que lorsque le projectile aura dépassé le rayon du cercle décrit par la verge, qu'au moment où les brides de la fronde formeront avec la verge un angle, ainsi qu'il est tracé dans la position A. Alors, l'une des brides de la fronde continuera à tirer sur l'étrier, tandis que l'autre se relâchera, et la force centrifuge imprimée au projectile fera échapper la boucle du style, comme nous le voyons en M. Le projectile libre décrira sa parabole. Si le mouvement de rotation de la verge était égal ou progressivement accéléré, il arriverait un moment où le projectile se trouverait dans le prolongement de la ligne de la verge (rayon) pour ne plus quitter cette ligne qu'au moment où la verge s'arrêterait. Mais il n'en est pas ainsi, grâce à la disposition du tourillon hors de la ligne de la verge, de la place du contre-poids hors d'axe et du tirage des hommes pour hâter le mouvement de rotation au moment du décliquement; une force d'impulsion très-violente est d'abord donnée à la verge et par suite au projectile; celui-ci, sous l'empire de cette force première, décrit sa courbe plus rapidement que la verge ne décrit son arc-de-cercle, d'autant que le mouvement de celle-ci se ralentit à mesure qu'elle approche de son apogée; dès lors, les brides de la fronde doivent faire un angle avec la verge, ainsi qu'on le voit en M.
C'étaient donc les hommes placés à la base du contre-poids qui réglaient le tir, en appuyant plus ou moins sur les cordes de tirage. S'ils appuyaient fortement, la verge décrivait son arc de cercle avec plus de rapidité, la force centrifuge du projectile était plus grande; il dépassait plus tôt la ligne de prolongement de la verge; le bras mobile de la fronde se détachait plus tôt et le projectile s'élevait plus haut, mais parcourait un moins grand espace de terrain. Si, au contraire, les hommes du contre-poids appuyaient mollement sur les cordes de tirage ou n'appuyaient pas du tout, le projectile était plus lent à dépasser la ligne de prolongement de la verge; le bras mobile de la fronde se détachait plus tard, et le projectile, n'abandonnant sa poche que lorsque celle-ci avait dépassé la verticale, s'élevait moins haut, mais parcourait un espace de terrain plus étendu. Ainsi le mérite d'un bon maître engingneur était, d'abord, de donner aux brides de la fronde la longueur voulue en raison du poids du projectile, puis de régler l'attache de ces deux brides, puis enfin de commander d'appuyer plus ou moins sur les cordes de tirage, suivant qu'il voulait envoyer son projectile plus haut ou plus loin.
Il y avait donc une différence notable entre le trébuchet et le mangonneau. Le trébuchet était un engin beaucoup moins docile que le mangonneau, mais il exigeait moins de pratique, puisque pour en régler le tir il suffisait d'un homme qui sût attacher les brides de sous-tension de la fronde. Le mangonneau devait être dirigé par un engingneur habile et servi par des hommes au fait de la manoeuvre, sinon il était dangereux pour ceux qui l'employaient. Il est, en effet, quelquefois question de mangonneaux qui blessent et tuent leurs servants: une fausse manoeuvre, un tirage exercé mal à propos sur les cordes du contre-poids, et alors que celui-ci avait déjà fait une partie de sa révolution, pouvait faire décrocher la bride de la fronde trop tard et projeter la pierre sur les servants placés à la partie antérieure de l'engin.
Il serait superflu d'insister davantage sur le mécanisme de ces engins à contre-poids; nous n'avons prétendu ici que donner à cette étude un tour plus pratique que par le passé. Il est clair que pour connaître exactement les effets de ces formidables machines de guerre, il faudrait les faire fabriquer en grand et les mettre à l'épreuve, ce qui aujourd'hui devient inutile en face des canons rayés; nous avons pensé qu'il était bon de faire connaître seulement que nos pères apportaient dans l'art de tuer les hommes la subtilité et l'attention qu'ils mettaient à leur bâtir des palais ou des églises. Ces batteries d'engins à contre-poids, qui nuit et jour envoyaient sans trève des projectiles dans les camps ou les villes ennemies, causant de si terribles dommages qu'il fallait venir à composition, n'étaient donc pas des joujoux comme ceux que l'on nous montre habituellement dans les ouvrages sur l'art militaire du moyen âge. Les projectiles étaient de diverses sortes: boulets de pierre, paquets de cailloux, amas de charognes, matières incendiaires, etc 380.
Les Orientaux, qui paraissent être les premiers inventeurs de ces engins à contre-poids, s'en servaient avec avantage déjà dès le XIe siècle. Ils employaient aussi les pierrières, chaables, pierrières turques, au moyen desquelles ils jetaient sur les ouvrages ennemis non-seulement des pierres, mais aussi des barils pleins de matières inflammables (feu grégeois) que l'eau ne pouvait éteindre, et qui s'attachaient en brûlant sur les charpentes des hourds ou des machines.
Joinville nous a laissé une description saisissante des terribles effets de ces engins. «Le roy ot conseil, dit-il, quand il s'agit de passer un des bras du Nil devant les Sarrasins, que il feroit faire une chauciée par mi la rivière pour passer vers les Sarrasins. Pour garder ceux qui ouvroient (travaillaient) à la chauciée, et fit faire le roy deux beffrois que l'en appele chas-chastiau (nous parlerons tout à l'heure de ces sortes d'engins); car il avoit deux chastiaus devant les chas et deux massons (palissades) derrière les chastiaus, pour couvrir ceulz qui guieteroient (qui feraient le guet), pour (contre) les copz des engins aux Sarrazins, lesquiex avoient seize engins touz drois (sur une même ligne, en batterie). Quant nous venimes là, le roy fist faire dix huit engins, dont Jocelin de Cornaut estoit mestre engingneur (un maître engingneur commandait donc la manoeuvre de plusieurs engins). Nos engins getoient au leur, et les leurs aus nostres; mès onques n'oy dire que les nostres feissent biaucop... Un soir avint, là où nous guietions les chas-chastiaus de nuit, que il nous avièrent un engin que l'en appèle perrière, ce que il n'avoient encore fait, et mistrent le feu gregoiz en la fonde de l'engin (cuiller de l'engin)... Le premier cop que il jetèrent vint entre nos deux chastelz, et chaï en la place devant nous que l'ost avoit fait pour boucher le fleuve. Nos esteingneurs (on avait donc des hommes spécialement chargés d'éteindre les incendies allumés par les ennemis) furent appareillés pour estaindre le feu; et pour ce que les Sarrazins ne pooient trère à eulz (tirer sur ces éteigneurs), pour les deux eles des paveillons que le roy y avoit fait faire (à cause des ouvrages palissadés qui réunissaient les chas-chatelz), il traioient tout droit vers les nues, si que li pylet (les dards) leur cheoient tout droit vers eulz (tombaient verticalement sur eux). La manière du feu gregois estoit tele, que il venoit bien devant aussi gros comme un tonnel de verjus (comme un baril), et la queue du feu qui partoit de li (la fusée), estoit bien aussi grant comme un grant glaive; il faisoit tele noise au venir (tel dommage en tombant), que il sembloit que ce feust la foudre du ciel; il sembloit un dragon qui volast par l'air, tant getoit grant clarté, que l'on véoit parmi l'ost comme se il feust jour, pour la grant foison du feu qui jetoit la grant clarté...»
Ces barils remplis de matières inflammables paraissent être lancés par des pierrières ou caables comme celui représenté fig. 7 et 8; ils étaient munis d'une fusée et contenaient une matière composée de soufre, d'huile de naphte, de camphre, de bitume ou de résine, de poussière de charbon, de salpêtre et peut-être d'antimoine. À cette époque, au milieu du XIIIe siècle, il semble, d'après Joinville, que nos machines de jet fussent inférieures à celles des Turcs, puisque notre auteur, toujours sincère, a le soin de dire que nos engins ne produisaient pas grand effet. Ce n'est guère, en effet, qu'à la fin du XIIIe siècle que les engins paraissent être arrivés, en France, à une grande perfection. On s'en servait beaucoup dans les guerres du XIVe siècle et même après l'invention de l'artillerie à feu.
Les trébuchets, les mangonneaux étaient placés, par les assiégés, derrière les courtines, sur le sol, et envoyaient leurs projectiles sur les ennemis en passant par-dessus la tête des arbalétriers posés sur les chemins de ronde. Mais, outre les pierrières ou caables, que l'on mettait en batterie au niveau des chemins de ronde sur des plates-formes en bois élargissant ces chemins de ronde (ainsi que nous l'avons fait voir dans l'article ARCHITECTURE MILITAIRE, fig. 32), les armées du moyen âge possédaient encore l'arbalète à tour, qui était un engin terrible, avec lequel on lançait des dards d'une grande longueur, des barres de fer rougies au feu, des traits garnis d'étoupe et de feu grégeois 381 en forme de fusées. Ces arbalètes à tour avaient cet avantage qu'elles pouvaient être pointées comme nos pièces d'artillerie, ce que l'on ne pouvait faire avec les mangonneaux ou les trébuchets: car, pour ces derniers engins, s'il était possible de régler le tir, ce ne pouvait être toujours que dans un même plan; si on voulait faire dévier le projectile à droite ou à gauche, il fallait manoeuvrer l'engin entier, ce qui était long. Aussi les mangonneaux et les trébuchets n'étaient employés que dans les siéges, soit par les assiégeants pour envoyer des projectiles sur un point des défenses de la ville, soit par les assiégés pour battre des travaux d'approche ou des quartiers ennemis. Les arbalètes à tour tiraient sur des groupes de travailleurs, sur des engins, sur des colonnes serrées, et elles produisaient l'effet de nos pièces de campagne, à la portée près; car leurs projectiles tuaient des files entières de soldats, rompaient les engins, coupaient leurs cordes, traversaient les mantelets et les palissades.

Voici (17) un ensemble perspectif et des détails de l'arbalète à tour. On la faisait mouvoir au moyen des trois roues, dont deux étaient fixées à la traverse inférieure A et la troisième à la partie mobile B de l'affut. Un pointail C, posé sur une crapaudine ovoïde D, ainsi que l'indique le détail C', maintenait l'affût sur un point fixe servant de pivot. Il était donc facile de régler le tir sur plan horizontal. Pour abaisser ou relever le tir, c'est-à-dire pour viser de bas en haut ou de haut en bas, on pouvait d'abord démonter la roue extrême E, laisser reposer l'affût sur les deux galets en olive F; alors le tir prenait la direction F'G (voy. le profil X). Si on voulait abaisser quelque peu le tir, on relevait la partie supérieure H de l'affût au moyen de la double crémaillère K et des deux roues d'engrenage I, auxquelles on adaptait deux manivelles. S'il était nécessaire d'abaisser le tir, on laissait la roue E et on élevait la partie supérieure de l'affût au moyen des crémaillères. La partie inférieure de l'affût se mouvait sur le tourillon L. Le propulseur se composait de deux branches doubles d'acier passées dans des cordages de nerfs tortillés, comme on le voit dans notre tracé perspectif, et appuyées à leur extrémité contre les deux montants du châssis. Pour bander ces cordes de nerfs autant qu'il était besoin, des tubes de fer étaient passés entre elles; on introduisait des leviers dans ces tubes, soit par une de leurs extrémités, soit par l'autre, pour ne pas permettre aux cordes de se détortiller, et on fixait l'extrémité de ces leviers aux deux brancards M. Si l'on sentait que les cordes se détendissent, on appuyait un peu sur ces leviers en resserrant leurs attaches de manière à ce que les deux branches de l'arc fussent toujours également bridées. Pour bander cet arc, dont les deux extrémités étaient réunies par une corde faite avec des crins, des nerfs ou des boyaux, on accrochait les deux griffes N à cette corde; puis, agissant sur les deux grandes manivelles O, on amenait la corde de l'arc, au moyen des deux crémaillères horizontales, jusqu'à la double détente P, laquelle, pour laisser passer la corde, était rentrée ainsi que l'indique le détail R. Cette détente était manoeuvrée par une tige S munie, à son extrémité, d'un anneau mobile T, que l'on passait dans une cheville lorsque la détente était relevée U. Ramenant alors quelque peu les crémaillères, la corde venait s'arrêter sur cette double détente U, qui ne pouvait rentrer dans l'affût. On appuyait la base du projectile sur la corde en le laissant libre dans la rainure. Et le pointeur ayant tout préparé faisait sortir l'anneau T de la cheville d'arrêt, tirait à lui la tige S; la double détente disparaissait, et la corde revenait à sa place normale en projetant le dard (voy. le plan Y). Une légère pression exercée sur le dard par un ressort l'empêchait de glisser dans sa rainure si le tir était très-plongeant. Avec un engin de la dimension donnée dans notre figure, on pouvait lancer de plein fouet un dard de plus de cinq mètres de long, véritable soliveau armé de fer, à une assez grande distance, c'est-à-dire à cinquante mètres au moins, de façon à rompre des machines, palis, etc. Ces engins lançant des projectiles de plein fouet étaient ceux qui causaient le plus de désordre dans les corps de troupes et particulièrement dans la cavalerie; aussi ne s'en servait-on pas seulement dans les siéges, mais encore en campagne, au moins pour protéger des campements ou pour appuyer un poste important.

On se servait aussi d'un engin à ressort, dont la puissance était moindre, mais dont l'établissement était plus simple et pouvait se faire en campagne avec le bois qu'on se procurait, sans qu'il fût nécessaire d'employer ces crémaillères et toutes ces ferrures qui demandaient du temps et des ouvriers spéciaux pour les façonner. Cet engin est fort ancien et rappelle la catapulte des Romains de l'antiquité. Il se compose (18) d'un arbre vertical cylindrique, avec une face plate (voy. le plan A) tournant au moyen de deux tourillons. À la base de cet arbre est fixé un châssis triangulaire posé sur deux roues et relié audit arbre par deux liens ou contre-fiches. Des ressorts en bois vert sont fortement attachés au pied de l'arbre avec des brides en fer et des cordes de nerfs. Un treuil fixé sur deux montants, entre les contre-fiches, est mu par des manivelles et roues d'engrenage. Un bout de corde avec un crochet est fixé à l'extrémité supérieure du ressort, et une autre corde, munie d'un crochet à bascule B, s'enroule sur le treuil après avoir passé dans une poulie de renvoi. Quatre hommes amènent le ressort. Un dard passe par un trou pratiqué à l'extrémité supérieure de l'arbre D, et un support mobile à fourchette E, s'engageant dans les crans d'une crémaillère F, permet d'abaisser ou de relever le tir, ainsi que le fait voir le profil G. Lorsque le ressort est tendu, le pointeur fixe le dard, fait mouvoir le châssis inférieur sur sa plate-forme suivant la direction du tir et, appuyant sur la cordelle C, fait sauter le crochet: le ressort va frapper le dard à sa base et l'envoie au loin dans la direction qui lui a été donnée. La fig. 19 donne le plan de cet engin.

L'artillerie à feu était employée que, longtemps encore, on se servit de ces engins à contre-poids, à percussion, et de ces arbalètes à tour, tant on se fiait en leur puissance; et même la première artillerie à feu n'essaya pas tout d'abord d'obtenir d'autres effets. Les caables, les pierrières, les trébuchets, les mangonneaux envoyaient à toute volée de gros boulets de pierre qui pesaient jusqu'à deux et trois cents livres; ces machines ne pouvaient lancer des projectiles de plein fouet. On les remplaça par des bombardes avec lesquelles on obtenait les mêmes résultats; et les engins à feu envoyant des balles de but-en-blanc, dès le XIVe siècle, n'étaient que de petites pièces portant des projectiles de la grosseur d'un biscaïen.
Engins offensifs à feu.--Du jour où l'on eut reconnu la puissance des gaz dégagés instantanément par la poudre à canon, on eut l'idée d'utiliser cette force pour envoyer au loin des projectiles pleins, des boulets de pierre ou des boîtes de cailloux. On trouva qu'il y avait un grand avantage à remplacer les énormes et dispendieux engins dont nous venons de donner quelques exemples par des tubes de fer que l'on transportait plus facilement, qui coûtaient moins cher à établir et que l'ennemi ne pouvait guère endommager. Nous n'avons vu nulle part que la noblesse militaire se soit occupée de perfectionner les engins de guerre, ou de présider à leur exécution. Tous les noms d'engingneurs sont des noms roturiers. Si Philippe-Auguste, Richard Coeur de Lion et quelques autres souverains guerriers paraissent avoir attaché de l'importance à la fabrication des engins, ils recouraient toujours à des maîtres engingneurs qui paraissent être sortis du peuple. Ce dédain pour les combinaisons qui demandaient un travail mathématique et la connaissance de plusieurs métiers, tels que la charpenterie, la serrurerie, la mécanique, la noblesse l'apporta tout d'abord dans la première étude de l'artillerie à feu; elle ne parut pas tenir compte de cette formidable application de la poudre explosible, et laissa aux gens de métier le soin de chercher les premiers éléments de l'art du bombardier.
En 1356, le prince Noir assiégea le château de Romorantin; il employa, entre autres armes de jet, des canons à lancer des pierres, des carreaux et des ballottes pleines de feu grégeois. Ces premiers canons étaient longs, minces, fabriqués au moyen de douves de fer, ou fondues en fer ou en cuivre, renforcés de distance en distance d'anneaux de fer, et transportés à dos de mulet ou sur des chariots. Ces bouches à feu, qu'on appelait alors acquéraux, sarres ou spiroles, et plus tard veuglaires, se composaient d'un tube ouvert à chaque bout; à l'une des extrémités s'adaptait une boîte contenant la charge de poudre et le projectile, c'est-à-dire qu'on chargeait la pièce par la culasse; seulement cette culasse était complétement indépendante du tube et s'y adaptait au moyen d'un étrier mobile, ainsi que l'indique la fig. 20.

En A, on voit la boîte et la pièce coupées longitudinalement; en B, la coupe sur ab; en C, la boîte réunie à la pièce au moyen de l'étrier qui s'arrête sur les saillies dd' des anneaux dentelés; en D, la même boîte se présentant latéralement avec l'étrier e, muni de sa poignée pour le soulever et enlever la boîte lorsque la pièce a été tirée. Les points culminants g réservés sur chacun des anneaux dentelés servaient de mire. Nous ne savons trop comment se pointaient ces pièces; elles étaient probablement suspendues à des tréteaux par les anneaux dont elles étaient munies. Les boîtes mobiles adaptées à l'un des bouts du tube laissaient échapper une partie notable des gaz, et devaient souvent causer des accidents; aussi on renonça aux boîtes adaptées, pour faire des canons fondus d'une seule pièce et se chargeant par la gueule. Il y a quelques années, on a trouvé dans l'église de Ruffec (Charente) deux canons qui paraissent appartenir au XIVe siècle: ce sont des tubes en fonte de fer, sans boîtes, fermés à la culasse et suspendus par deux anneaux.

Nous donnons (21) ces deux pièces, qui sont d'une petite dimension; en A, nous avons tracé un fragment de canon qui nous paraît appartenir à la même époque, et qui a été trouvé dans des fouilles à Boulogne-sur-Mer.
En 1380, les Vénitiens se servirent de bouches à feu dans la guerre contre les Génois, et ces pièces étaient appelées ribaudequins.
Ces premières pièces d'artillerie à feu furent remplacées par les bombardes et les canons.
Dès 1412, l'usage des bombardes et canons faisait disparaître les engins offensifs pour la défense des places. «Il résulte, dit Jollois dans son Histoire du siége d'Orléans (1428), d'un relevé fait avec soin par feu l'abbé Dubois, qu'en 1428 et 1429 la ville d'Orléans possédait soixante-onze bouches à feu, tant canons que bombardes, toutes en cuivre. Dans le nombre de ces bouches à feu sont compris le canon qui avait été prêté à la ville d'Orléans par la ville de Montargis, un gros canon qu'on avait nommé Rifflard 382, une bombarde faite, dit le journal du siége, par un nommé Guillaume Duisy, très-subtil ouvrier, qui lançait des boulets de pierre de cent vingt livres pesant, et si énorme qu'il fallût vingt-deux chevaux 383 pour la conduire avec son affût du port à l'Hôtel-de-ville. Ces deux canons et cette énorme bombarde étaient mis en batterie sur la tour de la croiche de Meuffray, sise entre le pont et la poterne Chesneau, d'où ils foudroyaient le fort des Tournelles dont les Anglais s'étaient emparés. Parmi les bouches à feu que nous venons d'indiquer, il faut compter un canon 384 qui lançait des boulets de pierre jusqu'à l'île Charlemagne... Ce ne fut que sous le règne de Louis XI qu'on substitua des boulets de fer aux boulets de pierre.» Cependant on employait encore ces derniers à la fin du XVe siècle.
Quoique les noms de canon et de bombarde aient été donnés
indifféremment aux bouches à feu qui lançaient des boulets de pierre
cependant la bombarde paraît avoir été donnée de préférence à un canon
court et d'un très-gros diamètre, lançant les projectiles à toute volée;
tandis que le canon, d'un plus faible diamètre, plus long, pouvait
envoyer des boulets de but en blanc.
Ces bombardes sont quelquefois désignées sous le nom de basilics. Au siége de Constantinople, en 1413, Mahomet II mit en batterie des bombardes de 200 livres de boulets de pierre. Ces pièces avaient été fondues par un Hongrois. Une de ces bombardes était même destinée à envoyer un boulet de 850 livres; deux mille hommes devaient la servir et dix paires de boeufs la traîner; mais elle creva à la première épreuve et tua un grand nombre de gens. En 1460, Jacques II d'Écosse fit fondre une bombarde monstrueuse, qui creva au premier coup.
Vers cette époque, on renonça aux boîtes emboutiés, mais on fit des canons et bombardes avec boîtes encastrées, principalement pour les pièces qui n'étaient pas d'un très-gros diamètre; car pour les bombardes qui portaient 60 livres de balles et plus, on les fabriqua en fonte de fer ou de cuivre, ou même en fer forgé, en forme de tube, avec un seul orifice.
Il existe encore quelques bombardes fabriquées au moyen de douves de fer plat, cerclées par des colliers de fer comme des barils; peut-être ces pièces sont-elles les plus anciennes: elles ne se chargeaient pas au moyen de boîtes à poudre, mais comme nos bouches à feu modernes, si ce n'est qu'on introduisait la poudre au moyen d'une cuiller, puis une bourre, puis le boulet, puis un tampon de foin ou d'étoupes, à l'aide d'un refouloir.
La plus belle bouche à feu que nous connaissions ainsi fabriquée se
trouve dans l'arsenal de Bâle (Suisse) (22). Elle est en fer forgé. La
culasse A est forgée d'un seul morceau; l'âme se compose d'un douvage de
lames de fer de 0,03 c. d'épaisseur sur 0,06 c. de largeur. Ces douves
sont maintenues unies par une suite d'anneaux de fer plus ou moins
épais; en B est un anneau beaucoup plus fort sous lequel est interposé
une bande de cuivre. En C est figurée la gueule du canon, dont l'âme n'a
pas moins de 0,33 c. de diamètre. La lumière est très-étroite. Dans le
même arsenal, on voit une autre pièce de cuivre de 2m,00 de longueur;
elle date de 1444 et porte un écu aux armes de Bourgogne. Pendant le XVe
siècle, on fabriquait des bouches à feu de dimensions très-variables,
depuis le fauconneau, qui ne portait qu'une livre de balle, jusqu'à la
bombarde, qui envoyait des projectiles en pierre de deux cents livres et
plus
385. Ces bombardes n'étaient guère longues en proportion de leur
diamètre et remplissaient à peu près l'office de mortiers envoyant le
projectile à toute volée: elles se chargeaient par la gueule. On se
servait aussi de projectiles creux que l'on remplissait de matières
détonnantes, de feu grégeois, et c'est une erreur de croire que les
bombes sont une invention des dernières années du XVIe siècle, car
plusieurs traités de la fin du XVe et du commencement du XVIe
386 nous
montrent de véritables bombes faites de deux hémisphères de fer battu
réunis par des brides ou des frettes (23). À la fin du XVe siècle, les
bouches à feu se classent par natures, en raison du diamètre des
projectiles; il y a les basilics, qui sont les plus grosses; les
bombardes, les ribaudequins, les canons, les dragons volants,
scorpions, coulevrines, pierriers, syrènes, passe-murs,
passe-avants, serpentines. Sous Charles VII, l'armée royale
possédait déjà une nombreuse artillerie, et Charles VIII, en 1494, entra
en Italie faisant traîner plus de cent quarante bouches à feu de bronze
montées sur affûts à roues, traînées par des attelages de chevaux, et
bien servies
387. Les Italiens, alors, ne possédaient que des canons de
fer traînés par des boeufs, et si mal servis qu'à peine pouvaient-ils
tirer un coup en une heure.
Examinons maintenant les canons à boîtes encastrées.
L'idée de charger les canons par la culasse était la première qui s'était présentée, comme ce sera probablement le dernier perfectionnement apporté dans la fabrication des bouches à feu. On dut renoncer aux premières boîtes, qui s'adaptaient mal, laissaient passer les gaz, envoyaient parfois une grande partie de la charge sur les servants et se détraquaient promptement par l'effet du recul. On se contenta de faire dans la culasse du canon une entaille permettant l'introduction d'une boîte de fer ou de cuivre qui contenait la charge de poudre maintenue par un tampon de bois. Cette boîte était fixée de plusieurs manières; elle était munie d'une anse afin de faciliter sa pose et son enlèvement après le tir. La balle était glissée dans l'âme du canon avant l'introduction de la boîte et refoulée avec une bourre de foin ou de gazon après cette introduction. Chaque bouche à feu possédait plusieurs boîtes qu'on remplissait de poudre d'avance afin de ne pas retarder le tir 388. Chaque boîte était percée d'une lumière à laquelle on adaptait une fusée de tôle remplie de poudre que l'artilleur enflammait au moyen d'une baguette de fer rougie au feu d'un fourneau. Cette méthode avait quelques avantages: elle évitait l'échauffement de la pièce et les accidents qui en sont la conséquence; elle permettait de préparer les charges à l'avance, car ces boîtes n'étaient que des gargousses encastrées dans la culasse, comme les cartouches des fusils Lefaucheux, sauf que le boulet devait être introduit avant la boîte et refoulé après le placement de celle-ci. Elle avait des inconvénients qu'il est facile de reconnaître: une partie considérable des gaz devait s'échapper à la jonction de la boîte avec l'âme, par conséquent la force de propulsion était perdue en partie: il fallait nettoyer souvent le fond de l'encastrement et la feuillure pour enlever la crasse qui s'opposait à la jonction parfaite de la boîte avec la pièce; le point de réunion s'égueulait après un certain nombre de coups, et alors presque toute la charge s'échappait sans agir sur la balle.

Nous donnons (24) des tracés de ces canons à boîtes encastrées. En A est une pièce à encastrement avec joues; la coupe transversale sur l'encastrement est indiquée en B; la boîte C, portant son anse D et sa lumière E, est logée à la place qui lui est destinée; deux clavettes G, passant dans deux trous des joues, serrent la boîte contre la paroi inférieure de l'encastrement. En H, nous donnons la coupe longitudinale de la boîte disposée pour le tir; au moyen de la clavette K, on a repoussé l'orifice de la boîte dans la feuillure I pratiquée à l'entrée de l'âme; les deux clavettes horizontales ont été enfoncées à coups de marteau. La boîte est pleine de poudre bourrée au moyen du tampon de bois T; la balle est refoulée. En M, on voit la boîte déchargée avec son tampon et sa fusée de lumière O. En P, nous avons figuré un autre système d'encastrement sans joues, dans lequel la boîte était repoussée en feuillure de même, avec une clavette à la culasse, et était maintenue au moyen d'une seule barre longitudinale pivotant sur un boulon N; une seule clavette R, passant dans deux oeils d'une frette en fer forgé, serrait cette barre longitudinale.
Dans ce dernier cas, la lumière de la boîte se présentait latéralement.
Il faut croire que les inconvénients inhérents à ce système le firent abandonner assez promptement, car on renonça bientôt à l'emploi de ces bouches à feu à boîtes pour ne plus employer que les tubes de fonte de cuivre ou de fer avec un seul orifice. D'ailleurs, si on gagnait du temps en chargeant d'avance plusieurs boîtes, on devait en perdre beaucoup à enlever les clavettes et à les renfoncer, sans compter que les oeils de passage des clavettes devaient se fatiguer promptement, s'élargir et ne plus permettre de serrer convenablement les boîtes; il fallait alors changer ces clavettes et en prendre de plus fortes. On voit encore quelques-unes de ces bouches à feu dans nos arsenaux et au musée d'artillerie de Paris; quelques-unes sont en fer forgé, les plus grosses sont en fonte de fer.
Les premières bouches à feu furent montées sur des affûts sans roue et mises simplement en bois, ou charpentées comme on disait alors, c'est-à-dire encastrées dans un auget pratiqué dans de grosses pièces de bois et serrées avec des boulons, des brides de fer ou même des cordes. Le pointage ne s'obtenait qu'en calant cette charpente en avant ou en arrière au moyen de leviers et de coins en bois (25).

On disait affûter une bombarde pour la pointer. Du Clercq, en racontant la mort de Jacques De Lalain, dit que «le mareschal de Bourgoingne, messire Antoine, bastard de Bourgoingne, messire Jacques de Lallaing, allèrent (au siége du château de Poucques) faire affuster une bombarde pour battre ledit chastel; et comme ils faisoient asseoir la dicte bombarde, ceulx du chastel tirèrent d'un veuglaire après les dessus dicts seigneurs, duquel veuglaire ils férirent messire J. de Lallaing et luy emportèrent le hanepière de la teste...» D'affûter on fit le mot affût, qui, à dater du XVIe siècle, fut employé pour désigner les pièces de charpente portant le canon, permettant de le mettre en batterie et de le pointer.
Les vignettes des manuscrits du milieu du XVe siècle nous donnent un assez grande variété de ces affûts primitifs 389. Sous Charles VII et Louis XI, cependant, l'artillerie de campagne faisait de rapides progrès; on possédait, à cette époque déjà, des affûts disposés pour le tir, permettant de pointer les pièces assez rapidement; mais on était encore loin d'avoir imaginé l'avant-train mobile, et, lorsqu'on transportait des bouches à feu, il fallait les monter sur des chariots spéciaux indépendants des affûts. Pendant une bataille, on ne pouvait faire manoeuvrer l'artillerie, sauf quelques petits canons, comme on le fait depuis deux cent cinquante ans. Les artilleurs se défiaient tellement de leurs engins (et certes c'était à bon escient), qu'ils cherchaient à se garantir contre les accidents très-fréquents qui survenaient pendant le tir. Non contents d'encastrer les bouches à feu dans de grosses charpentes et de les y relier solidement pour les empêcher de crever ou pour rendre au moins l'effet de la rupture de la pièce moins dangereux, ils fixèrent souvent leurs gros canons, leurs bombardes, dans des caisses composées d'épais madriers solidement reliés. Ces caisses formaient autour de la pièce une garde qui, en cas d'accident, préservait les servants. Au moment du tir, chacun se baissait, et l'artilleur chargé de mettre le feu à l'aide d'une longue broche de fer rougie à l'une de ses extrémités se plaçait à côté de l'encaissement.

Voici (26) un de ces affûts-caisses. La bouche à feu était inclinée afin d'envoyer le projectile à toute volée; sa gueule étant encastrée dans le bord antérieur de la caisse et sa culasse posant sur le fond. En A, on voit la coupe transversale de la pièce dans son encaissement et la disposition des cordes qui la maintiennent fixe. Le recul de la pièce était évité au moyen des piquets B enfoncés en terre. En C est placé le fourneau propre à chauffer les lances à bouter le feu. La charge de poudre était introduite au moyen de grandes cuillers en fer battu. On conçoit qu'un pareil engin devait être peu maniable et qu'on ne pouvait que l'affûter une fois, c'est-à-dire le mettre en position de manière à envoyer les projectiles sur un même point: aussi ces pièces n'étaient-elles employées que dans les siéges et ne s'en servait-on pas en campagne. Si les artilleurs prétendaient se garder des éclats d'une bouche à feu défectueuse, ils pensaient aussi à se mettre à l'abri des projectiles ennemis. À cet effet, d'épais mantelets en bois étaient dressés devant les pièces d'artillerie. Ces mantelets roulaient sur un axe horizontal, étaient relevés au moment du tir, et retombaient verticalement par leur propre poids lorsque la pièce était déchargée, de manière à la masquer complétement ainsi que les servants occupés à la recharger(27) 390.

On fabriquait aussi alors des affûts triangulaires, plus maniables que les précédents et permettant de pointer dans l'étendue d'un certain arc de cercle. Ces affûts-caisses triangulaires étaient fixés au sommet du triangle au moyen d'un pivot et se manoeuvraient à l'aide de deux roulettes engagées aux extrémités des branches latérales. Mais on allait renoncer à ces bombardes d'un énorme diamètre propres seulement à lancer des boulets de pierre: on adoptait les boulets de fer, on brûlait une quantité de poudre moins considérable, et les bouches à feu n'atteignaient plus ces proportions colossales qui en rendaient le transport difficile.
À la fin du XVe siècle et au commencement du XVIe, on fondit des canons de bronze d'une dimension et d'une beauté remarquables. Il existe, dans l'arsenal de Bâle, un de ces grands canons de 4m,50 c. de longueur, couvert d'ornements et terminé par une tête de dragon; il fut fondu à Strasbourg en 1514.
Fleurange, dans ses Mémoires, chap. VII, dit qu'en 1509 les Vénitiens, à la bataille d'Aignadel, perdue contre les Français, possédaient «soixante grosses pièces, entre lesquelles il y en avoit une manière plus longue que longues couleuvrines, lesquelles se nomment basilics, et tirent boulets de canon; et avoit dessus toutes un lion, ou avoit écrit, à l'entour du dit lion, Marco.»
Vers cette époque, on se servait déjà de mortiers propres à lancer de
gros boulets de pierre ou des bedaines remplies de matières
inflammables. Un tableau peint par Feselen (Melchior), mort en 1538, et
faisant partie aujourd'hui de la collection déposée dans la Pinacothèque
de Munich (nº 30), représentant le siége d'Alesia par Jules-César, nous
montre un gros mortier monté sur affût dans lequel un artilleur dépose
un projectile sphérique (28).
Les deux roues ont été enlevées et gisent
à terre des deux côtés de l'affût. Le mortier paraît ainsi reposer sur
le sol, et on lui donnait l'angle convenable à l'aide de leviers et de
coins glissés sous la culasse. On se servait aussi, à la fin du XVe
siècle et dès le temps de Louis XI, de projectiles de fer rougis au feu.
Georges Chastelain
391 dit qu'au siége d'Audenarde les Gantois
«battirent de leurs bombardes, canons et veuglaires, ladite ville, et
entre les autres, firent tirer de plusieurs gros boulets de fer ardent
du gros d'une tasse d'argent, pour cuider ardoir la ville.»

Mais revenons aux affûts. Afin de rendre le pointage des pièces possible soit verticalement, soit horizontalement, on adapta d'abord deux roues à la partie antérieure de l'affût, et on divisa celui-ci en deux pièces superposées, celle du dessus pouvant décrire un certain arc de cercle (29). Le canon était encastré et maintenu dans des pièces de bois assemblées jointives, pivotant sur un boulon horizontal C posé sous la bouche. La queue très-allongée de ces pièces de bois faisait levier, était soulevée et arrêtée plus ou moins haut à l'aide de broches de fer passées dans la double crémaillère B. Ainsi la queue pouvait être élevée jusqu'en A'. La partie inférieure fixe de l'affût reposait à terre et était armée de deux pointes de fer D destinées à prévenir les effets du recul. En E est représenté le bout inférieur de l'affût avec ses deux pointes et les deux membrures superposées. Toutefois, les membrures supérieures recevant la bouche à feu, si longue que fût la queue, il n'en fallait pas moins beaucoup d'efforts pour soulever cette masse, ce qui rendait le pointage fort lent. D'ailleurs, pour faire glisser jusqu'à la charge de poudre les énormes boulets de pierre qu'on introduisait alors dans les bombardes, il était nécessaire de donner une inclinaison à la pièce, de la gueule à la culasse; il fallait, après chaque coup, redescendre la membrure supérieure de l'affût sur celle inférieure, charger la pièce, puis pointer de nouveau en relevant la queue de la membrure au point voulu. On chercha donc à rendre cette manoeuvre plus facile. Au lieu de faire mouvoir toute la membrure supérieure sur un axe placé sous la gueule de la pièce, ce fut la partie inférieure de l'affût qu'on rendit mobile, et au lieu de placer le boulon en tête, on le plaça au droit de la culasse (30): l'effort pour soulever la pièce était ainsi de beaucoup diminué, parce que le poids de celle-ci se trouvait toujours reporté sur l'essieu, et que plus on soulevait la queue de l'affût, moins le poids du canon agissait sur la membrure.

Ces divers systèmes furent abandonnés vers 1530; alors, outre les deux roues, on en ajouta une troisième à la queue; c'est ce qui fut cause qu'on sépara celle-ci en deux forts madriers de champ (les flasques) entre lesquels on monta cette troisième roue. On pointa la pièce, non plus en relevant l'affût, mais en agissant à l'aide de coins ou de vis sous la culasse du canon, maintenu sur l'affût au moyen de tourillons; car on observera que, jusque vers le milieu du XVIe siècle, les bouches à feu étaient privées de tourillons et d'anses, qu'elles n'étaient maintenues dans l'encastrement longitudinal de l'affût que par des brides en fer ou même des cordes.
À la fin du XVIe siècle, les pièces d'artillerie de bronze étaient divisées en légitimes et bâtardes: les légitimes présentaient les variétés suivantes: le dragon, ou double coulevrine, envoyant 40 livres de balle de fer et portant à 1364 pas de deux pieds et demi de but en blanc; la coulevrine légitime, dite ordinaire, envoyant 20 livres de balle de fer et portant à 1200 pas, id.; la demi-coulevrine, envoyant 10 l. de balle de fer et portant à 900 pas, id.; le sacre ou quart de coulevrine, envoyant 5 l. de balle de fer et portant à 700 pas, id.; le fauconneau, ou huitième de coulevrine, envoyant 2 l. 1/2 de balle de fer et portant à 568 pas, id.; le ribaudequin, envoyant 1 l. 4 onces de balle de fer et portant à 411 pas, id.; l'émerillon, envoyant 15 onces de plomb et portant à 315 pas, id. Les pièces bâtardes comprenaient: le dragon volant, ou double coulevrine extraordinaire, envoyant 32 l. de balle de fer et portant à 1276 pas de 2 pieds et demi de but en blanc; le passe-mur, envoyant 16 l. de balle et portant à 1120 pas, id.; le passe-volant, envoyant 8 l. de balle et portant à 840 pas, id.; le sacre extraordinaire, envoyant 4 l. de balle et portant à 633 pas, id.; le fauconneau extraordinaire, envoyant 2 l. de balle et portant à 498 pas, id.; le ribaudequin ou passager, envoyant 1 l. de balle et portant à 384 pas, id.; l'émerillon, envoyant 1/2 l. de balle et portant à 294 pas, id. Il y avait encore les canons, qui comprenaient: le canon commun, dit sifflant ou batte-mur, envoyant 48 l. de balle et portant à 1600 pas de 2 pieds et demi de but en blanc; le demi-canon, envoyant 16 l. de balle et portant à 850 pas, id.; le quart de canon, dit persécuteur, envoyant 12 l. de balle et portant à 750 pas, id.; le huitième de canon, envoyant 6 l. de balle et portant à 640 pas, id. Il y avait aussi quelques canons bâtards appelés rebuffés, crépans, verrats, les crépans étant des demi-canons et les verrats des quarts de canon, mais un peu plus longs que les canons ordinaires.
Nous ne croyons pas nécessaire de parler ici des singulières inventions auxquelles recouraient les artilleurs à la fin du XVe siècle et au commencement du XVIe, inventions qui n'ont pu que causer de fâcheux accidents et faire des victimes parmi ceux qui les mettaient à exécution; tels sont les canons coudés, les canons rayonnants avec une seule charge au centre, les jeux d'orgues en quinconce, etc.
Engins offensifs et défensifs.--Nous rangeons tout d'abord dans cette série d'engins les béliers couverts, moutons, bossons, qui étaient en usage chez les Grecs, les Romains de l'antiquité, ainsi que chez les Byzantins, et qui ne cessèrent d'être employés qu'au commencement du XVIe siècle, car on se servait encore des béliers pendant le XVe siècle; les chats, vignes et beffrois. Le bélier ou le mouton consistait en une longue poutre armée d'une tête de fer à son extrémité antérieure, suspendue en équilibre horizontalement à des câbles ou des chaînes, et mue par des hommes au moyen de cordes fixées à sa queue. En imprimant un mouvement de va-et-vient à cette pièce de bois, on frappait les parements des murs, que l'on parvenait ainsi à disloquer et à faire crouler. Les hommes étaient abrités sous un toit recouvert de peaux fraîches, de fumier ou de gazon, tant pour amortir le choc des projectiles que pour éviter l'effet des matières enflammées lancées par les assiégés. L'engin tout entier était posé sur des rouleaux ou des roues, afin de l'approcher des murs au moyen de cabestans ou de leviers. Les assiégés cherchaient à briser le bélier au moyen de poutres qu'on laissait tomber sur sa tête au moment où il frappait la muraille; ou bien ils saisissaient cette tête à l'aide d'une double mâchoire en fer qu'on appelait loup ou louve 392. Le bélier s'attaquait aux portes et les avait bientôt brisées. Au siége de Châteauroux, Philippe-Auguste, après avoir investi la ville, attache les mineurs au pied des remparts, détruit les merlons au moyen de pierrières, dresse un bélier devant la porte «toute doublée de fer», fait avancer des tours mobiles en face des défenses de l'ennemi, couvre les parapets d'une pluie de carreaux, de flèches et de balles de fronde 393. L'effet du bélier était désastreux pour les remparts non terrassés; on ouvrait des brèches assez promptement, au moyen de cet engin puissant, dans des murs épais, si les assiégés ne parvenaient pas à neutraliser son action répétée; aussi les assiégeants mettaient-ils tout leur soin à bien protéger cette poutre mobile ainsi que les hommes qui la mettaient en mouvement. Pour offrir le moins de prise possible aux projectiles des assiégés, on donnait à la couverture du bélier beaucoup d'inclinaison; on en faisait une sorte de grand toit aigu à deux pentes, avec une croupe vers l'extrémité postérieure, le tout recouvert de très-forts madriers renforcés de bandes de fer et revêtu, comme il est dit ci-dessus, de peaux de cheval ou de boeuf fraîches, enduites de terre grasse pétrie avec du gazon ou du fumier.

La fig. 31 montre la charpente de cet engin dépouillée de ses madriers et de ses pannes. Le bélier A, poutre de 10m,00 de long au moins, était suspendu à deux chaînes parallèles B attachées au sous-faîte, de manière à obtenir un équilibre parfait. Pour mettre en mouvement cette poutre et obtenir un choc puissant, des cordelles étaient attachées au tiers environ de sa longueur en C; elles permettaient à huit, dix ou douze hommes, de se placer à droite et à gauche de l'engin; ces hommes, très-régulièrement posés, manoeuvraient ainsi: un pied D restait à la même place, le pied droit pour les hommes de la droite, le pied gauche pour ceux de la gauche. Le premier mouvement était celui figuré en E; il consistait, la poutre étant dans sa position normale AH, à la tirer en arrière; après quelques efforts mesurés, la poutre arrivait au niveau A'H'. Alors le second mouvement des servants était celui F. La poutre parcourait alors tout l'espace. Le troisième mouvement est indiqué en G. La tête H du bélier rencontrant la muraille comme obstacle, les servants continuaient la manoeuvre avec les deux premiers mouvements, celui E et celui F. On comprend qu'une course KL faite par une poutre de 10m,00 de long devait produire un terrible effet à la base d'une muraille. La tête de la poutre était armée d'une masse de fer ayant à peu près la forme d'une tête de mouton (voy. le détail P).
Les chats et vignes 394 n'étaient autre chose que des galeries de bois recouvertes de cuirs frais, que l'on faisait avancer sur des rouleaux jusqu'aux pieds des murailles, et qui permettaient aux mineurs de saper les maçonneries à leur base. Nous avons représenté un de ces engins dans l'article ARCHITECTURE MILITAIRE, fig. 15. Ces chats servaient aussi à protéger les travailleurs qui comblaient les fossés. Souvent les beffrois ou tours mobiles en bois que l'on dressait devant les remparts assiégés tenaient lieu de chats à leur partie inférieure; aussi, dans ce cas, les nommait-on chas-chastels. Cet engin monstrueux était employé par les Romains, et César en parle dans ses Commentaires. On ne manqua pas d'en faire un usage fréquent pendant les siéges du moyen âge. Suger raconte, dans son Histoire de la vie de Louis le Gros, que ce prince, assiégeant le château de Gournay, après un assaut infructueux, fit fabriquer «une tour à trois étages, machine d'une prodigieuse hauteur, et qui, dépassant les défenses du château, empêchait les frondeurs et les archers de se présenter aux créneaux... À l'engin colossal était fixé un pont de bois qui, s'élevant au-dessus des parapets de la place, pouvait, lorsqu'on l'abaissait, faciliter aux assiégeants la prise des chemins de ronde.» Dans le poëme, du XIIe siècle, d'Ogier l'Ardenois, Charles, assiégeant le château dans lequel Ogier est enfermé, mande l'engigneor Malrin, qui ne met que quinze jours à prendre la place la plus forte. Cet engigneor occupe trois cent quatre-vingts charpentiers à ouvrer un beffroi d'assaut:
«Devant la porte lor drecha un engin 395
Sor une estace l'a levé et basti,
À sept estages fu li engins furnis,
Amont as brances qi descendent as puis,
Fu ben cloiés et covers et porpris,
Par les estages montent chevalier mil,
Arbalestrier cent soixante et dix.
...
Et l'engigneres qi ot l'engin basti,
Il vest l'auberc, lace l'elme bruni,
El maistre estage s'en va amont séir.»
L'auteur, en sa qualité de poëte, peut être soupçonné de quelque exagération en faisant entrer 1170 hommes dans son beffroi; mais il ne prétend pas qu'il fût mobile. Plus loin, cependant, il dit:
«De l'ost a fait venir les carpentiers 396,
Un grant castel de fust fist comenchier
Sus quatre roes lever et batiller,
Et el marès fist les cloies lancier,
Que ben i passent serjant et chevalier.
...»
On lit aussi, dans le Roman de Brut, ce passage:
«Le berfroi fist al mur joster (approcher)
Et les périères fist jeter 397.»
Et dans le continuateur de Ville-Hardouin: «Dont fist Hues d'Aires (au siége de Thèbes) faire un chat, si le fist bien curyer (couvrir de cuirs) et acemmer; et quant il fu tou fais, si le fisent mener par desus le fossé...»
Les exemples abondent. Ces beffrois, castels-de-fust, chas-chastiaux, étaient souvent façonnés avec des bois verts, coupés dans les forêts voisines des lieux assiégés 398, ce qui rendait leur destruction par le feu beaucoup plus difficile. Ils étaient ordinairement posés sur quatre roues et mus au moyen de cabestans montés dans l'intérieur même de l'engin, à rez-de-chaussée. Au moyen d'ancres ou de piquets et de câbles, on faisait avancer ces lourdes machines exactement comme on fait porter un navire sur ses ancres. Le terrain était aplani et garni de madriers jusqu'au bord du fossé. Celui-ci était comblé, en ménageant une pente légère de la contrescarpe au pied de la muraille. Le remblai du fossé couvert également de madriers, lorsque le beffroi était amené à la crête de la contrescarpe, on le laissait rouler par son propre poids, en le maintenant avec des haubans, jusqu'au rempart attaqué. Le talent de l'engingneur consistait à bien calculer la hauteur de la muraille, afin de pouvoir, au moment opportun, abattre le pont sur le crénelage. Une figure nous est ici nécessaire pour nous faire comprendre.

Soit (32) une muraille A qu'il s'agit de forcer. Avant tout, au moyen des projectiles lancés par les trébuchets et mangonneaux, les assiégeants ont détruit ou rendu impraticables les hourds B, ils ont comblé le fossé D et ont couvert le remblai d'un bon plancher incliné. Le beffroi, amené au point C, engagé sur ce plancher, roule de lui-même; les éperons E, dont la longueur est calculée, viennent butter contre le pied de la muraille; leurs contre-fiches G, couvertes de forts madriers, forment un chat propre à garantir les pionniers et mineurs, s'il est besoin. Alors le pont H est abattu brusquement; il tombe sur la crête des merlons, brise les couvertures des hourds, et les troupes d'assaut se précipitent sur le chemin de ronde K. Pendant ce temps, des archers et des arbalétriers, postés en I au dernier étage, couvrent ces chemins de ronde, qu'ils dominent, de projectiles, pour déconcerter les défenseurs qui de droite et de gauche s'opposeraient au torrent des troupes assaillantes. Outre les escaliers intérieurs, au moment de l'assaut de nombreuses échelles étaient posées contre la paroi postérieure L du beffroi, laissée à peu près ouverte. Nous avons supprimé, dans cette figure, les madriers et peaux fraîches qui couvraient la charpente, afin de laisser voir celle-ci; mais nous avons donné, dans l'article ARCHITECTURE MILITAIRE, fig. 16, un de ces beffrois garni au moment d'un assaut. Vers le milieu du XVe siècle, on plaça de petites pièces d'artillerie au sommet de ces beffrois et sur le plancher inférieur pour battre le pied des murs et couvrir les chemins de ronde de mitraille 399.
Parmi les engins propres à donner l'assaut, il ne faut pas négliger les échelles qui étaient fréquemment employées et disposées souvent d'une façon ingénieuse. Galbert, dans sa Vie de Charles le Bon, parle d'une certaine échelle faite pour escalader les murs du château de Bruges, laquelle était très-large, protégée par de hautes palissades à sa base et munie à son sommet d'une seconde échelle plus étroite devant s'abattre en dedans des murs. Les palis garantissaient les assaillants qui se préparaient à monter à l'assaut; l'échelle se dressait à l'aide d'un mécanisme, et, une fois dressée, la seconde s'abattait.
On lit, dans le roman d'Ogier l'Ardenois, ces vers:
«Vés grans alnois (aulnes) en ces marés plantés;
Faites-les tost et trancher et coper,
Caisnes et saus (chênes et saules) ens el fossé jeter,
Et la ramille (branchage) e quanc'on puet trover,
Tant que pussons dessi as murs aler;
Et puis ferés eskeles carpenter,
Sus grans roeles dessi as murs mener;
En dix parties et drechier et lever 400.
...
Dix grans eskeles fist li rois carpenter,
Sus les fosseis et conduire et mener,
Puis les ont fait contre les murs lever:
De front i poent vingt chevaliers monter 401.»

L'échelle, munie d'étais mobiles, paraît avoir été, de toutes celles employées dans les assauts, la plus ingénieuse. La fig. 33 en donne le profil en A. Tout le système était posé sur un châssis à roues que l'on amenait près du pied de la muraille à escalader; il se composait de deux branches d'échelle BC, munies de roulettes B à la base, réunies par un boulon; ces roulettes, faites comme des poulies, ainsi que l'indique le détail O, s'engageaient sur les longrines DE du châssis; à deux boucles en fer P, maintenues à l'extrémité du boulon, s'attachaient deux cordages qui passaient dans les poulies de renvoi F et venaient s'enrouler sur le treuil G. En appuyant sur ce treuil au moyen des deux manivelles, on amenait les pieds B de l'échelle en B'. Alors les deux étais à pivot HI se relevaient en HI'; c'est-à-dire que le triangle BHI devenait le triangle B'HI', sa base étant raccourcie, et le sommet de l'échelle C, qui reposait sur une traverse K, s'élevait en C'. On tirait alors sur le fil L et on abattait le double crochet en fer, roulant au sommet de l'échelle, sur les merlons du rempart à escalader, de façon à fixer l'engin (voy. le détail R). Les hommes qui étaient chargés d'appuyer sur le treuil G s'avançaient à mesure que le pied de l'échelle se rapprochait du point B'. Ces sortes d'échelles étaient assez larges pour que trois hommes pussent monter de front à l'assaut. Solidement amarrées à leur pied, maintenues vers le milieu par les deux étais à pivot, accrochées à leur sommet aux parapets, il fallait des moyens puissants pour déranger ces échelles. D'ailleurs, pendant cette manoeuvre et pendant l'assaut, les assiégeants couvraient les remparts d'une nuée de projectiles, et on avait le soin d'entourer l'engin de grands mantelets de claies. On se servait aussi d'échelles qui se montaient par pièces, qui s'emboutissaient et pouvaient ainsi être apportées facilement au pied des remparts pour être dressées en peu de temps. Les ouvrages des XVe et XVIe siècles sur l'art militaire sont remplis de modèles d'engins de guerre et notamment de diverses inventions d'échelles qu'il serait impossible de mettre en pratique; aussi n'en parlerons-nous pas ici, d'autant que dans les siéges où les échelades sont employées, comme sous Charles V, par exemple, et pendant la guerre de l'indépendance, les armées assiégeantes ne paraissent s'être servies que d'échelles ordinaires pour escalader les remparts. La question, alors comme aujourd'hui, était d'apporter un assez grand nombre d'échelles, et assez promptement pour déconcerter les défenseurs et leur ôter la possibilité de les renverser toutes à la fois.
Engins défensifs.--Les seuls engins défensifs employés pendant le moyen âge sont les mantelets. Les Romains s'en servaient toujours dans les siéges et les formaient de claies posées en demi-cercle et montées sur trois roues (34), ou encore de panneaux assemblés à angle droit, également montés sur trois roues (35).

Pendant le moyen âge, on conserva ces usages, qui s'étaient perpétués dans les armées. Les archers et arbalétriers qui étaient chargés de tirer sans cesse contre les créneaux d'un rempart attaqué pendant le travail des mineurs ou la manoeuvre des engingneurs occupés à faire avancer les beffrois, les chats et les échelles, se couvraient de mantelets légers tels que ceux représentés dans les fig. 36 et 37.

Ces tirailleurs devaient sans cesse changer de place, pour éviter les projectiles des assiégés; il était nécessaire que les mantelets leur servant d'abri fussent facilement transportables. Nous donnons, dans l'article SIÉGE, les dispositions d'ensemble de ces moyens d'attaque et de défense. Avant nous, un auteur illustre 402 avait reconnu la valeur de ces engins de guerre du moyen âge et combien peu jusqu'alors ils avaient été étudiés et appréciés; nous devons à la vérité de dire que ces premiers travaux nous ont mis sur la voie des quelques aperçus nouveaux présentés dans cet article. Mais l'art de la guerre au moyen âge mériterait un livre spécial; nous serions heureux de voir ce côté si peu connu de l'archéologie mis en lumière par un auteur compétent en ces matières.
Note 373: (retour) «Si vous voulez façonner le fort engin qu'on appelle trébuchet, faites ici attention. En voici les sablières comme elles reposent à terre. Voici devant les deux treuils et la corde double avec laquelle on ravale la verge. Voir le pouvez en cette autre page. Il y a grand faix à ravaler, car ce contre-poids est très-pesant; car il se compose d'une huche pleine de terre qui a deux grandes toises de long, sur neuf pieds de large et douze pieds de profondeur. Et au décocher de la flèche (de la cheville), pensez! et vous en donnez garde, car elle doit être maintenue à cette traverse du devant.»
Note 374: (retour) MM. Lassus et Darcel ont traduit windas par ressort; windas ou guindas est employé, en vieux français picard, comme cabestan et comme treuil, comme cylindre autour duquel s'enroule une corde. Perrault, dans sa traduction du chapitre: De balistarum rationibus (Vitruve, L. X, cap. XVI), se sert du mot vindas dans le sens de treuil et non de cabestan; aujourd'hui on dit encore une guinde, en langage de machiniste de théâtre, pour désigner une cordelle s'enroulant sur un cylindre horizontal ou treuil; d'où guinder, qui veut dire, en style de machiniste, appuyer sur le treuil, c'est-à-dire le faire tourner de manière à enrouler la corde soutenant un fardeau. Diego Veano, dans la Vraie instruction de l'artillerie (Francfort, 1615, p. 122, fig. 24), donne un cric qu'il nomme martinet en français, winde en flamand; puis une chèvre à soulever les pièces, qu'il appelle guindal. Windas n'était donc pas, comme le croit M. Willis, un cabestan, d'après l'autorité de La Hire et de Félibien, autorités trop récentes pour être de quelque poids en ces matières. M. Willis, dans l'édition anglaise de Villard de Honnecourt relève avec raison l'erreur commise par les commentateurs français; mais il en conclut, à tort suivant nous, que les windas sont de petits cabestans fixés sur les deux branches antérieures du plan de Villard, branches qui sont évidemment des ressorts que M. Willis gratifie, dans la gravure jointe à son commentaire, d'assemblages omis par Villard; au contraire, notre auteur a le soin de faire voir que les deux branches doubles sont chacune d'un seul morceau, qu'elles sont faites au moyen de fourches naturelles. D'ailleurs les deux treuils horizontaux, windas, mentionnés et tracés par Villard, rendent la fonction des cabestans inutile, et une corde s'enroulant autour d'un cabestan ne saurait préalablement faire le tour d'un treuil horizontal, car alors le cabestan ne pourrait fonctionner à cause de la résistance de frottement qu'offrirait le câble enroulé sur le treuil. M. Willis aurait dû supposer des poulies et non des treuils; mais le dessin de Villard n'indique des poulies qu'à l'extrémité des ressorts. Les commentateurs français de Villard de Honnecourt ont donc, nous semble-t-il, compris la fonction des deux ressorts indépendante de celle des deux treuils horizontaux; ces ressorts étaient fort utiles pour forcer la verge à quitter la ligne verticale, au moment où les tendeurs commençaient à abattre son sommet; car, contrairement à ce que dit M. Willis, l'effort le plus grand devait avoir lieu lorsque la corde de tirage faisait un angle aigu avec la verge: c'était alors que l'aide des ressorts était vraiment utile. Du reste, nos figures expliquent l'action du mécanisme. Quant à l'arrêt ou la fiche verticale que M. Willis croit être le moyen propre à arrêter la verge lorsqu'elle est abattue, nous dirons d'abord que Villard indique cette fiche sur plan horizontal, puis que cette fiche est trop loin du plan d'abattage de la verge pour pouvoir la maintenir. Ce moyen n'aurait rien de pratique; cette fiche serait arrachée; comment serait-elle maintenue à la sablière? comment ne serait-elle pas attirée en dehors de la verticale par l'effort de la verge? Cette barre indiquée dans le plan de Villard nous semble un des leviers du premier treuil, muni peut-être d'un anneau à son extrémité pour passer une corde, de manière à faciliter l'abattage.
Note 375: (retour) MM. Lassus et Darcel supposent qu'il est ici question d'une flèche propre à être lancée; le trébuchet ne lance pas de flèches, mais bien des pierres, c'est-à-dire des projectiles à toute volée. M. Mérimée a relevé cette erreur et prétend que la fleke doit être prise pour la verge de l'engin. L'opinion de M. Willis nous paraît préférable: il prétend que la flèche doit s'entendre ici comme verrou fermé, shot; que le mot fleke se rapporte à la cheville qui maintient la corde de tirage à l'extrémité de la verge, cheville que le maître de l'engin fait sauter d'un coup de maillet. C'est le mot anglais click qui correspond au mot français déclic. Si le mot fleke s'entendait pour un projectile, le texte de Villard n'aurait pas de sens, tandis que notre auteur a parfaitement raison de recommander aux servants de l'engin de prendre garde à eux au descocier de la fleke, c'est-à-dire de la cheville qui arrête la verge à l'estançon antérieur; car s'ils ne s'éloignaient pas, ils pourraient être tués d'un revers de la fronde au moment où la verge décrit son arc de cercle (voy. les fig. 9, 10 et 12). Nous n'avons pas la prétention d'avoir complétement interprété le trébuchet de Villard, mais nous nous sommes efforcé de rendre son jeu possible; généralement, lorsqu'il s'agit de figurer ces anciens engins de guerre, on n'apporte pas dans les détails le scrupule du praticien obligé de mettre à exécution le programme donné. De tous ces engins figurés, nous n'en connaissons aucun qui puisse fonctionner; nous avons pensé qu'il était bon une fois de les tracer comme s'il nous fallait les faire exécuter devant nous et nous en servir.
Note 376: (retour) On peut encore constater l'importance de la construction de ces engins en consultant les anciens comptes et inventaires de forteresses. Quand, en 1428, on détruisit l'engin établi sur la tour de Saint-Paul à Orléans, pour le remplacer par une bombarde, la charpente de cette machine de guerre, qui était ou un trébuchet ou un mangonneau, remplit vingt-six voitures qui furent conduites à la chambre de la ville. (Jollois, Histoire du siége d'Orléans, ch. I. Paris, 1833.)
Note 381: (retour) «Trois foiz nous getèrent le feu gregois, celi soir, et le nous lancèrent quatre foiz à l'arbalestre à tour.» Joinville, Hist. de saint Louis. «Les frères le roi gaitoient les chas-chastiaus en haut (c'est-à-dire qu'ils étaient de service au sommet des beffrois) pour traire aus Sarrazins des arbalestres de quarriaus qui aloient parmi l'ost aus Sarrazins.»
Note 382: (retour) Voy. le journal du siége, p. 21. Il était d'usage de donner des noms aux engins pendant le moyen âge, comme de nos jours on donne des noms aux canonnières de la marine. Jusqu'au XVIe siècle, les bouches à feu avaient chacune leur nom; peut-être avaient-elles des parrains comme les cloches.
Note 384: (retour) On voit, dans les comptes de forteresses de la ville d'Orléans, qu'un habile «ouvrier, nommé Naudin-Bouchart, fondit, pendant le siége, un canon très-beau et très-long pour jeter des boulets, de dessus le pont, dans l'île de Charlemagne, aux Anglais qui traversaient la Loire pour passer de cette île au champ de Saint-Pryvé où ils avaient une bastille.» Du vieux pont au milieu de l'île Charlemagne il y avait quinze cents mètres; les bombardes et canons ne pouvaient alors porter à une aussi grande distance; le canon de Naudin-Bouchart fut une innovation.
Note 388: (retour) Le nom de boîte que l'on donne aux pétards tirés dans les fêtes vient de là. Lors des réjouissances publiques, au lieu de charger, comme aujourd'hui, des pièces d'artillerie avec des gargousses de poudre sans balle, on se contentait de charger les boîtes des bouches à feu et de bourrer la poudre avec des tampons de bois enfoncés à coups de marteau. On trouvait encore, au commencement du siècle, dans la plupart de nos vieilles villes, de ces boîtes anciennes qui avaient été réservées pour cet usage.
Note 390: (retour) Au siége du château de Pouques, en 1453, où fut tué Jacques De Lalain, lui et d'autres seigneurs «alèrent visiter l'artillerie, et une bombarde nommée la Bergère, qui moult bien faisoit la besongne; et se tenoyent pavesés et couverts du mantel de celle bombarde...» Mém. d'Olivier de la Marche, ch. XXVII. «Et avoient (les Gantois) bannières, charrois, pavois, couleuvrines et artillerie (bataille de Berselle).» Chron. de J. De Lalain. «... et allèrent (les Gantois) tout droit devant la ville de Hulst, menants grant nombre de charrois, artillerie, tant de canons, coulenvrines, pavois et autres choses appartenants à ladicte artillerie (siége de Hulst)...» Ibid.
Note 392: (retour) «À ce propoz, de prendre chasteaulx, dit encore ledit livre, comment, par aucuns engins fais de merrien, que l'en peut mener jusques aux murs, l'en peut prendre le lieu assailly: l'en fait un engin de merrien, que l'en appelle mouton, et est comme une maison, faite de merrien, qui est couverte de cuirs crus, affin que feu n'y puisse prendre, et devant celle maison a un grant tref, lequel a le bout couvert, de fer, et le lieve l'en à chayennes et à cordes, par quoy ceulz qui sont dedens la maison puent embatre le tref jusques aux murs, et le retrait-on en arrière quant on veult, en manière d'un mouton qui se recule quant il veut férir, et pour ce est-il appellez mouton... Assez d'autres manières sont pour grever ceuls de dehors, mais contre l'engin que on appelle mouton, on fait un autre que on appelle loup; ceulx du chastel font un fer courbe, à très fors dens agus, et le lie-l'en à cordes, par quoy ilz prennent le tref, qui est appellé mouton; adont, quant il est pris, ou ilz le trayent du tout amont, ou ilz le lient si hault que il ne peut plus nuire aux murs du chastel.» (Christ. de Pisan, le Liv. des fais et bonnes meurs du sage roy Charles, ch. XXXV et XXXVII.)
Note 394: (retour) «Item, un autre engin on fait, qui est appellé vigne; et cel engin fait-on de bons ays et de merrien fort, affin que pierre d'engin ne le puisse brisier, et le cueuvre l'en de cuir cru que feu n'i puist prendre; et est cel engin de huit piez de lé et seize de long, et de tel hauteu que pluseurs hommes y puist entrer, et le doit l'en garder et mener jusques aux murs, et ceuls qui sont dedens foyssent les murs du chastel; et est moult prouffitable, quant on le peut approchier des murs.» (Christ. de Pisan, ch. XXXV.)
ENRAYURE, s. f. Assemblage de pièces de bois horizontales sur lesquelles reposent les charpentes et qui maintiennent leur écartement. Une charpente peut avoir plusieurs enrayures étagées: ce sont alors autant de plates-formes, de repos, qui permettent d'adopter une nouvelle combinaison et qui relient tout le système. Les flèches en charpente, par exemple, possèdent plusieurs enrayures (voy. CHARPENTE, FLÈCHE).
ENTRAIT, s. m. C'est la pièce de bois horizontale qui sert de base au triangle formé par une ferme de comble, et qui arrête l'écartement des arbalétriers. L'entrait peut être suspendu par le poinçon et par des clefs pendantes (1). A est un entrait (voy. CHARPENTE).

ENTRÉE, s. f. C'est le nom que l'on donne au passage de la clef dans une boîte de serrure; on dit l'entrée d'une serrure, pour dire l'ouverture par laquelle on introduit la clef (voy. SERRURE).
ENTRELACS, s. m. Ne s'emploie qu'au pluriel. On désigne ainsi certains ornements particulièrement adoptés pendant l'époque romane. Des rinceaux de tigettes qui s'enchevêtrent, des galons qui forment des dessins variés en passant les uns sur les autres, comme des ouvrages de passementerie, sont des entrelacs en matière de sculpture ou de peinture décorative (voy. PEINTURE, SCULPTURE).
ENTRESOL, s. m. Étage bas pratiqué dans la hauteur d'une ordonnance d'architecture, présentant à l'extérieur l'aspect d'un seul étage. Les entre-sols ont été peu employés dans l'architecture civile du moyen âge, chaque étage séparé par un plancher étant presque toujours indiqué à l'extérieur par un bandeau. Cependant les architectes du moyen âge ne sont pas exclusifs, et si impérieux que soient les principes auxquels ils se soumettent, ils savent concilier les besoins, les programmes, avec les exigences de l'art; ou, pour mieux dire, leur art ne se refuse jamais à l'expression vraie d'un besoin. Il arrivait, par exemple, qu'on avait besoin de disposer, près d'une grande salle, de petites pièces ou des galeries de service, auxquelles il n'était pas nécessaire de donner, sous plancher, la hauteur de cette grande salle; ces services étaient alors entresolés. Nous avons donné des exemples de ces dispositions intérieures dans l'article CONSTRUCTION, fig. 119 et 120.
ENTRETOISE, s. f. C'est une pièce de bois qui s'assemble horizontalement dans deux arbalétriers ou dans deux poutres principales d'un plancher. Les fermes d'un comble peuvent recevoir des pannes, lesquelles sont posées sur les arbalétriers et calées par des chantignolles, tandis que les entre-toises sont assemblées à tenon et mortaise dans ces arbalétriers. Dans les planchers en charpente, les entre-toises sont de véritables chevêtres (voy. CHARPENTE, PLANCHER).
ÉPANNELAGE, s. m. C'est la taille préparatoire d'une moulure ou d'un ornement. Aujourd'hui, dans les constructions de pierre de taille, on pose toutes les pierres épannelées seulement; le ravalement se faisant sur le tas, lorsque la construction est élevée. Jusqu'au XVIe siècle, chaque pierre était posée ravalée et même sculptée; aussi les édifices ne risquaient-ils jamais de rester épannelés, comme cela est arrivé souvent depuis. Les Grecs et les Romains posaient les pierres de taille épannelées seulement, et le ravalement se faisait après la pose. On voit encore quelques monuments grecs et beaucoup de constructions romaines qui sont restées épannelés. Le temple de Ségeste en Sicile n'est qu'épannelé. La porte Majeure à Rome, quelques parties du Colysée, l'amphithéâtre de Pola, etc., n'ont jamais été complétement ravalés.
ÉPERON, s. m. On emploie souvent le mot éperon pour contre-fort, bien que le contre-fort et l'éperon ne soient pas choses semblables: le contre-fort est une pile extérieure destinée à renforcer un mur au droit d'une poussée; la dénomination d'éperon ne doit s'appliquer qu'à certains renforts de maçonnerie, angulaires en plan, formant saillie sur la surface cylindrique extérieure des tours de défense, pour éloigner l'assaillant et s'opposer à l'effort des béliers ou au travail des mineurs (voy. ARCHITECTURE MILITAIRE, CONSTRUCTION, PORTE, TOUR). Ces éperons s'appellent aussi des becs.
ÉPI, s. m. On donne le nom d'épi à certaines décorations en
terre
cuite ou en plomb qui enveloppent l'extrémité des poinçons de croupe ou
de pavillon à leur sortie d'un comble. Tout pavillon ou croupe en
charpente doit s'assembler dans un poinçon central vertical, qui ne
saurait être coupé au ras du faîte, puisqu'il faut que les tenons des
arêtiers de croupe ou de pavillon rencontrent une forte résistance
au-dessus des mortaises. A (1) étant un poinçon recevant quatre arêtiers
B, on doit toujours laisser un bout de bois BA au-dessus des tenons pour
que l'assemblage soit solide. La partie BA se trouve ainsi dépasser la
couverture, et il est nécessaire de la revêtir. Si le comble est couvert
en tuiles, le revêtement BA du bout du poinçon est en terre cuite; si le
comble est couvert en ardoise ou en plomb, l'enveloppe de l'extrémité du
poinçon est également faite en plomb, car on ne saurait mettre du plomb
sur de la tuile, pas plus qu'il ne convient de poser de la terre cuite
sur de l'ardoise ou du plomb. Les architectes du moyen âge se plaisaient
à décorer avec luxe ces bouts sortants des poinçons de pavillons et de
croupes qui se détachaient sur le ciel et prenaient ainsi beaucoup
d'importance. Ils ne faisaient d'ailleurs, en ceci, que suivre une
tradition antique, car les Romains et les Grecs avant eux avaient grand
soin de couronner les combles de leurs édifices par des ornements en
terre cuite ou en métal qui se découpaient sur le ciel; et en cela,
comme en beaucoup d'autres choses, les prétendues imitations de
l'architecture antique tentées depuis le XVIIe siècle s'éloignent un peu
des modèles que l'on croyait suivre.
Les épis de l'époque romane ne se sont pas conservés jusqu'à nos jours.
Ces accessoires sont fragiles, fort exposés aux intempéries de
l'atmosphère, et ont été détruits depuis longtemps avec les charpentes
qui les portaient. À peine, dans les bas-reliefs ou les manuscrits,
peut-on trouver la trace de ces décorations avant le XIIIe siècle, et
les premiers temps du moyen âge ne nous ont pas laissé sur leurs
édifices ces médailles qui nous donnent des renseignements précieux
touchant l'aspect extérieur des monuments romains.
Il faut distinguer d'abord les épis en terre cuite des épis en plomb. Les plus anciens épis en terre cuite sont figurés dans des bas-reliefs du XIIIe siècle; nous n'en connaissons pas qui soient antérieurs à cette époque; ils paraissent être composés de plusieurs pièces s'emboîtant les unes dans les autres, terminées par un chapeau. Voici (2) quelle est la forme la plus habituelle des épis de cette époque. Ils figurent ordinairement une colonnette avec son chapiteau couvert d'un cône. Le profil AB indique les diverses pièces dont se compose l'épi enveloppant le bout du poinçon. La pièce inférieure C est une dernière faîtière recouvrant les tuiles extrêmes de la coupe du comble.
À mesure que l'architecture devenait plus riche et que les couronnements des édifices se découpaient davantage, il fallait nécessairement donner plus d'importance à ces détails se détachant en silhouette sur le ciel. Il existe encore quelques fragments d'épis en terre cuite, du commencement du XIIIe siècle, dans les contrées où cette matière était employée par des mains exercées. Troyes est une des villes de France où les fabriques de terres cuites étaient particulièrement florissantes pendant le moyen âge; elle possédait, il y a peu d'années, un grand nombre d'épis fort beaux en terre vernissée qui, la plupart, ont été détruits ou déplacés. M. Valtat, sculpteur à Troyes, a recueilli l'un des plus remarquables spécimens de cette décoration de combles.

C'est une pièce (3) qui n'a pas moins de 0,75 c. de hauteur, d'un seul morceau, et qui était terminée par une forte tige en fer recevant probablement une girouette. Le soubassement AB manque, et nous l'avons restauré ici pour compléter cette décoration. Sur un bout de fût s'épanouit un chapiteau feuillu portant un édicule circulaire terminé par cinq gâbles et un cône percé à son sommet. Le tout est vernissé au plomb, vert et jaune, et les petites ouvertures simulant des fenêtres sont percées vivement au moyen d'un outil tranchant. Il est facile de voir que cette poterie a été modelée à la main, car elle présente beaucoup d'irrégularités; le travail est grossier, et c'est par la composition et le style, mais non par l'exécution, que se recommande notre exemple. La tige de fer s'emmanchait simplement à l'extrémité du poinçon en charpente, ainsi que l'indique la coupe D. C'était là un objet vulgaire; on ne peut en douter, lorsqu'on voit à Troyes et dans les environs la quantité de débris de poteries de ce genre qui existent encore sur les combles des maisons ou des édifices. La céramique est un art en retard sur les autres; les fabriques continuaient des traditions qui n'étaient plus en harmonie souvent avec le siècle; c'est ce qui explique l'apparence romane de cet épi, auquel cependant on ne peut assigner une date antérieure à 1220. Un certain nombre de ces objets pouvaient d'ailleurs rester plusieurs années dans une fabrique avant d'être vendus, et ce n'était qu'à la longue que les potiers se décidaient à modifier leurs modèles. Ces colonnettes portant des édicules furent très-longtemps admises pour la décoration des poinçons; cependant, vers la fin du XIIIe siècle ou le commencement du XIVe, ce type était trop en désaccord avec les formes de l'architecture de cette époque: on en vint aux pinacles de terre cuite pour couronner les croupes ou pavillons couverts en tuiles.

On voit, dans le musée de l'évêché de Troyes, un de ces épis provenant de l'ancien hôtel de ville (4); nous croyons qu'il a pu être fabriqué vers le milieu du XIVe siècle: il est carré en plan, décoré de petites baies seulement renfoncées et remplies d'un vernis brun, de quatre gâbles et d'une pyramide à quatre pans. Le fleuron supérieur est brisé et la pièce C du bas manque, c'est-à-dire que la partie existante est celle comprise entre A et B. Cet épi est vernissé en rouge brun et en jaune, comme les carreaux des XIVe et XVe siècles; il devait se terminer par une broche en fer et une girouette. Son exécution est grossière, sans moules, le tout paraissant monté en terre à la main; mais il faut reconnaître qu'à la hauteur à laquelle ces objets étaient placés, il n'était pas besoin d'une exécution soignée pour produire de l'effet. On allait chercher ces épis en fabrique, comme aujourd'hui on va chercher des pots à fleurs et toutes les poteries ordinaires, et on les employait tels quels. Bientôt ces formes parurent trop rigides, pas assez découpées; les pinacles en pierre se couvraient de crochets saillants, les faîtages des combles se fleuronnaient; on donna aux épis de terre cuite une apparence moins architectonique et plus libre; on voulut y trouver des ajours, des saillies prononcées; on fit leur tige principale plus grêle; elle n'enveloppa plus le bout du poinçon en bois, mais une broche de fer.
L'emploi de la tuile était moins fréquent cependant, celle-ci étant remplacée par le métal ou l'ardoise; les poinçons en terre cuite devenaient par conséquent moins communs.
Nous avons dessiné à Villeneuve-l'Archevêque, il y a plusieurs années, un poinçon en terre cuite, sur une maison qui datait du XVe siècle; il était composé de trois pièces (5), complétement vernissé d'émail brun; les joints étaient en A et B; la tige de fer, qui maintenait la poterie, s'emmanchait sur un moignon du poinçon, ainsi qu'il est indiqué en C.

Le XVIe siècle remplaça les épis en terre cuite vernissée par des épis en faïence, c'est-à-dire en terre émaillée. Les environs de Lizieux en possédaient un grand nombre sortis des fabriques 403; la plupart de ces objets ont été achetés par des marchands de curiosités qui les vendent aux amateurs comme des faïences de Palissy, et il faut aujourd'hui aller plus loin pour rencontrer encore quelques-uns de ces épis en faïence de la Renaissance, si communs il y a vingt ans. L'un des plus remarquables parmi ces produits de l'industrie normande se trouve au château de Saint-Christophe-le-Jajolet (Orne). Nous en donnons ici (6) une copie 404. Cet épi en faïence se compose de quatre pièces dont les joints sont en A, B, C. Le tout est enfilé par une broche de fer. Le socle est jaune moucheté de brun, le vase est bleu clair avec ornements jaunes et têtes naturelles, les fleurs sont blanches avec feuilles vertes et graines jaunes, le culot est blanc, la boule jaune bistre et l'oiseau blanc tacheté de brun.
Les fabriques de faïences de Rouen, de Beauvais, de Nevers, fournissaient ces objets de décoration extérieure à toutes les provinces environnantes; malheureusement l'incurie, l'amour de la nouveauté, la mode des combles dépourvus de toute décoration les ont fait disparaître, et les musées de ces villes n'ont pas su même en sauver quelques débris. Les idées nouvelles qui, au XVIe siècle, tendaient à enlever à notre architecture nationale son originalité, détruisaient peu à peu cette fabrication provinciale, prospère encore au XVIe siècle. L'art du potier résista plus longtemps que tout autre à cette triste influence, et sous Louis XIII on continuait à fabriquer des faîtières, des épis en terre émaillée ou vernissée, pour décorer les combles des habitations privées. Le musée de la cathédrale de Sées possède un épi de cette époque qui, tout barbare qu'il est, conserve quelques restes de ces traditions du moyen âge; c'est pourquoi nous en présentons ici (7) une copie. Cet épi est complétement passé au vernis brun verdâtre.

Le plomb se prêtait beaucoup mieux que la terre cuite à l'exécution de ces décorations supérieures des toits; aussi l'employait-on pour faire des épis sur les combles, toutes les fois que ceux-ci étaient couverts en métal ou en ardoise. Au XIIe siècle, et avant cette époque, on n'employait guère, pour les couvertures des combles, que la tuile et, exceptionnellement, le plomb; l'ardoise n'était en usage que dans les contrées où le schiste est abondant (voy. ARDOISE, PLOMBERIE, TUILE). Ce n'était donc que sur des monuments construits avec luxe que l'on pouvait poser des épis en plomb, et, les couvertures en métal posées avant le XIIIe siècle n'existant plus, il nous serait difficile de donner des exemples d'épis antérieurs à cette époque. L'épi le plus ancien que nous ayons vu et dessiné se trouvait sur les combles de la cathédrale de Chartres 405; il était placé à l'intersection du bras de croix, et pouvait avoir environ 2m,50 de hauteur. C'était un bel ouvrage de plomberie repoussée, mais fort délabré (8). Son fleuron se divisait en quatre folioles avec quatre boutons intermédiaires. Une large bague ornée de grosses perles lui servait de base. Il est à croire que son âme était une tige de fer enfourchée dans la tête du poinçon de bois.

Vers la fin du XIIIe siècle, les couvertures en ardoises devinrent très-communes et remplacèrent presque partout la tuile, à laquelle cependant la Bourgogne, l'Auvergne, le Lyonnais et la Provence restèrent fidèles. Les faîtages et les épis en plomb devinrent ainsi plus communs. Nous en possédons encore un assez grand nombre d'exemples qui datent du XIVe siècle. Il existe un de ces épis sur le bâtiment situé derrière l'abside de la cathédrale de Laon. En voici un autre (9) qui couronne la tourelle d'escalier de la salle dite des Machabées, dépendante de la cathédrale d'Amiens. Cet épi est fait entièrement au repoussé et modelé avec une extrême recherche; il date de l'époque de la construction de la salle, c'est-à-dire de 1330 environ. En A, nous présentons la section de la tige sur a b et le plan de la bague faite de deux coquilles soudées. L'épi est maintenu par une tige de fer attachée à la tête du poinçon de charpente.


Sur le pignon nord du transsept de la cathédrale d'Amiens, on voit encore un très-bel épi en plomb, à deux rangs de feuilles, qui date de la fin du XIVe siècle ou commencement du XVe. Cet épi couronne un pan-de-bois qui remplace, depuis cette époque, le gâble en pierre. Beaucoup trop délicat pour la hauteur à laquelle il est placé, il conviendrait mieux au couronnement d'un comble de château. Nous en donnons (10) la reproduction; chaque bouquet se compose de trois feuilles très-découpées, vivement modelées au repoussé, et formant en plan deux triangles équilatéraux se contrariant. Sous la bague sont soudées de petites feuilles en plomb coulé; c'est, en effet, à dater du XVe siècle, que l'on voit la plomberie coulée employée en même temps que la plomberie repoussée. Mais nous traitons cette question en détail dans l'article PLOMBERIE. On voit que les épis de plomb suivent les transformations de l'architecture; à mesure que celle-ci est plus légère, plus refouillée, ces couronnements deviennent plus grêles, laissent plus de jour passer entre leurs ornements, recherchent les détails précieux. Cependant les silhouettes sont toujours heureuses et se découpent sur le ciel de manière à laisser aux masses principales leur importance.

L'Hôtel-Dieu de Beaune, fondé en 1441, conserve encore sur les pignons en pans-de-bois de ses grandes lucarnes, sur ses tourelles et sur les croupes de ses combles, de beaux épis du XVe siècle, terminés par des girouettes armoriées. Ces épis sont partie en plomb repoussé, partie en plomb coulé. Nous donnons ici (11) une copie de l'un d'eux. Les bouquets supérieurs, dont le détail se voit en A, sont en plomb repoussé; les couronnes et dais, détaillés en B et en C, sont formés de bandes coulées dans des creux et soudées à des rondelles circulaires. La souche de l'épi est complétement faite au repoussé, sauf le soleil rapporté, qui est moulé. La Bourgogne était, au XVe siècle, une province riche, puissante, et ses habitants pouvaient se permettre d'orner les combles de leurs hôtels et maisons de belle plomberie, tandis que le nord de la France, ruiné par les guerres de cette époque, ne pouvait se livrer au luxe des constructions privées. Aussi, malgré l'espèce d'acharnement que l'on a mis depuis plus d'un siècle à supprimer les anciens couronnements historiés des combles, reste-t-il encore dans les villes de la Bourgogne quelques exemples oubliés de ces épis du XVe siècle.

À Dijon, il en existe plusieurs sur des maisons particulières, et notamment dans la Petite rue Pouffier (12). En A, nous donnons la moitié du plan du poinçon, dont la souche est un triangle curviligne concave sous la bague. À dater du XIVe siècle, on rencontre assez souvent des bagues d'épis ornées de prismes ou de cylindres qui les pénètrent horizontalement, et qui se terminent par une fleurette ou un quatre-feuilles. Ces sortes de bagues produisent une silhouette assez heureuse. Il ne faut pas oublier de mentionner ici les quelques épis de plomb qui surmontent encore les combles de l'hôtel de Jacques Coeur à Bourges, et dont les souches sont décorées de feuillages en petit relief, de coquilles et de coeurs. Souvent les épis de plomb étaient peints et dorés, ce qui ajoutait singulièrement à l'effet qu'ils produisaient au sommet des combles.
L'époque de la Renaissance, qui, en changeant les détails de l'architecture française, en conservait cependant les données générales, surtout dans les habitations privées, ne négligea pas le luxe de la plomberie. Les combles furent, comme précédemment, enrichis de crêtes et d'épis. On en revint alors au plomb repoussé, et on abandonna presque partout les procédés du moulage. Plusieurs châteaux et hôtels de cette époque conservent encore d'assez beaux épis ornés de fruits, de chapiteaux, de feuillages et même de figures, le tout repoussé avec beaucoup d'adresse. Parmi ces épis, on peut citer ceux de l'hôtel du Bourgtheroulde à Rouen, des châteaux d'Amboise, de Chenonceaux, du Palais-de-Justice à Rouen. On en voit de très-beaux, quoique fort mutilés, sur les lucarnes placées à la base de la flèche de la cathédrale d'Amiens, dans les noues.

Nous reproduisons (13) un de ces épis dont les plombs sont repoussés par une main très-habile. Il serait difficile de dire ce que fait Cupidon sur les combles de Notre-Dame d'Amiens, mais cette figure se trouve très-fréquemment répétée à cette époque au sommet des épis. On voit aussi quelques-uns de ces enfants tirant de l'arc, sur des maisons de Rouen élevées au commencement du XVIe siècle. Au sommet du chevet de la chapelle absidale de Notre-Dame de Rouen, il existe un très-bel épi du XVIe siècle, qui représente une sainte Vierge tenant l'Enfant. Comme ouvrage de plomberie, c'est une oeuvre remarquable.
À la fin du XVIe siècle, les épis perdent leur caractère particulier: ils figurent des vases de fleurs, des colonnettes avec chapiteaux, des pots à feu, des chimères attachées à des balustres. À mesure qu'on se rapproche du XVIIe siècle, l'art de la plomberie va s'affaiblissant, bien que sous Louis XIV on ait encore exécuté d'assez beaux ouvrages en ce genre; mais alors ils ne s'appliquent plus qu'aux grands monuments, aux habitations princières: c'est un luxe que ne se permet pas le simple particulier 406 (voy. CRÊTE, GIROUETTE).
ESCALIER, s. m. Degré. Nous distinguerons les escaliers extérieurs (qu'il ne faut pas confondre avec les perrons) des escaliers intérieurs, les escaliers à rampes droites des escaliers à girons et à vis, les escaliers de pierre des escaliers de bois. Dans les édifices romains, les théâtres et amphithéâtres exceptés, les escaliers sont assez étroits et peu nombreux. D'ailleurs les Romains employaient les escaliers à rampes droites et à vis; mais ils ne paraissent pas (du moins dans les intérieurs) avoir jamais considéré l'escalier comme un motif de décoration monumentale, ainsi qu'on l'a fait dans les temps modernes. Les escaliers des édifices antiques sont un besoin satisfait de la manière la plus simple, un moyen pour communiquer d'un étage à l'autre, rien de plus. Nous ne déciderons pas si, en cela, les anciens avaient tort ou raison; nous constatons seulement le fait, afin qu'on ne puisse accuser les architectes des premiers temps du moyen âge d'être restés en cela fort au-dessous de leurs maîtres.
D'ailleurs les architectes du moyen âge, comme les architectes romains, n'eussent jamais établi, dans un bâtiment, un escalier dont les rampes auraient bouché une ordonnance de baies, ainsi que cela se fait volontiers de notre temps, même dans de grands édifices. Les Romains gardaient les dispositions monumentales des escaliers pour les degrés extérieurs à ciel ouvert. À l'intérieur, ils plaçaient toujours les rampes perpendiculairement aux murs de face, afin que les hauteurs des paliers pussent concorder avec les hauteurs des planchers et par conséquent avec l'ordonnance des baies; mais nous reviendrons sur cette question importante.
Pour peu qu'on se soit occupé de distributions intérieures, on sait combien il est difficile de disposer convenablement les escaliers, soit pour satisfaire aux programmes, soit pour ne pas gêner des dispositions architectoniques extérieures ou intérieures. Les anciens ne soulevaient pas la difficulté; c'était un moyen de ne pas avoir besoin de la résoudre.

L'escalier romain le plus ordinaire est ainsi disposé (1). Il se compose de deux rampes séparées par un mur de refend, la première arrivant à un palier d'entresol A, la seconde au palier de premier étage B, et ainsi de suite. Les marches sont alors portées sur les voûtes rampantes, si les degrés sont très-larges, ou simplement engagées par les deux bouts dans les murs, si ces degrés sont étroits. C'est ainsi que sont conçus et exécutés les escaliers des thermes, des théâtres et amphithéâtres romains. On ne chercha pas d'autre système d'escalier dans les premiers monuments du moyen âge. Mais il est facile de voir que ces doubles rampes conduisaient toujours au-dessus du point dont on était parti, ce qui pouvait, dans bien des cas, ne pas s'arranger avec les distributions; on eut donc recours à l'escalier à vis ou en limaçon, qui présente cet avantage de faire monter dans un petit espace et de donner accès sur tous les points de la circonférence du cylindre dans lequel s'élèvent ces sortes de degrés. Ces premiers principes posés, nous nous occuperons d'abord des escaliers à rampes droites, extérieurs, découverts ou couverts.
Escaliers extérieurs.--Bien qu'on ne fasse plus guère aujourd'hui de ces sortes d'escaliers, il faut reconnaître qu'ils étaient fort commodes, en ce qu'ils ne gênaient en rien les dispositions intérieures et ne coupaient pas les bâtiments du haut en bas, en interceptant ainsi les communications principales. L'un des plus anciens et des plus beaux escaliers ainsi disposés se voit encore dans l'enceinte des bâtiments de la cathédrale de Canterbury. Cet escalier, bâti au XIIe siècle, est situé près de l'entrée principale et conduisait à la salle de réception (salle de l'étranger); il se compose d'une large rampe perpendiculaire à l'entrée de la salle, avec palier supérieur; il est couvert, et le comble, dont les sablières sont horizontales, est supporté par une double arcature à jour fort riche, dont les colonnes diminuent suivant l'élévation des degrés 407.
La plupart des grand'salles des châteaux étaient situées au premier étage, et on y montait soit par de larges perrons, soit par des rampes droites couvertes, accolées ou perpendiculaires à ces salles.
La grand'salle du château de Montargis, qui datait de la seconde moitié du XIIIe siècle, possédait un escalier à trois rampes avec galerie de communication portée sur des arcs (voy. CHÂTEAU, fig. 15). Cet escalier était disposé de telle façon que, de la grand'salle A (voy. le plan fig. 2), on pouvait descendre sur l'aire de la cour par les trois degrés BCD.

Il était couvert par des combles en bois posant sur des colonnes et piliers en pierre 408. On appelait, dans les palais, ces sortes d'escaliers le degré, par excellence. La rampe avait nom épuiement 409:
«El palès vint, l'épuiement
De sanc le truva tut sanglant.»
Les couvertures de ces rampes droites étaient ou en bois, comme à Canterbury et à Montargis, ou voûtées, comme, beaucoup plus tard, à la Chambre des comptes et à la Sainte-Chapelle de Paris. Ces deux derniers degrés montaient le long du bâtiment. Celui de la Chambre des comptes, élevée sous Louis XII, était un chef-d'oeuvre d'élégance; il aboutissait à une loge A s'ouvrant sur les appartements (fig. 3, voy. le plan).

Cette loge et le porche B étaient voûtés; la rampe était couverte par un lambris. Sur la face du porche, on voyait, en bas-relief, un écu couronné aux armes de France, ayant pour supports deux cerfs ailés, la couronne passée au cou et le tabar du héraut d'armes de France déployé au dos. Sous l'écu, un porc-épic surmonté d'une couronne, avec cette légende au bas:
«Regia Francorum probitas Ludovicus, honesti
Cultor, et æthereæ religionis apex.»
Le tout sur un semis de fleurs de lis et de dauphins couronnés. Le semis de fleurs de lis était sculpté aussi sur les tympans des arcs et sur les pilastres. La balustrade pleine présentait, en bas-relief, des L passant à travers des couronnes, puis des dauphins 410.
Pour monter sur les chemins de ronde des fortifications, on établissait, dès le XIIe siècle, de longues rampes droites le long des courtilles, avec parapet au sommet. Les marches reposaient alors sur des arcs et se profilaient toujours à l'extérieur, ce qui permettait de donner plus de largeur à l'emmarchement et produisait un fort bon effet, en indiquant bien clairement la destination de ces rampes, fort longues, si les chemins de ronde dominaient de beaucoup le sol intérieur de la ville.

À Aigues-Mortes, à Avignon, à Villeneuve-lès-Avignon, à Jérusalem, à Beaucaire, à Carcassonne, on voit encore quantité de ces escaliers extérieurs découverts qui ont un aspect très-monumental (4) 411. Mais il arrivait souvent que, faute de place, ou pour éviter la construction de ces arcs, ou lorsqu'il fallait monter, le long d'un rempart très-élevé, au sommet d'une tour carrée, on posait les marches des escaliers découverts en encorbellement. Afin de donner à ces marches une saillie suffisante pour permettre à deux personnes de se croiser et une parfaite solidité, les architectes obtenaient la saillie voulue par un procédé de construction fort ingénieux.

Chaque marche était taillée ainsi que l'indique le tracé A (5), la partie B étant destinée à être engagée dans la muraille. Posant ces marches, ainsi combinées, les unes sur les autres, de manière à ce que le point C vînt tomber sur le point D, elles étaient toujours portées par une suite de retraites présentant un encorbellement des plus solides, ainsi que le font voir le tracé perspectif G, l'élévation H et le profil K. On voit encore un de ces escaliers, parfaitement exécuté, à l'intérieur de la tour dite d'Orange, à Carpentras (commencement du XIVe siècle). Ordinairement, il faut, pour qu'un escalier soit facilement praticable, que chaque marche ait en largeur la longueur d'un pied d'homme, soit 0,28 c. à 0,30 c., et en hauteur de 0,15 c. à 0,20 c. au plus, ce qui donne une inclinaison de 22 degrés ou environ. Mais, parfois, la place manque pour obtenir une pente aussi douce, et on est obligé, surtout dans les ouvrages de fortifications, de monter suivant un angle de 45 degrés, ce qui donne des marches aussi larges que hautes et ce qui rend l'ascension dangereuse ou fort pénible. En pareil cas, les constructeurs, observant avec raison que l'on ne met jamais qu'un pied à la fois sur chaque marche, soit pour monter, soit pour descendre, et que par conséquent il est inutile qu'une marche ait la largeur nécessaire à la pose du pied dans toute sa longueur, ces constructeurs, disons-nous, ont disposé leurs marches en coins, ainsi que l'indique la fig. 6, de manière à ce que deux marches eussent ensemble 0,30 c. de hauteur et chacune 0,30 c. d'emmarchement par un bout, ce qui permettait d'inscrire la rampe dans un angle de 45 degrés.

Seulement il fallait toujours poser le pied gauche sur la marche A, le pied droit sur la marche B en descendant, ou le contraire en montant. Le tracé perspectif C fait comprendre le système de ces degrés 412. On le reconnaîtra, ce n'est jamais la subtilité qui fait défaut à nos architectes du moyen âge. Mais ces derniers exemples ne fournissent que des escaliers de service.
Escaliers intérieurs.--C'est-à-dire, desservant plusieurs étages d'un bâtiment, posés dans des cages comprises dans les constructions ou accolées à ces constructions. Les escaliers à vis, comme nous l'avons dit précédemment, furent employés par les Romains; les architectes du moyen âge adoptèrent ce système de préférence à tout autre, variant les dimensions des escaliers à noyau en raison des services auxquels ils devaient satisfaire. Ces sortes d'escaliers présentaient plusieurs avantages qu'il est important de signaler: 1º ils pouvaient être englobés dans les constructions ou n'y tenir que par un faible segment; 2º ils prenaient peu de place; 3º ils permettaient d'ouvrir des portes sur tous les points de leur circonférence et à toutes hauteurs; 4º ils s'éclairaient aisément; 5º ils étaient d'une construction simple et facile à exécuter; 6º ils devenaient doux ou rapides à volonté; 7º pour les châteaux, les tours, ils étaient barricadés en un moment; 8º ils montaient de fond jusqu'à des hauteurs considérables sans nuire à la solidité des constructions voisines; 9º ils étaient facilement réparables.
Les plus anciens escaliers à vis du moyen âge se composent d'un noyau en pierre de taille, d'une construction en tour ronde, d'un berceau en spirale bâti en moellon, reposant sur le noyau et sur le parement circulaire intérieur. Cette voûte porte des marches en pierre dont les arêtes sont posées suivant les rayons d'un cercle.

La fig. 7 représente en plan et en coupe, suivant la ligne AB du plan, un de ces escaliers si fréquents dans les édifices des XIe et XIIe siècles. La porte extérieure de l'escalier étant en D, la première marche est en C. Ces marches sont posées sur un massif jusqu'au parement G; à partir de ce point commence la voûte spirale que l'on voit figurée en coupe. Les tambours du noyau portent un petit épaulement H pour recevoir les sommiers du berceau qui, de l'autre part, sont entaillés dans le mur circulaire I. Les marches sont posées sur l'extrados du berceau rampant et se composent de pierres d'un ou de plusieurs morceaux chacune. Généralement ces voûtes rampantes sont assez grossièrement faites en petits moellons maçonnés sur couchis. Les voûtes des escaliers du choeur de l'église abbatiale d'Eu, qui datent du XIIe siècle, sont cependant exécutées avec une grande précision; mais les Normands étaient dès lors de très-soigneux appareilleurs.

Voici, fig. 8, comme sont taillés les tambours du noyau qui reçoivent les sommiers du berceau rampant; il arrive aussi que les portées de la voûte sont fréquemment entaillées dans le noyau cylindrique, ce qui affaiblit beaucoup celui-ci. Ces sortes d'escaliers ne dépassent guère 1m,00 c. d'emmarchement, et souvent sont-ils moins larges, les cages cylindriques n'ayant que six pieds, ou 1m,90 c. environ, dont déduisant le noyau, qui dans ces sortes d'escaliers a au moins un pied de diamètre, reste pour les marches 0,80 c. au plus. On reconnut bientôt que les voûtes rampantes pouvaient être supprimées; lorsqu'au commencement du XIIIe siècle on exploita les pierres en plus grands morceaux qu'on ne l'avait fait jusqu'alors, on trouva plus simple de faire porter à chaque marche un morceau du noyau, de les faire mordre quelque peu l'une sur l'autre, et de leur ménager une portée entaillée de quelques centimètres le long du parement cylindrique de la cage. Ce procédé évitait les cintres, les couchis, une main-d'oeuvre assez longue sur le tas; il avait encore l'avantage de relier le noyau avec la cage par toutes ces marches qui formaient autant d'étrésillons. Ces marches pouvant être taillées à l'avance, sur un même tracé, un escalier était posé très-rapidement. Or, il ne faut pas perdre de vue que parmi tant d'innovations introduites dans l'art de bâtir par les architectes laïques de la fin du XIIe siècle, la nécessité d'arriver promptement à un résultât, de bâtir vite en un mot, était un des besoins les plus manifestes.

La fig. 9 donne le plan et la coupe 413 d'un de ces escaliers. La porte extérieure est en A, la première marche en B. Les recouvrements sont indiqués par lignes ponctuées, et le détail C présente une des marches en perspective, avec le recouvrement ponctué de la marche suivante.
Quelquefois, pour faciliter l'échappement, les marches sont chanfreinées par-dessous ainsi qu'on le voit en D. Les dimensions de ces escaliers varient; il en est dont les emmarchements n'ont que 0,50 c.; les plus grands n'ont pas plus de 2m,00, ce qui exigeait des pierres très-longues; aussi, pour faire les marches du grand escalier du Louvre, Charles V avait-il été obligé d'acheter d'anciennes tombes à l'église des Saints-Innocents 414, probablement parce que les carrières de liais de Paris n'avaient pu fournir à la fois un nombre de morceaux de la dimension voulue; en effet cet escalier était très-large; nous y reviendrons. Dans l'intérieur des châteaux les escaliers à vis étaient singulièrement multipliés; en dehors de ceux qui montaient de fond, et qui desservaient tous les étages, il y en avait qui établissaient, dans l'épaisseur des murs, une communication entre deux étages seulement, et qui n'étaient fréquentés que par les personnes qui occupaient ces appartements superposés. À propos de la domination que la reine Blanche de Castille avait conservée sur l'esprit de son fils, Joinville raconte: «Que la royne Blanche ne vouloit soufrir à son pooir que son filz feust en la compaingnie sa femme, ne mez que le soir quand il aloit coucher avec li (elle). Les hostiex (logis) là où il plesoit miex à demourer, c'estoit à Pontoise, entre le roy et la royne, pour ce que la chambre le roy estoit desus et la chambre (de la reine) estoit desous. Et avoient ainsi acordé leur besoigne, que il tenoient leur parlement en une viz qui descendoit de l'une chambre en l'autre; et avoient leur besoignes si attirées (convenues d'avance), que quant les huissiers veoient venir la royne en la chambre du roy son filz, il batoient les huis de leur verges, et le roy s'en venoit courant en sa chambre, pour ce que (dans la crainte que) sa mère ne l'i trouvast; et ainsi refesoient les huissiers de la chambre de la royne Marguerite quant la royne Blanche y venoit, pour ce qu'elle (afin qu'elle) y trouvast la royne Marguerite. Une fois estoit le roy de côté la royne sa femme, et estoit (elle) en trop grant péril de mort, pour ce qu'elle estoit bleciée d'un enfant qu'elle avoit eu. Là vint la royne Blanche, et prist son filz par la main et li dist:--Venés-vous-en, vous ne faites riens ci 415.»
Ces escaliers, mettant en communication deux pièces superposées, n'étaient pas pris toujours aux dépens de l'épaisseur des murs; ils étaient visibles en partie, posés dans un angle ou le long des parois de la chambre inférieure, et ajourés sur cette pièce. À ce propos, il est important de se pénétrer des principes qui ont dirigé les architectes du moyen àge dans la construction des escaliers. Ces architectes n'ont jamais vu dans un escalier autre chose qu'un appendice indispensable à tout édifice composé de plusieurs étages, appendice devant être placé de la manière la plus commode pour les services, comme on place une échelle le long d'un bâtiment en construction, là où le besoin s'en fait sentir. L'idée de faire d'un escalier une façon de décoration théâtrale dans l'intérieur d'un palais, de placer cette décoration d'une manière symétrique pour n'arriver souvent qu'à des services secondaires, de prendre une place énorme pour développer des rampes doubles, cette idée n'était jamais entrée dans l'esprit d'un architecte de l'antiquité ou du moyen âge. Un escalier n'était qu'un moyen d'arriver aux étages supérieurs d'une habitation. D'ailleurs les grandes salles des châteaux étaient toujours disposées presque à rez-de-chaussée, c'est-à-dire au-dessus d'un étage bas, le plus souvent voûté, sorte de cave ou de cellier servant de magasins. On arrivait au sol des grandes salles par de larges perrons, comme à celles des palais de Paris et de Poitiers, ou par des rampes extérieures comme à celle du château de Montargis (voy. fig. 2). Les escaliers proprement dits n'étaient donc destinés généralement qu'à desservir les appartements privés. Toute grande réunion, fête, cérémonie ou banquet, se tenait dans la grande salle; il n'y avait pas utilité à établir pour les étages fréquentés par les familiers de larges degrés; l'important était de disposer ces degrés à proximité des pièces auxquelles ils devaient donner accès. C'est ce qui explique la multiplicité et l'exiguïté des escaliers de châteaux jusqu'au XVe siècle. Cependant nous venons de dire qu'au Louvre, Charles V avait déjà fait construire un grand escalier à vis pour monter aux étages supérieurs du palais; mais c'était là une exception; aussi cet escalier passait-il pour une oeuvre à nulle autre pareille. Sauval 416 nous a laissé une description assez étendue de cet escalier, elle mérite que nous la donnions en entier.
«Le grand escalier, ou plutôt la grande vis du Louvre (puisqu'en ce temps-là le nom d'escalier n'était pas connu), cette grande vis, dis-je, fut faite du règne de Charles V, et conduite par Raimond du Temple, maçon ordinaire du roi 417. Or, il faut savoir que les architectes des siècles passés ne faisoient point leurs escaliers ni droits, ni quarrés, ni à deux, ni à trois, ni à quatre banchées, comme n'ayant point encore été inventés 418, mais les tournoient toujours en rond, et proportionnoient du mieux qu'il leur étoit possible leur grandeur et leur petitesse à la petitesse et à la grandeur des maisons 419. La grande vis de ce palais étoit toute de pierre de taille ainsi que le reste du bâtiment, et de même que les autres de ce temps-là: elle étoit terminée d'une autre (vis) fort petite, toute de pierre encore et de pareille figure, qui conduisoit à une terrasse, dont on l'avoit couronnée (dont on avait couronné la grande vis); chaque marche de la petite (vis) portoit trois pieds de long et un et demi de large; et pour celles de la grande, elles avoient sept pieds de longueur sur un demi d'épaisseur, avec deux et demi de giron près de la coquille qui l'environnoit.»
«On voit, dans les registres de la Chambre des comptes, qu'elles portoient ensemble dix toises un demi-pied de hauteur 420, que la grande (vis) consistoit en quatre-vingt-trois marches 421, et la petite en quarante et une 422; elles furent faites à l'ordinaire de la pierre qu'on tira des carrières d'autour de Paris. Et comme si pour les faire, ces carrières eussent été épuisées, pour l'achever on fut obligé d'avoir recours au cimetière Saint-Innocent, et troubler le repos des morts: de sorte qu'en 1365, Raimond du Temple, conducteur de l'ouvrage, enleva vingt tombes le 27 septembre, qu'il acheta quatorze sols parisis la pièce de Thibault de la Nasse, marguillier de l'église, et enfin les fit tailler par Pierre Anguerrand et Jean Colombel pour servir de pallier.»
«Nous l'avons vu ruiner (cet escalier), en 1600, quand Louis XIII fit reprendre l'édifice du Louvre, sous la conduite d'Antoine Lemercier. Pour le rendre plus visible et plus aisé à trouver, maître Raimond le jeta entièrement hors-d'oeuvre en dedans la cour 423, contre le corps de logis qui regardoit sur le jardin 424; et pour le rendre plus superbe (l'escalier), il l'enrichit par dehors de basses-tailles, et de dix grandes figures de pierre couvertes chacune d'un dais, posées dans une niche, portées sur un piédestal: au premier étage, de côté et d'autre de la porte, étoient deux statues de deux sergens-d'armes, que fit Jean de Saint-Romain 425, et autour de la cage furent répandues par dehors, sans ordre ni symétrie, de haut en bas de la coquille, les figures du roi, de la reine et de leurs enfans mâles 426; Jean du Liége travailla à celles du roi et de la reine; Jean de Launay et Jean de Saint-Romain partagèrent entre eux les statues du duc d'Orléans et du duc d'Anjou; Jacques de Chartres et Gui de Dampmartin, celles des ducs de Berri et de Bourgogne; et ces sculpteurs, pour chaque figure, eurent vingt francs d'or, ou seize livres parisis. Enfin, cette vis étoit terminée des figures de la Vierge et de saint Jean de la façon de Jean de Saint-Romain; et le fronton de la dernière croisée 427 étoit lambrequiné des armes de France, de fleurs de lis sans nombre 428, qui avoient pour support deux anges, et pour cimier un heaume couronné, soutenu aussi par deux anges, et couvert d'un timbre chargé de fleurs de lis par dedans. Un sergent-d'armes haut de trois pieds, et sculpté par Saint-Romain, gardoit chaque porte des appartemens du roi et de la reine qui tenoient à cet escalier; la voûte qui le terminoit étoit garnie de douze branches d'orgues (nervures), et armée dans le chef (à la clef) des armes de Leurs Majestés, et dans les panneaux (remplissages entre les nervures) de celles de leurs enfans 429 et fut travaillée (la sculpture de cette voûte), tant par le même Saint-Romain que par Dampmartin, à raison de trente-deux livres parisis, ou quarante francs d'or.»
Il faut ajouter à cette description que cet escalier communiquait avec la grosse tour du Louvre au moyen d'une galerie qui devait avoir été bâtie de même sous Charles V, car du temps de Philippe-Auguste, le donjon était entièrement isolé. Essayons donc de reconstituer cette partie si intéressante du vieux Louvre, à l'aide de ces renseignements précis et des monuments analogues qui nous restent encore dans des châteaux des XVe et XVIe siècles. La grande vis du Louvre était entièrement détachée du corps de logis du nord, et ne s'y reliait que par une sorte de palier; cela ressort du texte de Sauval; de l'autre côté l'escalier était en communication avec le donjon par une galerie. Cette galerie devait nécessairement former portique à jour, à rez-de-chaussée, pour ne pas intercepter la communication d'un côté de la cour à l'autre. Ménageant donc les espaces nécessaires à l'amorce du portique et de l'entrée dans le corps de logis du nord, tenant compte de la longueur des marches et de leur giron, observant qu'à l'extérieur l'architecte avait pu placer dix grandes statues à rez-de-chaussée dans des niches surmontées de dais, que, par conséquent, ces figures ne pouvaient être posées que sur des faces de contre-forts, tenant compte des douze branches d'arcs de voûtes mentionnées par Sauval, de la longueur et du giron des marches de la petite vis, nous sommes amené à tracer le plan du rez-de-chaussée, fig. 10.

En A est la jonction de l'escalier avec le corps de logis du nord B. En C est le portique portant la galerie de réunion de l'escalier avec le donjon. La première marche est en D. Jusqu'au palier E, tenant compte du giron des marches, on trouve seize degrés. Seize autres degrés conduisaient au second palier posé au-dessus de la voûte F. Seize degrés arrivaient au troisième palier au-dessus de celui E. De ce troisième palier on montait d'une volée jusqu'au quatrième palier, toujours au-dessus de celui E, par trente-cinq marches, total, quatre-vingt-trois. Le noyau central, assez large pour porter le petit escalier supérieur, devait être évidé pour permettre, à rez-de-chaussée, de passer directement du portique C au logis B. Au-dessus ce noyau vide pouvait être destiné, ainsi que cela se pratiquait souvent, à recevoir des lampes pour éclairer les degrés pendant la nuit. La première rampe était probablement posée sur massif ou sur voûtes basses; la seconde reposait sur des voûtes G qui permettaient de circuler sous cette rampe. Notre plan nous donne en H dix contre-forts pouvant recevoir les dix grandes statues.

Une coupe, fig. 11, faite sur la ligne CB, explique les révolutions des rampes et les divers paliers de plain-pied avec les étages du logis B. Elle nous indique la structure du noyau ajouré, et, en K, le niveau du dernier palier de la grande vis, à partir duquel commence à monter la petite vis portant quarante et une marches jusqu'au niveau de la terrasse supérieure. Cette petite vis prenait ses jours dans la cage de la grande au moyen d'arcatures ressautantes. Nous ne prétendons pas, cela va sans dire, présenter ces figurés comme un relevé scrupuleux de ce monument détruit depuis le XVIIe siècle, et dont il ne reste aucun dessin; nous essayons ici de résumer dans une étude les diverses combinaisons employées par les architectes des XIVe et XVe siècles, lorsqu'ils voulaient donner à leurs escaliers un aspect tout à fait monumental. On comprend très-bien comment Raymond du Temple s'était procuré difficilement un nombre aussi considérable de marches et de paliers de grandes dimensions, devant offrir une parfaite résistance, puisque, suivant la méthode alors adoptée, ces marches, sauf celles des deux premières révolutions, ne portaient que par leurs extrémités. Quant aux paliers, qu'il eût été impossible de faire d'un seul morceau, nous les avons supposés portés, soit par des voûtes, soit par des arcs ajourés, ainsi que l'indique la vue perspective (12) prise au-dessous du palier supérieur.

Les architectes, devenus très-habiles traceurs-géomètres dès la fin du XIIIe siècle, trouvaient dans la composition des escaliers un sujet propre à développer leur savoir, à exciter leur imagination. Leur système de construction, leur style d'architecture se prêtait merveilleusement à l'emploi de combinaisons compliquées, savantes, et empreintes d'une grande liberté; aussi (bien que les monuments existants soient malheureusement fort rares) les descriptions de châteaux et de monastères font-elles mention d'escaliers remarquables.
Souvent, par exemple, ces grandes vis de palais étaient à double révolution, de sorte que l'on pouvait descendre par l'une et remonter par l'autre sans se rencontrer et même sans se voir. D'autres fois, deux vis s'élevaient l'une dans l'autre; l'une dans une cage intérieure, l'autre dans une cage extérieure; combinaison dont on peut se faire une idée, en supposant que la petite vis figurée dans la coupe, figure 11, descend jusqu'au rez-de-chaussée. La vis intérieure devenait escalier de service, et le degré circonvolutant, escalier d'honneur. Indépendamment des avantages que l'on pouvait tirer de ces combinaisons, il est certain que les architectes, aussi bien que leurs clients, se plaisaient à ces raffinements de bâtisses; dans ces châteaux où les journées paraissaient fort longues, ces bizarreries, ces surprises, étaient autant de distractions à la vie monotone des châtelains et de leurs hôtes.
On voyait aux Bernardins de Paris, dit Sauval 430, «une vis tournante à double colonne (noyau) où l'on entre par deux portes, et où l'on monte par deux endroits, sans que de l'un on puisse être vu dans l'autre; cette vis a dix pieds de profondeur (3m,25), et chaque marche porte de hauteur huit à neuf pouces (0m,23). Les marches sont délardées, et ne sont point revêtues d'autres pierres. C'est le degré de la manière la plus simple, et la plus rare de Paris; toutes les marches sont par dessous délardées. Sa beauté et sa simplicité consistent dans les girons de l'un et de l'autre, portant un pied ou environ, qui sont entrelassés, enclavés, emboîtés, enchaînés, enchâssés, entretaillés l'un dans l'autre, et s'entremordant d'une façon aussi ferme que gentille. Les marches de l'autre bout sont appuyées sur la muraille de la tour qui l'environne; ces deux escaliers sont égaux l'un à l'autre en toutes leurs parties; la façon du noyau est semblable de haut en bas, et les marches pareilles en longueur, en largeur et en hauteur. L'église et le degré furent commencés par le pape Benoît XII du nom, de l'ordre de saint Bernard, continué par un cardinal du même ordre nommé Guillaume. Ces degrés n'ont que deux croisées, l'une qui les éclaire tous deux par en haut, l'autre par en bas 431.» En cherchant à expliquer par une figure la description de Sauval, on trouverait le plan (13).

En A et B sont les deux entrées, en C et D les deux premières marches; le nombre de marches à monter de C en E, vu la hauteur de ces marches, permet de dégager sous le giron E pour prendre la seconde rampe D; les degrés continuent ainsi à monter en passant l'un au-dessus de l'autre. Il est clair que deux personnes montant par C et par D ne pouvaient ni se voir ni se rencontrer. Sauval décrit encore de très-jolis escaliers qui se trouvaient à Saint-Méderic de Paris et qui dataient de la fin du XVe siècle. Voici ce qu'il en dit 432:
«Il existait deux vis de Saint-Gille dans les deux tourelles qui sont aux deux côtés de la croisée hors-d'oeuvre. L'une est à pans et l'autre ronde. Toutes deux ont été dessinées par un architecte très-savant et fort entendu à la coupe des pierres. La ronde est couverte d'une voûte en cul-de-four ou coquille, si bien et si doucement conduite, qu'il est difficile d'en trouver une dont les traits fort doux et hardis soient ni mieux conduits ni mieux exécutés. Sa beauté consiste particulièrement en six portes qui se rencontrent toutes ensemble en un même endroit et sur un même palier aussi bien que les traits de tous leurs jambages, et cela sans confusion, chose surprenante et admirable. La colonne de cette vis ronde est en quelques endroits torse ou ondée, et quoique les traits partent des deux arêtes où l'onde est renfermée, ils sont toutefois si bien conduits que la voûte en est toujours et partout de semblable ordonnance.
«L'autre vis à pans est tantôt pentagone et tantôt hexagone. Son noyau est des plus grêles et ses arêtes des plus pointues, et est de haut en bas conduit avec la même délicatesse et la même excellence de l'autre. La merveille de ces deux vis consiste en leur petitesse et en la tendresse des murailles qui les soutiennent, ne portant pas neuf pouces d'épaisseur (0m,23).»
Nous n'en finirions pas si nous voulions citer tous les textes qui s'occupent des escaliers du moyen âge et particulièrement de ceux du commencement de la Renaissance, car à cette époque c'était à qui, dans les résidences seigneuriales, les hôtels et les couvents mêmes, élèverait les plus belles vis et les plus surprenantes. Dans la description de l'abbaye de Thélème, Rabelais ne pouvait manquer d'indiquer une vis magistrale «cent fois plus magnifique» que n'est celle de Chambord. «Au milieu (des bâtiments, dit-il) 433 estoit une merveilleuse viz, de laquelle l'entrée estoit par les dehors du logis en un arceau large de six toises. Icelle estoit faite en telle symétrie et capacité, que six hommes d'armes, la lance sur la cuisse, pouvoient de front monter jusques au-dessus de tous le bastiment 434.»
Nous avons vu comment Raymond du Temple avait disposé le grand escalier du Louvre en dehors des bâtiments afin de n'être point gêné dans la disposition des entrées, des passages de rampes et des paliers. Cette méthode, excellente d'ailleurs, persiste longtemps dans la construction des habitations seigneuriales; nous la voyons adoptée dans le château de Gaillon (14).

Ici l'escalier principal était posé à l'angle rentrant formé par deux portiques E F. On pouvait prendre la vis en entrant par deux arcs extérieurs A A et par deux arcs B B donnant sous le portique, la première marche étant en D. Cette disposition permettait, aux étages supérieurs, d'entrer dans les galeries par une ouverture percée dans l'angle en G 435. Un pareil escalier ne pouvait en rien gêner les distributions intérieures. À Blois nous retrouvons un escalier indépendant des corps de logis et placé au milieu d'une des ailes au lieu d'être élevé dans un angle. Dans la construction du palais des Tuileries, Philibert Delorme avait encore conservé cette tradition de la grande vis du moyen âge, et son escalier placé dans le pavillon dit de l'Horloge aujourd'hui passait, comme celui de Chambord, pour une merveille d'architecture. D'ailleurs, les vis de Gaillon, de Blois, de Chambord et des Tuileries étaient terminées par des lanternes qui, comme celle du grand escalier du Louvre, couronnaient le faîte et donnaient entrée sur une terrasse 436. Quelquefois aussi ces vis étaient intercalées dans les constructions, mais de telle façon qu'elles conservaient leurs montées indépendantes. On retrouve cette disposition adoptée dans des châteaux du XVe siècle et du commencement du XVIe. Alors la vis, au lieu d'être en dehors du portique comme à Gaillon, laissait le portique passer devant elle.

La figure 15 présente en plan un escalier établi d'après cette donnée. Un portique A B est planté à rez-de-chaussée devant les pièces d'habitation. La cage d'escalier est en retraite et carrée, son entrée est en E, la première marche en C. Dans les angles du carré des trompes arrivent à une corniche spirale et soutiennent les marches d'angles, qui sont plus longues que les autres. De cette manière les gens qui montent ou descendent profitent entièrement de la cage carrée, et, cependant, les marches délardées par dessous sont toutes de la même longueur, comme si elles gironnaient dans un cylindre.

La coupe de cet escalier, faite sur la ligne A B, figure 16, indique clairement la disposition des rampes, de leurs balustrades, des arrivées sur le sol du portique à l'entre-sol en G, et au premier en H. Il existe une disposition d'escalier absolument semblable à celle-ci dans le château de Châteaudun 437. Mais dans la vis de Châteaudun les trompes d'angle arrivent du carré à l'octogone, et des culs-de-lampes posés aux angles de l'octogone portent la corniche spirale, dont la projection horizontale étant un cercle parfait soutient les bouts des marches.

Une vue prise à la hauteur de la première révolution de l'escalier de Châteaudun, figure 17, là où cette révolution coupe le portique du rez-de-chaussée dans sa hauteur, fait saisir l'arrangement des trompes, des culs-de-lampes, de la corniche en spirale et des marches délardées en dessous. Cet arrangement est d'ailleurs représenté en projection horizontale dans le plan (18).

Les trompes de la vis de Châteaudun sont appareillées; ce sont des plates-bandes légèrement inclinées vers l'angle; cet escalier était d'un assez grand diamètre pour exiger cet appareil. Dans des vis d'un moins grand développement, les angles, qui du carré arrivent à un octogone, n'ont pas autant d'importance; ces angles forment seulement un pan abattu de façon à donner en projection horizontale un octogone à quatre grands côtés et à quatre plus petits. Alors ces trompes, ou ces goussets plutôt, sont appareillés d'une seule pierre. L'escalier de l'hôtel de la Trémoille à Paris 438 donnait en plan un carré avec un grand pan abattu; les trois angles droits restant à l'intérieur étaient, sous les marches, garnis de trompillons pris dans une seule pierre sculptée. Nous donnons, figure 19, l'un de ces trompillons. C'était dans ces angles que l'on plaçait les flambeaux destinés à éclairer les degrés. Ces flambeaux étaient, soit portés sur de petits culs-de-lampes, quelquefois dans de petites niches, soit scellés dans la muraille en manière de bras.
Les textes que nous avons cités précédemment indiquent assez combien, dans les habitations seigneuriales, on tenait à donner (au moins à dater du XIVe siècle) une apparence de luxe aux grands escaliers. Les architectes déployaient les ressources de leur imagination dans les voûtes qui les terminaient et dans la composition des noyaux. Il existe encore à Paris, dans la rue du Petit-Lion-Saint-Sauveur, une grosse tour qui dépendait autrefois de l'hôtel que les ducs de Bourgogne possédaient rue Pavée-Saint-Sauveur. Cette tour, bâtie sur plan quadrangulaire, couronnée de mâchicoulis, contient une belle vis fermée à son sommet par une voûte retombant sur le noyau; les nervures de cette voûte en arcs d'ogive figurent des troncs de chêne d'où partent des branches feuillues se répandant sous les voussures 439. Les noyaux des escaliers à vis primitifs, ou portaient une voûte spirale (figure 7), ou faisaient partie des marches elles-mêmes (figure 9). Lorsque l'on donna un grand diamètre à ces escaliers, il ne fut plus possible de prendre le noyau dans la marche; on élargit ces noyaux pour éviter l'aiguité des marches se rapprochant du centre, et celles-ci furent encastrées dans ce noyau bâti par assises, ou bien encore on composa les noyaux de grandes pierres en délit comme on le fait pour les poteaux des vis en charpente. Ce fut alors que l'on enrichit ces noyaux de sculptures délicates, qu'on les mit à jour quelquefois, et que les appareilleurs eurent l'occasion de faire preuve de science. Ces noyaux portèrent des mains-courantes prises dans la masse et des saillies en forme de bandeau spirale, pour recevoir les petits bouts des marches.

Le noyau de l'escalier de Châteaudun, donné fig. 17, est couvert d'ornements très-délicats; il est monté en assises hautes; nous en donnons, fig. 20, un morceau. En A est la main-courante, et en B le bandeau recevant les marches dont l'incrustement est indiqué dans notre dessin. Le noyau de la vis de l'hôtel de la Trémoille était fait de trois morceaux de pierre du haut en bas, posés en délit, couverts de sculptures, et recevant de même, dans des encastrements, les houts des degrés 440. Les morceaux superposés de cet arbre de pierre étaient reliés entre eux au moyen de forts goujons de pierre dure. Inutile de dire que la taille de pareils noyaux, faite avant la pose, devait exiger une adresse et une connaissance du trait fort remarquables.

Parfois, dès le XIVe siècle, lorsqu'on n'avait qu'un très-petit espace pour développer les escaliers à vis intérieurs, on supprimait entièrement le noyau afin de laisser du dégagement pour ceux qui montaient ou descendaient. Les marches étaient alors simplement superposées en spirale, et portaient chacune un boudin à leur extrémité, près du centre, pour offrir une main-courante; à la place du noyau était un vide. Voici (21), en A la moitié du plan d'une vis de ce genre, en B sa coupe sur la ligne CD, et en G une de ses marches en perspective, avec l'indication au pointillé des surfaces non vues et du lit inférieur. Il arrivait aussi que dans les intérieurs des appartements, et pour communiquer d'un étage à l'autre, on élevait des escaliers prenant jour sur les salles, des vis enfermées dans des cages en partie ou totalement à claire-voie. Il existe deux charmants escaliers de ce genre, qui datent du commencement du XIIIe siècle, dans les deux salles de premier étage des tours de Notre-Dame de Paris. Nous ne croyons pas nécessaire de les donner ici, car ils ont été gravés plusieurs fois déjà, et sont parfaitement connus.

On voit une de ces vis, enclose entre des colonnes, dans la cathédrale de Mayence, et qui date du milieu du XIIIe siècle; nous donnons (22) la moitié de son plan et une révolution entière 441. À partir du mur circulaire qui ne monte que jusqu'au niveau A, la construction consiste seulement en des marches portant noyau, et en des colonnettes, toutes d'égale hauteur, soutenant chacune l'extrémité extérieure d'une marche. Rien n'est plus simple et plus élégant que cette petite construction. On voit aussi des escaliers de ce genre à la partie supérieure des tours des cathédrales de Laon et de Reims. Ces vis s'élèvent au milieu des grands pinacles qui, du dernier étage de la façade, forment aux quatre angles des tours une décoration ajourée dans toute leur hauteur. Les vis des tours de Reims ont cela de particulier, que trois marches sont prises dans une seule assise (les matériaux avec lesquels ce monument fut élevé sont énormes), et que les bouts extérieurs de ces marches sont soulagés par des morceaux de pierres en délit. Chaque bloc est donc taillé conformément au tracé perspectif, fig. 23.

Des chandelles de pierre B viennet soulager les portées A, puis se poser au-dessus des extrémités des marches en C. Par le fait, c'est le noyau D qui porte toute la charge, et les pierres B ne sont qu'une suite d'étançons formant clôture à jour. Il arrive aussi que ces vis sont mi-partie engagées dans la muraille, mi-partie ajourées; c'était ainsi qu'étaient disposés la plupart des escaliers intérieurs qui mettaient en communication deux pièces superposées. L'escalier de la tribune de l'église Saint-Maclou de Rouen (XVIe siècle), celui du choeur de la cathédrale de Moulins (XVe siècle), fournissent de très-jolis exemples de ces sortes de vis prenant jour sur les intérieurs.
Nous avons vu comment les marches des vis forment naturellement plafond rampant par-dessous les degrés; comment ces marches sont délardées ou simplement chanfreinées, ou même laissées à angles vifs, donnant ainsi comme plafond la contre-partie du degré. Mais il arrivait que l'on était parfois obligé d'établir des rampes droites ou circulaires à travers des constructions massives, dans les châteaux, dans les tours. Les couvertures de ces rampes avaient alors un poids considérable à porter. Si ces rampes étaient larges (comme le sont en général les descentes de caves dans les châteaux), les architectes n'osaient pas fermer ces escaliers par des plafonds rampants, composés d'une suite de linteaux, dans la crainte des ruptures. Alors, que faisaient-ils?

Ils bandaient une suite d'arcs brisés A ou plein ceintres A' juxtaposés (24), mais suivant la déclivité des degrés, ainsi que l'indique la coupe B. Ces arcs avaient tous leur naissance sur le même nu; ils étaient tous taillés sur la même courbe. Si l'intrados de leurs sommiers venait mourir au nu du mur, l'extrados arrivait en C. Ces sommiers étaient donc également assis, et les appareilleurs ou poseurs évitaient les difficultés de coupe et de pose des voûtes rampantes, dont les sommiers sont longs à tracer, occasionnent des déchets de pierre considérables et nécessitent des soins particuliers à la pose. Si ces degrés, à travers des constructions, étaient étroits, si les architectes possédaient des pierres fortes, ils se contentaient de juxtaposer, suivant la déclivité des rampes, une série de linteaux soulagés par des corbeaux au droit des portées (voy., fig. 24, le tracé D et la coupe E). Ces constructions, fort simples, produisent un bon effet, ont un aspect solide et résistant; elles indiquent parfaitement leur destination et peuvent impunément être pratiquées sous des charges considérables. Les voûtes bandées par ressauts n'ont pas, sous des gros murs ou des massifs, l'inconvénient de faire glisser les constructions supérieures, comme cela peut arriver lorsque l'on établit sous ces charges des berceaux rampants. Quelquefois dans les rampes couvertes par des linteaux, au lieu de simples corbeaux posés sous chacun de ces linteaux, c'est un large profil continu qui ressaute d'équerre au droit des pierres formant couverture, ainsi que l'indique la fig. 25. D'une nécessité de construction ces architectes ont fait ici, comme partout, un motif de décoration.

ESCALIERS DE CHARPENTE ET DE MENUISERIE.--Des escaliers de bois antérieurs au XVIe siècle, il ne nous reste que très-peu de fragments. Les plus anciens sont peut-être les deux vis du sacraire de la Sainte-Chapelle de Paris 442; il est vrai que ce sont des chefs-d'oeuvre de menuiserie du XIIIe siècle. Cependant les architectes du moyen âge avaient poussé très-loin l'art de disposer les escaliers de bois dans des logis, et en ceci leur subtilité avait dû leur venir en aide, car de toutes les parties de la construction des édifices ou maisons particulières, l'escalier est celle qui demande le plus d'adresse et d'étude, surtout lorsque, comme il arrivait souvent dans les villes et même les habitations seigneuriales du moyen âge, on manquait de place. Ainsi qu'on peut le reconnaître en examinant les intérieurs des châteaux et des maisons, les architectes faisaient des escaliers de bois à un ou deux ou quatre noyaux, à double rampe; ils allaient jusqu'à faire des escaliers à vis en bois tournant sur un pivot, de manière à masquer d'un coup toutes les portes des appartements des étages supérieurs. Dans son Théâtre de l'art du Charpentier, Mathurin Jousse (1627) nous a conservé quelques-unes de ces méthodes encore usitées de son temps 443. «Personne n'ignore, dit cet auteur 444, qu'entre toutes les pièces de la charpente d'un logis, la montée ne cède en commodité et utilité à aucune autre; estant le passage, est comme l'instrument commun de l'usage et service que rendent les chambres, estages et tout l'édifice: et si elle est utile, elle n'est pas moins gentille, mais aussi difficile, tant pour le tracement, joinctures et assemblages, que pour la diversité qui se retrouve en icelles: car outre les ordinaires, qui se font communes à toutes les chambres d'un logis, il y en a qui (bien qu'elles soient communes) ont néantmoins telle propriété, que deux personnes de deux divers logis ou chambres peuvent monter par icelles sans s'entre-pouvoir voir: et par ainsi une seule fera fonction de deux, et sera commune sans l'estre. Il s'en fait encores d'autres façons, non moins gentilles que les précédentes: car estans basties sur un pivot, elles se tournent aisément, de sorte qu'en un demy-tour elles peuvent fermer toutes les chambres d'une maison, et forclorre le passage aux endroicts où auparavant elle le donnoit...»
Avant de présenter quelques exemples d'escaliers en charpente ou menuiserie, il est nécessaire d'indiquer d'abord quels sont les éléments dont se composent ces montées. Il y a les escaliers à limons droits avec poteaux, les escaliers à noyaux et les escaliers à vis sans noyaux et à limons spirales. Les marches, dans les escaliers en bois du moyen âge, sont toujours pleines, assemblées dans le limon à tenons et mortaises.

Soit (26) un limon droit présenté en face intérieure en A et en coupe en B; chaque marche portera un tenon C avec un épaulement D, et sera légèrement embrévée dans le limon en E. Ces marches seront délardées par-dessous et formeront plafond rampant. Le limon portera aussi les poteaux de balustrades G qui viendront s'assembler dans des mortaises pratiquées dans les renforts H. Les bouts des marches avec leur tenon sont figurés en K. Ces marches étant pleines sont prises, habituellement, dans des billes de bois ainsi que l'indique le tracé L. Trois sciages I divisent la bille en chêne de 0,50 c. de diamètre, ou environ en six triangles dans chacun desquels on trouve une marche, de façon à ce que le devant de chaque marche soit placé du côté du coeur du bois, le devant des marches étant la partie qui fatigue le plus. S'il reste quelques parties d'aubier ou des flaches, elles se trouvent ainsi dans la queue de la marche qui ne subit pas le frottement des pieds. Cette façon de prendre les marches en plein bois, le devant vers le coeur, a en outre l'avantage d'empêcher les bois de se gercer ou de se gauchir, les sciages étant précisément faits dans le sens des gerces. Ce débillardement des marches ne perd aucune des parties solides et résistantes du bois, les marches se trouvent toutes dans les mêmes conditions de dureté, et il reste en M de belles dosses que l'on peut utiliser ailleurs. On reconnaît que les constructeurs ont, soit pour les limons, soit pour les marches, choisi leurs bois avec grand soin afin d'éviter ces dislocations et ces gerces si funestes dans des ouvrages de ce genre. Quelquefois, mais rarement, les marches sont en noyer ou en châtaignier 445.

Ces premiers principes de construction posés, examinons d'abord un escalier à deux rampes et à paliers avec marches palières, limons droits et poteaux d'angle; c'est l'escalier de charpente le plus simple, celui qui se construit par les moyens les plus naturels. Voici, fig. 27, en A, le plan d'une montée établie d'après ce système; la première marche est en B, on arrive au premier palier C, on prend la seconde rampe dont la marche est en D, on monte jusqu'au palier E, qui est au niveau du premier étage, et ainsi de suite pour chaque étage. L'échelle du plan est de 0,01 c. pour mètre. Faisons une coupe longitudinale sur a b, et présentons la au double pour plus de clarté. Ses quatre poteaux d'angles montent de fond et se posent sur un parpaing de pierre. Le premier limon repose également sur cette assise et vient s'assembler dans le poteau F qui reçoit à mi-bois la marche palière G, soulagée encore par une poutrelle assemblée à tenons et mortaises, et reposant sur le renfort H. Passons à la troisième rampe qui est semblable en tout à la seconde, et qui est figurée dans la coupe. Le limon est soulagé dans sa partie par un gousset I et un lien K. Les grands liens sont surtout nécessaires pour empêcher le roulement et les poussées qui ne manquent pas de se produire dans un escalier de ce genre s'il dessert plusieurs étages; ils roidissent tout le système de charpente, surtout si, comme nous l'avons tracé, on établit un panneau à jour dans le triangle formé par le poteau, le limon et ce lien. Les montants des balustrades sont assemblés dans les limons, et leurs mains-courantes dans les poteaux.

Examinons maintenant comment se combinent les assemblages des limons dans les poteaux, les marches palières, les poutrelles de buttée des paliers, etc. Fig. 28: en A, nous avons tracé sur une même projection verticale les poteaux en regard, la marche palière, la marche d'arrivée et celle de départ (c'est le détail de la partie L de la fig. 27); en B est figuré le poteau; en C, la poutrelle de buttée avec son double tenon et son profil en C'; en D, le gousset du limon de départ; en EE', le limon d'arrivée; en FF', le limon de départ avec son tenon; en G, la dernière marche faisant marche palière; en H, la première marche de départ posant sur la marche palière avec son tenon I s'assemblant dans le poteau; en K, la partie de la marche palière vue en coupe entre les deux poteaux. Cette marche palière, assemblée à mi-bois dans le poteau et reposant en partie sur la poutrelle C, est fortement serrée dans son assemblage au moyen d'un boulon qui vient prendre le gousset D. Les poteaux ont 0,18 c. sur 0,20 posés de champ dans le sens de l'emmarchement. Le gousset D et les limons EE', FF' ne sont pas assemblés dans les milieux des poteaux; ces limons portent 0,15 c. d'épaisseur, et affleurent le nu extérieur des poteaux (voir le plan). Voyons les divers assemblages pratiqués dans le poteau, tracés dans le détail perspectif O. En N est le renfort destiné à recevoir la poutrelle de buttée C; en P, les deux mortaises et l'embrévement d'assemblage de cette poutrelle; en R, l'entaille dans laquelle se loge la marche palière avec le trou S du boulon; en T, le gousset. Le tracé perspectif Q nous montre la marche palière du côté de ses entailles entrant dans celles R des poteaux. La dernière marche d'arrivée est figurée en U; la première marche de départ en V avec son embrévement et son tenon X; on voit en Y le trou de passage du boulon. Ce système d'escaliers à rampes droites avec paliers persista jusqu'au XVIIe siècle; il était fort solide, ne pouvait se déformer comme la plupart de nos escaliers, dont les limons attachés seulement aux marches palières finissent toujours par fléchir. C'est de la véritable charpente dont tous les assemblages sont visibles, solides, et composent seuls la décoration. Rien ne s'opposait d'ailleurs à ce qu'on couvrît ces poteaux, ces limons, ces liens, ces balustrades, de sculptures et de peintures; aussi le faisait-on souvent.

On faisait en bois des escaliers à vis aussi bien qu'en pierre. Les plus anciens étaient construits de la même manière, c'est-à-dire que les marches étaient pleines, superposées, et portaient noyau. On en façonnait à doubles limons qui pouvaient posséder deux rampes, ainsi que nous l'avons dit plus haut, c'est-à-dire (29) qu'en entrant indifféremment par l'une des deux portes CC', on prenait l'une ou l'autre rampe dont la première marche est en A. C'était un moyen de donner entrée dans les pièces des étages supérieurs par des portes percées au-dessus de celles CC'. La personne qui sortait par la porte C ne pouvait rejoindre celle sortant par la porte C', les deux rampes gironnant l'une au-dessus de l'autre. Les deux noyaux étaient réunis par deux limons B se croisant. Ces escaliers, fort communs pendant le moyen âge et jusqu'au XVIIe siècle, étaient commodes, et on ne s'explique pas pourquoi on a cessé de les mettre en oeuvre. D'un bout les marches débillardées, pleines, s'assemblaient à tenon et mortaise dans les deux noyaux et dans les limons; de l'autre, elles étaient engagées dans la maçonnerie ou portaient sur un filet en charpente cloué le long d'un pan de bois.
Mais souvent les escaliers à vis en bois étaient complétement isolés, formaient une oeuvre indépendante de la bâtisse. Ces escaliers mettaient en communication deux étages, et on les plaçait dans l'angle d'une pièce pour communiquer seulement à celle au-dessus. C'était là plutôt une oeuvre de menuiserie que de charpenterie, traitée avec soin et souvent avec une grande richesse de moulures et de sculpture. Toutefois, les marches de ces escaliers de menuiserie restèrent pleines jusque pendant le XVe siècle, portaient noyaux, et étaient réunies au centre au moyen d'une tige de fer rond, d'un boulon, qui les empêchait de dévier.

Chaque marche (30), possédait son montant dans lequel elle venait s'assembler. Ces montants, d'un seul morceau pour chaque étage, étaient assemblés au pied dans un plateau en charpente, et au sommet dans un cercle également en charpente. Cela formait une cage cylindrique ou un prisme ayant autant de pans qu'il y avait de marches en projection horizontale. Nous donnons en A le plan d'un quart d'un escalier de ce genre portant douze marches sur sa circonférence. Les montants sont en B, et le noyau porté par chaque marche en C. Les espaces EF donnent le recouvrement des marches l'une sur l'autre, le devant de chaque marche étant en F, et le derrière en E. Si nous faisons une élévation de ce quart de circonférence de l'escalier, nous obtenons la projection verticale G. On voit en I le boulon qui enfile les assises de noyau tenant à chaque marche. Les abouts des marches paraissent en K, et reposent sur un gousset embrévé dans les montants. Le détail O donne la section horizontale d'un montant au dixième de l'exécution. En a est le tenon du derrière de la marche indiquée en a' sur le tracé perspectif M; en b est l'embrévement de la tête du gousset; son tenon est indiqué en b' sur le tracé perspectif N; le derrière de la marche étant en e, et le devant de la marche au-dessus en f. Chaque marche, reposant sur la queue de celle au-dessous qui porte le tenon a, n'a pas besoin d'un tenon sur le devant, d'autant que ces marches portent en plein sur le gousset J muni d'une languette P destinée à arrêter leurs abouts T. Une entaille R faite dans le poteau permet en outre à la marche de s'embréver dans ce montant. Le tracé perspectif M montre le devant de la marche élégi en S, l'about visible à l'extérieur en T, les deux entailles laissant passer les montants et s'y embrévant en Q, l'embrévement de la languette du gousset sous l'about et le débillardement postérieur en V, pratiqué pour dégager et allégir. C'est d'après ce principe que sont taillés les deux escaliers du sacraire de la Sainte-Chapelle du Palais (XIIIe siècle), et quelques escaliers de beffroi, notamment celui de la tour Saint-Romain à Rouen (XVe siècle). Deux des montants, coupés à deux mètres du sol, et reposant sur une traverse assemblée dans les poteaux voisins, permettaient d'entrer dans ces cages et de prendre la vis. Il est clair qu'on pouvait orner les montants de chapiteaux, de moulures, que les goussets pouvaient être fort riches et les abouts des marches profilés. Le boulon d'axe excepté, ces escaliers étaient brandis et maintenus assemblés sans le secours de ferrures; c'était oeuvre de menuiserie, sans emploi d'autres moyens que ceux propres à cet art si ingénieux lorsqu'il s'en tient aux méthodes et procédés qui lui conviennent.
Vers le commencement du XVe siècle, on cessa généralement, dans la structure des escaliers à vis en charpente ou menuiserie, de faire porter à chaque marche un morceau du noyau. Celui-ci fut monté d'une seule pièce, et les marches vinrent s'y assembler dans une suite de mortaises creusées les unes au-dessus des autres suivant la rampe. C'est ce qu'on faisait à la même époque pour les escaliers à vis en pierre, ainsi que nous l'avons dit plus haut. De même que l'on sculptait les noyaux en pierre, qu'on y taillait des mains courantes, qu'on y ménageait des renforts pour recevoir les petits bouts des marches, de même on façonnait les noyaux en charpente. Nous avons vu démolir dans l'ancien collége de Montaigu, à Paris, un joli escalier à vis en menuiserie, dont le noyau pris dans une longue pièce de bois de douze à quinze mètres de hauteur était fort habilement travaillé en façon de colonne à nervures torses avec portées sous les marches et main courante.

Nous donnons (31) la disposition de ces noyaux de charpente au droit de l'assemblage des marches. En A on distingue les mortaises de chacune de ces marches avec l'épaulement inférieur B pour soulager les portées; en C est la main courante prise dans la masse comme l'épaulement; son profil est tracé en D coupé perpendiculairement à son inclinaison; le profil de la corniche avec l'épaulement est tracé en E.

Avant de finir cet article, disons un mot de ces escaliers pivotants dont parle Mathurin Jousse, et qui devaient être employés dans des logis où l'on avait à craindre les surprises de nuit, dans les manoirs et les donjons. Ces escaliers s'établissaient dans une tour ronde, dans un cylindre de maçonnerie percé de portes à la hauteur des étages où l'on voulait arriver. L'escalier était indépendant de la maçonnerie, et se composait (32) d'un arbre ou noyau à pivot supportant tout le système de charpente. Le plan de cet escalier est figuré en A, et sa coupe en B. À chaque étage auquel il fallait donner accès était ménagé un palier C dans la maçonnerie. Nous supposons toutes les portes percées au-dessus de celle D du rez-de-chaussée. La première marche est en E; de E en F, les marches sont fixes et sont indépendantes du noyau en charpente monté sur un pivot inférieur en fer G, et maintenu au sommet de la vis dans un cercle pris aux dépens de deux pièces de bois horizontales. La première marche assemblée dans le noyau est celle H; elle est puissamment soulagée ainsi que les trois suivantes par des potences I. À partir de cette marche soulagée H, commence un limon spirale assemblé dans les abouts des marches, et portant une cloison en bois cylindrique percée de portes au droit des baies de maçonnerie D. Au-dessus de la troisième marche (partant de celle H) les autres marches jusqu'au sommet de la vis ne sont plus soulagées que par les petits liens K, moins longs que les potences I, afin de faciliter le dégagement. Ainsi toutes les marches, le limon et la cloison cylindrique portent sur l'arbre pivotant O. Lorsqu'on voulait fermer d'un coup toutes les portes des étages, il suffisait de faire faire un quart de cercle au cylindre en tournant le noyau sur son axe. Ces portes se trouvaient donc masquées; entre la marche F et celle H il restait un intervalle, et les personnes qui l'auraient franchi pour pénétrer dans les appartements, trouvant une muraille en face les ouvertures pratiquées dans le cylindre, ne pouvaient deviner la place des portes véritables correspondant à ces ouvertures lorsque l'escalier était remis à sa place. Un simple arrêt posé par les habitants sur l'un des paliers C empêchait de faire pivoter cette vis. C'était là un moyen sûr d'éviter les importuns. Nous avons quelquefois trouvé des cages cylindriques en maçonnerie dans des châteaux, avec des portes à chaque étage, sans aucune trace d'escalier de pierre ou de bois; il est probable que ces cages renfermaient des escaliers de ce genre, et nous pensons que cette invention est fort ancienne; il est certain qu'elle pourrait être utilisée lorsqu'il s'agit d'arriver sur plusieurs points de la circonférence d'un cercle à un même niveau. Nous avons l'occasion de parler des escaliers dans les articles CHÂTEAU, MAISON, MANOIR, PALAIS.
Note 423: (retour) C'était bien là en effet le but que se proposaient les architectes du moyen âge. De plus, en plaçant ainsi les grands escaliers hors-oeuvre, ils ne dérangeaient pas les distributions intérieures, prenaient autant de jours qu'ils voulaient et disposaient leurs paliers sans embarras.
Note 443: (retour) Nous l'avons dit déjà bien des fois, la Renaissance en France ne fut guère qu'une parure nouvelle dont on revêtissait l'architecture; le constructeur, jusqu'au milieu du XVIIe siècle, restait français, conservait et reproduisait ses vieilles méthodes beaucoup meilleures que celles admises depuis cette époque jusqu'à la fin du dernier siècle.
ESCHIF, s. m. Petite fortification flanquante que l'on faisait pour
défendre les approches d'une porte,
pour enfiler un fossé, lorsque les
enceintes des villes consistaient en une simple muraille. Souvent les
eschifs étaient des ouvrages en bois que l'on établissait provisoirement
si le temps ou les ressources manquaient pour élever des tours. Lebeuf,
dans son Histoire de la ville d'Auxerre
446, dit qu'à la fin du XIVe
siècle, on éleva autour de la ville d'Auxerre plusieurs eschifs. «On
démolissoit en certains endroits et on rebâtissoit en d'autres; on
donnoit la forme de véritables tours à ce qui, auparavant, n'étoit qu'un
simple eschif; en un mot on fortifioit la ville à proportion du produit
des octrois que les rois Charles V et Charles VI avoient accordés.»
Après un siége durant lequel les murailles avaient été endommagées et
les tours démantelées, on posait sur les courtines des eschifs (1) pour
commander les dehors, pendant qu'on faisait exécuter les réparations
jugées nécessaires
447.
ESCOPERCHE, s. f. Perche ou baliveau posé verticalement pour soutenir les boulins d'un échafaud de maçon (voy. ÉCHAFAUD). L'escoperche est aussi une pièce de bois munie d'une poulie à son extrémité supérieure, et qu'on attache au sommet d'une chèvre pour en augmenter la hauteur ou lui donner plus de nez.
ESTACHES, s. f. S'emploie au pluriel, et signifiait, pendant le moyen âge, une réunion de pieux (voy. CLÔTURE).
ÉTAI, s. m. Pièce de bois droite, rigide, dont on se sert pour soutenir une construction qui menace ruine. On ne peut mettre en doute que les architectes, à dater du XIIIe siècle, n'aient été fort habiles dans l'art d'étayer les constructions, soit pour les consolider au moyen de reprises en sous-oeuvre, soit pour en modifier les dispositions premières. La facilité avec laquelle on se décidait, au moment où l'architecture gothique apparut, à changer et reconstruire en partie des bâtiments à peine achevée afin de les mettre en harmonie avec les méthodes nouvelles qui progressaient rapidement, tient du prodige, et ne peut être comparée qu'à ce que nous voyons faire de notre temps.
Comme les architectes de cette époque du moyen âge opéraient sur des constructions généralement légères, dans lesquelles on ne trouve jamais un excès de force, il fallait nécessairement que leurs procédés d'étaiement fussent très-parfaits, car ces constructions pondérées, tenues en équilibre par des forces agissant en sens inverse, ne pouvaient se maintenir debout du moment qu'on en enlevait une partie, et il y avait à craindre, dans certains cas, que les étaiements n'eussent une puissance de poussée assez forte pour déranger l'équilibre des constructions que l'on prétendait conserver. À voir la nature des reprises en sous-oeuvre exécutées par les constructeurs du moyen âge, on ne peut douter qu'ils n'aient employé très-fréquemment les chevalements, genre d'étaiement qui porte verticalement sans exercer aucune poussée ni pression. Ainsi les reprises faites vers le milieu du XIIIe siècle dans le choeur de l'église de Saint-Denis, celles beaucoup plus hardies faites à la fin de ce siècle dans le choeur de la cathédrale de Beauvais; vers le commencement du XIVe siècle, dans les collatéraux du choeur de Notre-Dame de Paris, près de la croisée, dans la cathédrale de Nevers, dans celle de Meaux, dénotent une hardiesse et une habileté singulières. Il nous serait impossible de fournir des exemples de tous les cas d'étaiement qui peuvent se présenter; l'adresse, le savoir et l'expérience du constructeur peuvent seulement lui prescrire le système d'étaiement que chaque cas particulier demande. Nous nous garderons de prescrire des méthodes bonnes en telle circonstance, funestes en d'autres; nous nous contenterons d'indiquer des principes généraux. Ainsi, lorsqu'on étaye une partie d'un édifice, on ne doit pas songer seulement à prévenir les effets d'un mouvement dangereux qui s'est produit dans la construction, il faut prendre ses dispositions pour que, la partie à remplacer étant enlevée, les pesanteurs ou les poussées ne puissent agir dans le sens ou contrairement à l'effet produit; il faut que tout étaiement soit neutre.

Si, par exemple, nous devons reprendre en sous-oeuvre les piles d'un vaisseau dans lequel l'effet indiqué, fig. 1, se serait produit, l'étaiement AB, excellent pour arrêter la torsion des piliers CD, sera dangereux si nous enlevons la colonne DE pour la remplacer par une autre, car les pesanteurs, agissant de C en E, solliciteront l'étai AB à pivoter sur son patin G, et à faire rentrer l'arc IK en I'K; ce qui produira une dislocation de toute la construction et un affaissement des parties supérieures. Dans ce cas, il faut se bien garder de rien faire qui puisse modifier le bouclement de B en E. On doit se contenter de poser une batterie d'étrésillons LM, fig. 1 bis, et de placer de chaque côté de la pile à reprendre des chevalements NO, les arcs latéraux bien entendu étant cintrés; alors on pourra enlever la pile RP et la reconstruire verticalement en ramenant son pied en R'.

Lorsqu'il s'agit d'étayer un mur derrière lequel sont construites des voûtes, pour le reprendre en totalité ou en partie, fig. 2, la première opération à faire c'est de cintrer les arcs AB de la voûte; quant à la pose des étais extérieurs, leur tête doit porter exactement au-dessus du point où la rupture est particulièrement apparente. Si la rupture du mur ou du contre-fort est en C, la tête de l'étai doit porter en D, et pour recevoir cette tête, il est prudent de relancer d'abord dans la maçonnerie un bon morceau de pierre dure afin de ne pas faire porter sur cette tête un parement friable, fatigué ou sans liaison avec le massif.

Soit A, fig. 2 bis, le vieux parement, on relancera avant tout une forte boutisse B en pierre dure faisant saillie sur le parement, et, posant sous son lit inférieur une bonne calle C en coeur de chêne, on serrera au-dessous la tête de l'étai D. Il n'est pas besoin de dire que l'architecte doit apporter la plus grande attention, en tous cas, au sol sur lequel repose la plate-forme, plateselle, sole ou patin recevant le pied d'un étai; trop souvent on néglige de s'assurer de la qualité résistante de ces points d'appuis; il en résulte que les étais enfoncent leurs patins sous la charge. Ces plates-formes doivent être posées sur un sol uni; elles doivent être larges, épaisses, bien callées suivant l'inclinaison voulue, et garnies en bon plâtre par-dessous. À Paris, l'habitude que l'on a de faire de très-grandes constructions, de reprendre en sous-oeuvre des maisons très-élevées et très-lourdes, fait que l'on étaye généralement avec adresse et solidité; mais en province, nos architectes et entrepreneurs n'apportent pas toujours, dans ces opérations délicates, l'attention et le soin qu'elles exigent.
Le meilleur bois pour faire des étais est évidemment le sapin, parce qu'il est droit, long et extrêmement roide; il est difficile de faire de bons étaiements en chêne, d'une longueur médiocre généralement, courbe souvent, lourd, d'un levage plus pénible par conséquent. Toutefois, dans les étaiements, le chêne doit être de préférence employé pour les plates-formes, pour les calles et les chapeaux des chevalements, parce que son tissu ne s'écrase pas sous la charge comme celui du sapin. Le peuplier, que dans quelques parties de la France on emploie comme étai, est un bois beaucoup trop flexible; il se courbe et se tourmente en tout sens sous la charge, si bien moisé qu'il soit.
Pour obtenir un étaiement simple d'une grande puissance, on ne doit jamais se fier à un seul brin de sapin, si gros et sain qu'il soit; il est nécessaire de doubler l'étai, c'est-à-dire de placer deux étais dans le même plan perpendiculaire à la face du mur ou de la pile à étayer, et de moiser ensemble ces deux étais.

Un étaiement puissant est celui-ci, fig. 3, et jamais les deux ou trois brins posés dans un même plan ne doivent être parallèles; ils doivent toujours former un triangle ou une portion de triangle, par cette raison qu'un triangle ne peut se déformer: étant moisés, les brins posés non parallèles présentent un tout homogène, comme une équerre énorme; tandis qu'étant parallèles, ils peuvent, ainsi que le démontre la fig. 3 bis, si bien moisés qu'ils soient, se contourner sous la charge. Il n'est pas indifférent de poser les étais plus rapprochés au sommet ou au pied.

Si (fig. 3) un mur AB présente un bouclement brusque en C, la batterie d'étais devra être posée comme l'indique le tracé D, c'est-à-dire que les deux brins seront plus écartés à leur pied qu'à leur sommet, car le bouclement étant en C, s'il faut soutenir et buter la partie supérieure A, il serait dangereux d'agir sous forme de pression de l'extérieur à l'intérieur en E, ce qui arriverait infailliblement si le grand brin GH prenait charge; alors on risquerait d'aggraver la rupture de la maçonnerie au-dessous du bouclement. Mais si un mur est bouclé d'une manière uniforme, ainsi que l'indique le tracé F, les deux brins d'étais doivent être plus écartés à leur sommet qu'à leur pied, car si la maçonnerie s'appuie sur le brin supérieur G'H', et que ce brin prenne charge, toute la pesanteur et la poussée du dedans au dehors se reporteront sur le second brin IK; il faut alors que celui-ci ne porte pas seulement, mais qu'il contre-butte, par son inclinaison, le bouclement qui tendrait à s'augmenter en K.

S'il est nécessaire de poser des brins doublés et même triplés dans un plan perpendiculaire au mur à étayer lorsqu'on veut obtenir une grande force, et pour empêcher les brins de se courber dans leur plan, il faut aussi les empêcher de se courber en sortant du plan perpendiculaire, de se gauchir, en un mot; pour ce faire, il est bon de poser des batteries d'étais comme l'indique la fig. 4, en plan et en perspective; ces deux batteries non parallèles devront être rendues solidaires par des moises. Ainsi, par la disposition des étais, le système ne formera plus qu'un corps solide, très-résistant, représenté par le tracé O, une manière de contre-fort d'un seul morceau ne pouvant ni glisser ni se déformer. Ces sortes d'étaiements sont très-bons pour maintenir des murs de terrasses poussés par des terres, et qui menacent de céder à une très-forte pression.
Rien n'est plus satisfaisant pour l'oeil qu'un étaiement bien combiné et exécuté. Tout architecte qui aime son art ne doit pas seulement indiquer la disposition des étaiements, il doit encore veiller avec une sorte de coquetterie à ce que le charpentier emploie des bois proportionnés comme force à leur destination; à ce que les brins soient nets, bien coupés comme il convient; à ce que les moises soient entaillées, coupées de longueur, ni trop fortes ni trop minces; à ce que les plates-formes présentent sous le pied des étais une surface lisse, plane, un sciage, autant que possible, afin de permettre de serrer les étais parfaitement dans leur plan; à ce que les calles soient proprement coupées, en bon bois, les broches ou pointes qui les maintiennent enfoncées droit; à ce que les maçonneries sous les plates-formes soient faites avec soin, débordant régulièrement de chaque côté la largeur des plates-formes.
Il se présente des circonstances où on ne peut, ni poser des chevalements, ni des étais ordinaires, ni des étrésillons, et où il faut reprendre, par exemple, une pile en sous-oeuvre, parce que les assises inférieures se seraient écrasées ou auraient été endommagées gravement.

Soit, fig. 5, une pile cylindrique A portant des arcs dans tous les sens, quatre arcs doubleaux et quatre arcs ogives; cette pile soutient deux ou trois étages d'autres piles avec voûtes: impossible, ni d'étayer, ni d'établir des chevalements. On peut cintrer les huit arcs, mais cela n'empêchera pas le poids des piles supérieures d'agir sur la pile inférieure. Les assises basses de cette pile sont écrasées. Nous établirons un châssis en bois de chêne d'un fort équarrissage qui sera fait ainsi que l'indique le tracé B en perspective, et B' en plan, avec des joints, des tenons et mortaises gais, des boulons b et des clefs c qui permettront de serrer fortement ce châssis contre le cylindre. Ce châssis enveloppera la pile cylindrique au-dessous de l'astragale du chapiteau (voir le tracé D); nous maçonnerons en bon plâtre tout l'intervalle entre le dessus du châssis C et les cornes du tailloir E du chapiteau. Sous les angles du châssis nous poserons huit chandelles G, indiquées aussi en G' sur le tracé B, assez inclinées pour nous permettre de passer les assises à remplacer H. Mais sous le chapiteau il existe un ou deux tambours intacts qu'il faut conserver. Nous ferons faire quatre équerres en fer, suivant le tracé F, de la hauteur des tambours à conserver; ces équerres seront fixées avec des vis à tête carrée et entaillées sur le châssis; leur patte I viendra mordre le lit inférieur du tambour à conserver. Cela fait, nous pourrons enlever l'assise K à la masse et au poinçon, puis déposer les tambours inférieurs et les remplacer en pierre neuve.

Si toute la pile inférieure est écrasée, si son chapiteau est brisé, si les sommiers des arcs sont mauvais, nous procéderons de la même manière pour le chapiteau de la colonne au-dessus, fig. 6: nous ferons passer les huit chandelles à travers les huit remplissages des voûtes (voir le plan M) en P, nous ferons descendre nos équerres en fer jusqu'au point malade, soit O, et nous démolirons toute la partie inférieure pour la rebâtir en sous-oeuvre; enlevant les voûtes (une fois la pile supérieure étayée), nous remonterons d'abord la pile inférieure avec ses sommiers d'arcs, et, cela terminé, on enlèvera les chandelles et le châssis, et on reposera les voûtes sur cintres sans embarras.
Si l'on ne peut se fier à la solidité des chapiteaux ou si les piles n'en possèdent pas, si ces chapiteaux eux-mêmes sont à reprendre parce qu'ils seraient brisés, on peut avoir recours à des chevalements avec chapeaux en fer.

Il arrive, par exemple, que des piliers (7) recevant deux archivoltes A, deux arcs ogives B et un arc-doubleau C, plus en D la charge de piles supérieures portant des voûtes hautes, ont été affamés, brisés, ou qu'ils se sont écrasés jusques au-dessus des sommiers des arcs. Dans ce cas, pour reprendre ces piliers, leurs chapiteaux et leurs sommiers en sous-oeuvre, il ne s'agit pas seulement d'étayer les constructions supérieures; il faut encore que ces étaiements permettent de manoeuvrer de gros blocs entre eux et de les faire arriver à leur place, sans trop de difficulté, de les bien poser et de les bien ficher. Étayer n'est rien, mais étayer de manière à permettre de reconstruire entre les étais est souvent un problème difficile à résoudre.
Soit donc E', en élévation la pile E; non-seulement cette pile est mauvaise, mais les sommiers des arcs sont brisés jusqu'en F. À partir de ce niveau, la maçonnerie, qui prend plus d'épaisseur, s'est conservée; il s'agit d'enlever toute la construction comprise entre F et G.

D'abord, nous poserons un cintre sous l'arc-doubleau C, deux cintres sous les deux arcs-ogives B, puis, fig. 7 bis, nous poserons sous les deux archivoltes A deux étaiements disposés comme l'indique notre tracé; en HH nous placerons deux étais ordinaires pour bien maintenir le dévers de la pile, nous enlèverons les premiers claveaux des archivoltes de I en K; ce qui nous permettra de faire deux entailles L dans les tas de charge conservés pour faire passer deux fortes pièces de fer composées de quatre fers réunis M et frettés, d'une force proportionnée à la charge. Ces deux fers reposeront sur des chevalets N portant des chapeaux en chêne O. En plan, cet étaiement présente la projection horizontale tracée en P; la pile est en E'', les cintres en C' B'B', les contre-fiches d'archivoltes en A', les chevalets en N' avec leurs chapeaux en O'. Les barres de fer sont marquées par deux traits noirs. Les étais de dévers opposés aux poussées sont projetés en H'. Ceci doit être combiné et placé de manière que, à la hauteur des assises des chapiteaux, tailloirs et sommiers, assises que nous supposons en deux morceaux chaque, l'écartement ST entre les contre-fiches A' et les pieds du chevalement N' soit assez large pour faire passer ces morceaux. Il faut aussi que le chapeau du chevalet postérieur dégage l'arc-doubleau C et ne puisse gêner le remplacement des premiers claveaux de cet arc s'il y a lieu. Les assises reposées doivent être fortement callées sous le tas de charge V. Les claveaux bien posés et fichés au-dessus des sommiers, on enlève les deux fers L et on bouche les trous peu considérables qu'ils ont laissés. Les chevalets et barres de fer étant enlevés en premier, on enlève les contre-fiches d'archivoltes et, seulement quand les mortiers sont bien secs, les deux étais H. On comprend que l'ordre dans lequel des étais doivent être enlevés n'est pas une chose indifférente, car si les étais remplissent bien leur fonction (et, dans un cas pareil, il faut qu'ils la remplissent puisqu'ils portent seuls toute la charge), lorsque les reprises en sous-oeuvre sont terminées, si bien faites qu'elles soient, ce sont toujours les étais qui portent. Du moment qu'on les desserre, les constructions nouvelles prennent charge; il est donc important: 1º qu'elles ne prennent charge que successivement; 2º que les pesanteurs agissent sur elles également et dans le sens vertical. Souvent un étai desserré trop tôt ou intempestivement fait éclater les substructions les mieux établies. L'important, c'est de desserrer ensemble les étais en regard, comme, par exemple, dans la fig. 7 bis, les deux batteries d'étais d'archivoltes A. Du reste, il en est des étaiements comme de beaucoup d'autres choses qui tiennent de l'art du constructeur: autant d'exemples, autant de cas particuliers; par conséquent, autant de procédés applicables à ces cas particuliers. On ne peut que poser des principes généraux et indiquer quelques-unes des mille applications qui se présentent chaque jour. Nous dirons que le premier soin d'un architecte qui veut étayer des constructions, c'est de savoir exactement comment elles ont été faites, quels ont été les procédés employés par les constructeurs, quelles sont leurs habitudes, leurs appareils, quels sont leurs défauts et leurs qualités ordinaires, car on doit parer d'avance à ces défauts et profiter de ces qualités.
Les édifices de la période gothique étant élastiques, toujours équilibrés, il arrive que ces propriétés peuvent vous servir si vous les connaissez exactement, ou qu'elles peuvent déterminer des accidents si vous n'en tenez compte. Nous avons vu reprendre et en sous-oeuvre des constructions qui, à cause de leur hauteur et de leur poids énorme, ne pouvaient être étayées, comme des clochers, par exemple, posés sur quatre piliers, et cela par des moyens très-simples, très-peu dispendieux, parce que les constructeurs qui dirigeaient ces reprises savaient profiter de la flexibilité de ces bâtisses et utilisaient les conditions d'équilibre. Mais quand une reprise en sous-oeuvre, par les moyens extraordinaires employés, coûte plus cher que ne coûterait la reconstruction totale de la portion du monument à consolider, ce n'est plus de l'art. Disons encore que tout édifice étayé pour être repris exige une surveillance constante. L'architecte doit observer les moindres symptômes qui se manifestent; l'ouverture d'un jour, la fêlure d'une pierre, sont toujours alors le signe d'un mouvement qui, si faible qu'il soit, doit être constaté, et l'architecte ne se donnera pas de repos qu'il n'en ait reconnu la cause pour y remédier. Une calle mise à propos, une chandelle posée à temps, préviennent souvent les plus sérieux accidents. Si des mouvements se manifestent, faut-il au moins qu'ils viennent pour ainsi dire en aide à l'architecte, qu'ils entrent dans son système général de soutènement. Il est même de ces cas très-graves où l'architecte doit provoquer ces mouvements, comme l'habile médecin, pour traiter une inflammation locale, attire le mal sur une autre partie du corps. On pourrait dire que tout étaiement dans les constructions consiste à prévenir un mal; mais dans les édifices gothiques, il ne suffit pas de prévenir, il faut détourner ce mal: car, le système de la bâtisse gothique reposant sur les lois d'équilibre, si un point faiblit, toutes les pesanteurs verticales ou obliques se reportent sur ce point faible: il s'agit donc de rétablir ces lois d'équilibre, et, pour cela, non-seulement il faut soutenir et reprendre la partie qui souffre, mais il faut reporter ailleurs les pesanteurs excédantes; autrement, la reprise achevée, l'équilibre serait toujours rompu, et le mal auquel on aurait apporté remède sur un point se produirait bientôt ailleurs.
ÉTANÇON, s. m. Pièce de bois posée verticalement sous une construction pour arrêter un écrasement. L'étançon ne fait que résister dans le sens vertical; il est généralement court; lorsqu'il dépasse une longueur de deux à trois mètres, on lui donne le nom de chandelle.
On désignait aussi par étançon, pendant le moyen âge, des potelets verticaux que les mineurs posaient sous les murailles sapées pour les empêcher de s'écrouler sur les ouvriers. Lorsqu'on voulait faire tomber les murs, on mettait le feu aux étançons (voy. ARCHITECTURE MILITAIRE, SIÉGE).
ÉTAYEMENT, s. m. On écrit aussi étaiement, action d'étayer, ou combinaison d'étais (voy. ÉTAI).
ÉTONNÉ, p. On dit: Ce fer est étonné, cette pierre est étonnée; ce qui signifie que ce fer a subi un choc, une épreuve qui, n'ayant pas causé une rupture immédiate, ont cependant prédisposé le métal à se rompre facilement; que la pierre a de même été désagrégée par une action physique, ou fêlée par un choc, et qu'elle se trouve aussi dans de mauvaises conditions de résistance. Un forgeron maladroit peut étonner son fer s'il lui donne un coup de marteau à faux lorsqu'il commence à se refroidir; un tailleur de pierre peu soigneux étonne son bloc en le taillant, si, par exemple, il fait un évidement sans prendre le temps d'enlever la pierre peu à peu. Il étonne les parements en employant la boucharde, c'est-à-dire qu'il les prédispose à se décomposer plus facilement sous l'action des agents atmosphériques. Les architectes du moyen âge, qui n'étaient pas avares d'évidements, avaient le soin de les profiler de façon à ce que le tailleur de pierre ne fût pas entraîné à étonner la pierre. Ainsi, par exemple, les sections horizontales des piles composées de faisceaux de colonnettes, celles des arcs moulurés portent toujours, dans les angles rentrants, des gorges ou des filets plats qui arrêtent l'outil assez à temps pour l'empêcher d'étonner la pierre. Si nous profilons une pile d'après le tracé A, fig. 1, il est certain que pour obtenir les aiguités B, le tailleur de pierre étonnera son bloc; mais si nous traçons la section C, en réservant des filets plats D dans ces angles rentrants, nous éviterons ce grand inconvénient; la pierre, quoique évidée, conservera son nerf (voy. PROFIL).

ÉTRÉSILLON, s. m. Pièce de bois destinée à empêcher deux parties d'une
construction de se rapprocher.
Lorsqu'un mur percé de baies fléchit, se
disloque, la première opération à faire est d'étançonner les baies (1).
A sont les étançons serrés entre les tableaux des baies sur des couches
verticales B.
Dans les maçonneries, les architectes du moyen âge ont souvent admis l'étrésillonnement comme un moyen de construction fixe, ainsi que les arcs-boutants, qui peuvent bien passer pour un étaiement permanent. Le porche sud de la cathédrale du Puy-en-Vélay, bâti vers 1150, présente un exemple très-étrange de l'emploi des étrésillons fixes dans la maçonnerie.

Ce porche s'ouvre par une grande archivolte possédant un arc isolé concentrique (2), absolument inutile, pure décoration qui est maintenue au moyen de trois petits pilastres isolés, destinés à empêcher son relèvement ou sa déviation hors du plan vertical. La coupe A, faite sur le milieu de l'archivolte, indique, en B, le sous-arc isolé et son petit pilastre d'axe C. Avec plus de raison, des roses circulaires, inscrites dans des triangles curvilignes, sont étrésillonnées dans les deux angles inférieurs par de petites colonnettes qui empêchent les claveaux de sortir de la courbe (3).

On voit une disposition de ce genre adoptée pour maintenir les claveaux des roses des deux fenêtres ouvertes au-dessus des portes latérales de la façade de la cathédrale d'Amiens. Par le fait, les grandes roses de nos églises françaises, à dater du milieu du XIIIe siècle, ne se composent que d'un système d'étrésillonnement de pierre (voy. ROSE).
ÉTUVE, s, f. Bains. Personne n'ignore le soin avec lequel les Romains établissaient des bains publics et privés. Les anciens considéraient les bains chauds et froids non-seulement comme un des meilleurs moyens d'entretenir la santé; mais encore c'était pour eux une habitude, un plaisir. Nos cercles dans les grandes villes, et nos cafés dans les petites localités, sont les seuls établissements, aujourd'hui, qui peuvent nous donner l'idée de ce qu'étaient les bains chez les Romains. On se rendait aux bains pour se baigner, mais plus encore pour se réunir, pour connaître les nouvelles du jour, pour parler de ses affaires et de ses plaisirs. Ces usages qui tiennent à une civilisation avancée devaient s'altérer évidemment lorsque les barbares se répandirent dans l'Occident. Cependant les Germains, si nous en croyons Tacite, se levaient tard et se baignaient le plus souvent dans de l'eau tiède; après quoi ils prenaient quelque nourriture 448. Charlemagne paraît avoir adopté entièrement à cet égard les usages des Romains. Eginhard 449 dit que ce prince aimait beaucoup les bains d'eaux thermales. «Passionné pour la natation, ajoute-t-il, Charles y devint si habile, que personne ne pouvait lui être comparé. C'est pour cela qu'il fit bâtir un palais à Aix-la-Chapelle, et qu'il y demeura constamment pendant les dernières années de sa vie, jusqu'à sa mort. Il invitait à prendre le bain avec lui, non-seulement ses fils, mais encore ses amis, les grands de sa cour et quelquefois même ses soldats et ses gardes du corps, de sorte que souvent cent personnes et plus se baignaient à la fois.» Il n'est pas douteux que Charlemagne en ceci, comme en beaucoup d'autres choses, ne faisait que reprendre les habitudes des Romains de l'antiquité.
On ne trouve plus trace de ces grandes dispositions à partir du Xe siècle; et les bains, depuis le XIIe siècle, ne sont que des étuves, c'est-à-dire des établissements analogues à ceux que nous possédons encore aujourd'hui, si ce n'est que les baignoires étaient en bois, en marbre ou en pierre, et les chambres de bains probablement moins incommodes que les nôtres. Il était assez d'usage, pendant le XIIIe siècle, de se baigner en compagnie, quelquefois même dans la même cuve.
«Puis revont entr'eus as estuves,
Et se baignent ensemble ès cuves
Qu'ils ont es chambres toutes prestes,
Les chapelès de flors es testes,
..... 450»
Et
«Quand vendroit la froide saisons,
...»
tout étant bien clos, on allumerait bon feu;
«On feroient estuves chaudes,
En quoi lor baleries baudes
Tuit nuz porroient demener,
Quant l'air verroient forcener,
Et geter pierres et tempestes,
Qui tuassent as champs les bestes,
Et grands flueves prendre et glacier 451.»
Il paraîtrait qu'alors (au XIIIe siècle) il y avait des salles de bains dans les châteaux, mais qu'il existait des étuves publiques très-fréquentées dans les villes. En effet, beaucoup de villes anciennes ont conservé leur rue des Étuves. Dans l'excellente Histoire de Provins, de M. Bourquelot 452, nous lisons ce passage: «Quant aux étuves, la première mention que nous en trouvons existe dans un titre de mai 1236, d'après lequel Raoul de Brezelle, chevalier, donne aux pauvres de la Maison-Dieu de Provins XII den. de cens qu'il avait et percevait annuellement sur cinq chambres sises derrière l'Hôtel-Dieu, entre le monnayeur et les bains, inter monetarium et balnea. Il est probable que ces bains, qui occupaient l'emplacement où l'on voit encore le gracieux hôtel des Lions, étaient les seuls qu'il y eût primitivement à Provins, et leur ancienneté leur avait fait donner le nom de vieux-bains. Ils tombaient en ruines en 1356. Louis-le-Hutin en établit de nouveaux en 1309 à cause de l'affluence du peuple, ob affluentiam populi, dit Moissant 453; mais cette affluence ne fut pas de longue durée, car nous voyons quelque temps plus tard le louage des bains diminuer d'année en année d'une manière sensible 454.»
Ces étuves ne consistaient qu'en des chambres plus ou moins spacieuses dans lesquelles on disposait des cuves remplies d'eau tiède au moyen de conduites, comme cela se pratique encore aujourd'hui. Dans les palais, les salles de bains étaient décorées souvent fort richement. Sauval 455 rapporte qu'à l'hôtel Saint-Pol, et à l'hôtel du Petit-Muce, le roi Charles V avait fait disposer pour la reine des chambres de bains qui étaient pavées de pierres de liais, «fermées de portes en fer treillisé, et entourées de lambris de bois d'Irlande; les cuves étaient de même bois, ornées tout autour de bossettes dorées, et liées de cerceaux attachés avec des clous de cuivre doré.»
Depuis le XIVe siècle, dit ailleurs le même auteur 456, «nos rois bâtirent des étuves à la pointe de cette isle (du Palais) 457, et pour celles firent faire un logis nommé la maison des Étuves, tant pour eux et pour leurs enfans que pour les princes et autres grands seigneurs logés avec eux; car en ce temps-là il y en avoit non-seulement dans tous les palais et les grands hôtels, mais même dans plusieurs rues de Paris, destinées exprès pour cela; d'où vient que quelques-unes conservent encore ce nom de rue des Étuves... Pour ce qui est des Étuves de cette Isle, elles furent données par Henri II aux ouvriers de la Monnoie, au moulin qu'il fit fabriquer en cet endroit-là, mais qu'on ruina lorsqu'on entreprit le Pont-Neuf.»
Chez les particuliers on avait des cuviers qui servaient de baignoires et que l'on plaçait dans une chambre lorsqu'on voulait se baigner; on appelait cela tirer le bain... «Il fit tantost tirer les bains, chauffer les estuves.» On prenait même parfois ses repas étant ainsi au bain: «Tantost se bouterent au bain, devant lequel beau souper fut en haste couvert et servi 458.»
Et ailleurs: «Un jour entre les autres Madame eut voulenté de soi baigner, et fist tirer le baing et chauffer les estuves en son hostel 459.» Un grand nombre de vignettes, de manuscrits des XIV et XVe siècles, nous montrent des personnages prenant des bains dans des sortes de cuviers de bois installés dans une chambre. Chacun connaît le conte du Cuvier 460, qui date du XIIIe siècle. De toutes les citations qui précèdent, et auxquelles nous pourrions en ajouter beaucoup d'autres si nous ne craignions d'être trop long, on peut conclure ceci: que, pendant le moyen âge, l'usage des bains, comme on les prend aujourd'hui, était fort répandu; qu'il existait des établissements publics de bains dans lesquels on trouvait des étuves, tout ce qui tient à la toilette; où l'on mangeait et où l'on passait même la nuit; que dans les châteaux et les grands hôtels il y avait des salles affectées aux bains, presque toujours dans le voisinage des chambres à coucher; que l'usage des bains, pendant les XVIe et XVIIe siècles, fut beaucoup moins répandu qu'il ne l'était avant cette époque et presque exclusivement admis par les classes élevées; que ces établissements publics, pendant le moyen âge, ne présentaient pas des dispositions particulières, et ne consistaient qu'en des chambres dans lesquelles on plaçait des cuviers.
ÉVANGÉLISTES, s. m. Les quatre évangélistes, saint Luc, saint Mathieu,
saint Jean et saint Marc, sont, dès les premiers siècles du moyen âge,
représentés, soit sous forme de figures d'hommes drapés, tenant un
livre, soit par quatre figures symboliques: Saint Luc, par le boeuf;
saint Mathieu, par l'homme; saint Jean, par l'aigle; saint Marc, par le
lion. Quelquefois le personnage et le symbole se trouvent réunis, et
même les évangélistes ont des corps d'hommes avec des têtes de boeuf,
d'homme, d'aigle et de lion. Dans l'article ANIMAUX, nous avons donné
des exemples des figures symboliques appliquées aux évangélistes, et
dans l'article ÉGLISE personnifiée, on peut voir la Nouvelle Loi
assise sur une bête à quatre têtes et à quatre pieds appartenant aux
quatre symboles des évangélistes.
Les sculpteurs et les peintres du moyen âge ont aussi représenté les quatre évangélistes assis ou montés sur les épaules des quatre grands prophètes de l'Ancien Testament. Au portail du nord de la cathédrale de Bamberg, de belles sculptures du XIIe siècle nous montrent les quatre évangélistes ainsi placés (1). À Bamberg, l'évangéliste tient un volumen; il est monté sur les épaules du prophète, auquel l'artiste a donné la pose d'un équilibriste; le prophète tourne son visage du côté de l'évangéliste: ce dernier est nimbé. Une colombe (l'Esprit-Saint), placée dans le chapiteau, porte un phylactère dans son bec. Le vitrail du croisillon méridional de la cathédrale de Chartres nous a conservé en peinture, le même sujet; mais à Chartres les évangélistes sont assis sur les épaules des prophètes, jambe de-ci, jambe de-là. Dans ce vitrail, saint Jérémie porte saint Luc; Isaïe, saint Mathieu; Ézéchiel, saint Jean; Daniel, saint Marc. «La place, dit M. Didron 461, que ces attributs et les évangélistes doivent occuper est celle-ci, en ligne ascendante, de bas en haut: le boeuf, le lion, l'aigle, l'ange (l'homme) 462... Dans les angles d'un carré, comme on les met très-souvent, les attributs des évangélistes doivent être constamment placés dans cet ordre hiérarchique: en haut, l'ange est à droite et l'aigle à gauche (du Christ); en bas, le lion est à droite et le boeuf sous l'aigle. Quand cet ordre n'est pas suivi, il y a erreur. Cependant on n'a pas toujours été d'accord, ni sur la place à leur donner, ni sur l'application spéciale qu'on en devait faire à chacun des évangélistes...» Depuis le XIIe siècle, dans les monuments occidentaux, l'ordre que nous donnons est suivi sans exceptions, quant à l'application des symboles, à chacun des évangélistes.
ÉVANGILE, s. m. Livre renfermant les quatre évangiles. Dans les sculptures et peintures du moyen âge, à dater du XI siècle, le livre des évangiles est placé entre les mains du Christ-Homme, sous la forme d'un livre ouvert ou fermé; le plus souvent fermé à partir du XIIIe siècle. Dans les représentations d'autels, on voit le livre des évangiles posé sur la table et fermé.
ÉVÊCHÉ, s. m. Évesquie, éveschie. Palais épiscopal. Les palais épiscopaux ou archiépiscopaux ne diffèrent en rien des habitations seigneuriales urbaines du moyen âge. Ils possèdent leur grand'salle (salle synodale), leurs portiques ouverts, de vastes logements; presque toujours ils conservent les signes de la demeure féodale, c'est-à-dire qu'ils sont fortifiés sur les dehors, munis de créneaux et de tours (voy. PALAIS, SALLE, TOUR). Il ne nous reste en France que peu d'évêchés ou archevêchés anciens. Toutefois, nous signalerons ici le palais archiépiscopal de Narbonne, XIVe siècle (aujourd'hui hôtel de ville et musée); les évêchés de Laon, XIIIe siècle (palais de justice aujourd'hui), de Meaux (substruction et chapelle du XIIe siècle), d'Auxerre, XIIe et XIIIe siècles (préfecture aujourd'hui); les palais archiépiscopaux de Rouen (restes des XIIIe, XIVe et XVe siècles), de Sens (salle du XIIIe siècle), de Reims (restes des XIIIe et XVe siècles); les évêchés d'Évreux (XVe siècle), de Luçon (XVe siècle), de Beauvais, XIIe et XVe siècles (palais de justice aujourd'hui), de Soissons (restes des XIIIe et XVIe siècles).
ÉVIER, s. m. Vidange des eaux ménagères. Dans les offices des châteaux on retrouve presque toujours la trace d'éviers destinés à rejeter au dehors les eaux qui servaient à laver la vaisselle. Ces éviers consistent en une pierre taillée en forme de cuvette avec un trou au fond et placée dans un renfoncement de la muraille. Le trou de la pierre à évier correspond à une conduite en pierre prise dans l'épaisseur du mur ou formant saillie au dehors.

C'est ainsi qu'est disposé l'évier que l'on voit encore dans le château de Verteuil (Gironde)(1), et dont la pierre est placée au premier étage 463. D'autres éviers jettent leurs eaux directement au dehors par une gargouille placée immédiatement au-dessous de la cuvette. Souvent ces éviers sont disposés dans l'embrasure d'une fenêtre. M. Parker, dans son Architecture domestique de l'Angleterre, a donné quelques-uns de ces éviers, établis avec un soin particulier 464.
EXTRADOS, s. m. Dos d'un arc ou d'une voûte. Tout arc en maçonnerie, ou formé d'appareil, possède son intrados et son extrados. Soit un arc ou une section de voûte 1, la surface intérieure AB des claveaux est l'intrados, celle extérieure CD l'extrados (voy. CONSTRUCTION).


FABLIAU, s. m. Nous n'entreprendrons pas ici d'expliquer comment et à quelle époque les apologues venus de l'Orient et de la Grèce pénétrèrent dans la poésie du moyen âge, d'autant qu'il existe sur ce sujet des travaux fort bien faits 465; nous constaterons seulement que vers le commencement du XIIe siècle, on trouve sur les édifices religieux et civils des représentations sculptées de quelques apologues attribués à Ésope, et qui dès cette époque étaient fort populaires en France. Alexandre Neckam, dont la naissance paraît remonter à l'année 1157, et qui apprit et enseigna les lettres à Paris, fit un recueil de fables intitulé Novus AESOPUS, dans lequel nous retrouvons en effet beaucoup de fables d'Ésope remises en latin, à l'usage des écoles 466. Neckam ne fit probablement que donner une forme littéraire, appropriée au goût de son temps, à des apologues connus de tous et reproduits maintes fois en sculpture et en peinture. Le premier apologue de ce recueil est intitulé: De Lupo et Grue. Et, en effet, cette fable est une de celles que nous trouvons sculptées le plus fréquemment dans des édifices du XIIe siècle et du commencement du XIIIe.

Sur le portail de la cathédrale d'Autun, 1130 à 1140, il existe un chapiteau qui reproduit cet apologue si connu (1). Mais c'est à partir du XIIIe que la sculpture et la peinture prirent souvent des fabliaux comme sujets secondaires sur les portails des églises, principalement des cathédrales et sur les édifices civils; les artistes en ornèrent les chapiteaux, les culs-de-lampes, les panneaux. Au XVe siècle les fabliaux, singulièrement nombreux, presque tous satiriques, inventés ou arrangés par les trouvères-jongleurs des XIIIe et XIVe siècles, fournirent aux arts plastiques un recueil inépuisable de sujets que nous voyons reproduits sur la pierre, sur le bois, dans le lieu saint comme dans la maison du bourgeois. Il y a quinze ans, un auteur versé dans la connaissance de notre vieille poésie française écrivait ceci 467: «Pour ne parler que des trouvères, auteurs de fabliaux, on leur reproche surtout le cynisme avec lequel ils traitaient les choses les plus respectables, les ecclésiastiques et les femmes. Mais n'oublions pas qu'il n'y avait alors ni presse, ni tribune, ni théâtre. Il existait pourtant, comme toujours il en existera, force ridicules et abus. La société est malheureusement ainsi faite, qu'il faut une sorte d'évent, d'exutoire, au mécontement populaire; les trouvères-jongleurs, moqueurs et satiriques, étaient une nécessité, un besoin de cette société malade et corrompue. Leurs satires trop vives, mêmes grossières souvent pour nos oreilles délicates, ne paraissaient pas telles à leurs contemporains, puisque le sage et chaste roi saint Louis écoutait ces satires, s'en amusait et récompensait leurs auteurs: témoin, Rutebeuf, l'un des moins retenus de ces vieux poëtes. Et, d'ailleurs, ces satires contre les moines, par exemple, étaient-elles si peu motivées? Qui ne comprendrait, au contraire, la colère qu'expriment tous les écrivains du XIIe et du XIIIe siècle, qui voyaient leurs propres seigneurs, les rois mêmes de leur pays, quitter la patrie, abandonner leurs États et leur famille, s'exposer à toutes les fatigues, les hasards, les dangers, pour la cause d'une religion dont les ministres, héritiers de la fortune et des terres des croisés, vivaient en France au milieu de l'abondance, du luxe, et souvent de la débauche? Et, de nos jours, n'avons-nous pas vu faire bien pis que des contes pour réprimer des abus moins criants que ceux-là?» Les fabliaux appartiennent à notre pays. Nulle part en Europe, aux XIIe et XIIIe siècles, on ne faisait de ces contes, de ces lais, de ces romans, vifs, nets, caustiques, légers dans la forme, profonds par l'observation du coeur humain. L'Allemagne écrivait les Niebelungen, sorte de poëme héroïque et sentimental où les personnages parlent et agissent en dehors du domaine de la réalité. L'Italie penchait vers la poésie tragique et mystique dont le Dante est resté la plus complète expression. L'Espagne récitait le Romancero, énergique par la pensée, concis dans la forme, où la raillerie est amère, envenimée, respirant la vengeance patiente, où les sentiments les plus tendres conservent l'âpreté d'un fruit sauvage. Ce peuple de France, tempéré comme son climat, seul au milieu du moyen âge tout plein de massacres, de misères, d'abus, de luttes, conserve sa bonne humeur: il mord sans blesser, il corrige sans pédantisme; le cothurne tragique provoque son sourire; la satire amère lui semble triste. Il conte, il raille, mais il apporte dans le tour léger de ses fables, de ses romans, de ses chansons de gestes, cet esprit positif, cette logique inflexible que nous lui voyons développer dans les arts plastiques; il semble tout effleurer, mais si légère que soit son empreinte, elle est ineffaçable. Pour comprendre les arts du moyen âge en France, il faut connaître les oeuvres littéraires de nos trouvères des XIIe et XIIIe siècles, dont Rabelais et La Fontaine ont été les derniers descendants. Faire songer en se jouant, sonder les replis du coeur humain les plus cachés et les plus délicats dans une phrase, les dévoiler par un geste, en laissant l'esprit deviner ce qu'on ne dit pas ou ce qu'on ne montre pas, c'est là tout le talent de nos vieux auteurs et de nos vieux artistes si mal connus. Quoi de plus fin que ce prologue du roman du Renard? En quelques vers l'auteur nous montre le tour de son esprit, disposé à se moquer un peu de tout le monde, avec un fond d'observation très-juste et de philosophie pratique.
Dieu chasse Adam et Ève du paradis terrestre.
«Pitiez l'emprist, si lor dona
Une verge, si lor mostra
Quant il de riens mestier auroient,
De ceste verge en mer ferroient.
Adam tint la verge en sa main,
En mer feri devant Evain:
Sitost con en la mer feri,
«Une brebiz fors en sailli.
Lors dist Adam, dame prenez
Ceste brebiz, si la gardez;
Tant nos donra let et fromage,
Assez i aurons compenage.
Evain en son cuer porpensoit
Que s'ele encore une en avoit,
Plus belle estroit la conpaignie.
Ele a la verge tost saisie,
En la mer feri roidement:
Un Leus (loup) en saut, la brebis prent,
Grant aléure et granz galos
S'en va li Leus fuiant au bos.
Quant Ève vit qu'ele a perdue
Sa brebiz, s'ele n'a aïue,
Bret et crie forment, ha! ha!
Adam la verge reprise a,
En la mer fiert par mautalent,
Un chien en saut hastivement.»
C'est leste, vif, comme une fable de La Fontaine: le Créateur qui prend en pitié ceux qu'il vient de punir, la bonhomie d'Adam qui remet la brebis à sa ménagère, l'indiscrète ambition d'Ève, l'intervention de l'homme qui rétablit le bon ordre par un nouvel effort, des actes qui dénotent les pensées, pas de discours, pas de reproches; c'est le monde qui marche tant bien que mal, mais qui va toujours, et des spectateurs qui regardent, observent et rient. Pour naïf ce ne l'est pas, ce ne l'est jamais; ne demandez pas à nos trouvères ces développements de la passion violente, la passion les fait sourire comme tout ce qui est exagéré; s'ils ont un sentiment tendre à exprimer, ils le font en deux mots; ils ont la pudeur du coeur s'ils n'ont pas toujours la parole châtiée. Jamais dans les situations les plus tragiques les personnages ne se répandent en longs discours. N'est-ce point là une observation très-vraie des sentiments humains?
Quand le seigneur de Fayel a fait manger le coeur du châtelain de Coucy à sa femme, il se contente de lui dire en lui montrant la lettre qu'envoyait le chevalier à son amie:
«Connoissés-vous ces armes-cy?
C'est d'ou chastelain de Coucy.
En sa main la lettre li baille,
Et li dit: Dame, créés sans faille
Que vous son cuer mengié avés.»
La dame se répand-elle en imprécations, tord-elle ses bras, fait-elle de longs discours, exprime-t-elle son horreur par des exclamations? L'auteur nous dit-il qu'elle devient livide, qu'elle reste sans voix, ou ne peut articuler que des sons rauques? Non, l'auteur comprend que pour un peu, cette vengeance, qui se traduit par un souper dégoûtant, va tomber dans le ridicule. La passion et le désespoir de la femme s'expriment par quelques paroles pleines de noblesse et de simplicité; si bien que le mari reste vaincu.
«La dame a tant li respondy:
Par Dieu, sire, ce poise my;
Et puis qu'il est si faitement,
Je vous affi certainement
Qu'à nul jour mès ne mengeray,
D'autre morsel ne metteray
Deseure si gentil viande.
Or m'est ma vie trop pezande
À porter, je ne voel plus vivre,
Mort, de ma vie me délivre!
Lors est à i cel mot pasmée.»
Ce n'est que lorsqu'elle est au milieu de ses femmes, loin de la scène du tragique banquet, qu'avant de mourir elle exprime en quelques vers les regrets les plus touchants:
«Lasse! j'atendoie confort
Qu'il revenist, s'ai atendu:
Mais quant le voir ai entendu
Qu'il est mors, pourquoi viveroie,
Quant je jamais joie n'aroie?»
Parfois une pensée pleine d'énergie perce à travers le murmure discret de la passion dans les poésies françaises du moyen âge. Dans le même roman, lorsque les deux amants vont se séparer, la dame veut que le sire de Coucy emporte les longues tresses de ses cheveux; lui, résiste:
«He! dieux, dist li chastelains, dame,
Jà ne les coperés, par m'ame,
Pour moy, se lessier le voulés.
Et elle dist: Se tant m'amés,
Vous les emporterés o vous,
Et avoec vous est mes cuers tous;
Et se sans mort je le povoie
Partir, je le vous bailleroie.»
Mais nous voici loin du fabliau et de son allure frondeuse. Les arts plastiques sont la vivante image de ces sentiments, tendres parfois, élevés même, sans jamais être boursouflés; les artistes, comme les poëtes français du moyen âge, sont toujours contenus par la crainte de dépasser le but en insistant; c'est le cas de suivre ici leur exemple. À la fin du XIIIe siècle seulement, les artistes commencent à choisir parmi ces fabliaux quelques scènes satiriques. Au XIVe siècle ils s'émancipent tout il fait, et ne craignent pas de donner une figure aux critiques de moeurs admises partout sous la forme de l'apologue. Au XVe siècle c'est un véritable déchaînement, et ces sujet grotesques, scabreux, que nous voyons représentés alors, même dans les édifices réservés au culte, ne sont pas le produit d'un caprice barbare, mais une protestation de plus en plus vive contre les abus du siècle, et particulièrement des ordres religieux. Nous ne saurions trop le répéter, la classe laïque inférieure, pendant le moyen âge, suit du XIIe au XVe siècle une marche logique. Elle ne pouvait exprimer ses sentiments, ses colères, son penchant pour la satire, sa verve moqueuse, que dans les productions d'art; c'était la seule liberté qu'on lui laissait; elle en profitait largement, et avec une persistance qui, malgré la liberté de la forme, découlait d'un instinct du juste et du vrai, fort louable, que nous aurions grand tort de méconnaître.
FAÇADE, s. f. Vistz. On applique le nom de façade aujourd'hui à
toute ordonnance d'architecture donnant sur les dehors, sur la voie
publique, sur une cour, sur un jardin. Mais ce n'est que depuis le XVIe
siècle, en France, que l'on a élevé des façades comme on dresserait une
décoration devant un édifice, sans trop se soucier du plus ou moins de
rapports de ce placage avec les dispositions intérieures. Les anciens,
non plus que les architectes du moyen âge, ne savaient ce que c'était
qu'une façade dressée avec la seule pensée de plaire aux yeux des
passants.
Les faces extérieures des bons monuments de l'antiquité ou du
moyen âge ne sont que l'expression des dispositions intérieures. Pour
les églises, par exemple, les façades principales, celles qui sont
opposées au chevet, ne sont autre chose que la section transversale des
nefs. Pour les maisons, les façades sur la rue consistent en un pignon
si la maison se présente par son petit côté, en un mur percé de portes
et de fenêtres si au contraire la maison présente vers l'extérieur son
grand côté. Tout corps de logis du moyen âge est toujours bâti sur un
parallélogramme, des pignons étant élevés sur les deux petits côtés
opposés. Ainsi, fig. 1, le corps de logis du moyen âge présente deux
pignons A et deux murs latéraux B. Si plusieurs bâtiments sont
agglomérés, ils forment une réunion, fig. 2, d'un plus ou moins grand
nombre de ces logis distincts, et leurs façades ne sont autre chose que
la disposition plus ou moins décorée des jours ouverts sur les dehors.
Ce principe fait assez voir que ce que nous entendons aujourd'hui par
façade n'existe pas dans l'architecture du moyen âge. Une église, un
palais, une maison, possèdent leurs faces extérieures, leurs vistz;
mais ces faces ne sont autre chose que l'apparence nécessaire des
dispositions du plan, des logements ou des constructions intérieures. En
un mot, dans l'architecture du moyen âge, la façade ne peut être séparée
de l'ordonnance générale du bâtiment, elle en est la conséquence. Nous
renvoyons donc nos lecteurs aux articles: CATHÉDRALE, CHÂTEAU, MAISON,
PALAIS, ARCHITECTURE religieuse, monastique et militaire.
FAÎTAGE, s. m. Partie supérieure d'un comble à deux égoûts (voy. CHARPENTE, CRÊTE, FAÎTIÈRE).
FAÎTE, s. m. Pièce de bois horizontale qui réunit les deux extrémités supérieures des poinçons de fermes (voy. CHARPENTE).
FAÎTIÈRE, s. f. Tuile de couronnement d'un comble à deux égoûts. Ces tuiles sont unies ou ornées, simples ou doublées. Lorsque les faîtières sont ornées, elles composent une véritable crête de poteries plus ou moins découpée sur le ciel. Les tuiles faîtières de l'époque romane sont généralement d'une très-grande dimension, posées jointives, et souvent ornées de boutons servant à les poser facilement. Ces boutons forment la décoration continue ou la crête du faîtage. Nous avons vu encore sur les combles de l'église de Vézelay des débris de très-anciennes faîtières (du XIIe siècle probablement) qui n'avaient pas moins de 0,70 c. de longueur, et qui devaient être posées jointives avec un calfeutrage en mortier entre-deux.

Voici, fig. 1, une de ces faîtières en terre cuite d'une bonne qualité, vernissée à l'extérieur d'une couverte brun-verdâtre. Les bords A extrêmes étaient légèrement relevés pour éloigner l'eau de pluie du joint, lequel était garni de mortier. Les boutons, d'une saillie de 0,12 c. à 0,15 c., étaient assez grossièrement modelés à la main. Plus tard on reconnut que ces tuiles faîtières jointives, malgré les calfeutrages en mortier, laissaient passer l'humidité dans les charpentes, et on chevaucha ces faîtières, ainsi que l'indique la fig. 2. Toutefois, pour éviter leur dérangement par l'effet du vent, on les posait toujours sur mortier, en ayant le soin de ne pas laisser de bavures. Vers le commencement du XIIIe siècle on fabriquait aussi des faîtières à recouvrement sur les combles en tuiles (3), chaque faîtière portant un bourrelet A revêtissant le rebord B de sa voisine.

Une couverte vernissée au feu recouvrait toujours ces faîtières pour les rendre moins perméables à l'humidité et donner moins de prise au vent, car le vent n'agit pas sur une surface polie comme sur un corps rugueux. Il est certain que les tuiliers du moyen âge observaient, dans la confection des faîtières, les lois qui guidaient les plombiers; ils avaient compris que ces faîtières devaient avoir un poids assez considérable pour résister au vent et pour appuyer le faîtage des combles, lequel a toujours besoin d'être chargé, principalement lorsque ces combles se composent de chevrons portant ferme (voy. CHARPENTE, CRÊTE); aussi, donnèrent-ils bientôt aux appendices décoratifs, qui ne sont guère que des boutons peu saillants ou de légers reliefs pendant l'époque romane, des formes plus décidées, plus saillantes, et un plus grand poids par conséquent. On voyait, il y a quelques années, dans le petit musée que M. Ruprich Robert avait installé dans une des dépendances de la cathédrale de Bayeux, deux faîtières en terre cuite très-curieuses par leur fabrication. Nous les donnons ici toutes deux (4 et 4 bis).


Elles paraissent appartenir au XIIIe siècle, sont d'une petite dimension, et le vernis qui les couvre est brun. Ces faîtières étaient posées jointives. On voit encore à Troyes, sur des maisons voisines de la cathédrale, quelques tuiles faîtières conformes au dessin, fig. 5, vernies en brun. Ces appendices ajourés, formant crête, étaient nécessairement soudés sur la faîtière avant la cuisson. Mais au feu beaucoup se gerçaient ou se déformaient. Ces pièces de terre, à cause de leur forme et de leur dimension, prenaient beaucoup de place dans le four, étaient difficiles à caser, et leur cuisson devait être souvent inégale. Lorsqu'au XIVe siècle les édifices publics et privés devinrent plus riches et plus délicats, il fallut nécessairement donner aux crêtes de combles recouverts en tuiles des formes plus sveltes, se détachant plus légèrement sur le ciel; alors on fit des faîtières dont les ornements se rapportaient. C'est d'après ce système que sont fabriquées les tuiles faîtières de l'église Sainte-Foi de Schelestadt 468. Elles se composent de la faîtière proprement dite, fig. 6, portant une tige double ajourée, percée au sommet d'un trou cylindrique dans lequel entre un petit goujon en fer. La partie supérieure de ce goujon, dépassant le lit B, reçoit une feuille d'érable A, proprement moulée et vernissée. Ces faîtières datent du commencement du XIVe siècle.

L'oxydation des goujons et le peu d'assiette de ces ornements devaient souvent causer la brisure de ces tiges délicates; cependant on prétendait de plus en plus donner de l'importance aux crêtes en terre cuite; on revint donc vers le XVe siècle aux soudures avant la cuisson, mais en faisant porter les ornements élevés aux sous-faîtières qui étaient courtes, et ne décorant les faîtières de recouvrement que d'ornements peu saillants. C'est suivant ce mode qu'étaient fabriquées les anciennes faîtières du comble de la cathédrale de Sens, dont la couverture en tuiles vernissées date de la fin du XVe siècle (7). Les sous-faîtières A sont vernies en jaune, et les grandes faîtières de recouvrement en vert 469. On remarquera les trous qui traversent de part en part le vase à double panse de la sous-faîtière; ces trous, qui sont à peine visibles à la hauteur où est placée cette crête, n'ont d'autre but que de produire des sifflements sous l'action du vent, ce qui probablement plaisait fort aux voisins de l'église. Nous avons souvent trouvé sur les couronnements des édifices, et particulièrement des combles, la trace de ces singulières fantaisies musicales. On n'attachait pas, pendant le moyen âge, à certains phénomènes naturels, les idées romanesques qui nous ont été suggérées par la littérature moderne; le sifflement du vent à travers les créneaux et les découpures des édifices, qui fait naître dans notre esprit de sinistres pensées, était peut-être pour les oreilles de nos pères une harmonie réjouissante. Quoi qu'il en soit, l'idée de couronner le comble d'un édifice par une centaine de sifflets est passablement originale.
Pour éviter les difficultés que présentait encore la cuisson des pièces A de la figure précédente, on imagina de former ces pièces élevées de poteries posées les unes sur les autres en recouvrement, comme nous voyons qu'on le faisait aussi pour les épis en terre cuite (voy. ÉPIS).

Voici (8) un faîtage ainsi combiné 470. La sous-faîtière porte une sorte de goulot B (voir le profil B'), sur lequel vient s'emboutir le chapeau C en forme de tourelle percée de quatre trous. Les sous-faîtières sont vernies en noir-verdâtre ainsi que les faîtières, les chapeaux sont couverts d'un vernis jaune, le petit toit est noir. Il y a lieu de croire que tous les combles en tuiles étaient autrefois couronnés par ces faîtières découpées; on n'en trouve aujourd'hui qu'un bien petit nombre en place; mais grâce à la négligence bien connue des couvreurs qui ne prennent pas la peine de descendre les tuiles remplacées, lorsqu'ils réparent les toitures, on peut recueillir dans les reins des voûtes de nos édifices du moyen âge quantité de débris de poteries, fort précieux souvent, puisqu'ils nous donnent en fragments des spécimens de ces décorations de combles: aussi, ne saurions-nous trop recommander aux architectes appelés à réparer de vieux bâtiments l'examen de ces débris accumulés sous les toits par la négligence des couvreurs.
FANAL, s. m. (voy. LANTERNE des morts). Les fanaux destinés à présenter la nuit un point lumineux pour guider les navigateurs, sur mer ou sur les fleuves, ne consistaient qu'en une grosse lanterne suspendue à une potence au sommet d'un tour. La Tour de Nesle, à Paris, portait un fanal que l'on allumait toutes les nuits pour indiquer aux mariniers l'entrée de Paris. Sur le bord de la mer, où ces lanternes ne pouvaient fournir un feu assez vif pour être vu de loin, on plaçait sur des tours des cages en fer que l'on remplissait d'étouppe goudronnée. Un guetteur était chargé d'entretenir ces feux pendant la nuit.
FENÊTRE, s. f. Fenestre, fenestrele (petite fenêtre), voirrière, voerrière. L'architecture du moyen âge étant peut-être de toutes les architectures connues celle qui se soumet le plus exactement aux besoins, aux convenances, aux dispositions des programmes, il n'en est pas qui présente une plus grande variété de fenêtres, particulièrement au moment où cette architecture abandonne les traditions romanes. En effet, une fenêtre est faite pour donner du jour et de l'air à l'intérieur d'une salle, d'une chambre; si le vaisseau est grand, il est naturel que la fenêtre soit grande; s'il ne s'agit que d'éclairer et d'aérer une cellule, on comprend que la fenêtre soit petite. Dans une église où l'on se réunit pour adorer la Divinité, on n'a pas besoin de voir ce qui se passe au dehors; mais dans une salle affectée à un service civil, il faut pouvoir au contraire regarder par les fenêtres; pour regarder par les fenêtres il faut les ouvrir facilement. Voilà donc des données générales qui doivent nécessairement établir une différence dans les formes des fenêtres appartenant à des édifices religieux et civils.
Les habitations privées des Romains n'étaient point du tout disposées
comme les nôtres. Les pièces réservées pour le coucher, les chambres, en
un mot, étaient petites, et ne recevaient souvent de jour que par la
porte qui donnait sur un portique. Chez les gens riches on établissait,
outre les cours entourées de portiques, de grandes pièces qui étaient
destinées aux réunions, aux banquets, aux jeux, et on avait le soin de
disposer autant que possible ces pièces vers l'orientation le plus
favorable; souvent alors les jours, les fenêtres n'étaient fermés que
par des claires-voies en bois, en métal, ou même en pierre et en marbre.
Bien que les Romains connussent le verre, ils ne le fabriquaient pas en
grandes pièces; c'était évidemment un objet de luxe, et dans les
habitations vulgaires il est probable qu'on s'en passait, ou du moins
qu'on ne l'employait qu'avec parcimonie. Pendant les premiers siècles du
moyen âge le verre devait être une matière assez rare pour qu'on évitât
de l'employer. Observons ceci d'abord, c'est qu'aujourd'hui encore, en
Italie, en Espagne, et même dans le midi de la France, on ne demande pas
dans les intérieurs la lumière que nous aimons à répandre dans nos
appartements ou dans nos édifices publics. Dans les pays méridionaux la
vie est extérieure, on ne s'enferme guère que pour méditer et pour
dormir; or, pour se livrer à la méditation, on n'a pas besoin d'une
grande lumière, encore moins pour dormir et se reposer. Les Romains, qui
ne modifiaient pas leur architecture en raison du climat, mais qui
bâtissaient à Paris ou à Cologne comme à Rome, avaient laissé dans les
Gaules des traditions qui ne furent abandonnées qu'assez tard. Dans les
édifices publics, les fenêtres étaient de grandes baies cintrées percées
sous les voûtes à travers les murs de remplissage; dans les habitations,
les fenêtres n'étaient que des ouvertures assez étroites,
rectangulaires, pour pouvoir recevoir des châssis de bois sur lesquels
on posait du papier huilé, des canevas ou des morceaux de verre
enchâssés dans un treillis de bois ou de métal. Rarement dans les
édifices publics les fenêtres étaient vitrées; ou bien elles étaient
assez étroites pour empêcher le vent de s'engouffrer dans les
intérieurs; ou, si elles étaient larges, on les garnissait de réseaux de
pierre, de métal ou de bois destinés à tamiser l'air venant de
l'extérieur. Beaucoup d'églises et de salles romanes, jusqu'au XIIe
siècle, possédaient des fenêtres sans aucune fermeture ou claire-voie.
La forme de ces fenêtres est indiquée dans la fig. 1. Ne devant pas être
garnies de châssis, il était naturel de cintrer ces baies et de leur
donner à l'intérieur un large ébrasement pour faciliter l'entrée de la
lumière. Lorsque ces baies étaient étroites (ce qui était fréquent, afin
de rompre autant que possible l'effort du vent), on ne se donnait pas la
peine de bander un arc appareillé au-dessus des jambages à l'extérieur;
mais on se contentait de tailler une pierre suivant la figure d'un
cintre, et l'arc appareillé était réservé pour l'ébrasement, afin de
soutenir la charge de la construction supérieure. La pierre taillée
extérieure, formant linteau cintré, n'avait alors que l'épaisseur du
tableau AB (2). Presque toujours pendant les premiers siècles,
c'est-à-dire du VIIIe au XIe, les jambages de ces baies se composent de
grandes pierres en délit avec liaisons au-dessus de l'appui et sous
l'arc. La fenêtre primitive romane était ainsi construite comme la
fenêtre antique. Quant aux proportions de ces fenêtres percées dans des
édifices, elles sont soumises à la place qui leur est assignée; elles
sont habituellement courtes dans les étages inférieurs, et longues dans
les étages supérieurs. D'ailleurs, l'idée de défense dominant dans
toutes les constructions romanes du VIIIe au XIIe siècle, on avait le
soin de ne percer que de petites fenêtres à rez-de-chaussée, assez
étroites souvent pour qu'un homme n'y pût passer; ou bien, si l'on
tenait à prendre des jours assez larges, on divisait la fenêtre par une
colonnette ainsi que l'indique la fig. 3. Dans ce cas, la baie
consistait réellement en une arcade ayant la largeur EF et le cintre D;
du côté de l'extérieur on posait un linteau à double cintre G sur une
colonnette dont la fonction véritable était de servir de clôture, de
claire-voie. Le cintre D n'apparaissait pas à l'extérieur et servait
d'arc de décharge de H en K. Notre figure montre en A la fenêtre du côté
extérieur, et en B en coupe sur les milieux des petits arcs C et du
grand arc D.

Suivant les provinces, les fenêtres présentent pendant la période
romane, et jusque vers le milieu du XIIIe siècle, des dissemblances
frappantes. Larges relativement dans le Nord, elles sont de plus en plus
étroites lorsqu'on se rapproche du Midi; et cependant il est à cette
règle générale quelques exceptions: ainsi les fenêtres des édifices
religieux de l'Auvergne, de la Saintonge, du Périgord, et d'une partie
du Languedoc, sont pendant les XIe et XIIe siècles aussi grandes que les
fenêtres de l'Île-de-France et de la Normandie, tandis que sur les bords
de la Saône et du Rhône elles sont fort petites. Nous donnerons ici
quelques exemples qui confirmeront notre dire. Commençons par les
fenêtres des édifices religieux ou des monuments publics élevés sur les
mêmes données quant à la disposition des jours. Il est une loi observée
déjà par les architectes romans et développée avec beaucoup
d'intelligence par les constructeurs du XIIIe siècle, qu'il nous faut
avant tout faire connaître à nos lecteurs, car elle paraît être à peu
près oubliée de notre temps.
La lumière qui passe à travers une baie
donnant dans un intérieur forme un cône ou une pyramide suivant la
figure de la baie; c'est-à-dire qu'au lieu d'être divergents, les rayons
lumineux sont convergents de l'extérieur à l'intérieur: ainsi (4), soit
une baie abcd, l'extérieur étant en A, la lumière directe, pleine,
formera la pyramide abcde, et tout ce qui ne sera pas compris dans
cette pyramide ne recevra qu'une lumière diffuse ou de reflet. La
pyramide sera plus ou moins allongée suivant que la baie sera plus ou
moins orientée vers le cours du soleil. Si même les rayons du soleil
viennent à traverser cette baie, le faisceau lumineux formera un prisme,
mais qui est point indéfini.
En supposant, par exemple, un trou carré
dans un mur (5), abcd, l'extérieur étant en A, les rayons solaires
passant par cette baie formeront le prisme abcd, a'b'c'd'. Mais si
nous avons en B un mur éloigné de la baie de plus de vingt fois la
diagonale du carré, la projection des rayons solaires perce-mur sera
déjà fort altérée; si ce mur est à une distance de cent fois la longueur
de la diagonale du trou carré, il n'y aura plus qu'un spectre diffus; si
beaucoup plus loin, les rayons solaires ne laisseront plus de trace: la
lumière directe solaire est donc elle-même altérée par les bords du
diaphragme qui lui permet de s'introduire dans un vaisseau fermé. Une
personne placée au fond d'un souterrain de cinq cent mètres de long dont
l'orifice ne serait que de deux mètres, en admettant que les rayons
solaires passassent par l'axe de ce souterrain, distinguerait
parfaitement son orifice, mais ne recevrait aucune lumière. Ainsi, en
admettant même l'intervention directe des rayons solaires, le faisceau
lumineux va toujours en diminuant de diamètre de l'extérieur à
l'intérieur: donc, toute fenêtre doit avoir une ouverture proportionnée
à l'étendue du vaisseau à éclairer; si cette ouverture est trop petite,
on voit la fenêtre, mais elle ne donne plus de lumière directe, et ce
n'est pas tant la multiplicité des jours qui donne de la lumière franche
dans un intérieur que leur dimension relative. Une salle carrée de
vingt-cinq mètres de côté, qui serait éclairée par vingt fenêtres de
1m,00 c. de surface chacune, serait parfaitement sombre dans son milieu,
tandis que deux fenêtres de dix mètres de surface chacune, percées dans
deux de ses parois opposées, éclaireraient assez ce milieu pour qu'on y
pût lire. Les surfaces lumineuses, les fenêtres en un mot, doivent donc
être calculées en raison de l'étendue des intérieurs. Il est entendu
d'ailleurs que nous ne parlons que des fenêtres prenant le jour direct
du ciel, car si elles ne reçoivent que des jours de reflet, il est
évident que la pyramide ou le cône lumineux qu'elles produiront à
l'intérieur sera beaucoup plus court. L'observation avait peu à peu
amené les architectes du XIIe siècle à appliquer ces lois que l'amour
pour la symétrie nous a fait négliger, car nous en sommes arrivés, pour
obtenir à l'extérieur des façades percées de jours de pareilles
dimensions, à éclairer de grandes salles et de petites pièces au moyen
de jours semblables entre eux; nous ne savons plus, ou nous ne voulons
plus (pour contenter certaines lois classiques que les anciens se sont
bien gardés d'appliquer) produire de grands effets de lumière intérieurs
au moyen de jours plus ou moins larges; nous avons perdu le sentiment du
pittoresque dans la façon d'éclairer les intérieurs. Cependant la
disposition des jours dans un intérieur, surtout si le vaisseau est
grand, divisé, est un des moyens d'obtenir sans frais des effets
puissants. Nous voyons l'architecture romane, quand elle se dégage de la
barbarie, pousser très-loin déjà cette connaissance de l'introduction de
la lumière du jour dans l'intérieur de ses églises et de ses grandes
salles; cette architecture admet que certaines parties d'un vaisseau
doivent être plus éclairées que d'autres; elle inondera un sanctuaire de
lumière et laissera la nef dans un demi-jour, ou bien elle prendra dans
les extrémités du transsept des jours énormes, tandis qu'elle laissera
le sanctuaire dans l'obscurité, ou bien encore elle percera de petites
fenêtres dans les murs des collatéraux, tandis qu'elle rendra les voûtes
hautes lumineuses; elle procédera avec la lumière comme elle procède
quand il s'agit de décorer une ordonnance, elle sait faire des
sacrifices; elle est sobre ici pour paraître plus brillante sur tel
point; elle use des moyens qui ont été le privilége de notre art avant
l'ère classique; elle pense que les fenêtres n'existent pas par
elles-mêmes; que leur dimension, leur forme, sont la conséquence du vide
à éclairer. Il est à croire que les architectes grecs, les architectes
romains et ceux du moyen âge seraient fort surpris s'ils nous voyaient
donner dans des publications sur l'art de l'architecture des exemples de
fenêtres sans dire comment, où et pourquoi ces baies sont faites,
quelles sont les salles qu'elles éclairent. Cela est, en effet, aussi
étrange que le serait, dans une publication sur l'histoire naturelle des
animaux une collection d'oreilles présentées sans tenir compte des têtes
qui les portent. Une oreille d'âne est fort belle assurément, mais à la
condition qu'elle ornera la tête d'un âne. Nous essaierons donc, en
présentant des exemples de fenêtres, puisqu'il s'agit ici de ce membre
important de l'architecture, d'indiquer leur place et leur fonction,
d'expliquer les raisons qui ont fait adopter telle ou telle forme et
disposition.
FENÊTRES APPARTENANT À L'ARCHITECTURE RELIGIEUSE.--Nous avons dit déjà que dans les églises anciennes, c'est-à-dire dans celles qui ont été construites du VIIIe au XIe siècle, les fenêtres ne recevaient pas de vitraux, que les vitraux étaient une exception; que ces fenêtres étaient béantes ou fermées, pour briser le vent, par des claires-voies en pierre, en bois ou en métal. C'était une tradition antique. Dans les rudes contrées de la haute Bourgogne, les églises clunisiennes n'admettaient aucune fermeture à leurs fenêtres jusqu'au XIIe siècle. Les fenêtres de la nef de l'église de Vézelay, 1190 à 1110, hautes et basses, étaient sans vitres, sans claires-voies, laissant passer librement l'air et la lumière. Voici, fig. 6, une de ces fenêtres 471. La section horizontale de ces baies en A donne un double biseau sans feuillure ni repos pour recevoir un châssis. Ce bizeau à l'extérieur avait l'avantage: 1º de permettre à la lumière de s'introduire facilement; 2º de rompre l'action du vent qui s'engouffrait entre ces deux surfaces inclinées. Une pente B à l'extérieur rejette les eaux pluviales. À l'intérieur l'appui C règne au niveau des tailloirs des chapiteaux. L'archivolte D est immédiatement placée sous le formeret de la voûte; le cintre de ces baies n'est donc point concentrique au cintre des formerets, mais profite de toute la hauteur du collatéral pour introduire le plus de jour possible. En E nous présentons l'aspect extérieur de la fenêtre.
Dans les provinces de l'Ouest cependant, vers la même époque, les moeurs étaient plus douces, et on ne laissait pas ainsi les intérieurs exposés à tous les vents; les fenêtres, à la fin du XIe siècle, étaient petites, étroites, et souvent garnies de claires-voies en pierre d'un travail assez délicat et d'un joli dessin. Il n'existe qu'un très-petit nombre d'exemples de ces claires-voies, remplacées plus tard par des verrières.

Nous en donnons un, fig. 7, qui provient de l'église de Fenioux
472.
C'est une dalle de 0,055m d'épaisseur sur une largeur de 0,27 c.
La
pierre est dure et finement taillée; les ajours biseautés à l'intérieur
et à l'extérieur. Notre figure présente la face extérieure de la dalle
qui n'est point posée en feuillure, mais dans l'ébrasement même de la
baie, ainsi que l'indique la fig. 7 bis, A étant le côté extérieur. Les
jambages des fenêtres ouvertes dans les murs des édifices religieux des
Xe et XIe siècles étaient habituellement dépourvus de toute décoration;
les archivoltes seules, au XIe siècle, étaient parfois entourées d'un
cordon mouluré, uni ou avec billettes; cependant déjà, dans les
sanctuaires, on cherchait à éviter cet excès de simplicité en plaçant
sous les archivoltes deux colonnettes en guise de pieds-droits, et cela
comme une sorte d'encadrement qui donnait de l'importance et de la
richesse à la baie. Cette méthode est suivie dans les monuments des
provinces du centre qui datent de cette époque, en Auvergne, dans le
Nivernais et le Berri, dans une partie du Languedoc, du Lyonnais et du
Limousin. Les tableaux de la fenêtre restent simples, et sont comme
entourés par une arcade portée à l'intérieur sur des colonnettes. C'est
ainsi que sont faites les fenêtres du sanctuaire des églises de
Notre-Dame-du-Port à Clermont
473, de Saint-Étienne de Nevers
474. Ces
dernières fenêtres furent toujours fermées par des panneaux de morceaux
de verres enchâssés dans du plomb et maintenus au moyen de barres de fer
(voy. VITRAIL). Lorsque les nefs étaient voûtées en berceau, bien
rarement les fenêtres hautes pénétraient la voûte, l'extrados de leur
archivolte était posé immédiatement sous la naissance du berceau; cette
disposition obligeait les architectes à monter les murs goutterots
beaucoup au-dessus des archivoltes de ces fenêtres afin de pouvoir
poser, soit un massif portant une couverture à crû sur la voûte, soit
une charpente. Cette portion de muraille nue au-dessus de baies
relativement petites produisait un assez mauvais effet; aussi, dans les
contrées où l'art de l'architecture romane était arrivé à un certain
degré d'élégance et de finesse, cherchait-on à meubler ces parties nues.
Les murs de la nef de la cathédrale du Puy-en-Vélay présentent un de ces
motifs de décoration murale extérieure entre les fenêtres percées sous
la voûte haute et la corniche (8).
Des panneaux renfoncés, pratiqués dans l'épaisseur de la muraille et décorés de mosaïques et de colonnettes, occupent les parties vagues, encadrent les baies d'une façon gracieuse sans enlever à la construction l'aspect de solidité qu'elle doit conserver. La fenêtre est elle-même fermée par une double archivolte bien appareillée, celle extérieure portant sur deux colonnettes. Ainsi, d'une petite baie très-simple en réalité, les architectes auvergnats de la fin du XIe siècle ont fait un motif de décoration d'une grande importance à l'extérieur.
Il n'est pas nécessaire de nous étendre longuement sur les fenêtres romanes des édifices religieux; outre qu'elles présentent peu de variétés, nous avons tant de fois l'occasion d'en donner des exemples dans le cours de cet ouvrage, que ce serait faire double emploi d'en présenter ici un grand nombre; cependant nous devons signaler certaines fenêtres qui appartiennent exclusivement aux monuments carlovingiens de l'Est, et qui possèdent un caractère particulier.
Ces fenêtres, doubles ou triples, reposent leurs archivoltes (9) sur des colonnettes simples, en marbre ou en pierre très-dure (afin de résister à la charge), surmontées d'un tailloir gagnant dans un sens l'épaisseur du mur; disposition que fait comprendre la coupe A 475. Les colonnettes n'étaient, dans ce cas, que des étançons posés au milieu de l'épaisseur du mur et portant une charge équilibrée. Il n'est pas besoin de dire que ces fenêtres n'étaient point vitrées; aussi, n'étaient-elles percées ordinairement que dans des clochers ou des galeries ne s'ouvrant pas sur l'intérieur. Ces sortes de fenêtres se voient encore dans quelques clochers italiens bâtis en brique, clochers prétendus lombards.
Arrivons à l'époque de transition pendant laquelle les fenêtres des édifices religieux adoptent des formes très-variées.
La cathédrale de Noyon, bâtie vers 1150, nous fait voir déjà un système
de fenestrage entièrement nouveau. Les parties supérieures des bras de
croix de cette église, bâtis sur plan circulaire, sont éclairées par de
longues fenêtres jumelles plein cintre, s'ouvrant sur une galerie
extérieure passant à travers de gros contre-forts buttant les arêtes des
voûtes.
Le plan, fig. 10, nous montre les fenêtres jumelles en C avec leur feuillure pour recevoir un vitrage, la galerie extérieure en B, l'intérieur du vaisseau étant en A. Une longue colonnette monolithe répète extérieurement la double baie en laissant passer tout le jour possible. Un arc de décharge reposant sur les pieds-droits et colonnettes D porte la corniche supérieure.

La vue perspective (11), prise à l'extérieur, fait saisir l'ensemble de cette disposition, nouvelle alors. Par ce moyen l'architecte obtenait à l'intérieur, sous les voûtes, un très-beau jour; il possédait une galerie de service qui facilitait la pose et l'entretien des verrières, une saillie qui mettait celles-ci à l'abri du vent et de la pluie, une construction légère et solide à la fois, car le grand arc de décharge, double, portait la partie supérieure de la construction et la charpente. On s'aperçoit ici, déjà, que les architectes cherchaient à introduire de larges rayons lumineux dans les intérieurs, qu'ils supprimaient les murs et sentaient la nécessité d'augmenter les surfaces translucides à mesure qu'ils élevaient des monuments plus vastes. Ce principe si vrai amena rapidement des modifications très-importantes dans la structure des édifices religieux. L'espace laissé entre les piles portant les voûtes et les formerets de ces voûtes devenait claire-voie vitrée; mais comme il fallait maintenir les armatures en fer destinées à porter les verrières, et que ces armatures présentaient au vent une énorme surface, on divisa les vides par des piles, des arcs, des oeils et des découpures en pierre qui opposaient un obstacle solide aux efforts du vent, qui étaient durables et permettaient de remplacer facilement les parties de vitraux enfoncés par les ouragans. Les remplissages en pierre étaient si bien pour les architectes une nécessité de construction, qu'ils n'en posaient point dans les baies qui, par leur position près du sol ou leur étroitesse imposée par le faible écartement des piles, pouvaient, sans inconvénient, être armées de simples barres de fer. Dans les collatéraux, par exemple, les architectes ne croyaient pas encore qu'il fût nécessaire d'ouvrir complétement les murs entre les contre-forts, parce que ces collatéraux, n'étant pas très-larges, n'avaient pas besoin d'une aussi grande surface de lumière que les nefs principales, puis parce qu'on s'attachait encore aux traditions romanes, tenant toujours à bien fermer les parties basses des édifices. Dans l'église Saint-Yved de Braisne, les bas-côtés du choeur et la nef haute même présentent ainsi des fenêtres à l'état de transition (12), tandis que dans la cathédrale de Soissons, les fenêtres basses sont à peu près semblables à celles de Saint-Yved, mais les fenêtres hautes de la nef possèdent déjà des claires-voies de pierre, des meneaux, construits en assises sous les archivoltes concentriques aux formerets des voûtes hautes.


La fig. 13 nous fait voir une de ces baies à l'extérieur; en A nous avons tracé la coupe de l'archivolte et de la claire-voie faite sur ab. Un chemin saillant passant à l'extérieur sous l'appui de ces fenêtres, et couvrant le triforium, permet de poser et de réparer les vitraux sans difficultés. Que l'on veuille bien jeter les yeux un instant sur la construction de la claire-voie de pierre, des meneaux, en un mot; on verra que la structure se compose d'une pile centrale, de deux arcs extradossés, d'un oeil indépendant, recevant, en feuillure, des redents formant une rose à six lobes. Entre l'oeil et les arcs est posé un remplissage en maçonnerie. Les redents maintiennent par leurs extrémités, comme par autant de griffes, un cercle en fer qui sert à attacher les panneaux de verre. Dans chaque espace vide, sous les arcs, monte une barre verticale croisée par des barres horizontales formant une suite de panneaux réguliers. Les vitraux sont maintenus à ces barres par des clavettes passant dans des pitons et par des feuillures taillées dans les pieds-droits et le meneau central (voy. ARMATURE). Ainsi, dès la fin du XIIe siècle (car ces fenêtres datent de cette époque ou des premières années du XIIIe), les meneaux construits étaient adoptés pour les grandes fenêtres des grands édifices religieux appartenant aux provinces françaises. Il faut reconnaître que les architectes de cette époque de transition cherchent, tâtonnent, essayent de plusieurs méthodes, en n'employant cependant que des moyens vrais, simples, en sachant parfaitement ce qu'ils veulent, mais en arrivant au but par divers chemins. À Châlons-sur-Marne, vers 1170, l'architecte du choeur de Notre-Dame voulait aussi quitter les traditions romanes et ouvrir de grands jours sous les voûtes hautes. Comment s'y prenait-il? Ayant obtenu par la plantation des piles du sanctuaire des travées fort larges, il relevait les formerets des voûtes le plus possible, en ayant le soin même de les tracer suivant une courbe brisée très-aplatie, fig. 14.

Sous ces formerets il perçait trois fenêtres, à peu près d'égale hauteur, séparées par deux pilettes. Le génie champenois, toujours en avant sur les provinces voisines, porte le constructeur à relier le fenestrage au triforium; il fait donc descendre les deux colonnettes monolithes A des pilettes séparant les baies jusque sur l'appui du triforium, et pose là deux corbelets pour recevoir leur base. Quant aux deux autres colonnettes B d'encadrement, elles descendent jusque sur les tailloirs des chapiteaux inférieurs, car on observera qu'ici il n'y a pas d'arc formeret saillant mouluré, et que la voûte vient porter directement sur le tympan supérieur C 476. L'ordonnance des fenêtres, au lieu d'être séparée de l'ordonnance du triforium, comme dans les édifices de l'Île-de-France de la même époque, s'y rattache; ce qui grandit singulièrement l'intérieur du vaisseau. Ce triforium, qui est fort petit, reprend de l'échelle parce qu'il ne devient plus qu'un appui ajouré du fenestrage. En D nous avons donné le plan des baies au niveau D', et en E la face extérieure des archivoltes des trois fenêtres qui peuvent être vitrées à l'extérieur par la galerie servant de couverture au triforium 477. À ce propos on devra observer aussi que généralement les fenêtres hautes sont vitrées du dehors, tandis que celles des collatéraux plus près du sol sont vitrées de l'intérieur. Il y a pour procéder ainsi de bonnes raisons: c'est qu'une fenêtre basse étant vitrée du dehors, il est facile à des malfaiteurs d'enlever la nuit quelques clavettes et les tringlettes, de déposer un panneau des verrières, et de s'introduire dans l'église; tandis que cette opération ne peut être tentée si les panneaux de vitres sont posés, les clavettes et tringlettes étant à l'intérieur. Mais à la partie supérieure de l'édifice on n'avait pas à redouter ce danger, tandis qu'il fallait prendre certaines précautions pour empêcher la pluie fouettant contre les verrières de s'introduire entre les panneaux: or, les panneaux étant posés à l'intérieur, les grands vents chassant la pluie contre eux, l'eau s'arrête à chaque barre transversale (barlottière) et s'infiltre facilement entre leurs joints; il y a donc avantage à vitrer les fenêtres les plus exposées au vent par le dehors; on peut ainsi ménager un recouvrement du plomb d'un panneau sur l'autre, obtenir une surface unie, sans ressauts, et n'arrêtant les gouttes de pluie sur aucun point. On pensera peut-être que nous entrons dans des détails minutieux; mais, à vrai dire, il n'y a pas de détail dans l'exécution des oeuvres d'architecture qui n'ait son importance, et les véritables artistes sont ceux qui savent apporter du soin, de l'observation et de l'étude dans les moindres choses comme dans les plus importantes: aussi les architectes du moyen âge étaient-ils de véritables artistes.
Vers le commencement du XIIIe siècle, l'architecte de la cathédrale de Chartres cherchait des combinaisons de fenêtres entièrement neuves pour éclairer la haute nef. Il s'était astreint, dans les collatéraux, aux habitudes de son temps, c'est-à-dire qu'il avait percé des fenêtres terminées par des arcs en tiers-point, ne remplissant pas l'espace compris entre les piles; il avait voulu laisser à ce soubassement l'aspect d'un mur.

Mais nous voyons que dans la partie supérieure de son édifice il change de système; d'une pile à l'autre il bande des formerets plein cintre, puis dans l'énorme espace vide qui reste à chaque travée au-dessus du triforium il élève deux larges fenêtres surmontées d'une grande rose, fig. 15 (voir la coupe C): A est le formeret faisant archivolte à l'extérieur, doublée d'un grand arc D donnant l'épaisseur de la voûte V. L'entourage de la rose R reçoit en feuillure des dalles percées de quatre feuilles, et formant de larges claveaux. En B sont tracées les portées des arcs-boutants. Il est bon de comparer ces fenêtres avec celles données ci-dessus (fig. 14) ou celles anciennes, de la nef de la cathédrale de Paris, bien peu antérieures. On reconnaît dans cette construction de Notre-Dame de Chartres une hardiesse, une puissance qui contrastent avec les tâtonnements des architectes de l'Île-de-France et de la Champagne. C'est à Chartres où l'on voit, pour la première fois, le constructeur aborder franchement la claire-voie supérieure occupant toute la largeur des travées, et prenant le formeret de la voûte comme archivolte de la fenêtre. Simplicité de conception, structure vraie et solide, appareil puissant, beauté de forme, emploi judicieux des matériaux, toutes les qualités se trouvent dans ce magnifique spécimen de l'architecture du commencement du XIIIe siècle. N'oublions pas d'ailleurs que ces arcs, ces piles, ces dalles percées, sont faits en pierre de Berchère d'une solidité à toute épreuve, facile à extraire en grands morceaux, d'une apparence grossière; ce qui ajoute encore à l'effet grandiose de l'appareil. On ne peut douter que la qualité des matériaux calcaires employés par les architectes de l'époque primitive gothique n'ait éte pour beaucoup dans l'adoption du système de construction des grandes fenêtres. Ce qu'on faisait à Chartres au commencement du XIIIe siècle, on n'aurait pu le faire avec les matériaux des bassins de l'Oise, de la Seine, de l'Aisne et de la Marne. Dans ces contrées on ne songeait pas à employer les dalles percées, on ne le pouvait pas; on accouplait les fenêtres, on les élargissait autant que possible, mais on n'osait encore les fermer avec des claires-voies de pierre. En Bourgogne, où les matériaux sont très-résistants, vers la seconde moitié du XIIe siècle, les roses se remplissaient de réseaux de dalles percées (voy. ROSE), mais non les fenêtres. À Laon, vers 1150, les architectes balançaient encore entre les formes de fenêtres de l'époque romane et celles nouvellement percées dans les édifices religieux voisins, comme la cathédrale de Noyon, comme l'église abbatiale de Saint-Denis. Dans le mur pignon du transsept de l'église abbatiale de Saint-Martin à Laon, bien que la structure de l'édifice soit déjà gothique, nous voyons des fenêtres qui n'abandonnent pas entièrement les traditions romanes (16).

Le plein cintre et l'arc brisé se mêlent, et l'école nouvelle ne se montre que dans la forme des moulures. Ici même, le plein cintre apparaît au-dessus de l'arc brisé; ce qui prouve encore combien, pendant l'époque de transition, les architectes se croyaient libres d'adopter l'un ou l'autre de ces arcs suivant les besoins de la construction. La fenêtre inférieure est fermée par un arc brisé, parce que cette fenêtre est plus large que l'autre, et que le constructeur a voulu donner plus de solidité à sa construction en faisant porter les pieds-droits de la fenêtre supérieure sur les reins d'un arc dont les coupes se rapprocheraient davantage de la ligne horizontale. Il a été évidemment préoccupé de l'effet qu'eût pu produire un jambage de fenêtre sur les claveaux d'un plein cintre entre les sommiers et la clef; l'arc brisé n'est qu'un moyen de parer au danger d'une rupture vers la partie moyenne de l'archivolte à droite et à gauche. Ne perdons pas de vue ceci: c'est que, vers le milieu du XIIe siècle, les architectes avaient vu tomber un si grand nombre d'édifices romans, surtout au moment où on avait prétendu leur donner de très-grandes dimensions, qu'ils avaient dû observer les effets de tassements et de rupture qui s'étaient produits dans les constructions, et qu'ils redoutaient sans cesse de voir se reproduire ces fâcheux effets. L'arc brisé leur paraissait un moyen excellent d'éviter des désastres; ils s'en servaient donc comme on se sert d'un nouveau procédé reconnu bon, c'est-à-dire toutefois qu'ils avaient un doute sur l'efficacité des vieilles méthodes. Il ne pouvait être donné qu'à des hommes déjà expérimentés, hardis, et sûrs de leurs moyens d'exécution, de se servir encore du plein cintre pour d'assez grandes portées, comme le fit l'architecte de Notre-Dame de Chartres.
Avec la pierre de Berchère on pouvait combiner un système de claires-voies mixte tel que celui qui fut adopté pour les fenêtres hautes de la cathédrale de Chartres, c'est-à-dire composé de claveaux formant une ossature élastique et résistante, et de dalles minces percées à jour comme les fermetures de baies antiques; mais tous les matériaux ne se prêtaient pas à l'emploi de ces procédés. En Champagne, bien que les constructeurs possédassent des matériaux de grandes dimensions, ils ne trouvaient pas, dans les carrières du pays, des bancs d'une résistance assez forte pour se permettre l'emploi de ces larges claires-voies composées de dalles de champ. Ils procédèrent autrement et firent des châssis de pierre, pour maintenir les panneaux des vitraux, au moyen d'arcs appareillés, bandés l'un dans l'autre et indépendants. Ce système apparaît complet dans la structure de fenêtres des chapelles du choeur de la cathédrale de Reims, qui ont dû être élevées vers 1215. Conformément à la méthode champenoise, les fenêtres présentent des berceaux d'arcs brisés, de larges ébrasements se terminant à l'intérieur en façon de formeret pour recevoir les remplissages des voûtes, et portant à l'extérieur un profil saillant sous lequel s'engagent deux arcs brisés et une rose reposant seulement sur ces deux arcs sans pénétrer dans les moulures de l'archivolte. Une figure est nécessaire pour expliquer cette structure très-importante en ce qu'elle nous donne la transition entre les claires-voies bâties et les claires-voies châssis.

Nous donnons donc (17) un tracé perspectif de la partie supérieure de ces fenêtres pris de l'intérieur des chapelles. On voit en A le formeret-berceau qui appartient au style gothique primitif de la Champagne, formeret dont le profil est donné en B. Sous ce berceau-formeret est bandée l'archivolte C, ne faisant que continuer la section des colonnettes D et du double biseau recevant la feuillure de la verrière. En E est un sommier qui reçoit l'un des arcs retombants sur un meneau central G. La clef de cet arc est pénétrée par la rose, qui est seulement prise entre les claveaux de l'archivolte C. À son tour la rose reçoit en feuillure les redents H qui ne portent point feuillure, mais des pitons à l'intérieur pour maintenir les panneaux des vitraux. N'oublions pas de mentionner que les colonnettes du meneau central aussi bien que celles des pieds-droits ne sont point reliées à la construction, mais sont posées en délit, suivant la méthode usitée pour la plupart des colonnettes, à la fin du XIIe siècle. Du côté extérieur, ces fenêtres donnent le tracé géométral (18).

L'archivolte C, étant un arc de décharge, se trouve naturellement soumise aux tassements et mouvements qu'eût subi la bâtisse: or, la rose étant laissée libre, maintenue seulement par le frottement entre les reins de l'archivolte, ne risque pas d'être brisée par ces tassements; elle peut être quelque peu déformée, comme le serait un cerceau de fer ou de bois que l'on presserait, mais ne saurait se rompre. C'est là une marque de prévoyance acquise par une longue observation des effets qui se manifestent dans d'aussi vastes constructions.
Toutes les fenêtres de la cathédrale de Reims sont construites d'après ce principe. Notre figure géométrale (18) indique en A la coupe de la partie supérieure de la fenêtre, B étant le berceau-formeret intérieur. On voit en C la façon dont sont incastrés les redents de la rose, maintenus à leur extrémité D par un cercle en fer et des clavettes E; en G les feuillures des vitraux posés à l'intérieur. On remarquera que cette feuillure dans l'appui, dont la coupe est tracée en I, se retourne pour rejeter sur le talus extérieur H les eaux pluviales ou de buée coulant le long des vitraux. Un détail perspectif K fait saisir cette disposition double des feuillures. En L nous avons tracé une section horizontale des meneaux et pieds-droits avec la saillie du talus circulaire M; en O la pénétration des bases des colonnettes des pieds-droits et meneaux établis sur plan droit dans ce talus (voy. CHAPELLE, fig. 36 et 37).
Que les fenêtres de la cathédrale de Reims soient étroites ou larges, elles ne possèdent toujours qu'un meneau central et deux vides; il en résulte que ces vides ont, soit 1m,20 c. de largeur, soit 2m,30 c. Pour maintenir les panneaux des vitraux dans d'aussi larges baies, il fallait des armatures en fer très-fortes. On prit donc bientôt le parti de multiplier les meneaux pour les fenêtres larges, afin d'avoir toujours des vides à peu près égaux. Au lieu d'un seul meneau on en monta trois, de façon à diviser la baie en quatre parties d'égales largeurs. Ce ne fut que vers 1240 que cette modification importante eut lieu, et dès lors, chaque fois que la nature des matériaux le permit, les meneaux ne furent plus que des châssis composés de pierres en délit et engagés en feuillure sous les archivoltes. Parmi les plus belles et les premières fenêtres de ce genre il faut mentionner celles de la Sainte-Chapelle haute du Palais à Paris.

On retrouve là, fig. 19, le principe qui commande la construction des fenêtres de la cathédrale de Reims, c'est-à-dire que le vide est divisé en deux par un meneau vertical A portant deux arcs brisés et une rose. Mais les deux grandes divisions AB sont elles-mêmes subdivisées en deux par des meneaux secondaires C qui portent aussi des arcs brisés et des roses plus petites, de sorte que les espaces à vitrer n'ont que 1m,00 de largeur. L'archivolte D (voir la coupe E) remplit à l'intérieur l'office de formeret et reçoit les remplissages des voûtes F. La seconde archivolte G sert d'arc de décharge, porte le chéneau, la balustrade extérieure et le bahut H sur lequel repose la charpente. On voit en I des gargouilles dont la queue pénètre jusqu'aux reins des voûtes pour rejeter en dehors les eaux pluviales qui tombaient sur ces voûtes avant l'achèvement de la construction et la pose de la couverture. C'est à la Sainte-Chapelle du Palais où l'on voit naître, les gâbes sur les archivoltes des fenêtres; gâbes qui sont à la fois et une décoration et un moyen de maintenir les archivoltes dans leur plan (voy. CONSTRUCTION, fig. 108). En K nous avons tracé l'ensemble de la fenêtre, qui porte en hauteur trois fois sa largeur; en L sont des chaînages en fer qui maintiennent la déviation des contre-forts, les relient entre eux et empêchent les meneaux de sortir de leur plan. D'ailleurs ces meneaux ne sont plus construits par assises, mais sont taillés dans de grandes pierres posées en délit, ce qui permettait de leur donner moins de largeur et de laisser plus de champ aux vitraux; quant à ceux-ci, leurs panneaux sont maintenus dans les fenêtres de la Sainte-Chapelle par des armatures en fer ouvragés et par des feuillures creusées au milieu de l'épaisseur des meneaux ainsi qu'il est indiqué en M. Ces fenêtres sont vitrées du dedans, et les armatures en fer, formant saillie sur les panneaux en dehors, sont posées de manière à dégager complétement les feuillures. La coupe de l'appui est tracée en N, ces appuis portant toujours un petit épaulement O à l'intérieur, pour rejeter en dehors les eaux de pluie pénétrant à travers les interstices des panneaux. Dans les fenêtres de la Sainte-Chapelle haute on voit que les arcs et découpures des meneaux sont exactement compris dans la hauteur de l'archivolte. Cette disposition avait un défaut, elle faisait paraître les colonnettes des meneaux trop hautes, ne donnait pas assez d'importance aux découpures supérieures. Les architectes du milieu du XIIIe siècle observèrent l'effet fâcheux de cette disposition, et ils descendirent bientôt les arcs des meneaux et les découpures supérieures au-dessous de la naissance des archivoltes. Mais vers la fin de la première moitié du XIIIe siècle, dans les édifices religieux, les fenêtres se combinaient, soit avec une arcature de soubassement lorsqu'elles étaient percées à rez-de-chaussée, soit avec les galeries à jour de premier étage (triforium) lorsqu'elles s'ouvraient dans la partie supérieure des hautes nefs. À la Sainte-Chapelle du Palais déjà, une arcature intérieure sert d'appui aux grandes fenêtres comme à celles de la chapelle basse (voy. ARCATURE, fig. 8). Si, dans la Sainte-Chapelle haute, cette arcature ne se relie pas absolument aux meneaux des fenêtres, cependant les divisions correspondent aux espacements des meneaux; les architectes semblaient ainsi vouloir faire partir les fenêtres du sol, c'est-à-dire ne plus composer leurs édifices que de piles et d'ajours dont une portion était cloisonnée par le bas. C'était un moyen de donner de la grandeur à l'intérieur des édifices religieux. Nous avons vu que les architectes des églises de Notre-Dame de Châlons (sur-Marne) et du choeur de Saint-Remy de Reims avaient cherché à relier les fenêtres supérieures avec le triforium. Dans la cathédrale de Reims ce principe n'avait point été suivi, mais nous voyons que dans l'Île-de-France et la Picardie on l'adopte avec franchise, du moins, pour les fenêtres supérieures.
La nef de la cathédrale d'Amiens nous présente un des premiers et des plus beaux exemples de ce parti. Dans cette nef, les fenêtres supérieures et le triforium ne forment qu'un tout, bien que ce triforium soit encore clos et qu'il adopte une ordonnance particulière. Ce nouveau mode a une telle importance, il indique si clairement le but que les architectes se proposaient d'atteindre, savoir: de supprimer entièrement les murs, ce qu'en terme de métier on appelle les tapisseries, que nous devons ici donner une figure de ces fenêtres hautes de la nef de Notre-Dame d'Amiens (20).

En A est tracée la face intérieure de l'une de ces fenêtres, et en B sa coupe sur CC'C''. Les arcs-doubleaux des grandes voûtes portent sur les colonnes D, et les arcs ogives sur les colonnettes E; c'est l'archivolte G de la fenêtre qui tient lieu de formeret. Il n'y a donc dans cette construction que des piles et des fenêtres. Le triforium est essentiellement lié à cette baie, non-seulement par sa décoration, mais aussi par sa structure. Cependant, le comble H du bas-côté étant adossé à ce triforium, une cloison I ferme la galerie, et un arc de décharge O porte le filet, le passage supérieur, et forme étrésillonnement entre les piles K qui reçoivent les colonnes de tête M des arcs-boutants. Les piles milieux sont placées au-dessus de la clef des archivoltes des collatéraux, de sorte que toutes les pesanteurs se reportent sur les piles de la nef. Le meneau central de la baie est construit en assises hautes, mais déjà les meneaux intermédiaires ne se composent que de grands morceaux de pierre en délit. Les redents des roses, grandes et petites, sont incrustés en feuillure dans l'appareil principal de la claire-voie supérieure 478. Ces baies étant d'une dimension considérable, on a jugé à propos de multiplier les barlottières en fer, de placer des montants dans le milieu de chaque intervalle, et de garnir la rose supérieure d'une puissante armature pour soulager d'autant les redents et pour résister au poids des panneaux de vitraux. Si le triforium participe déjà ici à la fenêtre, cependant il est encore un membre distinct de l'architecture, il n'est pas à claire-voie et laisse voir des portions de tapisseries entre ses archivoltes et l'appui des grandes baies. Ces ajours obscurs et ces surfaces pleines sous les grandes parties vitrées des fenêtres hautes tourmentèrent l'esprit logique des architectes du XIIIe siècle. Le triforium, en effet, n'était plus une galerie fermée passant sous les fenêtres, c'était déjà un soubassement de la fenêtre, mais un soubassement qui ne s'y reliait pas assez intimement. En disposant les combles des bas-côtés en pavillons ou en terrasses, on pouvait mettre à jour aussi la cloison du triforium; mais alors il fallait faire disparaître ces tympans pleins, ces appuis hauts, et faire décidément descendre les grandes baies des nefs jusqu'à l'appui de la galerie en ne donnant à celle-ci que les pleins absolument nécessaires pour trouver un chemin de service en R. Dans le choeur de la même cathédrale ce nouveau programme fut résolu avec certains tâtonnements: les tympans pleins au-dessus des archivoltes du triforium existent encore; on a bien cherché à les allégir en les décorant de gâbes avec crochets, mais la solution de continuité entre la fenêtre et la galerie ajourée n'en existe pas moins (voy. TRIFORIUM). C'est en Champagne et dans l'Île-de-France où le problème paraît avoir été résolu d'une manière absolue pour la première fois. La nef et les parties hautes du choeur de l'église abbatiale de Saint-Denis, bâties vers 1245 (vingt ans environ après la nef de Notre-Dame d'Amiens), nous montrent des fenêtres ne faisant plus qu'un tout avec le triforium 479. Ces fenêtres présentent d'ailleurs certaines dispositions particulières qui ont une signification au point de vue de la structure. Indiquons d'abord cette règle à laquelle on trouve peu d'exceptions: c'est que pendant le XIIIe siècle, et même au commencement du XIVe, les meneaux des fenêtres offrent toujours une division principale, de manière à fournir deux vides seulement si ces baies ont peu de largeur, et deux vides subdivisés par des meneaux secondaires si ces baies sont plus larges; ainsi les fenêtres possèdent des travées en nombre pair, deux et quatre. Ces divisions se subdivisent encore si les fenêtres atteignent une largeur extraordinaire afin de composer huit travées 480, c'est-à-dire un meneau principal, deux meneaux secondaires et quatre meneaux tertiaires, en tout sept meneaux. On reconnaît là l'emploi de ce système de cristallisation, disons-nous, vers lequel l'architecture gothique tombe par une pente fatale dès le milieu du XIIIe siècle. On conçoit, par exemple, que les architectes ayant admis que pour maintenir les panneaux de vitraux il ne fallait pas laisser plus d'un mètre environ de vide entre les meneaux, à moins d'être entraîné à placer des montants en fer entre ces meneaux comme dans l'exemple précédent; que du moment que les meneaux étaient considérés comme des châssis de pierre destinés à maintenir ces panneaux, il était illogique de doubler ces meneaux par des barres de fer verticales, ces architectes aient été bientôt entraînés à poser autant de montants verticaux de pierre qu'il y avait d'intervalles de trois pieds de large à garnir de vitraux. Soit une fenêtre de deux mètres de large à vitrer, l'architecte pose un meneau (21). Soit de quatre mètres, il pose un meneau principal et deux meneaux secondaires (22). Soit de huit mètres, il pose un meneau principal, deux meneaux secondaires et quatre tertiaires (23). Mais alors la rose A et les compartiments B deviennent si grands qu'il est impossible de les vitrer, à moins d'employer des armatures en fer très-compliquées; c'est ce qu'il faut éviter. On cherche des combinaisons de redents de pierre pour garnir ces intervalles comme nous le traçons en C, par exemple. Le châssis est alors complet, et le fer n'est qu'un accessoire, ne se pose que sous forme de barlottières armées de pitons. Nous avons dit précédemment que le défaut des fenêtres hautes de la Sainte-Chapelle du Palais était de présenter des meneaux trop longs pour les claires-voies supérieures, celles-ci ne descendant pas au-dessous de la naissance des archivoltes. L'architecte de la nef de Notre-Dame d'Amiens, avant la construction de la Sainte-Chapelle, avait déjà descendu les claires-voies supérieures au-dessous de la naissance des archivoltes-formerets (fig. 20). Mais plus on multipliait les meneaux, et plus il fallait descendre ces claires-voies, ainsi que le démontrent les deux fig. 21 et 22, ou bien il fallait, comme on le voit, fig. 23, tracer les arcs brisés intérieurs se rapprochant plus du plein cintre que dans les deux autres exemples.


Les fenêtres hautes de la nef de Notre-Dame d'Amiens possèdent un meneau central offrant plus de champ que les deux autres. En effet, le poids de la claire-voie se reporte presque entièrement sur ce meneau; cela n'avait point d'inconvénients alors que ce meneau central était encore composé ou d'assises ou de pierres hautes, mais n'étant pas de nature à se déliter. Si, au contraire, on voulait en venir à former ces meneaux de longues pierres debout pouvant se déliter, il y avait un danger sérieux à reporter toute la charge sur le pied-droit central. Les architectes des églises de Saint-Denis, de la cathédrale de Troyes et de quelques autres monuments religieux élevés au milieu du XIIIe siècle, conservèrent la disposition générale indiquée dans la fig. 20, mais donnèrent pour plus de sûreté un champ égal, sinon une égale épaisseur, aux trois montants des grandes baies: c'est-à-dire (fig. 24 481) qu'ils accolèrent deux fenêtres à un seul montant chacune.

Ainsi tous les nerfs principaux de la claire-voie conservaient le même champ, et le châssis de pierre avait sur toute sa surface une égale rigidité. En A, nous avons tracé la section du meneau central et de l'un des meneaux intermédiaires; en B, la coupe de la fenêtre faite sur son axe. Ici les redents des roses ne sont plus embrévés en feuillure comme à Amiens, mais tiennent à l'appareil général; ce qui permettait, en leur donnant plus de légèreté, d'obtenir plus de résistance et de diminuer la force des armatures en fer. Le triforium est, comme nous le disions tout à l'heure, intimement lié à la fenêtre, il est ajouré comme elle, et les tympans destinés à porter le plafond du passage C ne présentent que des surfaces pleines peu importantes. La cloison extérieure D est ajourée comme la galerie E, quoique d'une taille plus simple. C'est à cette cloison D que sont attachés les panneaux de vitraux. Les barres de fer G forment un chaînage continu passant à travers les piles et les meneaux, et reliant toute la construction. Bientôt on voulut même supprimer ces petits tympans pleins au-dessus des archivoltes du triforium, et ne plus avoir qu'une claire-voie sans autre interruption que l'assise de plafond entre le haut de la galerie et les baies. Les fenêtres et le triforium ne parurent plus être qu'une seule ouverture divisée par des meneaux et des découpures complétement ajourées. (voy. TRIFORIUM). Alors les travées des grandes nefs ne furent composées que des arcades des bas-côtés et d'un fenestrage comprenant tout l'espace laissé entre le dessus des archivoltes de ces travées et les voûtes hautes. Si les sanctuaires n'avaient point de collatéraux, on les mettait entièrement à jour au moyen d'une galerie vitrée surmontée d'un fenestrage comprenant tout le vide entre les piles. C'est ainsi qu'est construit le choeur de l'église Saint-Urbain de Troyes, qui n'offre aux regards qu'une splendide lanterne de verrières peintes reposant sur un soubassement plein, de trois à quatre mètres seulement de hauteur 482.
Nous avons donné au mot CHAPELLE, fig. 4, 5 et 6, la disposition des fenêtres de la chapelle royale du château de Saint-Germain-en-Laye, disposition qui met à jour tout l'espace compris entre les contre-forts de l'édifice en isolant les formerets de la voûte, de manière qu'à l'extérieur cette chapelle laisse voir, seulement comme parties solides, des piles et de grands fenestrages carrés. Cette tendance à laisser entièrement à jour les tapisseries des édifices religieux entre les contre-forts, de ne plus faire que des piles portant des voûtes avec une décoration translucide à la place des murs, est évidemment la préoccupation des architectes dès le milieu du XIIIe siècle. Du moment où l'on adopta les verrières colorées, la peinture murale ne pouvait produire dans les intérieurs que peu d'effet, à cause du défaut de lumière blanche et de l'éclat des vitraux; on prit donc le parti de n'avoir plus que de la peinture translucide, et on lui donna la plus grande surface possible.
La Champagne précède les autres provinces de France, lorsqu'il s'agit d'adopter ce parti. Les bas-côtés de la nef de Saint-Urbain de Troyes, dont la construction date de la fin du XIIIe siècle, présentent entre les contre-forts cette disposition d'un fenestrage rectangulaire, très-riche, indépendant des voûtes. L'architecte de cette église si curieuse, voulant adopter un parti large dans un petit édifice, ce qu'on ne saurait trop louer, n'a divisé sa nef qu'en trois travées. Les bas-côtés sont couverts par des voûtes d'arête sur plan carré; mais comme l'espace entre les contre-forts eût été trop large pour ouvrir entre les piles une seule fenêtre, à moins de lui donner une largeur plus grande que sa hauteur, ce qui eût été d'un effet très-désagréable, ou de laisser entre les baies et les piles de larges pieds-droits, ce qu'on voulait éviter, cet architecte donc, fig. 25, a divisé chaque travée du bas-côté par une nervure A qui vient retomber sur une pile et un contre-fort B moins puissant que les contre-forts C, lesquels reçoivent les arcs-boutants. Dans les espaces laissés entre les gros et petits contre-forts il a ouvert des fenêtres en D, terminées carrément sous le chéneau, et indépendantes des formerets E des voûtes. Il a voulu cependant donner à l'extérieur comme à l'intérieur une grande richesse à ce fenestrage.


La fig. 26 présente la face extérieure d'une de ces baies, à l'échelle de 0m,02 c. pour mètre. En A est l'un des gros contre-forts, en B l'un des petits. La coupe E est faite sur la balustrade en E'. L'assise formant chéneau et reposant sur la claire-voie est en G. La section C, à 0m,04 c. pour mètre, est faite sur le meneau à la hauteur H, et celle D, sur ce même meneau, à la hauteur I. Les vitraux sont posés dans les feuillures K.

Si nous faisons une coupe sur l'axe de cette fenêtre, fig. 27, nous avons le meneau central en A, le petit contre-fort en B, et sous le formeret de la voûte, en C, une claire-voie qui n'est qu'une décoration. On voit que le chéneau G repose sur ce formeret et sur la claire-voie extérieure. Examinons cette fenêtre de l'intérieur du bas-côté, fig. 28.

En A nous avons indiqué la claire-voie vitrée, la fenêtre qui porte le chéneau G, et qui est exactement comprise entre les contre-forts; en B est tracée la claire-voie intérieure, sous le formeret C de la voûte. D'après l'appareil, qui est exactement tracé, on reconnaît que ces claires-voies sont complétement indépendantes de la structure des contre-forts, qu'elles ne sont que des dalles ajourées taillées dans un excellent liais de Tonnerre. La construction ne consiste donc qu'en des contre-forts ou piles portant les voûtes; puis, comme clôture, il n'y a que des cloisons ajourées, posées en dehors et recevant les chéneaux. Ce sont de véritables châssis que l'on peut poser après coup, changer, réparer, remplacer sans toucher à l'édifice. Il n'est pas besoin de faire ressortir les avantages qui résultent de ce système, parfaitement raisonné, qui permet les décorations les plus riches et les plus légères sans rien ôter à la bâtisse de sa solidité et de sa simplicité.
Pendant le XIVe siècle cependant, on abandonne, même en Champagne, ce système de fenestrage inscrit dans des formes rectangulaires pour les édifices religieux, et on en revient à prendre les formerets des voûtes comme archivoltes des baies; mais les meneaux deviennent de plus en plus déliés, et arrivent à des sections d'une extrême délicatesse afin de laisser aux vitraux, c'est-à-dire aux surfaces décoratives colorées, le plus de surface possible (voy. MENEAU).
FENÊTRES APPARTENANT À L'ARCHITECTURE CIVILE ET MILITAIRE.--Dans l'architecture antique grecque et romaine, c'est la structure intérieure des vaisseaux à éclairer qui commande la forme et la dimension des fenêtres. Ce même principe est appliqué avec plus de rigueur encore par les architectes du moyen âge. Si la forme cintrée convient à des baies dont les vitraux sont dormants, et qui sont inscrites par des voûtes, on conviendra que cette forme ne peut guère être appliquée à des baies qu'il faut ouvrir souvent et qui sont percées entre des planchers. Ainsi que nous l'avons dit en commençant cet article, les fenêtres des premiers siècles du moyen âge sont très-rarement garnies de vitraux dans les édifices publics; mais il fallait bien, dans les habitations privées, se garantir du froid et du vent, ne fût-ce que pendant la nuit: alors les fenêtres étaient closes par des volets de bois; quand on voulait de l'air et de la lumière, on ouvrait les volets. Les inconvénients de ce moyen primitif obligèrent bientôt les architectes à percer ces volets de quelques trous que l'on garnissait de verre ou de parchemin. Puis on en vint à faire des châssis de bois recevant les vitraux, du papier, du parchemin ou de la toile.
Quelques fenêtres d'habitations du XIe siècle, comme celles de nos anciens donjons normands, par exemple, ne laissent voir nulle trace de fermeture ancienne; il est à croire qu'elles étaient closes au moyen de nattes, de courtines de laine ou de grosse toile; on voit en effet souvent figurées dans les manuscrits carlovingiens des baies garnies de ces tentures mobiles glissant sur des tringles, et retenues par des embrasses lorsqu'on voulait faire entrer l'air et la lumière dans les intérieurs. Déjà certainement, les habitations urbaines, celles des bourgeois qui se livraient à un travail quelconque dans l'intérieur de leurs maisons, étaient percées de fenêtres vitrées ou parcheminées alors que les châteaux conservaient encore les anciens usages, car les seigneurs féodaux et leurs hommes ne se réunissaient guère que le soir dans leurs réduits pour manger et dormir; ils ne se livraient à aucun travail intérieur, et passaient presque toutes leurs journées à courir la campagne.
Dans les maisons des villes, le besoin de faire pénétrer le jour dans les intérieurs (les rues étant généralement étroites) motivait ces colonnades vitrées que nous trouvons dans presque toutes les habitations françaises à dater du XIIe siècle. L'ouvrage de MM. Verdier et Cattois sur l'architecture civile du moyen âge nous fournit un grand nombre d'exemples de ces fenestrages continus qui occupaient tout un côté de la pièce principale au premier et même au second étage, pièce qui servait de lieu de travail et de réunion pour toute la famille. Mais ces claires-voies ne peuvent être considérées, à proprement parler, comme des fenêtres; nous avons l'occasion de les décrire à l'article MAISON.
La fenêtre romane civile est ordinairement étroite, composée de deux pieds-droits terminés par un cintre appareillé ou découpé dans un linteau avec un arc de décharge par derrière, ou un second linteau présentant une assise assez forte pour recevoir les solivages du plancher. Quelquefois la fenêtre n'est autre chose qu'une baie cintrée, comme celles présentées fig. 1 et 2. Cependant ces ouvertures (à cause du cintre qui les terminait) se fermaient difficilement au moyen de volets, ceux-ci ne pouvant se développer sous les cintres; on renonça donc bientôt à employer ce mode, on élargit les baies en les divisant par un meneau, une colonnette.

La fig. 29 nous montre une fenêtre romane de la fin du XIe siècle qui, par la conservation de tous ses accessoires, fournit un exemple remarquable du système de fermeture généralement adopté à cette époque. Elle provient du château de Carcassonne 483. En A est tracé le plan. Sa largeur totale entre les pieds-droits de l'ébrasement est de 1m,20, et la profondeur de cet ébrasement est de 0,60 c., moitié de la largeur. Une colonnette en marbre blanc porte le linteau extérieur évidé en deux portions d'arcs (voir la face extérieure de la baie B). Ce linteau I est doublé intérieurement d'un second linteau K, et d'un troisième L (voir la coupe C) qui est fait d'un bloc de béton 484 et qui reçoit le solivage du plancher. Deux gonds G, encore en place (voir la face intérieure D), recevaient un volet brisé qui, ouvert, se développait dans l'ébrasement et sur le mur ainsi que l'indique le plan. Lorsqu'on voulait clore la fenêtre, on rabattait les deux feuilles du volet et on tirait la barre de bois dont la loge est indiquée sur ce plan et sur le tracé D, en F, jusqu'à ce que l'extrémité de cette barre s'engageât dans l'entaille P 485. L'allége de la fenêtre formait banc à l'intérieur de la pièce.

Nous donnons (30) la face intérieure de ce volet en O, et sa coupe sur ab en M; la barre tirée est indiquée en R. Des ajours vitrés au moyen de morceaux de verre enchâssés dans du plomb donnaient de la lumière dans la pièce lorsque les volets étaient fermés. Les pentures étaient brisées comme les volets, ainsi que l'indique notre figure. Ici la hauteur entre planchers était trop faible pour permettre l'emploi de l'arc de décharge intérieur; mais habituellement l'ébrasement des fenêtres romanes divisées par une colonnette est surmonté d'un arc de décharge plein cintre.

Voici (31) l'une des fenêtres du donjon de Falaise, dont la construction date à peu près de la même époque. Le plan A nous fait voir que la baie consiste réellement en une loge ou arcade cintrée, fermée extérieurement par une allége, une colonnette et deux tableaux. Sur le dehors (voir le tracé B) la fenêtre ne laisse pas percer le cintre de l'ébrasement, mais seulement les deux petits arcs retombant sur la colonnette. Intérieurement (voir le tracé D) on remarque que la fenêtre offre un réduit duquel, en s'avançant jusqu'à l'allége C, on peut regarder au pied du mur extérieur. Ces fenêtres ne semblent pas avoir été fermées primitivement par des volets, mais seulement, comme nous le disions tout à l'heure, par des nattes ou des tapisseries pendues sous le grand cintre. Un peu plus tard nous observons que dans ces châteaux normands on emploie les volets de bois pleins pour fermer les baies, en faisant paraître le grand cintre de l'ébrasement à l'extérieur et en ouvrant un jour dormant sous ce cintre.
C'est ainsi que sont construites quelques fenêtres du château d'Harcourt à Lillebonne (Seine-Inférieure) et de plusieurs autres châteaux normands du XIIe siècle.

La fig. 32 explique cette disposition. Le tracé A nous montre la fenêtre à l'extérieur, et celui B sa coupe. Sous le berceau plein cintre E de l'ébrasement est bandé un arc D dont les sommiers reposent sur les extrémités d'un linteau C et sur deux pieds-droits. Un meneau soulage ce linteau au milieu de sa portée. L'espace compris entre le linteau C et l'arc D était vitré à demeure, et des volets pleins, brisés, barrés, fermaient la baie derrière le meneau. Plus tard, lorsqu'on vitra les fermetures des fenêtres, on conserva encore ces châssis dormants au-dessus de la partie ouvrante. Cette tradition se conserva en France jusqu'à nos jours, puisque dans beaucoup d'habitations du dernier siècle on voit encore des fenêtres avec des jours d'impostes qui souvent étaient dormants. En effet, lorsqu'on veut regarder par une fenêtre, il est assez incommode d'ouvrir un châssis de trois ou quatre mètres de hauteur, difficile souvent à manoeuvrer, que l'humidité fait gonfler ou la sécheresse rétrécir, et qui laisse passer en hiver un volume d'air beaucoup plus considérable qu'il n'est besoin. Il faut dire aussi que les pièces destinées à l'habitation étant beaucoup plus vastes que celles de nos appartements, on ne sentait pas le besoin, comme aujourd'hui, de renouveler l'air intérieur aussi souvent. Les cheminées larges faisaient un appel suffisant de l'air extérieur en hiver, pour qu'il ne fût pas nécessaire d'ouvrir les fenêtres; et, en été, on obtenait de la fraîcheur en les tenant fermées. Ce n'était que lorsqu'on voulait regarder dans la rue qu'on entre-bâillait les châssis ouvrants d'une petite dimension, et permettant à une seule personne ou à deux, tout au plus, de se pencher sur l'appui. On renonça cependant, au XIIIe siècle, aux barres se logeant dans l'épaisseurs des murs, tirées derrière les volets, et, au lieu de volets pleins ou percés de petits ajours, on établit des châssis de bois presque entièrement vitrés.

Voici (33) une des fenêtres du commencement du XIIIe siècle, percées dans les anciens bâtiments dépendant aujourd'hui de la citadelle de Verdun. C'est encore le système roman. Le linteau, déchargé par le berceau brisé de l'ébrasement qui apparaît au dehors, est ajouré d'un quatre-feuilles vitré dormant; mais les deux claires-voies sont garnies de châssis vitrés roulant sur des gonds scellés dans les feuillures, et maintenus le long du meneau par des targettes s'enfonçant dans une gâche B en pierre, réservée à l'intérieur de ce meneau. L'esprit ingénieux des architectes laïques du XIIIe siècle allait trouver des dispositions nouvelles et très-variées pour les fenêtres des édifices civils et des habitations.

Nous voyons que dans certains cas ils conservent la tradition romane pure, c'est-à-dire qu'ils ouvrent dans un mur une arcade plein cintre, et posent un linteau sous ce cintre pour recevoir un châssis carré, comme dans une tourelle dépendant de l'évêché de Soissons (34) (commencement du XIIIe siècle); ou bien que, pour de petites pièces, ils adoptent des baies larges, relativement à leur hauteur, séparées par un élégant meneau central, couvertes extérieurement par un linteau décoré d'arcatures, et formant intérieurement un ébrasement terminé par un berceau de décharge et muni d'un banc B (35) 486.

Ici le meneau est renforcé intérieurement d'un appendice A servant d'accoudoir, et recevant les targettes de fermeture des deux châssis (voy. l'article BANC, fig. 4). Nous voyons encore que pour éclairer des pièces assez hautes entre planchers, ils disposent les fenêtres de manière à pouvoir n'ouvrir à la fois qu'une partie de leur surface; alors le meneau central est divisé par une traverse (36), la baie porte quatre châssis mobiles: ceux inférieurs s'ouvrant pour regarder dehors, et ceux supérieurs pour donner de l'air dans le haut de la pièce, toujours avec des renforts aux meneaux pour recevoir les targettes 487.

Cependant on demandait aux architectes, vers le milieu du XIIIe siècle, des fenêtres plus grandes pour éclairer les habitations ou les édifices publics; à mesure que les moeurs s'adoucissaient, on voulait des maisons ouvertes, non plus murées comme des forteresses. C'est surtout dans les villes de l'Île-de-France et de la Champagne que l'on aperçoit, sous le règne de saint Louis, une tendance vers ces besoins de la civilisation moderne.

Il existe encore à Reims une façade de maison assez complète rue du Tambour, maison dite des Musiciens (voy. MAISON), qui date de 1240 environ. Les pièces du premier étage sont éclairées par de larges et hautes fenêtres (37), dont nous donnons en A la face extérieure, en B la face intérieure et en C la coupe. La corniche D, de la maison, est immédiatement posée sur les linteaux de ces fenêtres, derrière lesquels sont bandés des arcs de décharge E qui portent la charpente du comble. Les meneaux sont combinés de façon à recevoir les châssis vitrés sans le secours d'aucune ferrure. D'abord en G est posé, sous l'arc de décharge, un linteau de chêne, percé à ses extrémités de trous correspondant aux renforts circulaires F ménagés aux deux bouts de la traverse de pierre H. Ces renforts, dont le détail perspectif est tracé en I, reçoivent les pivots K des châssis inférieurs et ceux des châssis supérieurs. D'autres renforts analogues O, pris aux dépens de l'appui P, recevaient les pivots bas de ces châssis inférieurs. Les targettes des quatre châssis entraient dans les renflements R réservés à l'intérieur du meneau central. Nous donnons au dixième de l'exécution, en L la section du meneau, en M la face latérale d'une des gâches, et en N sa face intérieure 488.
Ces exemples font ressortir le soin que les architectes de cette époque mettaient dans l'étude des menus détails de l'architecture domestique. Tout était prévu pendant la construction, et tout était prévu avec économie. Ils évitaient ces scellements de ferrures qui, après l'achèvement d'un ravalement, viennent déshonorer les façades en coupant les moulures, écornant les chambranles, mutilant les tableaux et les appuis; qui nécessitent ces raccords en plâtre bientôt détruits par le temps et accusant ainsi le peu d'harmonie qui existe, dans nos édifices, entre l'apparence et les besoins. Dans les maisons gothiques, regardées de nos jours comme des habitations étrangères à notre civilisation, les fenêtres, ainsi que les autres membres de l'architecture, ne sont point imitées de l'antique ou de la renaissance italienne; mais elles sont disposées et faites pour donner de l'air et de la lumière, elles sont proportionnées aux salles, et comprennent dans leur structure tous les accessoires indispensables à l'ouverture des châssis mobiles, comme à leur clôture. Nous pourrions donc trouver encore ici quelques bons enseignements si nous voulions nous pénétrer de ces moyens simples, de ce soin en toute chose qui n'excluent nullement les perfectionnements et leur viennent, au contraire, en aide.
Mais les exemples que nous venons de donner en dernier lieu sont tirés d'édifices privés; cependant les architectes du moyen âge élevaient de vastes salles affectées à des services civils ou qui réunissaient à la fois les caractères religieux et civils. Telles étaient les salles synodales, grands vaisseaux destinés à des réunions nombreuses, où il fallait trouver de la lumière, de l'air, de grandes dispositions; en un mot, ce qu'on demande dans nos salles de tribunaux. On voit encore, près la cathédrale de Sens, une de ces salles qui dépendait autrefois du palais archiépiscopal.
C'est vers 1245, sous le roi saint Louis, que fut bâtie la salle synodale de Sens. Sur la place publique, vers l'ouest, elle est éclairée par des fenêtres, admirables comme style d'architecture, parfaitement appropriées à leur destination et d'une construction qui montre la main d'un maître.

Nous donnons (38) l'extérieur de ces fenêtres. La salle étant voûtée, les archivoltes de la baie sont concentriques aux formerets des voûtes, et disposées conformément au système champenois. Les vitraux compris dans les claires-voies A sont dormants, comme dans les fenêtres des édifices religieux; mais les ouvertures B sont rectangulaires et garnies de châssis ouvrants, afin de permettre aux personnes placées dans la salle de donner de l'air et de regarder au dehors.

À l'intérieur, ces fenêtres présentent le tracé perspectif (39). Cette belle composition se reproduit à l'extrémité méridionale de la salle, mais avec quatre travées au lieu de deux; une immense claire-voie supérieure, d'une fermeté de style peu commune à cette époque, surmonte ces quatre ouvertures. On voit ici que les meneaux sont munis de renforts destinés à recevoir plusieurs targettes dans la hauteur des châssis ouvrants, afin d'empêcher le gauchissement de ces châssis 489. On remarquera combien l'appareil de ces claires-voies est bien disposé pour présenter une grande solidité et pour éviter les évidements. Les redents de la rose (fig. 38) sont posés en feuillure, et les linteaux des parties ouvrantes sont déchargés par les deux archivoltes puissantes qui reposent sur la forte pile du milieu. Ces fenêtres ont un caractère particulier qui n'appartient pas au style de l'architecture religieuse, bien qu'elles soient comprises sous des voûtes comme les fenêtres des églises (voy. SALLE). Les architectes des XIIIe et XIVe siècles n'employaient pas ce système de claires-voies vitrées dormantes avec châssis ouvrants dans les grandes salles seulement. Nous voyons des fenêtres de dimension médiocre ainsi disposées dans des habitations; les deux volumes sur l'Architecture civile et domestique, de MM. Verdier et Cattois 490, nous en fournissent de nombreux exemples, bien qu'ils n'aient pu les réunir tous.

Il existe au second étage de la porte Narbonaise, à Carcassonne, bâtie vers 1285, une salle médiocrement haute entre planchers, éclairée du côté de la ville par des baies qui nous présentent un diminutif des fenêtres de la grand'salle de Sens. La partie supérieure de ces baies (40) recevait des vitraux dormants. À l'intérieur, derrière le linteau A, était établi une traverse en bois B (voir la coupe C) sur laquelle venaient battre en feuillure deux châssis ouvrants. Un montant en bois, maintenu par un assemblage sous cette traverse et par un goujon sur le renfort D, posé derrière le meneau, était muni des gâches recevant les targettes des châssis ouvrants. Ces châssis ouvrants n'ayant pas de jets d'eau, et ne recouvrant pas l'appui E (voir le détail G), mais battant contre cet appui à l'intérieur en H, la pluie qui fouettait contre les vitrages devait nécessairement couler à l'intérieur. Afin d'éviter cet inconvénient, le constructeur a creusé en F de petits caniveaux munis de deux trous K, par lesquels l'eau était rejetée à l'extérieur. Les châssis ouvrants étaient ferrés dans la feuillure au moyen de gonds et de pentures. Le tracé I montre la fenêtre vers le dehors. La claire-voie supérieure est moulurée à l'intérieur comme à l'extérieur, puisque le vitrail est pris au milieu de l'épaisseur de la pierre, ainsi que l'indique notre coupe, tandis que les pieds-droits, le meneau et le linteau sont coupés carrément du côté de l'intérieur pour recevoir les bâtis et châssis en menuiserie, ainsi que l'indique notre plan.
Les formes des fenêtres ouvertes dans les édifices civils et les maisons des XIIIe et XIVe siècles sont trop variées pour que nous puissions présenter à nos lecteurs un spécimen de chacune de ces sortes de baies. C'était toujours la dimension ou la nature des salles qui commandait les dispositions, les hauteurs et les largeurs de ces baies; ce qui était raisonnable. Cette façon de procéder donnait aux architectes plus de peine qu'ils n'en prennent aujourd'hui, où la même fenêtre sert pour tout un étage d'un palais ou d'une maison, que cet étage comporte de grandes salles et de petites pièces, qu'il renferme des cages d'escaliers et des entre-sols.
Cependant, vers la fin du XIVe siècle, les moeurs des châtelains et des bourgeois s'étaient fort amollies, et on trouvait que les châssis ouvrants posés en feuillure dans la pierre même, sans dormants, laissaient passer l'air froid du dehors; on songea donc à rendre le châssis de bois indépendant du châssis de pierre, c'est-à-dire des meneaux et traverses. Le château de Pierrefonds, bâti en 1400, nous fournit de beaux exemples de fenêtres disposées avec des châssis de bois dormants encastrés dans les feuillures de pierre, et recevant des châssis mobiles vitrés et des volets intérieurs.

La fig. 41 donne en A le plan d'une de ces baies, en B sa face extérieure, et en C sa face intérieure. Sur ce dernier tracé, dans lequel nous avons indiqué la baie avec ses volets en D, avec ses châssis vitrés en E et dépouillée de sa menuiserie en F, on voit que les châssis ouvrants ainsi que les volets sont ferrés, non dans la pierre, mais sur des châssis dormants posés dans les larges feuillures des pieds-droits, du meneau et des traverses; que l'on peut ouvrir séparément chaque volet et chaque châssis vitré, ce qui, pour de grandes fenêtres, présente des avantages; que les volets sont plus ou moins découpés à jour afin de permettre à la lumière extérieure d'éclairer quelque peu les chambres lorsque ces volets sont clos; que ces baies ferment aussi bien que les nôtres, sinon mieux; qu'elles peuvent être hermétiquement calfeutrées, et qu'on pouvait, au moyen de ces châssis séparés, donner aux intérieurs plus ou moins d'air et de lumière. On a remplacé tout cela aujourd'hui par des vasistas, mais nous n'avons pas encore repris les volets s'ouvrant par petites parties. Comme toujours, lorsque les murs ont beaucoup d'épaisseur, des bancs garnissent les embrasures pour pouvoir s'asseoir près de la fenêtre et respirer à l'aise.
Les fenêtres de l'architecture civile du XVe siècle sont conformes à ces données générales, et reçoivent des châssis dormants; leurs moulures deviennent plus compliquées à l'extérieur, les meneaux et les traverses de plus en plus minces pour laisser passer plus de jour; leurs linteaux se décorent ainsi que leurs appuis, elles s'enrichissent de sculptures, et la fin du XVe siècle nous a laissé nombre de baies de croisées d'une délicatesse de travail qui dépasse de beaucoup ce que l'on faisait au XIVe siècle, et ce que l'on fit à l'époque de la Renaissance. Nous terminerons cet article en donnant l'une des fenêtres du premier étage de l'hôtel de la Trémoille à Paris 491.

Ces fenêtres (42) posent sur une balustrade pleine continue qui forme allége; leurs linteaux sont posés au niveau de la corniche du bâtiment qui reçoit le chéneau et le comble. Trouvant probablement que cette façon de terminer la baie était pauvre, l'architecte a jugé à propos d'élever au-dessus de ces linteaux une haute décoration en pierre ajourée qui forme comme le timbre de la fenêtre, et qui coupe la masse monotone du toit. Le chéneau se trouve ainsi interrompu à chaque baie, et porte une gargouille saillante en plomb au-dessus de chaque trumeau. Souvent (et cela était justifié par un besoin) ces timbres des baies posées sur la corniche ne sont autre chose que de grandes lucarnes de pierre qui éclairent l'étage du comble. C'est ainsi que se terminent les fenêtres du palais de justice de Rouen, qui sont en ce genre ce qu'il y a de plus riche en France comme combinaison, de plus surprenant comme coupe de pierre et comme main-d'oeuvre (voy. LUCARNE).
Les meneaux et les traverses persistent dans les fenêtres de l'architecture civile française jusqu'au commencement du XVIIe siècle, parce que jusqu'alors les croisées s'ouvraient par petites parties, et qu'on ne supposait pas qu'il fût commode de manoeuvrer des châssis et des volets de trois mètres de hauteur. Ducerceau nous montre encore les fenêtres du Louvre, de François Ier et de Henri II, avec des meneaux de pierre. Des meneaux garnissent également les baies du palais des Tuileries. La suppression de ces accessoires, reconnus nécessaires jusque sous le règne de Louis XIV, a changé complétement le caractère de cette architecture en lui retirant son échelle; les croisées de menuiserie n'ont pas l'aspect monumental des meneaux de pierre, sans pour cela donner plus de jour à l'intérieur des appartements (voy. MAISON, PALAIS).
Note 479: (retour) Même disposition dans l'oeuvre haute du choeur de la cathédrale de Troyes, qui semble être antérieure de quelques années aux constructions du XIIIe siècle de l'église de Saint-Denis. L'architecture de la Champagne est presque toujours en avance sur celle des provinces voisines et même de l'Île-de-France.
Note 489 (retour) La restauration de cette salle admirable, mutilée par le temps et l'incurie des derniers siècles, a été entreprise par les soins du ministère d'État. Le gouvernement a compris toute l'importance de ce monument unique aujourd'hui en France, et qui fournit un exemple dont on peut tirer les plus utiles enseignements pour la construction de nos grandes salles modernes destinées à de nombreuses réunions. Le bâtiment, qui avait été vendu pendant la révolution, a été acheté par le ministère de l'instruction publique et des cultes. Il appartient donc aujourd'hui à l'État. La conservation de la salle synodale de Sens sera un fait d'autant plus remarquable, que l'administration avait à lutter contre certains esprits pour lesquels toute dépense qui ne présente pas un caractère d'utilité matérielle, immédiate et locale, est une dépense perdue; nous ne pouvons cependant nous borner, en France, à élever des marchés, des abattoirs, des hôpitaux et des viaducs. Il faut reconnaître qu'à Sens, comme au pont du Gard, comme à Carcassonne, la persistance éclairée de l'administration trouve chaque jour l'approbation la plus vive de la part des nombreux visiteurs qui chez nous, heureusement, pensent que les monuments du passé méritent d'être conservés et tirés de l'oubli où on les laissait autrefois.
FERME, s. f. Constructions rurales destinées à l'exploitation d'un domaine. Les Romains étaient fort amateurs d'établissements ruraux, et dans le voisinage de leurs villæ, quelquefois dans leur enceinte même, ils possédaient des bâtiments destinés à conserver les récoltes, à loger les colons et à renfermer des bestiaux. Les chefs francs paraissent avoir voulu prendre ces habitudes lorsqu'ils s'emparèrent du sol des Gaules; mais leur mépris pour le travail manuel et pour ceux qui s'y livraient, leur goût pour les armes et la vie d'aventures ne leur permettaient guère de s'occuper des détails de la vie des champs. S'ils faisaient approvisionner dans leurs villæ des amas de grains, de vin, de fourrages et de produits de toute sorte, c'était pour les consommer avec leurs compagnons d'armes, et pour dilapider en quelques nuits d'orgies la récolte d'une année. On comprend que ces moeurs n'étaient pas propres à encourager la culture et l'établissement de bâtiments destinés à l'exploitation méthodique.
Les monastères, vers le commencement du XIe siècle, s'occupaient déjà sérieusement de la culture en grand. Ils construisirent des granges, des celliers, des pressoirs, des étables; ils firent des travaux d'irrigation importants, et s'appliquèrent à améliorer les terres, à défricher les bois, à réunir de nombreux troupeaux. À vrai dire, même les premiers monastères bâtis par les Clunisiens ressemblaient plus à ce que nous appelons une ferme aujourd'hui qu'à toute autre chose (voy. ARCHITECTURE MONASTIQUE).
Plus tard, les moines, les seigneurs laïques, les chapitres, firent construire des fermes conformes aux dispositions adoptées de nos jours, et nous voyons qu'en 1234 un chanoine de Notre-Dame de Paris s'oblige à bâtir dans le délai d'un an une grange devant faire retour au chapitre après sa mort. «La cour ou pourpris de la grange devait avoir quarante toises de long et trente de large; le mur de clôture dix-huit pieds de haut, non compris le chaperon. Dans ce mur devait être pratiqué une porte avec une poterne, et au-dessus de la porte et de la poterne devaient être élevés des greniers vastes et solides; c'était la grange proprement dite. Elle devait avoir vingt toises au moins de longueur et neuf toises ou environ de largeur, avec une gouttière à la hauteur de douze pieds. Près de la porte un appentis de dix ou douze toises était destiné à l'habitation. Sur le pignon de derrière devait être construite une tourelle assez grande pour contenir un lit et un escalier. On devait employer à la construction de cette tourelle de bon bois de chêne, gros et fort, et de bonnes tuiles. Les angles des murs ainsi que la porte devaient être en pierre de taille. Enfin il devait être construit un grand et bon pressoir couvert d'un bon appentis en tuiles 492.» Il existe encore dans le Beauvoisis, le Soissonnais, les environs de Paris et la Touraine, un assez grand nombre de ces bâtiments de fermes des XIIe et XIIIe siècles 493, notamment de fort belles granges (voy. GRANGE), des colombiers (voy. COLOMBIER), qui ont presque toujours appartenu à des établissements religieux. Quant à la disposition générale des bâtiments de fermes, elle est subordonnée au terrain, aux besoins particuliers, à l'orientation. Ce n'est jamais qu'une agglomération de corps de bâtisses séparés les uns des autres, enclos de murs et souvent de fossés. Quelquefois même, ces fermes étaient fortifiées, les murs d'enceinte étaient garnis d'échauguettes ou de tourelles. On en voit encore quelques-unes de ce genre en Bourgogne, dans l'Auxois, dans le Lyonnais et le Poitou.
FERME., s. f. Terme de charpenterie. On entend par ferme toute membrure de charpente qui compose une suite de travées. On dit une ferme de comble, une ferme d'échafaud (voy. CHARPENTE, ÉCHAFAUD).
FERMETURE, s. f. (Voy. BARRE, FENÊTRE, PORTE, SERRURERIE).
FERRURE, s. f. (Voy. ARMATURE, SERRURERIE).
FEUILLURE, s. f. Entaille pratiquée dans l'ébrasement d'une porte ou d'une fenêtre pour recevoir les vantaux ou les châssis (voy. FENÊTRE, PORTE). Les châssis dormants portent aussi des feuillures, quand ils reçoivent des châssis ouvrants (voy. MENUISERIE).
FICHAGE. Action de ficher.
FICHER, v. Ficher une pierre, c'est introduire du mortier sous son lit de pose et dans ses joints lorsque cette pierre est posée sur cales. Habituellement, pendant le moyen âge, on ne fichait pas les pierres, on les posait à bain-de-mortier, ce qui est de beaucoup préférable; car il est difficile, lorsqu'une pierre est posée sur cales, d'introduire le mortier dans son lit et ses joints, et surtout de comprimer le mortier de manière à éviter les tassements. Cependant, lorsqu'on procède par reprises et incrustements, il est impossible de poser les pierres à bain-de-mortier; dans ce cas, pour éviter le retrait du lit de mortier, pour le comprimer, il est bon, lorsque ce mortier commence à prendre, de le refouler au moyen d'une palette de fer et à coups de masses. Pour ficher les pierres, on emploie un outil que l'on appelle fiche: c'est une lame de tôle dentelée, munie d'un manche en bois; cette lame est plate (1) ou coudée (1 bis).

On applique un plateau A de bois, armé de deux petites potences en fer C et de pattes B, au niveau du lit de la pierre à ficher, les pattes entrant dans ce lit. Un garçon met du mortier sur ce plateau, que le ficheur, avec sa truelle et sa fiche, introduit peu à peu sous le bloc. Lorsque le mortier refuse d'entrer et qu'il ressort par le lit supérieur de la pierre, c'est que la pierre est bien fichée et que sa queue est remplie. Alors, et après que ce mortier a acquis de la consistance, on le bourre au moyen du refouloir en fer (2). Il est bon de laisser deux ou trois centimètres de vide sous le lit, le long du parement. On remplit ce vide, plus tard, en rejointoyant; c'est le moyen de s'assurer que la pierre ne pose pas sur ses arêtes et qu'elle ne s'épauffrera pas sous la charge.
FILET, s. m. Solin. On donne ce nom à une saillie de pierre destinée à empêcher l'eau pluviale glissant le long des parements de s'introduire entre les couvertures et les maçonneries. Une couverture en métal, en ardoise ou en tuiles, ne peut être adhérente à la pierre; il existe toujours une solution de continuité entre cette couverture et la construction de pierre qui s'élève au-dessus d'elle. Si cette jonction, nécessairement imparfaite, n'est pas masquée par une saillie qui en éloigne les eaux, des infiltrations ont lieu sous les combles, pourrissent les planchers ou les voûtes. Aujourd'hui, on incruste une lame de zinc dans la pierre au-dessus de la couverture, ou, plus souvent encore, on calfeutre la jonction au moyen d'un solin de plâtre, qui se dégrade promptement ou qui se brise par suite du mouvement des charpentes sujettes à des gonflements et à des retraits successifs. Les architectes du moyen âge avaient sur nous l'avantage précieux de tout prévoir pendant la construction des édifices publics ou privés. Scellements des châssis, feuillures, emplacement des ferrures, les détails nombreux qui doivent concourir à l'ensemble d'une bâtisse simple ou compliquée, étaient calculés, prévus et exécutés au fur et à mesure de la construction. Mais c'était particulièrement dans le système d'écoulement des eaux que ces architectes nous surpassaient. Ils apportaient donc, dans l'établissement à demeure des filets propres à masquer la jonction des couvertures avec les parements verticaux, un soin minutieux, surtout à dater de la fin du XIIe siècle, moment où ils commençaient à élever de très-vastes édifices, sur lesquels, à cause même de leur grande surface, l'écoulement des eaux présentait des difficultés. Dans les églises romanes du XIe siècle, on voit déjà cependant que les architectes ont préservé la jonction du comble en appentis des bas-côtés avec le mur de la nef centrale, au moyen de filets prononcés (1). Ces filets pourtournent les saillies des contre-forts, horizontalement d'abord (voy. le tracé A), puis bientôt suivant la pente donnée par le comble (voy. le tracé B), afin de ne laisser partout, entre ce filet et la couverture, qu'une distance égale, suffisante pour introduire le plomb, l'ardoise ou la tuile.

Mais des difficultés se présentèrent lorsque, par exemple, des souches d'arcs-boutants ou de cheminées vinrent percer les pentes d'un comble (2). Si le filet AB empêchait l'eau glissant le long du parement D de s'introduire entre la couverture et les parois de la pile, il fallait, en C, trouver un moyen de rejeter les eaux, coulant sur le comble, à droite et à gauche de l'épaisseur de cette pile. Là, le filet ne pouvait être bon à rien; il fallait, en C, un caniveau pour recevoir les eaux du comble, et il fallait que ce caniveau renvoyât ses eaux soit sur le comble, soit dans un autre caniveau pratiqué suivant la pente de la couverture. C'est à ce dernier moyen que l'on songea d'abord. En effet, les souches des arcs-boutants du choeur de la cathédrale de Langres, qui date du milieu du XIIe siècle, nous présentent des caniveaux disposés ainsi que l'indique la fig. 3.

Le caniveau A reçoit les eaux de la pente supérieure de la couverture; celui B, latéral, reçoit les eaux tombées dans le caniveau A et sur les extrémités des tuiles en contre-bas. Lorsque la couverture est posée autour de cette souche, elle affecte la disposition donnée dans le tracé T. Ainsi, pas de solins de plâtre ou de mortier, un caniveau supérieur rejetant ses eaux dans des caniveaux rampants se dégorgeant à la partie inférieure de la pile dans le chéneau C. À la cathédrale de Langres, les filets-caniveaux rampants sont taillés dans une seule grande pierre, ce que la pente faible des combles rendait possible. Ce moyen primitif présentait des inconvénients. Il fallait relever la tuile pour joindre le caniveau supérieur A, et laisser ainsi un intervalle entre ce relèvement et la pente continue du comble; de plus, le long de la jouée D du caniveau supérieur, les eaux pluviales pouvaient encore passer entre la tuile et cette jouée. Plus tard, des pentes plus fortes étant données aux couvertures, on renonça aux caniveaux rampants qui ne pouvaient dès lors être taillés dans une seule assise; on revint aux filets de recouvrement pour les parties inclinées, et on laissa des caniveaux seulement dans la partie supérieure, à l'arrivée des eaux sur l'épaisseur des souches de contre-forts et de cheminées (4). De petites gargouilles, ménagées des deux côtés de l'épaisseur, rejetèrent les eaux de ce caniveau supérieur sur les pentes de la couverture. Le tracé A donne le géométral de cette disposition. Un faible relèvement de l'ardoise, de la tuile ou du métal, en C, jetait les eaux dans le caniveau, lesquelles, par suite de l'inclinaison du comble, pouvaient facilement être versées sur la couverture passant sous le filet rampant E. Le tracé B présente le caniveau et le filet rampant en perspective, le comble étant supposé enlevé.

Ces détails font assez ressortir le soin apporté par les architectes du moyen âge dans ces parties de la construction si fort négligées aujourd'hui, mais qui ont une grande importance, puisqu'elles contribuent à la conservation des édifices. C'est grâce à ce soin que la plupart de nos monuments des XIIe et XIIIe siècles sont encore debout aujourd'hui, malgré un abandon prolongé et souvent des réparations inintelligentes. Nous n'osons prédire une aussi longue durée à nos monuments modernes, s'ils ont à subir les mêmes négligences et la même incurie; ils n'éviteront de profondes dégradations que si l'on ne cesse de les entretenir, leur structure ne portant pas en elle-même les moyens de conservation que nous voyons adoptés dans l'architecture antique comme dans celle du moyen âge.
FIXÉ, s. m. Peinture faite sous une feuille de verre et préservée de l'action de l'air par la superposition de cette matière. On a fort employé les fixés dans la décoration des meubles 494 et même des intérieurs pendant le moyen âge. On en trouve bon nombre d'exemples dans la Sainte-Chapelle du Palais à Paris et dans l'église abbatiale de Saint-Denis. On employait aussi les fixés, par petites parties, pour orner les vêtements des statues, les devants d'autels, les retables, les tombeaux. On en voit jusque dans les pavages (voy. APPLICATION, PEINTURE).
FLÈCHE, s. f. Ne s'emploie habituellement que pour désigner des clochers de charpenterie recouverts de plomb ou d'ardoise, se terminant en pyramide aiguë. Cependant, les pyramides en pierre qui surmontent les clochers d'églises sont de véritables flèches, et l'on peut dire: la flèche du clocher vieux de Chartres, la flèche de la cathédrale de Strasbourg, pour désigner les sommets aigus de ces tours. En principe, tout clocher appartenant à l'architecture du moyen âge est fait pour recevoir une flèche de pierre ou de bois; c'était la terminaison obligée des tours religieuses 495. Ces flèches coniques ou à base carrée, dans les monuments les plus anciens, sont d'abord peu élevées par rapport aux tours qu'elles surmontent (voy. CLOCHER); mais bientôt elles prennent plus d'importance: elles affectent la forme de pyramides à base octogone; elles finissent par devenir très-aiguës, à prendre une hauteur égale souvent aux tours qui leur servent de supports; puis elles se percent de lucarnes, d'ajours, et arrivent à ne plus former que des réseaux de pierre, comme les flèches des cathédrales de Strasbourg, de Fribourg en Brisgau, de Burgos en Espagne. Constructeurs très-subtils, ainsi qu'on peut le reconnaître en parcourant les articles du Dictionnaire, les architectes du moyen âge ont dû apporter une étude toute particulière dans la construction de ces grandes pyramides creuses de pierre, qui s'élèvent à des hauteurs considérables et sont ainsi soumises à des causes nombreuses de destruction. S'ils ont déployé, dans ces travaux difficiles, une connaissance approfondie des lois de stabilité et d'équilibre, des matériaux et de l'effet des agents atmosphériques sur leur surface, ils ont fait preuve souvent d'une finesse d'observation bien rare dans la composition de ces grandes pyramides dont la silhouette tout entière se détache sur le ciel. Ils ne trouvaient, d'ailleurs, aucun exemple, dans l'antiquité ou les premiers monuments du moyen âge, de ces sortes de compositions, qui appartiennent exclusivement à cet art français laïque du milieu du XIIe siècle. On remarquera, en effet, qu'avant cette époque (voy. CLOCHER), les couronnements plus ou moins aigus des tours d'églises à base circulaire ou carrée ne sont que des toits de pierre ou de bois, qui n'ont qu'une importance minime ou qui ressemblent plutôt à un amas qu'à une composition architectonique. Malgré l'effort des architectes, on sent que ces couvertures ne se relient pas au corps de la bâtisse, que ce ne sont que des superpositions; tandis que, déjà, la flèche du clocher vieux de Notre-Dame de Chartres forme avec sa base un ensemble, une composition homogène. Ces qualités sont bien plus sensibles encore dans les flèches de Senlis, de Vernouillet, de Laon, de Reims, d'Étampes 496. C'est par des transitions habilement ménagées que les architectes arrivent alors, de la base carrée, massive de la tour, à la pointe extrême de la flèche. Leur attention se porte principalement sur les silhouettes de ces masses, car la moindre imperfection, lorsqu'on a le ciel pour fond, choque les yeux les moins exercés. L'expérience de chaque jour (pour nous qui songeons à toute autre chose qu'aux silhouettes de nos édifices, et qui avons pris pour règle de faire de l'architecture une décoration de placage comprise dans une masse insignifiante si elle n'est désagréable) nous démontre que les objets qui se détachent sur le ciel perdent ou acquièrent de leur importance relative, suivant certaines lois qui semblent fort étranges au premier abord, et dont cependant on peut se rendre compte par le calcul et la réflexion. Ces lois, les architectes qui élevaient les immenses flèches du moyen âge les connaissaient parfaitement, et même, dans leurs oeuvres les plus ordinaires, on en constate l'observation. Cependant, ces lois n'avaient pu s'imposer qu'après des essais, que par la méthode expérimentale, ou plutôt à l'aide d'une délicatesse des sens très-développée, puisque les monuments de ce genre surgissent tout à coup vers le milieu du XIIe siècle, à l'état parfait déjà. La flèche du clocher vieux de Notre-Dame de Chartres, la plus grande que nous possédions en France, est celle peut-être qui réunit, au plus haut degré ces qualités de composition si difficiles à acquérir. La simplicité de sa masse, la juste proportion de ses diverses parties, son heureuse silhouette, en font une oeuvre architectonique qu'on ne saurait trop méditer.
Il est nécessaire d'abord de poser certaines lois générales qui, bien que très-naturelles, sont souvent méconnues lorsqu'il s'agit d'élever des flèches, parce que nous avons pour habitude de composer les ensembles, comme les diverses parties des édifices, en géométral, sans nous rendre un compte exact des effets, de la perspective et des développements de plans.

Soit (1) une tour canée ABCD, sur laquelle nous voulons élever une flèche à base octogonale abcdefgh: nous traçons l'élévation géométrale E sur une des faces du carré de la tour; nous donnons à la hauteur de la pyramide trois fois et quart le côté du carré, et nous trouvons une proportion convenable entre la hauteur de la flèche et sa base; mais si nous faisons une élévation sur le plan GH parallèle à l'un des diamètres gc de l'octogone, nous obtenons le tracé F. Déjà, dans ce tracé, les proportions qui nous semblaient bonnes sur le dessin E sont modifiées d'une façon désagréable; la tour devient trop large pour la pyramide, et celle-ci même n'a plus en hauteur que trois fois sa base apparente, qui est le diamètre gc. De plus, les ombres produiront un fâcheux effet sur ce couronnement, en donnant toujours à la tour des faces éclairées qui seront plus étroites que celles de la pyramide; ce qui fera paraître celle-ci de travers sur sa base. Or il faut compter que l'aspect géométral E ne peut se présenter que sur quatre points, tandis que les aspects F sont infinis; il y aura donc une quantité infinie d'aspects désagréables contre quatre bons. Mais le désappointement sera bien plus grand lorsque l'édifice sera élevé et que la perspective viendra déranger encore le tracé géométral E. Supposons que nous sommes placés sur le prolongement de la ligne I, perpendiculaire au plan GH, à 45 mètres du point C (voy. le tracé AA) en K, la tour ayant 10 mètres de A' en e'; que cette tour a 40 mètres de hauteur du sol à la base de la flèche. La flèche, vue à cette distance, donnera le tracé BB, car celle-ci, par suite de la perspective, ne paraît plus avoir en hauteur que trois fois environ la longueur du diamètre lm, ainsi que le démontre la projection perspective mo. Si, à cette distance, nous voulions obtenir l'apparence OPR, il faudrait doubler la hauteur de la flèche et amener son sommet en n. Si nous prétendions obtenir en perspective une proportion semblable à celle du tracé géométral E, il faudrait tripler la hauteur de la flèche et amener son sommet en p; nous obtiendrions alors l'apparence SPR. En supposant que nous nous reculions à plus de 150 mètres en K', nous voyons même que la flèche perdrait encore la hauteur tu. Si, sur cette flèche, nous posons un point au milieu de sa hauteur en v, et que nous soyons placés en K''(voy. le tracé M), en perspective la distance xv' paraîtra plus grande que la distance v'r. Si, en y, nous plaçons un ornement dont la saillie ne dépasse pas le dixième de la hauteur totale de la pyramide, en projection perspective cet ornement sera le sixième de la hauteur apparente de la flèche. Ces lois, qui semblent assez compliquées déjà, ne sont cependant que très-élémentaires quand il s'agit de la composition des flèches.
FLÈCHES DE PIERRE.--Les flèches construites en pierre, à dater du XIIe siècle, étant, sauf de rares exceptions, à base octogone et plantées sur des tours carrées, il fallait d'abord trouver une transition entre la forme prismatique carrée et la forme pyramidale octogone. Sans effort apparent, l'architecte du clocher vieux de Chartres sut obtenir ces transitions (2).

Au niveau du bandeau K qui termine la tour, les angles saillants ont été dérobés au moyen des contre-forts peu saillants qui les flanquent. L'étage L, vertical encore, présente en plan un octogone dont les quatre côtés parallèles aux faces de la tour sont plus grands que les quatre autres. Quatre lucarnes-pinacles occupent les cornes de la base carrée et remplissent les vides laissés par le plan octogonal. Au-dessus, l'étage vertical, orné de quatre grandes lucarnes sur les faces, se retraite plus sur les petits côtés que sur les grands, et arrive à l'octogone à peu près régulier à la base de la pyramide. Celle-ci présente encore cependant quatre pans (ceux des faces) un peu plus larges (d'un quart) que ceux des angles.

La fig. 3 nous donne, en A, le plan d'un huitième de la flèche du clocher vieux de Notre-Dame de Chartres, au niveau L, et, en B, au niveau de la base de la pyramide. En C, on voit comme les saillies des contre-forts portent les pieds-droits des lucarnes-pinacles, et, en D, comme les angles de la tour se dérobent pour que, vue sur la diagonale, la flèche continue, presque sans ressauts, la silhouette rigide de cette tour. Les pinacles E se détachent complétement de la pyramide au-dessus de l'étage vertical, de façon à laisser la lumière passer entre eux et la flèche. Il en est de même des gâbles posés sur les lucarnes des faces; ces gâbles se détachent de la pyramide. Celle-ci est accompagnée par ces appendices qui l'entourent et conduisent les yeux de la verticale à la ligne inclinée; mais elle n'est pas empâtée à sa souche et laisse deviner sa forme principale.

Notre élévation (4), prise entre le niveau L et le sommet des gâbles, fait ressortir le mérite de cette composition, à une époque où les architectes n'avaient pu encore acquérir l'expérience que leur donna plus tard la construction si fréquente des grandes flèches de pierre sur les tours des églises. Ce tracé nous fait sentir l'étude et le soin que l'on apportait déjà à cette époque dans l'arrangement si difficile de ce point de jonction entre la bâtisse à base carrée et les pyramides; mais aussi nous dévoile-t-il des incertitudes et des tâtonnements. Ces artistes n'ont pas encore trouvé une méthode sûre, ils la cherchent; leur goût, leur coup d'oeil juste, leur pressentiment de l'effet les conduisent dans le vrai, mais par des moyens détournés, indécis. La recherche du vrai chez des artistes, doués d'ailleurs d'une finesse peu ordinaire, donne un charme particulier à cette composition, d'autant que ces artistes ne mettent en oeuvre que des moyens simples, qu'ils pensent avant tout à la stabilité, que, comme constructeurs, ils ne négligent aucune partie; si bien que cette flèche énorme, dont le sommet est à 112 mètres au-dessus du sol, comptant sept siècles d'existence et ayant subi deux incendies terribles, est encore debout et n'inspire aucune crainte pour sa durée. La pyramide porte d'épaisseur 0,80 c. à sa base et 0,30 à son sommet; elle est, comme toute la cathédrale, bâtie en pierre dure de Berchère et admirablement appareillée. Les pans des pyramidioles des angles ont 0,50 c. d'épaisseur. Au niveau K cependant (voy. la fig. 2), la tour s'arrête brusquement, s'arase, et c'est sur cette sorte de plate-forme que s'élance le couronnement. Plus tard, les architectes pensèrent à mieux relier encore les tours aux flèches, ainsi qu'on peut le reconnaître en examinant le clocher de la cathédrale de Senlis (voy. CLOCHER, fig. 63 et 64) et le sommet des tours de la cathédrale de Paris, dont les contre-forts se terminent par des pinacles et des fleurons préparant déjà les retraites que devaient faire les flèches sur ces tours 497, comme on peut aussi le constater à la cathédrale de Laon, dont les tours, à leur partie supérieure, sont accompagnées de grands pinacles à jour qui flanquent un grand étage octogonal formant une base très-bien ajustée, propre à recevoir les flèches.
La flèche du clocher vieux de Chartres n'est décorée que par des écailles qui figurent des bardeaux, ce qui convient à une couverture, par des côtes sur les milieux des huit pans et par des arêtiers.
Lorsque l'architecture s'allégit, pendant la première moitié du XIIIe siècle, on trouva que ces pyramides, pleines en apparence, semblaient lourdes au-dessus des parties ajourées inférieures; on donna donc plus d'élégance et de légèreté aux lucarnes, et on perça, dans les pans, de longues meurtrières qui firent comprendre que ces pyramides sont creuses. Nous voyons ce parti adopté par les constructeurs de la flèche de Senlis. L'architecte du clocher vieux de Chartres avait déjà cherché à détruire en partie la sécheresse des grandes lignes droites de sa flèche par des points saillants, des têtes, interrompant de distance en distance les côtes dessinées sur les huit faces, et par des figures chimériques posées aux naissances des arêtes, dans les tympans et sur les amortissements des pinacles et des gâbles. Ces détails, d'un grand relief, portant des ombres vives, occupaient les yeux et donnaient de l'échelle à la masse. On alla plus loin: au commencement du XIIIe siècle déjà, on garnit les arêtiers de crochets saillants qui, se découpant sur le ciel, donnaient de la vie et plus de légèreté aux lignes rigides des pyramides (voy. CLOCHER, fig. 63). Nous voyons même que, le long des contre-forts des tours de la cathédrale de Paris, on avait sculpté dans chaque assise un crochet saillant préparant une silhouette dentelée sous les flèches, comme pour mieux relier leurs arêtiers aux angles de ces tours. La flèche de l'église abbatiale de Saint-Denis, bâtie vers 1215, conservait encore ses arêtiers sans ornements; mais là, on l'élevait sur une tour du XIIe siècle, dont les formes sévères, verticales, ne se prêtaient pas à ces découpures. À ce point de vue, la flèche de Saint-Denis était un chef-d'oeuvre. L'architecte qui l'éleva avait su, tout en adoptant une composition du XIIIe siècle, marier, avec beaucoup d'art, les formes admises de son temps avec la structure encore romane d'aspect sur laquelle il venait se planter. Cette flèche donnait une silhouette des plus heureuses; aussi faisait-elle, à juste titre, l'admiration des Parisiens et des étrangers. Sa destruction, nécessaire pour éviter un désastre, fut considérée comme un malheur public. Il faut bien reconnaître que les flèches de nos églises du moyen âge excitent dans la foule une admiration très-vive et très-sincère. La hardiesse de ces longues pyramides qui semblent se perdre dans le ciel, leur silhouette heureuse, font toujours une vive impression sur la multitude, sensible chez nous à tout ce qui indique un effort de l'intelligence, une idée exprimée avec énergie. Ce sont les provinces françaises qui les premières conçurent et exécutèrent ces édifices faits pour signaler au loin les communes et leur puissance. L'exemple qu'elles donnèrent ainsi, dès le XIIe siècle, fut suivi en Allemagne, en Angleterre, pendant les XIIIe, XIVe et XVe siècles; mais, quelle que soit la hardiesse et la légèreté des flèches de Fribourg en Brisgau, de Salisbury en Angleterre, de Vienne en Autriche, il y a loin de ces inspirations aux monuments de ce genre qui subsistent encore chez nous, remarquables toujours par la sobriété d'ornements, par l'étude fine des silhouettes et par une entente parfaite de la construction.
Nos lecteurs trouveront opportun probablement de leur donner ici cette flèche célèbre de l'église de Saint-Denis, que nous avons pu étudier avec grand soin dans tous ses détails, puisque la triste tâche de la démolir nous fut imposée. La flèche de Saint-Denis est un sujet d'étude d'autant plus intéressant, que l'architecte a montré, dans cette oeuvre, une connaissance approfondie des effets de la perspective, des lumières et des ombres; que, s'appuyant sur une tour grêle, mal empattée et construite en matériaux faibles, il a su élever une flèche de 38m,50 c. d'une extrême légèreté, afin de ne point écraser sa base insuffisante 498; que, reconnaissant la faiblesse des parements extérieurs de la tour de Suger et leur peu de liaison avec la maçonnerie intérieure, il avait habilement reporté toutes les pesanteurs en dedans.

Voici (5) le quart du plan de la partie inférieure de la flèche de Saint-Denis. En A sont les parements intérieurs de la tour du XIIe siècle. Les côtés B de l'octogone sont portés sur quatre trompillons. Sur cette base, l'architecte a élevé une colonnade intérieure composée de monolithes destinés à reporter, par suite de leur incompressibilité, toute la charge vers l'intérieur. Quatre lucarnes C s'ouvrent dans quatre des faces de l'octogone; les quatre angles D sont occupés par des pinacles. Cette colonnade formait une galerie E intérieure, à laquelle on arrivait par un escalier ménagé dans l'un des quatre angles et remplaçant l'un des pinacles; elle permettait de surveiller et d'entretenir les constructions de la flèche. On observera que l'assise dernière de la tour, qui porte les pinacles, ne suit pas exactement le carré donné par la construction antérieure, mais s'avance en forme de bec saillant, pour donner aux angles plus d'aiguité, un aspect plus résistant; que les colonnes portant les pinacles font sentir davantage encore cette aiguité et se rapprochent, par la manière dont elles sont plantées, d'un triangle équilatéral; qu'ainsi l'architecte a voulu évidemment accuser vivement les angles, craignant avec raison l'aspect froid et sec du plan carré.

Examinons l'élévation de cette flèche (6). Si la lumière du soleil éclaire obliquement l'une de ces faces (ce qui est, bien entendu, le cas le plus fréquent), si cette lumière frappe cette face de droite à gauche, l'angle A de la corniche inférieure, biaisée, comme l'indique le plan, se colorera d'une légère demi-teinte, tandis que l'angle B sera en pleine lumière, à plus forte raison les faces CD des pinacles; l'opposition de la demi-teinte répandue sur la face C, biaise, du pinacle de droite fera ressortir la lumière accrochée par la face oblique de la pyramide et par sa face parallèle au spectateur, comme l'ombre répandue sur la face oblique de cette pyramide fera d'autant mieux ressortir la vive lumière que prendra la face D, biaise, du pinacle de gauche. Ainsi a-t-on évité qu'une partie de l'édifice fût entièrement dans l'ombre, tandis que l'autre serait dans la lumière, disposition qui produit un mauvais effet et fait paraître de travers toute pyramide ou cône se détachant sur le ciel.

Jetons les yeux sur la coupe de la flèche de Saint-Denis (7) faite sur l'un des axes passant par le milieu des lucarnes. Les gâbles allongés A de ces lucarnes sont verticaux, mais ne paraissent tels qu'en géométral; en perspective, ils semblent nécessairement plus ou moins inclinés, à moins que le spectateur ne se trouve précisément dans le plan de ces gâbles. On voit comment la colonnade n'est qu'un étaiement rigide reportant la charge de la flèche sur le parement intérieur de la tour. Le tracé perspectif C indique un des pinacles d'angle démoli et son amorce le long des faces de la flèche. Par suite de l'inclinaison de ces faces, les colonnettes engagées dans la construction et prises dans ses assises, jusqu'au niveau D, s'en détachent à partir de ce niveau et sont monostyles. Les sommiers E, les deux assises de corniches GH sont engagés dans les assises de la flèche; l'on observera que la seconde assise H n'est pas parallèle à la première G, mais qu'elle tend à ouvrir un peu l'angle de la pyramide pour accrocher plus de lumière. Cette seconde assise H, se retournant le long de la face de la flèche sur un renfort I, forme une saillie H' portant la face postérieure de la pyramide triangulaire du pinacle et un chéneau rejetant ses eaux par deux gargouilles. En K, nous avons tracé le plan de cette pyramide, dont le sommet est placé de telle sorte que les trois faces ont une inclinaison pareille. Le jeu de ces lignes plus ou moins inclinées était des plus heureux, coupait adroitement les arêtes rigides de la flèche sans empêcher l'oeil de les suivre, avait quelque chose de hardi et de fin tout à la fois qui charmait.
Les architectes du XIIe siècle avaient donné aux flèches en pierre une importance considérable, relativement aux tours qui leur servaient de base. La flèche du clocher vieux de la cathédrale de Chartres a 60 mètres de hauteur, tandis que la tour n'a que 42 mètres. La flèche de l'église de Saint-Denis portait 38m,50 d'élévation, la tour 35 mètres. Les proportions données par la façade de la cathédrale de Paris doivent faire admettre que les flèches doublaient la hauteur des tours. Peu à peu, les architectes donnent aux flèches une moins grande importance (voy. l'article CLOCHER, fig. 63 et 75). Celles de la façade de la cathédrale de Reims n'auraient eu guère que la moitié de la hauteur des tours, comme celles de l'église de Saint-Nicaise de la même ville. La flèche de la cathédrale de Strasbourg est courte, grêle, comparativement à la dimension de la tour; elle ne fut achevée que vers le milieu du XVe siècle.
Comme structure, cette flèche est la plus étrange conception qu'on puisse imaginer. L'effet qu'elle produit est loin cependant de répondre aux efforts d'intelligence qu'il a fallu faire pour la tracer et pour l'élever. Il y a tout lieu de croire, d'ailleurs, qu'elle ne fut pas entièrement exécutée comme elle avait été conçue, et il manque certainement à sa silhouette des appendices très-importants qui jamais n'ont été terminés. Dans le musée de l'OEuvre de Notre-Dame de Strasbourg, il existe un curieux dessin sur vélin, de la fin du XIVe siècle, qui nous donne les projections horizontales du projet de la flèche. Ce dessin, très-habilement tracé, signale des différences de détail entre ce projet et l'exécution; toutefois on peut considérer la flèche de Strasbourg comme une conception du XIVe siècle.
L'architecte a prétendu rendre accessible à tous le sommet de cette flèche, non par des échelles ou un petit escalier intérieur, mais au moyen de huit escaliers faciles qui se combinent avec les huit arêtes de la pyramide, et qui conduisent à un dernier escalier central montant jusqu'à une petite plate-forme supérieure, sommet d'une lanterne couronnée par la pointe extrême. Ces huit escaliers, les pans de la flèche et l'escalier central ne sont qu'une construction ajourée, sorte d'échafaudage de pierre combiné avec une science de tracé fort extraordinaire, mais assez médiocrement exécuté, pauvre de style et terminé tant bien que mal avec hâte et parcimonie.

Nous donnons (8) un huitième du dessin de la flèche de Strasbourg d'après le tracé du XIVe siècle. Au moyen de quatre escaliers à jour circonvolutant dans quatre immenses pinacles posés sur quatre des angles de la tour, on devait, d'après ce dessin, arriver à la galerie A située à la base de la flèche. De là, passant à travers la claire-voie, on entrait dans les escaliers en B, formant les huit arêtiers; montant deux marches, on devait trouver un palier, puis la première marche des girons en C. La pente des arêtiers étant naturellement très-inclinée, il fallait, pour arriver aux premiers paliers D de la lanterne, trouver un nombre très-considérable de marches. L'architecte avait donc eu l'idée ingénieuse de poser six hexagones se pénétrant, présentant ainsi une succession de tourelles entièrement à jour, dans lesquelles les emmarchements gironnant autour des noyaux, tantôt dans un sens, tantôt dans l'autre, permettaient de s'élever rapidement à une grande hauteur, dans un très court espace. Arrivé aux paliers D (toujours d'après le tracé du projet primitif), on prenait la grande vis, double probablement, E, qui devait s'élever jusqu'à une seconde plate-forme, d'où, par un escalier d'un plus faible diamètre, on montait à la lanterne supérieure. L'espace G restait à jour et permettait, par les lunettes percées dans les voûtes de la tour, de voir le pavé de l'église. C'était là une conception prodigieuse de hardiesse. À l'exécution, on modifia quelque peu ce projet (voy. le tracé X). Les six tourelles hexagones ont été montées; mais, arrivé à la dernière en H de chaque arêtier, on passe à travers une demi-tourelle I pour s'élever jusqu'en K, et ainsi à chaque travée. Une personne qui monte par les tourelles d'arêtiers L arrive ainsi à la plate-forme de la lanterne en K. Là, on trouve une vis centrale comme dans le projet, si ce n'est que l'enveloppe de cette vis centrale est octogone à l'extérieur, au lieu d'être carrée. Quant aux pans M de la pyramide, ils ne sont point montés par assises horizontales, comme dans les flèches que nous avons présentées au commencement de cet article, mais sont composés de grands châssis à jour compris entre des arêtiers, ainsi que l'indique le tracé P, et séparés par des linteaux Q qui servent d'étrésillonnements entre ces arêtiers très-chargés, puisqu'ils portent les montants des tourelles d'escaliers. Suivant le projet, les angles R de la lanterne carrée étaient portés, chacun, sur les deux arêtiers O, comme par deux contre-fiches de pierre. Les quatre grands pinacles recevant les quatre escaliers arrivant à la plate-forme A, et les tourelles hexagones des escaliers d'arêtiers de la flèche, avaient été combinés pour être terminés par des pyramidions ajourés, ce qui eut produit une silhouette surprenante et d'un grand effet. Les ressources auront probablement fait défaut, et tous ces couronnements se terminent carrément, ce qui de loin produit une suite de gradins gigantesques d'un effet déplorable.
Il est entendu, nous ne prétendons pas le nier, que la flèche de la cathédrale de Strasbourg est un chef-d'oeuvre; mais cette admiration assez générale est surtout motivée sur la hauteur excessive de l'édifice. Pour nous, architectes, dont l'admiration ne croît pas avec le niveau des monuments, nous devons considérer la flèche de Strasbourg comme une des plus ingénieuses conceptions de l'art gothique à son déclin, mais comme une conception pauvrement exécutée. Ce n'était pas certes là ce qu'avait imaginé l'auteur du plan sur vélin dont nous venons de donner un fragment; il avait voulu, sans aucun doute, obtenir une silhouette rampante et finement découpée par le moyen d'une suite de pyramidions pénétrés par ces hexagones si adroitement enchevêtrés, et non point une série de gradins qui arrêtent l'oeil de la façon la plus désagréable. Plantant une lanterne carrée sur la pyramide octogone de la flèche, il prétendait réveiller le couronnement par une forme contrastant avec les angles obtus de la base. Il devait certainement couronner cette lanterne par une dernière pyramide octogone très-aiguë, et non par ce lanternon renflé qui termine la flèche actuelle. Mais si, vers le milieu du XVe siècle, les architectes gothiques étaient devenus d'excellents géomètres, des appareilleurs subtils, ils avaient perdu ce sentiment exquis de la forme qui se trouve chez leurs devanciers. Leurs combinaisons ingénieuses, leur prétention à la légèreté excessive, les conduisent à la lourdeur par la multiplicité des détails et la complication des formes dont on ne peut plus démêler le sens. C'est surtout dans les silhouettes qu'apparaissent ces défauts; les formes simples, compréhensibles, étant les seules qui produisent de l'effet quand on en vient à découper un édifice sur le ciel. Toutefois, l'examen des plans de l'OEuvre de Strasbourg laisse deviner quelque chose de bien supérieur à ce que nous voyons, et, pour l'honneur des successeurs d'Erwin de Steinbach, il faut croire que l'argent leur a manqué comme à tous les architectes qui ont eu la charge de terminer ou de continuer les cathédrales pendant les XIVe et XVe siècles.
D'après le projet, les six hexagones formant l'escalier serpentant, construits au moyen de montants de pierre reliés par des claires-voies et des linteaux, devaient se terminer en pyramidions ajourés pénétrés chacun par deux côtés de l'hexagone supérieur; si bien que quatre faces de ces pyramidions sur six devaient seulement être apparentes en épaulant les noyaux successifs recevant les angles saillants de chacun de ces hexagones.

Un tracé perspectif (9) rendra compte de cette disposition originale. Ainsi les sommets superposés des tourelles hexagonales terminées carrément aujourd'hui, comme une suite de gradins, donnaient, au moyen de ces pyramidions, une ligne rampante découpée par des pinacles et des statues. De plus, la construction à jour des tourelles, toute composée de montants verticaux et qui ne tient guère qu'à l'aide du fer, pouvait être parfaitement épaulée par ces pyramidions qui font l'office de contre-fiches. C'était la construction logique, conforme aux données de l'architecture de cette époque, qui n'admettait point, particulièrement au sommet des édifices, des repos horizontaux.
D'après l'examen du plan (fig. 8), il ne semble pas que l'architecte auteur du projet ait voulu établir seulement, entre les arêtiers, des claires-voies composées de dalles ajourées pour former les faces de la pyramide; il lui fallait une construction plus résistante pour porter la grande lanterne supérieure, construction indiquée par les solides pieds-droits S. On ne peut pas admettre cependant que ces pieds-droits fussent inclinés comme les pans de la pyramide, ce qui eut produit un très-mauvais effet. Nous verrions bien plutôt, dans ces pieds-droits, des naissances d'arcs assez peu élevés, mais dans un plan vertical et recevant des gâbles à jour qui surmontaient, par l'effet de la perspective, les couronnes ajourées T. D'ailleurs, dans la flèche actuelle, l'architecte a établi, au niveau de la troisième travée en N, des passages horizontaux mettant en communication les huit escaliers; ces passages, portés sur des linteaux, forment une seconde couronne qui coupe la flèche d'une manière fâcheuse. Nous admettons que ces passages étaient prévus par l'auteur du projet, mais que leur horizontalité était interrompue par la silhouette des gâbles passant devant eux; disposition qu'explique notre fig. 9. Le pied de la pyramide fortement maintenu au moyen des pieds-droits S, celle-ci pouvait être construite, au-dessus des arcs V, au moyen de châssis de pierre entre les arêtiers, conformément à l'exécution définitive. On pensera peut-être que nous prêtons à l'architecte, auteur du projet de la flèche de Strasbourg, des idées qu'il n'a pas eues, mais on ne prête qu'aux riches. L'art de l'architecture, surtout aux époques où il devait employer des sommes énormes pour mettre ses idées à exécution, peut être difficilement jugé par ce que le temps nous a laissé. Le plus souvent, les conceptions les plus heureuses, les plus étudiées, sont rendues d'une manière incomplète, faute de ressources, ou ont été mutilées par le temps et des restaurations malheureuses. C'est le malheur de cet art, de ne pouvoir transmettre ses conceptions dans leur pureté. Ayant présenté la flèche actuelle de la cathédrale de Strasbourg comme une oeuvre manquée, d'une exécution médiocre, on ne nous saura pas mauvais gré d'avoir en même temps cherché à faire ressortir les qualités de la conception primitive, d'avoir relevé le mérite de l'artiste, puisque nous nous montrions sévère pour une oeuvre évidemment incomplète. Bien d'autres constructions fâcheuses ont détruit l'unité de conception de la façade occidentale de Notre-Dame de Strasbourg; le beffroi central, entre les deux tours, est une adjonction monstrueuse qui change absolument les proportions de cette façade, adjonction inutile et qui doit fort tourmenter les Steinbach dans leur tombe, si toutefois les architectes, dans l'autre monde, ont connaissance des changements qu'on fait subir à leurs oeuvres, ce qui serait pour tous, sans exception, un supplice continuel.
Si les architectes du XVe siècle avaient possédé les ressources dont disposaient ceux du commencement du XIIIe siècle pour la construction des grandes cathédrales, ils nous auraient laissé des flèches de pierre merveilleuses par leur combinaison, car l'architecture de ce temps se prêtait plus qu'aucune autre à ces jeux d'appareil. Il est douteux, toutefois, que ces monuments pussent produire plus d'effet que nos flèches de pierre des XIIe et XIIIe siècles, sobres dans les détails, mais d'une si parfaite élégance comme silhouette et, au demeurant, beaucoup plus solides et durables. Le domaine royal est la véritable patrie des flèches; c'est là où il faut étudier les principes qui ont dirigé nos architectes de l'école laïque à son origine. La Normandie a élevé, pendant le XIIIe siècle, un grand nombre de flèches qui existent encore, grâce à la bonté des matériaux de cette province; mais ces conceptions sont loin de valoir celles de l'Île-de-France. Les flèches des églises de l'abbaye aux hommes de Caen, des cathédrales de Coutances et de Bayeux, ne nous présentent pas une entente parfaite des détails avec l'ensemble: leurs pinacles sont mesquins, confus, couverts de membres trop petits pour la place qu'ils occupent; les silhouettes sont molles, indécises, et n'ont jamais cette mâle énergie qui nous charme dans les contours des flèches de Chartres, de Saint-Denis, de Senlis, de Vernouillet et d'Étampes.
FLÈCHES DE CHARPENTERIE.--Il nous serait difficile de dire à quelle époque remontent les premières flèches construites en bois. Il en existait au XIIe siècle, puisqu'il est fait mention alors d'incendies de clochers de charpente; mais nous n'avons sur leur forme que des données très-vagues. Ces flèches consistaient alors probablement en de grandes pyramides posées sur des tours carrées, couvertes d'ardoises ou de plomb et percées de lucarnes plus ou moins monumentales. Il faut, d'ailleurs, bien définir ce qu'on doit entendre par flèche en charpente. Dans le nord de la France, beaucoup de tours en maçonnerie étaient et sont encore couvertes par des pavillons en bois qui ne sont, à proprement parler, que des combles très-aigus. La flèche de charpenterie est une oeuvre à part, complète, qui possède son soubassement, ses étages et son toit; elle peut, il est vrai, être posée sur une tour en maçonnerie, comme étaient les flèches de la Cathédrale d'Amiens avant le XVIe siècle, celle de Beauvais avant la chute du transsept, celle de Notre-Dame de Rouen avant l'incendie, comme est encore celle de la cathédrale d'Évreux; mais cependant elle se distingue toujours par une ordonnance particulière, à elle appartenant: c'est un édifice de bois, entier, posé sur un édifice de pierre qui lui sert d'assiette, comme les coupoles modernes de Saint-Pierre de Rome, du Val-de-Grâce, des Invalides, sont des monuments distincts, indépendants de la masse des constructions qui les portent. Ces oeuvres de charpenterie sont les seules qui méritent le nom de flèches. On peut croire que, par suite des incendies, du défaut d'entretien et du temps, les flèches du moyen âge, d'une époque ancienne, doivent être peu communes; on en éleva un si grand nombre cependant, à partir de la fin du XIIe siècle, que nous en possédons encore quelques-unes, et qu'il nous reste sur beaucoup des renseignements précieux.
Tout porte à croire que les plans des grandes églises, et des cathédrales du commencement du XIIIe siècle notamment, avaient été conçus avec l'idée d'élever une tour carrée sur les quatre piliers de la croisée. Plusieurs de nos grandes cathédrales ont possédé ou possèdent encore ces tours carrées. Amiens, Reims, Beauvais ont eu leur tour de maçonnerie sur le milieu du transsept; Rouen, Laon, Bayeux, Évreux, Coutances, les ont conservées en tout ou partie. Mais soit que l'argent manquât, soit que les architectes aient reculé devant le danger de trop charger les piles isolées des transsepts, presque partout ces tours ne furent point achevées ou furent couronnées par des flèches en charpente recouvertes de plomb, qui, malgré leur poids considérable, étaient loin de charger autant les parties inférieures que l'eût fait une construction de pierre. Quelques cathédrales cependant ne paraissent pas avoir jamais dû recevoir sur la croisée des tours en maçonnerie. Paris, Chartres, Soissons n'en présentent aucune trace, non plus que Senlis, Meaux et Bourges, par la raison que ces derniers monuments avaient été conçus sans transsept. À défaut de tours de maçonnerie sur la croisée des églises, on eut l'idée d'élever de grands clochers de charpente se combinant avec les combles. Notre-Dame de Paris possédait une flèche en bois recouverte de plomb, qui datait du commencement du XIIIe siècle. Cette flèche, démolie il y a cinquante ans environ, était certainement la plus ancienne de toutes celles qui existaient encore à cette époque; sa souche était restée entière, à l'intersection des combles, jusqu'à ces derniers temps. Or, des flèches de charpente, la partie la plus importante, celle qui demande le plus d'études et de soins, au point de vue de la construction, est la souche. Aussi avons-nous relevé exactement ces débris de l'ancien clocher central de Notre-Dame de Paris, avant de les enlever pour y substituer la charpente nouvelle, qui, du reste, est établie d'après le système primitif.

Voici en quoi consiste ce système (10): AB, AB étant les quatre piliers du transsept et CD les faîtages des deux combles se coupant à angle droit; la flèche, au-dessus des combles, est établie sur plan octogone, ses angles étant posés sur les faîtages des deux combles et dans les quatre noues. La base octogonale est portée par deux fermes diagonales AA, BB, se rencontrant en un seul poinçon G qui est l'arbre vertical de la flèche; de plus, les quatre angles I sont maintenus dans les plans verticaux AA, BB, au moyen de grandes contre-fiches IA, IB. Ces contre-fiches, se rencontrant en K, forment ainsi les arbalétriers de quatre fermes inclinées KAB, dont les sommets K soutiennent les quatre angles L de l'octogone. Par ce moyen, les huit angles de la flèche sont portés directement sur des fermes, et le roulement de tout le système est arrêté par les contre-fiches croisées IA, IB.
Il faut savoir que ces charpentes fort élevées périssent toujours par suite d'un mouvement de torsion qui se produit de proche en proche de la base au faîte. En effet, les bois ne peuvent rentrer en eux-mêmes, ils ne se raccourcissent pas; l'effort des vents, le poids finissent par fatiguer un point plus faible que les autres; tout l'effort se produit dès lors sur ce point, et il se fait un mouvement de rotation qui brise les assemblages, courbe les bois et entraîne la ruine de la charpente. Le système adopté pour la souche de la flèche de Notre-Dame de Paris a pour résultat de faire que, non-seulement la torsion de la base est rendue impossible par le croisement des contre-fiches, mais encore que chaque angle de l'octogone reporte sa charge sur deux et même trois piles. Les angles L portent sur les deux piles AB, et les points I sur trois piles ABB ou BAA. Ce système a donc encore cet avantage que, quand la pression du vent agit sur un côté, il y a toujours au moins deux piles du transsept qui reçoivent la charge supplémentaire occasionnée par cette pression.
Examinons, maintenant que ce système est connu, l'application qu'on en avait fait à Notre-Dame de Paris. Les piles du transsept de la cathédrale ne forment point un carré, mais un quadrilatère assez irrégulier, ce qui ajoutait à la difficulté d'établir une charpente reposant sur quatre points seulement et supportant une pyramide à base octogone.

La fig. 11 donne la projection horizontale de la souche de cette flèche, en supposant la section faite au-dessus du faîtage des combles; les pièces AB sont les grandes contre-fiches qui portent à la fois les poteaux C au point de leur croisement et les poteaux D qu'ils viennent en même temps contre-butter. Ces contre-fiches AB sont maintenues rigides par de fortes moises horizontales EG, serrées au moyen de clefs de bois; de sorte que les triangles CEG sont des fermes inclinées auxquelles les poteaux CH servent de poinçons. Deux grandes fermes diagonales IK portent directement quatre des angles de l'octogone.

Nous donnons (12) l'une de ces deux grandes fermes diagonales, qui se composent d'un entrait armé portant sur le bahut en maçonnerie et soulagé par de fortes potences dont le pied A s'appuie sur les têtes des piles en contre-bas de ce bahut; de deux arbalétriers CD et de sous-arbalétriers courbes EF s'assemblant dans le poinçon central, l'arbre de la flèche. Les grandes contre-fiches AG sont des moises. Les poteaux principaux formant l'octogone de la flèche sont triples de H en I, c'est-à-dire composés d'une âme et de deux moises. Les poteaux de contre-forts KL sont simples et assemblés à mi-bois dans les arbalétriers CD. On remarquera que ces poteaux sont fortement inclinés vers l'arbre principal. Les poteaux contre-forts KL étaient primitivement buttés par de grandes contre-fiches ML, lesquelles se trouvaient au-dessus des noues et présentaient une côte saillante décorée jadis au moyen des moises pendantes OP recouvertes de plomb et accompagnées de pièces de bois découpées dont les débris R ont été retrouvés. Le poteau S, qui se combinait avec cette décoration et qui était resté en place, formait la tête de ce système d'étaiement, visible au-dessus des quatre noues. Un chapiteau V sculpté dans le poinçon central donnait la date exacte de cette flèche (commencement du XIIIe siècle) 499. À une époque assez ancienne, ces étais visibles et décorés placés dans les noues, si nécessaires à la solidité de la flèche, avaient été enlevés (probablement parce qu'ils avaient été altérés par le temps, faute d'un bon entretien); ce qui a dû contribuer à fatiguer les arbalétriers qui, alors, avaient à porter toute la charge des poteaux KL.

La fig. 13 donne l'enrayure au niveau T, et la fig. 14 l'enrayure au niveau X.

La fig. 15 permet de saisir la disposition des grandes contre-fiches AB du plan fig. 11. On voit comment ces contre-fiches soutiennent, à leur croisement G, les poteaux CH, comment elles s'assemblent à la tête dans les poteaux DK en D, comment les moises horizontales EF serrent et ces contre-fiches et l'extrémité inférieure des poteaux CH, comment le triangle GEF présente un système de ferme inclinée résistant à la charge des poteaux CH. Si nous reprenons la fig. 11, nous remarquerons que non-seulement les poteaux qui forment les huit angles de la flèche sont inclinés vers l'arbre central de manière à former une pyramide et non un prisme, mais que ces poteaux donnent un double système de supports. Nous ne parlons pas des moises qui triplent quelques-uns de ces poteaux, parce que ces moises ne sont que des fourrures propres à donner plus de roide aux points d'appui, dans le sens de leur plat, et surtout destinées à recevoir les assemblages latéraux, afin de ne point affamer les poteaux principaux par des mortaises. Ce système de poteaux jumeaux séparés par un intervalle est un moyen très-puissant de résister à la pression des vents. On comprend que ces poteaux, bien reliés entre eux par des moises horizontales de distance en distance, offrent des points d'appui extrêmement rigides.

En effet, soient (16) deux poteaux AB, CD enserrés entre des moises EFG: pour que le poteau CD se courbât suivant la ligne CID, il faudrait que le poteau AB se raccourcit, rentrât en lui-même, ce qui n'est pas possible; pour qu'il se courbât suivant la ligne CKD, il faudrait que le poteau AB s'allongeât, ce qui est de même impossible. Le quadrilatère ACBD, relié par les moises EFG, n'est donc pas susceptible de déformation. Aussi, fidèles à ce principe élémentaire, les architectes gothiques n'ont-ils jamais manqué de l'appliquer dans la construction de leurs flèches de charpente, et, comme toujours, ils en ont fait un motif de décoration.
La souche de la flèche de Notre-Dame de Paris, bien qu'elle fût combinée d'une manière ingénieuse, que le système de la charpente fût très-bon, présentait cependant des points faibles; ainsi, les grandes fermes diagonales (fig. 12) n'étaient pas suffisamment armées au pied, les contre-fiches-moises AG ne buttaient pas parfaitement les poteaux extérieurs de la pyramide, les arbalétriers étaient faibles, les entraits retroussés sans puissance. Les fermes de faîtage (celles qui venaient s'appuyer sur les grandes contre-fiches, disposées en croix de Saint-André, fig. 15) ne trouvaient pas, à la rencontre de ces deux grandes contre-fiches, un point d'appui inébranlable; d'ailleurs ces contre-fiches, à cause de leur grande longueur, pouvaient se courber, ce qui avait eu lieu du côté opposé aux vents. Par suite, la flèche tout entière avait dû s'incliner et fatiguer ses assemblages. Généralement, les pièces inférieures n'étaient pas d'un assez fort équarrissage; puis, pour des charpentes qui sont soumises aux oscillations causées par les ouragans, les clefs de bois sont évidemment insuffisantes, surtout quand, à la longue, ces bois venant à se dessécher ne remplissent plus les entailles dans lesquelles ils sont engagés. Aussi, tout en respectant le principe d'après lequel cette charpente avait été taillée, a-t-on dû, lors de la reconstruction de la flèche de Notre-Dame de Paris, améliorer l'ensemble du système et y introduire les perfectionnements fournis par l'industrie moderne. On se fait difficilement une idée, avant d'en avoir fait l'épreuve, de la puissance des vents sur ces charpentes qui, posées à une assez grande hauteur, sur quatre pieds seulement, s'élèvent elles-mêmes dans les airs au-dessus des autres édifices d'une cité 500. La pression des courants d'air est telle qu'à certains moments tout le poids de la charpente se reporte sur le côté opposé à la direction du vent; il faut donc qu'entre toutes les parties du système il y ait une solidarité complète, afin que cette pression ne puisse, en aucun cas, faire agir tout le poids sur un seul point d'appui. On doit penser que ces charpentes sont comme un bras de levier, qui, s'il n'est pas bien maintenu par un empattement inébranlable, ne manquerait pas d'écraser ou de disloquer l'une des quatres piles qui lui servent d'appui, d'autant que, dans notre climat, les grands vents viennent toujours du même point de l'horizon, du nord-ouest au sud-ouest. Cette pression, répétée sur un seul côté de ces charpentes, doit être un sujet de méditation pour le constructeur. Partant du système admis par l'architecte du XIIIe siècle, on a donc cherché: 1º à former, à la base de la souche de la nouvelle flèche, un quatre-pieds absolument rigide et pouvant résister à toute oscillation; 2º à relier ce quatre-pieds avec la souche elle-même, d'une manière si puissante, que toute pression agissant dans un sens fût reportée au moins sur deux points d'appui et même sur trois; 3º à soutenir également les huit arêtes de la pyramide, tandis que, dans le système ancien, quatre de ces arêtes étaient mieux portées que les quatre autres; 4º à doubler du haut en bas tout le système formant l'octogone de la flèche, afin d'avoir non-seulement les arêtes rigides, mais même les faces; 5º à éviter les assemblages à tenons et mortaises qui se fatiguent par l'effet des oscillations, et à les remplacer par le système de moises qui n'affame pas les bois, les relie et leur donné une résistance considérable; 6º à n'employer le fer que comme boulons, pour laisser aux charpentes leur élasticité; 7º à diminuer le poids à mesure que l'on s'élevait, en employant des bois de plus en plus faibles d'équarrissage, mais en augmentant cependant, par la combinaison de la charpente, la force de résistance 501.
Nous l'avons dit tout à l'heure: les quatre piles du transsept sur lesquelles repose la flèche de Notre-Dame de Paris ne sont pas plantées aux angles d'un carré, mais d'un quadrilatère à quatre côtés inégaux, ce qui ajoutait à la difficulté. Pour ne pas compliquer les figures, nous ne tenons pas compte ici des faibles irrégularités, et nous supposons un parallélogramme dont le grand côté a 14m,75 et le petit 12m,75. Quatre des angles de l'octogone de la flèche devant nécessairement poser sur les deux diagonales du quadrilatère, cet octogone est irrégulier, possédant quatre côtés plus grands que les quatre autres.

La fig. 17 donne, en A, le plan de l'enrayure basse, au niveau des grands entraits diagonaux, qui sont chacun composés de trois pièces de bois superposées ayant 0,25 c. de roide sous le poinçon. Ce tracé fait voir en projection horizontale le quatre-pieds sur lequel s'appuie le système à sa base. Ce quatre-pieds se compose d'une combinaison de potences sous les entraits et de fermes inclinées BC, passant dans les plans d'une pyramide tronquée dont la base est le quadrilatère donné par les piles, et la section supérieure par le plan de l'enrayure au niveau des entraits. Chacun des angles du corps de la flèche se compose de trois poteaux qui ne s'élèvent pas verticalement mais forment une pyramide très-allongée, à base octogone; c'est-à-dire qu'en s'élevant, ces poteaux se rapprochent du poinçon.

Examinons maintenant une des grandes fermes diagonales DE (18). On voit, en A, les trois entraits superposés, roidis et maintenus d'abord par les deux liens B assemblés à mi-bois et formant potence; puis par les deux fortes contre-fiches moisées CD qui reçoivent les liens inclinés indiqués en BC dans la figure précédente. La tête de ces deux contre-fiches-moises vient pincer, en E, le pied des trois poteaux des angles de la flèche. Le poinçon central est en F. Les grandes contre-fiches GH tracent la noue donnée par la rencontre des combles; par conséquent, tout ce qui est au-dessus de ces contre-fiches est vu. Les contre-fiches IK sont des moises, forment arête dans la noue, en rejetant, au moyen d'un chevronnage, les eaux à droite et à gauche, et laissent voir les gradins ajourés décorés d'arcatures et surmontés, sur les quatre poteaux, de statues. D'autres contre-fiches-moises MN réunissent tout le système et s'assemblent dans le poinçon central en O. En outre, cette demi-ferme est maintenue par des moises horizontales qui serrent ensemble ses diverses pièces, empêchent toute dislocation et font de cette charpente un plan roide, immobile, ne pouvant se déformer. Le tracé AA de la fig. 17 nous donne le plan de l'enrayure au niveau P de la fig. 18; le tracé AAA celui de l'enrayure au niveau R, et le tracé A' celui de l'enrayure à la base de la pyramide qui termine la flèche au-dessus du second étage à jour. Dans le tracé AA de la fig. 17, on voit comme s'arrangent les chevronnages divisant la noue en deux et laissant passer les quatre poteaux portant les statues.
Ce système de poteaux verticaux traversant les demi-fermes diagonales et faisant décoration au-dessus des noues (système qui avait été adopté par les constructeurs du XIIIe siècle) présente plusieurs avantages: il fait de ces demi-fermes de véritables pans-de-bois parfaitement rigides; il constitue une suite de poinçons qui roidissent les contre-fiches, les maintiennent dans leur plan vertical sans charger en aucune façon l'entrait. Il présente aussi une décoration ingénieuse en ce qu'elle explique, à l'extérieur, comment la flèche vient s'appuyer sur les quatres piliers de la croisée, aussi parce qu'elle établit une transition entre la maçonnerie de l'église et le corps de la flèche, parce qu'elle lui sert de base, d'arc-boutant, pour ainsi dire. On voit, en V (fig. 18), comment sont décorés ces gradins des grandes contre-fiches au-dessus des noues. Il est facile de comprendre maintenant comment sont soutenus les quatre angles de l'octogone qui portent sur les diagonales; pour les quatre angles tombant sur les faîtages des combles, voici quel a été le système adopté. En BB (fig. 17) sont élevées de fortes fermes, reposant sur les bahuts et les quatre piles du transsept; sur le milieu des entraits de ces fermes reposent les pièces horizontales LM puissamment soulagées en C par les pièces inclinées BC. C'est au-dessus de ce point C que portent les triples poteaux formant les quatre autres angles de l'octogone; le point M ne porte que le pied des contre-fiches qui sont destinées à maintenir les poteaux dans leur plan.

La fig. 19 présente l'une de ces fermes BB, qui sert en même temps de ferme de comble. En A, on voit l'extrémité de la pièce horizontale tracée en LM dans la fig. 17; en A', cette extrémité est vue en coupe sur ab. Il n'est pas besoin d'explication pour faire sentir que cette extrémité A ne peut fléchir. En B', nous avons donné le détail des assemblages B, et en C' celui de la croix de Saint-André C, avec le poinçon.

Maintenant, examinons ce système de souche en perspective (20). En A, on voit les grands entraits triples des fermes diagonales; en B, la disposition des liens formant fermes inclinées, roidissant la base de la souche et venant porter en C quatre des angles de l'octogone; en D, apparaissent les fragments de l'entrait de la ferme donnée dans la figure précédente, avec le pan-de-bois qui maintient les poteaux d'angles reposant en C, E étant le poinçon de cette ferme. Des contre-fiches F viennent soulager les poteaux C et reporter leur charge sur les quatre points résistants principaux A; ces contre-fiches ont encore l'avantage d'arrêter le roulement de tout le système. Au-dessus, des croix de Saint-André G, doubles, reportent encore, la charge des poteaux C sur les points d'appui diagonaux. Les pièces I et F remplissent avec avantage les grandes pièces inclinées de l'ancienne charpente que nous avons décrite plus haut. Ce système est d'ailleurs triplé dans la charpente actuelle, nous le voyons reproduit en KL et en KM; de sorte que si une pression extraordinaire se produit en O, cette pression ne charge pas le point C, mais bien les pieds I, et même, de proche en proche, par la disposition des croix de Saint-André et des contre-fiches F, trois des piles du transsept. On observera que ces croix de Saint-André sont doublées, c'est-à-dire assemblées dans deux des poteaux sur les trois qui forment chaque angle à la base de la flèche. Il n'y a donc pas possibilité de roulement dans cette charpente; aucune de ses parties ne peut recevoir un supplément de charge sans transmettre ce supplément à deux et même trois des quatre points d'appui sur lesquels elle porte. En supposant même qu'une des quatre piles du transsept fût enlevée, la charpente resterait debout et reporterait toutes ses pesanteurs sur les trois piles conservées.

Le système d'après lequel a été établi la souche de la flèche de Notre-Dame de Paris étant bien connu, examinons cette flèche au-dessus du faîtage du comble, c'est-à-dire au-dessus du niveau d'où elle commence à se détacher sur le ciel (21). Une vue perspective présente, du côté droit, la flèche dépourvue de sa décoration, et, du côté gauche, la flèche décorée. En A est une des quatre fermes correspondant aux fermes diagonales; on observera l'inclinaison des poteaux formant les arêtes de cette flèche au-dessous de la pyramide supérieure, qui ne se dégage qu'au niveau B. Cette inclinaison, y compris les retraites successives, n'a pas moins de 0,80 c. dans une hauteur de 15m,00; et cependant, par l'effet de la perspective, à peine si l'on aperçoit une diminution dans le corps de la flèche autre que celle produite par les retraites C. Bien mieux, si les huit angles de l'octogone étaient montés d'aplomb, le corps de la flèche paraîtrait plus large sous la pyramide supérieure qu'à sa base. L'illusion de l'oeil est ici d'accord avec les conditions de stabilité; en effet, ces huit angles, qui tendent à se rapprocher du poinçon à mesure qu'ils s'élèvent, conduisent l'oeil à la forme pyramidale prononcée du couronnement, et forment en même temps une suite d'étais qui maintiennent l'arbre central dans la verticale. Par l'effet singulier du contraste des lignes verticales et inclinées se détachant sur le ciel à une grande hauteur, si les pinacles D qui terminent les poteaux d'angle étaient verticaux, vus à côté des arêtiers de la pyramide supérieure, ils sembleraient s'écarter en dehors. Il faut que, dans un monument aussi élevé et dont la forme générale est aussi grêle, toutes les lignes tendent à s'incliner vers l'axe, si l'on veut que rien dans l'ensemble ne vienne contrarier la silhouette. Nous donnons, en E, le couronnement de la flèche, dont la pomme F est à 45m,00 au-dessus du faîtage du comble.
Nous avons dit que la charpente, en s'élevant, se composait de pièces de plus en plus légères, mais assemblées avec plus de force. En examinant l'enrayure tracée en G, on reconnaîtra combien elle présente de résistance; ce système est adopté pour les quatre enrayures indiquées en G dans le géométral A. Cette enrayure se compose de moises assemblées à mi-bois, ainsi que le fait voir le détail I, se coupant à angle droit, pinçant le poinçon, quatre arêtiers, et roidies par des goussets K de manière à former un carré; immédiatement au-dessous, une seconde enrayure contrariant celle-ci et combinée de la même manière produit, en projection verticale, une étoile à huit pointes, qui donne la section de la pyramide. Non-seulement ce système présente une grande résistance, mais il a l'avantage de donner à la pyramide des ombres toujours accusées qui la redressent à l'oeil et lui donnent une apparence plus svelte. Lorsque les pyramides des flèches aussi aiguës sont élevées sur une section simplement octogonale, si le soleil frappe d'un côté, une partie de la pyramide est entièrement dans le clair et l'autre dans l'ombre; à distance, le côté clair se confond avec le ciel et le côté ombré donne une ligne inclinée qui n'est point balancée, de sorte que la pyramide paraît être hors d'aplomb. Les grands pinacles avec leurs crochets qui fournissent toujours des points ombrés et brillants tout autour de la pyramide, du côté du clair comme du côté opposé à la lumière, contribuent encore à éviter ces illusions de l'oeil qui sont produites par des masses d'ombres opposées sans rappel de lumière à des masses claires sans rappel d'ombre. Nous ne saurions trop le répéter: lorsqu'un édifice ou partie d'un édifice se découpe entièrement sur le ciel, rien n'est indifférent dans la masse comme dans les détails; la moindre inattention dans l'adoption d'un ornement, dans le tracé d'un contour, dérange entièrement l'harmonie de la masse. Il est nécessaire que tout soit clair, facile à comprendre, que les profils et ornements soient à l'échelle, qu'ils ne contrarient jamais la silhouette, et cependant qu'ils soient tous visibles et appréciables.
La flèche de Notre-Dame de Paris est entièrement construite en chêne de Champagne; tous les bois sont recouverts de lames de plomb, et les ornements sont en plomb repoussé 502.
Alors comme aujourd'hui, l'occasion d'élever des flèches de charpente aussi importantes ne se présentait pas souvent. Le plomb était plus cher autrefois qu'il n'est aujourd'hui, bien que son prix soit encore fort élevé; sur de petites églises de bourgades, de villages ou d'abbayes pauvres, on ne pouvait penser à revêtir les flèches de charpente qu'en ardoise. Il fallait, dans ce cas, adopter des formes simples, éviter les grands ajours et bien garantir les bois contre la pluie et l'action du soleil.
Nous avons constaté bien des fois déjà que l'architecture du moyen âge se prête à l'exécution des oeuvres les plus modestement conçues comme à celle des oeuvres les plus riches: cela seul prouverait que c'est un art complet. Si l'architecture ne peut s'appliquer qu'à de somptueux édifices et si elle se trouve privée de ses ressources quand il faut s'en tenir au strict nécessaire, ce n'est plus un art, mais une parure sans raison, une affaire de mode ou de vanité.

Nous donnons (22) un exemple de ces flèches entièrement revêtues d'ardoises, élevée, comme celle de Notre-Dame de Paris, à la rencontre des combles sur le transsept: c'est la flèche de l'église d'Orbais (Marne), autrefois dépendante d'une abbaye. Excepté les extrémités des poinçons, qui sont revêtues de chapeaux de plomb très-simples, toute la charpente est couverte en ardoise. On voit, en A, la moitié d'un des pans-de-bois de la souche; CD est l'arbalétrier du comble. Comme toujours, cette souche est diminuée, ayant 4m,88 à sa base et 4m,66 à son sommet au niveau de l'enrayure de la pyramide. Celle-ci est octogone et pose ses angles sur les milieux des pans-de-bois, ainsi que le fait voir le tracé B. Les arêtiers E sont soulagés par des contre-fiches G assemblées dans les poteaux d'angle H, et sur les angles F sont posés quatre petits pinacles, visibles sur le tracé perspectif. Le corps de la flèche, la pyramide, les pinacles et les lucarnes sont couverts d'ardoises petites, épaisses, clouées sur de la volige de chêne. Il y a des lames de plomb dans les noues. Cet édifice, si simple, est d'un effet charmant, à cause de ces saillies, et surtout à cause de l'heureuse proportion de l'ensemble; il date du XIVe siècle. Le beffroi est indépendant de la charpente de la flèche et repose seulement, comme celle-ci, sur les quatre piles du transsept.
On voit encore, sur la croisée de l'ancienne église abbatiale d'Eu, la souche d'une flèche, du XVe siècle, en charpente, dont la disposition originale mérite d'être signalée. C'était une pyramide passant du plan carré au plan octogone dans la hauteur du comble, de manière que l'inclinaison des faces se suivait, sans interruption, du faîtage de ces combles au sommet de la flèche. Ce système présentait une grande solidité.

Soit (23) AB deux des quatre points d'appui du transsept, des fermes inclinées ABC forment les faces d'une pyramide à base carrée. La projection des fermes des combles est donnée par le triangle ABD; donc, les triangles ADC, BDC sont vus au-dessus de la pente de ces combles; la contre-fiche AE passe dans le plan des deux arbalétriers AG, AF. Les poinçons IC passent dans le plan de la pyramide octogone. Au niveau du faîtage des combles est posée une enrayure sur plan octogone GFK, etc., embrévée dans les pièces principales inclinées AP, AG, AC, BC, etc. L'élévation X, prise sur la moitié de la flèche de B en I, fait voir la projection du comble en B'D', la grande ferme inclinée en B'C', inclinée suivant le plan B'O. Les contre-fiches AE du plan horizontal se voient en B'E' et la première enrayure octogone en L, sur laquelle reposent les véritables arêtiers de la flèche. Ici, les angles de l'octogone ne correspondent pas aux faîtages des quatre combles et aux quatre noues, mais bien le milieu des faces de cet octogone. En N est tracée l'une des contre-fiches diagonales AE et la section EP faite au milieu d'une des quatre faces de la pyramide donnant sur les noues; des lucarnes R sont ouvertes sur ces quatre faces. Une galerie S rompt l'aspect uniforme de la flèche et sert de guette. L'enrayure du sol de cette galerie est tracée en M. L'enrayure Q est tracée en Q', les quatrième et cinquième enrayures étant combinées de la même façon. En V, un tracé perspectif indique la rencontre des pièces inclinées de la souche avec la première enrayure octogone L. Cette flèche a été dérasée au niveau Q; mais un tableau du XVIIe siècle qui est déposé dans l'église d'Eu, présentant une vue fort bien faite des bâtiments de l'abbaye, nous donne le complément de la flèche et son système de décoration qui ne manquait pas d'élégance.

La fig. 24 reproduit l'aspect géométral de la flèche d'Eu, revêtue de sa plomberie et de sa couverture en ardoise, la plomberie n'étant appliquée qu'au couronnement supérieur de la pyramide, à la galerie, aux lucarnes et aux noues.
À Évreux, sur une tour centrale en maçonnerie qui surmonte la croisée de la cathédrale s'élève une flèche en charpente recouverte de plomb, fort dénaturée par des restaurations successives, mais qui présente cependant encore une assez bonne silhouette. Elle est complétement ajourée de la lanterne au faîte, et cette lanterne est d'un bon style du XVe siècle. Le défaut de ce couronnement, c'est d'être trop grêle pour la souche en maçonnerie qui lui sert de base; elle s'y relie mal, et la trop grande quantité d'ajours fait encore paraître ce défaut plus choquant.
L'une des plus belles flèches du XVe siècle était celle de la Sainte-Chapelle du Palais, reconstruite depuis peu par feu Lassus sur un ancien dessin conservé à la Bibliothèque Impériale. Cette flèche est gravée dans la Monographie de la Sainte-Chapelle publiée par M. Bance, avec ses détails de charpente et de plomberie. Nous engageons nos lecteurs à recourir à cet ouvrage.
Mais, à cette époque, les architectes avaient déjà perdu ce sentiment délicat de la silhouette des édifices, et ils surchargeaient tellement leurs ensembles de détails recherchés que les masses perdaient de leur grandeur. On ne trouve plus, dans la flèche de la Sainte-Chapelle du Palais, cette inclinaison des poteaux de la partie inférieure portant la pyramide; ceux-ci s'élèvent verticaux, ou à peu près, ce qui alourdit l'ensemble et empêche l'oeuvre de filer, d'une venue, du faîtage du comble au sommet. Les détails, trop petits d'échelle, paraissent confus, gênent les lignes principales au lieu de les faire ressortir. Cependant, nous voyons encore, sur le transsept de la cathédrale d'Amiens, une flèche du commencement du XVIe siècle, dans l'exécution de laquelle les qualités signalées ci-dessus sont développées avec un rare bonheur.
Si la flèche de la cathédrale d'Amiens est une oeuvre remarquable en elle-même, elle n'est nullement en rapport de proportions avec l'édifice: sa base est grêle, sort du comble brusquement, sans transition; l'ensemble est mesquin, si on le compare à la grandeur magistrale du monument. Quant à la combinaison de la charpente, elle pèche par l'amas des bois, par le défaut de simplicité. Les charpentiers, maîtres de l'oeuvre, Louis Cordon et Simon Taneau, eurent l'idée de porter cette flèche sur une plate-forme composée de pièces horizontales entre-croisées, rendues rigides au moyen de fermes armées au nombre de dix; ce qui produit, à la souche, un amas de bois si considérable qu'à peine si l'on peut circuler à travers les arbalétriers et les clefs pendantes. Quelque bien armées que soient ces fermes, ce système ne présentant pas des supports directs, il y a toujours relâchement à cause du retrait des bois dans les assemblages et, par suite, flexion. L'intention évidente des maîtres a été d'établir un plancher rigide sur lequel ils ont monté une flèche, indépendante de ce plancher, comme s'ils l'eussent élevée sur le sol. Il y a donc dans la charpente de la flèche d'Amiens deux choses: la plate-forme inférieure et la flèche proprement dite que cette plate-forme est destinée à porter. Cette donnée admise, ces maîtres en ont tiré le meilleur parti possible; mais le principe est vicieux.

La fig. 25 fait voir, en perspective, cette plate-forme ou plutôt cette enrayure basse, armée. Pour rendre la figure moins confuse, nous avons supposé les clefs pendantes enlevées. On distingue les dix fermes se pénétrant, aux arbalétriers desquels des clefs pendantes vont soutenir les entraits au droit de la portée de chacune des pièces horizontales. Deux grands entraits diagonaux reposent sur ce plancher suspendu. Comme à Notre-Dame de Paris, l'octogone de la flèche a ses angles dans les noues et dans l'axe des combles se croisant.

Si nous prenons une des fermes de flèche perpendiculaires aux côtés du carré, nous obtenons la fig. 26. Le poinçon, l'arbre central est en A 503. En B sont tracées en coupe les fermes armées de clefs pendantes et en face l'une de ces fermes dans le plan parallèle à notre projection. Les poteaux C de l'octogone sont donc portés sur les entraits soulagés de ces fermes armées, ainsi que les contre-fiches principales D. Comme toujours, le poinçon est suspendu par la buttée des contre-fiches. Une première enrayure composée de moises est en E, une seconde en F, et une troisième en G un peu au-dessus du faîtage H des combles. C'est cette dernière enrayure qui reçoit la première plate-forme de la flèche, de sorte que l'ajour commence immédiatement au niveau de ce faîtage; ce qui contribue à donner de la maigreur à l'oeuvre de charpenterie, puisque au-dessus de la masse pleine des combles commence, sans transition, le système des poteaux isolés laissant voir le ciel entre eux. Si bien assemblés que soient les arbalétriers B, si bien serrées que soient les clefs pendantes supportant les entraits, il y a, par suite de la multiplicité de ces pièces de bois, de nombreuses causes de retrait ou de relâchement; il en résulte que le plancher inférieur a quelque peu plongé, particulièrement du côté opposé à l'action des vents d'ouest, car on observera qu'ici les pesanteurs des poteaux ne sont pas réparties, comme dans la charpente de Notre-Dame de Paris, sur plusieurs points, mais agissent directement à leur pied. Il y a donc toujours une partie de ce plancher suspendu plus chargée que l'autre, puisque les vents d'ouest sont les plus fréquents et les plus violents, surtout à Amiens.

L'ensemble du système s'est incliné vers l'est, et on a dû, peu après la construction, ajouter de ce côté une longue contre-fiche qui vient porter sur une ferme du choeur très-solidement armée. Les fermes diagonales sont peu résistantes (27); leur entrait A repose sur le plancher inférieur, ainsi qu'on le voit dans le tracé perspectif (fig. 25); mais, comme supplément de force, les charpentiers ont posé sous ce plancher, qui passe dans l'intervalle B, des potences armées C dont le pied s'appuie sur la tête des quatre piles du transsept dans les reins de la voûte. Ces potences, faiblement reliées au système de la ferme diagonale, ont donné du nez sous la dépression du plancher. D'ailleurs, la contre-fiche principale E de cette demi-ferme diagonale est la noue, c'est-à-dire qu'elle est posée suivant la ligne d'intersection des combles, ce qui lui donne une position trop inclinée pour avoir une grande force. Si, comme à Notre-Dame de Paris, les charpentiers avaient posé une contre-fiche gh au-dessus de cette noue, visible, et reliée à la potence C au moyen de grandes moises verticales m, ils eussent donné aux fermes diagonales une beaucoup plus grande résistance, en faisant de grands pans-de-bois rigides, dont toutes les parties eussent été solidaires.
On remarquera qu'ici, comme à Notre-Dame de Paris, les poteaux de l'octogone sont doublés et fortement inclinés vers l'axe de la flèche. C'est là une règle dont les architectes du moyen âge ne se sont pas départis dans la construction de ces sortes d'édifices.

La silhouette de la flèche de Notre-Dame d'Amiens est heureuse; il ne manque à cette oeuvre de charpenterie que d'être sur un monument moins grandiose. La fig. 28 présente le géométral de cette flèche recouverte de sa plomberie. Malheureusement la flèche d'Amiens a subi des mutilations; son couronnement a été refait d'une façon barbare dans le dernier siècle, à la suite d'un incendie partiel causé par la foudre. La plomberie, en partie reposée au commencement du XVIIe siècle, est, sur quelques points, extrêmement grossière, et masque les profils ou les découpures du bois.
La section de la pyramide ne donne pas un octogone à côtés droits, mais à côtés curvilignes concaves (voy. le détail A), afin d'obtenir, comme nous l'avons dit plus haut, des filets de lumière dans l'ombre, et d'éviter le fâcheux effet produit par les pyramides à faces planes lorsqu'elles sont placées à une grande hauteur et que le soleil les éclaire. Quelques parties primitives de la plomberie sont fort remarquables.
En résumé, si la flèche de Notre-Dame d'Amiens n'est pas une oeuvre irréprochable, elle mérite cependant d'être étudiée; d'ailleurs c'est la seule de cette dimension qui existe encore en France. Son poids est compris le plomb, de 500,000 kilogrammes. Sa hauteur, au-dessus du faîtage (niveau B) jusqu'à la pomme, était de 47 mètres; elle n'est plus aujourd'hui que de 45 mètres. Les bois sont d'une belle qualité, essence de chêne. Autrefois la plomberie était peinte et dorée; on voit de nombreuses traces de cette décoration.
Nous citerons encore, parmi les flèches de charpenterie recouvertes de plomb, celles de l'église Notre-Dame de Châlons-sur-Marne, qui sont de la fin du XIVe siècle, très-simples, mais d'une assez belle forme, et qui couronnent des tours en pierre de la fin du XIIe siècle; celle de la croupe de la cathédrale de Reims, qui date de la fin du XVe siècle, et dont la plomberie est assez bien conservée (voy. PLOMBERIE).
Note 498: (retour) En effet, on doit attribuer en partie la chute imminente de la flèche de Saint-Denis au supplément de poids qui lui avait été donné, lors de la restauration, par la substitution de la pierre de Saint-Non à la pierre de Vergelé qui, primitivement, imposait la pyramide. Il faut dire aussi que les parties inférieures, les étages de la tour, n'avaient pas été consolidés, mais au contraire affaiblis par des reprises extérieures faites en placages, sans affermir les massifs très-altérés par le temps.
Note 501: (retour) Le 26 février 1860, un coup de vent qui a renversé à Paris un grand nombre de cheminées, enlevé des toits et jeté bas quelques-unes des charpentes destinées à la triangulation, n'a fait osciller la flèche de Notre-Dame que de 0,20 c. environ à son sommet, bien que cette flèche ne fût pas alors complétement terminée et qu'elle ne fût garnie de plomb qu'à sa partie supérieure, ce qui nécessairement devait rendre l'oscillation plus sensible.
Note 502: (retour) La charpente de cette flèche a été exécutée par M. Bellu, et la plomberie par MM. Durand frères et Monduit. L'ensemble, compris les ferrures, pèse environ 500,000 kilog. Chacune des piles du transsept pourrait porter ce poids sans s'écraser. Les douze statues des apôtres et les quatre figures des symboles des évangélistes qui garnissent les quatre arêtiers des noues sont en cuivre repoussé, sur les modèles exécutés par M. Geoffroy-Dechaume.
FLEUR, s. f. (Voy. FLORE.)
FLEURON, s. m. Épanouissement végétal qui termine certains membres de l'architecture gothique, tels que pinacles, pignons, dais, redents, etc. Le fleuron n'apparaît dans l'architecture qu'au XIIe siècle, c'est-à-dire au moment où l'école laïque va chercher l'ornementation de ses édifices dans la flore des campagnes. Dès l'antiquité grecque, on amortissait les combles de certains édifices au moyen d'une décoration végétale, ainsi qu'on peut le reconnaître en examinant le monument choragique de Lysicrates à Athènes. Bien que, dans ce cas, l'amortissement fut probablement destiné à porter le trépied qui rappelait la victoire de Lysicrates sur ses rivaux, ce n'en est pas moins un couronnement emprunté au règne végétal. La célèbre pomme de pin en bronze qui se voit dans les jardins du Vatican est un véritable fleuron terminant un grand monument antique. L'idée n'est donc pas neuve, et, en cela comme en beaucoup d'autres choses, les architectes gothiques ont suivi une tradition fort ancienne qui leur avait été transmise par les maîtres de l'école romane.
Mais ce qui est neuf, ce qui appartient à ces architectes gothiques, c'est le caractère particulier qu'ils ont su donner à ces amortissements, c'est leur physionomie franchement végétale. On voit apparaître les fleurons bien caractérisés aux sommets des pinacles et lucarnes du clocher vieux de la cathédrale de Chartres (milieu du XIIe siècle); du moins ce sont les plus anciens qui nous soient restés. Quoique détériorés par le temps, ces fleurons laissent voir leur forme primitive. Ils sortent brusquement de l'extrémité des arêtes d'angles de ces pinacles, sans bagues intermédiaires; ils présentent (1) une réunion de jeunes feuilles, de bourgeons, terminés par des têtes humaines. La sculpture est large, grasse, comme il convient à une pareille élévation. Tout l'ornement est pris dans une seule pierre de plus de 1m,00 de hauteur.

Cependant l'étude des végétaux conduit bientôt les architectes à chercher dans les divers membres des plantes ceux qui se prêtent le mieux à cette forme de couronnement; ils observent que les pistils des fleurs, par exemple, donnent souvent un ornement régulier, parfaitement propre à terminer un sommet; ils voient que ces pistils sont habituellement accompagnés d'un collet et d'appendices. Ils interprètent donc, sans trop chercher à imiter servilement la nature, ces formes végétales; ils en saisissent le caractère puissant, vivace, et composent des fleurons comme celui-ci (2), qui date des dernières années du XIIe siècle et provient des gâbles inférieurs des contre-forts de la cathédrale de Paris (côté nord).

Cette forme simple ne leur paraît pas présenter une silhouette assez découpée, ces artistes recourent encore à la nature, et ils ouvrent davantage les folioles qui accompagnent le pistil (3) 504, de manière à obtenir un épanouissement; ou bien encore, un peu plus tard (vers 1220), ils recherchent l'imitation des bourgeons (4) 505; ils les dissèquent, ils en enlèvent certaines parties, comme l'indique cette couronne A de pétioles coupés, pour dégager la tige principale B; puis ils commencent à mêler à cette végétation des formes géométriques, des profils C d'architecture sans la bague imitée d'un fruit.

Tout en étudiant avec soin les végétaux, les sculpteurs du commencement du XIIIe siècle ne les copient pas servilement; ils les soumettent aux dispositions monumentales, à l'échelle de l'architecture. De l'imitation du pistil des fleurs, des graines, des bourgeons, ils arrivent bientôt à l'imitation de la feuille développée, mais en soumettant toujours cette imitation aux données décoratives qui conviennent à la sculpture sur pierre (5) 506. Ils savent allier la pondération des masses à la liberté du végétal.

Les tiges des fleurons présentent, à dater du commencement du XIIIe siècle, des sections carrées ou octogones; ces tiges se divisent toujours en quatre membres de feuillages à un seul étage, avec bouton supérieur, ou à deux étages. Dans ce dernier cas, les feuilles du deuxième rang alternent avec celles du premier, de manière à contrarier les lignes de fuite produites par la perspective, à donner plus de mouvement et plus d'effet à ces amortissements décoratifs, ainsi que l'indique la fig. 6, et à redresser par l'apposition des ombres et des lumières la ligne verticale. Souvent les épanouissements des fleurons ne sont autre chose que des crochets, comme ceux qui accompagnent les rampants des gâbles ou des pinacles (7) 507.

C'est vers le milieu du XIIIe siècle que les fleurons, d'une grande dimension, portent deux rangs de feuilles. Tous les membres de l'architecture tendant à s'élever, à faire dominer la ligne verticale, il fallait donner une importance de plus en plus considérable à ces couronnements des parties aiguës des édifices. L'imitation des végétaux devenait plus scrupuleuse, plus fine, mais aussi moins monumentale. Cette végétation ne tenait point à la pierre, elle était comme une superposition; ce n'était plus la pierre elle-même qui s'épanouissait, mais bien des feuillages entourant un noyau d'une forme géométrique (8) 508.

Ce que l'on ne saurait trop admirer dans ces amortissements de gâbles, de pinacles, c'est leur juste proportion par rapport aux membres de l'architecture qu'ils couronnent. Il y a une aisance, une grâce, une finesse de contour, une fermeté dans ces terminaisons, bien difficiles à reproduire pour nous, habitués que nous sommes à l'ornementation sèche et banale des temps modernes. Ou, par suite d'une fausse interprétation de la sculpture antique, nous penchons vers l'ornementation de convention, symétrique, morte, fossile, copiée sur des copies; ou nous nous lançons dans le domaine du caprice, de la fantaisie, parce qu'il y a un siècle des artistes possédant plus de verve que de goût nous ont ouvert cette voie dangereuse. Autant la fantaisie est séduisante parfois, lorsqu'elle arrive naturellement, qu'elle est une boutade de l'esprit, autant elle fatigue si on la cherche. Les ornements que nous fournit cet article (ornements d'une importance singulière, puisqu'ils servent de terminaison aux parties dominantes des édifices) ne sont point le résultat d'un caprice, mais bien de l'étude attentive et fine des végétaux. Il y a une flore gothique qui a ses lois, son harmonie, sa raison d'exister pour ainsi dire, comme la flore naturelle; on la retrouve dans les bandeaux, dans les chapiteaux, et surtout dans ces fleurons de couronnements, si visibles, se détachant souvent sur le ciel, dont le galbe, le modelé, l'allure, peuvent gâter un monument ou lui donner un aspect attrayant. La variété des fleurons du XIIIe siècle est infinie, car, bien que nos édifices de cette époque en soient couverts, on n'en connaît pas deux qui aient été sculptés sur un même modèle. Aussi n'en pouvons-nous présenter à nos lecteurs qu'un très-petit nombre, en choisissant ceux qui se distinguent par des dispositions particulières ou par une grande perfection d'exécution.
Dans les édifices de l'Île-de-France et de la Champagne, ces fleurons sont incomparablement plus beaux et variés que dans les autres provinces; ils sont aussi mieux proportionnés, plus largement composés et exécutés. Ceux, en grand nombre, qu'on voit encore autour de la cathédrale de Paris, ceux du tombeau de Dagobert à Saint-Denis, ceux de l'église de Poissy (9) qui terminent les arcs-boutants du choeur, ceux de la cathédrale de Reims (nous parlons des anciens), sont, la plupart, d'un bon style et exécutés de main de maître.

Autour des balustrades supérieures de Notre-Dame de Paris, on peut voir des fleurons, à base carrée, terminant les pilastres, qui sont d'une largeur de style incomparable (voy. BALUSTRADE, fig. 10). Ceux de la balustrade extérieure de la galerie du choeur, dont nous avons recueilli des débris, avaient un caractère de puissance et d'énergie qu'on ne trouve exprimé au même degré dans aucun autre monument de cette époque (commencement du XIIIe siècle) (10).

Vers la fin du XIIIe siècle, ces ornements deviennent plus refouillés, imitent servilement la flore, puis ils adoptent des formes toutes particulières empruntées aux excroissances de la feuille de chêne (noix de galle), aux feuilles d'eau. Cette transition est sensible dans l'église de Saint-Urbain de Troyes, élevée pendant les dernières années du XIIIe siècle. Les grands fleurons à trois rangs de feuilles qui terminent les gâbles des fenêtres sont sculptés avec une hardiesse, une désinvolture qui atteignent l'exagération (11).

Pendant le XIVe siècle, les fleurons ne sont composés, habituellement, que de la réunion de quatre ou huit crochets, suivant les formes données alors à cet ornement. La décoration, à cette époque, devient monotone comme les lignes de l'architecture. Cependant ces fleurons sont sculptés avec une verve et un entrain remarquables (12).

On voit d'assez beaux fleurons à la cathédrale d'Amiens, autour de celle de Paris, à Saint-Ouen de Rouen, à Saint-Étienne d'Auxerre, à la cathédrale de Clermont, à Saint-Just de Narbonne et à Saint-Nazaire de Carcassonne; mais le grand défaut de la sculpture du XIVe siècle, c'est le manque de variété, et ce défaut est particulièrement choquant lorsqu'il s'agit de couronnements qui se voient tous à peu près dans les mêmes conditions.

Au XVe siècle, les fleurons qui terminent les pinacles ou les gâbles sont souvent dépouillés de feuillages, ce sont de simples amortissements de formes géométriques dans le genre de la fig. 13. Cependant si l'édifice est très-richement sculpté, comme, par exemple, le tour du choeur de l'église abbatiale d'Eu, ces amortissements se revêtent de feuilles d'eau ou plutôt d'un ornement qui ressemble assez à des algues marines (14). Vers 1500, les fleurons ne sont autre chose que la réunion des crochets des rampants de gâbles ou de pinacles, et finissent par une longue tige prismatique (voy. CONTRE-COURBE, fig. 2; CROCHET, FENÊTRE, fig. 42; GÂBLE, PINACLE).
On donne aussi le nom de fleurons à des épanouissements de feuilles qui terminent des redents (voy. ce mot).
Que les fleurons de couronnement appartiennent au XIIIe ou au XVe siècle, ils sont toujours bien plantés, fièrement galbés, en rapports parfaits de proportion avec les parties de l'architecture qu'ils surmontent. Les architectes gothiques savaient couronner leurs édifices. Notre attention doit d'autant plus se porter sur ces qualités, qu'aujourd'hui la plupart de nos monuments modernes pèchent évidemment par le défaut contraire. L'ère classique, qui finit, regardait les couronnements comme une superfétation de mauvais goût. Les Grecs et les Romains ne manquaient pas cependant de terminer les parties supérieures de leurs édifices par des ornements en pierre, en marbre ou en métal, qui se découpaient sur le ciel; mais les exemples n'existant plus en place, il était convenu que l'architecture antique se passait de ces accessoires. C'était un moyen d'éluder la difficulté. Peu à peu cependant les études archéologiques, l'inspection de fragments épars, de médailles, ont fait reconnaître que les anciens étaient loin de se priver de ces ressources décoratives; on chercha donc timidement et un peu au hasard à rompre les lignes sèches et froides de nos palais, de nos édifices publics: or, lorsqu'il s'agit de silhouettes, ce qu'il faut, ce sont des tracés hardis, un coup d'oeil sûr, l'expérience de l'effet perspectif, l'observation du jeu des ombres. Cette expérience, il nous faut l'acquérir, car nous l'avons absolument perdue.
FLORE, s. f. Nous avons souvent l'occasion de parler de la flore sculptée de l'architecture du moyen âge; c'est qu'en effet cette architecture possède sa flore, qui se modifie à mesure que l'art progresse et décline. Pendant la période romane, la flore n'est guère qu'une imitation de la sculpture romaine et byzantine; cependant on aperçoit, vers le commencement du XIIe siècle, dans certains édifices romans, une tendance manifeste à chercher les modèles de l'ornementation sculptée parmi les plantes des bois et des champs. Mais comment cette recherche commence-t-elle? À quels éléments s'attache-t-elle d'abord? Qui la provoque? Comment s'érige-t-elle en système et parvient-elle à former une école? Résoudre ces questions, c'est faire l'histoire de notre art français au moment où il se développe, où il est réellement original et n'emprunte plus rien au passé.
Il semble, en examinant les monuments, que les clunisiens ont été les premiers à former des écoles de sculpteurs allant chercher, dans les productions naturelles, les éléments de leur décoration. Les chapiteaux de la nef de l'église abbatiale de Vézelay ne sont plus déjà des imitations abâtardies de la sculpture antique: leur végétation sculptée possède une physionomie qui lui est propre, qui a l'âpreté d'un art neuf plutôt que l'empreinte barbare d'un art, dernier reflet de traditions vieillies. Sur les bords de la Loire, de la Garonne, en Poitou et en Saintonge, au commencement du XIIe siècle, on voit aussi la sculpture chercher d'autres éléments que ceux laissés par l'antiquité. Ces essais, toutefois, sont partiels; ils semblent appartenir à des artistes isolés, fatigués de toujours reproduire des types dont ils ne comprenaient plus le sens, parce qu'ils n'en connaissaient plus l'origine. Quoi qu'il en soit, ces essais ont une certaine importance: ils ont ouvert la voie à la nouvelle école des architectes laïques; c'est du moins probable.

Présentons tout d'abord un de ces exemples, qui fera ressortir d'une façon plus claire ce que nous allons dire. Nous donnons ici un chapiteau de l'église abbatiale de Bourg-Dieu près Châteauroux (Déols) sculpture date de 1130 environ (1).

Or voici (2) des feuilles de fougère au moment où elles commencent à se développer, à sortir de leur tissu cotonneux. Il n'est pas besoin, pensons-nous, de faire remarquer, dans ce chapiteau, l'intention évidente de l'artiste; il a certainement voulu se servir de ces formes puissantes données par ces bourgeons de fougère, de la fougère qu'on trouve partout, en France, sous les grands bois. Le sculpteur ne s'est inspiré ni des traditions romaines, ni des ornements byzantins: il a cueilli un brin de fougère, l'a examiné curieusement, s'est épris de passion pour ces charmantes productions naturelles, puis il a composé son chapiteau. Observons à notre tour cette fig. 2; nous aurons l'occasion d'y revenir. C'est là, pour cette époque, disons-le encore, un fait isolé. Mais bientôt l'école des architectes laïques s'élève, s'empare de toutes les constructions, particulièrement dans le domaine royal. Dès ses premiers pas, on sent que cette école laïque veut rompre avec les traditions d'art des moines. Il y avait peut-être de l'ingratitude dans le procédé, puisque cette école s'était élevée sous les voûtes des cloîtres; mais cela nous importe peu aujourd'hui. Comme système de construction (voy. CATHÉDRALE, CONSTRUCTION), comme méthode de bâtir, les architectes laïques de la seconde moitié du XIIe siècle cherchent à rompre avec les traditions monastiques. Les formes qu'ils adoptent, les moulures qu'ils tracent, les profils qu'ils taillent et les ornements qu'ils sculptent s'appuient sur des principes étrangers à l'art roman; l'examen, la recherche, remplacent la tradition. Quand il s'agit d'ornements, ils ne veulent plus regarder les vieux chapiteaux et les frises romanes: ils vont dans les bois, dans les champs; ils cherchent, sous l'herbe, les plus petites plantes; ils examinent leurs bourgeons, leurs boutons, leurs fleurs et leurs fruits, et les voilà qui, avec cette humble flore, composent une variété infinie d'ornements d'une grandeur de style, d'une fermeté d'exécution qui laissent bien loin les meilleurs exemples de la sculpture romane. Soit instinct, soit raisonnement, ces artistes comprennent que les plus petites plantes, comme les insectes, sont douées d'organes relativement beaucoup plus forts que les arbres et les grands animaux; destinées à vivre dans le même milieu, à résister aux mêmes agents, la nature prévoyante a en effet donné à ses créations les plus humbles une puissance relativement supérieure à celle des grands êtres. Les formes des plus petits insectes, comme celles des plus petites plantes, ont une énergie, une pureté de lignes, une vigueur d'organisation qui se prêtent merveilleusement à exprimer la grandeur et la force; tandis qu'au contraire on remarque, dans les formes des grands végétaux particulièrement, une sorte d'indécision, de mollesse, qui ne peut fournir d'exemples à la sculpture monumentale. D'ailleurs, qui sait? Ces artistes laïques qui s'élèvent en France à la fin du XIIe siècle, et qui s'élèvent au milieu d'une société mal constituée, ces artistes à peine compris de leur temps, fort peu aujourd'hui, trouvaient peut-être un certain charme à envelopper leur art de mystère; de même qu'ils se transmettaient leurs grands principes à l'ombre d'une sorte de franc-maçonnerie, de même aussi, en allant chercher leurs motifs de décorations au bord des ruisseaux, dans les prés, au fond des bois, dans les plus infimes productions végétales, se laissaient-ils conduire par cet instinct du poëte qui ne veut pas découvrir au vulgaire les secrets de ses conceptions. L'art véritable a sa pudeur: il cache aux regards ses amours fécondes. Qui sait si ces artistes ne trouvaient pas des joies intimes dans la reproduction monumentale de ces humbles plantes, d'eux seuls connues, aimées d'eux seuls, cueillies et observées longuement dans le silence des bois? Ces réflexions nous sont venues souvent lorsqu'en examinant les merveilleux développements de végétaux perdus sous l'herbe, leurs efforts pour repousser la terre, la puissance vitale de leurs bourgeons, les lignes énergiques de leurs tigettes naissantes, les formes des beaux ornements de la première période gothique nous revenaient en mémoire. Puisque nous allions chercher des éléments d'un art dans ces productions infimes sur lesquelles la nature semble avoir jeté un de ses plus doux regards, pourquoi d'autres avant nous ne l'auraient-ils pas fait aussi? Pourquoi des artistes observateurs, ennuyés de la monotonie des arts romans, ne se seraient-ils pas épris de cette modeste flore des champs, et, cherchant un art, n'auraient-ils pas dit, en découvrant ces trésors cachés: «Je l'ai trouvé»? Une fois sur cette voie, nous suivîmes pas à pas, et non sans un vif intérêt, les interprétations ingénieuses de nos devanciers; notre examen nous conduisit à de singuliers résultats. Nous reconnûmes que les premiers artistes (il est entendu que nous ne parlons ici que de l'école laïque qui s'élève, de 1140 à 1180, dans l'Île-de-France et les provinces voisines) s'étaient attachés à imiter la physionomie de ces modestes plantes des champs au moment où elles se développent, où les feuilles sortent à peine de leurs bourgeons, où les boutons apparaissent, où les tiges épaisses pleines de séve n'ont pas atteint leur développement; qu'ils avaient été jusqu'à chercher comme motifs d'ornements des embryons, ou bien encore des pistils, des graines et jusqu'à des étamines de fleurs. C'est avec ces éléments qu'ils composent ces larges chapiteaux que nous admirons autour du choeur de Notre-Dame de Paris, dans l'église Saint-Julien-le-Pauvre, dans celle de Saint-Quiriace de Provins, à Senlis, à Sens, à Saint-Leu d'Esserent, dans le choeur de Vézelay, dans l'église de Montréale, à Notre-Dame de Châlons-sur-Marne, autour du sanctuaire de Saint-Remy de Reims. Bientôt (car nous savons que ces artistes ne s'arrêtent pas en chemin) de l'imitation de la flore naissante ils passent à l'imitation de la flore qui se développe: les tiges s'allongent et s'amaigrissent; les feuilles s'ouvrent, s'étalent; les boutons deviennent des fleurs et des fruits. Plus tard, ces artistes oublient leurs humbles modèles primitifs: ils vont chercher leurs exemples sur les arbustes; ils s'emparent du lierre, de la vigne, du houx, des mauves, de l'églantier, de l'érable. À la fin du XIIIe siècle, ils en viennent à copier servilement le chêne, le prunier sauvage, le figuier, le poirier, aussi bien que les feuilles d'eau, le liseron, le persil, les herbacées, comme les feuillages des grands arbres de nos forêts; tout leur est bon, tout leur est un motif d'ornement. Disons tout de suite que l'imitation s'approche d'autant plus de la réalité que l'art gothique avance vers sa décadence. À la fin du XIIe siècle, et encore au commencement du XIIIe, cette imitation est soumise à des données monumentales qui prêtent à la sculpture une beauté particulière. Disons encore que cette sculpture est d'autant plus grande, large, puissante, monumentale enfin, qu'elle va chercher ses inspirations parmi les plantes les plus modestes; tandis qu'elle tombe dans la sécheresse et la maigreur lorsqu'elle veut copier les feuilles des grands végétaux.

Les artistes laïques du XIIe siècle, se servant de ces plantes, en saisissent les caractères principaux, la physionomie; elles deviennent pour eux un sujet d'inspiration plutôt qu'un modèle banal. Mais prenons quelques exemples. N'est-il pas évident, par exemple, que les rinceaux qui décorent l'un des côtés du trumeau de la porte centrale de la cathédrale de Sens (1170 environ) ont été inspirés de ces jeunes pousses de fougère dont nous avons donné plus haut quelques brins, et ces feuilles naissantes de plantain (3) n'ont-elles pas inspiré les artistes qui sculptaient les chapiteaux du choeur de l'église de Vézelay, ceux de la galerie du choeur de Notre-Dame de Paris (3 bis), ou ceux de l'église de Montréale (Yonne)(4)?

N'y a-t-il pas entre les petites fleurs de la corolle à peine développées (5) et les crochets primitifs qui ornent les angles de ces chapiteaux une grande analogie? La section d'une de ces feuilles de plantain (fig. 3), faite sur ab et tracée en A, est observée fidèlement dans les sculptures que nous donnons ici. Avant de pousser plus loin l'examen de la flore monumentale de l'école laïque, il est nécessaire de se rendre un compte exact du mélange qui s'était fait, pendant la période romane, des traditions antiques avec certaines formes inspirées évidemment par quelques végétaux de nos bois. Des écrivains ont déjà fait, à ce sujet, des observations ingénieuses, sans toutefois appuyer ces observations par des figures étudiées: les uns prétendent que les ornements qui, au XIIe siècle, sont arrivés à former ce qu'on appelle la fleur de lis, ont été inspirés de l'iris ou du glaïeul; les autres, que ces ornements sculptés et peints, si fréquents à dater de la fin du XIe siècle, sont une réminiscence des plantes aroïdes. Nous laisserons chacun juger le procès, nous nous bornerons à fournir les pièces; aussi bien importe-t-il assez peu, à notre avis, que les sculpteurs des XIe et XIIe siècles aient copié l'iris ou l'arum: la question est de savoir si ces sculpteurs ont ajouté quelque chose aux traditions usées des arts romans dans leur ornementation. Le fait ne paraît pas douteux.
Prenons d'abord les Aroïdées, qui paraissent avoir inspiré nos sculpteurs dès une époque fort ancienne.
D'après Jussieu, les Aroïdées sont «des plantes à racines tubéreuses, à feuilles simples, alternes, engaînantes; fleurs unisexuelles, réunies dans une véritable spathe colorée, avec ou sans périanthe particulier; un style; fruit bacciforme.»
L'Arum maculatum, connu vulgairement sous le nom de Gouet ou Pied-de-veau, porte une tige dressée, simple, nue, haute de 0,20 c. environ, glabre; les feuilles sont radicales, portées sur de longs pétioles, grandes, sagittées-cordiformes, comme tronquées obliquement des deux côtés à la base, entières, sans taches, glabres; la spathe terminale est allongée, aiguë; le spadice est moitié moins long qu'elle; en mûrissant, la portion qui est au-dessus des baies tombe; celles-ci restent grosses, nombreuses, rouges et contiennent deux graines chagrinées. Les fleurs (spathe) sont d'un vert pâle et tournent au violet en se fanant. L'Arum apparaît en avril et mai, et est très-commun dans les bois humides des environs de Paris, de Champagne et de Bourgogne.

Comme il n'est pas certain que tous les architectes soient botanistes, nous donnons (6) une représentation de l'Arum. En A, la spathe est fermée; elle enveloppe encore le spadice. En B, la plante est montrée entière avec sa racine tubéreuse; la spathe s'est développée, s'est ouverte et laisse voir le spadice. Les feuilles sont sagittées. En C est donnée une coupe de la spathe, laissant voir le spadice entier avec ses étamines et ses pistils à la base. Quand le fruit est mûr, D, la partie supérieure du spadice se détruit; la spathe demeure à l'état de débris, E. En F est une des étamines. Il n'est personne qui, en se promenant au printemps dans les bois, n'ait examiné cette plante d'une physionomie remarquable, déjà épanouie lorsque les arbres et les buissons portent quelques feuilles tendres à peine sorties des bourgeons. L'Arum et l'Iris sont les premiers signes du retour des beaux jours. Est-ce pour cela que les sculpteurs romans paraissent avoir affectionné ces plantes, comme le réveil de la nature? Faut-il attacher à l'imitation des Aroïdes une idée symbolique, y voir quelque tradition antique? Nous nous garderons de trancher la question. Le fait est que, dans les sculptures de la fin du XIe siècle, nous trouvons la trace évidente de cette imitation. Les beaux chapiteaux de la nef de l'église abbatiale de Vézelay nous montrent des imitations d'Aroïdes (7) qui terminent des feuillages plus ou moins dérivés de la sculpture romaine du chapiteau corinthien.

En A, la spathe de l'Arum est développée, l'extrémité du spadice est tombée et les graines restent apparentes. En B, ce sont les feuilles de l'Arum qui se roulent en volutes ou crochets aux angles d'un chapiteau. Dans la fig. 7 bis, le sculpteur a doublé le spadice en A, l'a laissé simple en B; mais, dans l'un et l'autre cas, la spathe enveloppe le fruit.

Ces plantes de bois marécageux ne paraissent pas seules avoir inspiré les sculpteurs romans; nous voyons qu'ils ont une affection particulière pour les nénuphars, pour les feuilles d'eau. Deux autres chapiteaux de la nef de Vézelay présentent encore, en guise de crochets, des feuilles fanées de nénuphars avec ou sans fleurs (8). On sait avec quelle rapidité se flétrissent les plantes d'eau lorsqu'elles ont été cueillies; il semble, dans l'exemple A, que le sculpteur a suspendu près de lui, pour décorer l'angle de son chapiteau, des feuilles de nénuphars si communs dans nos étangs, et que celles-ci se soient fermées, comme il arrive bientôt lorsqu'elles ne peuvent plus s'étendre sur la surface de l'eau.
Ces imitations sont fort libres, ainsi qu'il arrive chez les artistes primitifs, mais elles ne paraissent guère douteuses. Il ne s'agissait pas, en effet, de reproduire, avec tout le soin d'un naturaliste, telle ou telle plante, mais de trouver un motif d'ornement. D'ailleurs les yeux d'observateurs naïfs se contentent d'une interprétation, et tous les jours nous voyons des enfants pour lesquels un pantin grossièrement taillé dans un morceau de bois est l'image complète d'un personnage. Il faut bien reconnaître aussi que le style dans les arts, pour les ornements comme pour toute chose empruntée à la nature, demande l'interprétation plutôt que l'imitation scrupuleuse de l'objet. Les plantes ont une allure, une physionomie, un port, qui frappent tout d'abord un observateur inexpérimenté. Celui-ci saisit ces caractères généraux sans aller au delà; il produit une seconde création qui devient une oeuvre d'art, bien qu'on retrouve dans cette seconde création l'empreinte puissante de la nature. Les artistes romans se sont tenus à ces inspirations primitives; ils les corrompent même à mesure que leur main acquiert de l'habileté, et il est intéressant de voir comment, lorsque l'art devient laïque, l'esprit d'examen s'introduit promptement dans la sculpture d'ornement; comment l'inspiration libre, ou soumise à certaines traditions de métier, est bientôt étouffée par le désir d'arriver à l'imitation servile de la nature.
Disons un mot maintenant de la fleur d'Iris, qui joue aussi un grand rôle dans l'ornementation romane des XIe et XIIe siècles. La fleur de l'iris est enveloppée dans une spathe membraneuse avant son épanouissement. La corolle, d'après Linné, «est à six divisions profondes, alternativement dressées et réfléchies; le style est court, portant trois lanières pétaloïdes, souvent échancrées, qui tiennent lieu de stigmates; la capsule infère est à trois valves, à trois loges polyspermes.»

Voici (9) une fleur d'iris, connue sous le nom de flambe, copiée de grandeur naturelle. Si nous présentons cette fleur de manière à régulariser ses diverses parties, nous obtenons la fig. 10.

Les six divisions de la corolle sont visibles en AA, BB, CC. Deux des lanières pétaloïdes sont apparentes en D, la troisième devant se trouver dans l'axe de la fleur. La spathe est en E. De cette figure à l'ornement connu sous le nom de fleur de lis, il n'y a pas loin. Dans les ornements romans du XIIe siècle (11 509, 12 et 13 510), on reconnaît l'essai d'artistes qui cherchent à s'inspirer des formes générales de la fleur d'iris, tout en conservant le faire de l'art romain dégénéré. Ces artistes affectionnent tout particulièrement l'arum et l'iris; ces deux plantes donnent, dès le commencement du XIIe siècle, une physionomie particulière à l'ornementation sculptée ou peinte (voy. PEINTURE). Quelle était la raison qui avait fait choisir de préférence ces végétaux des lieux humides, qui arrivent à leur floraison dès les premiers jours du printemps? M. Woillez, auteur d'une brochure fort intéressante sur ce sujet 511, n'hésite pas à voir dans cette imitation des plantes aroïdes une idée symbolique de la puissance. Il voit là un reste du paganisme, et s'exprime ainsi 512: «Je pense que le gouet, type actuel de la famille botanique des aroïdes, ou une autre plante du même genre 513, devint, en quelque sorte, le phalle transfiguré par le christianisme. La simple appellation rustique de la première plante dans certains lieux de la Picardie, et notamment dans les environs de Clermont (Oise), a suffi pour me suggérer d'abord cette opinion. Je savais que ce végétal, caché sous les bois humides et ombragés, bizarre dans ses formes extérieures, était en grand crédit parmi les magiciens et les enchanteurs du moyen âge, lorsque j'appris sa dénomination la plus vulgaire. Cette qualification correspond aux mots latins presbiteri phallus; le spadice enveloppé de sa spathe verte est encore appelé vicaire, tandis que, au moment de la fécondation, et lorsque ce spadice a pris une teinte violette, c'est un curé... Le gouet, que l'on pourrait appeler le phalle végétal, est une des premières plantes qui annoncent le retour de la végétation, ou, comme le phalle proprement dit, le réveil de la nature; il peut bien être l'expression ou l'emblème de la puissance génératrice impérissable, puisque, chaque année, sans culture préalable, on le voit percer la terre, puis disparaître après la fructification, pour reparaître après l'hiver suivant. Mais il y a plus: de même que le phalle, il a été figuré comme l'attribut de la puissance en général, ce qui prouverait son identité avec lui...» M. Woillez rappelle à propos la notice du docteur Colson 514 sur une médaille de Julia Mamée, au revers de laquelle on voit Junon tenant un phallus d'une main et un lis de l'autre, et il est à remarquer, en effet, que les premiers sceptres portés par des rois ou même la Vierge sainte sont terminés par une fleur d'arum ou une fleur de lis assez semblable à celle que nous avons donnée plus haut (fig. 10); seulement M. Woillez ne voit dans ces ornements que l'imitation des plantes aroïdes. Je pense qu'on y trouve et l'arum et l'iris (flambe); quelquefois même, comme dans l'ornement (fig. 13), un mélange des deux plantes printanières. Il ne nous paraît pas, toutefois, que l'on puisse, dans l'état des connaissances actuelles, donner comme des faits certains l'influence de ces traditions païennes d'une haute antiquité dans les arts du moyen âge.
Si la flore sculptée romane mêle aux derniers débris des arts romains des inspirations nouvelles provoquées par l'observation des plantes printanières des bois, elle subit aussi l'influence des arts de l'Orient. Pendant les Xe, XIe et XIIe siècles, quantité d'objets apportés de Byzance et de Syrie remplissaient les trésors des monastères et des palais: étoffes, ivoires sculptés, ustensiles, menus meubles, venaient en grand nombre d'Orient et fournissaient aux artistes français des motifs d'ornements qu'ils interprétaient à leur manière. Beaucoup de ces ornements byzantins étaient empruntés eux-mêmes à la flore orientale. Il ne faut donc pas s'étonner si l'on trouve sur nos chapiteaux et nos frises des XIe et XIIe siècles des formes qui rappellent certains végétaux qui alors n'étaient pas connus en Occident (voy. SCULPTURE).
Telles étaient les diverses sources auxquelles avaient été puiser les sculpteurs romans lorsqu'apparut l'école laïque de la seconde moitié du XIIe siècle; cette école ne pouvait rompre tout à coup avec celle qui la précédait. Dans un même édifice on voit, comme à la cathédrale de Paris, comme autour du choeur de l'église de Saint-Leu d'Esserent, comme à Noyon, des sculptures empreintes encore des traditions romanes à côté d'ornements d'un style entièrement étranger à ces traditions, recueillis dans la flore française. Ce sont les feuilles de l'Ancolie, de l'Aristoloche, de la Primevère, de la Renoncule, du Plantain, de la Cymbalaire, de la Chélidoine, de l'Hépatique, du Cresson, des Géraniums, de la Petite-Oseille, de la Violette, des Rumex, des Fougères, de la Vigne; les fleurs du Muflier, de l'Aconit, du Pois, du Nénuphar, de la Rue, du Genêt, des Orchidées, des Cucurbitacées, de l'Iris, du Safran, du Muguet; les fleurs, fruits ou pistils des Papaveracées, des Polygalées, du Lin, des Malvacées, de quelques Rosacées, du Souci, des Euphorbiacées, des Alismacées, des Iridées et Colchicacées qui inspirent les sculpteurs d'ornement. Mais il ne faudrait pas se méprendre sur la valeur de notre observation, ces artistes ne sont pas botanistes; s'ils cherchent à rendre la physionomie de certains végétaux, ils ne se piquent pas d'exactitude organographique; ils ne se font pas faute de mêler les espèces, de prendre un bouton à telle plante, une feuille à celle-ci, une tige à celle-là; ils observent avec une attention scrupuleuse les caractères principaux des végétaux, le modelé des feuilles, la courbure et la diminution des tiges, les attaches, les contours si purs et si fermes des pistils, des fruits ou des fleurs; ils créent une flore qui leur appartient, mais qui, toute monumentale qu'elle est, conserve un caractère de vraisemblance plein de vie et d'énergie. Cette flore monumentale a ses lois, son développement, ses allures; c'est un art, pour tout dire en un mot, non point une imitation. Nous sommes aujourd'hui si loin de la voie suivie à toutes les belles époques, qu'il nous faut faire quelques efforts pour comprendre la puissance de cette création de second ordre, éloignée autant de l'imitation servile et de la banalité que de la fantaisie pure. Nos monuments se couvrent d'imitations de l'ornementation romaine, qui n'est qu'une copie incomprise de la flore monumentale des Grecs; nous copions les copies de copies, et à grands frais; notre parure architectonique tombe dans la vulgarité, tandis que l'école laïque de la fin du XIIe siècle allait aux sources chercher ses inspirations. Non-seulement ainsi elle trouvait une décoration originale, mais elle s'appuyait sur un principe toujours neuf, toujours vivant, toujours applicable. L'art français de la grande école laïque d'architecture est logique; dans la construction, il émet des principes nouveaux qui, sans imposer une forme, sont applicables partout et dans tous les temps; dans la décoration, cet art ne fait de même qu'émettre des principes; il ne prescrit pas l'emploi d'une forme hiératique, comme l'a fait l'art oriental. Le génie de chaque artiste peut sans cesse tirer de ces principes féconds des formes neuves, imprévues.
De nos jours, on a remplacé en France la méthode, l'énoncé des principes, par l'enseignement, non raisonné, d'une ou de plusieurs formes de l'art; on a pris l'une des applications du principe pour l'art lui-même, et on a dit alors avec beaucoup de raison: «Toute imitation est funeste, si nous proscrivons l'imitation des arts de l'antiquité, nous ne pouvons prescrire l'imitation des arts du moyen âge.» Mais remplaçant l'enseignement de telle ou telle forme, d'une des applications du principe, par l'enseignement du principe lui-même, on ne prescrit pas l'imitation, on ne fait que se servir d'une méthode vraie qui permet à chacun de suivre ses inspirations. Nous savons bien qu'il est une école pour laquelle des principes sont un embarras: elle veut que la fantaisie soit le seul guide de l'artiste. La fantaisie a des tours charmants quand elle n'est que le vernis d'un esprit réfléchi, observateur, quand elle couvre d'un vêtement à mille reflets imprévus un corps solide, bien fait et sain; mais rien n'est plus monotone et fatigant que la fantaisie lorsqu'elle est seule et ne drape qu'un corps inconsistant, chétif et pauvre. Il y a certainement de la fantaisie, et beaucoup, dans l'ornementation architectonique de notre école française; mais elle ne fait que se jouer autour des principes solides, vrais, dérivés d'une observation subtile de la nature; la fantaisie alors n'est autre chose que la grâce qui sait éviter la pédanterie. Poursuivons notre étude.

Voici (14) une plante bien vulgaire, le Cresson. Regardons cependant avec attention ces tiges souples et grasses, ces pétioles bien soudées, ces courbes gracieuses des limbes, leur profil A. Dans ces limbes cependant, il y a une indécision de contour qui ne se prête pas à la décoration monumentale; les stipules B jettent de la confusion au milieu des masses. Pour faire un ornement avec cette plante, il faut en sacrifier quelque chose, donner de la fermeté aux silhouettes des pétioles; il faut prendre et laisser, ajouter et retrancher; ce qu'il faut conserver, c'est la force, la grâce, la souplesse, l'aisance de ces contours. Avec une adresse incomparable, les sculpteurs de Notre-Dame de Paris sont arrivés à ce résultat (15) 515.

Tout en conservant la silhouette de ces feuilles de cresson, ils leur ont donné un accent plus ferme, monumental, précis; entre ces limbes, ils ont ajouté des grappes qui donnent de la grandeur et de la finesse en même temps à l'ornement. Ils ont vu, étudié la nature, et en ont tiré une création nouvelle. Ici, point de traditions des ornements romains ou byzantins: c'est original, vivant, bien compris comme composition, exécuté avec habileté. Cela se fait regarder comme toute oeuvre où l'art s'appuie sur la nature sans la copier platement.
Examinons encore cette feuille de Chélidoine (éclaire) (16), plante si commune dans nos campagnes; ces feuilles sont profondément pinnatifides, à folioles ovales, à dents et lobes arrondis; leur faisceau fibreux est accusé, épais; les stipules latérales développées.

Il s'agit d'interpréter cette plante, belle par sa forme générale et par ses détails. Les mêmes sculpteurs 516 composent l'ornement (17). Ils retournent le limbe supérieur, le font retomber sur lui-même, le doublent d'une seconde feuille pour augmenter sa masse. Ils observent les deux stipules latérales; ils élargissent démesurément le pétiole; ils conservent ces oeils qui donnent un caractère particulier à la feuille de chélidoine, ces lobes arrondis; de ce faisceau fibreux, puissant, ils exagèrent la structure: ainsi, fig. 16, la section transversale d'une des stipules donne le tracé A; B étant le dessous de la feuille, ils adoptent la section C dans leur sculpture. Toujours attentifs à saisir les caractères principaux, tranchés, qui se prêtent à l'ornementation monumentale, ils font bon marché des détails dont la reproduction rapetisse ou amaigrit la sculpture. Sans chercher la symétrie absolue, cependant ils évitent les irrégularités incertaines de la plante. Ils composent un ornement avec plusieurs membres de végétaux, mais ils ont assez bien observé la nature pour donner à leur composition la vraisemblance. Beaucoup de ces inspirations sont des monstres, au point de vue de la science, mais ce sont des monstres qui sont créés viables. Nous retrouvons ces mêmes qualités chez les sculpteurs du XIIIe siècle, lorsqu'ils composent des animaux fantastiques (voy. SCULPTURE, GARGOUILLE).
Si ces artistes ne possèdent pas la science du botaniste, s'ils ne copient pas exactement telle plante ou telle partie de plante, ils ont cependant observé avec délicatesse certaines lois organiques dont ils ne s'écartent pas; ils connaissent l'anatomie du végétal et suivent ses règles générales: ainsi le faisceau fibreux, qui est comme l'ossature de la feuille, est toujours disposé d'une manière vraisemblable; le modelé du limbe est finement rendu et, comme nous le disions plus haut, inspiré de préférence sur ces petits végétaux dont la puissance d'organisation est relativement plus développée que chez les grands, dont les formes sont plus caractérisées, plus simples et d'un style plus ferme.

Dans la fig. 18, par exemple, qui nous donne, en A, des feuilles de la famille des Scrofuliacées 517, on voit comme le dernier limbe B se retourne sur lui-même lorsqu'il est récemment sorti du bourgeon; comme cette feuille d'Ombellifère C, de grandeur naturelle, est bien découpée, puissante, largement modelée. À l'aide de ces humbles végétaux, nos sculpteurs du XIIIe siècle vont composer une frise d'un aspect monumental, énergique et grand.

La petite feuille B leur aura fourni le motif de ces crochets aux têtes saillantes de la fig. 19 518, et la feuille d'ombellifère ce bouquet qui s'interpose entre chaque tige du crochet. Sur la façade occidentale de la cathédrale de Paris 519, le sculpteur a su faire de la feuille du Rumex (20) 520 une grande ornementation (21), d'une largeur de modelé et d'une pureté de forme incomparables.

Quelquefois d'une fleur (car rarement les fleurs se prêtent à la sculpture monumentale) ils composent un ornement qui n'a rien de la fleur, si ce n'est une silhouette particulière, un galbe étrange; mais aux corolles, dont les formes sont presque toujours indécises, ils substituent de véritables feuilles très-nettement caractérisées. Ainsi (22), de la fleur du Muflier, dont nous donnons les divers aspects en A, ils ont composé une tête de crochet B 521, dont les trois membres rappellent la feuille de l'Hépatique (23).

De ces mêmes fleurs de mufliers encore jeunes, C, ils ont fait des crochets feuillus extrêmement simples D, que l'on trouve aux angles des chapiteaux du commencement du XIIIe siècle. De cette feuille de l'hépatique, fig. 23, les artistes de cette époque ont tiré un grand parti: ils en ont orné les bandeaux, les corbeilles des chapiteaux; quelquefois ils ont superposé ces limbes pour former des cordons d'archivoltes; en conservant exactement ce modelé concave, simple, lisse, mais en accentuant un peu les découpures du limbe.
Bien que l'école laïque voulût évidemment rompre avec les traditions de la sculpture romane, on sent encore, jusque vers 1240, percer parfois quelques restes vagues de cette influence. Peut-être aussi les objets d'art que l'on rapportait alors de l'Orient en Occident fournissaient-ils certains motifs d'ornements qui ne peuvent être dérivés de la flore française; mais ces exemples sont si rares, ils sont, dirons-nous, tellement effacés, qu'ils ne font que confirmer la règle. D'ailleurs, les maîtres qui construisaient nos édifices du commencement du XIIIe siècle étaient obligés de recourir à un si grand nombre de sculpteurs pour réaliser leurs conceptions, qu'ils devaient souvent employer et des vieillards et des jeunes gens; les premiers, nécessairement imbus des traditions romanes, ne pouvaient tout à coup se faire à la mode nouvelle et mêlaient, timidement il est vrai, les restes de l'art de leur temps aux modèles qu'on leur imposait. Comme preuve de la répulsion de l'école laïque pour ces traditions vieillies, c'est que l'on ne trouve des réminiscences du passé, dans la sculpture, que sur certaines parties sacrifiées, peu apparentes des monuments. Là où la sculpture était visible, où elle occupait une place importante, on reconnaît, au contraire, l'emploi de la flore nouvelle dès les premières années du XIIIe siècle.
L'esprit d'analyse, de recherche, de rationalisme de l'école laïque repoussait, dans l'ornementation architectonique comme dans la construction, les traditions romanes: d'abord, parce que ces traditions appartenaient aux anciens ordres religieux, et qu'une réaction générale s'était faite contre ces ordres; puis, parce que la nouvelle école tenait à se rendre compte de tout, ou plutôt à donner la raison de tout ce qu'elle créait. C'était un système qui, comme tout système, était inflexible, impérieux dans son expression, n'admettait nulle concession, nul écart. C'était une réforme radicale.
Si, comme nous l'avons vu au commencement de cet article, les moines clunisiens avaient introduit dans leur décoration sculptée quelques végétaux empruntés à la flore locale; s'ils avaient, peut-être les premiers, placé l'art de l'ornemaniste sur cette voie, il faut bien reconnaître qu'ils avaient adopté un grand nombre d'ornements qui dérivaient de la décadence romaine, quelques autres pris sur les objets ou les étoffes que l'Orient leur fournissait. Comme nous avons eu plusieurs fois l'occasion de signaler ce dernier fait, il est nécessaire, tout en restant dans le sujet de cet article, de donner nos preuves.
Nous possédons en France aujourd'hui, grâce à nos jardins et à nos serres-chaudes, un grand nombre de végétaux qui nous viennent du fond de l'Orient, et qui, au XIe siècle, étaient parfaitement inconnus en France. Telle est, par exemple, cette plante charmante désignée par les botanistes sous le nom de Diclytra, dont les belles grappes de fleurs affectent des formes si élégantes et d'un contour si original (24).

La Diclytra vient de Chine et de l'Inde. Nous ne savons si, au XIe siècle de notre ère, elle se trouvait sur les rives du Tigre et de l'Euphrate; mais ce qui est apparent pour tous, c'est que la forme bien caractérisée de ces fleurs est reproduite sur les étoffes ou les menus objets sculptés les plus anciens qui sont venus d'Orient par Byzance. Or nous trouvons parmi les cordons d'arcs doubleaux et d'archivoltes de l'église abbatiale de Vézelay des ornements qui ne sont qu'une interprétation mal comprise et de seconde main de ces fleurs (25).

Nous pourrions multiplier ces exemples, mais il faut nous borner. On comprend très-bien que ces ornements, aux yeux de gens qui prétendaient trouver à toute chose une raison d'être, une origine, n'étaient que des conceptions barbares, dues au hasard, n'ayant aucune signification, qu'ils devaient rejeter, par conséquent. Aussi, l'école laïque tombe-t-elle bientôt dans l'abus de son système; après avoir interprété, arrangé la flore naturelle des champs, pour l'approprier aux données sévères de la sculpture monumentale, elle arrive à imiter scrupuleusement cette flore, d'abord avec réserve, en choisissant soigneusement les végétaux qui, par leur forme, se prêtent le mieux à la sculpture, puis plus tard en prenant les plantes les plus souples, les plus déliées, puis en exagérant même le modelé de ces productions naturelles. Cette seconde phase de l'art gothique est plus facile à faire connaître que la première; elle est encore pleine d'intérêt. En se rapprochant davantage de la nature, les sculpteurs du milieu du XIIIe siècle, observateurs fins et scrupuleux, saisissent les caractères généraux de la forme des plantes et reproduisent ces caractères avec adresse. Ils aiment les végétaux, ils connaissent leurs allures, ils savent comment s'attachent les pétioles des feuilles, comment se disposent leurs faisceaux fibreux; ils conservent et reproduisent avec soin ces contours si beaux, parce qu'ils expriment toujours une fonction ou se soumettent aux nécessités de l'organisme; ils trouvent dans les végétaux les qualités qu'ils cherchent à faire ressortir dans la structure de leurs édifices, quelque chose de vrai, de pratique, de raisonné: aussi y a-t-il harmonie parfaite entre cette structure et l'ornementation. Jamais celle-ci n'est un placage, une superfétation. L'ornementation de l'architecture gothique de la belle époque est comme une végétation naturelle de la structure; c'est pour cela qu'on ne fait rien qui puisse satisfaire le goût, lorsqu'en adoptant le mode de construire de ces architectes raisonneurs, on veut y appliquer une ornementation prise ailleurs ou de fantaisie. La construction gothique est (nous l'avons démontré ailleurs) la conséquence d'un système raisonné, logique; les profils sont tracés en raison de l'objet; de même, aussi, l'ornementation a ses lois comme les produits naturels qui lui servent de types. Ces artistes vont jusqu'à admettre la variété que l'on remarque dans les feuilles ou fleurs d'un même végétal, ils ont observé comment procède la nature et ils procèdent comme elle. Pourquoi et comment avons-nous perdu ces charmantes facultés, inhérentes à notre pays? Pourquoi avons-nous abandonné ces méthodes d'art sorties de notre esprit gaulois? Pourquoi, au lieu d'aller recourir aux sources vraies, aux modèles que nous fournit notre intelligence, notre faculté de comprendre la nature, avons-nous été chercher des arts étrangers, abâtardis, pour les copier sans les comprendre, puis recopier ces copies? Nous nous garderons de le dire ici, parce que ce sujet nous entraînerait trop loin (voy. GOÛT, STYLE). Constatons simplement que ce que l'on appelle vulgairement les fantaisies de l'art gothique sont, dans la structure comme pour l'ornementation, des déductions très-logiques et très-délicates d'un système complet, d'un corps de doctrine établi sur une suite d'observations vraies, profondes et justes.
Une preuve que le principe d'ornementation admis par la grande école laïque d'architecture est fertile, c'est que chaque province en fait une application différente en raison de son caractère propre. Dans l'Île-de-France, l'imitation servile des végétaux ne se fait sentir qu'assez tard, vers la seconde moitié du XIIIe siècle; pendant longtemps, l'interprétation de la nature, le style, persistent dans les grands ornements, l'imitation matérielle étant permise seulement dans quelques détails trop peu importants pour influer sur les lignes de l'architecture. En Champagne, l'imitation matérielle paraît plus tôt; elle incline rapidement vers la sécheresse et la manière. En Bourgogne, l'imitation se fait sentir dès que le gothique apparaît; mais elle conserve longtemps un tel caractère de grandeur, de puissance, elle est si vivante, qu'elle étouffe, pour ainsi dire, ses modèles sous sa plantureuse apparence. La flore architectonique de la Bourgogne possède, jusqu'à la fin du XIIIe siècle, un caractère large, énergique, qui ne tombe jamais dans la manière; elle est toujours monumentale, bien qu'elle reproduise souvent les végétaux avec une scrupuleuse exactitude. Ce n'est pas en Bourgogne qu'il faut aller chercher ces délicates frises et archivoltes de feuillages que nous voyons sculptées, dès 1257, sur le portail méridional et sous les voussures de la porte Rouge de Notre-Dame de Paris, ou de l'ancienne porte de la chapelle de la Vierge de Saint-Germain-des-Prés 522; mais nous y trouvons encore, dans les monuments du milieu du XIIIe siècle, de grands chapiteaux à larges feuillages, de hautes frises dont la végétation de pierre est largement traitée.


Les sculpteurs bourguignons vont chercher les végétaux dont les feuilles sont hardiment découpées, comme celles de l'Ancolie (26), de la Chrysantème (27), du Persil (28); dont les pétioles et les faisceaux fibreux sont longs, bien attachés, vivement accentués. Ils aiment les jeunes pousses de la Vigne (29), les boutons du Liseron (30), les feuilles, d'un si beau caractère, de la Scabieuse (31).

Ils dédaignent l'Églantier, souvent reproduit par les sculpteurs du XIIIe siècle, le Trèfle, les feuilles de la Mauve, de la Brione, des Ombellifères, de la Chélidoine, d'un modelé si doux, de la Potentille, si fines, des Géraniums, si délicates. S'ils veulent se servir des feuillages à contours simples mais d'un modelé puissant, ils cueillent l'Aristoloche, la Violette, l'Oseille, l'Hépatique, le Fraisier, le Plantain, le Lierre. Observons, par exemple, comment ces hardis sculpteurs ont tiré parti des feuilles de la Chrysanthème et du Persil. On voit, sur la porte principale de la façade de l'église abbatiale de Vézelay, une belle archivolte refaite vers 1240 autour d'un cintre du XIIe siècle. Cette archivolte se compose d'une suite de claveaux portant chacun, dans une gorge, un large bouquet de feuilles vigoureusement retournées sur elles-mêmes et refouillées de main de maître. L'un de ces bouquets A, que nous donnons ici (32), reproduit des feuilles de Persil; l'autre, B, des feuilles de Chrysanthème.

Ce n'est pas là cette sculpture rangée, contenue, soumise aux profils, que nous trouvons à la même époque sur les monuments de l'Île-de-France. C'est une véritable végétation reproduite avec un surcroît de sève. Le sang bourguignon a poussé la main de l'artiste. Il prend la nature, il ne l'arrange pas comme son confrère des bords de la Seine et de la Marne; il la développe, il l'exagère. N'est-ce point un art, celui qui permet ainsi à l'artiste d'imprimer si vivement son caractère sur son oeuvre, tout en suivant un principe admis? Bien que les sculpteurs de nos trois écoles laïques françaises choisissent les végétaux qui s'accordent avec leur tempérament, tous appliquent scrupuleusement certaines lois qui, aux yeux du botaniste, ne sont pas suffisantes pour indiquer l'individualité de la plante, mais qui, pour les artistes, sont les véritables: celles dont l'observation donne à chaque imitation d'un végétal sa physionomie, son caractère propre. Lorsque aujourd'hui nous copions une centième copie d'une feuille d'Acanthe ou d'Angélique, parce que les Grecs ont imité ces végétaux, nous pouvons faire faire à nos sculpteurs d'ornement une oeuvre parfaite, comme exécution, sur le marbre, la pierre, le stuc ou le bois; mais nous ne saurions donner les qualités apparentes de la vie à ces imitations de centième main: ce ne sont là que des décorations glacées qui n'intéressent personne, ne font songer à autre chose, sinon que nous avons fait faire un chapiteau ou une frise. Il est même admis que pour occuper le moins possible l'oeil du passant, nous répéterons dix, vingt, cent fois le même chapiteau, sur un modèle identique. Ce point établi, que l'architecture pour être classique doit être ennuyeuse, nous ne pouvons, sous peine d'être mis au ban de l'école classique, essayer d'intéresser le public à nos oeuvres. Pourvu que l'ornementation sculptée soit propre, égale, uniforme, chacun doit être satisfait; on ne s'inquiète point de savoir si ces feuilles qui courent sur nos tympans, si ces enroulements qui se développent sur une frise, ont quelques points de rapport avec les végétaux; s'ils sont créés viables, s'ils se soumettent à ces lois admirables, parce qu'elles sont raisonnables, de la flore naturelle. Les artistes du XIIIe siècle, que l'on veut bien croire livrés à la fantaisie, ont d'autres scrupules: ils pensent que des ornements soumis à une même ordonnance ne doivent pas, pour cela, être tous coulés dans un même moule; que le public prendra quelque plaisir à voir vingt chapiteaux différant par les détails; qu'il aimera retrouver autour de ces chapiteaux, sur ces bandeaux, sous ces archivoltes, les plantes de ses champs; qu'imiter pour imiter, mieux vaut chercher ses modèles dans la nature, qui est toujours vraie, souvent belle et variée, que d'aller copier des passementeries byzantines ou des ornements romains exécutés à la tâche par des artistes peu soucieux de la forme, d'après des traditions mal comprises; que la flore locale étant admise comme point de départ de toute ornementation, les types étant suffisamment variés, faciles à trouver, vivants, chacun peut, suivant son goût ou son mérite, trouver des applications innombrables de ces types; que, dans les arts, s'il faut établir des principes très-rigoureux, il est nécessaire de permettre toutes les applications qu'on en peut faire. Si bien que ces artistes laïques du XIIIe siècle, qui ont fermement cru ouvrir aux arts une ère de liberté, de progrès, et qui l'ont ouverte en effet, seraient probablement étonnés s'ils entendaient dire aujourd'hui, par ceux qui veulent nous river aux arts de l'antiquité et à leurs imitations non raisonnées, que cet art du XIIIe siècle est un art suranné, sans applications nouvelles.
«Eh! qui vous empêche d'en faire? pourraient-ils répondre; nous n'avons pas imposé des formes, nous n'avons mis que des principes en avant, soit en construction, soit en ornementation; nous avons pris la forme, il est vrai, qui nous semblait le mieux s'accorder avec ces principes et notre goût; mais qui vous interdit d'en prendre d'autres, ou de modifier celles que nous avons adoptées? Croyez-vous être neuf parce que vous imitez un chapiteau du temple de Mars Vengeur, ou d'une maison de Pompéi, ou une arabesque de la Renaissance, ou un cartouche du XVIIe siècle, ou une frise du boudoir de madame de Pompadour? Ne pensez-vous point qu'il y aurait plus de chances de trouver des formes neuves en allant cueillir dans les bois quelques-unes de ces herbes sur lesquelles vous marchez, indifférents; en analysant ces plantes, comme nous le faisions nous-mêmes; en examinant les angles de leurs pétioles, le galbe de leurs feuilles, les attaches de leurs tigettes? Qui vous demande de copier nos chapiteaux? Allez chercher les mêmes modèles que nous, tâchez de les mieux comprendre que nous, ce qui ne vous sera pas difficile, puisque vous êtes plus savants et que toute la terre apporte ses végétaux dans vos serres. Est-ce que nous nous copiions réciproquement? est-ce que nos artistes n'allaient pas recourir sans cesse à ces sources naturelles? Il y a peut-être un million de chapiteaux de notre temps en France, vous n'en trouverez pas deux identiquement semblables; il en est de même pour toute notre ornementation sculptée. Nous avons reproduit des milliers de fois et la feuille de vigne, et celle du figuier, et celle du lierre, et celles des géraniums, et celle de l'érable, et celle de la grenadine, et celle de la violette, et celles des fougères; mais pour faire une feuille d'érable nous n'allions pas copier la sculpture de notre voisin, nous allions nous promener dans les taillis; aussi nos feuilles d'érable sculptées sur les édifices que nous avons élevés sont aussi variées que peuvent l'être celles qui poussent dans les bois. D'ailleurs, avec ces fragments de végétaux, nous composions, nous inventions des combinaisons neuves; pourquoi ne pas faire comme nous avons fait, et en quoi cette méthode vous fera-t-elle rétrograder?--Rétrograder est votre plus grande crainte.--Bien; est-ce pour cela que vous repoussez le seul art qui permette d'aller en avant à cause de la largeur et de la libéralité de ses principes? Et, pour ne parler que de l'ornementation sculptée, pensez-vous ouvrir des voies nouvelles en copiant une fleur ciselée par les Étrusques, ou en reproduisant pauvrement quelque beau chapiteau du temps d'Auguste, ou en imitant la sculpture étiolée de la fin du dernier siècle? Cependant que vous disputez s'il est plus conforme au goût immuable de copier les Romains ou les lourdes fantaisies du siècle de Louis XIV, les champs continuent à se couvrir, chaque printemps, de leur charmante parure, les arbres bourgeonnent toujours, les fleurs ne cessent d'éclore; que n'allez-vous donc puiser à cet écrin inépuisable? C'est parce que nous voulions fonder une méthode d'art toujours jeune, toujours vivante, que nous allions y puiser nous-mêmes. Les végétaux sont-ils moins variés, ont-ils moins de grâce et de souplesse que de notre temps?»
Que pourrions-nous répondre à ces artistes, qui parlent dans leurs oeuvres, nos devanciers de six siècles, mais plus jeunes que nous et surtout plus amis du progrès?
Ce que l'on ne saurait trop étudier dans les applications que ces artistes ont faites de la flore à l'ornementation sculptée, c'est l'exacte observation des caractères principaux de la forme. Les détails, ils les négligent ou les suppriment; mais ce qu'ils expriment avec l'attention d'amants passionnés de la nature, ce sont les grandes lignes, celles qui caractérisent chaque végétal, comme, par exemple, les angles formés par les faisceaux fibreux des feuilles, le port des pétioles, les belles lignes données par le bord de ces feuilles, le caractère de leurs échancrures, les profils saillants du modelé, le renflement énergique des coussinets. Analysons, car, sur ce sujet qui nous paraît important, il ne faut laisser aucune incertitude dans l'esprit de nos lecteurs. Les feuilles, par exemple, ne sont flexibles que dans un sens, elles peuvent se recourber dans le sens de leur plat; mais, à cause du tissu fibreux qui forme un étrésillonnement entre leurs côtes, elles ne peuvent se contourner dans le sens de leur champ.

Ainsi (33) une feuille d'Érable A peut être tortillée comme l'indique le tracé B, mais ne saurait donner le tracé G sans détruire ou chiffonner son tissu et altérer sa forme. Cependant nous voyons que, depuis la Renaissance, où l'étude de ces productions naturelles a été remplacée par des imitations de la sculpture antique de plus en plus corrompues, nos sculpteurs d'ornement ont enfreint cette loi principale. Son observation, au contraire, laisse à la sculpture monumentale une fermeté, une vie nécessaires. Les artistes gothiques ont-ils une frise ou une guirlande de feuilles à faire: en plaçant les feuilles dans tous les sens, suivant les besoins de l'ornementation, ils ont le soin de conserver à chaque feuille l'immobilité qu'elle doit nécessairement garder dans le sens du champ. Pour obtenir de la variété dans le modelé, ils présentent quelquefois ces feuilles tantôt du côté du dos, tantôt du côté du plat, ainsi que le fait voir la fig. 34 523. Ils observent que les faisceaux fibreux imposent nécessairement la forme au tissu, comme les os des animaux imposent la forme des muscles. C'est donc sur les faisceaux fibreux qu'ils portent toute leur attention, afin qu'étant obligés de supprimer certains détails pour donner à la sculpture l'aspect monumental qu'elle doit garder, ils puissent conserver toujours la physionomie du végétal. Ainsi, par exemple, d'une feuille de Figuier (35), ils retrancheront beaucoup de dentelures, assez molles de forme, qui alourdissent la feuille, mais (36) 524 ils conserveront exactement les angles du faisceau fibreux; ils exagéreront le caractère des échancrures principales; ils saisiront tous les points saillants, les belles lignes des redents; ils donneront au modelé assez plat de cette feuille une grande énergie, tout en respectant son galbe.


Mais si nous jetons les yeux sur la fig. 35, nous voyons que dans la feuille de figuier, comme dans la plupart des feuilles, les contours se contrarient, en conservant cependant, de chaque côté des branches fibreuses, des portions de tissus qui présentent une certaine symétrie. Ainsi, en face des dépressions A se trouvent des renflements B. La même observation peut être faite sur les contours musculeux des animaux. Cette disposition des bords des tissus donne aux feuilles une souplesse et une élégance particulières. Les sculpteurs du moyen âge ont, en cela, suivi fidèlement les règles naturelles dans tous les cas où les besoins de l'ornementation n'exigeaient pas une pondération rigoureuse des deux bords, comme dans les parties milieux. La fig. 36, qui nous montre comme ces sculpteurs ont interprété la feuille du figuier, ne donne deux bords absolument pondérés que sur le membre central de la feuille; quant aux six autres membres, ils sont galbés suivant le principe naturel. Leur imitation de la flore est donc parfaitement intelligente; l'artiste sait faire les sacrifices nécessaires; d'une plante, il produit une oeuvre d'art qui lui appartient, bien qu'elle conserve et fasse ressortir même les caractères distinctifs, les qualités, les allures de l'objet naturel. La feuille sculptée que nous donnons ici a une physionomie beaucoup plus caractérisée que la feuille de l'arbre. Elle est (au point de vue de l'art sinon de la science) plus feuille de figuier que n'est la véritable.
Il est rare que les sculpteurs du XIIIe siècle prennent pour modèles des feuilles aussi grandes d'échelle que celle-ci; habituellement, ainsi que nous l'avons dit plus haut, ils vont chercher leurs inspirations dans les végétaux les plus petits, parce qu'ils possèdent des formes plus simples, des contours plus énergiques, un modelé plus puissant. On a pu voir, par les exemples déjà donnés, quel parti l'ornemaniste peut tirer de ces plantes qui s'élèvent à peine au-dessus du sol. Ce qui paraît avoir déterminé le choix de ces artistes, c'est, d'abord, la belle disposition des pétioles et des faisceaux fibreux; puis, les angles et les contours donnés par les tissus des feuilles. Lorsque les contours sont mous, n'accusent pas clairement l'anatomie, contrarient la direction des faisceaux fibreux, ce qui arrive quelquefois, ils rejettent la feuille. Or les feuilles dont l'anatomie est la plus belle et la plus claire, ce sont celles des plus petites plantes.

Voici (37) une Fougère fort commune, copiée un peu plus grande que nature. Y a-t-il rien de plus énergique comme disposition de lignes et comme modelé que cette petite plante? Que l'on observe les belles courbes des pétioles, la délicatesse et la fermeté des jonctions, on comprendra qu'un sculpteur peut tirer un grand parti de ce modèle; aussi, ne s'est-on pas fait faute de s'en inspirer dans les ornements du XIIIe siècle et même du XIVe. Ces fines dentelures des extrémités des feuilles ont souvent servi également comme moyen décoratif de grands ornements auxquels on tenait à donner un aspect délicat et précieux (38) 525.


Les artistes du XIVe siècle ne vont chercher des exemples que parmi les plantes d'un modelé tourmenté: ils choisissent l'Ellébore noire, les Chrysanthèmes, la Sauge, la Grenadine, le Fraisier, la Mauve, les Géraniums, les Fougères à larges feuilles, le Chêne, l'Érable, la Passiflore, le Lierre, la Vigne, et ils copient les feuilles de ces végétaux avec une rare perfection, en exagérant souvent leur modelé ou leurs contours. Ils abandonnent ces bourgeons, ces graines, avec lesquels les artistes de la fin du XIIe siècle avaient su composer de si beaux ornements. Non-seulement ils choisissent des feuilles parvenues à leur entier développement, mais encore ils aiment à les froisser; ce qu'ils veulent, c'est produire de l'effet, et à tout prendre, leurs ornements deviennent confus, mesquins, par le manque de simplicité dans les contours et le modelé. De la feuille de vigne, dont le galbe est large, disposé par grands plans, ils trouvent moyen de composer l'ornement (39) 526. Ils aiment les lignes ondulées, les feuilles plissées, chiffonnées; ils cueillent cette grande fougère qui vient sur les parois des murs humides (40); ils observent ces capsules ou coques A, placées sur la surface inférieure des feuilles et qui forment des bosses sur leur face externe, et en exagérant encore les plis des appendices foliacés, ils obtiennent des ornements d'un contour chiffonné, d'un modelé gras, dont l'aspect est saisissant de près, mais qui, à distance, ne présentent plus qu'une suite de ressauts de lumières et d'ombres très-difficiles à comprendre (41) 527.

Vers le commencement du XVe siècle, l'imitation des végétaux tombe absolument dans le réalisme. Les sculpteurs alors choisissent les feuillages les plus découpés, la Passiflore, les Chardons, les Épines, l'Armoise (42); et, de cette dernière plante, si petite qu'à peine l'aperçoit-on sur les terrains pierreux où elle pousse, ils composent de grandes et larges frises, des cordons, des crochets énergiques, mais refouillés à l'excès. Cependant on conçoit qu'avec ces feuilles, dont les lignes sont belles, on puisse faire de grands ornements: c'était encore là un reste des traditions de l'école laïque du XIIIe siècle, qui cherchait ses modèles d'ornements parmi les infimes créations de l'ordre végétal. Les artistes du XVe siècle aiment aussi à imiter les algues d'eau douce ou marines, d'un modelé très-puissant (voy. FLEURON, SCULPTURE).
À la fin du XVe siècle, les artistes gothiques avaient atteint les dernières limites du possible dans l'art de la construction; pour l'ornementation, ils étaient de même arrivés aussi loin que faire se pouvait dans l'imitation des végétaux les plus délicats et les plus difficiles à rendre sur la pierre ou le bois; la Renaissance vint arrêter cette progression de la sculpture vers le réalisme outré. Pendant quelques années, de 1480 à 1510, on voit la vieille école française de sculpture mêler ses traditions aux réminiscences de l'antiquité; mais il est facile de reconnaître que les artistes ne vont plus puiser aux sources naturelles, qu'ils ne consultent plus la flore, et que leurs ornements ne sont autre chose que des poncifs plus ou moins habilement exécutés. Ils copient, ou interprètent plutôt, les ornements empruntés à l'antiquité sans les comprendre; en mêlant ces imitations aux derniers vestiges de l'art gothique, ils produisent encore des oeuvres remarquables, tant le goût de la sculpture était vivace chez nous alors, tant les exécutants étaient habiles de la main. Mais, à travers cette confusion de styles et d'origines, on a bien de la peine à suivre la marche d'un art; c'est un mouvement imprimé par une école puissante, qui continue longtemps après la disparition de cette école. Peu à peu, cependant, l'exécution s'amollit, et l'art de la sculpture d'ornement, à la fin du XVIe siècle, n'est plus qu'un pâle reflet de ce qu'il était encore en France sous le règne de Louis XII; l'étude de la nature n'entre plus pour rien ni dans la composition ni dans le travail de l'artiste; les ornements perdent ce caractère vivant et original qu'ils possédaient un siècle auparavant pour se reproduire de proche en proche sur des types qui, chaque jour, s'abâtardissent. Vers le commencement du XVIIe siècle, l'ornementation se relève quelque peu par suite d'une étude plus attentive de l'antiquité; mais l'originalité, la séve manquent depuis lors à cet art que notre vieille école laïque avait su porter si haut.
FONDATION, s. f. Les Romains de l'empire ont toujours fondé leurs édifices sur un sol résistant, au moyen de larges blocages qui forment, sous les constructions, des empattements homogènes, solides, composés de débris de pierres, de cailloux, quelquefois de fragments de terre cuite et d'un mortier excellent. Les fondations romaines sont de véritables rochers factices sur lesquels on pouvait asseoir les bâtisses les plus lourdes sans craindre les ruptures et les tassements. D'ailleurs la construction romaine étant concrète, sans élasticité, il fallait nécessairement l'établir sur des bases immuables. Pendant la période romane, les édifices sont généralement mal fondés, et cela tenait à plusieurs causes: on connaissait peu la nature des sols, les approvisionnements considérables de matériaux étaient difficiles, on ne savait plus cuire et employer convenablement la chaux. Nous avons expliqué ailleurs (voy. CARRIÈRE, CONSTRUCTION) les raisons qui s'opposaient à ce que les constructeurs romans pussent réunir beaucoup de matériaux en un court espace de temps, et pourquoi, n'ayant pas les ressources dont disposaient les Romains, ils négligeaient souvent les fondations des édifices les plus importants.
Les architectes laïques de l'école du XIIe siècle avaient vu tant de constructions romanes s'écrouler, par faute de fondations ou par suite de la poussée des voûtes mal contre-buttées, qu'ils voulurent cependant faire en sorte d'éviter ces sinistres; à cet effet, ils mirent un soin particulier à établir des fondations durables et à rendre leurs constructions assez élastiques pour que les tassements ne fussent plus à craindre. Mais si habile que nous supposions un architecte, faut-il qu'on lui fournisse les moyens matériels de construire; or, dans l'édification des grandes cathédrales et de beaucoup d'églises, l'empressement et le zèle des évêques ne correspondaient pas toujours à l'étendue de leurs ressources financières; alors le clergé séculier tenait surtout à faire paraître son influence: il s'agissait pour lui d'amoindrir la puissance des monastères, d'attirer à lui les fidèles; dans bien des cas on voulut donc, avec des moyens relativement insuffisants, élever des édifices religieux qui pussent dépasser en étendue et en richesse les églises des moines Bénédictins. C'est ce qui explique pourquoi quelques-unes de nos grandes cathédrales, comme celles de Troyes, de Châlons-sur-Marne, de Séez, de Meaux, sont mal fondées. Il fallait élever rapidement des édifices somptueux, d'une belle apparence, et, les ressources étant relativement médiocres, on ne voulait pas les enfouir en grande partie au-dessous du sol. D'autres cathédrales, élevées au milieu de diocèses riches, comme celles de Paris, de Reims, d'Amiens, de Bourges, sort au contraire fondées avec un luxe de matériaux extraordinaire. Quant aux châteaux, quant aux constructions militaires et civiles, elles sont toujours bien fondées; les seigneurs laïques comme les municipalités tenaient moins à l'apparence, voulaient des constructions durables, parce que le châtelain construisait pour se garder lui et les siens à perpétuité, que les villes bâtissaient pour une longue suite de générations.
Les fondations de la période romane sont toujours faites en gros blocages jetés pêle-mêle dans un bain de mortier; rarement elles sont revêtues. Les fondations des constructions gothiques sont au contraire souvent revêtues de parements de pierres de taille (libages) posées par assises régulières et proprement taillées; les massifs sont maçonnés en moellons bloqués dans un bon mortier. Ces fondations sont (quand les ressources ne manquaient pas) très-largement empattées et s'appuient sur des sols résistants. Il faut dire cependant, à ce sujet, que les constructeurs gothiques n'avaient pas les mêmes scrupules que nous: quand ils trouvaient un sol de remblai ancien, bien comprimé et tassé par les eaux, ils n'hésitaient pas à s'établir dessus. D'anciennes vases, des limons déposés par les eaux, des remblais longtemps infiltrés, leur paraissaient être des sols suffisants; mais aussi, dans ce cas, donnaient-ils à la base des fondations une large assiette. Ils ne manquaient jamais de relier entre eux tous les murs et massifs en fondation; c'est-à-dire que, sous un édifice composé de murs et de piles isolées, par exemple, ils formaient un gril de maçonnerie sous le sol, afin de rendre toutes les parties des fondements solidaires. Pendant les XIVe et XVe siècles, les fondations sont toujours établies avec un soin extrême sur le sol vierge, avec libages sous les points d'appui principaux et murs nombreux de liaison. Il arrive même souvent alors que les parements en fondation sont aussi bien dressés que ceux en élévation (voy. CONSTRUCTION).
FONTAINE, s. f. À toutes les époques, les fontaines ont été considérées comme des monuments d'utilité publique de premier ordre. Les Romains, lorsqu'ils établissaient une ville, ou lorsqu'ils prenaient possession d'anciennes cités, avant toute chose, pensaient à l'aménagement des eaux. Ils allaient au loin, s'il le fallait, chercher des sources abondantes, pures, et ne reculaient devant aucun travail, aucune dépense, pour conduire des masses d'eau considérables dans les centres de population. À Rome, bien que les quatre cinquièmes des aqueducs antiques soient détruits, ceux qui restent suffisent cependant pour fournir à la ville moderne une quantité d'eau plus considérable que celle qui alimente la ville de Paris, cinq fois plus populeuse. À Nîmes, à Lyon, à Fréjus, à Arles, à Autun, à Paris même, nous trouvons encore des traces d'aqueducs romains allant chercher les eaux très-loin et à des niveaux supérieurs pour pouvoir obtenir une distribution facile au moyen de grands réservoirs. Partout, en France, où se trouve une source abondante et salubre, on est presque certain de découvrir des restes de constructions romaines. Les Romains attachaient une importance majeure à la police urbaine; il n'y a pas de police sans une bonne édilité, il ne peut y avoir une bonne édilité sans eau. À cet égard, nous avons quelque chose à faire; beaucoup de nos grandes villes manquent d'eau encore aujourd'hui; on ne doit donc pas s'étonner si, pendant le moyen âge, les fontaines n'étaient pas très-communes au milieu des cités. Chez les Romains, l'eau était la véritable décoration de toute fontaine; on n'avait pas encore songé à élever des fontaines dans lesquelles l'eau n'est qu'un accessoire plus incommode qu'utile. Les quelques fontaines du moyen âge que nous avons pu recueillir n'ont pas cet aspect monumental, ne présentent point ces amas de pierre, de marbre et de bronze, que l'on se croit obligé d'accumuler de nos jours pour accompagner un filet d'eau. Cependant (et cela dérivait probablement des traditions de l'antiquité) l'eau semblait une chose si précieuse, qu'on ne la donnait au public qu'entourée de ce qui pouvait faire ressortir sa valeur; on la ménageait, on la mettait à la portée de tous, mais avec plus de respect que de vanité. La fontaine du moyen âge est donc un monument d'utilité, non point une décoration, un prétexte pour figurer des allégories de marbre et de métal plus ou moins ingénieuses, mais qui ont toutes le grand défaut d'être ridicules pour des gens qui croient médiocrement à la mythologie, aux fleuves barbus et aux naïades couronnées de roseaux. La fontaine qui imprime une trace vive dans le souvenir, c'est celle qu'on trouve au bord de la route poudreuse, laissant voir son petit bassin d'eau limpide sous un abri, sa tasse de cuivre attachée à une chaîne et la modeste inscription rappelant le nom du fondateur. Sans être toujours aussi humble, la fontaine du moyen âge conserve quelque chose de la simplicité de ce programme; elle n'assourdit et n'éclabousse pas, mais elle invite le passant à l'approcher. Il n'est pas nécessaire de recevoir une douche pour s'y désaltérer.
La fontaine du moyen âge est un petit bassin couvert dans lequel on vient puiser en descendant quelques marches, ou une colonne, une pile entourée d'une large cuve et d'un plus ou moins grand nombre de tuyaux qui distribuent l'eau à tous venants. Les bassins entourés de degrés étaient réservés aux jardins, aux vergers.

Dans les contes et fabliaux des XIIe et XIIIe siècles, il est souvent question de ces sortes de fontaines(1), et sans sortir du domaine de la réalité, nous voyons encore, en Poitou, en Normandie, en Bretagne et en Bourgogne, un assez grand nombre de ces fontaines placées sur le bord des routes pour les besoins du voyageur. La source est ordinairement couverte par une arcade en maçonnerie, le bassin s'avançant sur la voie comme pour inviter à y puiser; des bancs permettent de se reposer sur ses bords; une niche, ménagée au fond de la voûte, reçoit la statue de la Vierge ou d'un saint; les armoiries du fondateur décorent le tympan de l'arcade ou les parois de la fontaine 528. En dehors du faubourg de Poitiers, le long du Clain, on voit encore une fontaine de ce genre, restaurée en 1579, mais dont la construction remonte au XIVe siècle. Elle tourne le dos à la route, et on arrive à son bassin au moyen d'une rampe établie sur l'une des parois de l'édicule. Les armoiries du donateur sont disposées de façon que de la route et de cette rampe on peut les reconnaître. La disposition de ces fontaines est évidemment fort ancienne; on y reconnaît la trace de l'antiquité romaine. Un édicule protégeant la source et recevant la divinité qui en est la dispensatrice, une inscription signalant le nom du fondateur à la reconnaissance publique, des bancs pour se reposer, n'est-ce pas là un programme antique? Mais ces sortes de fontaines ne conviennent guère qu'à la campagne; dans les villes, sur les places ou les carrefours, il faut que le bassin soit accessible à un grand nombre de personnes à la fois. Il faut que l'on puisse recueillir l'eau, non dans ce bassin qui est troublé par le mouvement des puiseurs, mais à la source même distribuée en un certain nombre de goulottes.

C'est ainsi qu'est disposée la fontaine du XIIe siècle que l'on voit encore à Provins en face de l'hôpital (2). Une vasque hexagone, une grosse colonne dont le chapiteau est percé de trois trous munis de têtes de bronze assez saillantes pour verser l'eau dans les vases que l'on apporte au bord de la vasque, tel est ce petit monument dans sa simplicité primitive. Peut-être, autrefois, le chapiteau était-il surmonté d'une statue ou d'un pinacle, comme certaines fontaines que l'on voit représentées dans des peintures et manuscrits du XIVe siècle. En A est tracé le plan de la fontaine de Provins, en B est donné le détail d'un des goulots de bronze.
Quelques villes d'Italie, Pérouse, Viterbe, Sienne, ont conservé leurs fontaines de la fin du XIIIe siècle et du commencement du XIVe. En France, nous possédions, à cette époque, d'assez belles fontaines urbaines; mais nous les avons détruites depuis longtemps; c'est à peine si, par hasard, on découvre quelques fragments de ces monuments dus à la générosité de souverains ou de riches seigneurs. Ils étaient composés à peu près de la même manière, c'est-à-dire qu'ils consistaient en un bassin inférieur élevé de deux à trois pieds au-dessus du sol (0,60 c. à 0,90 c.), bassin très-peu profond, fait pour recueillir l'eau des goulots, poser et laver les vases; bassin dans lequel on ne puisait pas; d'une pile centrale recevant de longs tuyaux de distribution arrivant jusque près du bord de ce bassin inférieur et permettant de remplir les cruches. La pile centrale était plus ou moins décorée, portait quelquefois une vasque supérieure laissant échapper de petits jets qui n'étaient là que pour l'agrément. Il y avait sur le parvis de Notre-Dame à Paris une assez belle fontaine de ce genre qui fut remplacée au XVIIe siècle par un monument fort lourd; on en voit une encore, mais mutilée et dénaturée, sur la place de la ville de Saint-Florentin (Yonne). À Brioude, il existe d'assez jolies fontaines du XIIIe siècle, dont la plupart des détails ont été modifiés. Les villes des bords du Rhin et de l'Allemagne possèdent aussi quelques fontaines monumentales d'une époque assez récente (XVe et XVIe siècles), quoique tracées sur les anciens programmes.


Nous donnons (3) une de ces fontaines du XIIIe siècle en plan, et (4) en élévation perspective. Le plan (fig. 3) indique, en A, la section horizontale du monument au-dessous de la vasque inférieure; en B, la section au-dessus de cette vasque, et en C la section de la pile supérieure portant la statue, avec la projection des deux vasques superposées. Ces fontaines étaient alimentées au moyen d'aqueducs souterrains, ainsi que nous avons souvent eu l'occasion de le constater. Ces aqueducs étaient habituellement en maçonnerie, revêtue à l'intérieur d'un bon enduit en ciment suivant la méthode romaine; rarement les conduites étaient en plomb; cependant nous en avons trouvé des fragments à Carcassonne, à Clermont (Auvergne) et dans le voisinage d'anciennes abbayes, à Saint-Denis près Paris, à Clairvaux. Près de Coutances, on voit encore les restes d'un aqueduc qui paraît dater du XIVe siècle; et qui, porté sur des arcades en tiers-point, traverse le vallon au nord-ouest de cette ville. Du Breul, dans son Théâtre des Antiquités de Paris, dit que les prévôts des marchands et échevins avaient «d'antiquité, pour conduire des eaux de sources aux fontaines de la ville, fait construire de grands aqueducs et canaux, composez de murs de maçonnerie et pierre de taille, pavez de grandes noües ou esviers aussi de pierre (comme aussi auroient iceux recouvert de fort grandes pierres) contenans, iceux aquéducs, cinq cents toises de longueur et plus, sans qu'il y aie aucune clarté sinon celle que l'on y peut porter avec feu, et de six pieds de hauteur sur trois pieds de largeur, le long desquels les personnes peuvent facilement cheminer la lumière à la main; lesquels aquéducs sont accompagnez d'auges ou réceptacles pour faire roüer et purifier l'eau des dites sources: à l'entrée desquels est une forme de bastiment, auquel y a un grand réceptacle servant d'acueil (d'émissaire) pour recevoir les eaues descendants d'une montagne sablonneuse, appellée la montagne de Belle-Ville-sur-Sablon, au haut et fin duquel aqueduc est un regard en forme ronde, et au milieu d'iceluy une forme de puits, servant d'auge à recevoir trois belles sources, descendant en iceluy par trois divers endroits. Édifice voûté en forme ronde appellé cul-de-four, garny de son ouverture pour une lanterne à jour; et en iceluy deux descentes de pareille forme ronde; édifice artiste et curieusement bâti: desquelles noües et esviers, en l'an 1457, en fut refait de neuf environ quatre vingt seize toises de longueur, le surplus desdits acquéducs ou canaux basty de grande antiquité...» Que cet aqueduc fût d'origine romaine ou qu'il ait été bâti dans les premiers siècles du moyen âge, toujours est-il qu'on s'en servait et qu'on l'entretenait encore au XVe siècle.
C'est principalement dans les monastères que l'on trouve les traces les plus nombreuses et les mieux conservées de travaux hydrauliques. Tous les cloîtres possédaient, au centre du préau ou le long d'une des galeries, de belles vasques de pierre ou de marbre, autour desquelles des tuyaux répartissant l'eau en une quantité de jets permettaient aux moines de faire leurs ablutions (voy. LAVABO). Ces fontaines affectent toutes à peu près la même forme jusque vers la fin du XIVe siècle. Au XVe siècle, la colonne, ou le faisceau de colonnes placé au centre d'une vasque circulaire, polygonale ou lobée, est souvent remplacée par un pinacle orné de sculptures.

Telle est une fontaine (5) que nous voyons figurée dans un manuscrit de cette époque 529. À Rouen, il existe encore un assez joli monument de ce genre qui date du milieu du XVe siècle 530. Lorsque les fontaines gothiques étaient adossées à une construction civile, elles ne se composaient que d'une petite vasque et d'un goulot posé dans un renfoncement pratiqué à même la muraille; aussi modestes que le sont nos bornes-fontaines, elles étaient seulement faites pour satisfaire aux besoins journaliers des habitants. Le moyen âge ne voyait nul inconvénient à mettre un peu d'art dans ses oeuvres les plus vulgaires; aujourd'hui, si nous poussons jusqu'à l'exagération la richesse et le luxe des monuments décoratifs de nos cités, nous rachetons ce défaut, si c'en est un, par la pauvreté et la banalité des objets les plus utiles, comme le sont nos bornes-fontaines, nos candélabres, nos supports d'éclairage.
FONTS, s. m. S'emploie au pluriel. Fonts baptismaux. Cuve destiné à contenir l'eau du baptême. Il y a lieu de supposer que, dans les premiers temps de l'Église, le baptême se donnait par aspersion, puisque les apôtres baptisaient des royaumes et des provinces entières, des milliers de personnes en un jour 531. Le baptême se fit ensuite par infusion 532; puis par immersion. Les Ariens plongeaient trois fois le catéchumène dans l'eau pour marquer qu'il y avait trois natures aussi bien que trois personnes en Dieu. Saint Grégoire le Grand conseille à saint Léandre, évêque de Séville 533, de ne pratiquer qu'une immersion. Le quatrième concile de Tolède, en 1633, a décidé la même chose et, rapportant la lettre de saint Grégoire, il déclare qu'une seule immersion signifie la mort et la résurrection de Jésus-Christ, et l'unité de la nature divine dans la trinité des personnes 534. Sans entrer dans de plus amples détails à ce sujet, nous nous contenterons d'observer que, pendant le cours du moyen âge, en Occident, le baptême par immersion fut toujours pratiqué. Les bas-reliefs, les peintures des manuscrits et des vitraux nous montrent les catéchumènes baptisés par immersion. «Autrefois, dit Thiers 535, dans la province de Reims, et peut-être aussi ailleurs, après le baptême on donnait du vin à boire à l'enfant, en lui disant ces paroles: Corpus et sanguis Domini nostri Jesu Christi custodiat te in vitam æternam. C'était encore l'usage du Périgord de bénir du vin après le baptême et d'en faire boire à l'enfant nouvellement baptisé. Le rituel de Périgueux, de 1536, nous marque toute cette cérémonie.» Cet auteur ajoute plus loin: «Depuis un peu plus d'un siècle (c'est-à-dire depuis le commencement du XVIIe siècle), la coutume s'est introduite en quantité de paroisses, et particulièrement de la campagne, de sonner les cloches après le baptême des enfants. Ce sont, à mon avis, les sonneurs, les sacristains, les fossoyeurs, les bedeaux, qui l'ont introduite, par la considération de l'intérêt bursal qui leur en revient... Le concile provincial de Reims, en 1583, n'autorise pas cette coutume...»
Jusqu'au IXe siècle, il paraîtrait qu'on ne baptisait solennellement que les jours de Pâques et de la Pentecôte; du moins cet usage semble-t-il avoir été établi à dater du Ve siècle, car il est certain que dans les premiers siècles du christianisme les apôtres baptisaient sans observer ni les jours ni les temps 536. Clovis fut baptisé le jour de Noël 537. Le pape saint Léon, qui s'élève avec force contre la coutume de baptiser en autres temps que le jour de la Résurrection, admet toutefois que le baptême peut être donné, en des cas extrêmes, hors le jour consacré.
Pascalin, évêque de Lilybée en Sicile, fait savoir au pape saint Léon, en 443, qu'il y avait, dans cette île, une église (du village de Meltines) dont les fonts se remplissaient miraculeusement tous les ans, la nuit de Pâques, à l'heure du baptême, sans qu'il y eût ni tuyau, ni canal, ni eau dans les environs. Après le baptême, cette eau disparaissait. Ajoutons, cependant, que saint Augustin dit clairement que le baptême pouvait être donné en tout temps: Per totum annum, sicut unicuique vel necessitas fuit vel voluntas...
La solennité donnée au sacrement du baptême explique pourquoi, dans le voisinage des églises les plus anciennes, il y avait un baptistère; c'est-à-dire un édifice assez spacieux pour contenir un certain nombre de catéchumènes venant le même jour pour recevoir le baptême. Ces édifices étaient ordinairement circulaires, occupés au centre par un bassin peu profond dans lequel on faisait descendre les personnes que l'on baptisait par immersion 538.
La coutume de baptiser les enfants peu après leur naissance, en tout temps, prévalut sur les défenses de saint Léon et des conciles de Tolède, d'Auxerre, de Paris et de Gironne; dès le XIe siècle, nous voyons que des cuves baptismales sont placées dans toutes les églises, non dans des édifices spéciaux, et que le baptême est donné par les prêtres, en dehors des fêtes de Pâques, de la Pentecôte ou de Noël. C'est précisément la date de ces fonts baptismaux les plus anciens qui nous porte à croire qu'alors (au XIe siècle) cette coutume s'était définitivement introduite en France. Comme il ne s'agissait plus de baptiser des païens convertis, mais des enfants nouveau-nés, ces fonts sont d'une petite dimension et ne diffèrent de ceux que l'on fait aujourd'hui que par leur forme. Il n'est pas besoin, en effet, d'une cuve bien grande pour immerger un nouveau-né. En souvenir des baptistères, c'est-à dire des édifices uniquement destinés à contenir la cuve baptismale, on observe que les fonts disposés dans l'église étaient généralement couverts d'un édicule (1) 539.

Quelquefois ces fonts étaient des cuves antiques, dépouilles de monuments romains. Le P. Du Breul 540 prétend que la cuve de porphyre rouge que l'on voyait, de son temps, dans l'église abbatiale de Saint-Denis, derrière les châsses des martyrs, et qui avait été prise par Dagobert à l'église de Saint-Hilaire de Poitiers, servait de fonts baptismaux. Nous n'avons point à nous occuper des baptistères ni des bassins qu'ils protégeaient, puisque ces monuments sont antérieurs à la période de l'art que nous étudions; les fonts baptismaux seuls doivent trouver place ici. Beaucoup de ces cuves, dès l'époque où elles furent en usage, étaient en métal, et consistaient en une large capsule enfermée et maintenue dans un cercle ou un châssis porté sur des colonnettes. Cette disposition paraît avoir été suivie souvent, lors même que les fonts étaient taillés dans un bloc de pierre.

Ainsi l'on voit, dans l'église de Saint-Pierre, à Montdidier, une cuve baptismale de la fin du XIe siècle, qui présente cette disposition (2). Dans la crypte de l'église Notre-Dame de Chartres, il existe encore une cuve en pierre, du XIIe siècle, taillée de façon à figurer un vase inscrit dans un châssis porté sur des colonnettes. Cette tradition persiste encore pendant le XIIIe siècle, ainsi que le démontre la fig. 3, copiée sur une cuve de l'église de Ver (canton de Sains, Picardie) 541.

Souvent les fonts baptismaux du XIIe siècle sont de forme barlongue, afin probablement de permettre de coucher et d'immerger entièrement l'enfant que l'on baptisait. Il existe une cuve baptismale de cette forme et de ce temps dans la cathédrale d'Amiens: c'est une grande auge de 0,60 c. de large sur une longueur de 1m,60 environ et une profondeur de 0,50 c. Elle est fort simple; aux quatre angles seulement sont sculptées les figures des quatre évangélistes, en demi-bosse et de petite dimension. Les pieds qui la supportent datent du XIIIe siècle.

Nous donnons (4) une petite cuve de ce genre qui provient de l'église de Thouveil (Maine-et-Loire). Elle date du XIe siècle. L'église de Limay, près Mantes, possède des fonts baptismaux du commencement du XIIIe siècle dont la forme se rapproche encore de celle-ci, mais qui sont assez richement sculptés. Cette cuve, reproduite dans l'ouvrage de M. Gailhabaud 542, est de forme ovale à l'intérieur, dodécagone allongé à l'extérieur; deux des côtés parallèles au grand axe présentent une légère saillie réservée pour mieux détacher les angles du prisme qui sur ce point eussent été trop mousses. Un beau cordon de feuilles orne le bord supérieur; la partie intermédiaire est occupée par douze rosaces parmi lesquelles se trouvent sculptés un agneau pascal, une croix et une tête de boeuf. Le socle en retraite présente une suite de petites arcatures. Le pavage autour de ces fonts offre une particularité assez remarquable: ce sont huit disques de pierres grises incrustées au nu des dalles, et qui semblent marquer les places des personnes qui doivent entourer la cuve au moment du baptême. Une feuillure a été ménagée sur le bord de la cuve pour recevoir un couvercle; c'est qu'en effet les cuves baptismales, d'après les décrets des conciles, devaient être couvertes dès une époque fort ancienne, comme elles le sont encore aujourd'hui.

Les fonts baptismaux de l'église paroissiale de la ville de Cluny méritent d'être signalés: taillés dans un bloc de pierre, ils affectent la forme d'une cuve hémisphérique à l'intérieur, et sont décorés à l'extérieur par quatre colonnettes supportant quatre têtes, entre lesquelles règne une frise de feuillages de lierre d'une bonne sculpture (5). Les quatre petits repos qui portent les têtes avaient une utilité et servaient probablement à poser le sel, l'huile et les flambeaux. En A, nous donnons le plan de cette cuve; en B, sa coupe. Elle date du milieu du XIIIe siècle.
Les cuves baptismales du moyen âge sont autant variées par la forme que par la matière. La façon dont elles sont décorées permet de supposer qu'une grande liberté était laissée aux artistes. Ces cuves sont à pans ou circulaires et même carrées, lobées, ovales, creusées à fond de cuve ou en cuvette; leurs parois sont ornées de feuillages, de simples moulures, de figures ou de compartiments géométriques; elles sont taillées dans de la pierre ou du marbre, coulées en bronze ou en plomb. Leurs couvercles se composent de châssis de bois, de lames de métal, ou sont richement ornés en forme de cônes ou de dais, et ne peuvent être enlevés alors qu'au moyen de potences ou de petites grues à demeure. Il n'est pas besoin de dire que les fonts baptismaux en bronze, antérieurs à la fin du dernier siècle, ont été fondus en France; on en voit encore quelques-uns en Italie, en Allemagne et en Belgique 543. Les fonts de la cathédrale de Hildesheim sont particulièrement remarquables. La cuve, dit M. de Caumont 544 auquel nous empruntons cette description, «repose sur quatre personnages ayant chacun un genou en terre et tenant une urne dont l'eau se répand sur le pavé: ce sont les figures emblématiques des quatre fleuves du Paradis; et sur le cercle qui porte sur leurs épaules, on lit l'inscription suivante, expliquant le rapport symbolique de chacun de ces fleuves avec la prudence, la tempérance, le courage et la justice:
+ TEMPERIEM. GEON. TERRE. DESIGNAT. HIATVS.
+ EST. VELOX. TIGRIS. QVO. FORTIS. SIGNIFICATVR.
+ FRVGIFER. EVFRATES. EST. JVSTITIA. QVE. NOTATVS.
+ OSMVTANS. PRISON. EST. PRVDENTI. SIMILATVS.»
La cuve est couverte de quatre bas-reliefs représentant le passage du Jourdain par les Israélites sous la conduite de Josué, le passage de la mer Rouge, le baptême de Jésus-Christ, la Vierge et l'enfant Jésus, devant lesquels est l'évêque donateur Wilherms. Au-dessus des quatre fleuves sont huit médaillons représentant la Prudence et Isaïe, la Tempérance et Jérémie, le Courage et Daniel, la Justice et Ézéchiel. Au-dessus se voient les signes des évangélistes. Le couvercle conique est également décoré de bas-reliefs. Ces fonts, de la seconde moitié du XIIIe siècle, sont peut-être les plus beaux qui existent et les mieux composés par le choix des sujets accompagnés d'inscriptions. Nous citerons aussi les fonts en bronze de l'église de Saint-Sébald à Nuremberg, qui datent de la fin du XVe siècle. Autour du pied sont posés les quatre évangélistes, ronde-bosse, et autour de la cuve les douze apôtres en bas-relief dans une arcature d'un travail délicat.
À défaut de ces monuments précieux par le travail et la matière, nous ne trouvons plus en France que des fonts de peu de valeur. L'église de Berneuil (arrondissement de Doullens) contient des fonts qui présentent un certain intérêt. La cuve est en plomb et date du XIIe siècle (6); autour sont disposées seize niches alternativement garnies de figures en demi-relief et d'ornements.

Cette cuve repose sur un socle en pierre, à huit pans, d'une époque plus récente. L'ancien couvercle (en plomb probablement et de forme conique) a été remplacé par un chapeau de menuiserie du XVIe siècle.

On voit, dans l'église de Lombez (Gers), une petite cuve baptismale en plomb de forme cylindrique, divisée en deux zones: la zone supérieure représente une chasse, celle inférieure seize figures dans des quatre-feuilles (7). Le même modèle a servi cinq fois pour la zone supérieure, et dans la zone inférieure les seize petites figures qui représentent des ordres religieux sont obtenues au moyen de quatre modèles seulement. Ces sortes de cuves ne demandaient donc pas de grands frais de fabrication; les fondeurs ou potiers d'étain qui les vendaient les composaient avec des modèles conservés en magasin: ainsi, dans l'exemple que nous donnons ici, le sujet de chasse est évidemment d'une époque antérieure aux petites figurines et aux quatre-feuilles de la zone inférieure, qui datent de la seconde moitié du XIIIe siècle. Un orifice A pratiqué au milieu du fond plat de la cuve sert à la vider.
À Visme (Somme), une cuve de même dimension en plomb, mais à huit pans, présente, sur sa paroi externe, seize arcatures qui autrefois étaient remplies de figurines en ronde-bosse rapportées sur des culs-de-lampe 545. Ces fonts reposent sur une table de pierre portée sur quatre colonnettes, du commencement du XIIIe siècle; la cuve est du XVe.
Quant aux fonts baptismaux du moyen âge dont les couvercles étaient mus au moyen de grues ou de potences en fer, on en voit de très-beaux à Hal, à Saint-Pierre de Louvain (Belgique), à Sainte-Colombe de Cologne. Ces monuments étant fort bien gravés dans l'ouvrage de M. Gailhabaud 546, il nous semble inutile de nous étendre sur leur composition. D'ailleurs leur style est étranger à l'art français.
Quelquefois, sur les parois intérieures des cuves baptismales, sont sculptés des poissons, des coquilles, des grenouilles. On voit, dans l'église Saint-Sauveur de Dinan (Bretagne), des fonts baptismaux du XIIe siècle qui se composent d'une sorte de coupe, portée par quatre figures très-mutilées et d'un travail grossier. L'intérieur de la cuve, taillé en cratère, est orné de godrons en creux et de deux poissons sculptés dans la masse.
Nous terminerons cet article en donnant les fonts baptismaux en pierre, d'une ornementation singulière, qui sont déposés près de la porte de la cathédrale de Langres (8): ils datent de la fin du XIIIe siècle.

On se servait aussi, pendant le moyen âge, de cuves précieuses, apportées d'Orient, pour baptiser les enfants. Chacun a pu voir, au musée des Souverains, à Paris, la belle cuve de travail persan dans laquelle on prétend qu'ont été baptisés les enfants de saint Louis.
«Isnelement fist un fonz aprester,
En une cuve qui fu de marbre cler,
Qui vint d'Arrabe en Orenge par mer.
El fonz le metent: quant l'ont fet enz entrer,
Se 'l baptiza li vesques Aymer 547.»
Lorsque l'on renonça aux baptistères, on plaça cependant les fonts baptismaux dans une chapelle fermée, autant que faire se pouvait. Aujourd'hui, les fonts doivent être non-seulement couverts, mais dans un lieu séparé de la foule des fidèles par une clôture.
Note 538: (retour) Il existe un baptistère à côté de la basilique de Saint-Jean-de-Latran à Rome; on a depuis peu découvert celui qui était proche de l'ancienne cathédrale de Marseille, du Ve siècle. On voit encore ceux des cathédrales d'Aix en Provence et de Fréjus. L'édifice placé sous le vocable de saint Jean, à Poitiers, paraît avoir servi de baptistère pendant les Ve et VIe siècles.
FORMERET, s. m. Arc recevant une voûte d'arête le long d'un mur (voy. ARC formeret, CONSTRUCTION).
FOSSÉ, s. m. Tranchée longue, faite dans le sol pour opposer un obstacle autour d'un camp, d'un château, d'une ville, d'un parc, d'un enclos. Il y a des fossés secs et des fossés pleins d'eau, des fossés en talus ou à fond de cuve, des fossés revêtus ou non revêtus.
Les fossés secs sont ceux qui sont taillés autour d'un château, d'un manoir ou d'une place situés en des lieux trop élevés pour pouvoir y amener et y conserver l'eau.
Les fossés pleins sont ceux dans lesquels on fait passer un cours d'eau, ou que l'on inonde au moyen d'une prise dans la mer, dans un lac ou un étang.
Les fossés en talus sont ceux simplement creusés dans un sol inconsistant, et dont l'escarpe et la contrescarpe, revêtues de gazon, donnent un angle de 45 degrés.
Les fossés revêtus sont ceux dont les parois, c'est-à-dire l'escarpe et la contrescarpe, sont revêtues d'un mur en maçonnerie avec un faible talus.
Les fossés à fond de cuve sont ceux dont le fond est plat, les parois revêtues, et qui peuvent ainsi permettre d'ouvrir des jours dans l'escarpe servant de soubassement à une fortification. Les fossés taillés dans le roc peuvent être aussi à fond de cuve.
Les Romains creusaient des fossés autour de leurs camps temporaires ou permanents. Ces fossés avaient habituellement quinze pieds d'ouverture au bord supérieur, c'est-à-dire 4m, 95. Ils étaient souvent doublés, séparés par un chemin de 4 à 5 mètres de largeur. Quand César établit son camp en face des Bellovaques sur le mont Saint-Pierre, dans la forêt de Compiègne, «il fait élever un rempart de douze pieds avec parapet; il ordonne de creuser en avant deux fossés de quinze pieds, à fond de cuve; il fait élever un grand nombre de tours à trois étages, réunies par des ponts et des chemins de ronde, dont le front était garni de mantelets d'osier, de telle sorte que l'ennemi fût arrêté par un double fossé et deux rangs de défenseurs: le premier rang sur les chemins de ronde supérieurs d'où, étant plus élevés et mieux abrités, les soldats lançaient des traits plus loin et plus sûrement; le second rang derrière le parapet plus près de l'ennemi, où il se trouvait protégé contre les traits par la galerie supérieure 548.»
Les travaux de campagne que les Romains ont exécutés dans les Gaules ont eu, sur l'art de la fortification chez nous, une telle influence jusqu'à une époque très-avancée dans le moyen âge, et les fossés ont été, dans les temps où les armes de jet avaient une faible portée, une partie si importante de l'art de défendre les places, que nous devons arrêter notre attention sur ce curieux passage. Il faut connaître d'abord les lieux décrits ici par César.
L'assiette de son camp, les Commentaires à la main, avait été évidemment choisie sur un plateau situé en face le mont Saint-Marc, plateau désigné, dans les cartes anciennes, sous le nom de Saint-Pierre-en-Chastres 549. Ce plateau escarpé de tous côtés, offrant à son sommet une large surface horizontale sur laquelle la petite armée que César conduisait avec lui pouvait tenir fort à l'aise, se prêtait merveilleusement au genre de défense qu'il avait adopté; défense dont on reconnaît d'ailleurs la trace sur les lieux mêmes.

Voici donc (1) le profil de l'ouvrage de circonvallation. Les assaillants ne pouvant arriver au bord du premier fossé A qu'en gravissant une longue pente assez abrupte, étaient difficilement vus par les défenseurs placés en B; à plus forte raison se trouvaient-ils entièrement masqués pour les défenseurs postés le long du parapet C en dedans du deuxième fossé G. Ces défenseurs postés en C étaient cependant plus rapprochés de l'assaillant que ne l'étaient ceux postés en E sur les galeries réunissant les tours à trois étages, la ligne CO étant plus courte que la ligne EO. Des assaillants se présentant en K, à portée de trait, ne pouvaient atteindre les défenseurs postés derrière le parapet C, que s'ils envoyaient leurs projectiles en bombe suivant une ligne parabolique KL. Donc les clayonnages du chemin de ronde supérieur E protégeaient les soldats postés en C. César décrit très-bien les avantages de ses ouvrages en disant que les soldats placés en E voyaient l'ennemi de plus loin et pouvaient tirer sur lui sûrement. L'assaillant, gravissant la pente P, ne voit que le sommet des tours de bois et les galeries qui les réunissent; il n'a pas connaissance des deux fossés qui vont l'arrêter en O. Pendant qu'il gravit cette pente, il est exposé aux armes à longue portée de la défense supérieure; mais dès qu'il atteint la crête O, non-seulement il trouve deux obstacles devant lui s'il veut passer outre, mais il est exposé aux traits qui partent du chemin de ronde E et du rempart C, ces derniers traits pouvant être lancés directement, comme l'indique la ligne CO, mais aussi, en bombe, comme l'indique la parabole HM. En admettant que les troupes gravissant la pente K eussent été lancées, pleines d'ardeur, arrivant haletantes en O, il leur eût été bien difficile d'atteindre le vallum C. Cependant César, au camp du Mont-Saint-Pierre, ne craignait pas une attaque sérieuse des Bellovaques; au contraire, il cherchait à les attirer hors de leurs propres défenses. Lorsqu'il redoutait réellement une attaque, ses précautions étaient plus grandes encore. Autour d'Alesia, il établit des lignes de contrevallation et de circonvallation afin de bloquer l'armée de Vercingétorix renfermée dans cette ville, et de se mettre en défense contre les secours considérables qui menacent son camp. La ligne de contrevallation se compose: 1°, vers l'ennemi, d'un fossé large de vingt pieds, profond d'autant, et à fond de cuve. À quatre cents pieds en arrière de ce fossé, il établit ses retranchements. Dans l'intervalle, il fait creuser deux fossés de quinze pieds de large chacun et de quinze pieds de profondeur; le fossé intérieur est rempli d'eau au moyen de dérivations de la rivière; derrière ces fossés, il élève un rempart de douze pieds de haut, garni de parapets avec meurtrières. À la jonction du parapet et du rempart, il fait planter de forts palis fourchus pour empêcher l'escalade. Des tours, distantes entre elles de quatre-vingts pieds, flanquent tout le retranchement. Ces précautions, après quelques sorties des Gaulois, ne lui semblent pas suffisantes: il fait planter des troncs d'arbres ébranchés, écorcés et aiguisés, au fond d'une tranchée de cinq pieds de profondeur; cinq rangs de ces pieux sont attachés entre eux par le bas, de manière à ce qu'on ne puisse les arracher. Devant cet obstacle, il fait creuser des trous de loup coniques de trois pieds de profondeur, en quinconce, au fond desquels on enfonce des pieux durcis au feu et aiguisés qui ne sortent de terre que de quatre doigts; ces pieux sont fixés solidement en foulant le sol autour d'eux; des ronces les cachent aux regards. Les trous de loup sont disposés sur huit rangs, distants l'un de l'autre de trois pieds (2).

En avant sont fixés, très-rapprochés les uns des autres, des aiguillons, stimuli (3), d'un pied de long, armés de broches en fer. Dans un mémoire sur le blocus d'Alesia 550, M. le capitaine du génie Prévost nous paraît avoir parfaitement compris comment étaient façonnés les stimuli dont parle César. Parmi les objets antiques trouvés près d'Alise, dit le savant officier, on remarque des broches en fer, qui ont résolu pour lui la question des stimuli. Ces morceaux de fer ont 0,29 c. et un peu plus, c'est-à-dire qu'ils ont un pied romain; leur équarrissage au milieu est de 0,01 c.; ils sont cintrés en côte de vache et appointés par les deux bouts. «Tous les auteurs, ajoute M. Prévost, qui ont parlé des stimuli de César, ont cru qu'ils consistaient en un rondin de bois enfoncé en terre, avec une pointe en fer encastrée elle-même dans le piquet et surgissant au-dessus du sol. Quelque simple que soit cet objet, il est encore difficile à exécuter: on aurait fendu bien des rondins, en essayant d'y introduire de force une tige de fer; il aurait fallu ensuite appointer cette dernière en la limant à froid, ce qui eût demandé beaucoup de temps» (puis fallait-il avoir des limes); «on eût été obligé de frapper avec précaution sur la tête du piquet en bois pour l'enfoncer en terre sans risquer de le fendre. Toutes ces minuties sont très-appréciées de ceux qui ont l'occasion de faire exécuter rapidement de petits objets en nombre immense par les premiers individus venus 551. Rien n'est plus facile avec les broches trouvées à Alise: quelques forgerons les fabriquaient; ils faisaient aussi les petits crampons A, pareils à ceux avec lesquels nous attachons nos conducteurs sur les mandrins de bourrage des fourneaux de mine. On fixait à l'aide de deux de ces crampons la broche sur la paroi d'un rondin ayant un pied de long. Maintenu en C et en D, le fer ne pouvait glisser le long du bois dans aucun sens, puisqu'il avait son plus fort équarrissage au milieu...» et une courbure qui le forçait de se serrer fortement contre le bois. «Peut-être mettait-on deux ou trois broches pareilles autour du même piquet; dans ce dernier cas, il fallait, pour l'enfoncer en terre, frapper sur sa tête par l'intermédiaire d'un rondin recevant les coups de la masse; alors l'engin représentait encore mieux le hamus du texte latin.»
De leur côté, les Gaulois, du temps de César, entouraient leurs camps et places fortes de fossés creusés en terre ou même dans le roc; ces derniers étaient à parois verticales avec rempart intérieur. C'est ainsi que sont disposées les défenses de l'oppidum gaulois que l'on voit encore à l'extrémité occidentale du mont Ganelon, près Compiègne. Les fossés de cette place ont dix mètres de largeur sur une profondeur de trois à quatre mètres, sont séparés l'un de l'autre par un espace de quinze mètres environ; un vallum de cinq mètres de hauteur est élevé en arrière du second fossé. De gros quartiers de rochers sont laissés au fond de ces fossés comme obstacles.
Les fossés des villes gallo-romaines, au moment de l'invasion des barbares, tels que ceux de Sens, de Bourges, de Beauvais, étaient très-larges, et autant que possible remplis d'eau 552. Les Gaulois avaient d'ailleurs adopté les moyens de défense que les Romains employaient contre eux, ainsi que le constate César lui-même; ces moyens, ils durent les conserver longtemps. Dans le Roman de Rou, il est question de fossés disposés d'une façon nouvelle, et qui aurait été souvent adoptée au XIe siècle.
«Par tuz li champs ki prof esteint
Par ù Bretuns venir debveient,
Firent fosses parfunt chavées (creusés profondément),
Desuz estreites, dedenz lées (larges):
La terre ke il fors unt gelée (qu'ils ont jetée dehors)
Unt tute as altres camps portée;
De virges et d'erbes k'il coillirent,
Li fosses tutes recuvrirent.
Quant Bretun vindrent chevalchant,
Prez de férir, paeenz quérant (cherchant les païens);
Par li camps vindrent tresbuchant,
D'un fossé en altre chéant;
Chaent asdenz, chaent envers,
Chaent sor coste è de travers 553.»
Comment avait-on pu creuser des fossés plus larges au fond qu'à la crête? C'est ce qu'il est difficile d'expliquer, à moins de supposer qu'on ait étançonné les parois. Nous voyons que ces fossés sont recouverts de broussailles et d'herbe pour dissimuler leur ouverture.
Les Normands entourèrent leurs fortifications de fossés très-larges et très-profonds, quelquefois avec chemin couvert palissadé au-dessus de la crête extérieure. Les châteaux d'Arques et de Tancarville, et plus tard le château Gaillard, conservent encore leurs fossés taillés dans le roc au sommet de l'escarpement qui sert d'assiette à ces forteresses (voy. CHÂTEAU). Des souterrains également creusés dans le roc conduisent de l'intérieur des châteaux au fond des fossés; ils servaient surtout à permettre à la garnison de sortir pour attaquer les mineurs qu'on attachait aux bases des remparts et tours ou aux escarpements qui les portaient.
Nous n'avons pas vu de contrescarpes revêtues avant le XIIIe siècle, tandis qu'à dater de cette époque les fossés sont presque toujours revêtus autour des forteresses importantes, et leur fond dallé même autour des châteaux bâtis avec soin. Le fossé du donjon de Coucy (commencement du XIIIe siècle) est dallé; le grand fossé devant la porte du château de Pierrefonds (commencement du XVe siècle) l'est également. À la cité de Carcassonne, il reste des fragments considérables de revêtements de contrescarpes des fossés du côté de l'est (fin du XIIIe siècle). La contrescarpe du large fossé qui sépare le château de Coucy de sa baille était revêtue (commencement du XIIIe siècle). Les fossés du château de Vincennes ont été revêtus depuis la reconstruction de ce château pendant le XIVe siècle; ceux du Louvre l'ont été depuis Charles V 554. Non-seulement les châteaux, les villes étaient entourées de fossés, mais aussi les abbayes situées hors des villes et même quelquefois les églises paroissiales.
Lorsque l'artillerie fut employée pour assiéger les places, on élargit encore les fossés, et l'on pensa surtout à disposer des défenses pour les enfiler, des chemins couverts pour protéger leurs approches, des ouvrages bas pour obtenir un tir rasant au niveau du fond, des cunettes pour conduire les eaux pluviales, des écluses et retenues pour les inonder quand des cours d'eau ou des étangs voisins le permettaient (voy. ARCHITECTURE MILITAIRE, BASTILLE, BASTION, BOULEVARD, CHÂTEAU, PORTE, SIÉGE). C'était au seigneur suzerain à régler l'étendue et la largeur des fossés, c'était lui qui dans certains cas exigeait qu'on les comblât. Quant à leur entretien, il était à la charge du seigneur ou à la charge des vassaux par suite de conventions spéciales. Nous trouvons dans un recueil très-curieux publié par M. A. Champollion-Figeac 555 la traduction d'un texte en langage gascon qui a pour titre: «Ayssi es la ordonnansa cum una viela se deu fermar et armar contra son enamixs 556.» Dans ce texte, les passages relatifs aux fossés de défense sont à noter.
«La manière de la fermeure de la ville: Premièrement, il y doit avoir tout à l'entour des grans, larges et profonds fossés, si profonds qu'il y sorte de l'eau; et es endroits où il ne peut point avoir de l'eau, doit estre fait au fonds des fossés grande quantité de vosias 557, couvertes avec muraille de terre et d'herbe; et après, y doit avoir de grands et hauts murs, avec tours de défense de dix en dix brasses (environ 16 mètres), et que les fossés soient bien netoyés et curés, du pied du mur jusqu'au fond, d'herbes et de branchages. Et aux portails et entrées, il y doit avoir des ponts-levis, et tous les chemins des entrées doivent être rompus en travers, de grands fossés en cinq ou six lieux fors un petit et estroit passage, lequel on doit rompre quand besoing est, afin qu'on ne se puisse point approcher des portes, à pied ni à cheval, ni amener du feu en carexs (charrette), ni en autre chose, et faire grande quantité de vosias par les chemins des entrées... 558»
Nous avons souvent trouvé des traces de ces coupures faites en travers des routes aboutissant aux portes. Ces coupures étaient garnies de barrières, et comme les routes longeaient presque toujours les fossés, afin d'être battues de flanc par les tours et courtines, les coupures donnaient dans le fossé de ceinture, afin de ne pouvoir servir de refuge aux assiégeants; mais ces détails sont expliqués à l'article PORTE.
Les petites villes ou bastides bâties dans la seconde moitié du XIIIe siècle en Guienne sont entourées de fossés avec enceinte; la plupart de ces petites cités sont, ainsi que leurs défenses, d'une régularité parfaite 559. À propos de la bastide de Sauveterre, M. Leo Drouyn, dans l'excellent ouvrage qu'il publie sur la Guienne militaire, donne le texte des priviléges accordés à cette commune, en 1283, par Édouard Ier. Dans ce texte latin 560, nous lisons l'article suivant relatif aux enceintes et fossés:
«Item nous voulons que soldats et maîtres, bourgeois ou habitants de ladite ville, soient exempts de tous les travaux communaux (communibus), excepté ceux des ponts, des puits, des routes et clôtures de la ville, travaux auxquels les voisins du lieu sont tenus, sans aucun doute de coopérer. Pour nous, nous sommes tenus de faire la première clôture de la ville, et lesdits soldats et maîtres doivent veiller de jour et de nuit pendant l'exécution du travail; les autres voisins sont, à leur tour, responsables des maléfices qui se commettront de jour et de nuit...» Ainsi les clôtures, c'est-à-dire les fossés et remparts, étaient faits par le seigneur, sous la surveillance de la commune, autour de ces bastides ou bourgs fondés par privilége spécial du suzerain. Les seigneurs féodaux réclamaient contre l'établissement de ces petites communes, les évêques excommuniaient et les fondateurs et les habitants; mais ces réclamations et excommunications n'empêchaient pas les villes de s'élever.
Les murailles d'Avignon, commencées en 1349 et terminées en 1374, étaient entourées de fossés de vingt mètres de largeur environ sur une profondeur moyenne de quatre mètres au-dessous de la crête de la contrescarpe. Cette contrescarpe n'était pas entièrement revêtue; mais, pour éviter les affouillements causés par les inondations du Rhône, on avait dallé le fond du fossé en larges pierres de taille 561. Le Rhône, la Sorgue et un bras de la Durance remplissaient en temps ordinaire une grande partie de ces fossés.
Note 551: (retour) C'est en appuyant les recherches archéologiques sur ces observations pratiques que l'on peut en effet arriver aux découvertes sérieuses, et M. Prévost est ici parfaitement dans le vrai, lorsqu'il dit que beaucoup de ces questions si longuement débattues entre les archéologues ne peuvent être réellement résolues que par les praticiens.
Note 553: (retour) Le Roman de Rou, vers 6893 et suiv. Ce stratagème paraît avoir singulièrement plu aux historiens du temps; car ils l'ont signalé trois fois, savoir: 1° en 992, dans la bataille de Conquereuil, entre Conan, duc de Bretagne, et Foulques, comte d'Anjou; 2º dans la circonstance présente; 3º dans une invasion de l'Aquitaine par les Scandinaves, en 1019. (Note de M. Aug. Le Prévost.)
Note 559: (retour) À ce sujet, M. A. Champollion-Figeac paraît s'étonner, dans son recueil des Droits, de ce que nous ayons avancé ce fait (suffisamment prouvé par les belles recherches de M. de Vernheil et les travaux de M. Leo Drouyn), savoir: que des plans des villes d'Aigues-Mortes, de Carcassonne, de Villeneuve-le-Roy, de Villeneuve-l'Archevêque, de Sainte-Foy, de Monpasier, de Monségur, de Sauveterre, etc., ont été arrêtés d'avance par des seigneurs suzerains du XIIIe siècle, et il ajoute, à propos du plan de Monpasier en Périgord: «L'auteur (du Dictionnaire) donne même le plan de cette dernière ville. Mais il est vrai que cet auteur ne nous apprend pas d'où il a tiré ce plan d'une ville du XIIIe siècle.» Nous avons tiré ce plan d'où M. Champollion-Figeac pourrait le tirer lui-même, c'est-à-dire de Monpasier, «jolie petite ville, dit le Dictionnaire de M. Girault de Saint-Fargeau (Dordogne), à 46 kil. de Bergerac, chef-lieu de canton, fondée en 1284, sous la direction du fameux captal de Buch, Jean de Grailly; bien bâtie, formée de rues larges et tirées au cordeau...» Il y a dans l'ouvrage de M. Champollion-Figeac, au milieu de recherches pleines d'intérêt, lorsqu'il cite d'anciens textes, bien d'autres appréciations singulières. Le savant compilateur nous accuse, par exemple, de nous laisser guider par les fantaisies de notre imagination au sujet des châteaux, lorsque nous donnons des plans d'après les monuments existants; entre autres choses, il paraît ignorer que le château Gaillard est encore debout en grande partie, que ses fossés taillés dans le roc vif ne sont nullement altérés; il prétend, en citant notre texte tronqué, qu'à la Roche-Guyon nous n'avons trouvé qu'une poterne du XIIIe siècle, et que, sur ce fragment, nous bâtissons ce qu'il veut bien appeler des théories rétrospectives; cependant les touristes qui descendent la Seine peuvent voir, non-seulement le château, mais le donjon intact qui le surmonte. Pour combattre ce qu'il présente comme des théories, des systèmes, et faire ressortir chez nous des contradictions nombreuses, M. Champollion-Figeac remplit quelques pages de son livre de citations empruntées au Dictionnaire; citations incomplètes, avec commentaires, appréciations ou suppositions intercalées; ce qui n'est pas digne, pensons-nous, d'une critique sérieuse. Il n'est point d'auteur que l'on ne puisse mettre en contradiction avec lui-même en prenant un membre de phrase ici, un autre là, et en soudant ces fragments à l'aide de commentaires. M. Champollion croit, de la meilleure foi du monde, qu'en fait de monuments, la France ne possède que des archives et des bibliothèques; il ne comprend pas que l'on puisse distinguer une construction du XIIe siècle d'un édifice du XIVe, sans le secours des actes de fondation. Il n'admet point les classifications par écoles, et nous demande des preuves. C'est à peu près comme si on demandait à des Anglais de prouver qu'ils s'entendent lorsqu'ils parlent entre eux. Apprenez l'anglais, et vous aurez la preuve.
FOUR, s. m. Four à pain. Dans les villes de France, le suzerain permettait l'établissement des fours à pain; c'était un privilége pour les seigneurs laïques, séculiers, ou pour les abbayes, qui en tiraient un profit. Ces fours banals, chauffés par les possesseurs du privilége, étaient établis dans des logis où chacun pouvait apporter son pain et le faire cuire en payant une redevance. Quelquefois ces fours banals, établis aux frais d'un seigneur féodal, étaient affranchis de tous droits par le suzerain. Certaines villes obtenaient le privilége de bâtir autant de fours qu'il plaisait aux bourgeois d'en construire. Dans les tours des villes fortifiées, on établissait souvent des fours, afin de permettre à la garnison, en cas de blocus, de faire cuire son pain sans recourir aux habitants ou aux fours banals. La plupart des donjons possèdent leur four (voy. ARCHITECTURE MILITAIRE, CHÂTEAU, DONJON, PORTE, TOUR).
Les fours à chaux ne pouvaient, non plus que les fours à pain, être établis sans la permission du seigneur.
FOURCHES PATIBULAIRES. «Les hautes justices locales, dit M. A. Champollion-Figeac 562, pouvaient élever autant de fourches qu'elles désiraient en établir. Les ordonnances du roi Jean, de 1345 et de 1356, paraissent suffisamment l'indiquer. Mais le sage monarque Charles V y ajouta un privilége nouveau pour certaines localités, celui d'avoir des fourches patibulaires à deux piliers. L'abbaye de Cluny obtint cette permission toute de faveur en 1360, au mois de septembre 563. N'omettons pas un dernier fait, qui prouvera qu'il n'était pas permis d'orner ces atroces instruments de supplice d'autres signes que ceux que le roi voulait qu'on y plaçât. Le comte de Rhodez ayant mis ses armes au haut d'une potence établie sur la place des Carmes de cette ville, le sénéchal de Rouergue fut immédiatement informé que le roi s'opposait formellement à ce qu'elles y fussent placées, et que le comte serait traduit devant la haute justice du monarque. Il est vrai que l'apposition du comte de Rhodez représentait, dans ce cas, une prise de possession de la justice et de la place; mais c'était bien mal, pour un seigneur du Rouergue, de choisir cette occasion de faire parade du blason de ses armes,» C'était un privilége; le mal était d'en user s'il n'en avait pas le droit.
À ce propos, et pour prouver jusqu'à quel point le roi était jaloux de ses droits de juridiction, pendant le séjour des papes à Avignon, un insigne malfaiteur, poursuivi par les officiers de la justice pontificale, traversa, devant la ville, un bras du Rhône et se réfugia dans l'île dite du Mouton. Les gens du pape y abordèrent en même temps que le criminel, s'emparèrent de sa personne et le pendirent sur place à une potence dressée par leur ordre. Le cadavre du supplicié fut inhumé après le délai voulu. Ces faits ne furent rapportés que longtemps après aux officiers du roi de France, qui accusèrent les gens du pape d'avoir empiété sur les droits seigneuriaux du roi; les officiers du pape alléguèrent, pour leur défense, qu'ils n'avaient pas l'intention d'usurper la juridiction royale, mais qu'ils avaient cru devoir débarrasser la contrée d'un homme dangereux. Les juges royaux n'insistèrent pas; mais pour que ce précédent ne pût être invoqué plus tard contre les droits de leur souverain, ils se transportèrent à leur tour dans l'île du Mouton, y procédèrent contre le supplicié, et, après lui avoir fait un procès en règle, le rependirent, en effigie, à une potence aux armes du roi 564.
Le droit de haute, moyenne et basse justice, appartenait à la féodalité; les grands vassaux qui relevaient directement du souverain «inféodèrent certaines portions de leurs domaines à des vassaux d'un rang inférieur; et ceux-ci, les imitant, constituèrent également de nouveaux fiefs, dont ils gardèrent la suzeraineté. En même temps, les uns et les autres firent cession de leur droit de justice sur ces portions de territoire, non sans mettre, toutefois, quelques restrictions à cet abandon, mais limitant plus ou moins l'étendue du pouvoir qu'ils concédaient 565... Les fourches patibulaires consistaient en des piliers de pierre réunis au sommet par des traverses de bois auxquelles on attachait les criminels, soit qu'on les pendît aux fourches mêmes, soit que, l'exécution ayant été faite ailleurs, on les y exposât ensuite à la vue des passants. Le nombre des piliers variait suivant la qualité des seigneurs: les simples gentilshommes hauts-justiciers en avaient deux, les châtelains trois, les barons quatre, les comtes six, les ducs huit; le roi seul pouvait en avoir autant qu'il le jugeait convenable.» Il pouvait aussi faire supprimer les gibets dont il avait permis l'établissement. En 1487 566, «le procureur du roi au Chastelet alla en divers lieux de la prévosté et vicomté de Paris faire démolir les fourches patibulaires, carquans, échelles, et autres marques de haute justice, attendu que le roi Louis XI avoit accordé à plusieurs droit de haute justice, qui fut révoqué par Édit de révocation générale de tous dons de portion du domaine aliéné depuis le deceds de Charles VII que fit publier Charles VIII à son avènement à la couronne.»
Les fourches patibulaires, dit Loyseau 567, étaient placées au milieu des champs, près des routes et sur une éminence. En effet, beaucoup de lieux élevés, en France, dans le voisinage des abbayes, des résidences seigneuriales, ont conservé le nom de la Justice, la grande Justice.
Certains gibets étaient faits de bois, se composaient de deux poteaux avec traverse supérieure et contre-fiches; mais nous n'avons pas à nous occuper de ceux-ci, qui n'ont aucun caractère monumental. Parmi les gibets renommés, pouvant être considérés comme des édifices, il faut citer en première ligne le gibet de Montfaucon. Sauval dit que, «dès l'an 1188 et peut-être auparavant, il y avait un lieu patibulaire sur le haut de Montfaucon... Montfaucon, ajoute-t-il, est une éminence douce, insensible, élevée, entre le faubourg Saint-Martin et celui du Temple, dans un lieu que l'on découvre de quelques lieues à la ronde. Sur le haut est une masse accompagnée de seize piliers 568, où conduit une rampe de pierre assez large, qui se fermoit autrefois avec une bonne porte. La masse est parallélogramme, haute de deux à trois toises, longue de six à sept, large de cinq ou six, terminée d'une plate-forme, et composée de dix ou douze assises de gros quartiers de pierres bien liées et bien cimentées, rustiques ou refendues dans leurs joints. Les piliers gros, quarrés, hauts chacun de trente-deux à trente-trois pieds, et faits de trente-deux ou trente-trois grosses pierres refendues ou rustiques (à bossages), de même que les précédentes, et aussi bien liées et bien cimentées, y étoient rangées en deux files sur la largeur et une sur la longueur. Pour les joindre ensemble et pour y attacher les criminels, on avoit enclavé dans leurs chaperons deux gros liens de bois qui traversoient de l'un à l'autre, avec des chaînes de fer d'espace en espace. Au milieu étoit une cave où se jettoient apparemment les corps des criminels, quand il n'en restoit plus que les carcasses, ou que toutes les chaînes et les places étoient remplies. Présentement cette cave est comblée, la porte de la rampe rompue, ses marches brisées: des pilliers, à peine y en reste-t-il sur pied trois ou quatre, les autres sont ou entièrement ou à demi ruinés.»
Bien que Sauval ne nous dise pas à quelles sources il a puisé ses renseignements, divers documents 569 établissent l'existence d'un gibet à Montfaucon, au moins dès le XIIIe siècle.--Un acte d'accommodement du mois de septembre 1233 entre le prieur de Saint-Martin-des-Champs et le chapitre de Notre-Dame contient le passage suivant:... «Quatuor arpenta et dimidium quarterium juxta pressorium combustum, duo arpenta et dimidium quarterium circa gibetum, quatuordecim, arpenta...»--Un acte de vente du mois de juin 1249:... «Super tribus arpentis vince site juxta pressorium sancti Martini prope gybetum, in censiva ejusdem capituli... 570» Il résulte de ces deux actes que, dans les années 1233 et 1249, ajoute M. de Lavillegille, il existait un gibet sur le territoire du Cens commun: or le gibet de Montfaucon se trouvant précisément dans cette censive, c'est évidemment de lui dont il est parlé. Dans le roman de Berthe aux grans piés, qui date de 1270 environ, il est question d'un certain Tibot pendu aux fourches de Montfaucon. Il y a donc lieu de croire que Pierre de Brosse ou Enguerrand de Marigny, auxquels on attribue la construction des fourches de Montfaucon, n'ont fait que les réparer ou les reconstruire. L'ouvrage en pierres de taille à bossages dont parle Sauval ferait croire que cet édifice avait été entièrement refait au commencement du XIVe siècle ou à la fin du XIIIe, ce genre d'appareil étant fort usité alors pour les bâtisses civiles. Ce gibet monumental était situé à côté de l'ancien chemin de Meaux, non loin de la barrière du Combat 571. Comme le fait observer M. de Lavillegille, les seize piliers de l'édifice de Montfaucon étaient encore réunis (ce que Sauval n'explique pas et ne pouvait indiquer clairement, puisque de son temps le gibet était ruiné) par des traverses en bois intermédiaires. Louis X «... commanda pendre et étrangler Enguerrant à la plus haulte traverse de boys du gibet de Paris. Paviot fut puny de pareille punition, excepté qu'il fut attaché au-dessous de Enguerrant 572.» La tapisserie de l'Hôtel de ville de Paris (plan de Paris) indique le gibet de Montfaucon avec trois traverses de bois. De plus, Sauval, dans les Comptes et ordinaires de la prévôté de Paris (t. III, p. 278), donne la pièce suivante, qui est importante (1425, Charles VII):
«OEuvres et réparations faites en la grande Justice de Paris. À... pour avoir fait en ladite Justice les besognes cy-après: c'est à sçavoir, avoir pellée et découverte la terre au pourtour des murs qui font closture de ladite Justice, quarante pieds loing d'iceux murs: et si ont découverte et blanchie la place qui est dedans icelle closture, et aussi ont blanchi tous lesdits murs et les pilliers et poultres d'icelle Justice, tant dehors comme dedans, à chaux et colle et... chaux, colle, croye (craie), et eschafaux, peines d'ouvriers pour ce faire, etc.
«À... tailleurs de pierres et maçons, pour avoir fait arracher plusieurs vieux carreaux (de pierre) qui estoient rompus et froissés, tant ès pilliers cormiers (d'angle), comme ès pilliers estraiefs (intermédiaires), et ès murs qui font closture au pourtour de la closture d'icelle Justice; et en lieu d'iceux y avoir mis et assis quarante carreaux doubles (boutisses) et un cartron de parpaings de la pierre du blanc caillou, et rétabli plusieurs trous qui estoient esdits murs par dehors oeuvre, et empli de plastre tous les joints desdits murs, et pour avoir désassis et rassis tous les entablemens de pierre qui sont sur lesdits murs au pourtour de ladite Justice, et fait deux eschiffes de mur qui sont d'un côte et d'autre de l'entrée d'icelle Justice, et désassises et rassises les marches de taille qui sont en icelle entrée, de dessellées quarante-huit vieilles poultres qui ont été otées et descendues d'icelle Justice, et en scellées quarante-huit autres qui y ont été mises neuves, et mis deux coings de pierre en l'un des pilliers estraiefs, au lieu de deux autres qui estoient usés et mangés d'eau et de gelée, dont pour ce avoir fait, ils doivent avoir, etc.»
En 1466, nous lisons dans les mêmes Comptes (p. 389) ce passage: «À la grant Justice de Paris furent attachées et clouées cinquante deux chaînes de fer pour servir à pendre et étrangler les malfaiteurs qui en icelle ont été et seront mis par ordonnance de justice.» En 1485, le gibet de Montfaucon menaçait ruine, car les Comptes de la prévôté contiennent cet article (p. 476): «et fut fait aussi un gibet joignant le grand gibet, qui est en danger de choir et tomber de jour en jour.»
Les condamnés étaient suspendus aux traverses au moyen d'échelles auxquelles ils devaient monter, précédés du bourreau. «Huit grandes échelles neuves mises en la Justice patibulaire de Montfaucon 573.» Ces échelles dépassaient chaque traverse de manière à ce que le patient eût la tête à la hauteur voulue; le bourreau, monté sur le haut de l'échelle, lui passait la chaîne autour du cou, et, descendant, retirait l'échelle.

Voici donc, d'après la description de Sauval et les documents graphiques 574, le plan (1) en A des fourches patibulaires de Montfaucon. Vu leur hauteur (10m,00 au moins), les piliers ne pouvaient pas avoir moins d'un mètre de diamètre; les seize piliers, rangés «en deux files sur la largeur et une sur la longueur,» devaient laisser quinze intervalles entre eux de 1m,50 sur le grand côté et de 1m,20 sur les deux petits. Il ne pouvait donc y avoir qu'une chaîne à chaque traverse des petits côtés et deux au plus entre celles du grand. Les traverses étant au nombre de trois, cela faisait soixante chaînes. Ainsi s'explique le nombre de cinquante-deux chaînes neuves fournies en 1466; peut-être en restait-il quelques-unes anciennes pouvant servir. Les traverses étaient nécessairement doublées, tant pour fixer les chaînes que pour permettre au bourreau de se tenir dessus, et pour étrésillonner convenablement des piles aussi hautes. Il fallait donc quatre-vingt-dix traverses ou soixante seulement, si les traverses basses étaient simples. La fourniture de quarante-huit traverses neuves faite en 1425 n'a donc rien qui puisse surprendre.
La hauteur des piles (en admettant que la tapisserie de l'Hôtel de ville indique une traverse de trop) ne peut laisser de doutes sur le nombre de ces traverses. On n'aurait pas élevé des piles de plus de dix mètres de hauteur pour ne poser qu'une traverse supérieure et une seule intermédiaire, car il y aurait eu ainsi des places perdues en hauteur; or il est certain qu'on tenait à en avoir le plus grand nombre possible.
On voit, en B, sur le plan A, le caveau indiqué en pointillé, avec son orifice C, destiné à jeter les corps et débris, et sa porte de vidange D. En E est tracée la coupe faite sur ab montrant le degré, avec les murs d'échiffre réparés en 1425, et la porte, munie de vantaux, dont parle Sauval. On dressait les échelles au moment des exécutions, et celles-ci étaient vraisemblablement déposées sur la plate-forme.
Parfois la cave destinée à servir de dépôt pour les restes des suppliciés se trouvait tellement encombrée, la plate-forme jonchée de débris, les chaînes garnies d'ossements, qu'il fallait faire une vidange générale et enterrer ces restes corrompus ou desséchés. Cette opération était nécessaire, par exemple, lorsqu'il fallait remplacer les poutres, ce qui avait lieu assez fréquemment.
Au bas de l'éminence sur laquelle s'élevait le gibet de Montfaucon vers le couchant, une croix de pierre avait été dressée, disent quelques auteurs, par Pierre de Craon, en mémoire de l'ordonnance que ce seigneur avait obtenue de Charles VI en 1396, et par laquelle des confesseurs étaient accordés aux condamnés. Mais cette croix semblerait plutôt avoir été placée là, en 1403, à la suite de l'exécution de deux écoliers de l'Université ordonnée par le prévôt de Paris. En effet, Monstrelet 575 rapporte ainsi le fait: «...Messire Guillaume de Tigouville, prévost de Paris, feit exécuter deux des clercs de l'Université: Est à sçavoir: un nommé Legier de Monthilhier, qui estoit Normant; et l'autre nommé Olivier Bourgeois, qui estoit Breton: lesquels estoient chargez d'avoir commis plusieurs larcins en divers cas. Et pour ceste cause nonobstant qu'ils fussent clercs, et qu'en les menant à la justice criassent hault et clair, clergie, affin d'estre recoux; neantmoins (comme il est dit) furent exécutez et mis au gibet; et depuis par les pourchats de l'Université, fut iceluy prévost privé de tout office royal. Et avec ce fut condamné de faire une croix de pierre de taille, grande et eslevée, assez près du gibet, sur le chemin de Paris; où estoient les images d'iceux deux clercs, entaillées. Et outre les feit despendre d'iceluy gibet, et mettre sur une charrete couverte de noir drap: et ainsi accompaigné de ses sergens et autres gens portant torches de cire, allumées; furent menez à S. Mathurin et là rendus par le prévost au recteur de l'Université...»

Nous donnons (2) une vue de cet édifice du côté de l'arrivée faisant face au sud-ouest. Le degré étant placé, bien entendu, par derrière, les condamnés étaient amenés sur la plate-forme après avoir fait le tour du massif de maçonnerie. En bas de notre figure est placée la croix de Guiliaume de Tigouville, indiquée d'ailleurs dans la tapisserie de l'Hôtel de ville.

La figure 3 présente le gibet du côté de l'entrée.
Il ne paraît pas qu'il ait existé sur le territoire de la France d'autres fourches patibulaires d'un aspect aussi monumental. À Paris, elles n'étaient pas les seules: il existait un gibet hors de la porte Saint-Antoine, un sur le terrain de la Cité derrière l'Évêché, un sur l'emplacement occupé aujourd'hui par l'extrémité occidentale de la place Dauphine, un aux Champeaux, un derrière les jardins des Petits-Augustins, à peu près à la hauteur de la rue Saint-Benoît, et qui se trouvait sur les terrains de l'abbaye Saint-Germain-des-Prés. Ce dernier gibet, comme beaucoup d'autres, se composait de quatre piliers de pierre avec quatre traverses de bois. Il est figuré dans la tapisserie de l'Hôtel de ville et dans le grand plan de Mérian. D'autres encore se composaient de deux piles avec une seule traverse, ou de trois posées aux angles d'un triangle équilatéral avec trois traverses de couronnement. L'aspect hideux de ces édifices, l'odeur empestée qui s'en exhalait n'empêchaient pas l'établissement de cabarets, de courtilles et de lieux de débauche dans leur voisinage.
«Pour passer temps joyeusement,
Raconter vueil une repeue
Qui fut faicte subtillement
Près Montfaulcon, c'est chose sçeüe,
...
Tant parlèrent dn bas mestier,
Que fut conclud, par leur façon,
Qu'ilz yroyent, ce soir-là, coucher
Près le gibet de Montfaulcon,
Et auroyent, pour provision,
Ung pasté de façon subtile,
Et menroyent, en conclusion,
Avec eulx chascun une fille.
...» 576
«Non loin de Montfaucon, dit M. de Lavillegille 577, se trouvait un autre gibet, plus petit, et qui portait le nom de Montigny. Construit et démoli à plusieurs reprises, il semble n'avoir été destiné qu'à suppléer momentanément au grand gibet, lorsque celui-ci avait besoin de quelques réparations. La première mention du gibet de Montigny remonte à l'année 1328. Il n'existait plus au commencement du XVe siècle, puisqu'en 1416 il fallut construire un gibet provisoire, en attendant les travaux que l'on faisait à Montfaucon.» Ce gibet consistait en quatre poteaux de bois d'un pied d'équarrissage et de vingt pieds environ de hauteur, engagés à leur pied dans un mur d'appui de deux pieds d'épaisseur et d'autant de hauteur environ. Quatre traverses réunissaient la tête des quatre poteaux 578.
Les fourches patibulaires servaient de lieu d'exposition pour les condamnés exécutés en d'autres lieux et qui même n'avaient point été pendus. Les corps des décapités étaient enfermés dans un sac; on exposait aussi aux gibets les suicidés, des mannequins figurant des condamnés par contumace. Le cadavre de l'amiral de Coligny fut suspendu au gibet de Montfaucon par les pieds. L'Étoile rapporte que Catherine de Médicis, «pour repaître ses yeux, l'alla voir un soir et y mena ses fils, sa fille et son gendre.» Depuis lors ces fourches patibulaires ne servirent guère aux exécutions ou expositions. Sauval cependant dit y avoir encore vu des cadavres, bien qu'alors cet édifice fût en ruines.
Les fourches patibulaires ne servaient pas seulement à pendre des humains, on y suspendait aussi des animaux, et notamment des porcs, condamnés à ce genre de supplice à la suite de jugements et arrêts rendus pour avoir dévoré des enfants. (Voy. à ce sujet la brochure de M. E. Agnel, Curiosités judiciaires et historiques du moyen âge. Paris, 1858. Dumoulin.) En cas pareil, les formalités judiciaires du temps étaient scrupuleusement suivies, et, comme il était d'usage de pendre les condamnés vêtus de leurs habits, on habillait les animaux que l'on menait au gibet. «En 1386, une sentence du juge de Falaise condamna une truie à être pendue pour avoir tué un enfant. Cette truie fut exécutée sur la place de la ville, en habit d'homme... 579»
En 1314 580, un taureau qui avait tué un homme fut jugé et pendu aux fourches patibulaires de Moisy-le-Temple. Il y eut appel de la sentence. Le jugement fut trouvé équitable; mais il fut décidé que le comte de Valois n'avait aucun droit de justice sur le territoire de Moisy, et que les officiers n'auraient pas dû y instrumenter 581.
FRISE, s. f. Ornement courant, remplissant une assise horizontale sous un bandeau, sous une corniche. Dans l'architecture romaine, on entend par frise l'assise unie ou décorée qui se trouve comprise entre l'architrave et la corniche. L'architecture du moyen âge, n'employant plus l'entablement des ordres antiques, ne possède pas, à proprement parler, de frises. Toutefois on donne le nom de frises, dans l'architecture romane ou l'architecture gothique, à des bandeaux, lorsque ceux-ci sont décorés de sculptures (voy. BANDEAU, CORNICHE, SCULPTURE).
FÛT, s. m. Partie de la colonne comprise entre la base et le chapiteau (voy. COLONNE, COLONNETTE, CONSTRUCTION).
FIN DU TOME CINQUIÈME.

|
Dais Dallage --employé comme couvertureDalles Damier Dauphin Décoration Délit Dent-de-scie |
Devis Diable Dieu Dôme Donjon Dormant Dortoir Dosseret Douelle |


FIN DE LA TABLE PROVISOIRE DU TOME CINQUIÈME.