Title: Dictionnaire raisonné de l'architecture française du XIe au XVIe siècle - Tome 3 - (C suite)
Author: Eugène-Emmanuel Viollet-le-Duc
Release date: December 28, 2009 [eBook #30783]
Language: French
Other information and formats: www.gutenberg.org/ebooks/30783
Credits: Produced by Michel Laglasse, Rénald Lévesque and the Online
Distributed Proofreaders Europe at http://dp.rastko.net.


PARIS
B. BANCE, ÉDITEUR
RUE BONAPARTE, 13.
L'auteur et l'éditeur se réservent le droit de faire traduire et
reproduire cet ouvrage
dans les pays où la propriété des ouvrages
français est garantie par des traités.

(Suite).
CHARNIER, s. m. Signifie proprement un vaisseau où l'on conserve des viandes salées. On donna aussi ce nom aux cimetières, aux enclos réservés à la sépulture. On désignait encore, à la fin du siècle dernier, le cimetière des Innocents à Paris sous le nom de Charnier des Innocents (voy. CIMETIÈRE).
CHARPENTE, s. f. On entend par ce mot toute, combinaison et assemblage de bois de gros échantillon destinés à la construction des bâtiments publics ou privés.
L'art du charpentier dut être un des premiers parmi ceux que les hommes appliquèrent à leurs besoins. Abattre des arbres, les ébrancher, et les réunir à leur sommet en forme de cône, en remplissant les interstices laissés entre les troncs par du menu bois, des feuilles et de la boue, voilà certainement l'habitation primitive de l'homme, celle que l'on trouve encore chez les peuples sauvages. Dans l'antiquité grecque, les charpentes étaient (autant qu'on peut en juger par le peu d'édifices qui nous restent) d'une grande simplicité. Cependant les Grecs connaissaient déjà l'assemblage de charpenterie que nous désignons sous le nom de ferme.
Les Romains devaient être fort habiles dans l'art de la charpenterie, car les voûtes sphériques ou d'arêtes qu'ils élevèrent en si grand nombre exigent, pour être construites, des combinaisons de charpente fort compliquées et difficiles à assembler. Dans leurs établissements militaires, ils employaient le bois à profusion; il suffit, pour s'en convaincre, de regarder les bas-reliefs de la colonne Trajane à Rome. Les contrées de l'Europe où ils portèrent la guerre étaient d'ailleurs presque entièrement couvertes de forêts, qu'ils défrichèrent en grand nombre, autant pour faire pénétrer leurs armées à travers ces pays demi-sauvages que pour leurs besoins. Déjà, sous l'empire romain, l'Italie ne pouvait plus fournir de bois en assez grande quantité pour les besoins du peuple-roi, et les forêts des Gaules, pendant plusieurs siècles, servirent d'approvisionnements à la marine et aux immenses établissements des Romains. La facilité avec laquelle on se procurait alors cette matière première explique comment on pouvait achever très-rapidement certains travaux gigantesques, tels que des ponts, des chaussées, des barrages, des digues, des campements militaires d'une grande importance, des enceintes de circonvallation et de contrevallation, des édifices publics et des villes tout entières.
Naturellement, sous le règne des rois mérovingiens, parmi les traditions des constructions romaines, la charpenterie fut une de celles qui se conservèrent le mieux; le sol n'était pas épuisé, les forêts couvraient encore une grande partie des Gaules, et le bois était une des matières que l'on employait de préférence dans les constructions publiques ou privées, à cause de son abondance.
Grégoire de Tours cite un grand nombre d'églises, de villæ, de ponts, de maisons et de palais où le bois joue un grand rôle; à défaut de ce texte, les incendies fréquents qui détruisirent non-seulement un édifice, mais des villes entières, pendant les périodes mérovingienne et carlovingienne, indiquent assez que la charpenterie était fort pratiquée jusqu'au XIe siècle. Cet art devait même être, relativement à la maçonnerie, arrivé alors à une grande perfection. Malheureusement, les exemples de charpente d'une époque reculée nous font défaut, et nous ne croyons pas qu'il en existe qui soient antérieurs au XIIe siècle. Force nous est donc de prendre l'art de la charpenterie à ce moment. Mais avant de donner des exemples, il est nécessaire de tracer sommairement la marche qu'a suivie cet art, d'indiquer les causes qui ont influé sur son développement.
Tant que des forêts immenses et qui paraissaient inépuisables fournirent des bois de grande dimension et d'un gros équarrissage, on s'appliqua à donner de la solidité aux charpentes, en employant plutôt des gros bois qu'en cherchant des combinaisons en rapport avec les qualités particulières à cette matière. Nous avons encore sous les yeux la preuve de ce fait. En Angleterre, par exemple les charpentes anglo-normandes, qui datent des XIIIe et XIVe siècles, sont, comparativement à nos charpentes de la même époque, qui subsistent dans l'Ouest, en Bourgogne, en Champagne et dans l'Ile de France, beaucoup plus fortes comme équarrissage de bois, et leur solidité provient en grande partie de l'énorme dimension de ces bois. En France, dès le XIIIe siècle, l'art de la charpenterie s'applique à rechercher des combinaisons qui suppléent au faible équarrissage des bois employés. Déjà les forêts, éclaircies sur le continent, ne fournissaient plus de ces arbres deux fois séculaires en assez grande quantité pour que les constructeurs ne fussent pas obligés de remplacer le volume des bois par un judicieux emploi de leurs qualités. Il fallait encore allégir les charpentes au fur et à mesure que les constructions de maçonnerie, en s'éloignant des traditions romaines, devenaient elles-mêmes plus légères.
Les Grecs et les Romains n'adoptèrent, pour couvrir leurs édifices, que des combles peu inclinés; cette forme exigeait l'emploi de bois d'un fort équarrissage pour résister à la charge des tuiles. Dans l'architecture romane, nous voyons longtemps, même dans le Nord, les combles conserver une assez faible inclinaison, et ce n'est guère que vers le milieu du XIIe siècle qu'ils prennent des pentes plus rapides. Ces modifications apportées dans la forme des couvertures contribuèrent encore à faire abandonner les gros bois pour la charpente des combles. Il faut dire aussi que les essences de bois employées par les charpentiers septentrionaux dans les édifices n'étaient pas les mêmes que celles généralement mises en oeuvre par les Grecs et même les Romains. Ceux-ci semblaient préférer les essences résineuses, le sapin, le mélèze et le cèdre, lorsqu'ils avaient à couvrir un monument; ces bois exigeaient des équarrissages plus forts que le chêne, préféré aux bois blancs pendant le moyen âge, dans le nord et l'ouest de la France.
Les Normands, peuple de marins, semblent être les premiers, dans ces contrées, qui aient fait faire un pas considérable à l'art de la charpenterie. Il est certain que, dès le XIe siècle, ils construisirent de vastes édifices entièrement couverts par de grandes charpentes apparentes; l'Angleterre conserve encore bon nombre de ces charpentes, qui, bien qu'élevées pendant les XIIIe et XIVe siècles, sont combinées d'après des données complètement originales, et paraissent être le résultat de traditions plus anciennes. Ce qui caractérise la charpente anglo-normande, c'est son analogie avec les moyens d'assemblage employés de tous temps dans la charpenterie navale; mais nous aurons l'occasion de revenir sur cette partie de notre sujet.

Les nefs des églises de l'abbaye aux Hommes et de la Trinité de Caen étaient évidemment, dans l'origine, couvertes par des charpentes apparentes, et déjà les pentes de ces charpentes devaient être passablement inclinées. Dans le centre de la France et dans l'est, les traditions de la charpenterie antique se conservèrent assez exactement jusqu'à la fin du XIIe siècle. Or, pour ce qui est des charpentes de combles, dont nous nous occuperons d'abord, le système emprunté aux anciens est fort simple. Il consiste en une suite de fermes portant des pannes sur lesquelles reposent les chevrons. La ferme primitive est souvent dépourvue de poinçons; elle se compose (1) d'un entrait AB, de deux arbalétriers AC, BC, et d'un entrait retroussé DE, destiné à empêcher les arbalétriers de fléchir et de se courber sous la charge de la couverture. Si ces fermes ont une portée plus grande, on y ajoute un poinçon CF, venant recevoir les extrémités des deux arbalétriers, s'assemblant en F à tenon et mortaise, et arrêtant ainsi la déformation de la ferme. Si l'on craint la flexion de l'entrait AB (2), par suite de sa longueur, le poinçon vient s'assembler en F, le suspend, et l'entrait retroussé DE s'assemble en GH dans ce poinçon. Les pannes I reposaient sur les arbalétriers, retenues par des chantignolles K, et les chevrons LM s'accrochaient sur leur face externe. Mais si le comble n'a pas une forte inclinaison et si l'on veut que la rencontre des arbalétriers avec l'entrait ne porte pas à faux, ce système exige des murs d'une grande épaisseur. En effet (fig. 2): supposons que l'intervalle à couvrir NO soit de sept mètres soixante centimètres, les arbalétriers ayant 0,20 c. d'équarrissage, les pannes autant, et les chevrons 0,12 c., on voit que l'épaisseur des murs doit être de 1,10 c., ce qui est considérable eu égard au peu de largeur du vaisseau.

Aussi, dans les petits édifices romans couverts par des charpentes, on s'aperçoit que les constructeurs ont été entraînés à donner à leurs murs une épaisseur beaucoup plus grande que celle exigée par le poids de la couverture, afin de trouver, à la tête de ces murs, une assiette assez large pour recevoir la portée de ces bois superposés. La ferme de comble apparente à l'intérieur, taillée conformément à la tradition antique, privée de plafond posé sur l'entrait, conservait une apparence peu monumentale; on voulut obtenir une décoration par la manière d'assembler et de tailler les bois. Pendant la période romane, surtout dans le centre, l'ouest et le midi de la France, les architectes étaient préoccupés de l'idée de fermer les nefs par des voûtes; lorsqu'ils ne purent le faire, faute de ressources suffisantes, ils cherchèrent à donner à leurs charpentes, à l'intérieur, l'aspect d'un berceau.
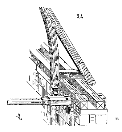
Nous voyons quelques tentatives de ce genre faites dans de petits édifices de la Guienne qui datent du XIIe siècle. Nous donnons (3) une de ces charpentes, provenant de l'église de Lagorce près Blaye 1. L'entrait est façonné, chanfreiné sur ses arêtes. Les chanfreins s'arrêtent au droit des assemblages pour laisser toute la force du bois là où un tenon vient s'assembler dans une mortaise. Les jambettes A sont taillées sur une courbe formant, avec la partie supérieure des deux arbalétriers, un demi-cercle complet. Le poinçon B reçoit des entre-toises C qui soulagent le faîtage D au moyen de liens inclinés. Ces liens empêchent le dévers des fermes et contribuent à les maintenir dans un plan vertical; les arbalétriers portaient des pannes. Cette charpente demandait encore, par conséquent, comme celle donnée fig. 2, des murs fort épais pour éviter les porte-à-faux. On évita bientôt cet inconvénient en assemblant les pannes dans l'arbalétrier même, au lieu de les poser au-dessus; on gagnait ainsi toute l'épaisseur de la panne, et même, en les assemblant de plat et en contrebas de l'affleurement extérieur de l'arbalétrier, on se réserva la place du chevron qui, alors, ne dépassait pas le plan incliné passant par la face externe de ces arbalétriers.

La fig. 4 2 explique cette combinaison. En A sont les pannes, en B le faîtage; la ligne ponctuée CD indique les chevrons. Les murs pouvaient ainsi être réduits d'épaisseur. Les extrémités de l'entrait s'assemblent à queue d'aronde dans la sablière E; celle F est entaillée pour recevoir les abouts des chevrons qui sont retenus sur le faîtage, les pannes et les sablières, par des chevilles de chêne. Mais ce moyen présente d'assez grands défauts; les pannes, posées de plat, sont faibles; elles ne portent que sur leurs tenons. Aussi n'employa-t-on ce système d'assemblage de charpente qu'assez rarement; nous ne le retrouvons guère adopté dans les constructions du Nord. Les liens courbes, si les arbalétriers étaient trop chargés, devaient, par leur pression sur l'entrait, le faire fléchir. Ces fermes ne pouvaient être employées que pour couvrir des nefs étroites, et n'eussent pu, exécutées sur de grandes dimensions, conserver leur rigidité. Ces exemples font voir qu'alors les charpentiers ne se rendaient pas un compte exact de la fonction de l'entrait, qui doit être uniquement d'empêcher l'écartement des arbalétriers, mais qui ne peut et ne doit supporter aucune charge; aussi, on changea promptement les jambettes A (fig. 3), et, les retournant, on les assembla dans l'extrémité inférieure du poinçon (5). L'entrait restait libre alors, suspendu au milieu de sa portée par le poinçon, et les deux jambettes, converties en liens B, arrêtèrent parfaitement la flexion des arbalétriers. Ces données élémentaires avaient été adoptées déjà dans l'antiquité; mais la préoccupation des architectes romans de donner à leurs charpentes l'apparence d'une voûte avait fait préférer le système vicieux dont les fig. 3 et 4 nous donnent des exemples. Les petites dimensions des charpentes romanes encore existantes et leur extrême rareté ne nous permettent pas de nous étendre sur l'art de la charpenterie à cette époque reculée; nous serions obligés de nous lancer dans les conjectures, et c'est ce que nous voulons éviter.

Nous ne pouvons étudier l'art de la charpenterie du moyen âge d'une façon certaine et utile qu'au moment où l'architecture quitte les traditions romanes et adopte un nouveau mode de construction originale, partant d'un principe opposé à la construction antique.
Il nous faut distinguer les charpentes de combles (puisque c'est de celles-ci que nous nous occupons d'abord) en charpentes destinées à couvrir des voûtes et en charpentes apparentes. Les premières n'ont qu'une fonction utile n'étant pas vues de l'intérieur des édifices; elles doivent, par conséquent, tout sacrifier à la solidité. Les secondes supportent la couverture en plomb, en ardoise ou en tuile, et deviennent un moyen de décoration intérieure.
Lorsque, pendant la période romane, on prit le parti de fermer les nefs ou les salles des grands édifices par des voûtes, le berceau fut la première forme choisie (voy. ARCHITECTURE RELIGIEUSE). La couverture était immédiatement posée alors sur l'extrados de la voûte; c'était en effet le moyen le plus naturel. Mais, dans le nord de la France, on reconnut bientôt que ces couvertures posées à cru sur la voûte ne pouvaient les protéger d'une manière efficace; les réparations étaient difficiles, car les eaux pluviales, s'introduisant sous un joint de dalle ou sous une tuile, allaient dégrader les voûtes loin du point par lequel l'infiltration avait lieu. On songea donc à protéger les voûtes par des charpentes destinées à isoler la couverture et à permettre ainsi de réparer promptement et facilement la moindre dégradation. Mais le système des voûtes en berceau obligeait les constructeurs, ou d'élever les murs goutterots jusqu'au-dessus du niveau de la clef de ces voûtes pour pouvoir passer les entraits de la charpente, ou de se passer d'entraits s'ils laissaient la crête des murs goutterots à un niveau inférieur à ces clefs de voûtes.

Soit (6) une voûte en berceau tiers-point, comme celles, par exemple, de la cathédrale d'Autun ou des églises de Beaune et de Saulieu; la corniche des murs goutterots est en A, le niveau de la clef du berceau en B; quand il ne s'agissait que de former un massif en pente sur l'extrados du berceau pour poser une couverture en dalles ou en tuiles romaines à cru, le niveau inférieur de la corniche A était parfaitement motivé; mais lorsque, sans élever ce niveau, on voulut poser une charpente pour recevoir la couverture, il fallut se passer d'entraits et trouver une combinaison d'assemblage de bois qui pût remplacer cette pièce essentielle. Souvent les constructeurs ne firent pas de grands efforts pour résoudre le problème; ils se contentèrent d'élever de distance en distance des piles en maçonnerie sur l'extrados du berceau, posèrent des arbalétriers sur ces piles, puis les pannes sur les arbalétriers, le chevronnage et la tuile. Mais alors tout le poids de la charpente et de la couverture portait sur ces voûtes, souvent mal contrebutées, les déformait et renversait les murs goutterots. Quelques constructeurs prirent un parti plus sage, et remplacèrent l'entrait par deux pièces C D, E F assemblées en croix de Saint-André, à mi-bois (fig. 6). Employant des bois d'un équarrissage énorme, mais élégis entre les assemblages afin de diminuer leur poids, ils purent ainsi, grâce à la puissance des tenons à doubles chevilles, empêcher l'écartement des arbalétriers pendant un certain temps. Cependant ces sortes de charpentes ne pouvaient durer longtemps 3; les arbalétriers, n'ayant guère qu'une inclinaison de 45 à 50 degrés, chargés de tuiles pesantes, de lourds chevronnages, arrachaient les tenons des deux faux entraits et poussaient au vide. C'est pourquoi, dans la plupart de ces édifices, on suréleva les murs goutterots, ainsi que l'indique le tracé H 4, de façon à ce que la corniche atteignit le niveau des clefs de la voûte, et on posa des fermes avec entraits K au-dessus des berceaux. Mais on peut se rendre compte de l'énorme construction inutile exigée par ce dernier moyen.
Pendant ces essais, la voûte en arcs d'ogives prit naissance. Dans les premiers moments, cependant, les clefs des arcs doubleaux et des arcs ogives des voûtes nouvelles atteignaient un niveau supérieur à celui des clefs des formerets, comme à la cathédrale de Langres, comme encore dans le choeur de la cathédrale de Paris, et il fallut avoir recours au système de charpente représenté dans la fig. 6. Ce ne fut guère qu'au commencement du XIIIe siècle que, la voûte en arcs d'ogives ayant atteint sa perfection (voy. VOÛTE), les charpentes de combles purent se développer librement, et qu'elles adoptèrent promptement des combinaisons à la fois stables, solides et légères.
La plus ancienne charpente élevée au-dessus d'une voûte en arcs d'ogives que nous connaissions, est celle de la cathédrale de Paris; elle ne peut être postérieure à 1220, si l'on s'en rapporte à quelques détails de sculpture et quelques profils qui la décorent. Mais avant de décrire cette charpente, nous devons indiquer les modifications profondes qui s'étaient introduites dans l'art de la charpenterie, vers la fin du XIIe siècle, par suite de l'adoption d'un nouveau système général de construction. Ce n'était plus par l'épaisseur des murs ou par des culées massives que l'on contrebutait les voûtes centrales des églises à plusieurs nefs, mais par des arcs-boutants reportant les poussées sur le périmètre extérieur des édifices, quelle que fût leur largeur. C'était le système d'équilibre qui remplaçait le système antique ou roman (voy. CONSTRUCTION); dès lors, dans les monuments composés de trois ou cinq nefs, les piles intérieures, réduites à un diamètre aussi petit que possible, n'avaient plus pour fonction que de porter des archivoltes et les naissances des voûtes, entre les formerets desquelles s'ouvraient de larges fenêtres. Ces formerets et archivoltes de fenêtres ne pouvaient recevoir sur leur extrados que des bahuts dont l'épaisseur ne devait pas dépasser le diamètre des piles inférieures; il résultait de cette innovation que ces bahuts présentaient une section assez faible, surtout si, comme cela avait lieu souvent au commencement du XIIIe siècle, il fallait encore, outre la bahut, trouver, à la partie supérieure de l'édifice, un chéneau pour la distribution des eaux et un garde-corps. L'assiette sur laquelle venaient reposer les sablières des grandes charpentes de combles était donc assez étroite, et se trouvait réduite à un mètre environ; quelquefois, mais plus rarement, dans les monuments d'une grande étendue, et beaucoup moins dans les nefs d'une largeur médiocre. Il devenait impossible, sur des bahuts aussi peu épais, de trouver la place nécessaire pour appuyer le pied des arbalétriers, des chevrons, et pour projeter l'épaisseur des pannes. Afin de poser en plein les charpentes sur ces bahuts étroits, on changea d'abord la pente des combles; on la porta de 40 ou 50 degrés à 60 et même 65 degrés, puis on supprima les pannes posées sur les arbalétriers, et on composa les combles de fermes entre lesquelles vinrent se ranger des chevrons à peu près armés comme elles, affleurant le plan passant par la face externe des arbalétriers, et ne différant guère des fermes-maîtresses que parce qu'ils n'avaient point d'entraits à leur base, mais reposaient seulement sur des patins assemblés dans les doubles sablières. On désigne ces charpentes sous la dénomination de charpentes à chevrons portant fermes. C'était, dans l'art de la charpenterie, un mode de construction neuf et qui était en harmonie parfaite avec le nouveau système adopté dans la maçonnerie. Il avait 1º l'avantage de ne demander qu'une assiette aussi peu épaisse que possible; 2º au lieu de reporter la charge de tout le comble et de sa couverture sur les maîtresses-fermes (comme le système de charpentes avec pannes), il répartissait également les pesanteurs sur la totalité de la tête des murs ou bahuts: nous faisons ressortir l'importance de cette disposition dans le mot CONSTRUCTION; il nous suffira de l'indiquer ici; 3º ce nouveau moyen permettait de n'employer que des bois d'un équarrissage faible relativement à leur longueur, puisque chaque arbalétrier ou chevron était également chargé, et de poser ainsi, au sommet d'édifices très-élevés, des charpentes très-légères relativement à la surface couverte. En rendant les piles inférieures des grands vaisseaux plus grêles, les constructeurs firent des voûtes très-légères; ils devaient naturellement chercher à diminuer le poids des charpentes destinées à les couvrir, et surtout à éviter des inégalités dangereuses dans les pesanteurs des parties supérieures des constructions.
Il convient que nous rendions à nos lecteurs un compte exact de ce qui constitue la partie essentielle de la charpente de comble combinée avec le mode de la construction ogivale. Nous commencerons donc par l'assiette de ces combles sur les bahuts ou têtes de murs.

Soit A (7) le bahut en pierre; on pose deux sablières B B' plutôt sur leur plat que carrées. C est l'entrait de la ferme-maîtresse assemblé à queues d'arondes dans les deux sablières, ainsi qu'il est indiqué en E E' dans le plan, de façon à ce que l'entrait retienne les sablières poussées en dehors par les chevrons portant fermes. D est le patin ou blochet dans lequel s'assemble, à tenon et mortaise, le chevron portant fermes; ce blochet s'entaille pour mordre les deux sablières et est ainsi retenu par elles. F est l'arbalétrier, G le chevron. Si l'espace entre les fermes-maîtresses est trop grand, ou si, à cause de la largeur du vaisseau à couvrir, on craint que les deux sablières ne viennent à rondir au milieu, sollicitées par la poussée des chevrons, deux pièces horizontales H sont posées entre ces sablières et reportent cette poussée sur les points E retenus fixes par les bouts des entraits. Des jambettes I viennent reporter une partie de la charge des arbalétriers ou chevrons sur l'extrémité intérieure des blochets et donnent de l'empattement aux grandes pièces inclinées. Souvent, dans les grandes charpentes, le pied des arbalétriers et chevrons s'assemble à deux tenons dans deux mortaises, ainsi que l'indique le détail K, afin d'éviter que la poussée ne s'exerce sur le champ très-étroit d'un seul tenon et aussi pour empêcher la torsion de ces pièces principales. Les jambettes sont également assemblées à tenons doubles dans les blochets et les entraits, et, de plus, ils sont toujours embrévés dans ces arbalétriers et chevrons, comme il est figuré en L. Quelquefois même, les arbalétriers et chevrons portent un renfort pour donner plus de prise à cet embrèvement, sans affamer le bois; c'est ce renfort que figure le détail M. Les jambettes I sont ou verticales ou légèrement inclinées, ainsi que l'indique la fig. 7; dans cette dernière position, elles retiennent mieux la poussée du pied des chevrons ou arbalétriers. Du reste, plus les combles sont aigus, plus les jambettes se rapprochent de la verticale. Le moyen adopté pour asseoir les charpentes de combles bien connu, on comprendra facilement le système général admis par les architectes du commencement du XIIIe siècle dans la construction de leurs grands combles.

Prenons donc comme exemple d'une des charpentes de combles les plus anciennes, celle du choeur de Notre-Dame de Paris; nous aurons ainsi, dans un petit nombre de figures, des fermes ordinaires, des chevrons portant fermes et une croupe. La fig. 8 donne le plan de la croupe qui couvre le chevet. Les fermes-maîtresses sont accouplées. Le côté A du plan présente la projection horizontale des sablières et des entraits au-dessus du bahut; le côté B, la projection horizontale de la première enrayure.

La fig. 9 est l'élévation de la ferme-maîtresse C de croupe. Dans cette élévation, on voit, au-dessous des grands arbalétriers E, deux sous-arbalétriers F. C'était là un moyen puissant pour maintenir le poinçon G dans son plan vertical et pour donner à la ferme une grande résistance. Le premier entrait retroussé H s'assemble dans les arbalétriers, dans les sous-arbalétriers et dans le poinçon. Le second entrait retroussé I se compose de deux moises qui embrassent ces mêmes pièces. Le troisième entrait retroussé K s'assemble à tenon et mortaises dans le poinçon et dans les deux arbalétriers. L'entrait L est suspendu au poinçon, 1º par deux moises M et des clefs, 2º par deux paires de moises verticales N retenues de même par des clefs de bois sur les sous-arbalétriers et sur le premier entrait retroussé. Deux autres paires de moises O remplacent les jambettes et viennent serrer et réunir, au moyen de clefs, les arbalétriers avec l'entrait. Comme surcroît de précaution, et pour mieux asseoir l'entrait, des liens P reportent une partie du poids de cet entrait sur des poteaux adossés au bahut. Ces liens ne sauraient pousser les murs, car ils sont placés au droit des arcs-boutants extérieurs. La flexion des arbalétriers de cette ferme est donc arrêtée à intervalles égaux par les trois entraits retroussés, rendus rigides eux-mêmes par les sous-arbalétriers. La flexion de l'entrait est arrêtée par le poinçon, les deux paires de moises N et les liens P. Il n'y a donc aucune déformation à craindre dans le grand triangle composant la ferme. Mais c'est là une ferme de croupe qui reçoit à son sommet les bouts des chevrons du chevet, ainsi que le démontre le plan fig. 8; or cette ferme était poussée par tous ces chevrons qui viennent s'appuyer sur le poinçon d'un seul côté; elle devait nécessairement sortir de son plan vertical. Voici comment les charpentiers évitèrent ce danger.

La fig. 10 donne la coupe du comble suivant l'axe longitudinal du chevet. Q est la ferme-maîtresse dont la fig. 9 donne l'élévation; en R sont tous les chevrons de croupe qui viennent buter contre son sommet. Afin de la maintenir dans le plan vertical Q S, les charpentiers posèrent les grandes pièces inclinées T U, V X. La première vient s'asseoir sur les sablières en T, se réunit à la seconde par une coupe en V. La seconde s'assemble à l'extrémité du poinçon de la cinquième ferme-maîtresse, et de ce point deux pièces verticales, posées en forme de V, vont reporter la poussée à une assez grande distance sur les bouts d'un entrait, afin d'éviter l'écartement des branches de ce V, ainsi que l'indique la fig. 11.

La pièce inclinée T U est, de plus, suspendue au poinçon Q et aux deux faux poinçons Y Z par de fortes moises et des clefs. C'est sur cette pièce inclinée T U, qui est par le fait un arbalétrier très-résistant, que viennent s'assembler les trois contre-fiches C' destinées à contrebuter la poussée des chevrons de croupe et à maintenir la ferme-maîtresse dans son plan vertical Q S. Les autres parties de cette charpente n'ont pas besoin de longues explications pour être comprises. Les sablières circulaires de la croupe sont maintenues par un entrait D' suspendu par une paire de moises F' au chevron d'axe qui est doublé et remplit les fonctions d'un arbalétrier, car il s'assemble sur l'extrémité de la pièce inclinée T U. Cet entrait porte un châssis a b c (fig. 8) destiné à soulager la première enrayure. Le roulement de toute la charpente est évité par les liens H (fig. 10) qui s'assemblent dans les entre-toises d'axes horizontales posées sous la seconde enrayure et dans les poinçons des fermes. Le voligeage en chêne maintient les chevrons dans leur plan vertical, cette charpente étant, comme toutes les charpentes de cette époque, dépourvue de faîtage et de pannes. Le fléchissement des chevrons est évité au moyen des entraits retroussés K' qui sont soulagés par les entre-toises d'axe R', et les doubles entre-toises P' s'assemblent dans les moises pendantes N de la fig. 9.
Pour peu que l'on soit familier avec l'art de la charpenterie, il n'est pas difficile de reconnaître les défauts de cette charpente; il n'y a pas de solidarité entre les fermes; les liens destinés à empêcher le roulement sont trop petits et trop faibles pour remplir cet office d'une manière efficace, et la preuve en est que, quand on enlève la volige, on fait remuer à la main les fermes-maîtresses et surtout les chevrons portant ferme. Le moyen adopté pour arrêter la poussée des chevrons de croupe sur le poinçon n'est qu'un expédient. Déjà, cependant, la charpente de la nef de la cathédrale de Paris, dressée peut-être quelques années après celle du choeur, présente sur celle-ci de notables améliorations. Mais c'est surtout en étudiant la souche de la flèche de la même église, qui s'élevait au centre de la croisée, qu'on est frappé de l'adresse et surtout de la science pratique des charpentiers du XIIIe siècle, et cette souche de flèche a dû être mise au levage vers 1230 au plus tard. Nous aurons l'occasion d'y revenir ailleurs. Nous devons suivre notre discours et faire voir les perfectionnements introduits successivement dans le système des fermes.
La charpente de l'église cathédrale de Chartres, brûlée en 1836, et qui paraissait appartenir à la seconde moitié du XIIIe siècle, présentait déjà de grandes améliorations sur le système adopté dans la construction de celle de la cathédrale de Paris; nous n'en possédons malheureusement que des croquis trop vagues pour pouvoir la donner à nos lecteurs. Cela est d'autant plus regrettable que cette charpente était immense, qu'elle n'avait subi aucune altération, que les bois étaient tous équarris à vive arête et parfaitement assemblés.

La charpente de l'église de Saint-Ouen de Rouen, qui date du XIVe
siècle, dans des dimensions médiocres, nous donne un bel exemple de
l'art de la charpenterie à cette époque. Nous en donnons (12) en A la
coupe transversale, et en B la coupe longitudinale. Déjà cette charpente
possède un sous-faîte C sur lequel viennent se reposer les têtes des
chevrons assemblés à mi-bois et maintenus par des chevilles. Ce
sous-faîte est lui-même maintenu horizontal par les grandes croix de
Saint-André D et par les liens E. Les croix de Saint-André et les liens
assemblés à mi-bois ont encore pour fonction d'empêcher le déversement
des fermes et de tout le système. Les grandes moises pendantes F,
attachées en G à l'arbalétrier par des chevillettes de fer, en H à
l'entrait retroussé par des clefs de bois, suspendent l'entrait en I
déjà suspendu en M au poinçon. Le poids de ces moises pendantes, en
chargeant les esseliers K, exerce une poussée en L qui arrête la flexion
de l'arbalétrier sur ce point. Une particularité de cette charpente,
c'est que le pied des chevrons et leurs jambettes ne s'assemblent pas
dans des blochets conformément à l'usage ordinaire, mais dans des
doubles sablières posées sur les semelles qui reçoivent les bouts des
entraits et chevillées avec celles-ci. La fig. 13 donne en N le détail
de l'assemblage des chevrons et jambettes dans les doubles sablières, en
P le détail des moises pendantes F, et en O le moyen de suspension de
l'entrait au poinçon. On remarquera que le fer est déjà employé dans
cette charpente en R et en S pour attacher les moises pendantes. Ce sont
des chevillettes à tête carrée.
La charpente de l'église de Saint-Ouen de Rouen est exécutée avec grand soin; les bois sont parfaitement équarris, chanfreinés sur les arêtes; les grandes moises pendantes, dont le détail est figuré en P (fig. 13), sont élégies, car ces bois n'agissant que comme suspension, il n'était pas nécessaire de leur laisser toute leur force entre les clefs. Nous trouvons à Saint-Germer une charpente posée au-dessus des voûtes de la chapelle, à la fin du XIIIe siècle, qui a la plus grande analogie avec celle-ci et qui est de même exécutée avec une rare perfection. Mais les difficultés étaient autres et plus sérieuses lorsqu'il s'agissait de dresser une charpente sur une de ces nefs, telle, par exemple, que celle de la cathédrale de Reims. Sous le règne de Louis XI, un incendie détruisit toutes les couvertures de cet édifice; on les reconstruisit à neuf vers la fin du XVe siècle et le commencement du XVIe. Alors l'art de la charpenterie était arrivé à son apogée; l'esprit des constructeurs s'était particulièrement appliqué à perfectionner cette branche de l'architecture, et ils étaient arrivés à produire des oeuvres remarquables au double point de vue de la combinaison et de l'exécution. Le bois se prêtait mieux que toute autre matière aux conceptions architectoniques du XVe siècle, et on l'employait à profusion dans les constructions civiles et religieuses; il ne faut donc pas s'étonner si, à cette époque, les charpentiers étaient arrivés à un degré d'habileté supérieur.

Nous donnons (14) une coupe transversale et une coupe longitudinale de la charpente de la cathédrale de Reims. Les fermes sont taillées sur un triangle qui n'a pas moins de 14m,40 de base sur 15m,50 de hauteur du sommet à la base; les arbalétriers et les chevrons ont 17m,00. La coupe longitudinale C est faite dans l'axe sur le poinçon; celle D est faite suivant la ligne ponctuée A B; la coupe transversale est faite entre deux fermes. La partie inférieure des chevrons de E en F est appuyée sur deux cours de pannes portées par une contre-fiche G posée sous l'arbalétrier et venant s'assembler dans l'entrait et à la tête d'un poteau H. Ce poteau est suspendu par les sous-arbalétriers moises I, et suspend lui-même l'entrait en K au moyen de deux moises pendantes et des clefs de bois, ainsi que l'indique la coupe longitudinale D. Il reçoit à son sommet deux entre-toises L M qui arrêtent le déversement de la partie intermédiaire de la charpente au moyen de liens et de croix de Saint-André. Dans la partie supérieure, le fléchissement des chevrons est seulement arrêté par des jambettes N et des entraits retroussés O. Quant aux arbalétriers des fermes, ils sont rendus rigides par deux entraits retroussés P R, des jambettes S et des esseliers T. Un sous-faîte U, assemblé à la tête des grands poinçons, règle en leur servant d'appui les bouts supérieurs des chevrons assemblés à mi-bois. Un second sous-faîte V et des croix de Saint-André maintiennent le sommet des fermes dans leur plan vertical. Les grands poinçons suspendent les entraits au milieu de leur portée au moyen de longues moises pendantes, serrées par plusieurs clefs de bois. On ne voit, dans toute cette charpente, aucune ferrure; elle est (eu égard à sa grande dimension) fort légère, et les bois employés sont d'une qualité supérieure, parfaitement équarris et assemblés. Toute sa force consiste dans ces sous-arbalétriers-moises I qui sont d'un seul morceau et n'ont pas moins de 14m,50 de longueur. Les équarrissages ne dépassent pas 0,22 c. pour les plus grosses pièces, huit pouces de l'ancienne mesure. On voit que, dans la charpente de la cathédrale de Reims, les pannes sont déjà employées, non point posées sur l'arbalétrier, mais sous lui; la face extérieure de l'arbalétrier est toujours dans le plan extérieur du chevronnage. Toutefois, à Reims, n'était le peu d'écartement des fermes, les pannes pourraient fléchir dans leur portée sous le poids des chevrons. Dans d'autres charpentes qui datent de la même époque, le fléchissement des pannes est prévu et habilement évité.

Soit (15) une ferme-maîtresse; le fléchissement de l'arbalétrier est maintenu 1º par l'entrait retroussé C, 2º par les contre-fiches A A' qui s'assemblent dans deux cours de pannes B B; la contre-fiche A' perpendiculaire à l'arbalétrier, ne peut glisser, 1º parce qu'elle est arrêtée à sa place par le renfort E ménagé sous l'arbalétrier, et 2º parce qu'elle est serrée par les moises D. La contre-fiche A inférieure est parfaitement arrêtée par la jambe de force F. Au-dessus de l'assemblage de cette jambe de force dans la contre-fiche, des moises pendantes sont arrêtées par une clef de bois, et celles-ci suspendent l'entrait dans sa portée entre les sablières et le poinçon. De grands goussets assemblés en H dans les contre-fiches empêchent les pannes de fléchir entre les fermes, de sorte que les chevrons figurés en K sont complètement libres et ne sont réunis que par les entraits retroussés I portant sur l'entre-toise L maintenue rigide, ainsi que le sous-faîte, par des croix de Saint-André longitudinales, comme dans la fig. 14. Le système des jambes de force F et des moises pendantes G donne une grande fermeté à la base de cette charpente, car les forces et les pesanteurs se neutralisent à ce point que, plus la charge agit et plus l'entrait et les arbalétriers se roidissent.

Voici (15 bis) un détail perspectif de l'assemblage des contre-fiches avec le cours de pannes inférieur. En M est figurée la jambe de force; en N l'arbalétrier avec son renfort O destiné à arrêter la panne R; en S la contre-fiche avec ses deux grands goussets TT'; le gousset T' est supposé brisé pour laisser voir la tête des moises pendantes avec sa clef de bois au-dessus de l'assemblage de la jambe de force dans la contre-fiche; en V sont les chevrons. On rencontre un assez grand nombre de charpentes de comble, de la fin du XVe siècle et du commencement du XVIe, tracées et taillées suivant ce système, qui est excellent et n'exige en oeuvre que peu de bois. La charpente de la cathédrale d'Amiens entre autres, refaite au commencement du XVIe siècle, est armée de pannes ainsi maintenues rigides au moyen de goussets assemblés dans les contre-fiches perpendiculaires aux arbalétriers. Quelquefois, dans de très-grandes charpentes, les contre-fiches reçoivent non-seulement les goussets qui maintiennent les pannes rigides, mais encore des esseliers et des liens qui soulagent l'arbalétrier, ainsi que l'indique la fig. 16.

On remarquera que ce système de goussets assemblés dans les pannes a encore cet avantage d'empêcher le hiement des fermes et de tout le chevronnage.
Le système de charpente couvrant des voûtes, dont nous venons d'indiquer les développements successifs, est suivi dans les charpentes apparentes, mais avec certaines modifications nécessitées par la décoration intérieure. Nous avons dit déjà que les architectes étaient fort préoccupés, dès le XIIe siècle, de l'idée de voûter les grandes salles, les nefs des églises; mais les ressources ne permettaient pas toujours d'adopter ce mode qui exigeait soit des contre-forts puissants à l'extérieur, soit des arcs-boutants destinés à reporter les poussées de ces voûtes en dehors des collatéraux. Lorsque les architectes ne purent voûter les grands vaisseaux en pierre, en moellon ou en brique, ils cherchèrent néanmoins à donner à leurs charpentes l'apparence d'une voûte en berceau; et c'est dans ces charpentes, dont une partie était vue du dedans, que les constructeurs ont déployé toutes les ressources de leur art. Nous ne connaissons pas de grandes charpentes apparentes antérieures au XIIIe siècle; il est probable que celles qui existaient avant cette époque, dans le nord de la France, rappelaient jusqu'à un certain point les charpentes des basiliques primitives du moyen âge qui laissaient voir les entraits et étaient seulement plafonnées au-dessous du faîte, comme, par exemple, la charpente de la nef de la cathédrale de Messine, si richement décorée de peintures à l'intérieur. Il ne faut pas oublier d'ailleurs que cette charpente de la cathédrale de Messine fut élevée pendant la domination des Normands en Sicile, et que si, dans sa décoration peinte, on sent une influence bien évidente de l'art des Maures, elle n'en est pas moins l'oeuvre des conquérants chrétiens; que les figures symboliques et les sujets sacrés y abondent. Il y a tout lieu de croire que les charpentes apparentes à l'intérieur qui couvraient les vastes nefs des églises de Saint-Remy de Reims, de la Trinité et de Saint-Étienne de Caen, et, en Angleterre, de la cathédrale de Peterborough entre autres, avaient beaucoup de rapports avec la charpente de la cathédrale de Messine, quant au système adopté, à l'inclinaison des arbalétriers et à la décoration intérieure. Sans entrer dans le champ des conjectures, mais nous appuyant sur cet exemple, unique peut-être, de la charpente de la cathédrale de Messine 5, nous pouvons indiquer quelques points saillants qui feront comprendre en quoi les charpentes normandes se rapprochaient de la charpente de la basilique primitive et en quoi elles en différaient. La charpente de la cathédrale de Messine ne consiste qu'en une suite de fermes assez peu distantes, 2m,50 d'axe en axe, composées d'entraits placés de champ et d'un fort équarrissage, de deux arbalétriers sans poinçons, mais possédant un petit plafond sous le faîte d'une extrême richesse. Le lambris incliné entre ce plafond et la tête des murs ou le pied des arbalétriers se compose d'une suite de pannes très-rapprochées, encadrées par quatre planches clouées, recevant un double voligeage et la tuile. Une figure est nécessaire pour faire comprendre ce système fort simple (17).

Les entraits ont 14m,00 de portée; grâce à leur énorme équarrissage (0,80 c. sur 0,45 c.), ils n'ont pas fléchi d'une manière sensible. Ils sont soulagés sous les portées par des corbeaux. Les arbalétriers, assemblés à la tête à mi-bois et chevillés, sont maintenus en outre chacun dans leur plan par le poids du petit plafond C suspendu à des moises pendantes. Afin d'éviter l'épaisseur des pannes et du chevronnage qui eût obligé de donner une grande épaisseur aux murs, ainsi que nous l'avons démontré au commencement de cet article, les charpentiers ont supprimé les pannes et ont posé les chevrons en travers sur les arbalétriers, comme le démontre notre fig. 17 A perspective et B géométrale d'une ferme avec les chevrons et le plafond sous-faîte. Dès lors ce chevronnage, ou plutôt cette série de petites pannes, n'avait plus qu'à recevoir la volige en long. Mais pour éviter les fissures qui n'eussent pas manqué de laisser pénétrer le vent sous la tuile entre ces voliges, celles-ci ont été doublées, ainsi que l'indique la fig. 18, celles du dessous étant ajourées, entre chaque panne, par des étoiles; toutefois, malgré cet ajour qui devenait un joli motif de décoration, tous les joints sont couverts, et l'air ne peut pénétrer à l'intérieur.

Le voligeage extérieur posé en travers reçoit la tuile, creuse aujourd'hui, autrefois très-probablement romaine 6. La volige en travers est nécessaire pour retenir le glissement de la tuile, que le fil du bois posé suivant la pente eût occasionné facilement. Cette charpente, si simple dans ses combinaisons, est décorée de la façon la plus splendide par des peintures et des dorures. Le petit plafond sous-faîte se compose de deux rangs de caissons étoilés et creusés en forme de petites coupoles, pénétrant dans les entre-deux des châssis C, fig. 17. Une sorte de pâte ou de mastic revêt ce plafond et se détache sur les fonds, en fleurons et tigettes peu saillants. Cette partie de la charpente est particulièrement riche en dorure et en magnifiques ornements peints, de sorte qu'en entrant dans la cathédrale de Messine on est tout d'abord frappé par cette ligne de caissons disposés suivant l'axe de l'édifice et qui conduisait l'oeil à la riche mosaïque absidale qui existait autrefois au-dessus du sanctuaire. Les arbalétriers et les chevronnages ont admis des tons plus sombres, comme pour faire ressortir davantage l'éclat de cette épine toute semée d'azur clair et de tons blancs et roses sur des fonds d'or (voy. PEINTURE).
Vers le milieu du XIIe siècle, les architectes renoncèrent à ce système de charpente; ils sentirent la nécessité d'employer des bois d'un équarrissage moins fort, plus faciles à se procurer par conséquent, et plus légers; employant des bois moins gros, il fallut donner aux arbalétriers une plus grande inclinaison, afin qu'ils ne fléchissent pas sous le poids de la couverture, et, dans les grandes charpentes, suspendre les entraits au milieu de leur portée. Excepté dans les provinces méridionales, où les charpentes conservèrent une faible inclinaison, partout en France et en Angleterre, on modifia, à la fin du XIIe siècle, le système des charpentes apparentes comme on avait modifié le mode de construction des maçonneries; les plafonds, les chevronnages lambrissés furent remplacés par des berceaux plein-cintre ou tiers-point, laissant passer les entraits à leur base, et logés dans la hauteur du comble. Ce système était fort économique, en ce qu'il évitait la construction des voûtes en maçonnerie, les contre-forts nécessaires pour les contre-butter, et en ce qu'il ne perdait pas tout l'espace compris, dans les édifices voûtés, entre ces voûtes et le faîte des combles.
Peu d'exemples suffiront pour faire comprendre le système des charpentes apparentes adopté au moment où naît l'architecture ogivale, et qui ne cesse d'être employé qu'à la fin du XVIe siècle. Nous choisirons l'un des mieux combinés et des plus légers qui date du milieu du XIIIe siècle; c'est la charpente de la grande salle de l'ancien évêché d'Auxerre, aujourd'hui approprié à la préfecture 7.

En A (19), nous présentons l'une des fermes; entre l'entrait B et l'entrait retroussé D, on voit une suite de courbes C habilement assemblées qui sont destinées à recevoir les bardeaux ou feuillets de chêne qui forment un berceau plein-cintre légèrement surbaissé; en I est le poinçon qui passe à travers le berceau, au droit de chaque ferme, et vient suspendre l'entrait. La coupe longitudinale E montre une ferme en F et une suite de chevrons portant ferme G. Tous les chevrons sont armés chacun d'un entrait retroussé avec des courbes absolument semblables à celles C de la ferme-maîtresse. Les bardeaux en bois refendus sont cloués sur chaque courbe des chevrons et des fermes, ainsi qu'on le voit en H, et des couvre-joints, moulurés viennent cacher les joints et renforcer encore les courbes à l'intérieur, en même temps qu'ils servent de décoration. De grandes croix de Saint-André, assemblées dans les poinçons, dans les sous-faîtes K et entre-toises L, empêchent le hiement de l'ensemble de la charpente et le déversement des fermes. Nous donnons en M un détail du chapiteau du poinçon au point où il commence à devenir apparent sous le berceau. Cette charpente est aussi légère que solide, et il est facile de reconnaître qu'on n'y a mis en oeuvre que la quantité de bois rigoureusement nécessaire à sa stabilité. Les équarrissages sont réduits à leur plus faible volume. Dans sa partie vue, le poinçon ne donne, en section horizontale, qu'un octogone de 0,13 centimètres de diamètre; les arbalétriers n'ont que 0,14 c. sur 0,12 c. d'équarrissage, les chevrons 0,13 c. sur 0,12 c. Mais la façon dont les chevrons portant ferme sont rendus rigides mérite particulièrement de fixer l'attention des constructeurs.

La fig. 20 représente l'un d'eux. Posés sur des blochets, les pieds des chevrons sont raffermis par des jambettes courbes N; un entrait retroussé O les réunit, et deux contre-fiches PP, assemblées à mi-bois avec l'entrait retroussé, viennent étayer les chevrons au-dessus du berceau en RR, en même temps qu'elles empêchent le triangle de se déformer par l'action du vent ou d'une charge plus forte d'un côté que de l'autre. Dans la coupe longitudinale E, on voit en S la rencontre des contre-fiches assemblées tenant aux chevrons, et comment cette rencontre ne gêne en rien le passage des grandes croix de Saint-André longitudinales. Cette charpente porte de la latte et de la tuile depuis six siècles, sans avoir subi aucune altération grave, et malgré qu'on ait coupé plusieurs pièces pour passer des tuyaux de cheminée.
Sur l'une des salles beaucoup plus petite, du même édifice, nous trouvons encore une charpente dont la combinaison, aussi bien entendue que simple, doit nous arrêter. Cette salle n'a pas plus de 4m,80 de largeur; elle était, de même que la grande, couverte par un berceau plein-cintre en charpente avec entraits et poinçons apparents. Nous donnons (21) cet exemple.
En A est la ferme-maîtresse, en B un des chevrons portant ferme, et en C la coupe longitudinale de la charpente. Comme toujours, des bardeaux en chêne avec couvre-joints étaient cloués sur les courbes des fermes et chevrons. Ces bardeaux ou feuillets de chêne refendu ont ordinairement 0,01 c. d'épaisseur, et même quelquefois 0,009 m. Ceux de la grande charpente (fig. 19) n'ont pas davantage; ils sont assemblés à grain d'orge, ainsi que l'indique la fig. 22, afin d'empêcher le vent qui passe sous la tuile de pénétrer à l'intérieur. Mais le berceau apparent de ces sortes de charpente n'adopte pas toujours la forme plein-cintre; il n'est quelquefois qu'un segment de cercle et plus souvent en tiers-point.


Telle est la charpente apparente de l'église de Mauvesin près Marmande 8 que nous donnons (23). Nous choisissons celle-ci, entre beaucoup d'autres, à cause de la disposition particulière des sablières, qui sont posées sur les entraits au lieu d'être au-dessous, et des blochets C qui viennent s'assembler dans les jambettes D, lesquelles sont pendantes et terminées par un cul-de-lampe, ainsi que le démontre la fig. 24. Les chevrons E, étant eux-mêmes assemblés à l'extrémité des blochets, débordent l'arête extérieure de la tête du mur, et tiennent lieu des coyaux destinés ordinairement à supporter l'égout du toit lorsque celui-ci, comme dans le cas présent, n'a pas de chéneau.

Dans cette fig. 24, nous avons indiqué l'entrait en F privé de son arbalétrier et de sa jambette. La charpente de l'église de Mauvesin possède un véritable faîtage en A (fig. 23), dans lequel viennent s'assembler les extrémités des chevrons et non point un sous-faîte, comme la plupart des charpentes précédentes. Le déversement des fermes est maintenu par des liens assemblés en B dans le poinçon, dans les entre-toises et dans le faîtage. Les chevrons entre les fermes, espacées de 4m,30, sont munis chacun d'un entrait retroussé, d'esseliers et de jambettes courbes comme les fermes-maîtresses; ils ne diffèrent de celles-ci que par l'absence du poinçon et de l'entrait. Cette charpente, qui couvre une nef de 7m,00 de largeur, est fort simple et solide; les courbes, aujourd'hui dégarnies, recevaient autrefois des bardeaux avec couvre-joints, comme ceux de la fig. 19.

Cependant les charpentiers des XIIIe et XIVe siècles élevaient des charpentes apparentes encore plus simples que celles données ci-dessus, pour couvrir des vaisseaux d'une largeur de 7m,00 à 8m,00. Il en existe une encore au-dessus de la nef de la petite église de Saint-Jean de Châlons-sur-Marne, qui se recommande par son extrême légèreté. Nons donnons (25) une des fermes-maîtresses de cette charpente, en A et en B un des chevrons. Ceux-ci ne sont rendus rigides que par les deux contre-fiches croisées C C et les jambettes D. Ici le berceau en tiers-point se compose de deux segments de cercle dont le centre est posé en contrebas de l'entrait.
C'était dans les grand'salles des châteaux, des abbayes, des évêchés, des édifices publics, que les charpentiers du moyen âge étaient particulièrement appelés à déployer toutes les ressources de leur art. Chaque demeure féodale renfermait un vaste espace couvert, qui servait de salle de réunion dans les solennités, lorsque le seigneur exerçait ses droits de justicier, lorsqu'il conviait ses vassaux soit pour des fêtes, soit pour prendre part à ses actes de chef militaire. En temps de siége, la grand'salle du château servait encore de logement à un supplément de garnison; en temps de paix, c'était encore un promenoir comme nos salles des Pas-Perdus annexées aux palais de justice modernes. Généralement, ces grand'salles étaient situées au premier ou même au second étage, le rez-de-chaussée servant de magasin, d'écurie, de réfectoire et de dépôts d'armes. N'étant couvertes que par la toiture, et les murs des châteaux ne pouvant être renforcés par des contre-forts qui eussent gêné la défense, ces salles n'étaient pas voûtées, mais de magnifiques charpentes, lambrissées à l'intérieur, formaient un abri sûr contre les intempéries de l'atmosphère.
Le Palais de la Cité, à Paris, avait sa grand'salle couverte par un double berceau en tiers-point lambrissé reposant sur une rangée de piliers réunis par des archivoltes 9. Les châteaux de Montargis, de Coucy, de Pierrefonds, etc., possédaient d'immenses salles couvertes par des charpentes apparentes (voy. CHÂTEAU). Malheureusement toutes ces charpentes sont aujourd'hui détruites, et celles qui existent encore n'appartiennent qu'à des châteaux de second ordre. Nous en excepterons cependant le palais des comtes de Poitiers (palais de justice actuel de Poitiers), qui a conservé sa belle charpente de grand'salle, qui date du commencement du XVe siècle, l'archevêché de Reims et le palais de justice de Rouen 10.
Parmi ces restes de l'art de la charpenterie du moyen âge, l'un des plus intéressants, des plus anciens et des plus complets, est la charpente de la grand'salle du château de Sully-sur-Loire, qui date de la fin du XIVe siècle. La grand'salle du château de Sully est située au troisième étage, à 14m,30 au-dessus du sol de la cour; c'est tout un système de construction de bois, admirablement entendu, qui couronne un long et large bâtiment fortifié, défendu par des machicoulis avec chemin de ronde, du côté extérieur donnant sur la Loire et du côté de la cour.
Nous donnons d'abord (26) la coupe transversale de cette charpente. Les poutres qui portent les solives du plancher de la salle ont 0,63 c. d'épaisseur sur 0,50 c. de largeur et 11m,90 c. de portée. Ces poutres A sont soulagées par des corbeaux de pierre B. Du côté de la cour, d'autres corbeaux reçoivent la première sablière C qui pose du côté extérieur sur la tête du mur; cette sablière a 0,30 cm d'épaisseur sur 0,24 de largeur. Un second rang de sablières D de même équarrissage reçoit les jambettes E qui se courbent à leur extrémité pour s'assembler dans les chevrons. Du niveau du plancher au sommet de l'ogive formée par le lambris intérieur on compte 10m,20 c. Au-dessus du dernier plancher, le mur, réduit à une épaisseur de 0,95 c., s'élève jusqu'à une hauteur de 2m,00, reçoit deux sablières et sert de séparation entre la grand'salle et les chemins de ronde munis de machicoulis et de meurtrières. Les chemins de ronde, clos à l'extérieur par un parapet de 0,26 c. d'épaisseur, en pierre, sont couverts par de grands coyaux G raidis par de petites contre-fiches H taillées en courbe à l'intérieur, ainsi que le pied des coyaux, de manière à former un petit berceau en tiers-point sur ce chemin de ronde (voy. le détail X). On remarquera que les blochets P sont composés de deux moises venant saisir les jambettes et le pied des chevrons assemblés dans la sablière extérieure R.

Il n'y a pas ici de fermes-maîtresses; la charpente consiste en une série de chevrons portant ferme, sans poinçons; mais tout le système est rendu solidaire (voy. fig. 27) par deux entre-toises K raidies par une succession de croix de Saint-André L et par de grandes écharpes croisées M assemblées à tiers-bois en dehors du chevronnage suivant sa pente. Ce sont surtout ces écharpes croisées, prises dans le plan des chevrons, qui maintiennent le roulement de la charpente. Des fourrures posées sur les chevrons rachètent la saillie que forment ces écharpes croisées sur le plan incliné du chevronnage et reçoivent la volige et l'ardoise. Les chevrons sont espacés de 0,63 c. d'axe en axe, et la volige est, par conséquent, très-épaisse, en chêne refendu. Les têtes des chevrons s'assemblent à mi-bois et ne portent pas sur un sous-faîte.

Cette salle était éclairée par des lucarnes, comprenant deux entre-chevrons, figurées dans la coupe longitudinale (27) en N, et par des jours pris dans l'un des deux pignons en maçonnerie. Les chevrons, jambettes et esseliers courbes n'ont que 0,20c. sur 0,16c. d'équarrissage posés sur champ, et ainsi des autres bois en proportion; il semblait qu'alors les charpentiers cherchaient à répartir également le poids des charpentes de combles sur la tête des murs et à le réduire autant que possible. Du reste, tous ces bois sont des bois de brin et non de sciage, équarris à la hache avec grand soin, et bien purgés de leur aubier (voy. BOIS). C'est ce qui explique leur parfaite conservation depuis près de cinq siècles. Il n'est pas besoin de dire que cette charpente, à l'intérieur, est lambrissée au moyen de bardeaux cloués sur les courbes avec couvre-joints. Ces bardeaux sont généralement décorés de peintures, ainsi qu'on peut le voir encore dans la grand'salle du palais ducal de Dijon, dans l'église de Sainte-Madeleine de Châteaudun, etc. (voy. PEINTURE).
La charpente de la grand'salle du château de Sully n'a pas, à proprement parler, d'entraits, comme elle n'a pas d'arbalétriers. C'est là une disposition exceptionnelle en France, ou du moins qui ne se rencontre que dans des cas particuliers comme celui-ci. Mais il faut observer que le chevronnage se rapproche beaucoup de la verticale, qu'il est très-léger et qu'enfin les jambettes qui s'assemblent dans la sablière posée au-dessus du plancher sont fortes et maintiennent la poussée des chevrons par leur courbure. Les entraits de cette charpente ne sont, par le fait, que les énormes poutres transversales du plancher qui retiennent l'écartement des murs.
Mais si nous voulons voir des charpentes apparentes dont l'écartement est maintenu sans entraits, et au moyen d'un système d'assemblage différent de ceux que nous venons d'examiner, il faut aller en Angleterre. Quand, par exception, les Anglais ont armé les fermes de leurs charpentes d'entraits, il semble qu'ils n'aient pas compris la fonction de cette pièce, qui est, comme chacun sait, d'arrêter seulement l'écartement des arbalétriers; l'entrait ne doit rien porter, mais an contraire il a besoin d'être suspendu au poinçon au milieu de sa portée; car de sa parfaite horizontalité dépend la stabilité de la ferme. On trouve encore, en Angleterre, des charpentes du XIIIe siècle combinées de telle façon que l'entrait porte le poinçon (désigné sous le nom de poteau royal) et par suite toute la ferme. Dans ce cas, l'entrait est une énorme pièce de bois posée sur son fort. Depuis longtemps, en France, on élevait des charpentes dans lesquelles la fonction de l'entrait était parfaitement comprise et appliquée, que, de l'autre côté de la Manche, et probablement en Normandie, on persistait à ne voir dans l'entrait qu'un point d'appui. Il nous serait difficile de découvrir les motifs de cette ignorance d'un principe simple et connu de toute antiquité. Peut-être cela tient-il seulement à la facilité avec laquelle, dans ces contrées, on se procurait des bois d'un énorme équarrissage et de toutes formes. Ainsi, dans une salle, à Charney (Berkshire), dont la charpente remonte à 1270, nous trouvons un comble qui repose presque entièrement sur une poutre très-grosse, posée sur son fort, et qui, par le fait, tient lieu d'entrait en même temps qu'elle supporte tout le système de la charpente.
Nous donnons (27 bis) en A une ferme principale et en B la coupe longitudinale de ce comble. Il se compose d'une série de chevrons armés d'entraits retroussés R et de liens. Les entraits retroussés reposent sur une forte filière F soulagée par des liens C reportant sa charge sur un poinçon D, posé lui-même sur l'entrait ou la poutre E.

On comprendra que des constructeurs qui comprenaient si mal la fonction de l'entrait aient cherché à se priver de ce membre. Aussi voyons-nous, dès le XIVe siècle, les Anglo-Normands chercher des combinaisons de charpentes de combles dans lesquelles l'entrait se trouve supprimé. Ces combinaisons doivent être indiquées par nous, car certainement elles étaient employées, pendant le moyen âge, en Normandie, dans le nord de la France, et les charpentes des XIVe et XVe siècles que l'on rencontre encore en grand nombre en Angleterre dérivent d'un principe de construction normand, dont nous ne trouvons que des traces rares chez nous, presque toutes ces charpentes ayant été remplacées successivement depuis le XIIIe siècle par des voûtes. Ne pouvant remonter aux principes, il est bon toutefois de connaître les dérivés, d'autant plus qu'ils sont fort remarquables et méritent l'attention des constructeurs. Ainsi que nous l'avons dit en commençant cet article, c'est par la grosseur des bois employés que les charpentes anglo-normandes se distinguent tout d'abord de celles exécutées en France pendant les XIIIe, XIVe et XVe siècles, puis par des combinaisons qui ont des rapports frappants avec les constructions navales, et enfin par une perfection rare apportée dans la manière d'assembler les bois. Dans les charpentes apparentes anglo-normandes, la panne joue un rôle important et ne cesse d'être employée; seulement, au lieu d'être, comme chez nous, indépendante, posée sur l'arbalétrier, elle s'y lie intimement et forme avec lui un grillage, une sorte de châssis sur lequel viennent reposer les chevrons.

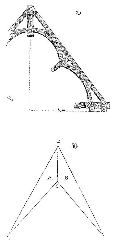
Un exemple fort simple fera comprendre ce système (28) 11. Cette ferme, sans entrait à sa base, se trouve, il est vrai, intercalée entre d'autres fermes qui en sont pourvues; elle n'est pas le résultat du hasard, mais d'un système souvent employé pendant les XIIIe et XIVe siècles. Le blochet A, sculpté à son extrémité vue, est pincé entre deux sablières B assemblées avec lui à mi-bois; une forte courbe D, d'un seul morceau, s'assemble dans l'arbalétrier C au moyen d'un long tenon doublement chevillé. La panne E inférieure est prise entre la courbe et l'arbalétrier; elle est franche, la courbe et l'arbalétrier étant entaillés pour la laisser passer. La panne E' supérieure repose dans une entaille pratiquée à l'extrémité de l'entrait retroussé F et dans l'arbalétrier. Ainsi les chevrons dont l'épaisseur est indiquée par la ligne ponctuée viennent araser la face extérieure de l'arbalétrier. Cette ferme n'a que 5m,40 de portée, et ses arbalétriers ne pourraient s'écarter sans déformer les courbes, ce qui n'est guère possible, ou sans briser les tenons dans l'entrait retroussé, lesquels ont une grande force et sont bien chevillés. Mais lorsque les portées étaient plus grandes, il eût été difficile de trouver des courbes d'un seul morceau. Les charpentiers anglo-normands en assemblèrent deux l'une au-dessus de l'autre, ainsi que l'indique la fig. 29, en ayant le soin de donner à leurs bois un fort équarrissage, afin d'obtenir des tenons très-puissants. Le point faible de ces charpentes était cependant à leur sommet. Il était facile, par des combinaisons de courbes et des bois d'un fort équarrissage, de donner aux arbalétriers une parfaite rigidité; ce qu'il était difficile d'empêcher, sans le secours de l'entrait, c'était la dislocation des assemblages à la tête de la ferme, par suite de l'écartement des deux arbalétriers.


Le problème que les charpentiers anglo-normands avaient à résoudre êtait celui-ci: donner à deux triangles A et B (30) une base C D commune. Ce problème résolu, on pouvait se passer d'un entrait réunissant les deux sommets E F.
Une des fermes de la grand'salle de l'abbaye de Malvern (Worcestershire) qui date du milieu du XIVe siècle 12, indique bien nettement cette tentative des charpentiers anglo-normands. En voici la représentation perspective (30 bis). Cette ferme n'est en réalité qu'une sorte d'équerre composée de diverses pièces de grosse charpente dont l'assemblage ne forme qu'un triangle rigide. Les bois ont beaucoup de champ, mais peu de plat, et sont maintenus ensemble par de fortes languettes ou des prisonniers noyés dans leur épaisseur. On remarquera comme les pannes sont soulagées par des liens ou écharpes courbes A qui ont encore l'avantage de porter les chevrons et d'arrêter le hiement de toute la charpente. Il faut avouer que ce système exigeait l'emploi de bois énormes comparativement au résultat obtenu; c'était payer bien cher la suppression des entraits. Cette ferme n'a cependant qu'une très-médiocre portée, et ce moyen ne pouvait s'appliquer à des charpentes destinées à couvrir de larges vaisseaux. Aussi le voyons-nous abandonné forcément lorsqu'il s'agit d'exécuter des fermes d'une grande dimension.

La nef et les transsepts de la cathédrale d'Ély sont encore couverts par une belle charpente qui date de la fin du XIVe siècle. Nous donnons (31) une ferme de cette charpente ainsi que l'entre-deux des fermes. La grande courbe A B est d'un seul morceau; elle s'assemble à sa base dans le grand blochet C, à son sommet, dans le faux poinçon D. Les vides triangulaires E F sont remplis par des madriers, assemblés en feuillure sous l'arbalétrier et dans l'extrados de la courbe, afin de rendre les courbes et arbalétriers solidaires. Les pannes sont prises entre l'arbalétrier et sa courbe. Le sous-faîte G est soulagé par des liens courbes. Quant au blochet, il est maintenu horizontal par le lien courbe H, et le vide laissé derrière ce lien est rempli par des madriers; ces liens portent sur un potelet I taillé en forme de colonnette et sur un corbelet K engagé dans le mur. Une corniche avec frise en bois, ornée de demi-figures d'anges tenant des écussons, masque les sablières et la tête du mur. Il n'est pas besoin de dire que cette charpente était décorée de peintures. La solidité de cette charpente réside principalement dans la grosseur des bois employés et dans l'extrême aiguité des deux courbes reportant une grande partie de la poussée sur le potelet I, c'est-à-dire en contrebas de la tête du mur. Ce système étant adopté conduisit les charpentiers anglo-normands à des combinaisons fort savantes et d'une grande hardiesse d'exécution.
Tous ceux qui ont été à Londres ont vu la charpente qui couvre la grand'salle de l'abbaye de Westminster, dont la largeur, dans oeuvre, est de 21m,00. C'est là un magnifique exemple de ces immenses constructions de bois qui se trouvaient si fréquemment dans le nord de la France et que l'on rencontre encore en Angleterre. Il mérite que nous en donnions une description exacte à nos lecteurs. Les murs de la grand'salle de l'abbaye de Westminster ont 2m,20 d'épaisseur sur une hauteur de 11m,50 environ. La charpente, de la tête des murs au faîtage, porte 14m,00, et près de 20m,00 des corbeaux au faîtage. Les arbalétriers et chevrons ont 17m,00 compris tenons; nous n'avons pu savoir s'ils sont d'un seul morceau. Les différentes pièces de cette charpente sont couvertes de belles moulures, toutes évidées dans la masse, et les assemblages sont exécutés avec une telle perfection qu'on a grand'peine à les reconnaître.

Nous donnons d'abord (32) l'ensemble d'une des fermes-maîtresses. Le principe dont nous avons indiqué les éléments dans la charpente de la cathédrale d'Ély se retrouve complétement développé dans la charpente de Westminster. Pas d'entraits, mais de grands blochets saillants portés par des liens, et portant eux-mêmes les courbes qui viennent s'assembler à la base du faux poinçon. Mais à Westminster, pour réunir la partie de la charpente élevée au-dessus des blochets avec les grandes potences qui portent ceux-ci, d'immenses moises courbes étreignent tout le système, rendent ses différents membres solidaires et donnent à chaque demi-ferme la roideur et l'homogénéité d'une planche. Le problème posé fig. 30 est ici résolu, car il était facile de lier les deux demi-fermes au faux poinçon, de façon à ne pas craindre une dislocation sur toute la longueur de ce poinçon; dès lors les deux demi-fermes formaient comme deux triangles rigides, pleins, ayant une base commune. En effet, l'entrait retroussé A (fig. 32) est d'une seule pièce; il est même posé sur son fort et plus épais vers son milieu qu'à ses extrémités. Cet entrait formant la base du triangle dont B C est un des côtés, ce triangle ne peut s'ouvrir; c'est une ferme complète, rendue plus rigide encore par les remplissages qui la garnissent. Cette ferme supérieure ou ce triangle homogène s'appuie sur deux poteaux D qui s'assemblent à leur pied sur l'extrémité du blochet E. Ce blochet est lui-même maintenu horizontal par le lien courbe F et les remplissages. Mais si la pression était très-forte à l'extrémité du blochet cette pression exercerait une poussée en G à la base du lien F. C'est pour éviter cette pression et cette poussée que sont posées les grandes courbes moises H qui, embrassant le milieu de l'entrait retroussé A, le poteau D le blochet E et le pied du lien F, arrêtent tout mouvement, et font de ces compartiments inférieurs une seule et même pièce de charpente, qui n'est susceptible d'aucune déformation ni dislocation. Remarquons, d'ailleurs que tous les vides entre les pièces principales sont remplis par des claires-voies en bois qui raidissent tout le système et maintiennent les courbes dans leur pureté. La poussée ne pourrait s'exercer au point G que si ces courbes se cintraient davantage sous la charge; les remplissages verticaux sont autant d'ordonnées qui, par leur pression verticale, empêchent les courbes de se déformer. Examinons maintenant comment le chevronnage a été établi entre les fermes-maîtresses, espacées l'une de l'autre de 5m,75 d'axe en axe. Les fermes-maîtresses portent, suivant le système anglo-normand, des pannes I; mais ces pannes ont une assez grande portée; elles doivent soutenir des chevrons énormes et toute la couverture.

Voici (fig. 33) une vue perspective d'une travée qui nous évitera de longues explications. C'est sur la tête des poteaux D qu'est placé le cours principal de pannes O, soulagé par des liens L et des remplissages à claire-voie. Des goussets M réunissent l'entrait retroussé A à la panne; ils contribuent anssi à empêcher le hiement 13 des fermes et des chevrons. Ce cours principal de pannes est doublé d'un plateau formant saillie sur lequel viennent s'assembler des jambettes destinées à arrêter le glissement des chevrons posés au-dessus des lucarnes. Les autres cours de pannes I sont soulagés par des liens courbes N suivant le plan du chevronnage et assemblés dans les arbalétriers. On remarquera que le cours de pannes inférieur I' est en outre maintenu par des contre-fiches P venant reposer sur l'extrados de la grande courbe moise; c'est qu'en effet ce cours inférieur de pannes doit porter, non-seulement le chevronnage, mais aussi les combles des lucarnes R; il eût certainement fléchi à l'intérieur s'il n'eût été contrebutté par ces contre-fiches. Il y a, entre fermes, onze chevrons.


Afin de donner une idée de la beauté d'exécution de cette oeuvre unique de charpenterie, nous dessinons (fig. 34) un détail de sa partie inférieure. Les extrémités des grands blochets qui reçoivent les pieds des poteaux D sont décorées de figures d'anges tenant des écussons aux armes écartelées de France et d'Angleterre, le tout pris dans la masse du bois. Seules, les ailes des anges sont rapportées. En S, nous donnons la coupe des deux courbes faite sur J T; en V la coupe sur l'un des montants de la claire-voie de remplissage, et en X la coupe sur Y Z du blochet. Autant qu'on peut en juger sans démonter une charpente, les assemblages, les tenons sont coupés avec une rare précision; c'est grâce à cette pureté d'exécution, et plus encore à la qualité des bois employés ainsi qu'à la bonté du système, qne la charpente de la grand'salle de Westminster s'est conservée intacte jusqu'à nos jours.
À la fin du XIVe siècle et au commencement du XVe, l'Angleterre était victorieuse, riche et florissante; la France, au contraire, était ruinée par des invasions désastreuses et les querelles des grands vassaux de la couronne; aussi n'avons-nous rien, à cette époque, qui puisse être comparé à la grand'salle de l'abbaye de Westminster comme luxe de construction. Les charpentes qui nous sont restées de ce temps sont simples et ne diffèrent guère de celles données ci-dessus fig. 19, 21, 23, 26, 28, car elles ne couvrent généralement que des salles d'une médiocre largeur. Si la Normandie ou la Picardie ont possédé des charpentes de combles élevées conformément au système anglo-normand, ce qui est possible, elles ne sont pas parvenues jusqu'à nos jours. Nous trouvons cependant, près de Maubeuge, dans la petite église de Hargnies (Nord), une charpente dont la combinaison se rattache aux deux systèmes anglo-normand et français. Cette charpente est, ou plutôt était dépourvue d'entraits, car, vers le milieu du XVIe siècle, des tirants furent posés de deux en deux fermes sous les arbalétriers. Les fermes-maîtresses, dont nous donnons le profil en A (34 bis), reposent sur de forts blochets B; elles se composent de deux courbes C s'assemblant à l'extrémité inférieure du poinçon D, d'arbalétriers E courbes eux-mêmes à leur point de rencontre avec le poinçon, afin de trouver des assemblages solides indiqués dans le détail M. La courbe et l'arbalétrier sont bridés à la tangente, au moyen de deux petites moises F dont le détail N explique la forme et les attaches. Sous les arbalétriers sont chevillés et assemblés à mi-bois deux cours d'entre-toises ou pannes G dans lesquelles viennent s'assembler des croix de Saint-André inclinées suivant la pente du chevronnage, et figurés en I dans la coupe longitudinale. Ces pannes soulagent le chevronnage profilé en P, mais ont pour but principal d'empêcher le hiement de la charpente. Le chevronnage est muni également de courbes sous lesquelles sont cloués les bardeaux, ainsi qu'on le voit en H. Le sous-faîte K et les entre-toises L sont réunis par des croix de Saint-André qui maintiennent les poinçons verticaux.
Cette charpente, malgré le soin apporté dans les assemblages, a poussé au vide, et, comme nous l'avons dit plus haut, on a dû, quelques années après sa construction, maintenir son écartement par des entraits posés de deux en deux fermes; elle paraît dater des dernières années du XVe siècle.

Nous donnons (34 ter) le détail des sablières, des blochets, des gros et petits couvre-joints rapportés sur les bardeaux, à l'échelle de 0,05 c. pour mètre. On remarquera (fig. 34 bis) que les courbes du chevronnage viennent s'assembler dans des entraits retroussés, qui eux-mêmes s'assemblent dans les entre-toises R posées d'un poinçon à l'autre. Cela n'est guère bon; mais on se fiait, avec assez de raison, aux bardeaux pour maintenir les courbes légères du chevronnage, ces bardeaux formant comme une voûte qui offrait elle-même une assez forte résistance. Entre les chevrons, espacés de 0,45 c. environ d'axe en axe, sont posées, sous la volige, des chanlattes destinées à lui donner une plus grande solidité 14.
La salle principale de l'hôtel de ville de Saint-Quentin nous laisse voir encore une charpente sans entraits, du commencement du XVIe siècle, dont la disposition rappelle celle de l'église de Hargnies.
Depuis le XIIe siècle, on avait pris le parti d'élever, soit sur les tours, soit au centre de la croisée des églises, de hautes flèches de bois recouvertes d'ardoise ou de plomb. Ces flèches exigeaient, les dernières surtout, des combinaisons fort savantes afin de reporter le poids de tout le système sur les quatre piles des transsepts. Dès le commencement du XIIIe siècle, les charpentiers avaient su élever d'une façon ingénieuse ces masses énormes de bois et les suspendre au-dessus des fermes des noues, sans charger les arcs doubleaux bandés d'une pile à l'autre. Nous aurons l'occasion de nous occuper de ces sortes de charpentes au mot FLÈCHE, auquel nous renvoyons nos lecteurs.
Quant aux charpentes coniques qui couvrent les tours cylindriques, elles dérivent du système adopté pour les charpentes de croupes circulaires. Le moyen âge ayant élevé une quantité considérable de tours, soit dans les châteaux, soit pour protéger les enceintes des villes, les charpentes de ces ouvrages qui servaient à la défense et à l'habitation se rencontrent encore aujourd'hui en grand nombre; à Paris même, il en existe dans l'enceinte du Palais qui sont fort belles et bien conservées. Il nous suffira de donner un seul exemple résumant les combinaisons ordinaires de ces charpentes pour faire comprendre ce qu'elles présentent de particulier.

Soient le plan de la charpente d'une tour cylindrique (35) et le profil (36). Le quart du plan A (fig. 35) présente l'enrayure basse au niveau A des sablières (fig. 36); le quart B, la seconde enrayure B, le quart C, la troisième enrayure et le quart D la projection horizontale au niveau D. Deux entraits E F, G H (fig. 35), posés à angle droit, portent sur le cours de doubles sablières circulaires. Deux fermes se coupant à angle droit et réunies par un poinçon central I donnent le profil K (fig. 36).

Chaque quart de cercle porte six chevrons dont les blochets prolongés forment l'enrayure L (fig. 35) en s'assemblant dans le grand gousset M. Le profil de ces chevrons est donné en N (36). Entre chacun d'eux sont posés, de la première à la deuxième enrayure A et B, de faux chevrons profilés en O, afin de soutenir la volige entre les chevrons qui sont, dans la partie inférieure du cône, largement espacés. Ces faux chevrons portent sur des blochets ordinaires, ainsi qu'on le voit dans le quart du plan A. Les six chevrons par quarts sont d'un seul morceau de P en R et se terminent en bec de flûte, à leur tête R, ainsi que nous le verrons tout à l'heure. Les deux fermes se coupant à angle droit sont munies, à la hauteur B, de coyers qui, recevant des goussets comme les entraits de l'enrayure basse, forment la seconde enrayure. Mais cette seconde enrayure mérite toute notre attention.


Nous en donnons un détail perspectif (36 bis) vers la circonférence, et (36 ter) vers le poinçon. La fig. 36 bis démontre comment les courbes, ou esseliers A, sous les arbalétriers B des deux fermes principales, soulagent les coyers D et sont moisées avec ces arbalétriers et coyers, au moyen des petites moises C C serrées par la clef F; comment les chevrons E sont également armés de moises qui les réunissent aux courbes; comment la flexion de ces chevrons est arrêtée par les coyers G s'assemblant dans les goussets H; comment les lincoirs I, détaillés en I', I'' et I''', s'assemblent entre les chevrons et reçoivent les têtes des faux chevrons K, afin de rendre la pose possible. La fig. 36 ter va démontrer comment les courbes L, sous les chevrons, ne pouvant s'assembler dans les coyers G, s'assemblent dans un second gousset M.
Enfin la fig. 36 quater démontrera comment les arbalétriers des deux fermes s'assemblent dans le poinçon au sommet du comble; comment les extrémités des chevrons E, coupés en bec de flûte, viennent reposer et s'assembler sur les petites entre-toises courbes O. La section horizontale R, faite au niveau Y, et les deux rabattements S S', indiquent comment ces petites entre-toises courbes sont maintenues entre les arbalétriers.
Les charpentes coniques présentent d'assez grandes difficultés d'assemblage, car il faut qu'au levage les tenons puissent entrer dans leurs mortaises; or, toutes les pièces tendant vers un axe, il est nécessaire que le charpentier prévoie sur le chantier les moyens pratiques qui lui permettront d'assembler d'abord les pièces principales, puis les pièces, secondaires, sans être obligé de retailler les tenons et même quelquefois de les supprimer totalement pour que ces pièces puissent prendre leur place. Ainsi, dans l'exemple présent, les sablières courbes étant posées, les deux fermes à angle droit sont mises au levage et assemblées, puis les goussets, les chevrons, leurs coyers et esseliers, puis enfin les lincoirs et les faux chevrons. Toutes ces dernières pièces se posent sans difficulté du dehors au dedans, sans qu'il soit nécessaire de soulever les fermes principales pour faire arriver les tenons des pièces secondaires dans leurs mortaises. Les charpentes coniques donnent la mesure de l'expérience des charpentiers des XIVe et XVe siècles; elles sont toujours, non-seulement bien combinées et bien taillées, mais encore les moyens d'assemblage en sont prévus avec une adresse rare pour éviter les difficultés au levage. Souvent ces charpentes coniques sont dépourvues d'entraits à la base; les sablières circulaires, étant fortement reliées au moyen de clefs, empêchent seules l'écartement des chevrons, comme le ferait un cercle d'une seule pièce.
L'art de la charpenterie ne se bornait pas à élever des combles au-dessus des voûtes ou des charpentes apparentes. De tout temps, en France, on avait construit des maisons et même des palais et des églises en bois. Nous retrouvons encore quelques traces de maisons du XIIIe siècle construites suivant ce mode, particulièrement dans le Nord; mais ces bâtisses, remaniées, ne nous donnent pas des exemples assez complets pour qu'il nous soit possible de rendre compte des moyens de construction employés. Il nous faut commencer notre examen au XIVe siècle; ce n'est qu'à cette époque que nous retrouvons des pans-de-bois entiers formant façade des maisons sur la voie publique.


Sur un rez-de-chaussée composé de murs pleins, d'une succession d'arcades ou de piles isolées, les charpentiers établissaient, comme de nos jours, une sablière basse qui recevait les pans-de-bois de face. On voyait encore, il y a trois ans, en face du flanc sud du choeur de la cathédrale de Chartres, une petite maison en bois du XIVe siècle 15 dont le pan-de-bois de face était très-gracieux de forme; c'est un des plus complets et des plus élégants que nous connaissions de cette époque. Sur un rez-de-chaussée, maçonné plein et renforcé de chaînes de pierre, sont posées les poutres A supportant le plancher du premier étage (37) [poutres qui traversent l'épaisseur du mur et apparaissent à l'extérieur]. Les bouts de ces poutres reçoivent la sablière basse B. Sur la sablière s'assemblent les poteaux principaux P au droit des poutres horizontales A; puis, dans l'intervalle d'une poutre à l'autre, se dressent d'autres poteaux C, dont le dévers est maintenu par des alléges D munies de croix de Saint-André. Ces poteaux C s'assemblent à leur tête dans un chapeau F, qui est lui-même assemblé à tenons et mortaises dans les poteaux principaux P. Des liens G élégis en tiers-point avec redents forment une succession de fenêtres éclairant l'intérieur. Les chapeaux F portent deux potelets H au droit des poteaux C qui soulagent la sablière haute destinée à recevoir la charpente du comble. Mais cette sablière est double, suivant l'usage, ainsi que l'indique la coupe K. La sablière extérieure I, qui ne porte que les coyaux du comble, est posée sur les bouts des poutres L assemblées sur la tête des poteaux principaux P. Ces poutres L remplissent la fonction d'entraits pour les fermes des combles et portent les solives du plancher haut. La sablière intérieure M, qui ne peut fléchir puisqu'elle est soutenue par les potelets, reçoit le pied du chevronnage. Les alléges et les intervalles carrés entre les potelets sont remplis par une maçonnerie légère. On remarquera que les bouts des poutres supérieures L sont épaulés par des liens N assemblés dans les gros poteaux P.
Dans les villes du moyen âge, encloses de murs, la place était rare; aussi les maisons prenaient-elles, aux dépens de la voie publique, plus de largeur à chaque étage; elles présentaient ainsi une succession d'encorbellements assez saillants parfois pour qu'il fût possible de se donner la main des étages supérieurs des maisons situées en face les unes des autres. Pour obtenir ces encorbellements, que l'on appelait ligneaux, on faisait saillir les poutres des planchers à chaque étage en dehors des pans-de-bois inférieurs, on soutenait leur bout par des liens et on élevait le pan-de-bois supérieur au nu de l'extrémité de ces poutres.

Voici (38) qui expliquera cet ouvrage de charpenterie. Ce genre de construction de bois mérite d'être étudié. Soient les poteaux du rez-de-chaussée A. La tête de ces poteaux reçoit les consoles B destinées à épauler l'extrémité extérieure des poutres C. Des sablières D s'assemblent à l'about des poutres C, ainsi que l'indique la mortaise. Ces sablières sont soulagées par de petits liens fortement embrévés et assemblés à tenons et mortaises. Un poitrail E s'assemble dans la tête des poteaux A et est lui-même soulagé par des liens F. C'est ce poitrail qui porte les solives du plancher du premier étage. Des poteaux G posent sur l'extrémité des poutres C en porte-à-faux sur les poteaux A. Ces poteaux G reçoivent les sablières hautes du premier étage et les poutres K dont l'extrémité extérieure saillante est soulagée par des liens courbes. Sur le bout de ces poutres sont posées les sablières basses I du second étage, et ainsi de même à chaque étage, jusqu'aux combles. Les solives du plancher du second étage portent sur la sablière haute H, la débordent et contribuent à soulager la sablière basse I. Des écharpes disposées dans les pans-de-bois à chaque étage reportent les pesanteurs de ces pans-de-bois et de leurs remplissages, en platras ou en brique, sur les abouts des poutres maîtresses. Ces poutres, étant retenues dans le pan-de-bois ou le mur intérieur, brident tout le système et l'empêchent de basculer. Il est facile de voir que l'on gagnait ainsi sur la voie publique, à chaque étage, un, deux ou trois pieds qui profitaient aux locaux destinés à l'habitation. Ces encorbellements successifs formaient encore des abris qui protégeaient les pans-de-bois, les devantures des boutiques et les passants contre la pluie. Ils n'avaient que l'inconvénient de rendre les rues étroites très-sombres; mais il ne semble pas que, dans les villes du moyen âge, on eût, à cet égard, les mêmes idées que nous.
Lorsque les maisons présentaient sur la rue leur petit côté, c'est-à-dire lorsque le terrain qu'elles occupaient était plus profond que large, les pans-de-bois de face se terminaient par un pignon et non par une croupe. Ce pignon n'était que la première ferme du comble, le plus souvent posée en saillie sur les bouts des sablières, afin de former une sorte d'auvent destiné à protéger la façade contre la pluie. Ces dispositions, ainsi que celles relatives aux pans-de-bois de face, étant développées dans le mot MAISON, nous y renvoyons nos lecteurs.
Quant aux charpentes des planchers, elles sont généralement fort simples pendant le moyen âge; peu ou point d'enchevêtrures, mais des poutres posées de distance en distance sur les murs de face ou de refend, et recevant les solives restant apparentes comme les poutres elles-mêmes (voy. PLAFOND).

On savait déjà cependant, au XVe siècle, armer les pièces de bois horizontales de manière à les empêcher de fléchir sous une charge. La tribune des orgues de la cathédrale d'Amiens, qui date de cette époque, repose sur une poutre armée avec beaucoup d'adresse; cette poutre a 15m,00 environ de portée, et elle est fortement chargée. Nous donnons (39) une autre poutre armée de la grand'salle du château de Blain en Bretagne, bâti, à la fin du XIVe siècle, par le connétable Olivier de Clisson, et réparé vers 1475. Cette poutre armée se compose de deux pièces horizontales A et B. Celle B plus large que celle A, de manière à former lambourdes pour recevoir les solives du plancher. L'armature consiste en une pièce de bois courbe assemblée dans la poutre B et reliée à la flèche par deux boulons de fer serrés au moyen de clavettes 16. Nous avons vu aussi, dans des constructions civiles, et entre autres dans l'ancien hôtel de la Trémoille à Paris, élevé pendant les dernières années du XVe siècle, des poutres de planchers d'environ 12m,00 de portée armées, ainsi que l'indique la fig. 40; les deux pièces B B, posées bout à bout, étaient noyées en partie dans l'épaisseur de la poutre A recevant les solives, ainsi que l'indique la coupe en C. Les pièces A et B étaient reliées entre elles par des boulons avec clavettes.

Un des caractères particuliers à l'art de la charpenterie du moyen âge, c'est sa franchise d'allure, sa connaissance des bois et son respect, dirons-nous, pour leurs propriétés. Les assemblages des charpentes du moyen âge méritent d'être scrupuleusement étudiés; ils sont simples, bien proportionnés à la force des bois ou à l'objet particulier auquel ils doivent satisfaire. La prévision qui fait réserver, dans une longue pièce de bois, certains renforts, certains épaulements qui ajouteront à la force d'un assemblage, le choix des bois ou leur position suivant la place qu'ils doivent occuper, l'attention à ne pas les engager dans les maçonneries mais à les laisser libres, aérés, indiquent de la part des maîtres la connaissance parfaite de leur art, des qualités des matériaux, l'étude et le soin; de même que la pureté et la juste proportion des assemblages indiquent chez les ouvriers une longue habitude de bien faire. Le charpentier du moyen âge n'appelle pas à son aide le serrurier pour relier, brider ou serrer les pièces de bois qu'il met en oeuvre, si ce n'est dans quelques cas particuliers et fort rares; il se suffit à lui-même, et le fer ne vient pas, comme dans les charpentes modernes, suppléer à l'insuffisance ou à la faiblesse des assemblages.
L'art de la charpenterie est un de ceux auxquels les perfectionnements modernes ont peu ajouté; il était arrivé, pendant le XVe siècle, à son complet développement. Le bois, à cette époque, entrait pour beaucoup dans les constructions civiles, publiques et privées, et les charpentiers formaient une corporation puissante, instruite dans l'art du trait, qui conserva longtemps ses anciennes et bonnes traditions. En effet, des diverses branches de la construction, l'art de la charpenterie se plia moins que toute autre aux idées émises par la renaissance, et pendant le cours du XVIe siècle on suivit, sans presque les modifier, les principes développés au XVe siècle. Un architecte seul apporta une modification fort importante aux systèmes conservés jusqu'alors. Philibert De Lorme inventa le mode de charpente qui a conservé son nom et qui présente de notables avantages dans un grand nombre de cas, en ce qu'il permet de couvrir des vides considérables sans le secours des entraits, sans poussées, et en n'employant qu'un cube de bois relativement très-minime. Nous n'avons pas besoin de développer ici le système adopté par cet artiste; il est connu de tous et encore pratiqué de nos jours avec succès. Nous renvoyons nos lecteurs à son oeuvre si recommandable.
Pendant le XVIIe siècle, l'art de la charpenterie déclina; les charpentes que cette époque nous a laissées sont souvent mal tracées, lourdes, et exécutées avec une négligence inexcusable après de si beaux exemples laissés par les siècles précédents. Avant la reconstruction de la charpente de la Sainte-Chapelle de Paris, dans ces derniers temps, il était intéressant de comparer la souche de la flèche reposée sous Louis XIV après l'incendie, avec la souche de la flèche de Notre-Dame qui date du XIIIe siècle. Cette dernière est aussi savante dans l'ensemble de sa composition et aussi pure dans son exécution, que celle de la Sainte-Chapelle était barbare sous le rapport de la combinaison et grossière au point de vue de l'exécution.
Dans le cours de cet ouvrage, nous avons l'occasion de revenir souvent sur les ouvrages de charpenterie. Nous n'indiquons, dans cet article, que certains principes généraux qui font connaître la marche progressive de cet art pendant trois siècles; nous renvoyons nos lecteurs aux mots BEFFROI, ÉCHAFAUD, FLÈCHE, HOURD, MAISON, PAN-DE-BOIS, PLAFOND, PLANCHER, PONT, etc.
Note 6: (retour) Dans les provinces du nord de la France même, la tuile romaine fut fréquemment en usage jusque vers le commencement du XIIe siècle. Nous en avons trouvé la preuve non-seulement dans les bas-reliefs, mais sur les voûtes et dans les débris qui entourent les édifices de l'époque romane. Donc les combles étaient, jusque vers le milieu de ce siècle, généralement plats. Cependant il est bon nombre de pignons romans dans le Nord qui ont une pente trop forte pour que la tuile romaine ait pu être employée; dans ce cas, on se servait de grandes tuiles plates (voy. TUILE).
CHÂTEAU, chastel. Le château du moyen âge n'est pas le castellum romain; ce serait plutôt la villa antique munie de défenses extérieures. Lorsque les barbares s'emparèrent du sol des Gaules, le territoire fut partagé entre les chefs conquérants; mais ces nouveaux propriétaires apportaient avec eux leurs moeurs germaines et changèrent bientôt l'aspect du pays qu'ils avaient conquis; le propriétaire romain ne songeait pas à fortifier sa demeure des champs, qui n'était qu'une maison de plaisance, entourée de toutes les dépendances nécessaires à l'exploitation des terres, à la nourriture et à l'entretien des bestiaux, au logement de clients et d'esclaves vivant sur le sol à peu près comme nos fermiers et nos paysans. Quels que soient les changements qui s'opèrent dans les moeurs d'un peuple, il conserve toujours quelque chose de son origine; les citoyens romains, s'ils avaient cessé de se livrer aux occupations agricoles depuis longtemps lorsqu'ils s'établirent sur le sol des Gaules, conservaient encore, dans les siècles de la décadence, les moeurs de propriétaires fonciers; leurs habitations des campagnes étaient établies au centre de riches vallées, le long des cours d'eau, et s'entouraient de tout ce qui est nécessaire à la vie des champs et à la grande culture. Possesseurs tranquilles de la plus grande partie du sol gaulois pendant trois siècles, n'ayant à lutter ni contre les populations soumises et devenues romaines, ni contre les invasions des barbares, ils n'avaient pas eu le soin de munir leurs villæ de défenses propres à résister à une attaque à main armée. Lorsque commencèrent les débordements de barbares venus de la Germanie, les derniers Possesseurs du sol gallo-romain abandonnèrent les villæ pour s'enfermer dans les villes fortifiées à la hâte; le flot passé, ils réparaient leurs habitations rurales dévastées; mais, soit mollesse, soit force d'habitude, ils ne songèrent que rarement à mettre leurs bâtiments d'exploitation agricole à l'abri d'un coup de main. Tout autre était l'esprit germain. «C'est l'honneur des tribus, dit César 17, de n'être environnées que de vastes déserts, d'avoir des frontières dévastées. Les Germains regardent comme une marque éclatante de valeur, de chasser au loin leurs voisins, de ne permettre à personne de s'établir près d'eux. Ils y trouvent, d'ailleurs, un moyen de se garantir contre les invasions subites...» «Les Germains, dit Tacite 18, n'habitent point dans des villes; ils ne peuvent même souffrir que leurs habitations y touchent; ils demeurent séparés et à distance, selon qu'une source, une plaine, un bois, les a attirés dans un certain lieu. Ils forment des villages, non pas comme nous, par des édifices liés ensemble et contigus; chacun entoure sa maison d'un espace vide...» Des trois peuples germaniques qui envahirent les Gaules, Bourguignons, Visigoths et Francs, ces derniers, au milieu du VIe siècle, dominaient seuls toute la Gaule, sauf une partie du Languedoc et la Bretagne; et de ces trois peuples, les Francs étaient ceux qui avaient le mieux conservé les moeurs des Germains 19. Mais peu à peu ce peuple avait abandonné ses habitudes errantes; il s'était établi sur le sol; la vie agricole avait remplacé la vie des camps, et cependant il conservait son caractère primitif, son amour pour l'isolement et son aversion pour la vie civilisée des villes. Il ne faudrait pas se méprendre sur ce que nous entendons ici par isolement; ce n'était pas la solitude, mais l'isolement de chaque bande de guerriers attachés à un chef. Cet isolement avait existé en Germanie, chez les peuples qui se précipitèrent en Occident, ainsi que le prouvent les textes que nous venons de citer. «Lorsque la tribu fut transplantée sur le sol gaulois, dit M. Guizot 20, les habitations se dispersèrent bien «davantage; les chefs de famille s'établirent à une bien plus grande distance les uns des autres: ils occupèrent de vastes domaines; leurs maisons devinrent plus tard des châteaux: les villages qui se formèrent autour d'eux furent peuplés, non plus d'hommes libres, leurs égaux, mais de colons attachés à leurs terres. Ainsi, sous le rapport matériel, la tribu se trouva dissoute par le seul fait de son nouvel établissement... L'assemblée des hommes libres, où se traitaient toutes choses, devint beaucoup plus difficile à réunir...» L'égalité qui régnait dans les camps entre le chef et ses compagnons dut s'effacer et s'effaça bientôt en effet, du moment que la bande germaine fut établie sur le sol. «Le chef, devenu grand propriétaire, disposa de beaucoup de moyens de pouvoir; les autres (ses compagnons) étaient toujours de simples guerriers; et plus les idées de la propriété s'affermirent et s'étendirent dans les esprits, plus l'inégalité se développa avec tous ses effets... Le roi, ou les chefs considérables qui avaient occupé un vaste territoire, distribuaient des bénéfices à leurs hommes, pour les attacher à leur service ou les récompenser de services rendus... Le guerrier à qui son chef donnait un bénéfice allait l'habiter; nouveau principe d'isolement et d'individualité... Ce guerrier avait d'ordinaire quelques hommes à lui; il en cherchait, il en trouvait qui venaient vivre avec lui dans son domaine; nouvelle source d'inégalité.»
Cette société, qui se décomposait ainsi au moment où elle s'établissait sur le sol conquis après avoir dissous la vieille société romaine, ne devait se constituer que par le régime féodal; elle en avait d'ailleurs apporté les germes. Mais il fallut quatre siècles d'anarchie, de tâtonnements, de tentatives de retour vers l'administration impériale, de luttes, pour faire sortir une organisation de ce désordre.
Quelles étaient les habitations rurales de ces nouveaux possesseurs des Gaules, pendant ce long espace de temps? On ne peut, à cet égard, que se livrer à des conjectures, car les renseignements nous manquent ou sont très-vagues. Tout porte à supposer que la villa romaine servait encore de type aux constructions des champs élevées par les conquérants. Grégoire de Tours parle de plusieurs de ces habitations, et ce qu'il en dit se rapporte assez aux dispositions des villæ. C'étaient des bâtiments isolés destinés à l'exploitation, à l'emmagasinage des récoltes, au logement des familiers et des colons, au milieu desquels s'élevait la salle du maître ou même une enceinte en plein air, aula, dans laquelle se réunissait le chef franc et ses leudes; cette enceinte, à ciel ouvert ou couverte, servait de salle de festin, de salle de conseil; elle était accompagnée de portiques, de vastes écuries, de cuisines, de bains. Le groupe formé par tous ces bâtiments était entouré d'un mur de clôture, d'un fossé ou d'une simple palissade. Le long des frontières, ou sur quelques points élevés, les rois mérovingiens avaient bâti des forteresses; mais ces résidences paraissent avoir eu un caractère purement militaire, comme le castrum romain; c'étaient plutôt des camps retranchés destinés à abriter un corps d'armée que des châteaux propres à l'habitation permanente et réunissant dans leur enceinte tout ce qui est nécessaire à la vie d'un chef et de ses hommes 21. Nous ne pouvons donner le nom de château qu'aux demeures fortifiées bâties pendant la période féodale, c'est-à-dire du Xe au XVIe siècle. Ces demeures sont d'autant plus formidables qu'elles s'élevaient dans des contrées où la domination franque conservait avec plus de pureté les traditions de son origine germanique, sur les bords du Rhin, de la Meuse, dans le Soissonnais et l'Île de France, sur une partie du cours de la Loire et de la Saône.
Pendant la période carlovingienne, les princes successeurs de Charlemagne avaient fait quelques efforts pour s'opposer aux invasions des Normands; ils avaient tenté à plusieurs reprises de défendre le cours des fleuves, mais ces ouvrages, ordonnés dans des moments de détresse, construits à la hâte, devaient être plutôt des postes en terre et en bois que des châteaux proprement dits. Les nouveaux barbares venus de Norvége ne songeaient guère non plus à fonder des établissements fixes au milieu des contrées qu'ils dévastaient; attirés seulement par l'amour du butin, ils s'empressaient de remonter dans leurs bateaux dès qu'ils avaient pillé une riche province. Cependant ils s'arrêtèrent parfois sur quelque promontoire, dans quelques îles au milieu des fleuves, pour mettre à l'abri le produit des pillages, sous la garde d'une partie des hommes composant l'expédition; ils fortifiaient ces points déjà défendus par la nature, mais ce n'était encore là que des camps retranchés plutôt que des châteaux. On retrouve un établissement de ce genre sur les côtes de la Normandie, de la Bretagne ou de l'Ouest, si longtemps ravagées par les pirates normands; c'est le Haguedike situé à l'extrémité nord-ouest de la presqu'île de Cotentin, auprès de l'île d'Aurigny. «Un retranchement ou fossé d'une lieue et demie de long sépare ce promontoire du continent; c'est là le Haguedike 22... Il se peut que le Haguedike, ou fossé de la Hague, soit antérieur à l'époque normande; mais les pirates ont pu se servir des anciens retranchements du promontoire, et en faire une place de retraite.»
Lorsqu'au Xe siècle les Normands furent définitivement établis sur une partie du territoire de la France, ils construisirent des demeures fortifiées, et ces résidences conservèrent un caractère particulier, à la fois politique et féodal. Le château normand, au commencement de la période féodale, se distingue du château français ou franc; il se relie toujours à un système de défense territorial, tandis que le château français conserve longtemps son origine germanique; c'est la demeure du chef de bande, isolée, défendant son propre domaine contre tous et ne tenant nul compte de la défense générale du territoire. Pour nous faire comprendre en peu de mots, le seigneur franc n'a pas de patrie, il n'a qu'un domaine; tandis que le seigneur normand cherche, à la fois, à défendre son domaine et le territoire conquis par sa nation. Cette distinction doit être faite tout d'abord, car elle a une influence, non-seulement sur la position des demeures féodales, mais sur le système de défense adopté dans chacune d'elles. Il y a, dans la construction des châteaux normands, une certaine parité que l'on ne rencontre pas dans les châteaux français; ceux-ci présentent une extrême variété; on voit que le caprice du seigneur, ses idées particulières ont influé sur leur construction, tandis que les châteaux normands paraissent soumis à un principe de défense reconnu bon et adopté par tous les possesseurs de domaine, suivant une idée nationale. Lorsque l'on tient compte des circonstances qui accompagnèrent l'établissement définitif des Normands au nord-ouest de Paris, de l'intérêt immense que ces pirates tolérés sur le sol de la Normandie avaient à maintenir le cours des fleuves et rivières ouvert pour eux et les renforts qui leur arrivaient du Nord, fermé pour le peuple franc, possesseur de la haute Seine et de la plupart de ses affluents, on conçoit comment les Normands furent entraînés à adopter un système de défense soumis à une idée politique. D'ailleurs les Normands, lorsqu'ils se présentaient sur un point du territoire français, procédaient forcément partout de la même manière; c'était en occupant le littoral, en remontant les fleuves et rivières sur leurs longs bateaux, qu'ils pénétraient jusqu'au coeur du pays. Les fleuves étaient le chemin naturel de toute invasion normande; c'était sur leurs rives qu'ils devaient chercher à se maintenir et à se fortifier. Les îles, les presqu'îles, les escarpements commandant au loin le cours des rivières, devaient être choisis tout d'abord comme points militaires: la similitude des lieux devait amener l'uniformité des moyens de défense.
Les Francs, en s'emparant de la Gaule, s'étendirent sur un territoire très-vaste et très-varié sous le rapport géographique; les uns restèrent dans les plaines, les autres sur les montagnes, ceux-ci au milieu de contrées coupées de ruisseaux, ceux-là près des grandes rivières; chacun dut se fortifier en raison des lieux et de son intelligence personnelle; ils cessèrent (hormis ceux voisins du Rhin) toute communication avec la mère patrie, et, comme nous l'avons dit ci-dessus, se trouvèrent bientôt isolés, étrangers les uns aux autres; les liens politiques qui pouvaient encore les réunir se relâchaient chaque jour, et les idées de nationalité de lien entre les grands propriétaires d'un État ne devaient avoir aucune influence sur les successeurs de ces chefs de bande dispersés sur le sol. Les Normands, au contraire, étaient forcément dirigés par d'autres mobiles; tous pirates, tous solidaires, conservant longtemps des relations avec la mère patrie qui leur envoyait sans cesse de nouveaux contingents, arrivant en conquérants dans des contrées déjà occupées par des races guerrières, ils étaient liés par la communauté des intérêts, par le besoin de se maintenir serrés, unis, dans ces pays au milieu desquels ils pénétraient sans trop oser s'étendre loin des fleuves, leur seule voie de communication ou de salut en cas de désastre.
Si les traditions romaines avaient exercé une influence sur la disposition des demeures des propriétaires francs, elles devaient être très-affaiblies pour les pirates scandinaves qui ne commencèrent à fonder des établissements permanents sur le continent qu'au Xe siècle. Ces derniers, plus habitués à charpenter des bateaux qu'à élever des constructions sur la terre ferme, durent nécessairement profiter des dispositions du terrain pour établir leurs premiers châteaux forts, qui n'étaient que des campements protégés par des fossés, des palissades et quelques ouvrages de bois propres à garantir des intempéries les hommes et leur butin. Ils purent souvent aussi profiter des nombreux camps gallo-romains que l'on rencontre même encore aujourd'hui sur les côtes de la Manche et les bords de la Seine, les augmenter de nouveaux fossés, d'ouvrages intérieurs, et prendre ainsi les premiers éléments de la fortification de campagne. Cependant les Normands, actifs, entreprenants et prudents à la fois, tenaces, doués d'un esprit de suite qui se manifeste dans tous leurs actes, comprirent, très-promptement l'importance des châteaux pour garder les territoires sur lesquels les successeurs de Charlemagne avaient été forcés de les laisser s'établir; et, dès le milieu du Xe siècle, ils ne se contentèrent plus de ces défenses de campagne en terre et en bois, mais élevèrent déjà, sur le cours de la basse Seine, de l'Orne et des petites rivières qui se jettent dans la Manche, des demeures de pierre, construites avec soin, formidables pour l'époque, dont il nous reste des fragments considérables et remarquables surtout par le choix intelligent de leur assiette. Autres étaient alors les châteaux de France; ils tenaient, comme nous l'avons dit, et du camp romain et de la villa romaine. Ils étaient établis soit en plaine, soit sur des montagnes, suivant que le propriétaire franc possédait un territoire plane ou montagneux. Dans le premier cas, le château consistait en une enceinte de palissade entourée de fossés, quelquefois d'une escarpe en terre, d'une forme ovale ou rectangulaire. Au milieu de l'enceinte, le chef franc faisait amasser des terres prises aux dépens d'un large fossé, et sur ce tertre factice ou motte se dressait la défense principale qui plus tard devint le donjon. On retrouve encore, dans le centre de la France, et surtout dans l'ouest, les traces de ces châteaux primitifs.

Un établissement de ce genre, la Tusque à Sainte-Eulalie d'Ambarès (Gironde) 23, nous donne un ensemble assez complet des dispositions générales de ces sortes de châteaux défendus surtout par des ouvrages en terre. Cet établissement est borné de trois côtés (I) par deux ruisseaux A, B; un fossé C ferme le quatrième côté du parallélogramme, qui a 150 mètres de long sur 90 mètres à 110 mètres environ. Au milieu de ce parallélogramme s'élève une motte D de 27 mètres de diamètre dont le fossé varie en largeur de 10 à 15 mètres. Sur un des grands côtés en E s'élève un vallum haut de deux mètres environ et large de 10 mètres. Il n'est pas besoin de dire que toutes les constructions de bois que nous avons rétablies dans cette figure n'existent plus depuis longtemps. C'était, comme nous l'avons indiqué, au sommet de la motte que s'élevait le donjon, la demeure du seigneur, à laquelle on ne pouvait arriver que par un pont de bois facile à couper. L'enceinte renfermait les bâtiments nécessaires au logement des compagnons du seigneur, des écuries, hangars, magasins de provisions, etc.
Probablement plusieurs portes s'ouvraient dans les palissades, au milieu de trois des faces, peut-être sur chacune d'elles. Ces portes étaient, suivant l'usage, garnies de défenses extérieures, comme le camp romain, avec lequel cette enceinte a plus d'un rapport. Ordinairement un espace, tracé au moyen de pierres brutes rangées circulairement sur le sol de la cour, indiquait la place des assemblées. Souvent, à l'entour de ces demeures, on rencontre des tumuli qui ne sont que des amas de terre recouvrant les ossements de guerriers remarquables par leur courage. Ces tertres pouvaient d'ailleurs servir, au besoin, de défenses avancées. Une guette, placée au sommet du donjon, permettait d'observer ce qui se passait dans les environs.
Si le château franc était posté sur une colline, sur un escarpement, on profitait alors des dispositions du terrain, et c'était l'assiette supérieure du plateau qui donnait la configuration de l'enceinte. Le donjon s'élevait soit sur le point le plus élevé pour dominer les environs, soit près de l'endroit le plus faible pour le renforcer. C'est dans ces établissements que l'on voit souvent, dès une époque reculée, le moellon remplacer le bois, à cause de la facilité qu'on trouvait à se le procurer dans des pays montagneux. Mais il arrivait fréquemment alors que l'assiette du château n'était pas assez vaste pour contenir toutes ses nombreuses dépendances; le long des rampants de la colline ou au bas de l'escarpement on élevait alors une première enceinte en palissades ou en pierres sèches protégées par des fossés, au milieu de laquelle on construisait les logements propres à renfermer la garnison, les magasins, écuries, etc. Cette première enceinte, que nous retrouvons dans presque tous les châteaux du moyen âge, était désignée sous le nom de basse-cour. En général, cette enceinte inférieure était protégée par le donjon. On ne fut pas d'ailleurs sans reconnaître que le donjon posé au centre des enceintes, à l'instar du prætorium du camp romain, était, appliqué aux châteaux, une disposition vicieuse, en ce qu'elle ne pouvait permettre à la garnison de faire des sorties, de se jeter sur les derrières des assiégeants après que l'enceinte extérieure avait été forcée. Nous voyons le donjon des châteaux, dès le XIe siècle, posté généralement près de la paroi de l'enceinte, ayant ses poternes particulières, ses sorties dans les fossés, et commandant le côté de la place dont l'accès était le plus facile. Toutefois, nous penchons à croire que le château féodal n'est arrivé à ses perfectionnements de défense qu'après l'invasion normande, et que ces peuples du Nord ont été les premiers qui aient appliqué un système défensif soumis à certaines lois, suivi bientôt par les seigneurs du continent après qu'ils en eurent à leurs dépens reconnu la supériorité. Le système défensif normand est né d'un profond sentiment de défiance, de ruse, étranger au caractère franc. Pour appuyer notre opinion sur des preuves matérielles, nous devons faire observer que les châteaux dont il nous reste des constructions comprises entre les Xe et XIIe siècles, élevés sur côtes de l'ouest, le long de la Loire et de ses affluents, de la Gironde, de la Seine, c'est-à-dire sur le cours des irruptions normandes ou dans le voisinage de leurs possessions, ont un caractère particulier, uniforme, que l'on ne retrouve pas, à la même époque, dans les provinces du centre de la France, dans le midi et en Bourgogne.
Il n'est pas besoin, nous le pensons, de faire ressortir la supériorité de l'esprit guerrier des Normands, pendant les derniers temps de la période carlovingienne, sur l'esprit des descendants des chefs francs établis sur le sol gallo-romain. Ces derniers, comme nous l'avons dit plus haut, étaient d'ailleurs dispersés, isolés, et n'avaient aucun de ces sentiments de nationalité que les Normands possédaient à un haut degré. La féodalité prit des caractères différents sur le sol français, suivant qu'elle fut plus ou moins mélangée de l'esprit normand, et cette observation, si elle était développée par un historien, projetterait la lumière sur certaines parties de l'histoire politique du moyen âge qui paraissent obscures et inexplicables. Ainsi, c'est peut-être à cet esprit anti-national d'une partie de la féodalité française, qui avait pu résister à l'influence normande, que nous devons de n'être pas devenus Anglais au XVe siècle. Ce n'est point là un paradoxe, comme on pourrait le croire au premier abord. Si tout le sol français avait été imprégné de l'esprit national normand, comme la Normandie, le Maine, l'Anjou, le Poitou, la Saintonge et la Guienne, au XVe siècle, la conquête anglaise était assurée à tout jamais. C'est à l'esprit individuel et nullement national des seigneurs féodaux de la Bretagne, qui était toujours restée opposée à l'influence normande 24, et du centre de la France, secondé par le vieil esprit national du peuple gallo-romain, que nous devons d'être restés Français; car, à cette époque encore, l'invasion anglaise n'était pas considérée, sur une bonne partie du territoire de la France, comme une invasion étrangère.
Si nous nous sommes permis cette digression, ce n'est pas que nous ayons la prétention d'entrer dans le domaine de l'historien, mais c'est que nous avons besoin d'établir certaines classifications, une méthode, pour faire comprendre à nos lecteurs ce qu'est le château féodal pendant le moyen âge, pour faire ressortir son importance, ses transformations et ses variétés, les causes de sa grandeur et de sa décadence. Voilà pour les caractères généraux politiques, dirons-nous, de la demeure féodale primitive. Ses caractères particuliers tiennent aux moeurs et à la vie privée de ses habitants. Or, qu'on se figure ce que devait être la vie du seigneur féodal pendant les XIe et XIIe le siècles en France! c'est-à-dire pendant la période de développement de la féodalité. Le seigneur normand est sans cesse occupé des affaires de sa nation; la conquête de l'Angleterre, les luttes nationales sur le continent où il n'était admis qu'à regret, lui conservent un rôle politique qui l'occupe, lui fait entrevoir un but qui n'est pas seulement personnel. Si remuant, insoumis, ambitieux que soit le baron normand, il est forcé d'entrer dans une lice commune, de se coaliser, de faire la grande guerre, de conserver l'habitude de vivre dans les armées et les camps. Son château a quelque chose de la forteresse territoriale; il n'a pas le loisir de s'y enfermer longtemps; il sait enfin que pour garder son domaine il faut défendre le territoire, car, en Angleterre comme en France, il est à l'état de conquérant. La vie du seigneur féodal français est autre; il est possesseur; le souvenir de la conquête est effacé depuis longtemps chez lui; il se considère comme indépendant; il ne comprend ses devoirs de vassal que parce qu'il profite du système hiérarchique de la féodalité, et que, s'il refuse de reconnaître son suzerain, il sait que le lendemain ses propres vassaux lui dénieront son pouvoir; étranger aux intérêts généraux du pays (intérêts qu'il ne peut comprendre puisque à peine ils se manifestent au XIIe siècle), il vit seul; ceux qui l'entourent ne sont ni ses soldats, ni ses domestiques, ni ses égaux; ils dépendent de lui dans une certaine limite, qui, dans la plupart des cas, n'est pas nettement définie. Il ne paye pas les hommes qui lui doivent le service de guerre, mais la durée de ce service est limitée. Le seigneur ayant un fief, compte plusieurs classes de vassaux: les uns, comme les chevaliers, ne lui doivent que l'hommage et l'aide de leurs bras en cas d'appel aux armes, ou une somme destinée à racheter ce service, encore faut-il que ce ne soit pas pour l'aider dans une entreprise contre le suzerain. D'autres tenanciers roturiers, tenant terres libres, devaient payer des rentes au seigneur, avec la faculté de partager leur tenure en parcelles, mais restant responsables du payement de la rente, comme le sont de principaux locataires. D'autres tenanciers, les vilains, d'une classe inférieure, les paysans, les bordiers 25, les derniers sur l'échelle féodale, devaient des corvées de toutes natures. Cette diversité dans l'état des personnes, dans le partage du sol et le produit que le seigneur en retirait amenait des complications infinies; de là des difficultés perpétuelles, des abus, une surveillance impossible, et par suite des actes arbitraires, car cet état de choses, à une époque où l'administration était une science à peine connue, était souvent préjudiciable au seigneur. Ajoutons à cela que les terres nobles, celle qui étaient entre les mains des chevaliers, se trouvaient soumises à la garde pendant la minorité du seigneur, c'est-à-dire que le suzerain jouissait pendant ce temps du revenu de ces terres. Si aujourd'hui, avec l'uniformité des impôts, il faut une armée d'administrateurs pour assurer la régularité du revenu de l'État, et une longue habitude de l'unité gouvernementale, on comprendra ce que devait être pendant les XIe et XIIe siècles l'administration d'un domaine fieffé. Si le seigneur était débonnaire, il voyait la source de ses revenus diminuer chaque jour; si au contraire il était âpre au gain, ce qui arrivait souvent, il tranchait les difficultés par la violence, ce qui lui était facile, puisqu'il réunissait sous la main le droit fiscal et les droits de justicier. Pour vivre et se maintenir dans une pareille situation sociale, le seigneur était amené à se défier de tout et de tous; à peine s'il pouvait compter sur le dévouement de ceux qui lui devaient le service militaire. Pour acquérir ce dévouement il lui fallait tolérer des abus sans nombre de ses vassaux nobles, qui lui prêtaient le secours de leurs armes, les attirer et les entretenir près de lui par l'appât d'un accroissement de biens, par l'espoir d'un empiètement sur les terres de ses voisins. Il n'avait même pas de valets à ses gages, car, de même que ses revenus lui étaient payés en grande partie en nature, le service journalier de son château était fait par des hommes de sa terre qui lui devaient, l'un le balayage, l'autre le curage des égouts, ceux-ci l'entretien de ses écuries, ceux-là l'apport de son bois de chauffage, la cuisson de son pain, la coupe de son foin, l'élagage de ses haies, etc. Retiré dans son donjon avec sa famille et quelques compagnons, la plupart ses parents moins riches que lui, il ne pouvait être assuré que ses hommes d'armes, dont le service était temporaire, séduits par les promesses de quelque voisin, n'ouvriraient pas les portes de son château à une troupe ennemie. Cette étrange existence de la noblesse féodale justifie ce système de défiance dont ses habitations ont conservé l'empreinte; et si aujourd'hui cette organisation sociale nous semble absurde et odieuse, il faut convenir cependant qu'elle était faite pour développer la force morale des individus, aguerrir les populations, qu'elle était peut-être la seule voie qui ne conduisît pas de la barbarie à la corruption la plus honteuse. Soyons donc justes, ne jetons pas la pierre à ces demeures renversées par la haine populaire aussi bien que par la puissance monarchique; voyons-y au contraire le berceau de notre énergie nationale, de ces instincts guerriers, de ce mépris du danger qui ont assuré l'indépendance et la grandeur de notre pays.
On conçoit que cet état social dut être accepté par les Normands lorsqu'ils se fixèrent sur le sol français. Et en effet, depuis Rollon, chaque seigneur normand s'était prêté aux coutumes des populations au milieu desquelles il s'était établi; car, pour y vivre, il n'était pas de son intérêt de dépeupler son domaine. Il est à croire qu'il ne changea rien aux tenures des fiefs dont il jouit par droit de conquête, car dès le commencement du XIIe siècle nous voyons le seigneur normand, en temps de paix, entouré d'un petit nombre de familiers, habitant la salle, le donjon fortifié; en temps de guerre, lorsqu'il craint une agression, appeler autour de lui les tenanciers nobles et même les vavasseurs, hôtes 26 et paysans.
Alors la vaste enceinte fortifiée qui entourait le donjon se garnissait de cabanes élevées à la hâte, et devenait un camp fortifié dans lequel chacun apportait ce qu'il avait de plus précieux, des vivres et tout ce qui était nécessaire pour soutenir un siége ou un blocus. Cela explique ces défenses étendues qui semblent faites pour contenir une armée, bien qu'on y trouve à peine des traces d'habitation. Cependant les Normands conçoivent la forteresse dans des vues politiques autant que personnelles; les seigneurs français profitent de la sagacité déployée par les barons normands dans leurs ouvrages militaires, mais seulement avec l'idée de défendre le domaine, de trouver un asile sûr pour eux, leur famille et leurs hommes. Le château normand conserve longtemps les qualités d'une forteresse combinée de façon à se défendre contre l'assaillant étranger; son assiette est choisie pour commander des passages, intercepter des communications, diviser des corps d'armée, protéger un territoire; ses dispositions intérieures sont comparativement larges, destinées à contenir des compagnies nombreuses. Le château français ne s'élève qu'en vue de la garde du domaine féodal; son assiette est choisie de façon à le protéger seul; ses dispositions intérieures sont compliquées, étroites, accusant l'habitation autant que la défense; elles indiquent la recherche d'hommes réunis en petit nombre, dont toutes les facultés intellectuelles sont préoccupées d'une seule pensée, celle de la défense personnelle. Le château français est comme un groupe de châteaux qui, au besoin, peuvent se défendre les uns contre les autres. Le seigneur français s'empare, au XIIe siècle, de l'esprit de ruse normand, et il l'applique aux moindres détails de sa résidence, en le rapetissant, pour ainsi dire.
Cet aperçu général tracé, nous passerons à l'examen des monuments. Nous nous occuperons d'abord du château normand; le plus avancé au point de vue militaire pendant le cours du XIe siècle. Le château d'Arques, près de Dieppe, nous servira de point de départ, car nous retrouvons encore dans son assiette et ses combinaisons de détail les principes de la défense normande primitive. Sur le versant sud-ouest de la vallée d'Arques, à quelques kilomètres de la mer, se détache une langue de terre crayeuse qui forme comme une sorte de promontoire défendu par la nature de trois côtés. C'est à l'extrémité du promontoire que Guillaume 27, oncle de Guillaume le Bâtard, par suite de la donation que son neveu lui avait faite du comté d'Arques vers 1040, éleva la forteresse dont nous allons essayer de faire comprendre l'importance. Peut-être existait-il déjà sur ce point un château; des constructions antérieures à cette époque, il ne reste pas trace. Guillaume d'Arques, plein d'ambition, reconnut le don de son neveu en cherchant à lui enlever le duché de Normandie; en cela il suivait l'exemple de la plupart des seigneurs normands, qui, voyant à la tête du duché un jeune homme à peine sorti de l'adolescence, se préparaient à lui ravir un héritage qui ne paraissait pas dû à sa naissance illégitime. En effet, «dans les premiers temps de la vie de Guillaume le Bâtard, dit Guillaume de Jumiéges 28, un grand nombre de Normands égarés et infidèles élevèrent dans beaucoup de lieux des retranchements et se construisirent de solides forteresses.» Sans perdre de temps, et avant de dévoiler ses projets de révolte, Guillaume d'Arques se mit à l'oeuvre, et, peu d'années après l'investiture de son comté, le village d'Arques voyait s'élever, à l'extrémité de la langue de terre qui le domine, une vaste enceinte fortifiée, protégée par des fossés profonds et un donjon formidable.

Mais c'est ici qu'apparaît tout d'abord le génie normand. Au lieu de profiter de tout l'espace donné par l'extrémité du promontoire crayeux, et de considérer les escarpements et les vallées environnantes comme un fossé naturel, ainsi que l'eût fait un seigneurs français, Guillaume d'Arques fit creuser au sommet de la colline un large fossé, et c'est sur l'escarpe de ce fossé qu'il éleva l'enceinte de son château, laissant, ainsi que l'indique la fig. 2, entre les vallées et ses défenses une crête A, sorte de chemin couvert de deux mètres de largeur, derrière lequel l'assaillant trouvait, après avoir gravi les escarpements naturels B, un obstacle infranchissable entre lui et les murs du château. Les crêtes A étaient d'ailleurs munies de palissades, hériçuns, qui protégeaient le chemin couvert et permettaient de le garnir de défenseurs, ainsi qu'on le voit en C. Un peu au-dessus du niveau du fond du fossé, les Normands avaient le soin de percer des galeries longitudinales S qui permettaient de reconnaître et d'arrêter le travail du mineur qui se serait attaché à la base de l'escarpe. À Arques, ces galeries souterraines prennent entrée sur certains points de la défense intérieure, après de nombreux détours qu'il était facile de combler en un instant, dans le cas où l'assaillant aurait pu parvenir à s'emparer d'un de ces couloirs. Cette disposition importante est une de celles qui caractérisent l'assiette des châteaux normands pendant les XIe et XIIe siècles.

Ce fossé, fait à main d'homme et creusé dans la craie, n'a pas moins de 25m à 30m de largeur de la crête de la contrescarpe à la base des murailles. Le plan topographique (3) explique la position du château d'Arques mieux que ne pourrait le faire une description. Du côté occidental, le val naturel est très-profond et l'escarpement du promontoire abrupt; mais du côté du village vers le nord-est, les pentes sont moins rapides, et s'étendent assez loin jusqu'à la petite rivière d'Arques. Sur ce point, le flanc A de la colline fut défendue par une enceinte extérieure, véritable basse-cour, désignée dans les textes sous le nom de Bel ou Baille 29. Une porte et une poterne donnaient seules entrée au château au nord et au sud.

Voici (fig. 4) le plan du château d'Arques 30. L'ouvrage avancé B date du XVe siècle. Les bâtiments intérieurs C paraissent être d'une époque assez récente; ils n'existent plus aujourd'hui. Du temps de Guillaume d'Arques, la véritable entrée du château du côté de Dieppe était en D, et le fossé devait alors suivre la ligne ponctuée E E'. Peut-être en B existait-il un ouvrage avancé palissadé pour protéger la porte principale. On distingue encore parfaitement, sous l'entrée G, les constructions du XIe siècle et même les soubassements des tours qui la défendaient. En H est le donjon de figure carrée, conformément aux habitudes normandes, et divisé par un épais mur de refend. Mais nous aurons l'occasion de revenir sur les détails de cette remarquable construction au mot DONJON; nous ne devons ici qu'en indiquer les dispositions générales, celles qui tiennent à l'ensemble de la défense. En K est la seconde porte qui communique au plateau extérieur au moyen d'un pont posé sur des piles isolées. Cette entrée, savamment combinée, passe sous une tour, et un long passage voûté bien défendu et battu par le donjon qui, par sa position oblique, masque la cour du château pour ceux qui arrivent du dehors. Ce donjon est d'ailleurs remarquablement planté pour commander les dehors du côté de la langue de terre par où l'on peut approcher du fossé de plain-pied; ses angles viennent toucher les remparts de l'enceinte, ne laissent ainsi qu'une circulation très-étroite sur le chemin de ronde et dominent le fond du fossé. L'ennemi, se fût-il emparé de la cour L, ne pouvait monter sur la partie des remparts M, et arrivait difficilement à la poterne K qui était spécialement réservée à la garnison renfermée dans le donjon. En P était un ouvrage dépendant du donjon, surmontant le passage de la poterne et qui devait se défendre aussi bien contre la cour intérieure O que contre les dehors. Celle-ci avait plusieurs issues qu'il était impossible à des hommes non familiers avec ces détours de reconnaître; car, outre la poterne K du donjon, un escalier souterrain communique au fond du fossé, et permet ainsi à la garnison de faire une sortie ou de s'échapper sans être vue. Nous avons indiqué en N, sur notre plan, les nombreux souterrains taillés dans la craie, encore visibles, qui se croisent sous les remparts et sont destinés soit à faire de brusques sorties dans les fossés, soit à empêcher le travail du mineur du côté où le château est le plus accessible. De la porte D à la poterne K le plateau sur lequel est assis le château d'Arques s'élève graduellement, de sorte que le donjon se trouve bâti sur le point culminant. En dehors de la poterne K, sur la langue de terre qui réunit le promontoire au massif de collines, étaient élevés des ouvrages en terre palissadés dont il reste des traces qui, du reste, ont dû être modifiées au XVe siècle, lorsque le château fut muni d'artillerie.
La place d'Arques était à peine construite que le duc Guillaume dut l'assiéger, son oncle s'étant déclaré ouvertement contre lui. Ne pouvant tenter de prendre le château de vive force, le Bâtard de Normandie prit le parti de le bloquer. À cet effet, il fit creuser un fossé de contrevallation qui, partant du ravin au nord-ouest, passait devant la porte nord du château, descendait jusqu'à la rivière de la Varenne et remontait dans la direction du sud-est vers le ravin. Il munit ce fossé de bastilles pour loger et protéger son monde contre les attaques du dedans ou du dehors:
«De fossez è de hériçun
Et de pel fist un chasteillon
El pié del teltre en la vallée,
Ki garda tute la cuntrée:
Ne pristrent puiz cels del chastel
Ne bués ne vache ne véel.
Li Dus tel chastelet i fist
Tant chevaliers è tel i mist
Ki bien le porreient desfendre
Ke Reis ne Quens ne porreit prendre 31.»
Après une tentative infructueuse du roi de France pour faire lever le blocus, le comte Guillaume fut obligé de capituler faute de vivres:
«Willame d'Arches lungement
Garda la terre è tint forment,
E plus lungement la tenist,
Se viande ne li fausist:
Maiz pur viande ki failli,
Terre è chastel è tur guerpi;
Al Duc Willame tut rendi,
Et al Rei de France s'enfui.»
Il n'était guère possible, en effet, avec les moyens d'attaque dont on disposait alors, de prendre un château aussi bien défendu par la nature et par des travaux d'art formidables.

Nous donnons (5) une vue cavalière du château d'Arques tel qu'il devait être au XIe siècle, prise en dehors de la porte de Dieppe, et en supprimant les défenses postérieures ajoutées de ce côté. On comprendra ainsi plus facilement les dispositions intérieures de cette place forte.
Déjà, du temps de Guillaume le Bâtard, les barons normands construisaient donc de vastes châteaux de maçonnerie possédant tout ce qui constitue les places de ce genre au moyen âge: fossés profonds et habilement creusés, enceintes inférieures et supérieures, donjon, etc. Le duc de Normandie, pendant les longues luttes du commencement de son règne, éleva des châteaux, ou tout au moins des donjons, pour tenir en bride les villes qui avaient pris parti contre lui:
«E il fist cax è pierre atraire;
Iloec (au Mans) fist une tur faire 32.»
Après la descente en Angleterre, l'établissement des châteaux fut un des moyens que Guillaume le Conquérant employa pour assurer sa nouvelle royauté, et ce fut, en grande partie, à ces forteresses élevées sur des points stratégiques ou dans les villes mêmes qu'il dut de pouvoir se maintenir au milieu d'un pays qui tentait chaque jour des soulèvements pour chasser l'étranger et reconquérir son indépendance. Mais beaucoup de seigneurs, du moment que la guerre générale était terminée, tenant ces châteaux en fief, se prenaient de querelle avec leurs voisins, faisaient des excursions sur les terres les uns des autres, et en venaient à s'attaquer dans leurs places fortes. Ou bien, mécontents de voir la faveur du suzerain tomber sur d'autres que sur eux, cherchaient à rendre leurs châteaux plus formidables afin de vendre leurs services plus cher aux rivaux de leur seigneur et de faire cause commune avec eux:
«Li Reis se fia as deniers 33,
K'il ont à mines, à sestiers 34
En Normandie trespassa (passa),
Mult out od li grant gent e a
Od granz tonels, od grant charrei,
Fet li denier porter od sei.
As chastelains et as Barons
Ki orent turz (donjons) è forz maisons,
As boens guerriers et as marchis 35
A tant doné è tant promis,
Ke li Dus Robert unt lessié,
Et por li Reis l'unt guerréié.»
C'est ainsi que, par suite de l'organisation féodale, même en Normandie où l'esprit national s'était maintenu beaucoup mieux qu'en France, les seigneurs étaient chaque jour portés à rendre leurs châteaux de plus en plus forts, afin de s'affranchir de toute dépendance et de pouvoir dicter des conditions à leur suzerain. Le château normand du XIe siècle ne consistait qu'en un donjon carré ou rectangulaire, autour duquel on élevait quelques ouvrages de peu d'importance, protégés surtout par ce fossé profond pratiqué au sommet d'un escarpement; c'était là le véritable poste normand de cette époque, destiné à dominer un territoire, à fermer un passage ou contenir la population des villes. Des châteaux munis de défenses aussi étendues que celles d'Arques étaient rares; mais les barons normands devenant seigneurs féodaux, en Angleterre ou sur le continent, se virent bientôt assez riches et puissants pour augmenter singulièrement les dépendances du donjon qui dans l'origine était le seul point sérieusement fortifié. Les enceintes primitives, faites souvent en palissades, furent remplacées par des murs flanqués de tours. Les plus anciens documents écrits touchant les manoirs et même les châteaux (documents qui en Angleterre remontent au XIIe siècle) désignent souvent la demeure fortifiée du seigneur par le mot aula, hall; c'est qu'en effet ces sortes d'établissements militaires ne consistaient qu'en une salle défendue par d'épaisses murailles, des créneaux et des contre-forts munis d'échanguettes ou de bretèches flanquantes. Les dépendances de la demeure seigneuriale n'avaient relativement qu'une importance minime; en cas d'attaque sérieuse, la garnison abandonnait bientôt les ouvrages extérieurs et se renfermait dans le donjon, dont les moyens défensifs étaient formidables pour l'époque. Pendant le cours du XIIe siècle, cette tradition se conserve dans les contrées où l'influence normande prédomine; le donjon, la salle fortifiée prend une valeur relative que nous ne lui trouvons pas au même degré sur le territoire français; le donjon est mieux isolé des défenses secondaires dans le château normand des XIe et XIIe siècles que dans le château d'origine française; il est plus élevé, présente une masse plus imposante; c'est un poste autour duquel est tracé un camp fortifié plutôt qu'un château. Cette disposition est apparente non-seulement en Normandie et en Angleterre, comme au Pin (Calvados), à Saint-Laurent-sur-Mer, à Nogent-le-Rotrou, à Domfront, à Falaise, à Chamboy (Orne), à Newcastle, à Rochester et à Douvres (Angleterre), mais sur les côtes de l'Ouest, dans l'Anjou, le Poitou et le Maine, c'est-à-dire dans toutes les contrées où pénètre l'influence normande; nous la retrouvons, accompagnée du fossé normand dont le caractère est si nettement tranché, à Pouzanges (Vendée), à Blanzac, à Broue, à Pons (Charente-Inférieure), à Chauvigny près Poitiers, et jusqu'à Montrichard, à Beaugency-sur-Loire et à Loches (voy. DONJON). Les défenses extérieures qui accompagnent ces gros donjons rectangulaires, ou ne présentent que des terrassements sans traces de constructions importantes, ou si elles sont élevées en maçonnerie, sont toutes postérieures d'un siècle au moins à l'établissement de ces donjons, ce qui indique assez clairement que les enceintes primitives des XIe et XIIe siècles avaient peu d'importance et qu'elles durent être remplacées lorsqu'au XIIIe siècle ce système défensif des châteaux fut modifié, et qu'on eut reconnu la nécessité d'élargir et de renforcer les ouvrages extérieurs.

Nous donnons (6) le plan du château de Chauvigny, dont le donjon remonte au XIe siècle, et la plus grande partie des défenses extérieures au XIVe;--et (7) le plan du château de Falaise, dont le donjon carré A du XIe siècle présente seul un logement fortement défendu.

Quant aux autres défenses de ce château, elles ne prennent quelque valeur que par la disposition des escarpements du plateau, et elles en suivent toutes les sinuosités. Le donjon cylindrique B et les défenses de gauche datent de l'invasion anglaise, c'est-à-dire des XIVe et XVe siècles. Le château de Falaise, au XIIe siècle, ne consistait réellement qu'en un gros donjon avec une enceinte renfermant des bâtiments secondaires, construits probablement de la façon la plus simple, puisqu'il n'en reste plus trace, et destinés au logement de la garnison, aux magasins, écuries et autres dépendances. Le nom d'aula peut donc être donné à ce château, puisque, par le fait, la seule partie importante, le poste seigneurial, n'est qu'une salle fortifiée. Les châteaux que Guillaume le Conquérant fit élever dans les villes d'Angleterre pour tenir les populations urbaines en respect n'étaient que, des donjons rectangulaires, bien munis et entourés de quelques ouvrages en terre, de palissades, ou d'enceintes extérieures qui n'étaient pas d'une grande force. Cela explique la rapidité avec laquelle se construisaient ces postes militaires et leur nombre prodigieux; mais cela explique aussi comment, dans les soulèvements nationaux dirigés avec énergie, les garnisons normandes qui tenaient ces places, obligées de se réfugier dans le donjon après l'enlèvement des défenses extérieures, qui ne présentaient qu'un obstacle assez faible contre une troupe nombreuse et déterminée, étaient bientôt réduites par famine, se défendaient mal dans un espace aussi étroit, et étaient forcées de se rendre à discrétion. Guillaume, pendant son règne, malgré son activité prodigieuse, ne pouvait faire plus sur l'étendue d'un vaste pays toujours prêt à se soulever; ses successeurs eurent plus de loisirs pour étudier l'assiette et la défense de leurs châteaux; ils en profitèrent, et bientôt le château normand augmenta et perfectionna ses défenses extérieures. Le donjon prit une moins grande importance relative; il se relia mieux aux ouvrages secondaires, les protégea d'une manière plus efficace; mieux encore, le château tout entier ne fut qu'un vaste donjon dont toutes les parties furent combinées avec art et devinrent indépendantes les unes des autres, quoique protégées par une construction plus forte. On commença dès lors à appliquer cette loi «que tout ce qui se défend doit être défendu.»
Il nous faut dont atteindre la fin du XIIe siècle pour rencontrer le véritable château féodal, c'est-à-dire un groupe de bâtiments élevés avec ensemble, se défendant isolément, quoique réunis par une pensée de défense commune, disposés dans un certain ordre, de manière à ce qu'une partie étant enlevée, les autres possèdent encore leurs moyens complets de résistance, leurs ressources en magasins de munitions et de vivres, leurs issues libres soit pour faire des sorties et prendre l'offensive, soit pour faire échapper la garnison si elle ne peut plus tenir. Nous verrons tout à l'heure comment ce programme difficile à réaliser fut rempli avec une sagacité rare par Richard Coeur de Lion, pendant les dernières années du XIIe siècle, lorsqu'il fit construire l'importante place du château Gaillard. Mais avant de nous occuper de cette forteresse remarquable, nous devons parler d'un château qui nous paraît être antérieur, qui est comme la transition entre le château primitif (celui qui ne possède qu'un donjon avec une enceinte plus ou moins étendue tracée d'après la configuration du sol) et le château féodal du XIIIe siècle. C'est le château de la Roche-Guyon, situé à quinze kilomètres de Mantes en aval sur la Seine. Son assiette est d'ailleurs la même que celle du château Gaillard.
Au-dessous de Mantes, la Seine coule vers l'ouest; à Rolleboise, elle se détourne vers le nord-est, forme un vaste coude, revient vers le sud-ouest, et laisse ainsi, sur la rive gauche, une presqu'île d'alluvions dont la longueur est environ de huit kilomètres et la plus grande largeur de quatre. La gorge de cette presqu'île n'a guère que deux kilomètres d'ouverture. C'était là un lieu de campement excellent, car un corps d'armée, dont la droite était appuyée à Bonnières et la gauche à Rolleboise, défendait sans peine l'entrée de la presqu'île. Mais il fallait prévoir qu'un ennemi en forces, en attaquant la gorge, pouvait, en filant le long de la rive droite, essayer de passer la Seine à l'extrémité de la plaine de Bonnières et prendre ainsi la presqu'île par ses deux points les plus distants. Or la rive droite, en face de la presqu'île de Bonnières, se compose d'un escarpement crayeux, abrupt, qui se rapproche de la Seine à Vétheuil, pour la quitter à la Roche-Guyon au sommet de son coude. Sur ce point, à la Roche-Guyon, l'escarpement n'est éloigné du fleuve que de cent mètres environ; autrefois il en était plus rapproché encore, la Seine ayant reculé ses rives.

C'est là qu'à la fin du XIIe siècle fut élevé un château dans des conditions excellentes. D'abord (8) un donjon très-fort entouré d'une double enceinte fut élevé au sommet de l'escarpement en A; en B, le long du fleuve et adossé à la roche qui le domine de beaucoup, se dressa le château qui coupait la route passant sur la rive droite, commandait le cours du fleuve et, par conséquent, le sommet de la presqu'île 36. Afin de rapprocher autant que possible le château du donjon, l'escarpement de craie fut taillé à pic, de manière à laisser une cour assez vaste entre le bâtiment principal et le pied du rocher. Un large souterrain détourné taillé dans le roc et ayant la figure d'un cylindre avec emmarchement, réunit les défenses du château à la cour intérieure du donjon. En E, du côté où l'escarpement était moins abrupt, fut tranché, dans le roc vif, un large et profond fossé à fond de cuve. En G, un fossé moins profond, mais beaucoup plus étendu, contourna le plateau sur l'extrémité duquel est assis le donjon; mais comme ce plateau n'était pas de niveau et qu'il dominait le donjon en s'enfonçant dans la chaîne crayeuse, en C on fit une motte factice sur laquelle (probablement) s'éleva une défense, détruite aujourd'hui. En I et en H, les escarpements naturels devaient ôter toute idée d'attaquer le plateau par ses côtés. Nous ne pensons pas que le fossé G et l'escarpement I aient jamais été protégés par des murailles, mais seulement par une levée de terre avec palissades, car il ne reste sur ces points nulle trace de maçonneries.

Afin de faire mieux comprendre encore l'assiette du château de la Roche-Guyon, et comment, par des ouvrages considérables, on était parvenu à rendre cette assiette encore plus forte, soit en entaillant la colline, soit en faisant des terrassements, nous donnons (9) un profil de l'escarpement de craie avec les constructions. En A est la Seine, en B le château bâti au pied de la falaise, en C le donjon, dont les enceintes s'élèvent en suivant la pente naturelle du plateau pour dominer les dehors du côté D. En E, la motte faite à main d'homme, sur laquelle était un ouvrage avancé commandant la circonvallation du plateau; le profil du souterrain communiquant du château au donjon est tracé en H. On ne pouvait entrer, du plateau, dans les enceintes du donjon que par une poterne percée sur le flanc de la courtine extérieure de droite et faisant face à l'escarpement, de manière qu'il était impossible de voir cette entrée soit du plateau, soit du bas de l'escarpement (voy. DONJON). Notre profil fait comprendre comment il était difficile à un assiégeant de se tenir dans le château inférieur sans posséder en même temps le donjon supérieur; si, après s'être emparé du château, il eût voulu s'y loger, il était infailliblement écrasé par la garnison du donjon. Quant à s'emparer du donjon, enveloppé dans sa double enceinte, on ne pouvait le tenter que par un blocus. Mais comment bloquer une forteresse qui possédait une issue souterraine très-praticable communiquant avec une défense inférieure commandée et une large rivière? Sous le rapport stratégique, la position du château de la Roche-Guyon était donc excellente et évidemment choisie pour garder cette presqu'île de Bonnière si facile à défendre à la gorge. Deux ou trois mille hommes dans la presqu'île, et quatre ou cinq cents hommes dans le château et ses dépendances s'appuyant mutuellement, quoique séparés par la Seine, pouvaient arrêter une armée considérable et paralyser ses mouvements sur l'une ou l'autre rive de la Seine.
À quelques kilomètres de la Roche-Guyon, en descendant la Seine, nous rencontrons un château dont la position stratégique est plus forte et mieux choisie encore que celle de la Roche-Guyon; c'est le château Gaillard, près les Andelys. Bâti par Richard Coeur de Lion, après que ce prince eut reconnu la faute qu'il avait faite, par le traité d'Issoudun, en laissant à Philippe-Auguste le Vexin et la ville de Gisors, ce château conserve encore, malgré son état de ruine, l'empreinte du génie militaire du roi anglo-normand. Mauvais politique, Richard était un homme de guerre consommé, et il réparait les fautes de l'homme d'État a force de courage et de persévérance. À notre sens, le château Gaillard des Andelys dévoile une partie des talents militaires de Richard. On est trop disposé à croire que cet illustre prince n'était qu'un batailleur brave jusqu'à la témérité; ce n'est pas seulement avec les qualités d'un bon soldat, payant largement de sa personne, qu'on acquiert dans l'histoire une aussi grande place. Richard était mieux qu'un Charles le Téméraire, c'était un héros d'une bravoure à toute épreuve; c'était encore un habile capitaine dont le coup d'oeil était sûr, un ingénieur plein de ressources, expérimenté, prévoyant, capable de devancer son siècle, et ne se soumettant pas à la routine. Grâce à l'excellent travail de M. A. Deville sur Château-Gaillard 37, chacun peut se rendre un compte exact des circonstances qui déterminèrent la construction de cette forteresse, la clef de la Normandie, place frontière capable d'arrêter longtemps l'exécution des projets ambitieux du roi français. La rive droite de la Seine étant en la possession de Philippe-Auguste jusqu'aux Andelys, une armée française pouvait, en une journée, se trouver au coeur de la Normandie et menacer Rouen. S'apercevant trop tard de ce danger, Richard voulut en garantir sa province du continent. Avec ce coup d'oeil qui n'appartient qu'aux grands capitaines, il choisit l'assiette de la forteresse destinée à couvrir la capitale normande, et une fois son projet arrêté, il en poursuivit l'exécution avec une ténacité et une volonté telles qu'il brisa tous les obstacles opposés à son entreprise, et qu'en un an, non-seulement la forteresse fut bâtie, mais encore un système complet d'ouvrages défensifs fut appliqué, avec un rare talent, sur les rives de la Seine, au point où ce fleuve peut couvrir Rouen contre une armée sortie de Paris. Nous trouvons encore là les qualités qui distinguent les fortifications normandes, mais mises en pratique par un homme de génie. Il s'agit ici non de la défense d'un domaine, mais d'une grande province, d'un point militaire aussi bon pour protéger une capitale contre un ennemi que pour le surprendre et l'attaquer, et cela dans les conditions de délimitation de frontières les plus défavorables. Nos lecteurs voudront bien nous permettre dès lors de nous étendre quelque peu sur la position et la construction du château Gaillard.
De Bonnières à Gaillon, la Seine descend presque en ligne droite vers le nord-nord-ouest. Près de Gaillon, elle se détourne brusquement vers le nord-est jusqu'aux Andelys, puis revient sur elle-même et forme une presqu'île, dont la gorge n'a guère que deux mille six cents mètres d'ouverture. Les Français, par le traité qui suivit la conférence d'Issoudun, possédaient sur la rive gauche Vernon, Gaillon, Pacy-sur-Eure; sur la rive droite, Gisors, qui était une des places les plus fortes de cette partie de la France. Une armée dont les corps, réunis à Évreux, à Vernon et à Gisors, se seraient simultanément portés sur Rouen, le long de la Seine, en se faisant suivre d'une flottille, pouvait, en deux journées de marche, investir la capitale de la Normandie et s'approvisionner de toutes choses par la Seine. Planter une forteresse à cheval sur le fleuve, entre les deux places de Vernon et de Gisors, en face d'une presqu'île facile à garder, c'était intercepter la navigation du fleuve, couper les deux corps d'invasion, rendre leur communication avec Paris impossible, et les mettre dans la fâcheuse alternative d'être battus séparément avant d'arriver sous les murs de Rouen. La position était donc, dans des circonstances aussi défavorables que celles où se trouvait Richard, parfaitement choisie. La presqu'île de Bernières, située en face les Andelys, pouvant être facilement retranchée à la gorge, appuyée par une place très-forte de l'autre côté du fleuve, permettait l'établissement d'un camp approvisionné par Rouen et que l'on ne pouvait songer à forcer. La ville de Rouen était couverte, et Philippe-Auguste, s'il eût eu l'intention de marcher sur cette place, n'aurait pu le faire sans jeter un regard d'inquiétude sur le château Gaillard qu'il laissait entre lui et la France. Cette courte description fait déjà connaître que Richard était mieux qu'un capitaine d'une bravoure emportée.

Voici comme le roi anglo-normand disposa l'ensemble des défenses de ce point stratégique (10). À l'extrémité de la presqu'île A, du côté de la rive droite, la Seine côtoie des escarpements de roches crayeuses fort élevées qui dominent toute la plaine d'alluvion. Sur un îlot B qui divise le fleuve, Richard éleva d'abord un fort octogone muni de tours, de fossés et de palissades 38; un pont de bois passant à travers ce châtelet unit les enceinte, large tête de pont qui fut bientôt remplie d'habitations et prit le nom de Petit-Andely. Un étang, formé par la retenue des eaux de deux ruisseaux en D, isola complétement cette tête de pont. Le grand Andely E, qui existait déjà avant ces travaux, fut également fortifié, enclos de fossés que l'on voit encore et sont remplis par les eaux des deux ruisseaux. Sur un promontoire élevé de plus de cent mètres au-dessus du niveau de la Seine, et qui ne se relie à la chaîne crayeuse que par une mince langue de terre, du côté sud, la forteresse principale fut assise en profitant de toutes les saillies du rocher. En bas de l'escarpement, et enfilée par le château, une estacade F, composée de trois rangées de pieux, vint barrer le cours de la Seine 39. Cette estacade était en outre protégée par des ouvrages palissadés établis sur le bord de la rive droite et par un mur descendant d'une tour bâtie à mi-côte jusqu'au fleuve; de plus, en amont, et comme une vedette du côté de la France, un fort fut bâti sur le bord de la Seine en H, et prit le nom de Boutavant. La presqu'île retranchée à la gorge et gardée, il était impossible à une armée ennemie de trouver l'assiette d'un campement sur un terrain raviné, couvert de roches énormes. Le val situé entre les deux Andelys, rempli par les eaux abondantes des ruisseaux, commandé par les fortifications des deux bourgs situés à chacune de ses extrémités, dominé par la forteresse, ne pouvait être occupé, non plus que les rampes des coteaux environnants. Ces dispositions générales prises avec autant d'habileté que de promptitude, Richard apporta tous ses soins à la construction de la forteresse principale qui devait commander l'ensemble des défenses. Placée, comme nous l'avons dit, à l'extrémité d'un promontoire dont les escarpements sont très-abrupts, elle n'était accessible que par cette langue de terre qui réunit le plateau extrême à la chaîne crayeuse; toute l'attention de Richard se porta d'abord de ce côté attaquable.

Voici (11) quelle fut la disposition de ses défenses; car il faut dire que le roi anglo-normand présidait lui-même à l'exécution de ce château, dirigeait les ouvriers, hâtait leur travail, et ne les quitta pas que l'oeuvre ne fût achevée conformément à ses projets. En A, en face de la langue de terre qui réunit l'assiette du château à la hauteur voisine, il fit creuser un fossé profond dans le roc vif et bâtit une forte et haute tour dont les parapets atteignaient le niveau du plateau dominant, afin de commander le sommet du coteau. Cette tour fut flanquée de deux autres plus petites B; les courtines A D vont en dévallant et suivent la pente naturelle du rocher; la tour A commandait donc tout l'ouvrage avancé A D D. Un second fossé, également creusé dans le roc, sépare cet ouvrage avancé du corps de la place. L'ennemi ne pouvait songer à se loger dans ce second fossé qui était enfilé et dominé par les quatre tours D D C C. Les deux tours C C commandaient certainement les deux tours D D 40. On observera que l'ouvrage avancé ne communiquait pas avec les dehors, mais seulement avec la basse-cour du château. C'était là une disposition toute normande, que nous retrouvons à la Roche-Guyon. La première enceinte E du château, en arrière de l'ouvrage avancé, et ne communiquant avec lui que par un pont de bois, contenait les écuries, des communs et la chapelle H; c'était la basse-cour. Un puits était creusé en F; sous l'aire de la cour en G sont taillées, dans le roc, de vastes caves, dont le plafond est soutenu par des piliers de réserve, qui prennent jour dans le fossé I du château et qui communiquent, par deux boyaux creusés dans la craie, avec les dehors. En K s'ouvre la porte du château; son seuil est élevé de plus de deux mètres au-dessus de la contrescarpe du fossé L. Cette porte est masquée pour l'ennemi qui se serait emparé de la première porte E, et il ne pouvait venir l'attaquer qu'en prêtant le flanc à la courtine I L et le dos à la tour plantée devant cette porte. De plus, du temps de Richard, un ouvrage posé sur un massif réservé dans le roc, au milieu du fossé, couvrait la porte K, qui était encore fermée par une herse, des vantaux, et protégée par deux réduits ou postes. Le donjon M s'élevait en face de l'entrée K et l'enfilait. Les appartements du commandant étaient disposés du côté de l'escarpement, en N, c'est-à-dire vers la partie du château où l'on pouvait négliger la défense rapprochée et ouvrir des fenêtres. En P est une poterne de secours, bien masquée et protégée par une forte défense O. Cette poterne ne s'ouvre pas directement sur les dehors, mais sur le chemin de ronde R percé d'une seconde poterne en S 41 qui était la seule entrée du château. Du côté du fleuve en T s'étagent des tours et flancs taillés dans le roc et munis de parapets. Une tour V, accolée au rocher, à pic sur ce point, se relie à la muraille X qui barrait le pied de l'escarpement et les rives de la Seine, en se reliant à l'estacade Y destinée à intercepter la navigation. Le grand fossé Z descend jusqu'en bas de l'escarpement et est creusé à main d'homme; il était destiné à empêcher l'ennemi de filer le long de la rivière, en se masquant à la faveur de la saillie du rocher, pour venir rompre la muraille ou mettre le feu à l'estacade. Ce fossé pouvait aussi couvrir une sortie de la garnison vers le fleuve, et était en communication avec les caves G au moyen des souterrains dont nous avons parlé.
Une année avait suffi à Richard pour achever le château Gaillard et toutes les défenses qui s'y rattachaient. «Qu'elle est belle, ma fille d'un an!» s'écria ce prince lorsqu'il vit son entreprise terminée 42. L'examen seul de ce plan fait voir que Richard n'avait nullement suivi les traditions normandes dans la construction du château Gaillard, et l'on ne peut douter que non-seulement les dispositions générales mais aussi les détails de la défense n'aient été ordonnés par ce prince. Cet ouvrage avancé très-important qui s'avance en coin vers la langue de terre rappelle les enceintes extérieures du donjon de la Roche-Guyon; mais le fossé qui sépare cet ouvrage du corps de la place, qui l'isole complétement, les flanquements obtenus par les tours, appartiennent à Richard. Jusqu'alors les flanquements, dans les châteaux des XIe et XIIe siècles, sont faibles, autant que nous pouvons en juger; les constructeurs paraissent s'être préoccupés de défendre leurs enceintes par l'épaisseur énorme des murs, bien plus que par de bons flanquements. Richard, le premier peut-être, avait cherché un système de défense des murailles indépendant de leur force de résistance passive. Avait-il rapporté d'Orient ces connaissances très-avancées pour son temps? C'est ce qu'il nous est difficile de savoir. Était-ce un reste des traditions romaines 43?... Ou bien ce prince avait-il, à la suite d'observations pratiques, trouvé dans son propre génie les idées dont il fit alors une si remarquable application?... C'est dans la dernière enceinte du château Gaillard, celle qui entoure le donjon des trois côtés nord, est et sud, que l'on peut surtout reconnaître la mise en pratique des idées ingénieuses de Richard.
Si nous jetons les yeux sur le plan fig. 11, nous remarquerons la configuration singulière de la dernière enceinte elliptique; c'est une suite de segments de cercle de trois mètres de corde environ, séparés par des portions de courtine d'un mètre seulement.

En plan, chacun de ces segments donne la figure suivante (12), qui présente un flanquement continu très-fort, eu égard aux armes de jet de cette époque, ainsi que l'indiquent les lignes ponctuées. En élévation, cette muraille bossuée, dont la base s'appuie sur le roc taillé à pic, est d'un aspect formidable 44 (voy. 13). Aucune meurtrière n'est ouverte dans la partie inférieure; toute la défense était disposée au sommet 45. Les défenses du donjon ne sont pas moins intéressantes à étudier en ce qu'elles diffèrent de toutes celles adoptées avant Richard (voy. DONJON), et qu'elles sont surtout combinées en vue d'une attaque très-rapprochée. Richard semble avoir cherché, dans la construction des défenses du château Gaillard, à se prémunir contre le travail du mineur; c'est qu'en effet la mine et la sape étaient alors (au XIIe siècle) les moyens les plus généralement employés par des assiégeants pour faire brèche dans les murs d'une place forte, car les engins de jet n'étaient pas assez puissants pour entamer des murailles tant soit peu épaisses. On s'aperçoit que Richard, en vue de ce moyen d'attaque, a voulu flanquer avec soin la base des courtines, ne se fiant pas seulement aux escarpements naturels et à la profondeur des fossés pour arrêter l'assaillant.
Le plan d'une portion de la muraille elliptique (fig. 12), est en cela d'un grand intérêt; son tracé dénote de la part de son auteur un soin, une recherche, une étude et une expérience de l'effet des armes de jet qui ne laissent pas de surprendre. Les portions de cylindre composant cette courtine ne descendent pas verticalement jusqu'à l'escarpe du fossé, mais pénètrent des portions de cônes en se rapprochant de la base, de manière à ce que les angles rentrants compris entre ces cônes et les murs intermédiaires ne puissent masquer un mineur. C'est enfin la ligne tirée dans l'axe des meurtrières latérales A qui a fait poser les points de rencontre B des bases des cônes inférieurs avec le talus du pied de la muraille. De plus, par les meurtrières A on pouvait encore, à cause de la disposition des surfaces courbes, viser un mineur attaché au point tangeant D, ainsi que l'indique la ligne C D. Si les portions de cylindres eussent été descendues verticalement, ou si ces segments eussent été des portions de cône sans surfaces gauches et sans changements de courbes, ainsi qu'il est indiqué en X, fig. 12 (en ne supposant pas les empattements plus forts que ceux donnés au rempart du château Gaillard, afin de ne pas faciliter l'escalade), les triangles P eussent été à l'abri des traits tirés dans l'axe des meurtrières latérales A.

Par ces pénétrations très-subtiles de cylindres et de cônes, visibles dans la fig. 13, Richard découvrit tous les points de la base de la courtine à flanquement continu, ce qui était fort important dans un temps où l'attaque et la défense des places fortes ne devenaient sérieuses que lorsqu'elles étaient très-rapprochées. Aujourd'hui, tous les ingénieurs militaires nous diront que le tracé d'un bastion, ses profils bien ou mal calculés, peuvent avoir une influence considérable sur la conservation plus ou moins longue d'une place attaquée. Ces soins minutieux apportés par Richard dans le tracé de la dernière défense du château Gaillard, défense qui n'était prévue qu'en cas d'une attaque à pied-d'oeuvre par la sape et la mine, nous indiquent assez le génie particulier de cet homme de guerre, sachant calculer, prévoir, attachant une importance considérable aux détails les moins importants en apparence, et possédant ainsi ce qui fait les grands hommes, savoir: la justesse du coup d'oeil dans les conceptions d'ensemble et le soin, la recherche même, dans l'exécution des détails.
Dans tous ces ouvrages, on ne rencontre aucune sculpture, aucune moulure; tout a été sacrifié à la défense; la maçonnerie est bien faite, composée d'un blocage de silex reliés par un excellent mortier revêtu d'un parement de petit appareil exécuté avec soin et présentant sur quelques points des assises alternées de pierres blanches et rousses.
Tant que vécut Richard, Philippe-Auguste, malgré sa réputation bien acquise de grand preneur de forteresses, n'osa tenter de faire le siége du château Gaillard; mais après la mort de ce prince, et lorsque la Normandie fut tombée aux mains de Jean sans Terre, le roi français résolut de s'emparer de ce point militaire qui lui ouvrait les portes de Rouen. Le siége de cette place, raconté jusque dans les plus menus détails par le chapelain du roi Guillaume le Breton, témoin oculaire, fut un des plus grands faits militaires du règne de ce prince; et si Richard avait montré un talent remarquable dans les dispositions générales et dans les détails de la défense de cette place, Philippe-Auguste conduisit son entreprise en homme de guerre consommé.
Le triste Jean sans Terre ne sut pas profiter des dispositions stratégiques de son prédécesseur. Philippe-Auguste, en descendant la Seine, trouve la presqu'île de Bernières inoccupée; les troupes normandes, trop peu nombreuses pour la défendre, se jettent dans le châtelet de l'île et dans le petit Andely, après avoir rompu le pont de bois qui mettait les deux rives du fleuve en communication. Le roi français commence par établir son campement dans la presqu'île, en face du château, appuyant sa gauche au village de Bernières et sa droite à Toëni (voy. fig. 10), en réunissant ces deux postes par une ligne de circonvallation dont on aperçoit encore aujourd'hui la trace K L. Afin de pouvoir faire arriver la flottille destinée à l'approvisionnement du camp, Philippe fait rompre par d'habiles nageurs l'estacade qui barre le fleuve, et cela sous une grêle de projectiles lancés par l'ennemi 46.
«Aussitôt après, dit Guillaume le Breton, le roi ordonne d'amener de larges navires, tels que nous en voyons voguer sur le cours de la Seine, et qui transportent ordinairement les quadrupèdes et les chariots le long du fleuve. Le roi les fit enfoncer dans le milieu du fleuve, en les couchant sur le flanc, et les posant immédiatement l'un à la suite de l'autre, un peu au-dessous des remparts du château; et, afin que le courant rapide des eaux ne pût les entraîner, on les arrêta à l'aide de pieux enfoncés en terre et unis par des cordes et des crochets. Les pieux ainsi dressés, le roi fit établir un pont sur des poutres soigneusement travaillées,» afin de pouvoir passer sur la rive droite... «Puis il fit élever sur quatre navires deux tours, construites avec des troncs d'arbres et de fortes pièces de chêne vert, liés ensemble par du fer et des chaînes bien tendues, pour en faire en même temps un point de défense pour le pont et un moyen d'attaque contre le châtelet. Puis les travaux, dirigés avec habileté sur ces navires, élevèrent les deux tours à une si grande hauteur, que de leur sommet les chevaliers pouvaient faire plonger leurs traits sur les murailles ennemies» (celles du châtelet situé au milieu de l'île).
Cependant Jean sans Terre tenta de secourir la place: il envoya un corps d'armée composé de trois cents chevaliers et trois mille hommes à cheval, soutenus par quatre mille piétons et la bande du fameux Lupicar 47.
Cette troupe se jeta la nuit sur les circonvallations de Philippe-Auguste, mit en déroute les ribauds, et eût certainement jeté dans le fleuve le camp des Français s'ils n'eussent été protégés par le retranchement et si quelques chevaliers, faisant allumer partout de grands feux, n'eussent rallié un corps d'élite qui, reprenant l'offensive, rejeta l'ennemi en dehors des lignes. Une flottille normande qui devait opérer simultanément contre les Français arriva trop tard; elle ne put détruire les deux grands beffrois de bois élevés au milieu de la Seine, et fut obligée de se retirer avec de grandes pertes.
«Un certain Galbert, très-habile nageur, continue Guillaume le Breton, ayant rempli des vases avec des charbons ardents, les ferma et les frotta de bitume à l'extérieur avec une telle adresse, qu'il devenait impossible à l'eau de les pénétrer. Alors il attache autour de son corps la corde qui suspendait ces vases, et plongeant sous l'eau, sans être vu de personne, il va secrètement aborder aux palissades élevées en bois et en chêne, qui enveloppaient d'une double enceinte les murailles du châtelet. Puis, sortant de l'eau, il va mettre le feu aux palissades, vers le côté de la roche Gaillard qui fait face au château, et qui n'était défendu par personne, les ennemis n'ayant nullement craint une attaque sur ce point... Tout aussitôt le feu s'attache aux pièces de bois qui forment les retranchements et aux murailles qui enveloppent l'intérieur du chatelet.» La petite garnison de ce poste ne pouvant combattre les progrès de l'incendie, activée par un vent d'est violent, dut se retirer comme elle put sur des bateaux. Après ces désastres, les habitants du petit Andely n'osèrent tenir, et Philippe-Auguste s'empara en même temps et du châtelet et du bourg dont il fit réparer les défenses pendant qu'il rétablissait le pont. Ayant mis une troupe d'élite dans ces postes, il alla assiéger le château de Radepont, pour que ses fourrageurs ne fussent pas inquiétés par sa garnison, s'en empara au bout d'un mois et revint au château Gaillard. Mais laissons encore parler Guillaume le Breton, car les détails qu'il nous donne des préparatifs de ce siége mémorable sont du plus grand intérêt.
«La roche Gaillard cependant n'avait point à redouter d'être prise à la suite d'un siége, tant à cause de ses remparts, que parce qu'elle est environnée de toutes parts de vallons, de rochers taillés à pic, de collines dont les pentes sont rapides et couvertes de pierres, en sorte que, quand même elle n'aurait aucune autre espèce de fortification, sa position naturelle suffirait seule pour la défendre. Les habitants du «voisinage s'étaient donc réfugiés en ce lieu, avec tous leurs effets, afin d'être plus en sûreté. Le roi, voyant bien que toutes les machines de guerre et tous les assauts ne pourraient le mettre en état de renverser d'une manière quelconque les murailles bâties sur le sommet du rocher, appliqua toute la force de son esprit à chercher d'autres artifices pour parvenir, à quelque prix que ce fût, et quelque peine qu'il dût lui en coûter, à s'emparer de ce nid dont toute la Normandie est si fière.
«Alors donc le roi donne l'ordre de creuser en terre un double fossé sur les pentes des collines et à travers les vallons (une ligne de contrevallation et de circonvallation), de telle sorte que toute l'enceinte de son camp soit comme enveloppée d'une barrière qui ne puisse être franchie, faisant, à l'aide de plus grands travaux, conduire ces fossés depuis le fleuve jusqu'au sommet de la montagne, qui s'élève vers les cieux, comme en mépris des remparts abaissés sous elle 48, et plaçant ces fossés à une assez grande distance des murailles (du château) pour qu'une flèche, lancée vigoureusement d'une double arbalète, ne puisse y atteindre qu'avec peine. Puis, entre ces deux fossés, le roi fait élever une tour de bois et quatorze autres ouvrages du même genre, tous tellement bien construits et d'une telle beauté, que chacun d'eux pouvait servir d'ornement à une ville, et dispersés en outre de telle sorte, qu'autant il y a de pieds de distance entre la première et la seconde tour, autant on en retrouve encore de la seconde à la troisième... Après avoir garni toutes ces tours de serviteurs et de nombreux chevaliers, le roi fait en outre occuper tous les espaces vides par ses troupes, et, sur toute la circonférence, disposant les sentinelles de telle sorte qu'elles veillent toujours, en alternant d'une station à l'autre; ceux qui se trouvaient ainsi en dehors s'appliquèrent alors, selon l'usage des camps, à se construire des cabanes avec des branches d'arbre et de la paille sèche, afin de se mettre à l'abri de la pluie, des frimas et du froid, puisqu'ils devaient demeurer longtemps en ces lieux. Et, comme il n'y avait qu'un seul point par où l'on pût arriver vers les murailles (du château), en suivant un sentier tracé obliquement et qui formait diverses sinuosités 49, le roi voulut qu'une double garde veillât nuit et jour et avec le plus grand soin à la défense de ce point, afin que nul ne pût pénétrer du dehors dans le camp, et que personne n'osât faire «ouvrir les portes du château ou en sortir, sans être aussitôt ou frappé de mort, ou fait prisonnier...»
Pendant tout l'hiver de 1203 à 1204, l'armée française resta dans ses lignes. Roger de Lascy, qui commandait dans le château pour Jean sans Terre, fut obligé, afin de ménager ses vitres, de chasser les habitants du petit Andely qui s'étaient mis sous sa protection derrière les remparts de la forteresse. Ces malheureux, repoussés à la fois par les assiégés et les assiégeants, moururent de faim et de misère dans les fossés, au nombre de douze cents.
Au mois de février 1204, Philippe-Auguste, qui sait que la garnison du château Gaillard conserve encore pour un an de vivres, «impatient en son coeur,» se décide à entreprendre un siége en règle. Il réunit la plus grande partie de ses forces sur le plateau dominant, marqué R sur notre fig. 10. De là il fait faire une chaussée pour aplanir le sol jusqu'au fossé en avant de la tour A (fig. 11) 50. «Voici donc, du sommet de la montagne, jusqu'au fond de la vallée, et au bord des premiers fossés, la terre est enlevée à l'aide de petits hoyaux, et reçoit l'ordre de se défaire, de ses aspérités rocailleuses, afin que l'on puisse descendre du haut jusqu'en bas. Aussitôt un chemin, suffisamment large et promptement tracé à force de coups de hache, se forme à l'aide de poutres posées les unes à côté des autres et soutenues des deux côtés par de nombreux poteaux en chêne plantés en terre pour faire une palissade. Le long de ce chemin, les hommes, marchant en sûreté, transportent des pierres, des branches, des troncs d'arbres, de lourdes mottes de terre garnies d'un gazon verdoyant, et les rassemblent en monceaux, pour travailler à combler le fossé... (14) 51...

Bientôt s'élèvent sur divers points (résultat que nul n'eût osé espérer) de nombreux pierriers et des mangonneaux, dont les bois ont été en peu de temps coupés et dressés, et qui lancent contre les murailles des pierres et des quartiers de rocs roulant dans les airs. Et afin que les dards, les traits et les flèches, lancés avec force du haut de ces murailles, ne viennent pas blesser sans «cesse les ouvriers et manoeuvres qui, transportant des projectiles, sont exposés à l'atteinte de ceux des ennemis, ont construit entre ceux-ci et «les remparts une palissade de moyenne hauteur, formée de claies et de pieux, unis par l'osier flexible, afin que cette palissade, protégeant les travailleurs, reçoive les premiers coups et repousse les traits trompés dans leur direction. D'un autre côté, on fabrique des tours, que l'on nomme aussi beffrois, à l'aide de beaucoup d'arbres et de chênes tout verts que la doloire n'a point travaillés et dont la hache seule a grossièrement enlevé les branchages; et ces tours, construites avec les plus grands efforts, s'élèvent dans les airs à une telle hauteur, que la muraille opposée s'afflige de se trouver fort au-dessous d'elles...
«À l'extrémité de la Roche et dans la direction de l'est (sud-est), était une tour élevée (la tour A, fig. 11), flanquée des deux côtés par un mur qui se terminait par un angle saillant au point de sa jonction. Cette muraille se prolongeait sur une double ligne depuis le plus grand des ouvrages avancés (la tour A) et enveloppait les deux flancs de l'ouvrage le moins élevé 52. Or voici par quel coup de vigueur nos gens parvinrent à se rendre d'abord maîtres de cette tour (A). Lorsqu'ils virent le fossé à peu près comblé, ils y établirent leurs échelles et y descendirent promptement. Impatients de tout retard, ils transportèrent alors leurs échelles vers l'autre bord du fossé, au-dessus duquel se trouvait la tour fondée sur le roc. Mais nulle échelle, quoiqu'elles fussent assez longues, ne se trouva suffisante pour atteindre au pied de la muraille, non plus qu'au sommet du rocher, d'où partait le pied de la tour. Remplis d'audace, nos gens se mirent à percer alors dans le roc, avec leurs poignards ou leurs épées, pour y faire des trous où ils pussent poser leurs pieds et leurs mains, et, se glissant ainsi le long des aspérités du rocher, ils se trouvèrent tout à coup arrivés au point où commençaient les fondations de la tour 53. Là, tendant les mains à ceux de leurs compagnons qui se traînaient sur leurs traces, ils les appellent à participer à leur entreprise; et, employant des moyens qui leur sont connus, ils travaillent alors à miner les flancs et les fondations de la tour, se couvrant toujours de leurs boucliers, de peur que les traits lancés sur eux sans relâche ne les forcent à reculer, et se mettant ainsi à l'abri jusqu'à ce qu'il leur soit possible de se cacher dans les entrailles mêmes de la muraille, après avoir creusé au-dessous. Alors ils remplissent ces creux de troncs d'arbres, de peur que cette partie du mur, ainsi suspendue en l'air, ne croule sur eux et ne leur fasse beaucoup de mal en s'affaissant; puis aussitôt qu'ils ont agrandi cette ouverture, ils mettent le feu aux arbres et se retirent en un lieu de sûreté.» Les étançons brûlés, la tour s'écroule en partie. Roger, désespérant alors de s'opposer à l'assaut, fait mettre le feu à l'ouvrage avancé et se retire dans la seconde enceinte. Les Français se précipitent sur les débris fumants de la brèche, et un certain Cadoc, chevalier, plante le premier sa bannière au sommet de la tour à demi renversée. Le petit escalier de cette tour, visible dans notre plan, date de la construction première; il avait dû, à cause de sa position enclavée, rester debout. C'est probablement par là que Cadoc put atteindre le parapet resté debout.
Mais les Normands s'étaient retirés dans le château séparé de l'ouvrage avancé par un profond et large fossé. Il fallait entreprendre un nouveau siége. «Jean avait fait construire l'année précédente une certaine maison, contiguë à la muraille et placée du côté droit du château, en face du midi 54. La partie inférieure de cette maison était destinée à un service qui veut toujours être fait dans le mystère du cabinet 55, et la partie supérieure, servant de chapelle, était consacrée à la célébration de la messe: là il n'y avait point de porte au dehors, mais en dedans (donnant sur la cour) il y en avait une par où l'on arrivait à l'étage supérieur, et une autre qui conduisait à l'étage inférieur. Dans cette dernière partie de la maison était une fenêtre prenant jour sur la campagne et destinée à éclairer les latrines.» Un certain Bogis, ayant avisé cette fenêtre, se glissa le long du fond du fossé, accompagné de quelques braves compagnons, et s'aidant mutuellement, tous parvinrent à pénétrer par cette fenêtre dans le cabinet situé au rez-de-chaussée. Réunis dans cet étroit espace, ils brisent les portes, l'alarme se répand parmi la garnison occupant la basse-cour, et croyant qu'une troupe nombreuse envahit le bâtiment de la chapelle, les défenseurs accumulent des fascines et y mettent le feu pour arrêter l'assaillant; mais la flamme se répand dans la seconde enceinte du château, Bogis et ses compagnons passent à travers le logis incendié et vont se réfugier dans les grottes marquées G sur notre plan (fig. 11). Roger de Lascy et les défenseurs, réduits au nombre de cent quatre-vingt, sont obligés de se réfugier dans la dernière enceinte, chassés par le feu. «À peine cependant la fumée a-t-elle un peu diminué, que Bogis sortant de sa retraite, et courant à travers les charbons ardents, aidé de ses compagnons, coupe les cordes et abat, en le faisant rouler sur son axe, le pont mobile qui était encore relevé 56, afin d'ouvrir un chemin aux Français pour sortir par la porte. Les Français donc s'avancent en hâte et se préparent à assaillir la haute citadelle dans laquelle l'ennemi venait de se retirer en fuyant devant Bogis.
«Au pied du rocher par lequel on arrivait à cette citadelle était un pont taillé dans le roc vif 57, que Richard avait fait ainsi couper autrefois, en même temps qu'il fit creuser les fossés. Ayant fait glisser une machine sur ce pont 58, les nôtres vont, sous sa protection, creuser au pied de la muraille. De son côté, l'ennemi travaille aussi à pratiquer une contre-mine, et ayant fait une ouverture, il lance des traits contre nos mineurs et les force ainsi à se retirer 59. Les assiégés cependant n'avaient pas tellement entaillé leur muraille qu'elle fût menacée d'une chute; mais bientôt une catapulte lance contre elle d'énormes blocs de pierre. Ne pouvant résister à ce choc, la muraille se fend de toute parts, et, crevant par le milieu, une partie du mur s'écroule...» Les Français s'emparent de la brèche, et la garnison, trop peu nombreuse désormais pour défendre la dernière enceinte, enveloppée, n'a même pas le temps de se réfugier dans le donjon et de s'y enfermer. C'était le 6 mars 1204. C'est ainsi que Philippe-Auguste s'empara de ce château, que ses contemporains regardaient comme imprenable.
Si nous avons donné à peu près en entier la description de ce siége mémorable écrit par Guillaume le Breton, c'est qu'elle met en évidence un fait curieux dans l'histoire de la fortification des châteaux. Le château Gaillard, malgré sa situation, malgré l'habileté déployée par Richard dans les détails de la défense, est trop resserré; les obstacles accumulés sur un petit espace devaient nuire aux défenseurs en les empêchant de se porter en masse sur le point attaqué. Richard avait abusé des retranchements, des fossés intérieurs; les ouvrages amoncelés les uns sur les autres servaient d'abri aux assaillants, qui s'en emparaient successivement; il n'était plus possible de les déloger; en se massant derrière ces défenses acquises, ils pouvaient s'élancer en force sur les points encore inattaqués, trop étroits pour être garnis de nombreux soldats. Contre une surprise, contre une attaque brusque tentée par un corps d'armée peu nombreux, le château Gaillard était excellent; mais contre un siége en règle dirigé par un général habile et soutenu par une armée considérable et bien munie d'engins, ayant du temps pour prendre ses dispositions et des hommes en grand nombre pour les mettre à exécution sans relâche, il devait tomber promptement du moment que la première défense était forcée; c'est ce qui arriva. Il ne faut pas moins reconnaître que le château Gaillard n'était que la citadelle d'un vaste ensemble de fortifications étudié et tracé de main de maître, que Philippe-Auguste, armé de toute sa puissance, avait dû employer huit mois pour le réduire, et qu'enfin Jean sans Terre n'avait fait qu'une tentative pour le secourir. Du vivant de Richard, l'armée française, harcelée du dehors, n'eût pas eu le loisir de disposer ses attaques avec cette méthode; elle n'aurait pu conquérir cette forteresse importante, le boulevard de la Normandie, qu'au prix de bien plus grands sacrifices, et peut-être eût-elle été obligée de lever le siége du château Gaillard avant d'avoir pu entamer ses ouvrages extérieurs. Dès que Philippe se fut emparé de ce point stratégique si bien choisi par Richard, Jean sans Terre ne songea plus qu'à évacuer la Normandie, ce qu'il fit peu de temps après, sans même tenter de garder les autres forteresses qui lui restaient encore en grand nombre dans sa province, tant l'effet moral produit par la prise du château Gaillard fut décisif 60.
Nous avons dû nous occuper des châteaux normands des XIe et XIIe siècles de préférence à tous ceux qui furent élevés pendant cette période dans les autres provinces de la France, parce que ces châteaux ont un caractère particulier, qu'ils diffèrent en beaucoup de points des premières forteresse du moyen âge bâties pendant le même temps sur le sol français, et surtout parce qu'ils nous semblent avoir fait faire un pas considérable à l'art de la fortification.

Au XIIIe siècle, les châteaux français semblent avoir profité des dispositions de détails prises par les Normands dans leurs châteaux, mais en conservant cependant quelque chose des traditions mérovingiennes et carlovingiennes. Nous en trouvons un exemple remarquable dans le château de Montargis, dont la construction remontait au XIIIe siècle et dont nous donnons le plan (15). Bâti en plaine, il commandait la route de Paris à Orléans qui passait sous les portes défendues A et B. Des fossés S enveloppaient les défenses extérieures. La route était battue de flanc par un front flanqué de tours et communiquait au château par une porte C (VOY. PORTE). Une autre porte D, passant à travers une grosse tour isolée (suivant une méthode qui appartient à la Loire, et que nous voyons surtout pratiquée au XIVe siècle dans la basse Loire et la Bretagne par le connétable Olivier de Clisson), était d'un accès très-difficile. Quant aux dispositions intérieures du château, elles sont d'un grand intérêt et indiquent nettement les moyens défensifs des garnisons des châteaux français. Les tours sont très-saillantes sur les courtines, afin de les bien flanquer; au nord, point saillant, et faible par conséquent, était élevé un gros ouvrage présentant deux murs épais élevés l'un derrière l'autre, éperonnés par un mur de refend flanqué de deux tours d'un diamètre plus fort que les autres. En G était la grand'salle, à deux étages, dans laquelle toute la garnison pouvait être réunie pour recevoir des ordres, et de là se répandre promptement sur tous les points de l'enceinte par un escalier à trois rampes I. La réunion de cet escalier à la grand'salle pouvait être coupée, et la grand'salle servir de retrait si l'enceinte était forcée. La grand'salle est un des traits caractéristiques du château français, ainsi que nous l'avons dit au commencement de cet article. Dans le château normand, la grand'salle est située dans le donjon, ou plutôt le donjon n'est que la grand'salle devenue défense principale. Dans le château français du XIIIe siècle, la grand'salle se distingue du donjon; c'est le lieu de réunion des hommes d'armes du seigneur franc; il y a là un dernier souvenir des moeurs du chef germain et de ses compagnons.
Le gros donjon F est au centre de la cour, comme dans le château primitif du moyen âge (fig. 1); il est à plusieurs étages, avec une cour circulaire au centre; il était mis en communication avec la grand'salle, au premier étage, au moyen d'une galerie K, pouvant être de même coupée à son extrémité. Ce donjon commandait toute l'enceinte et ses bâtiments; mais, n'ayant pas de sortie sur les dehors comme le donjon normand, il n'offrait pas les mêmes avantages pour la défense, la garnison était casernée dans les bâtiments L du côté où l'enceinte était le plus accessible. En O étaient les écuries, la boulangerie, les magasins; en H la chapelle, et en N un poste à proximité de l'entrée D. Les petits bâtiments qui entouraient le donjon étaient d'une date postérieure à sa construction. La poterne E donnait accès dans de vastes jardins entourés eux-mêmes d'une enceinte 61.
En France et en Normandie, dès l'époque carlovingienne, les enceintes des châteaux étaient flanquées de tours. Mais sur les bords du Rhin et les provinces voisines de la Germanie, il ne paraît pas que ce moyen de défense ait été usité avant le XIIIe siècle, ce qui ferait supposer que les tours flanquantes étaient une tradition gallo-romaine.
«Les monuments féodaux du Xe siècle jusqu'aux croisades, dit M. de Krieg 62, ont, sur les deux rives du Rhin, leur type commun. On y trouve d'abord la tour carrée (rarement cylindrique) qui est ou assise sur des soubassements romains, ou copiée religieusement d'après ces modèles, avec leur socle, leur porte d'entrée au-dessus du sol et leur plate-forme. Ces tours ont pris le nom allemand de berch frid, en latin berefredus, en français beffroi... Les enceintes de ces plus anciens châteaux manquent absolument de flanquement extérieur. Elles sont surmontées d'une couronne de merlons...»
Nous irons plus loin que M. de Krieg, et nous dirons même que les tours employées comme moyen de flanquement des enceintes ne se rencontrent que très-rarement dans les châteaux des bords du Rhin et des Vosges avant le XVe siècle. Le château de Saint-Ulrich, la partie ancienne du château de Hohenkoenigsbourg, le château de Koenigsheim, celui de Spesbourg, bien que bâtis pendant les XIIIe et XIVe siècles, sont totalement dépourvus de tours flanquantes 63. Ce sont des bâtiments formant des angles saillants, des figures géométriques rectilignes à l'extérieur et venant se grouper autour du donjon ou beffroi. La plupart de ces châteaux, élevés sur des points inaccessibles, prennent toute leur force dans la situation de leur assiette et ne sont que médiocrement défendus. Le donjon surmontant les bâtiments permettait de découvrir au loin la présence d'un ennemi, et la garnison, prévenue, pouvait facilement empêcher l'escalade de rampes abruptes, barrer les sentiers et arrêter un corps d'armée nombreux loin du château, sans même être obligée de se renfermer derrière ses murs.
Cependant des situations analogues n'empêchaient pas les seigneurs français de munir de tours les flancs et angles saillants de leurs châteaux pendant les XIIe, XIIIe et XIVe siècles.
Il se fit, dans la construction des châteaux, au XIIIe siècle, une révolution notable. Jusqu'alors ces résidences ne consistaient, comme nous l'avons vu, que dans des enceintes plus ou moins étendues, simples ou doubles, au milieu desquelles s'élevaient le donjon qui servait de demeure seigneuriale et la salle quelquefois comprise dans le donjon même. Les autres bâtiments n'étaient que des appentis en bois séparés les uns des autres, ayant plutôt l'apparence d'un cantonnement que d'une résidence fixe. La chapelle, les réfectoires, cuisines, magasins et écuries étaient placés dans l'intérieur de l'enceinte et ne se reliaient en aucune façon aux fortifications. Nous avons vu que, dans le plan du château de Montargis (fig. 15), déjà les bâtiments de service sont attenants aux murailles, qu'ils sont bâtis dans un certain ordre et que ce sont des logis fixes. Il semblerait qu'au XIIIe siècle les habitudes des seigneurs et de leurs gens, plus civilisés, demandaient des dispositions moins barbares que celles acceptées jusqu'alors. Nous voyons combien les logis fixes ont peu d'importance encore dans le château Gaillard, résidence souveraine élevée à la fin du XIIe siècle. On a peine à comprendre comment une garnison de quelques centaines d'hommes pouvait vivre dans cet étroit espace, presque exclusivement occupé par les défenses. Les soldats devaient coucher pêle-mêle dans les tours et sous quelques appentis adossés aux murailles.
En Angleterre, où les documents écrits abondent sur les habitations seigneuriales anciennes, on trouve les preuves de cette révolution apportée par le XIIIe siècle. À cette époque, les résidences royales fortifiées reçoivent de nombreuses adjonctions en bâtiments élevés avec un certain luxe, les châteaux des barons prennent un caractère plus domestique; souvent même le donjon, ainsi que le dit M. Parker dans son Architecture domestique 64, fut abandonné pour une salle et des chambres construites dans l'enceinte intérieure. C'est à cause de ce changement que, dans presque toutes les descriptions de châteaux bâtis du temps de Henri III et d'Edward Ier, les grandes tours ou donjons sont représentés comme étant dans un état délabré et généralement sans couvertures. Ils avaient été abandonnés, comme habitation, à cause de leur peu de commodité, bien que par la force de leur construction ils pussent encore, moyennant quelques réparations, être employés en temps de guerre. Les ordres de restaurations aux «maisons royales» dans divers châteaux sont très-nombreux pendant le XIIIe siècle. Ces ordres ne s'appliquent pas aux châteaux d'Edward (Edwardian castles), édifices généralement bâtis par Edward Ier, et dans lesquels de nombreux appartements destinés à différents usages étaient disposés suivant un plan général, mais bien aux châteaux de date normande, qui dès lors prirent un caractère d'habitation par des constructions plus récentes. Les ordres donnés par Henri III pour les réparations et additions aux manoirs royaux prouvent qu'aucun plan systématique n'était adopté lorsqu'il s'agissait de ces adjonctions. Lorsqu'une grande surface de terrain était entourée d'une clôture fortifiée et formait ce que l'on appelait une cour (curia), dans laquelle le logis primitif était insuffisant, il devint assez ordinaire, au XIIIe siècle, d'augmenter ce logement, selon les besoins, en élevant successivement de nouvelles constructions, telles que chambres, chapelles, cuisines, qui d'abord furent semées çà et là sur la surface de l'enclos. Lorsqu'un certain nombre de ces bâtiments avaient ainsi été appropriés ou créés, on les réunissait successivement par des passages couverts (aleia) construits en bois, quelquefois en façon de portiques ouverts, mais plus souvent fermés sur les côtés. Ces bâtiments étaient jetés au milieu des enceintes, laissant les défenses libres, comme le serait un bourg ou village enclos de murs. Au XIIIe siècle, les services se relient davantage à l'enceinte même, que les bâtiments intérieurs contribuent à renforcer; c'est seulement alors qu'apparaît le château sous le rapport architectonique, les établissements antérieurs n'étant que des défenses plus ou moins fortes et étendues enveloppant des habitations et des bâtiments de service de toute nature et de dimensions fort diverses sans aucune idée d'ensemble. Le XIIIe siècle vit élever de magnifiques châteaux qui joignaient à leurs qualités de forteresses celles de résidences magnifiques abondamment pourvues de leurs services et de tout ce qui est nécessaire à la vie d'un seigneur vivant au milieu de son domaine entouré d'une petite cour et d'une garnison.
À partir de saint Louis, la féodalité décroît; elle est absorbée par la royauté d'une part, et entamée par le peuple de l'autre; les édifices qu'elle élève se ressentent naturellement de cette situation politique; ils se dressent sur le sol lorsqu'elle reprend de l'influence; ils sont plus rares ou plus pauvres lorsque le pouvoir royal et l'organisation nationale prennent de la force et se constituent. À la mort de Philippe-Auguste, en 1223, la féodalité, qui avait aidé ce prince à réunir à la couronne les plus belles provinces de France, se trouvait riche et puissante; à l'exemple du roi, quelques grands vassaux avaient absorbé nombre de fiefs, soit par des alliances, soit comme prix de leurs services, soit par suite de la ruine des nobles qui avaient tout perdu pendant les croisades du XIIe siècle. Pendant les premières années de la minorité de saint Louis, il s'était formé, comme chacun sait, une ligue formidable contre la couronne de France gardée par une femme encore jeune et dont on ne soupçonnait pas les grandes qualités politiques. Parmi les vassaux de la couronne de France coalisés contre le roi enfant, un des plus puissants était Enguerrand III, sire de Coucy, seigneur de Saint-Gobain, d'Assis, de Marle, de la Fère, de Folembray, etc. Son esprit indomptable, son caractère indépendant étaient excités par d'immenses richesses; un instant ce vassal pensa pouvoir mettre la main sur la couronne de France; mais ses sourdes menées et ses projets ambitieux furent déjoués par la politique adroite de la reine Blanche, qui sut enlever à la coalition féodale un de ses plus puissants appuis, le comte de Champagne. Le sire de Coucy fut bientôt obligé de prêter serment de fidélité entre les mains du roi, qui ne voulut pas se souvenir de ses projets. C'est à l'époque des rêves ambitieux d'Enguerrand III qu'il faut faire remonter la construction du château magnifique dont nous voyons encore les ruines gigantesques. Le château de Coucy dut être élevé très-rapidement, ainsi que l'enceinte de la ville qui l'avoisine, de 1225 à 1230. Le caractère de la sculpture, les profils, ainsi que la construction, ne permettent pas de lui assigner une époque plus ancienne ni plus récente 65.
Le château de Coucy n'est plus une enceinte flanquée enveloppant des bâtiments disposés au hasard; c'est un édifice vaste, conçu d'ensemble et élevé d'un seul jet, sous une volonté puissante et au moyen de ressources immenses. Son assiette est admirablement choisie et ses défenses disposées avec un art dont la description ne donne qu'une faible idée 66.
Bâti à l'extrémité d'un plateau de forme très-irrégulière, le château de Coucy domine des escarpements assez roides qui s'élèvent de cinquante mètres environ au-dessus d'une riche vallée, terminée au nord-ouest par la ville de Noyon et au nord-nord-est par celle de Chauny; il couvre une surface de dix mille mètres environ. Entre la ville et le château est une vaste basse-cour fortifiée, dont la surface est triple au moins de celle occupée par le château. Cette basse-cour renfermait des salles assez étendues dont il reste des amorces visibles encore aujourd'hui, enrichies de colonnes et chapiteaux sculptés, avec voûtes d'arêtes, des écuries et une chapelle orientée tracée en A sur notre plan du rez-de-chaussée (16).

Cette chapelle était évidemment d'une époque antérieure aux constructions d'Enguerrand III. On ne communiquait de la ville à la basse-cour ou esplanade que par une porte donnant sur la ville et défendue contre elle 67 par deux petites tours. La basse-cour était protégée par le donjon B qui domine tout son périmètre et ses remparts flanqués par les deux tours du château C D. Un fossé de vingt mètres de largeur sépare le château de la basse-cour. Un seul pont jeté en E sur ce fossé donnait entrée dans le château; il était composé de piles isolées avec deux tabliers à bascule en bois, défendus par deux portes avancées E' E'' et deux corps de garde F F' posés sur des piles de manière à laisser libre le fond du fossé. La porte en G est munie de doubles herses et de vantaux. Cette porte s'ouvre sur un long passage voûté qu'il était facile de défendre et qui devait être muni de machicoulis. Des deux côtés du couloir sont disposées des salles de gardes H voûtées et pouvant contenir des postes nombreux. Au-dessus s'élevait un logis à plusieurs étages dominant la porte et se reliant à la courtine I. Du couloir d'entrée on débouchait dans la cour K du château entourée de bâtiments appuyés sur les courtines. En L se trouvaient des bâtiments de service voûtés à rez-de-chaussée et surmontés de deux étages; en M les appartements d'habitation à trois étages du côté où le château est le moins accessible du dehors et desservis par le grand escalier M'; en N de vastes magasins voûtés à rez-de-chaussée (celliers) avec caves au-dessous fermées en berceau ogival. Les magasins N, au premier étage, portaient la grand'salle éclairée sur les dehors. En O, les soubassements de la chapelle qui, au premier étage, se trouvait de plain-pied avec la grand'salle. Les cuisines étaient très-probablement placées en P, avec escalier particulier P' communiquant aux caves; elles possédaient une cour particulière en R à laquelle on arrivait sous la chapelle dont le rez-de-chaussée reste à jour. Les tours C, D, S, T possèdent deux étages de caves et trois étages de salles au-dessus du sol, sans compter l'étage des combles. Elles sont, comme on le remarquera, très-saillantes sur les courtines, de manière à les bien flanquer. Ces tours, qui n'ont pas moins de dix-huit mètres de diamètre hors oeuvre sur trente-cinq mètres de hauteur environ au-dessus du sol extérieur, ne sont rien auprès du donjon qui porte trente-un mètres de diamètre hors oeuvre sur soixante-quatre mètres depuis le fond du fossé jusqu'au couronnement. Outre son fossé, ce donjon possède une enceinte circulaire extérieure ou chemise qui le protége contre les dehors du côté de la basse-cour. On montait du sol de la cour au chemin de ronde de la chemise par la rampe V, près l'entrée du donjon. On communiquait des salles P, au moyen d'un escalier, au fond du fossé de la chemise, avec les dehors par une poterne percée en X, munie de vantaux, de machicoulis et de herses, correspondant à une seconde poterne Y avec pont-levis donnant sur l'escarpement et masquée par la tour C. Un chemin de ronde inférieur X' voûté en demi-berceau percé au niveau du fond du fossé suit la circonférence de la courtine, et était évidemment destiné à arrêter les travaux des mineurs, comme nos galeries de contre-mine permanentes ménagées sous les revêtements des courtines et bastions. Dans ce souterrain en X'' se trouve une source excellente à fleur de terre, à l'usage de la cuisine. En W sont des latrines prises aux dépens de l'épaisseur du mur de la chemise, pour les gardes de cette enceinte et les gens de cuisine. En Z était une cage avec escalier de bois pouvant être détruit facilement, qui mettait le souterrain intérieur en communication avec le chemin de ronde supérieur. Le petit escalier Q donnant dans la salle P desservait la herse et le machicoulis de la poterne X. Le souterrain inférieur X' se trouvait encore en communication avec l'escalier U desservant les ouvrages supérieurs de la porte. Si l'assiégeant s'était emparé de la poterne X (ce qui était difficile, puisqu'il fallait franchir la première porte Y et son pont-levis, traverser le chemin Y X sous les projectiles lancés de la partie supérieure de la chemise et du crénelage ouvert sur le mur J, forcer deux vantaux et affronter un machicoulis), il se trouvait en face la herse donnant sur le fond du fossé de la chemise, ayant à sa gauche la porte ferrée qui fermait le bas de l'escalier de la cuisine, et arrêté dans la galerie inférieure X' par la source X'' qui est un véritable puits dans un souterrain obscur. S'il forçait la herse, il pénétrait dans le fond du fossé intérieur V', lequel est dallé et sans communication avec le sol de la cour; battu par les défenses supérieures du donjon qui lui envoyaient des projectiles d'une hauteur de 60 mètres et par le chemin de ronde de la courtine, il était perdu, d'autant plus que les hommes occupant ce chemin de ronde pouvaient descendre par l'escalier Z, passer dans le souterrain X', traverser la source sur une planche, et lui couper la retraite en reprenant la poterne derrière lui. Si, du fond du fossé extérieur, il parvenait à miner le pied de la chemise, il trouvait le souterrain occupé; ce travail de sape ne pouvait en aucune façon affaiblir les murs de la chemise, car on remarquera que ce souterrain est pris aux dépens d'un talus, d'un soubassement, derrière lequel la maçonnerie de la chemise reste intacte.
De toutes les défenses du château de Coucy, le donjon est de beaucoup la plus forte et la mieux traitée. Cette belle construction mérite une étude particulière, que nous développons à l'article DONJON.
Les tours et donjon du château de Coucy sont garnis, dans leur partie supérieure, de corbeaux saillants en pierre destinés à recevoir des hourds en bois (voy. HOURD). À la fin du XIVe siècle, la grand'salle et les bâtiments d'habitation M furent reconstruits, ainsi que les étages supérieurs de la porte; des jours plus larges furent percés à l'extérieur, et les courtines reçurent des machicoulis avec parapets en pierre, suivant la méthode du temps, au lieu des consoles avec hourds en bois. Les autres parties du château restèrent telles qu'Enguerrand III les avait laissées.
Ce ne fut que pendant les troubles de la Fronde que cette magnifique résidence seigneuriale fut entièrement ravagée. Son gouverneur, nommé Hébert, fut sommé, par le cardinal Mazarin, de rendre la place entre les mains du maréchal d'Estrée, gouverneur de Laon. Hébert ayant résisté à cette sommation, en prétextant d'ordres contraires laissés par le roi Louis XIII, le siége fut mis, le 10 mai 1652, devant la ville, qui fut bientôt prise; puis, quelque temps après, la garnison du château se vit contrainte de capituler. Le cardinal Mazarin fit immédiatement démanteler les fortifications. Le sieur Métezeau, fils de l'ingénieur qui construisit la digue de la Rochelle, fut celui que le cardinal envoya à Coucy pour consommer cette oeuvre de destruction. Au moyen de la mine, il fit sauter la partie antérieure de la chemise du donjon et la plupart de celles des autres tours, incendia les bâtiments du château et le rendit inhabitable. Depuis lors, les habitants de Coucy, jusqu'à ces derniers temps, ne cessèrent de prendre dans l'enceinte du château les pierres dont ils avaient besoin pour la construction de leurs maisons, et cette longue destruction compléta l'oeuvre de Mazarin. Cependant, malgré ces causes de ruine, la masse du château de Coucy est encore debout et est restée une des plus imposantes merveilles de l'époque féodale 68. Si on eût laissé au temps seul la tâche de dégrader la résidence seigneuriale des sires de Coucy, nous verrions encore aujourd'hui ces énormes constructions dans toute leur splendeur primitive, car les matériaux, d'une excellente qualité, n'ont subi aucune altération; les bâtisses étaient conçues de manière à durer éternellement, et les peintures intérieures, dans les endroits abrités, sont aussi fraîches que si elles venaient d'être faites 69.
Autant qu'on peut le reconnaître dans la situation actuelle, le château de Coucy est traversé dans ses fondations par de nombreux et vastes souterrains, qui semblent avoir été systématiquement disposés pour établir des communications cachées entre tous les points de la défense intérieure et les dehors. La tradition va même jusqu'à prétendre qu'un de ces souterrains, dont l'entrée se voit dans les grandes caves sous les bâtiments d'habitation M, se dirigeait à travers les coteaux et vallées jusqu'à l'abbaye de Prémontré. Nous sommes loin de garantir le fait, d'autant que des légendes semblables s'attachent aux ruines de tous les châteaux du moyen âge en France; mais il est certain que de tous côtés, dans les cours, on aperçoit des bouches de galeries voûtées qui sont aujourd'hui remplies de décombres 70.

Nous donnons (17) le plan du premier étage du château de Coucy. On voit en A les logis placés au-dessus de la porte d'entrée, en B le donjon avec sa chemise. On trouvera, à l'article DONJON, la description de cette magnifique construction. En B la chapelle orientée, largement conçue et exécutée avec une grandeur sans pareille, si l'on en juge par les fragments des meneaux des fenêtres qui jonchent le sol; en D la grand'salle du tribunal, dite des Preux, parce qu'on y voyait, dans des niches, les statues des neuf preux. Deux cheminées chauffaient cette salle, largement éclairée à son extrémité méridionale par une grande verrière ouverte dans le pignon. Une charpente en bois avec berceau ogival en bardeaux couvrait cette salle. En E la salle des neuf Preuses, dont les figures étaient sculptées en ronde-bosse sur le manteau de la cheminée. Un boudoir F, pris aux dépens de l'épaisseur de la courtine, accompagnait cette salle; cette pièce, éclairée par une grande et large fenêtre donnant sur la campagne du côté de Noyon, était certainement le lieu le plus agréable du château; elle était chauffée par une petite cheminée et voûtée avec élégance par de petites voûtes d'arêtes.
Ces dernières bâtisses datent de la fin du XIVe siècle; on voit parfaitement comment elles furent incrustées dans les anciennes constructions; comment, pour les rendre plus habitables, on suréleva les courtines d'un étage; car, dans la construction primitive, ces courtines n'atteignaient certainement pas un niveau aussi élevé, laissaient aux cinq tours un commandement plus considérable, et les bâtiments d'habitation avaient une beaucoup moins grande importance. Du temps d'Enguerrand III, la véritable habitation du seigneur était le donjon; mais quand les moeurs féodales, de rudes qu'elles étaient, devinrent au contraire, vers la fin du XIVe siècle, élégantes et raffinées, ce donjon dut paraître fort triste, sombre et incommode; les seigneurs de Coucy bâtirent alors ces élégantes constructions ouvertes sur la campagne, en les fortifiant suivant la méthode de cette époque. Le donjon et sa chemise, les quatre tours d'angle, la partie inférieure des courtines, les soubassements de la grand'salle, le rez-de-chaussée de l'entrée et la chapelle, ainsi que toute l'enceinte de la basse-cour, appartiennent à la construction primitive du château de Coucy sous Enguerrand III.
Ces quatre tours méritent que nous en disions quelques mots. Chaque chambre, à partir du rez-de-chaussée, se compose, à l'intérieur, de six pans avec niches, dont quelques-unes sont percées d'embrasures. Ces pièces sont voûtées, et les niches se chevauchent à chaque étage, les pleins étant au-dessus des vides et vice-versa (voy. TOUR). Des cheminées sont ouvertes dans les salles, qui sont en outre accompagnées de latrines (voy. PRIVÉS). On remarquera que les escaliers à vis ne montent pas de fond, mais s'interrompent, à partir du premier étage, pour reprendre de l'autre côté de l'entrée de la tour. C'est là une disposition fréquente dans les tours de cette époque, afin d'éviter les trahisons et de forcer les personnes qui veulent monter sur les parapets de passer par l'une des salles. C'était un moyen de rendre la surveillance facile et de reconnaître les gens de la garnison qui montaient aux parapets pour le service; car les parapets des courtines n'étaient accessibles que par les tours, et les escaliers des tours desservaient, par conséquent, toutes les défenses supérieures. Nous avons figuré en G (fig. 17) le pont volant mettant en communication la grand'salle D avec le chemin de ronde de la basse-cour du côté du sud. Si, par escalade, l'ennemi se fût emparé du chemin de ronde H de la chemise, il lui fallait forcer soit la porte I, soit la porte K, pour pénétrer dans le château. Les postes établis en A ou en L le jetaient par dessus les parapets ou dans le fossé de la chemise. Le poste A servait la terrasse crénelée M, au-dessus de la porte, de même que le poste L servait le chemin de ronde N commandant le pont volant G. Quant à la garnison du donjon, du premier étage elle pénétrait sur le chemin de ronde de la courtine par un pont volant O, mais en passant par le corps de garde L.

Avec des défenses aussi bien entendues, il n'y avait pas de surprises à craindre, pour peu que la garnison du château connût parfaitement ces nombreux détours, les ressources qu'ils présentaient, et qu'elle mît quelque soin de se garder. Une vue cavalière (18), prise du côté de la basse-cour, fera comprendre les dispositions intérieures et extérieures du château de Coucy 71.

Il faut reconnaître qu'un long séjour dans un château de cette importance devait être assez triste, surtout avant les modifications apportées par le XIVe siècle, modifications faites évidemment avec l'intention de rendre l'habitation de cette résidence moins fermée et plus commode. La cour, ombragée par cet énorme donjon, entourée de bâtiments élevés et d'un aspect sévère, devait paraître étroite et sombre, ainsi qu'on peut en juger par la vue présentée (19) 72. Tout est colossal dans cette forteresse; quoique exécutée avec grand soin, la construction a quelque chose de rude et de sauvage qui rapetisse l'homme de notre temps. Il semble que les habitants de cette demeure féodale devaient appartenir à une race de géants, car tout ce qui tient à l'usage habituel est à une échelle supérieure à celle admise aujourd'hui. Les marches des escaliers (nous parlons des constructions du XIIIe siècle), les alléges des créneaux, les bancs sont faits pour des hommes d'une taille au-dessus de l'ordinaire. Enguerrand III, seigneur puissant, de moeurs farouches, guerrier intrépide, avait-il voulu en imposer par cette apparence de force extra-humaine, ou avait-il composé la garnison d'hommes d'élite? C'est ce que nous ne saurions décider. Mais en construisant son château, il pensait certainement à le peupler de géants. Ce seigneur avait toujours avec lui cinquante chevaliers, ce qui donnait un chiffre de cinq cents hommes de guerre au moins en temps ordinaire. Il ne fallait rien moins qu'une garnison aussi nombreuse pour garder le château et la basse-cour. Les caves et magasins immenses qui existent encore sous le rez-de-chaussée des bâtiments du château permettaient d'entasser des vivres pour plus d'une année, en supposant une garnison de mille hommes. Au XIIIe siècle, un seigneur féodal possesseur d'une semblable forteresse et de richesses assez considérables pour s'entourer d'un pareil nombre de gens d'armes, et pour leur fournir des munitions et des vivres pendant un siége d'un an, pouvait défier toutes les armées de son siècle. Or, le sire de Coucy n'était pas le seul vassal du roi de France dont la puissance fut à redouter. Les rudes travaux du règne de Philippe-Auguste avaient non-seulement donné un vif éclat à la couronne de France, mais présenté pour lui cet avantage d'occuper sans trève sa noblesse, dont la guerre était la vie. Toujours tenue en haleine par l'activité et l'ambition de Philippe-Auguste, qui avait à conquérir de riches provinces, à lutter contre des ennemis aussi puissants que lui, mais moins opiniâtres et moins habiles, la féodalité perdait ses loisirs, et trouvait, en secondant ce grand prince, un moyen de s'enrichir et d'augmenter ses domaines; en lui prêtant l'appui de son bras, elle augmentait la puissance royale, mais elle n'avait pas lieu de regretter ses services. Il faut se rappeler que la plupart des seigneurs féodaux étaient entourés d'un certain nombre de chevaliers qu'on ne soldait point, mais qui recevaient, suivant leurs mérites, une portion plus ou moins considérable de terre à titre de fief; une fois possesseurs de cette fraction du domaine seigneurial, ils s'y bâtissaient des manoirs, c'est-à-dire des maisons fortifiées sans donjon et sans tours, et vivaient ainsi comme propriétaires du sol, n'ayant que quelques droits à payer au seigneur, lui prêtant leur concours et celui de leurs hommes en cas de guerre, et lui rendant hommage. En prolongeant l'état de guerre, tout seigneur féodal avait donc l'espoir d'agrandir son domaine au détriment de ses voisins, d'augmenter les fiefs qui relevaient de la châtellenie, et de s'entourer d'un plus grand nombre de vassaux disposés à le soutenir.
Philippe-Auguste, par ses conquêtes, put satisfaire largement cette hiérarchie d'ambitions, et, quoiqu'il ne perdît aucune des occasions qui s'offrirent à lui d'englober les fiefs dans le domaine royal, de les diviser et de diminuer l'importance politique des grands vassaux, en faisant relever les petits fiefs directement de la couronne; cependant il laissa, en mourant, bon nombre de seigneurs dont la puissance pouvait porter ombrage à un suzerain ayant un bras moins ferme et moins d'activité à déployer. Si Philippe-Auguste eût vécu dix ans de plus et qu'il eût eu à gouverner ses provinces en pleine paix, il est difficile de savoir ce qu'il aurait fait pour occuper l'ambition des grands vassaux de la couronne, et comment il s'y serait pris pour étouffer cette puissance qui pouvait se croire encore rivale de la royauté naissante. Le court règne de Louis VIII fut encore rempli par la guerre; mais pendant la minorité de Louis IX, une coalition des grands vassaux faillit détruire l'oeuvre de Philippe-Auguste. Des circonstances heureuses, la division qui se mit parmi les coalisés, l'habileté de la mère du roi, sauvèrent la couronne; les luttes cessèrent, et le pouvoir royal sembla de nouveau raffermi.
Un des côtés du caractère de saint Louis qu'on ne saurait trop admirer, c'est la parfaite connaissance du temps et des hommes au milieu desquels il vivait; avec un esprit de beaucoup en avance sur son siècle, il comprit que la paix était pour la royauté un dissolvant en face de la féodalité ambitieuse, habituée aux armes, toujours mécontente lorsqu'elle n'avait plus d'espérances d'accroissements; les réformes qu'il méditait n'étaient pas encore assez enracinées au milieu des populations pour opposer un obstacle à l'esprit turbulent des seigneurs. Il fallait faire sortir de leurs nids ces voisins dangereux qui entouraient le trône, user leur puissance, entamer leurs richesses; pour obtenir ce résultat, le roi de France avait-il alors à sa disposition un autre moyen que les croisades? Nous avons peine à croire qu'un prince d'un esprit aussi droit, aussi juste et aussi éclairé que saint Louis n'ait eu en vue, lorsqu'il entreprit sa première expédition en Orient, qu'un but purement personnel. Il ne pouvait ignorer qu'en abandonnant ses domaines pour reconquérir la terre sainte, dans un temps où l'esprit des croisades n'était rien moins que populaire, il allait laisser en souffrance les grandes réformes qu'il avait entreprises, et que devant Dieu il était responsable des maux que son absence volontaire pouvait causer parmi son peuple. Le royaume en paix, les membres de la féodalité entraient en lutte les uns contre les autres; c'était la guerre civile permanente, le retour vers la barbarie; vouloir s'opposer par la force aux prétentions des grands vassaux, c'était provoquer de nouvelles coalitions contre la couronne. Entraîner ces puissances rivales loin de la France, c'était pour la monarchie, au XIIIe siècle, le seul moyen d'entamer profondément la féodalité et de réduire ces forteresses inexpugnables assises jusque sur les marches du trône. Si saint Louis n'avait été entouré que de vassaux de la trempe du sire de Joinville, il est douteux qu'il eût entrepris ses croisades; mais l'ascendant moral qu'il avait acquis, ses tentatives de gouvernement monarchique n'eussent pu rompre peut-être le faisceau féodal, s'il n'avait pas occupé et ruiné en même temps la noblesse par ces expéditions lointaines. Saint Louis avait pour lui l'expérience acquise par ses prédécesseurs, et chaque croisade, quelle que fut son issue, avait été, pendant les XIe et XIIe siècles, une cause de déclin pour la féodalité, un moyen pour le suzerain d'étendre le pouvoir monarchique. Quel moment saint Louis choisit-il pour son expédition? C'est après avoir vaincu la coalition armée, à la tête de laquelle se trouvait le comte de Bretagne, après avoir protégé les terres du comte de Champagne contre les seigneurs ligués contre lui, c'est après avoir délivré la Saintonge des mains du roi d'Angleterre et du comte de la Marche, c'est enfin après avoir donné la paix à son royaume avec autant de bonheur que de courage, et substitué la suzeraineté de fait à la suzeraineté de nom. Dans une semblable occurrence, la paix, le calme, les réformes et l'ordre pouvaient faire naître les plus graves dangers au milieu d'une noblesse inquiète, oisive, et qui sentait déjà la main du souverain s'étendre sur ses priviléges.
Il est d'ailleurs, dans l'histoire des peuples, une disposition morale à laquelle, peut-être, les historiens n'attachent pas assez d'importance, parce qu'ils ne peuvent pénétrer dans la vie privée des individus; c'est l'ennui. Lorsque la guerre était terminée, lorsque l'ordre renaissait et par suite l'action du gouvernement, que pouvaient faire ces seigneurs féodaux dans leurs châteaux fermés, entourés de leurs familiers et gens d'armes? S'ils passaient les journées à la chasse et les soirées dans les plaisirs, s'ils entretenaient autour d'eux, pour tuer le temps, de joyeux compagnons, ils voyaient bientôt leurs revenus absorbés, car ils n'avaient plus les ressources éventuelles que leur procuraient les troubles et les désordres de l'état de guerre. Si, plus prudents, ils réformaient leur train, renvoyaient leurs gens d'armes et se résignaient à vivre en paisibles propriétaires, leurs forteresses devenaient un séjour insupportable, les heures pour eux devaient être d'une longueur et d'une monotonie désespérantes; car si quelques nobles, au XIIIe siècle, possédaient une certaine instruction et se livraient aux plaisirs de l'esprit, la grande majorité ne concevait pas d'autres occupations que celles de la guerre et des expéditions aventureuses. L'ennui faisait naître alors les projets les plus extravagants dans ces cerveaux habitués à la vie bruyante des camps, aux émotions de la guerre.
Saint Louis, qui n'avait pas cédé à la noblesse armée et menaçante, après l'avoir forcée de remettre l'épée au fourreau, ne se crut peut-être pas en état de lutter contre l'ennui et l'oisiveté de ses vassaux, de poursuivre, entre les forteresses jalouses dont le sol était couvert, les réformes qu'il méditait.
«Les croisades dévorèrent une grande quantité de seigneurs, et firent retourner au trône leurs fiefs devenus vacants. Mais, sous aucun règne, elles ne contribuèrent davantage à l'accroissement du domaine royal que sous celui de saint Louis; il est facile de s'en rendre raison: les croisades étaient déjà un peu vieillies au temps de saint Louis, les seigneurs ne croyaient plus y être exposés, et n'avaient par conséquent ni armes ni chevaux, ni provisions de guerre; il fallait emprunter; ils engagèrent leurs fiefs au roi, qui, étant riche, pouvait prêter. À la fin de la croisade, ceux des seigneurs qui survivaient à leurs compagnons d'armes revenaient si pauvres, si misérables, qu'ils étaient hors d'état de dégager leurs fiefs, qui devenaient alors la propriété définitive de ceux qui les avaient reçus en nantissement. Cette espèce d'usure politique parut naturelle dans le temps où elle eut lieu; les envahissements de saint Louis étaient couverts par la droiture de ses intentions; personne n'eût osé le soupçonner d'une chose injuste. Il semblait, par l'empire de ses vertus, consacrer jusqu'aux dernières conséquences de sa politique 73.»
Saint Louis, au moyen de ces expéditions outre-mer, non-seulement ruinait la féodalité, l'enlevait à ses châteaux, mais centralisait encore, sous son commandement, une nombreuse armée, qu'à son retour, et malgré ses désastres, il sut employer à agrandir le domaine royal, sous un prétexte religieux. De même que, sous le prétexte de se prémunir contre les menaces du Vieux de la Montagne, il établit une garde particulière autour de sa personne, qui «jour et nuit étoit en cure diligente de son corps bien garder 74,» mais qui, par le fait, était bien plutôt destinée à prévenir les perfidies des seigneurs.
Joinville rapporte qu'en partant pour la croisade et pour se mettre en état, il engagea à ses amis une grande partie de son domaine, «tant qu'il ne lui demoura point plus hault de douze cens livres de terre de rente.» Arrivé en Chypre, il ne lui restait plus d'argent vaillant que deux cent livres tournois d'or et d'argent lorsqu'il eut payé son passage et celui de ses chevaliers. Saint Louis, l'ayant su, l'envoya quérir et lui donna huit cents livres tournois pour continuer l'expédition. Au moment de partir pour la seconde croisade, «le roy de France et le roy de Navarre, dit Joinville, me pressoient fort de me croisser, et entreprandre le chemin du pélerinage de la croix. Mais je leur répondi, que tandis que j'avois esté oultre mer ou service de Dieu, que les gens et officiers du roy de France avoient trop grevé et foullé mes subgets, tant qu'ilz en estoient apovriz: tellement que jamais il ne seroit, que eulz et moy ne nous ensantissions.» Certes il y a tout lieu de croire que Joinville était un bon seigneur et qu'il disait vrai; mais combien d'autres, en se croisant et laissant leurs sujets gouvernés par les officiers du roi, leur permettaient ainsi de passer d'un régime insupportable sous un gouvernement moins tracassier en ce qu'il était moins local et partait de plus haut? Les seigneurs féodaux possédaient l'autorité judiciaire sur leurs terres; les baillis royaux, chargés par Philippe-Auguste de recevoir tous les mois aux assises les plaintes des sujets du roi, de nommer dans les prévôtés un certain nombre d'hommes sans lesquels aucune affaire concernant les villes ne pouvait être décidée, de surveiller ces magistrats, furent entre les mains de saint Louis une arme puissante dirigée contre les prérogatives féodales. Ce prince fit instruire dans le droit romain ceux qu'il destinait aux fonctions de baillis; il étendit leur pouvoir en dehors des tribunaux en les chargeant de la haute administration, et bientôt ces hommes dévoués à la cause royale attaquèrent ouvertement l'autorité judiciaire des barons en créant les cas royaux. «C'est-à-dire qu'ils firent recevoir en principe, que le roi, comme chef du gouvernement féodal, avait, de préférence à tout autre, le droit de juger certaines causes nommées pour cela cas royaux. À la rigueur, cette opinion était soutenable; mais il fallait déterminer clairement les cas royaux, sous peine de voir le roi devenir l'arbitre de toutes les contestations; or, c'est ce que ne voulurent jamais faire les baillis: prières, instances, menaces, rien ne put les y décider; toutes les fois qu'ils entendaient débattre dans les cours seigneuriales une cause qui paraissait intéresser l'autorité du roi, ils s'interposaient au milieu des partis, déclaraient la cause cas royal, et en attiraient le jugement à leurs cours 75.» Les empiétements des baillis sur les juridictions seigneuriales étaient appuyés par le parlement, qui enjoignait, dans certains cas, aux baillis, d'entrer sur les terres des seigneurs féodaux et d'y saisir tels prévenus, bien que ces seigneurs fussent hauts-justiciers, et, selon le droit, pouvant «porter armes pour justicier leurs terres et fiefs 76.» En droit féodal, le roi pouvait assigner à sa cour le vassal qui eût refusé de lui livrer un prévenu, considérer son refus comme un acte de félonie, prononcer contre lui les peines fixées par l'usage, mais non envoyer ses baillis exploiter dans une seigneurie qui ne lui appartenait pas 77. À la fin du XIIIe siècle, la féodalité, ruinée par les croisades, attaquée dans son organisation par le pouvoir royal, n'était plus en situation d'inspirer des craintes sérieuses à la monarchie, ni assez riche et indépendante pour élever des forteresses comme celle de Coucy. D'ailleurs, à cette époque, aucun seigneur ne pouvait construire ni même augmenter et fortifier de nouveau un château, sans en avoir préalablement obtenu la permission de son suzerain. Nous trouvons, dans les Olim, entre autres arrêts et ordonnances sur la matière, que l'évêque de Nevers, qui actionnait le prieur de la Charité-sur-Loire parce qu'il voulait élever une forteresse, avait été lui-même actionné par le bailli du roi pour avoir simplement fait réparer les créneaux de la sienne. Saint Louis s'était arrogé le droit d'octroyer ou de refuser la construction des forteresses; et s'il ne pouvait renverser toutes celles qui existaient de son temps sur la surface de ses domaines et qui lui faisaient ombrage, il prétendait au moins empêcher d'en construire de nouvelles; et, en effet, on rencontre peu de châteaux de quelque importance élevés de 1240 à 1340, c'est-à-dire pendant cette période de la monarchie française qui marche résolûment vers l'unité de pouvoir et de gouvernement.
À partir du milieu du XIVe siècle, au contraire, nous voyons les vieux châteaux réparés ou reconstruits, de nouvelles forteresses s'élever sur le territoire français, à la faveur des troubles et des désastres qui désolent le pays; mais alors l'esprit féodal s'était modifié, ainsi que les moeurs de la noblesse, et ces résidences revêtent des formes différentes de celles que nous leur voyons choisir pendant le règne de Philippe-Auguste et au commencement de celui de saint Louis; elles deviennent des palais fortifiés, tandis que, jusqu'au XIIIe siècle, les châteaux ne sont que des forteresses pourvues d'habitations. Ces caractères bien tranchés sont faciles à saisir; ils ont une grande importance au point de vue architectonique, et le château de Coucy, tel qu'il devait exister avant les reconstructions de la fin du XIVe siècle, sert de transition entre les châteaux de la première et de la seconde catégorie; ce n'est plus l'enceinte contenant des habitations disséminées, comme un village fortifié dominé par un fort principal, le donjon; et ce ne devait pas être encore le palais, la réunion de bâtiments placés dans un ordre régulier soumettant la défense aux dispositions exigées par l'habitation, le véritable château construit d'après une donnée générale, une ordonnance qui rentre complètement dans le domaine de l'architecture.
Aujourd'hui, toutes les résidences seigneuriales sont tellement ruinées qu'on ne peut plus guère se faire une idée exacte des parties qui servaient à l'habitation; les tours et les courtines, plus épaisses que le reste des constructions, ont pu résister à la destruction, et nous laissent juger des dispositions défensives permanentes, sans nous donner le détail des distributions intérieures, ainsi que des nombreuses défenses extérieures qui protégeaient le corps de la place. Il nous faut, pour nous rendre compte de ce que devait être un château pendant la première moitié du XIIIe siècle, avoir recours aux descriptions contenues dans les chroniques et les romans; heureusement ces descriptions ne nous font pas défaut et elles sont souvent assez détaillées. L'une des plus anciennes, des plus complètes et des plus curieuses, est celle qui est contenue dans la première partie du Roman de la Rose, et qui, sous le nom du Château de la Jalousie, nous dépeint le Louvre de Philippe-Auguste. Personne n'ignore que la grosse tour ou donjon du Louvre avait été bâtie par ce prince pour renfermer son trésor et servir au besoin de prison d'État; tous les fiefs de France relevaient de la tour du Louvre, dans laquelle les grands vassaux rendaient hommage et prêtaient serment de fidélité au roi. Les autres constructions de ce château avaient été également élevées par Philippe-Auguste. Mais laissons parler Guillaume de Lorris 78:
«Dès or est drois que ge vous die
La contenance Jalousie,
Qui est en male souspeçon:
Où païs ne remest maçon
Ne pionnier qu'ele ne mant.
Si fait faire au commancement
Entor les Rosiers uns fossés
«Qui cousteront deniers assés,
Si sunt moult lez et moult parfont.
Li maçons sus les fossés font
Ung mur de quarriaus tailléis,
Qui ne siet pas sus croléis (qui n'est pas assis sur terre meuble),
Ains est fondé sus roche dure:
Li fondement tout à mesure
Jusqu'au pié du fossé descent,
Et vait amont en estrecent (et s'élève en talus);
S'en est l'uevre plus fors assés.
Li murs si est si compassés,
Qu'il est de droite quarréure;
Chascuns des pans cent toises dure,
Si est autant lons comme lés 79.
Les tornelles sunt lés à lés (de distance en distance),
Qui richement sunt bataillies (fortifiées)
Et sunt de pierres bien taillies,
As quatre coingnés (coins) en ot quatre
Qui seroient fors à abatre;
Et si i a quatre portaus
Dont li mur sunt espés et haus,
Ung en i a ou front devant
Bien déffensable par convant 80,
Et deux de coste, et ung derriere 81,
Qui ne doutent cop de perrière.
Si a bonnes portes coulans
Por faire ceus defors doulans,
Et por eus prendre et retenir,
«S'il osoient avant venir 82.
Ens où milieu de la porprise (de l'enceinte)
Font une tor par grant mestrise
Cil qui du fere furent mestre 83;
Nule plus bele ne pot estre,
Qu'ele est et grant, et lée, et haute 84;
Li murs ne doit pas faire faute
Por engin qu'on saiche getier;
Car l'en destrempa le mortier
De fort vin-aigre et de chaus vive 85
La pierre est de roche naïve
De quoi l'en fist le fondement,
Si iert dure cum aïment.
La tor si fu toute réonde,
Il n'ot si riche en tout le monde,
Ne par dedens miex ordenée.
Elle iert dehors avironnée
D'un baille qui vet tout entor,
...
Dedens le chastel ot perrières
Et engins de maintes manières.
Vous poïssiés les mangonniaus
Véoir pardessus les creniaux 86;
«Et as archieres tout entour
Sunt les arbalestes à tour 87,
Qu'armeure n'i puet tenir (résister),
Qui près du mur vodroit venir,
Il porroit bien faire que nices.
Fors des fossés a unes lices
De bons murs fors à creniaux bas,
Si que cheval ne puent pas
Jusqu'as fossés venir d'alée,
Qu'il n'i éust avant mellée 88.
«Jalousie a garnison mise
Où chastel que ge vous devise,
Si m'est avis que Dangier porte
La clef de la première porte
Qui ovre devers orient 89
Avec li, au mien escient,
A trente sergens tout à conte 90
«Et l'autre porte garde Honte,
Qui ovre par devers midi 91,
El fut moult sage, et si vous di
Qu'el ot sergens à grant planté (en grand nombre)
Près de faire sa volenté,
Paor (Peur) ot grant connestablie,
Et fu à garder establie,
L'autre porte, qui est assise,
A main senestre devers bise 92,
Paor n'i sera ja seure,
S'el n'est fermée à serréure,
Et si ne l'ovre pas sovent;
Car, quant el oit (entend) bruire le vent,
Ou el ot saillir deus langotes,
Si l'en prennent fievres et gotes (gouttes).
Male-bouche (Mauvais propos, médisance), que Diex maudie!
Ot sodoiers de Normandie 93.
Si garde la porte destrois 94;
Et si sachiés qu'as autres trois
Va souvent et vient 95. Quant il scet
Qu'il doit par nuit faire le guet,
Il monte le soir as creniaus 96,
Et atrempe ses chalemiaus (prépare ses chalumeaux)
Et ses busines (trompettes), et ses cors.
...
«Jalousie, que Diex confonde!
A garnie la tor réonde (le donjon):
Et si sachiés qu'ele i a mis
Des plus privés de ses amis,
Tant qu'il i ot grant garnison 97.»
C'est là un château royal; la nécessité où se trouvait un seigneur de placer un poste, une petite garnison, dans chaque porte principalement, faisait qu'on ne multipliait pas les issues, d'autant plus que les attaques étaient toujours tentées sur ces points. Ce passage du Roman de la Rose nous fait connaître que, dans les châteaux considérables, la multiplicité des défenses exigeait des garnisons comparativement nombreuses. Or ces garnisons ruinaient les seigneurs; s'ils les réduisaient, le système défensif adopté au commencement du XIIIe siècle, excellent lorsqu'il était convenablement muni d'hommes, était mauvais lorsque tous les points ne pouvaient pas être bien garnis et surveillés. Alors ces détours, ces solutions de communications devenaient au contraire favorables aux assiégeants. Nous verrons comme, au XIVe siècle, les châtelains ayant reconnu ces défauts cherchèrent à y remédier et à se bien défendre avec des garnisons que leur état de fortune ne leur permettait plus d'entretenir très-nombreuses.
Voici maintenant des descriptions de travaux exécutés dans des châteaux de seigneurs féodaux qui datent de la même époque (commencement du XIIIe siècle):
«Vers son chastel point tant et broche 98
Qu'il en a véue la roche 99;
Venuz est, si descent au pont 100.
Les ovriers qui les euvres font
Amoneste de tost ovrer 101
Et de lor porte delivrer,
Et de reparer ses fossez,
Car moult bien estoit apanssez (il se préoccupait fort)
Se li Rois vient sur lui à ost (avec son armée),
Qu'il n'a pas pooir qu'il l'en ost,
Einçoiz en seroit moult penez.
Moult s'esforce li forcenez
De faire fossez et tranchiées,
Tot entor lui à sis archiées,
Fait un fossé d'eve parfont (rempli d'eau profonde)
«Riens n'i puet entrer qui n'afont (qui ne tombe au fond).
Desor fu li ponz tornéiz
Moult bien tornez toz coléiz 102.
Desor la tor sont les perrieres
Qui lanceront pierres plenieres 103:
N'est nus hom qui en fust féruz,
Qui à sa fin ne fust venuz.
Les archières sont as querniax
Par où il trairont les quarriax
Por damagier la gent le roi.
Moult est Renart de grant desroi
Qui si contre le roi s'afete (se prépare).
Sor chascune tor une gaite
A mise por eschargaitier 104,
Qar il en avoit grant mestier (grand besoin).
Moult fut bien d'eye (d'eau) avironez,
Einsi s'est Renart atornez.
Hordéiz ot et bon et bel,
Par defors les murs dou chastel 105
Ses barbacanes fist drecier
Por son chastel miaux enforcier 106.
...»
Il mande des soldats, des gens de pied et à cheval pour défendre le château; ils se rendent en grand nombre à son appel.
Outre les dépenses qu'occasionnaient aux seigneurs féodaux la construction des châteaux et l'entretien d'une garnison suffisante en prévision d'une attaque, il leur fallait faire exécuter des travaux considérables, s'ils voulaient être en état de résister à un siége en règle, approvisionner quantité de munitions de bouche et de guerre. Les hourdages en bois dont, pendant les XIIe et XIIIe siècles, on garnissait les sommets des tours et courtines, exigeaient l'apport, la façon et la pose d'une quantité considérable de charpentes, par conséquent un nombre énorme d'ouvriers. Ces ouvrages transitoires se détérioraient promptement pendant la paix; ce n'était pas une petite affaire de posséder et de garder un château à cette époque.
Dans un autre poëme, contemporain de ce dernier (commencement du XIIIe siècle), nous trouvons encore des détails intéressants, non-seulement sur les défenses des châteaux, mais sur les logements, les dépendances, les armes et les passe-temps des seigneurs. Nous demanderons à nos lecteurs la permission de leur citer encore ce passage:
«...
Li chastiax sist an une roche 109;
Li aigue jusc'à mur s'aproche,
La roche fut dure et naïve,
Haute et large jusc'à la rive;
Et sist sor une grant montaigne
Qui samble qu'as nues se teigne.
El chastel n'avoit c'une entrée 110;
«Trop riche porte i ot fermée 111
Qui sist sor la roche entaillie.
De cele part fut la chaucie,
Li fossez et li rolléis (les palissades, littéralement les bâtons).
Et si fut li ponz levéiz 112
Si estoit assiz li chastiax
Que parrière ne mangoniax
Ne li grevast de nulle part:
Por nul anging, ne por nul art
Nel' poïst-on adamaigier,
Tant k'il éussent à maingier
Cil ki del chastel fussent garde,
N'éussent de tot le monde garde.
Moult fut estroite li antreie,
Qu'ansi fut faite et compasseie,
Par devant la haute montaigne;
I covient c'uns solx hom i veigne.
J'ai dui ni vauroient ansamble 113.
D'autre part devers l'aigue sambre,
Por ceu k'il siet en si haut mont,
Qu'il doie chéoir en .i. mont.
De tant com om trait d'un quarrel
N'aprochoit nuns hons lo chastel.
Il i ot portes colléisces (herses),
Bailles (enceintes extérieures), fossez et murz et lices 114,
Trestot fut an roche antaillet.
Moult i ot ferut et tailliet
Ainçoiz ke li chastels fust fais;
«Onkes tels ne fut contrefaiz
Trop par fut fors et bien assiz 115.
. . . . . . . . .
Sor la roche ki fut pandans,
Grant fut et large par dedans,
Trop i ot riche herberjaige 116;
En la tor (le donjon) ot moult riche estaige,
Bien fut herbergiez tot entor 117
Li pallais sist prest de la tor 118
Qui moult fut haus et bons et leis (larges)
Li estauble (écuries) furent deleis,
Greniers et chambres et cuisines;
Moult i ot riches officines.
Moult fut la salle grans et large 119:
Maint fort escut et mainte targe
Et mainte lance et maint espiet (épieu)
Et bon cheval et bon apiet
Dont li fer sont bon et tranchant,
Et maint cor bandeit d'argent
Avoit pandut por lo pallais 120.
. . . . . . .
Vers l'estanc furent les fenestres,
Lai fut li sires apoieis;
Ne sai c'il estoit annuiés,
Mais, en pansant, l'aigue esgardoit (regardait l'eau),
An esgardant, les cignes voit
Qui estoient et bel et gent.
Dont comandoit tote sa gent
Que moult doucement les véissent;
. . . . . . .
Les fenêtres des appartements donnent sur l'étang dont les eaux enveloppent le château; le seigneur, qui s'ennuie (le poëte penche à le croire et nous aussi), regarde l'eau, puis les cygnes; il leur jette du pain et du blé, et appelle ses gens afin de jouir de ce spectacle en compagnie... Tout est bon à ceux qui s'ennuient, et cette vie monotone du château, lorsqu'elle n'était pas remplie par la guerre ou la chasse, s'attachait aux moindres accidents pour y trouver un motif de distraction. Le pèlerin qui frappait à la porte et réclamait un gîte pour la nuit, le moine qui venait demander pour son couvent, le trouvère qui débitait ses vers, apportaient seuls des bruits et nouvelles du dehors entre ces murailles silencieuses. Cela explique le succès de ces lais, gestes, chansons et légendes qui abondaient à cette époque et occupaient les longs loisirs d'un châtelain, de sa famille et de ses gens.
Si le seigneur était riche, il cherchait à embellir sa demeure féodale, faisait bâtir une chapelle, et la décorait de peintures et de vitraux; il garnissait ses appartements de tapisseries, de meubles précieux, de belles armes; de là ce goût effréné pour le luxe qui, dès le XIIIe siècle, trouve sa place chez des hommes encore rudes, cette excitation de l'imagination, cet amour pour le merveilleux, pour la poésie, la musique, le jeu, les aventures périlleuses. Pendant que le peuple des villes participait chaque jour davantage à la vie politique du pays, devenait industrieux, riche par conséquent, était tout occupé de l'existence positive et prenait ainsi une place plus large, le seigneur, isolé dans son château, repaissait son imagination de chimères, comprimait difficilement ses instincts turbulents, nourrissait des projets ambitieux de plus en plus difficiles à réaliser entre la royauté qui s'affermissait et s'étendait, et la nation qui commençait à se sentir et se connaître.
Dès l'époque de saint Louis, la féodalité française n'était plus qu'un corps hétérogène dans l'État, elle ne pouvait plus que décroître. Au point de vue militaire, les guerres du XIVe siècle lui rendirent une certaine importance, la forcèrent de rentrer dans la vie publique (sous de tristes auspices, il est vrai), et prolongèrent ainsi son existence; la noblesse releva ses châteaux, adopta des moyens de défense nouveaux, appropriés aux temps, fit faire ainsi un pas à l'art de la fortification, jusqu'au moment où, l'artillerie à feu devenant un moyen d'attaque puissant, elle dut se résigner à ne plus jouer qu'un rôle secondaire en face de la royauté, et à ne considérer ses châteaux que comme de vieilles armes que l'on conserve en souvenir des services qu'elles ont rendus, sans espérer pouvoir s'en servir pour se défendre. De Charles VI à Louis XI, les barons semblent ne vouloir pas faire à l'artillerie l'honneur de la reconnaître; ils persistent, dans la construction de leurs châteaux, à n'en point tenir compte, jusqu'au moment où ses effets terribles viennent détruire cette vaine protestation au moyen de quelques volées de coups de canon 121.
Mais nous n'en sommes pas encore arrivés à cette époque de transition où le château n'est plus qu'un vain simulacre de défense militaire, et cache encore, par un reste des traditions antérieures, la maison de plaisance sous une apparence guerrière.
Revenons au Louvre, non plus au Louvre de Philippe-Auguste, mais au Louvre tel que l'avait laissé Charles V, c'est-à-dire à la forteresse qui se transforme en palais réunissant les recherches d'une habitation royale à la défense extérieure.

Voici (20) le plan du rez-de-chaussée du château du Louvre réparé et reconstruit en grande partie sous Charles V 122. Philippe-Auguste avait bâti le château du Louvre en dehors de l'enceinte de Paris, pour défendre les bords de la Seine en aval contre des ennemis arrivant de la basse Seine, et aussi pour maintenir la ville sous son autorité, tout en conservant sa liberté d'action. C'était comme un fort détaché protégeant la ville et se défendant au besoin contre ses habitants. Notre plan, ou plutôt celui de M. le comte de Clarac, dressé sur les données les plus exactes que l'on puisse se procurer aujourd'hui, fait voir en SHLI des parties de l'enceinte de Paris élevée par Philippe-Auguste. La configuration générale de ce plan, qui se rapporte à la description de Guillaume de Lorris, fait voir que Charles V conserva les tours, les portes et le donjon du XIIIe siècle. La description de Guillaume de Lorris n'existerait-elle pas, que la forme, le diamètre, l'espacement des tours, la disposition des portes se rapprochent bien plus du système défensif adopté au commencement du XIIIe siècle que de celui du XIVe. Le tableau conservé autrefois dans l'abbaye de Saint-Germain-des-Prés, et qui date du commencement du XVe siècle, représentant le Louvre et l'abbaye, les gravures d'Israël Sylvestre, n'indiquent pas, pour les tours, les dispositions de défense usitées du temps de Charles V, mais bien plutôt celles employées du temps de saint Louis. Toutefois, Charles V suréleva les courtines et y adossa des bâtiments d'habitation (c'est l'opinion de Sauval); il fit bâtir le grand escalier et la galerie mettant le donjon en communication avec la porte du nord. Peut-être qu'il franchit le périmètre du château de Philippe-Auguste, du côté J vers l'ouest, en élevant sur ce point des corps de logis très-épais. Il semblerait que les constructions primitives s'arrêtaient de ce côté à la tour Z, et que le mur intérieur de l'aile occidentale était l'ancienne courtine. Alors le donjon, plus rapproché de cette courtine, devait mieux commander la campagne vers le point où une attaque sérieuse était le plus à craindre. Les constructions entreprises par Charles V furent confiées à Raimond du Temple, son «bien aimé sergent d'armes et maçon 123.»
La porte de la ville (voy. la fig. 20) donnait issue entre deux murs flanqués de tournelles, le long de la rivière, et aboutissait à une première porte extérieure K donnant sur la berge, au point où se trouve aujourd'hui le balcon de la galerie d'Apollon. À côté de cette porte était la tour du Bois, qui correspondait à la tour de Nesle sur l'emplacement de l'Institut. On entrait, de la ville, dans les lices du Louvre par la porte H; c'était la porte principale. Mais, pour pénétrer dans le château, il fallait traverser un châtelet N construit en avant du fossé. La tour I faisait le coin sur la Seine, vers Paris. En A était le donjon de Philippe-Auguste, entouré de son fossé particulier B; son entrée en C était protégée par un corps-de-garde G. En F était une fontaine. Un large fossé à fond de cuve, avec contrescarpe revêtue, chemin de ronde et échauguettes, régnait en U tout autour du château. Les basses-cours du côté de la ville se trouvaient en R entre la muraille de Philippe-Auguste et le fossé. Du côté du nord en W et sur le terre-plain O étaient plantés des jardins avec treilles. Les tours d'angle X et la porte principale avec ses deux tours Y devaient appartenir à la construction du commencement du XIIIe siècle. La chapelle était en a; en m un grand vestibule servant de salle des gardes. Les appartements de la reine tenaient l'aile h, c, e, f, k, j; le jeu de paume, la salle g. Le bâtiment V contenait la ménagerie, et ceux P T Q le service de l'artillerie depuis Charles V. Ce qui faisait l'orgueil de Raimond du Temple était l'escalier à vis E, qui passait pour un chef-d'oeuvre, construction à jour ornée de niches et statues représentant les rois de France; puis la galerie D mettant le donjon en communication avec le premier étage de l'aile du nord.

Au premier étage (21), la chambre des comptes occupait en D le dessus de la porte principale; la salle des joyaux (le trésor de Charles V était fort riche en objets d'or et d'argent) était placée en A au-dessus de la salle des gardes, et la bibliothèque dans la tournelle B 124. Le cabinet du roi était en C; la chambre des requêtes en E; la chambre à coucher du roi en F, son oratoire en G; un cabinet et une salle de bain en H H. Le jeu de paume prenait la hauteur du rez-de-chaussée et du premier étage en I. Une chapelle haute en M se trouvait au-dessus de la chapelle basse, cette dernière étant réservée aux gens du château. En N, le roi possédait une seconde chambre à coucher, précédée d'une antichambre P, d'un oratoire O, d'une salle de bain et cabinet R R. La salle de parade (du Trône) était en Q, et la grand'salle dite de Saint-Louis en S. Il existait un appartement d'honneur avec salle de parade en V, X, T. Le premier étage du donjon L était divisé en quatre pièces contenant une chambre, un oratoire et des cabinets. Les galeries Y ou portiques servaient de communication pour le service, et, comme nous l'avons dit plus haut, la galerie K donnait entrée dans le donjon, au premier étage.

Au moyen du tableau de Saint-Germain-des-Prés, des gravures d'Israël Sylvestre et d'un dessin du commencement du XVIIe siècle qui est en notre possession, nous avons essayé de restituer une vue cavalière du château du Louvre de Charles V; nous la donnons ici (22). L'aspect que nous avons choisi est celui du sud-est, car c'est sur ce côté du Louvre que l'on peut réunir le plus de documents antérieurs aux reconstructions des XVIe et XVIIe siècles. Notre vue montre la quantité de défenses qui protégeaient les abords du château, et le soin apporté par Charles V dans les reconstructions; elle fait comprendre comment les tours de Philippe-Auguste avaient dû être engagées par la surélévation des courtines servant de façades extérieures aux bâtiments neufs. Vers le nord, on aperçoit l'escalier de Raimond du Temple et les riches bâtiments auxquels il donnait accès. Du côté de l'est, sur le devant de notre dessin, passe l'enceinte de la ville bâtie par Philippe-Auguste, terminée sur la Seine par une haute tour qui subsista jusqu'au commencement du XVIIe siècle; derrière cette tour sont les deux portes, l'une donnant entrée dans la ville le long de la première enceinte du Louvre, l'autre entrant dans cette enceinte. Ce front de l'enceinte de Paris, bâti par Philippe-Auguste, se défendait nécessairement du dehors au dedans depuis la Seine jusqu'à la barrière des Sergents; c'est-à-dire que le fossé de ses courtines et tours était creusé du côté de la ville et non du côté du Louvre. Cette portion d'enceinte dépendait ainsi du château et le protégeait contre les entreprises des habitants.
Du temps de Charles V, le château du Louvre et ses dépendances contenaient tout ce qui est nécessaire à la vie d'un prince. Il y avait, dit Sauval, «la maison du four, la panneterie, la sausserie, l'épicerie, la pâtisserie, le garde-manger, la fruiterie, l'échançonnerie, la bouteillerie, le lieu où l'on fait l'hypocras... On y trouvait la fourerie, la lingerie, la pelleterie, la lavanderie, la taillerie, le buchier, le charbonnier; de plus la conciergerie, la maréchaussée, la fauconnerie, l'artillerie, outre quantité de celliers et de poulaillers ou galliniers, et autres appartements de cette qualité.» Les bâtiments de l'artillerie, situés au sud-ouest, avaient une grande importance. Ils sont indiqués dans notre plan (fig. 20), en P Q T. «Dans le compte des baillis de France rendu en la Chambre en 1295, dit Sauval, il est souvent parlé des cuirs, des nerfs de boeuf, et des arbalètes gardées dans l'artillerie du Louvre... Lorsque les Parisiens s'emparèrent du Louvre en 1358, ils y trouvèrent engins, canons, arbalètes à tour, garrots et autre artillerie en grande quantité...» Le maître de l'artillerie y était logé, y possédait un jardin et des étuves; en 1391, quoique l'artillerie à feu fût déjà connue, elle n'était guère employée à la défense des places fortes. Il y avait encore, ajoute Sauval, à cette époque, «une chambre pour les empenneresses, qui empennoient les sagettes et viretons; de plus un atelier où l'on ébauchoit tant les viretons que les flèches, avec une armoire à trois pans (trois côtés), longue de cinq toises, haute de sept pieds, large de deux et demi, où étoient enfermés les cottes de mailles, platers, les bacinets, les haches, les épées, les fers de lance et d'archegayes et quantité d'autres sortes d'armures nécessaires pour la garnison du Louvre.» Ainsi, au XIVe siècle, un château devait contenir non-seulement ce qui était nécessaire à la vie journalière, mais de nombreux ateliers propres à la confection et à l'entretien des armes; il devait se suffire à lui-même sans avoir besoin de recourir aux fournisseurs du dehors. Comme l'abbaye du XIIe siècle, le château féodal formait une société isolée, une petite ville renfermant ses soldats, ses ouvriers, fabricants, sa police particulière. Résidence royale, le château du Louvre avait, comme tous les châteaux féodaux, dans ses basses-cours, des fermiers qui, par leurs baux, devaient fournir la volaille, les oeufs, le blé; il possédait en outre une ménagerie bâtie par Philippe de Valois, en 1333, sur l'emplacement de granges achetées à Geoffroi et Jacques Vauriel; de beaux jardins; plantés à la mode du temps, c'est-à-dire avec treilles, plants de rosiers, tonnelles, préaux, quinconces 125.
Le plan carré ou parallélogramme paraît avoir été adopté pour les châteaux féodaux de plaine depuis le XIIIe siècle; mais il est rare de rencontrer, ainsi que nous l'avons dit précédemment, le donjon placé au milieu du rectangle; cette disposition est particulière au château du Louvre. Au château de Vincennes, bâti pendant le XIVe siècle, le donjon est placé le long de l'un des grands côtés, et pouvait, dès lors, se rendre indépendant de l'enceinte en ayant sa poterne s'ouvrant directement sur les dehors; mais il faut voir dans le château de Vincennes une place forte, une vaste enceinte fortifiée, plutôt qu'un château proprement dit 126 (voy. ARCHITECTURE MILITAIRE). Les tours carrées qui flanquent ses courtines appartiennent bien plus à la défense des villes et places fortes de cette époque qu'à celle des châteaux.
Un des caractères particuliers aux châteaux de la fin du XIIIe siècle et du XIVe, c'est l'importance relative des tours, qui sont, sauf de rares exceptions, cylindriques, d'un fort diamètre, épaisses dans leurs oeuvres, hautes et très-saillantes en dehors des courtines, de manière à les bien flanquer. Les engins d'attaque s'étant perfectionnés pendant le XIIIe siècle, on avait jugé nécessaire d'augmenter le diamètre des tours, de faire leurs murs plus épais et de rendre leur commandement très-puissant. Cette observation vient encore appuyer notre opinion sur la date des défenses du Louvre. Si Charles V les eût rebâties, il n'eût certainement pas conservé ces tours d'un faible diamètre et passablement engagées dans les courtines.

Le château de Villandraut près Bazas, bâti vers le milieu du XIIIe siècle, nous fait voir déjà des tours très-fortes et saillantes sur les courtines, flanquant à chaque angle un parallélogramme de 47m,50 sur 39m,00 dans oeuvre. Ce château, publié déjà par la commission des monuments historiques de la Gironde, et dont nous donnons le plan (23), est parfaitement régulier, comme presque tous les châteaux de plaine; son unique entrée est flanquée de deux tours très-fortes et épaisses; des logements étaient disposés à l'intérieur le long des quatre faces, de manière à laisser une cour de 25m,00 sur 30m,00 environ 127. Ici, pas de donjon, ou plutôt le château lui-même compose un véritable donjon entouré de fossés larges et profonds. Les dépendances, et probablement des enceintes extérieures, protégeaient cette forteresse, qui était très-bien défendue pour l'époque, puisque, en 1592, les ligueurs s'étant emparés de la place, le maréchal de Matignon dut en faire le siége, qui fut long et opiniâtre, les assiégés ne s'étant rendus qu'après avoir essuyé douze cent soixante coups de canon. Les tours du château de Villandraut ont 27m,00 de hauteur, non compris les couronnements qui sont détruits, sur 11m,00 et 12m,00 de diamètre; elles commandaient de beaucoup les courtines, dont l'épaisseur est de 2m,70. Ce plan paraît avoir été fréquemment suivi à partir de la seconde moitié du XIIIe siècle, pour les châteaux de plaine d'une médiocre étendue; toutefois l'importance que l'on attachait à la défense des portes (point vers lequel tendaient tous les efforts de l'assaillant avant l'artillerie à feu) fit que l'on ne se contenta pas seulement des deux tours flanquantes, et qu'on éleva en avant un châtelet isolé au milieu du fossé. C'est ainsi qu'était défendue la porte du château de Marcoucies élevé, sous Charles VI, par Jean de Montaigu. Ces châtelets remplaçaient les anciennes barbacanes des XIIe et XIIIe siècles, qui, le plus souvent, n'étaient que des ouvrages de terre et de bois, et furent remplacés à leur tour, à la fin du XVe siècle, par des boulevards en terre, avec ou sans revêtements, faits pour recevoir du canon.
Sous Philippe le Hardi, Philippe le Bel et Philippe de Valois, les dispositions des châteaux se modifient peu; la France n'avait pas à lutter contre les invasions étrangères; elle était forte et puissante; la noblesse féodale semblait se résigner à laisser prendre à la monarchie une plus grande place dans l'État. Saint Louis n'avait vu qu'un péril pour le trône; c'était celui qu'il avait eu à combattre dans sa jeunesse: le pouvoir démesuré des grands vassaux. Pendant qu'il cherchait, par de nouvelles institutions, à conjurer à jamais un danger qui avait failli lui faire perdre la couronne de Philippe-Auguste; qu'il ruinait ses barons, empiétait sur leurs droits et les mettait dans l'impossibilité d'élever des forteresses, il cédait une partie des provinces françaises au roi Henri III d'Angleterre, par des considérations toutes personnelles et dont il est bien difficile aujourd'hui de reconnaître la valeur. Aux yeux de l'histoire, cette concession est une faute grave, peut-être la seule commise par ce prince; elle eut, cent ans plus tard, des résultats désastreux, et provoqua les longs revers de la France pendant les XIVe et XVe siècles; elle eut encore pour effet, contrairement aux tendances de celui qui l'avait commise, de prolonger l'existence de la féodalité; car, pendant ces guerres funestes, ces troubles et cette fermentation incessants, les seigneurs, reprenant leurs allures de chefs de bandes, vendant tour à tour leurs services à l'un et à l'autre parti, quelquefois aux deux à la fois, regagnèrent cette indépendance, cet esprit d'isolement, de domination sans contrôle, qui, sous les derniers Carlovingiens, les avaient poussés à s'enfermer dans des demeures imprenables pour, de là, se livrer à toutes sortes de méfaits et d'actes d'agression. Après une première crise terrible, la France, sous Charles V, retrouva pendant quelques années le repos et la prospérité. De tous côtés, les seigneurs, instruits sur ce qu'ils pouvaient redouter du peuple par la Jacquerie, et de la prédominance croissante des habitants des cités, songèrent à mettre leurs demeures en état de résister aux soulèvements populaires, aux empiétements de la royauté et aux courses périodiques des ennemis du dehors. Déjà habitués au luxe, à une vie recherchée cependant, les seigneurs qui élevèrent des châteaux, vers la fin du XIVe siècle, modifièrent leurs anciennes résidences, en leur donnant une apparence moins sévère, se plurent à y introduire de la sculpture, à rendre les bâtiments d'habitation plus étendus et plus commodes, à les entourer de jardins et de vergers, en modifiant le système défensif de manière à pouvoir résister plus efficacement à l'agression extérieure avec des garnisons moins nombreuses mais plus aguerries. Sous ce rapport, les châteaux de la fin du XIVe siècle sont fort remarquables, et les crises par lesquelles la féodalité avait dû passer lui avaient fait faire de notables progrès dans l'art de fortifier ses demeures. Ce ne sont plus, comme au XIIe siècle, des enceintes étendues assez basses, flanquées de quelques tours étroites, isolées, protégées par un donjon et ne contenant que des bâtiments de peu de valeur, mais de nobles et spacieux corps de logis adossés à des courtines très-élevées, bien flanqués par des tours rapprochées et formidables, réunies par des chemins de ronde couverts, munis également dans tout leur pourtour de bonnes défenses. Le donjon se fond dans le château; il n'est plus qu'un corps de logis dominant les autres, dont les oeuvres sont plus épaisses et mieux protégées; le château tout entier devient comme un vaste donjon bâti avec un grand soin dans tous ses détails. Déjà le système de défense isolée perd de son importance; le seigneur paraît se moins défier de sa garnison, car il s'efforce de la réduire autant que possible et de gagner, par les dispositions défensives d'ensemble, ce qu'il perd en hommes. La nécessité faisait loi; après les effroyables désordres qui ensanglantèrent la France, et particulièrement les provinces voisines de l'Île de France, vers le milieu du XIVe siècle, après que la Jacquerie eut été étouffée, les campagnes, les villages et même les petits bourgs s'étaient dépeuplés; les habitants s'étaient réfugiés dans les villes et bourgades fermées. Lorsque le calme fut rétabli, les seigneurs revenant de courses ou des prisons d'Angleterre trouvèrent leurs terres abandonnées, partant leurs revenus réduits à rien. Les villes affranchissaient les paysans, qui s'étaient réfugiés derrière leurs murailles, de la servitude de main-morte, des corvées et vexations de toutes natures auxquelles ils étaient soumis sur les terres seigneuriales. Les barons furent obligés, pour repeupler leurs domaines, de faire des concessions, c'est-à-dire d'offrir à leurs sujets émigrés ainsi qu'à ceux qui menaçaient d'abandonner leurs domaines les avantages qu'ils trouvaient dans les villes. C'est ainsi qu'Enguerrand VII, sire de Coucy, en rentrant en France après avoir été envoyé en Angleterre comme otage de la rançon du roi Jean, se vit contraint d'accorder à vingt-deux des bourgs et villages qui relevaient de son château une charte collective d'affranchissement. Cette charte, dont le texte nous est conservé, explique clairement les motifs qui l'avaient fait octroyer; en voici quelques passages: «...Lesquelles personnes (nos hommes et femmes de main-morte et de fourmariaige 128) en allant demourer hors de nostre dicte terre, en certains lieux, se affranchissent sanz notre congié et puet afranchir toutes fois que il leur plaist; et pour haine d'icelle servitude plusieurs personnes délaissent à demourer en nostre dicte terre, et par ce est et demoure icelle terre en grant partie non cultivée, non labourée et en riez (en friche), pourquoy nostre dicte terre en est grandement moins valable; et pour icelle servitude détruire et mettre au néant, ont ou temps passé nos devanciers seigneurs de Coucy, et par espécial nostre très-chéer et amé père, dont Diex ait l'âme, esté requis de par les habitans pour le temps en ladicte terre, en offrant par iceulz certaine revenue perpétuelle... Et depuis que nous fûmes venus en aaige et que nous avons joy pleinement de nostre dicte terre, les habitanz de nos villes de nostre dicte terre sont venuz par plusieurs foiz devers nous, en nous requérant que ladicte coustume et usaige voulsissions destruire et mettre au néant, et (de) nostre dicte terre et villes, tous les habitans présens et advenir demourans en icelles, afranchir desdites servitudes et aultres personnelles quelzconques à tous jours perpétuelment, en nous offrant de chacune ville ou pour la plus grande partie desdictes villes, certaine rente et revenue d'argent perpétuelle pour nous, nos successeurs, etc... Nous franchissons du tout, de toutes mortes mains et fourmariaige et leur donnons pleine et entière franchise et à chascun d'eux perpétuelment et à touz jours tant pour estre clerc comme pour avoir tous aultres estats de franchise; sans retenir à nous servitude ne puissance de acquérir servitude aulcune sur eulx... Toutes lesquelles choses dessus dictes nous avons fait et faisons, se il plaist au roy nostre sire, auquel seigneur nous supplions en tant que nous povons que pour accroistre et profiter le fief que nous tenons de luy, comme dessus est dict, il veille confirmer, loer et aprouver les choses dessus dictes... L'an MCCCLXVIII au mois d'aoust...» Le roi confirma cette charte au mois de novembre suivant 129.
La nécessité seule pouvait obliger les seigneurs féodaux à octroyer de ces chartes d'affranchissement, qui leur assuraient à la vérité des revenus fixes (car les sujets des bourgs, villes et villages, ne les obtenaient qu'en payant au seigneur une rente annuelle), mais qui leur enlevaient des droits dont ils abusaient souvent, mettaient à néant des ressources de toutes natures que, dans l'état de féodalité pure, les barons savaient trouver au milieu des populations qui vivaient sur leurs domaines. Une fois les revenus des seigneurs limités, établis par des chartes confirmées par le roi, il fallait songer à limiter les dépenses, à diminuer ces garnisons dispendieuses, à prendre un train en rapport avec l'étendue des rentes fixes, et dont les sujets n'étaient pas disposés à augmenter la quotité. D'un autre côté, le goût du luxe, des habitations plaisantes, augmentait chez les barons, ainsi que le besoin d'imposer aux populations par un état de défense respectable, car l'audace de sujets auxquels on est contraint de faire des concessions s'accroît en raison de l'étendue même de ces concessions.
Plus la nation tendait vers l'unité du pouvoir, plus la féodalité, opposée à ce principe par son organisation même, cherchait, dans ses châteaux, à former comme une société isolée, en opposition permanente contre tout acte émané soit du roi et de ses parlements, soit du sentiment populaire. Ne pouvant arrêter le courant qui s'était établi depuis saint Louis et ne voulant pas le suivre, les seigneurs cherchaient du moins à lui faire obstacle par tous les moyens en leur puissance. Sous des princes dont la main était ferme et les actes dictés par une extrême prudence, cette conspiration permanente de la féodalité contre l'unité, l'ordre et la discipline dans l'État, n'était pas dangereuse, et ne se trahissait que par de sourdes menées bientôt étouffées; mais si le pouvoir royal tombait en des mains débiles, la féodalité retrouvait, avec ses prétentions et son arrogance, ses instincts de désorganisation, son égoïsme, son mépris pour la discipline, ses rivalités funestes à la chose publique. Brave isolément, la féodalité agissait ainsi devant l'ennemi du pays, en bataille rangée, comme si elle eût été lâche ou traître, sacrifiant souvent à son orgueil les intérêts les plus sacrés de la nation. Vaincue par sa faute en rase campagne, elle se réfugiait dans ses châteaux, en élevait de nouveaux, ne se souciant ni de l'honneur du pays, ni de l'indépendance du souverain, ni des maux de la nation, mais agissant suivant son intérêt personnel ou sa fantaisie. Ce tableau de la féodalité sous le règne du malheureux Charles VI n'est pas assombri à dessein, il n'est que la fidèle image de cette triste époque.
«Et quant les vaillans entrepreneurs (chefs militaires), dit Alain Chartier 130, dont mercy Dieu encores en a en ce royaulme de bien esprouvez, mettent peine de tirer sur champs les nobles pour aucun bienfaire, ils delaient si longuement à partir bien enuis, et s'avancent si tost de retourner voulentiers, que à peine se puet riens bien commencer; mais à plus grant peine entretenir ne parfaire. Encores y a pis que ceste négligence. Car avec la petite voulenté de plusieurs se treuve souvent une si grant arrogance que ceulx qui ne sçauroient riens conduire par eux, ne vouldroyent armes porter soubz autruy; et tiennent à deshonneur estre subgects à celuy soubz qui leur puet venir la renommée d'honneur, que par eulx ils ne vouldroyent de acquerir. O arrogance aveugle de folie, et petite congnoissance de vertus! O très-périlleuse erreur en faits d'armes et de batailles! Par ta malediction sont desconfites et desordonnées les puissances, et les armes desjoinctes et divisées; quant chascun veult croire son sens, et suyvre son opinion. Et pour soy cuyder equiparer aux meilleurs, font souvent telles faultes, dont ilz sont deprimez soubz tous les moindres... En mémoire me vient, que j'ai souvent à plusieurs ouy dire: «Je n'iroye pour riens soubz le panon de tel. Car mon père ne fu onques soubz le sien.» Et ceste parolle n'est pas assez pesée, avant que dicte. Car les lignaiges ne font pas les chiefz de guerre, mais ceulx à qui Dieu, leurs sens, ou leurs vaillances, et l'auctorité du Prince en donnent la grâce, doivent estre pour telz obeitz: laquelle obéissance n'est mie rendue à personne, mais à l'office et à l'ordre d'armes (grade) et discipline de chevalerie, que chascun noble doit preferer à tout aultre honneur...»
Cette noblesse indisciplinée qui n'avait guère conservé de l'ancienne féodalité que son orgueil, qui fuyait en partie à la journée d'Azincourt, corrompue, habituée au luxe, aimait mieux se renfermer dans de bonnes forteresses, élégamment bâties et meublées; que de tenir la campagne:
«Les bons anciens batailleurs,
dit encore Alain Chartier dans ses vers pleins d'énergie et de droiture de coeur 131,
«Furent-ilz mignotz, sommeilleurs,
Diffameurs, desloyaulx, pilleurs?
Certes nenny.
Ilz estoient bons, et tous uny.
Pourquoy est le monde honny,
Et sera encores comme ny
A secouru.
Car honneur a bien peu couru,
Et n'y a on point recouru.
Puisque le bon Bertran (Duguesclin) mouru.
On a gueuchié
Aux coups, et de costé penchié.
Prouffit a honneur devanchié.
On n'a point les bons avanchié.
Mais mignotise,
Flaterie, oultrage, faintise,
Vilain cueur paré de cointise,
Ont régné avec convoitise,
Qui a tiré;
Dont tout a été deciré,
Et le bien publique empiré.
...»
Alors, les romans de chevalerie étaient fort en vogue; on aimait les fêtes, les tournois, les revues; chaque petit seigneur, sous cette monarchie en ruine, regrettant les concessions faites, songeait à se rendre important, à reconquérir tout le terrain perdu pendant deux siècles, non par des services rendus à l'État, mais en prêtant son bras au plus offrant, en partageant les débris du pouvoir royal, en opprimant le peuple, en pillant les villages et les campagnes, et, pour s'assurer l'impunité, les barons couvraient le sol de châteaux mieux défendus que jamais. Les moeurs de la noblesse offraient alors un singulier mélange de raffinements chevaleresques et de brigandage, de courtoisie et de marchés honteux. Au delà d'un certain point d'honneur et d'une galanterie romanesque, elle se croyait tout permis envers l'État, qui n'existait pas à ses yeux, et le peuple qu'elle affectait de mépriser d'autant plus qu'elle avait été forcée déjà de compter avec lui. Aussi est-ce à dater de ce moment que la haine populaire contre la féodalité acquit cette énergie active qui, transmise de générations en générations, éclata d'une manière si terrible à la fin du siècle dernier. Haine trop justifiée, il faut le dire! Mais ces derniers temps de la féodalité chevaleresque et corrompue, égoïste et raffinée, doivent-ils nous empêcher de reconnaître les immenses services qu'avait rendus la noblesse féodale pendant les siècles précédents?... La féodalité fut la trempe de l'esprit national en France; et cette trempe est bonne. Aujourd'hui que les châteaux seigneuriaux sont détruits pour toujours, nous pouvons être justes envers leurs anciens possesseurs; nous n'avons pas à examiner leurs intentions, mais les effets, résultats de leur puissance.
Au XIe siècle, les monastères attirent tout à eux, non-seulement les âmes délicates froissées par l'effrayant désordre qui existait partout, les esprits attristés par le tableau d'une société barbare où rien n'était assuré, où la force brutale faisait loi, mais aussi les grands caractères qui prévoyaient une dissolution générale si on ne parvenait pas à établir, au milieu de ce chaos, des principes d'obéissance et d'autorité absolue, appuyés sur la seule puissance supérieure qui ne fût pas contestée, celle de Dieu (voy. ARCHITECTURE MONASTIQUE). Bientôt, en effet, les monastères, qui renfermaient l'élite des populations, furent non-seulement un modèle de gouvernement, le seul, mais étendirent leur influence en dehors des cloîtres et participèrent à toutes les grandes affaires religieuses et politiques de l'Occident. Mais, par suite de son institution même, l'esprit monastique pouvait maintenir, régenter, opposer une digue puissante au désordre; il ne pouvait constituer la vie d'une nation, sa durée eût enfermé la civilisation dans un cercle infranchissable. Chaque ordre religieux était un centre dont on ne s'écartait que pour retomber dans la barbarie. À la fin du XIIe sièèle, l'esprit monastique était déjà sur son déclin; il avait rempli sa tâche. Alors l'élément laïque s'était développé dans les villes populeuses; les évêques et les rois lui offrirent, à leur tour, un point de ralliement en bâtissant les grandes cathédrales (voy. CATHÉDRALE). Autre danger; il y avait à craindre que la puissance royale, secondée par les évêques, ne soumît cette société à un gouvernement théocratique, immobile comme les anciens gouvernements de l'Égypte. C'est alors que la féodalité prend un rôle politique, peut-être à son insu, mais qu'il n'est pas moins important de reconnaître. Elle se jette entre la royauté et l'influence cléricale, empêchant ces deux pouvoirs de se confondre en un seul, mettant le poids de ses armes tantôt dans l'un des plateaux de la balance, tantôt dans l'autre. Elle opprime le peuple, mais elle le force de vivre; elle le réveille, elle le frappe ou le seconde, mais l'oblige ainsi à se reconnaître, à se réunir, à défendre ses droits, à les discuter, à en appeler même à la force; en lui donnant l'habitude de recourir aux tribunaux royaux, elle jette le tiers-état dans l'étude de la jurisprudence; par ses excès mêmes, elle provoque l'indignation de l'opprimé contre l'oppresseur. L'envie que causent ses priviléges devient un stimulant énergique, un ferment de haine salutaire, car il empêche les classes inférieures d'oublier un instant leur position précaire, et les force à tenter chaque jour de s'en affranchir. Mieux encore, par ses luttes et ses défiances, la féodalité entretient et aiguise l'esprit militaire dans le pays, car elle ne connaît que la puissance des armes; elle enseigne aux populations urbaines l'art de la fortification; elle les oblige à se garder; elle conserve d'ailleurs certains principes d'honneur chevaleresque que rien ne peut effacer, qui relevèrent l'aristocratie pendant les XVIe et XVIIe siècles, et qui pénétrèrent peu à peu jusque dans les plus basses classes de la société.
Il en est de l'éducation des peuples comme de celle des individus, qui, lorsqu'ils sont doués d'un tempérament robuste, apprennent mieux la vie sous des régents fantasques, durs et injustes même, que sous la main indulgente et paternelle de la famille. Sous le règne de Charles VI, la féodalité défendant mal le pays, le trahissant même, se fortifiant mieux que jamais dans les domaines, n'ayant d'autres vues que la satisfaction de son ambition personnelle, dévastant les campagnes et les villes sous le prétexte de nuire à tel ou tel parti, met les armes dans les mains du peuple, et Charles VII trouve des armées.
Si les provinces françaises avaient passé de l'influence monastique sous un régime monarchique absolu, elles eussent eu certainement une jeunesse plus heureuse et tranquille; leur agglomération sous ce dernier pouvoir eût pu se faire sans secousses violentes, mais auraient-elles éprouvé ce besoin ardent d'union, d'unité nationale qui fait notre force aujourd'hui et qui tend tous les jours à s'accroître? C'est douteux. La féodalité avait d'ailleurs un avantage immense chez un peuple qui se développait: elle entretenait le sentiment de la responsabilité personnelle, que le pouvoir monarchique absolu tend au contraire à éteindre; elle habituait chaque individu à la lutte; c'était un régime dur, oppressif, vexatoire, mais sain. Il secondait le pouvoir royal en forçant les populations à s'unir contre les châtelains divisés, à former un corps de nation.
Parmi les lois féodales qui nous paraissent barbares, il en était beaucoup de bonnes et dont nous devons, à nos dépens, reconnaître la sagesse, aujourd'hui que nous les avons détruites. L'inaliénabilité des domaines, les droits de chasse et de pêche entre autres, n'étaient pas seulement avantageux aux seigneurs, ils conservaient de vastes forêts, des étangs nombreux dont le défrichement et l'assèchement deviennent la cause de désastres incalculables pour le territoire, en nous envoyant ces inondations et ces sécheresses périodiques qui commencent à émouvoir les esprits disposés à trouver que tout est pour le mieux dans notre organisation territoriale actuelle. À cet égard, il est bon d'examiner d'un oeil non prévenu ces lois remplies de détails minutieux sur la conservation des domaines féodaux. Ces lois sont dictées généralement par la prudence, par le besoin d'empêcher la dilapidation des richesses du sol. Si aujourd'hui, malgré tous les soins des gouvernements armés de lois protectrices, sous une administration pénétrant partout, il est difficile d'empêcher les abus de la division de la propriété, dans quels désordres la culture des campagnes ne serait-elle pas tombée au moyen âge, si la féodalité n'eût pas été intéressée à maintenir ses priviléges de possesseurs de terres, priviléges attaqués avec plus de passion que de réflexion, par un sentiment d'envie plutôt que par l'amour du bien général. Si ces priviléges sont anéantis pour jamais; s'ils sont contraires au sentiment national, ce que nous reconnaissons; s'ils ne peuvent trouver place dans notre civilisation moderne, constatons du moins ceci: c'est qu'ils n'étaient pas seulement profitables aux grands propriétaires du sol, mais au sol lui-même, c'est-à-dire au pays. Laissons donc de côté les discours banals des détracteurs attardés de la féodalité renversée, qui ne voient, dans chaque seigneur féodal, qu'un petit tyran tout occupé à creuser des cachots et des oubliettes; ceux de ses amis qui nous veulent représenter ces barons comme des chevaliers défenseurs de l'opprimé et protecteurs de leurs vassaux, couronnant des rosières, et toujours prêts à monter à cheval pour Dieu et le roi; mais prenons la féodalité pour ce qu'elle fut en France, un stimulant énergique, un de ces éléments providentiels qui concoururent (aveuglément, peu importe) à la grandeur de notre pays; respectons les débris de ses demeures, car c'est peut-être à elles que nous devons d'être devenus en Occident la nation la plus unie, celle dont le bras et l'intelligence ont pesé et pèseront longtemps sur les destinées de l'Europe.
Examinons maintenant cette dernière phase, brillante encore, de la demeure féodale, celle qui commence avec le règne de Charles VI.
La situation politique du seigneur s'était modifiée; il ne pouvait plus compter, comme dans les beaux temps de la féodalité, sur le service de ses hommes des villages et campagnes (ceux-ci ayant manifesté leur haine profonde pour le système féodal); il savait que leur concours forcé eût été plus dangereux qu'utile; c'était donc à leurs vassaux directs, aux chevaliers qui tenaient des fiefs dépendant de la seigneurie et à des hommes faisant métier des armes qu'il fallait se fier, c'est-à-dire à tous ceux qui étaient mus par les mêmes intérêts et les mêmes goûts; c'est pourquoi le château de la fin du XIVe siècle prend, plus encore qu'avant cette époque, l'aspect d'une forteresse, bien que la puissance féodale ait perdu la plus belle part de son prestige. Le château du commencement du XVe siècle proteste contre les tendances populaires de son temps, il s'isole et se ferme plus que jamais; les défenses deviennent plus savantes parce qu'elles ne sont garnies que d'hommes de guerre. Il n'est plus une protection pour le pays, mais un refuge pour une classe privilégiée qui se sent attaquée de toutes parts, et qui fait un suprême effort pour ressaisir la puissance.
Au XIIe siècle, le château de Pierrefonds, ou plutôt de Pierre-fonts, était déjà un poste militaire d'une grande importance, possédé par un comte de Soissons, nommé Conon. Il avait été, à la mort de ce seigneur qui ne laissait pas d'héritiers, acquis par Philippe-Auguste, et ce prince avait confié l'administration des terres à un bailli et un prévôt, abandonnant la jouissance des bâtiments seigneuriaux aux religieux de Saint-Sulpice. Par suite de cette acquisition, les hommes coutumiers du bourg avaient obtenu du roi une «charte de commune qui proscrivoit l'exercice des droits de servitude, de main-morte et de formariage et en reconnaissance de cette immunité, les bourgeois de Pierrefonds devaient fournir au roi soixante sergents, avec une voiture attelée de quatre chevaux 132.» Par suite de ce démembrement de l'ancien domaine, le château n'était guère plus qu'une habitation rurale; mais sous le règne de Charles VI, Louis d'Orléans, premier duc de Valois, jugea bon d'augmenter ses places de sûreté, et se mit en devoir, en 1390, de faire reconstruire le château de Pierrefonds sur un point plus fort et mieux choisi, c'est-à-dire à l'extrémité du promontoire qui domine une des plus riches vallées des environs de Compiègne, en profitant des escarpements naturels pour protéger les défenses sur trois côtés, tandis que l'ancien château était assis sur le plateau même, à cinq cents mètres environ de l'escarpement. La bonne assiette du lieu n'était pas la seule raison qui dût déterminer le choix du duc d'Orléans. Si l'on jette les yeux sur la carte des environs de Compiègne, on voit que la forêt du même nom est environnée de tous côtés par des cours d'eau, qui sont: l'Oise, l'Aisne et les deux petites rivières de Vandi et d'Automne. Pierrefonds, appuyé à la forêt vers le nord, se trouvait ainsi commander un magnifique domaine facile à garder sur tous les points, ayant à sa porte une des plus belles forêts des environs de Paris. C'était donc un lieu admirable, pouvant servir de refuge et offrir les plaisirs de la chasse au châtelain. La cour de Charles VI était très-adonnée au luxe, et parmi les grands vassaux de ce prince, Louis d'Orléans était un des seigneurs les plus magnifiques, aimant les arts, instruit, ce qui ne l'empêchait pas d'être plein d'ambition et d'amour du pouvoir; aussi voulut-il que son nouveau château fut, à la fois, une des plus somptueuses résidences de cette époque et une forteresse construite de manière à défier toutes les attaques. Monstrelet en parle comme d'une place de premier ordre et un lieu admirable.
Pendant sa construction, le château de Pierrefonds, défendu par Bosquiaux, capitaine du parti des Armagnacs, fut attaqué par le comte de Saint-Pol, envoyé par Charles VI pour réduire les places occupées par son frère; Bosquiaux, plutôt que de risquer de laisser assiéger ce beau château encore inachevé, sur l'avis du duc d'Orléans, rendit la place, qui, plus tard, lui fut restituée. Le comte de Saint-Pol ne la quitta toutefois qu'en y mettant le feu. Louis d'Orléans répara le dommage et acheva son oeuvre. En 1420, le château de Pierrefonds, dont la garnison était dépourvue de vivres et de munitions, ouvrit ses portes aux Anglais. Charles d'Orléans et Louis XII complétèrent cette résidence; toutefois il est à croire que ces derniers travaux ne consistaient guère qu'en ouvrages intérieurs, car la masse encore imposante des constructions appartient aux commencements du XVe siècle.

Le château de Pierrefonds, dont nous donnons le plan (24), au niveau du rez-de-chaussée de la cour 133, est à la fois une forteresse de premier ordre et une résidence renfermant tous les services destinés à pourvoir à l'existence d'un grand seigneur et d'une nombreuse réunion de chevaliers. Séparée du plateau à l'extrémité duquel il est assis par un fossé A creusé à main d'homme dans le roc, son entrée principale G est précédée d'une vaste basse-cour C, autour de laquelle s'élevaient les écuries, étables et logements des serviteurs. On voit encore en C' l'abreuvoir circulaire destinée au bétail et aux chevaux. La porte d'entrée de la basse-cour était percée dans le mur de clôture de l'est. Les trois côtés nord, ouest et est du château dominent des escarpements très-prononcés au bas desquels s'étend le bourg de Pierrefonds. Pour pénétrer dans le château, il fallait franchir une porte ouverte à l'extrémité du mur des lices vers le point D, suivre sous les remparts les terrasses E E' E", entrer par la porte orientale de la basse-cour vers F, traverser diagonalement cette basse-cour, et se présenter devant l'entrée G percée d'une porte charretière et d'une poterne en équerre s'ouvrant de flanc. Cette première défense franchie sous l'énorme tour I du donjon qui la commande perpendiculairement, on se trouvait sur un pont de bois soutenu par deux piles isolées, et on arrivait aux ponts-levis H et K de la porte et de la poterne. Outre les ponts-levis, le couloir d'entrée L était muni de deux portes et d'une herse tombant en arrière de la petite porte du corps de garde M. Ce corps de garde occupait le rez-de-chaussée d'une haute tour de guet carrée, munie de son petit escalier particulier et de ses latrines N à tous les étages. Par elle-même, cette entrée est bien défendue, et la porte charretière de la défense extérieure étant ouverte, il était impossible à des gens placés dans la basse-cour de voir ce qui se passait dans la cour intérieure du château. Mais ce qui vient surtout rendre cette entrée difficile à forcer, c'est la grosse tour I du donjon dont les murs, d'une épaisseur considérable (4m,60), ne sont, à rez-de-chaussée, percés d'aucune ouverture et dont les machicoulis supérieurs devaient permettre d'écraser les assaillants qui se seraient emparés soit du pont, soit du fossé. La tour I se relie au donjon proprement dit, de forme carrée, divisé en plusieurs salles, et qui, par sa position, commande au loin les deux seuls points accessibles du château, c'est-à-dire ses faces sud et sud-est. Mais la construction de ce donjon mérite que nous l'étudiions avec soin, d'autant mieux qu'il diffère de ceux des XIIe et XIIIe siècles.
À Pierrefonds, le donjon est non-seulement le point principal de la défense, c'est encore l'habitation seigneuriale, construite avec recherche, et contenant un grand nombre de services propres à rendre ses appartements agréables. Il se compose d'un étage de caves, d'un rez-de-chaussée voûté dont nous donnons le plan, qui ne pouvait servir que de magasins, de dépôts de provisions, et de trois étages de salles munies de cheminées. À chaque étage, la distribution était pareille à celle du rez-de-chaussée; mais les salles, séparées par des planchers, ne possédaient plus les colonnes que nous voyons sur notre plan. De la salle principale des étages supérieurs, à laquelle on arrivait par le grand escalier P, on communiquait à la tour carrée O par un passage pratiqué dans l'angle de jonction, et ces salles principales étaient éclairées chacune par deux larges et hautes fenêtres percées dans le mur oriental de chaque côté des cheminées. Ce donjon était couvert par deux combles avec chéneau intermédiaire sur le mur de refend qui le coupe de l'est à l'ouest. Deux pignons à l'est et deux pignons à l'ouest fermaient ces deux combles. Entre le donjon et la tour sud-est étaient de grandes latrines J auxquelles on arrivait par un passage détourné; entre ces latrines et la petite salle sud-est du donjon est un retrait prenant jour sur la cour Q. De cette même salle sud-est, au niveau des caves, on communiquait à une petite poterne R donnant sur le fossé et à l'escalier de la tour d'angle. Un gros contre-fort S, à l'angle du donjon, sur la cour principale, était probablement terminé par une échauguette, sorte de petit redan qui commandait le couloir de l'entrée L. Le grand escalier P était précédé, du côté le plus en vue, sur la cour, par un large perron et une loge ou portique qui permettaient au seigneur et à ses principaux officiers de réunir la garnison dans la cour et de lui donner des ordres d'un point élevé 134. La disposition de ce perron dut être modifiée; nous avons lieu de croire qu'il n'était dans l'origine qu'une terrasse avec un petit escalier posé sur le côté. Une annexe importante du donjon de Pierrefonds, c'est la tour carrée O. Posée à l'angle nord-est, elle est flanquée de contre-forts portant à leur sommet des échauguettes, qui permettaient de voir ce qui se passait dans la campagne par-dessus la courtine T, la seule qui ne soit pas doublée par des bâtiments, car l'espace Q est une cour. En V, la courtine T est percée d'une large poterne munie de vantaux et d'un pont-levis; le seuil de cette poterne est placé à huit mètres au-dessus de la base extérieure de la muraille. À partir de cette base, l'escarpement du plateau étant assez abrupt, il n'est guère possible d'admettre qu'un pont à niveau donnait accès à la poterne; quoique en face, à cinquante mètres environ du rempart, il existe un mamelon qui paraît élevé en partie à main d'homme et qui semble avoir été surmonté d'un châtelet. Nous serions disposés à croire que la poterne V était munie d'une de ces trémies assez fréquemment employées dans les châteaux pour faire entrer, au moyen d'un treuil, les approvisionnements de toute nature, sans être obligé d'admettre des personnes étrangères à la garnison dans l'enceinte intérieure; dans ce cas, le châtelet, placé sur le mamelon en dehors, aurait été destiné à masquer et à protéger l'introduction des approvisionnements. Comme surcroît de précaution, le contre-fort nord-est de la tour O, relié à la chapelle Y, est percé d'une porte garnie de vantaux et d'une herse. Si donc il était nécessaire d'admettre des étrangers dans la cour Q pour l'approvisionnement du château, ceux-ci ne pouvaient pénétrer dans la cour intérieure, ni même voir ce qui s'y passait. Nous verrons tout à l'heure quelle était l'utilité double de cette porte X. La tour carrée O possède cinq étages au-dessus du rez-de-chaussée, se démanchant avec les planchers du donjon et ne communiquant, comme nous l'avons dit, avec ceux-ci que par des passages détournés et des bouts de rampes. C'était un ouvrage qui, au besoin, pouvait s'isoler, commandait les dehors par son élévation, donnait des signaux aux défenses supérieures de la grosse tour I et en pouvait recevoir. Les deux entrées principales du château G et V étaient ainsi fortement protégées par des ouvrages très-élevés et puissants, et les deux angles sud-ouest et nord-est du donjon, bien appuyés, bien flanqués, couvraient sa masse. Quant à l'angle sud-est, le plus exposé, il était devancé par une tour très-haute Z possédant une guette et cinq étages de défenses. Ce n'était pas par sa propre construction que le donjon de Pierrefonds, l'habitation seigneuriale, se défendait, mais par les appendices considérables dont il était entouré.
Les autres parties du château de Pierrefonds ne sont pas moins intéressantes à observer. La grand'salle était en a, couverte par une charpente avec entraits apparents, suivant l'usage. Une large cheminée la chauffait. La grand'salle était en communication avec une seconde salle b, d'où l'on parvenait à la tour du coin c. La construction de cette tour est fort singulière, et nous pensons qu'on peut la regarder comme destinée aux oubliettes. Il n'est pas un château dans lequel les Guides ne vous fassent voir des oubliettes, et généralement ce sont les latrines qui sont accusées d'avoir englouti des victimes humaines sacrifiées à la vengeance des châtelains féodaux; mais, cette fois, il nous parait difficile de ne pas voir de véritables oubliettes dans la construction de la tour sud-ouest du château de Pierrefonds. Au-dessus du rez-de-chaussée est un étage voûté en arcs ogives, et au-dessous de cet étage une cave d'une profondeur de 7 mètres, voûtée en calotte elliptique. On ne peut descendre dans cette cave que par un oeil percé à la partie supérieure de la voûte, c'est-à-dire au moyen d'une échelle ou d'une corde à noeuds; au centre de l'aire de cette cave circulaire est creusé un puits, qui nous a paru avoir huit mètres de profondeur, bien qu'en partie comblé; puits dont l'ouverture de 1m,60 de diamètre correspond à l'oeil pratiqué au centre de la voûte elliptique de la cave. Cette cave, qui ne reçoit ni jour ni air de l'extérieur, est accompagnée d'un siége d'aisance pratiqué dans l'épaisseur du mur. Elle était donc destinée à recevoir un être humain, et le puits creusé au centre de son aire était probablement une tombe toujours ouverte pour les malheureux que l'on voulait faire disparaître à tout jamais 135 (voy. OUBLIETTES).
Ce qui viendrait appuyer encore notre opinion, c'est que la grand'salle a servait, suivant l'usage, de tribunal (son parquet était placé en a'). Les justiciables cités devant le tribunal du seigneur étaient introduits par le corps de garde M dans la salle d'attente b, sans pouvoir entrer dans la cour du château, puisque la herse du passage L est placée au delà de l'entrée du corps de garde. C'était là, en effet, un point important, aucune personne étrangère à la garnison ne devant, à cette époque, pénétrer dans un château, à moins d'une permission spéciale. Après avoir subi la question dans la tour e joignant la grand'salle, si les accusés étaient reconnus coupables, ils étaient ramenés devant la tribune a' pour entendre prononcer leur condamnation, et de là entraînés dans la tour du coin c pour y être enfermés soit dans la salle du rez-de-chaussée, soit dans la cave, soit enfin dans le cul de basse-fosse que nous venons de décrire, suivant la rigueur de la peine qu'ils devaient subir. S'ils étaient reconnus innocents, ils sortaient par le corps de garde comme ils étaient entrés, sans pouvoir donner les moindres détails sur les dispositions intérieures du château, puisqu'ils n'avaient vu que le tribunal et ses annexes.
La grand'salle a et cette annexe b occupaient toute la hauteur du bâtiment en aile. La tour e était munie de cinq étages de défenses, flanquait la courtine et commandait le dehors des lices.
La garnison logeait dans l'aile du nord, et au rez-de-chaussée les cuisines étaient très-probablement disposées en l. Un grand escalier à vis f montait aux deux étages de cette aile au-dessus du rez-de-chaussée. La tour g contient de grandes latrines à tous les étages, ce qui indique sur ce point un nombreux personnel. Ces latrines sont ingénieusement disposées pour éviter l'odeur. Elles ont à l'étage inférieur une large fosse avec conduit latéral pour l'extraction des matières, et tuyau de ventilation 136. Un poste était établi dans les salles h. Les deux tours UU', les mieux conservées de tout le château, sont admirables comme construction et dispositions défensives; tous leurs étages, sauf les caves, sont munis de cheminées. Deux autres salles réservées à la garnison sont situées en m. C'était par la salle n que l'on descendait aux vastes caves qui s'étendent sous l'aile de l'ouest. Nous donnons en B le plan de l'étage inférieur de l'aile du nord au niveau du sol des lices, qui se trouve à huit mètres en contrebas du sol de la cour intérieure. En p est une petite poterne fermée seulement par des vantaux. C'était par cette poterne que devaient sortir et rentrer les rondes en cas de siége et avant la prise des lices. Pour se faire ouvrir la porte, les rondes se faisaient reconnaître au moyen d'un porte-voix pratiqué à la gauche de cette poterne, et qui, se divisant en deux branches dans l'épaisseur du mur de refend, correspondait au poste du rez-de-chaussée h et au premier étage. Il fallait ainsi que deux postes séparés eussent reconnu la ronde pour faire ouvrir la poterne par des hommes placés dans un entresol situé au-dessus de l'espace q, à mi-étage. Mais ces hommes n'entendaient pas le mot de passe jeté par ceux du dehors dans le porte-voix, et ne devaient aller ouvrir la poterne, en descendant par un escalier de bois pratiqué en u, qu'après en avoir reçu avis du poste supérieur. D'ailleurs, en cas de trahison, le poste voûté de l'entresol, ne communiquant pas avec le rez-de-chaussée de la cour, n'eût pas permis à l'ennemi de s'introduire dans le château, en admettant qu'il fût parvenu à surprendre ce poste. Une fois la ronde entrée par la poterne p, il était nécessaire qu'elle connût les distributions intérieures du château; car, pour parvenir à la cour, il lui fallait suivre à gauche le couloir s, se détourner sous l'aile de l'est, monter par le petit escalier à vis t, passer sur un pont volant assez élevé au-dessus de la cour Q, et se présenter devant la porte X fermée de vantaux et par une herse. Si une troupe ennemie s'introduisait par la poterne p, trois couloirs se présentaient à elle, dont deux, les couloirs r et k, sont des impasses; elle risquait ainsi de s'égarer et de perdre un temps précieux.
Si les dispositions défensives du château de Pierrefonds n'ont pas la grandeur majestueuse de celles du château de Coucy, elles ne laissent pas d'être combinées avec un art, un soin et une recherche dans les détails, qui prouvent à quel degré de perfection étaient arrivées les constructions des places fortes seigneuriales à la fin du XIVe siècle, et jusqu'à quel point les châtelains à cette époque étaient en défiance des gens du dehors.
Les lices EE'E" étaient autrefois munies de merlons détruits pour placer du canon à une époque plus récente; elles dominent l'escarpement naturel qui est de vingt mètres environ au-dessus du fond du vallon. Au sud de la basse-cour, le plateau s'étend de plain-pied en s'élargissant et se relie à une chaîne de collines en demi-lune présentant sa face concave vers la forteresse. Cette situation était fâcheuse pour le château, du moment que l'artillerie à feu devenait un moyen ordinaire d'attaque, car elle permettait d'envelopper la face sud d'un demi-cercle de feux convergents. Aussi, dès l'époque de Louis XII, deux forts en terre, dont on retrouve encore la trace, avaient été élevés au point de jonction du plateau avec la chaîne de collines. Entre ces forts et la basse-cour, de beaux jardins s'étendaient sur le plateau, et ils étaient eux-mêmes entourés de murs de terrasses avec parapets.
Nous avons vainement cherché les restes des aqueducs qui devaient nécessairement amener de l'eau dans l'enceinte du château de Pierrefonds. Nulle trace de puits dans cette enceinte, non plus que dans la basse-cour. Les approvisionnements d'eau étaient donc obtenus au moyen de conduites qui prenaient les sources que l'on rencontre sur les rampants des collines se rattachant au plateau. Tout ce qui est nécessaire à la vie journalière d'une nombreuse garnison et à sa défense est trop bien prévu ici pour laisser douter du soin apporté par les constructeurs dans l'exécution des aqueducs. Il serait intéressant de retrouver la trace de ces conduits au moyen de fouilles dirigées avec intelligence.

Une vue cavalière du château de Pierrefonds, prise du côté des lices du nord (25), fera saisir l'ensemble de ces dispositions, qui sont encore aujourd'hui très-imposantes malgré l'état de ruine des constructions.
Mais ce qui doit particulièrement attirer notre attention dans cette magnifique résidence, c'est le système de défense nouvellement adopté à cette époque. Chaque portion de courtine est défendue à sa partie supérieure par deux étages de chemins de ronde, l'étage inférieur étant muni de machicoulis, créneaux et meurtrières; l'étage supérieur, sous le comble, de créneaux et meurtrières seulement (voy. ARCHITECTURE MILITAIRE, fig. 37). Les sommets des tours possèdent trois, quatre et cinq étages de défenses, un chemin de ronde avec machicoulis et créneaux au niveau de l'étage supérieur des courtines, un ou deux étages de créneaux avec meurtrières intermédiaires et un parapet crénelé autour des combles. Si l'on s'en rapporte à une vignette assez ancienne (XVIe siècle), la tour e, bâtie au milieu de la courtine de l'ouest, vers la ville, possédait cinq étages de défenses, ainsi que celles du coin Z et du donjon I. Une guette très-élevée surmontait celle du coin. Malgré la multiplicité de ces défenses, elles pouvaient être garnies d'un nombre de défenseurs relativement restreint, car elles sont disposées avec ordre, les communications sont faciles, les courtines sont bien flanquées par des tours saillantes et rapprochées, les rondes peuvent se faire de plain-pied tout autour du château à la partie supérieure sans être obligé de descendre des tours sur les courtines et de remonter de celles-ci dans les tours, ainsi que l'on était forcé de le faire dans les châteaux des XIIe et XIIIe siècles. On remarquera qu'aucune meurtrière n'est percée à la base des tours. Ce sont les crénelages des murs extérieurs des lices qui seuls défendaient les approches. La garnison, forcée dans cette première enceinte, se réfugiait dans le château, et, occupant les étages supérieurs, bien couverts par de bons parapets, écrasait les assaillants qui tentaient de s'approcher du pied des remparts.
Bertrand Du Guesclin avait attaqué quantité de châteaux bâtis pendant les XIIe et XIIIe siècles, et profitant du côté faible des dispositions défensives de ces places fortes, il faisait, le plus souvent, appliquer des échelles le long des courtines basses des châteaux de cette époque, en ayant le soin d'éloigner les défenseurs par une grèle de projectiles; il brusquait l'assaut et prenait les places autant par échelades que par les moyens lents de la mine et de la sape.
Nous avons indiqué, dans les notes sur la description du Louvre de Guillaume de Lorris, comment la défense des anciens châteaux des XIIe et XIIIe siècles exigeait un grand nombre de postes divisés, se défiant les uns des autres et se gardant séparément. Ce mode de défense était bon contre des troupes n'agissant pas avec ensemble, et procédant, après un investissement préalable, par une succession de siéges partiels ou par surprise; il était mauvais contre des armées disciplinées entraînées par un chef habile qui, abandonnant les voies suivies jusqu'alors, faisait sur un point un grand effort, enlevait les postes isolés sans leur laisser le temps de se reconnaître et de se servir de tous les détours et obstacles accumulés dans la construction des forteresses. Pour se bien défendre dans un château du XIIIe siècle, il fallait que la garnison n'oubliât pas un instant de profiter de tous les détails infinis de la fortification. La moindre erreur ou négligence rendait ces obstacles non-seulement inutiles, mais même nuisibles aux défenseurs; et dans un assaut brusqué, dirigé avec énergie, une garnison perdait ses moyens de résistance à cause même de la quantité d'obstacles qui l'empêchaient de se porter en masses sur un point attaqué. Les défenseurs, obligés de monter et de descendre sans cesse, d'ouvrir et de fermer quantité de portes, de filer un à un dans de longs couloirs et des passages étroits, trouvaient la place emportée avant d'avoir pu faire usage de toutes leurs ressources. Cette expérience profita certainement aux constructeurs de forteresses à la fin du XIVe siècle; ils élevèrent les courtines pour se garantir des échelades, n'ouvrirent plus de meurtrières dans les parties basses des ouvrages, mais les renforcèrent par des talus qui avaient en outre l'avantage de faire ricocher les projectiles tombant des machicoulis; ils mirent les chemins de ronde et courtines en communication directe, afin de présenter, au sommet de la fortification, une ceinture non-interrompue de défenseurs pouvant facilement se rassembler en nombre vers le point attaqué et recevant les ordres avec rapidité; ils munirent les machicoulis de parapets solides bien crénelés et couverts, pour garantir les hommes contre les projectiles lancés du dehors. Les chemins de ronde donnant dans les salles supérieures servant de logements aux troupes (des bâtiments étant alors adossés aux courtines), les soldats pouvaient à toute heure et en un instant occuper la crête des remparts.
Le château de Pierrefonds remplit exactement ce nouveau programme. Nous avons fait le calcul du nombre d'hommes nécessaire pour garnir l'un des fronts de ce château. Ce nombre pouvait être réduit à soixante hommes pour les grands fronts et à quarante pour les petits côtés. Or pour attaquer deux fronts à la fois, il faudrait supposer une troupe très-nombreuse, deux mille hommes au moins, tant pour faire les approches que pour forcer les lices, s'établir sur les terre-plains E E'E'', faire approcher les engins et les protéger. La défense avait donc une grande supériorité sur l'attaque. Par les larges machicoulis des chemins de ronde inférieurs, elle pouvait écraser les pionniers qui auraient voulu s'attacher à la base des murailles. Pour que ces pionniers pussent commencer leur travail, il eût fallu soit creuser des galeries de mines, soit établir des passages couverts en bois; ces opérations exigeaient beaucoup de temps, beaucoup de monde et un matériel de siége. Les tours et courtines sont d'ailleurs renforcées à la base par un empattement qui double à peu près l'épaisseur de leurs murs, et la construction est admirablement faite en bonne maçonnerie, avec revêtement de pierre de taille dure. Les assaillants se trouvaient, une fois dans les lices, sur un espace étroit, ayant derrière eux un précipice et devant eux de hautes murailles couronnées par plusieurs étages de défenses; ils ne pouvaient se développer, leur grand nombre devenait un embarras; exposés aux projectiles de face et d'écharpe, leur agglomération sur un point devait être une cause de pertes sensibles; tandis que les assiégés, bien protégés par leurs chemins de ronde couverts, dominant la base des remparts à une grande hauteur, n'avaient rien à redouter et ne perdaient que peu de monde. Une garnison de trois cents hommes pouvait tenir en échec un assiégeant dix fois plus fort pendant plusieurs mois. Si, après s'être emparé des deux forts du jardin et de la basse-cour de Pierrefonds, l'assiégeant voulait attaquer le château par le côté de l'entrée, il lui fallait combler un fossé très-profond enfilé par la grosse tour I du donjon et par les deux tours de coin; sa position était plus mauvaise encore, car soixante hommes suffisaient largement sur ce point pour garnir les défenses supérieures; et, pendant l'attaque, une troupe, faisant une sortie par la poterne p, allait prendre l'ennemi en flanc dans le fossé, soit par le terre-plain E, soit par celui E''. Le châtelain de Pierrefonds pouvait donc, à l'époque où ce château fut construit, se considérer comme à l'abri de toute attaque, à moins que le roi n'envoyât une armée de plusieurs mille hommes bloquer la place et faire un siége en règle. L'artillerie à feu seule pouvait avoir raison de cette forteresse, et l'expérience prouva que, même devant ce moyen puissant d'attaque, la place était bonne; Henri IV voulut la réduire; elle était encore entre les mains d'un ligueur nommé Rieux 137; le duc d'Épernon se présenta devant Pierreronds, en mars 1591, avec un gros corps d'armée et du canon; mais il n'y put rien faire, et leva le siége après avoir reçu un coup de feu pendant une attaque générale qui fut repoussée par Rieux et quelques centaines de routiers qu'il avait avec lui. Toutefois, ce capitaine, surpris avec un petit nombre des siens pendant qu'il faisait le métier de voleur de grand chemin, fut pendu à Noyon, et la place de Pierrefonds, commandée par son lieutenant, Antoine de Saint-Chamant, fut de nouveau assiégée par l'armée royale, sous les ordres de François des Ursins, qui n'y fit pas mieux que d'Épernon. Une grosse somme d'argent donnée au commandant de Pierrefonds fit rentrer enfin cette forteresse dans le domaine royal 138.
En 1616, le marquis de Coeuvre, capitaine de Pierrefonds, ayant embrassé le parti des Mécontents, le cardinal de Richelieu fit décider dans le conseil du roi que la place serait assiégée par le comte d'Auvergne. Cette fois elle fut attaquée avec méthode et en profitant de la disposition des collines environnantes. Des batteries, protégées par de bons épaulements qui existent encore, furent élevées sur la crête de la demi-lune de coteaux qui cerne le plateau à son extrémité sud. Les deux fortins ayant été écrasés de feux furent abandonnés par les assiégés; le comte d'Auvergne s'en empara aussitôt, y établit des pièces de gros calibre, et, sans laisser le temps à la garnison de se reconnaître, ouvrit contre la grosse tour du donjon, la courtine sud et les deux tours du coin, un feu terrible qui dura deux jours sans relâche. À la fin du second jour, la grosse tour du donjon s'écroula, entraînant dans sa chute une partie des courtines environnantes. Le capitaine Villeneuve, qui commandait pour le marquis, s'empressa dès lors de capituler, et Richelieu fit démanteler la place, trancher les tours du nord, et détruire la plus grande partie des logements.
Tel qu'il est encore aujourd'hui, avec ses bâtiments rasés et ses tours éventrées à la sape, le château de Pierrefonds est un sujet d'études inépuisable. Des fouilles ont déjà dégagé les ouvrages du sud vers le fossé, et si ces travaux étaient continués, ils donneraient des renseignements précieux; car c'est de ce côté que devaient être les défenses les plus fortes, comme étant le plus accessible. On voit encore dans les salles ruinées du donjon des traces qui indiquent leur décoration intérieure et qui consistait principalement en boiseries appliquées contre les murs. Les rainures destinées à recevoir les bâtis de ces lambris existent, ainsi que de nombreux scellements et quantité de clous à crochets propres à suspendre des tapisseries. Bien que la destruction de cette forteresse ait été une nécessité, on ne peut, en voyant ses ruines importantes, s'empêcher de regretter qu'elle ne soit pas parvenue intacte jusqu'à nos jours, car elle présentait certainement le spécimen le plus complet d'un château bâti d'un seul jet, à une époque où l'artillerie à feu n'était pas encore employée comme moyen d'attaque contre les forteresses, et où cependant les armes à jet du moyen âge et tous les engins de siége avaient atteint leur plus grande perfection. Il nous donnerait une idée de ce qu'étaient ces demeures déjà richement décorées à l'intérieur, où les habitudes de luxe et de comfort même commençaient à prendre, dans la vie des seigneurs, une grande place.

Si nous voulons voir un château de la même époque, mais bâti dans des proportions plus modestes, il nous faut aller à Sully-sur-Loire. Le plan que nous en donnons (26) est à la même échelle que celui de Pierrefonds 139. Les tours de ces deux forteresses, combinées de la même manière au point de vue de la défense à leur sommet, sont de diamètres égaux. Mais Pierrefonds est un château bâti sur un escarpement, tandis que Sully est un château de plaine élevé sur le bord de la Loire, entouré de larges et profonds fossés B alimentés par le fleuve. C'est le bâtiment principal F, le donjon, qui fait face à la Loire et qui n'en est séparé que par un fossé et une levée assez étroite. En avant de l'unique entrée C est la basse-cour entourée d'eau et protégée par des murs d'enceinte dont les soubassements existent seuls aujourd'hui. La porte est, conformément aux dispositions adoptées dès le XIIIe siècle, divisée en porte charretière et poterne, ayant l'une et l'autre leur pont-levis particulier. Lorsqu'on est entré dans la cour D, on ne peut pénétrer dans le donjon F qu'en passant sur un second pont-levis jeté sur un fossé et une porte bien défendue flanquée de deux tourelles, dont l'une contient l'escalier qui dessert les trois étages de ce bâtiment. Outre cet escalier principal, chaque tour possède son escalier de service. Les étages des tours, comme à Pierrefonds, ne sont point voûtés, mais séparés par des planchers en bois. Le corps de logis F, divisé en deux salles, possède un rez-de-chaussée et deux étages fort beaux 140, le second étant mis en communication avec les chemins de ronde munis de machicoulis, de meurtrières et de créneaux. Comme à Pierrefonds aussi, les tours dominent de beaucoup le grand corps de logis F, qui lui-même commande les bâtiments en aile. Les côtés G étaient seulement défendus par des courtines couvertes et une tour de coin 141.

La vue cavalière de ce château (27), prise vers l'angle sud-ouest du donjon, explique la disposition générale des bâtiments et les divers commandements. Il n'y a qu'un étage de défenses à Sully, mais la largeur des fossés remplis d'eau était un obstacle difficile à franchir; il n'était pas nécessaire, comme à Pierrefonds, de se prémunir contre les approches et le travail des mineurs 142.
Nous ne croyons pas nécessaire de multiplier les exemples de châteaux bâtis de 1390 à 1420, car, en ce qui touche à la défense, ces constructions ont, sur toute la surface de la France, une analogie frappante. Si, au XIIe siècle, on rencontre des différences notables dans la façon de fortifier les résidences seigneuriales, au commencement du XVe siècle il y avait unité parfaite dans le mode général de défense des places et dans les habitudes intérieures du châtelain. Une grande révolution se préparait cependant, révolution qui devait à tout jamais détruire l'importance politique des châteaux féodaux; l'artillerie à feu devenait un moyen terrible d'attaque et de défense; employée d'abord en campagne contre les armées mobiles, on reconnut bientôt qu'elle pouvait servir à la défense des forteresses. On plaça donc des bouches à feu à l'entour des châteaux, le long des lices et sur les plates-formes. Beaucoup de donjons et de tours virent enlever leur toiture, qui fut remplacée par des terrasses pour loger de l'artillerie. Toutefois ces engins, posés sur des points très-élevés, devaient causer au milieu des assaillants plus d'effroi que de mal; leur feu plongeant et assez rare (ces pièces étant fort longues à charger) ne causait pas grand dommage. D'un autre côté, les assiégeants amenèrent aussi des pièces de fort calibre pour battre les murailles, et leur effet fut tel que les possesseurs des châteaux reconnurent bientôt qu'il fallait modifier les défenses pour les préserver contre ces nouveaux engins de destruction. Ce ne fut qu'à grand'peine cependant qu'ils se rendirent à l'évidence, tant les vieilles tours de leurs châteaux leur inspiraient de confiance. L'artillerie à feu fut, au contraire, adoptée avec empressement par les armées nationales, par le peuple et la royauté. Le peuple, soit instinct, soit calcul, comprit rapidement qu'il avait enfin entre les mains le moyen de détruire cette puissance féodale à laquelle, depuis le XIVe siècle, il avait voué une haine mortelle. Une armée de vilains ne savait pas résister à ces hommes couverts de fer, habitués dès l'enfance au maniement des armes et possédant cette confiance en leur force et leur courage qui supplée au nombre. Les tentatives de révolte ouverte avaient été d'ailleurs cruellement châtiées pendant le XIVe siècle, et à la place des vieux châteaux du XIIe siècle, les populations des campagnes et des bourgades avaient vu, pendant le règne de Charles V et au commencement de celui de Charles VI, leurs seigneurs dresser de nouvelles forteresses aussi imposantes d'aspect qu'elles étaient bien munies et combinées pour la défense. Les barons, plus orgueilleux que jamais, malgré la diminution de leur puissance politique, n'avaient pas à craindre les soulèvements populaires derrière leurs murailles, et regardaient alors un bon château comme un moyen de composer avec les partis qui déchiraient le pays. La royauté affaiblie, ruinée, sans influence sur ses grands vassaux, semblait en être revenue aux humiliations des derniers Carlovingiens. L'invasion étrangère ajoutait encore à ces malheurs, et les seigneurs, soit qu'ils restassent fidèles au roi de France, soit qu'ils prissent parti pour les Bourguignons et les Anglais, conservaient leurs places fortes comme un moyen d'obtenir des concessions de l'un ou l'autre parti au détriment des populations, qui, dans ces intrigues et ces marchés, étaient toujours foulées et supportaient seules les frais et les dommages d'une guerre désastreuse.
Cependant des bourgeois, des gens de métier cherchaient à tirer parti de la nouvelle puissance militaire que le XIVe siècle avait vu naître, et, vers 1430, grâce à leurs efforts, les armées royales pouvaient déjà dresser des batteries de canons devant les châteaux (voy. ARCHITECTURE MILITAIRE).
Mais alors, en France, la noblesse comme le peuple étaient tout occupés à chasser les Anglais du royaume, et la grande guerre étouffait ces querelles de seigneur à seigneur, non qu'elles n'eussent toujours lieu, mais elles n'avaient pas d'importance en face des événements qui agitaient la nation. Aussi, peu de châteaux furent élevés pendant cette période de luttes terribles. Dans les châteaux bâtis vers le milieu du XVe siècle, on voit cependant que l'artillerie à feu commence à préoccuper les constructeurs; ceux-ci n'abandonnent pas l'ancien système de courtines flanquées de tours, système consacré par un trop long usage pour être mis brusquement de côté; mais ils le modifient dans les détails; ils étendent les défenses extérieures et ne songent pas encore à placer du canon sur les tours et courtines. Conservant les couronnements pour la défense rapprochée, ils garnissent de bouches à feu les parties inférieures des tours.
Cette transition est fort intéressante à étudier, et quoique nous possédions peu de châteaux qui aient été bâtis d'un seul jet pendant le règne de Charles VII, il en est un cependant que nous donnerons ici, tant à cause de son état de conservation que parce que son système de défense est suivi avec méthode dans toutes ses parties; c'est le château de Bonaguil. Sis à quelques kilomètres de Villeneuve-d'Agen, ce château est bâti sur un promontoire qui commande un défilé; son assiette est celle de tous les châteaux de montagne; entouré d'escarpements, il n'est accessible que d'un seul côté.

En voici le plan (28) 143: en A est la première entrée, munie d'un pont-levis et s'ouvrant dans un ouvrage avancé, sorte de barbacane ou de boulevard O. On voit ici déjà que les constructeurs se sont efforcés de flanquer cette première défense. En R étaient des écuries probablement.
Un large fossé taillé dans le roc sépare l'ouvrage avancé du château, dans lequel on pénètre par un second pont-levis B avec porte et poterne C. Un donjon E, de forme bizarre, commande les dehors, l'ouvrage avancé O et les fossés. En P sont élevés les bâtiments d'habitation auxquels on arrive par un bel escalier à vis J. D est la rampe qui monte à la porte surélevée du donjon E. En S est un ouvrage séparé du château par le donjon. Comme à Pierrefonds, le donjon établit une séparation entre deux cours. Les ponts-levis relevés, on ne pouvait s'introduire dans le château qu'en franchissant la poterne F percée dans le mur de contre-garde extérieur, en suivant le fond du fossé N, en franchissant une seconde porte G percée dans une traverse, une troisième porte H donnant sur une belle plate-forme M, en prenant l'escalier I, et passant par un petit pont-levis K. Là on trouvait un bel et large escalier à paliers ne communiquant à l'escalier J intérieur que par un étroit et sombre couloir sur lequel, à droite et à gauche, s'ouvrent des meurtrières. Le grand escalier ne monte que jusqu'au rez-de-chaussée, surélevé de la cour intérieure; sa cage se termine à son sommet par une grosse tour carrée en communication avec les appartements. On voit qu'ici, comme dans les anciens châteaux féodaux, toutes les précautions les plus minutieuses étaient prises pour masquer les entrées et les rendre d'un accès difficile. Par le fait, il n'y a qu'une seule entrée, celle A B, les détours que nous venons de décrire ne pouvant être pratiqués que par les familiers du château et pour faire des sorties lorsque besoin était. Mais des dispositions, toutes nouvelles alors, viennent modifier l'ancien système défensif; d'abord l'ouvrage avancé O avec la plate-forme M donnent des saillants considérables, qui battent les dehors au loin, et flanquent le château du côté où il est accessible de plain-pied; puis au ras de la contrescarpe des fossés, au niveau de la crête des murs de contre-garde, des embrasures pour du canon sont percées à rez-de-chaussée dans les courtines et les étages inférieurs des tours; les tours sont à peine engagées, pour mieux flanquer les courtines. Si l'on en juge par l'ouverture des portes qui donnent entrée dans les tours, les pièces mises ainsi en batterie à rez-de-chaussée ne pouvaient être d'un gros calibre. Quant aux couronnements, ils sont munis de chemins de ronde saillants avec machicoulis et créneaux; mais les consoles portant les parapets de la grosse tour cylindrique ne sont plus de simples corbeaux de 0,30 c. à 0,40 c. d'épaisseur; ce sont de gros encorbellements, des pyramides posées sur la pointe, qui résistaient mieux au boulet que les supports des premiers machicoulis (voy. MACHICOULIS). Les merlons des parapets sont percés de meurtrières qui indiquent évidemment, par leur disposition, l'emploi d'armes à feu de mains.

Voici (29) une vue cavalière de ce château, prise du côté de l'entrée 144. On voit, dans cette figure, que les embrasures destinées à l'artillerie à feu sont percées dans les étages inférieurs des constructions, et suivent la déclivité du terrain, de manière à raser les alentours. Pour les couronnements des tours, la méthode adoptée au XIVe siècle est encore suivie. La transition est donc évidente ici, et le problème que les architectes militaires cherchaient à résoudre dans la construction des places fortes vers le milieu du XVe siècle pourrait être résumé par cette formule: «Battre les dehors au loin, défendre les approches par un tir rasant de bouches à feu, et se garantir contre l'escalade par un commandement très-élevé, couronné suivant l'ancien système pour la défense rapprochée. 145» Le donjon, couvert en terrasse et fortement voûté, était fait aussi pour recevoir du canon à son sommet, ce qui était d'ailleurs justifié par les abords qui, d'un côté, commandent le château.
Sous Louis XI, la ligue du Bien Public marqua le dernier effort de l'aristocratie féodale pour ressaisir son ancienne puissance; à cette époque, beaucoup de seigneurs garnirent leurs châteaux de nouvelles défenses appropriées à l'artillerie; ces défenses consistaient principalement en ouvrages extérieurs, en grosses tours épaisses et percées d'embrasures pour recevoir du canon, en plates-formes ou boulevards commandant les dehors.
Le plan du château d'Arques, que nous avons donné (fig. 4), a conservé en B un ouvrage de la fin du XVe siècle, disposé en avant de l'ancienne entrée pour battre le plateau situé en face du côté du nord, et empêcher un assiégeant d'enfiler la cour du château, au moyen de batteries montées sur ce plateau, qui n'en est séparé que de deux cents mètres. Ces défenses jouèrent un rôle assez important pendant la journée d'Arques, le 21 septembre 1589, en envoyant quelques volées de leurs pièces au milieu de la cavalerie de Mayenne, au moment où la victoire était encore incertaine. L'ouvrage avancé du château d'Arques est bien construit et possède, pour l'époque, d'assez bons flanquements. Dans les positions déjà très-fortes par la situation des lieux, les seigneurs féodaux prirent généralement peu de souci de l'artillerie et se contentèrent de quelques fortins élevés autour de leurs demeures pour protéger les abords et commander les chemins; c'est surtout autour des châteaux de plaine que des travaux furent exécutés, à la fin du XVe siècle, pour présenter des obstacles à l'artillerie à feu, que l'on découronna un grand nombre de tours afin de les terrasser et d'y placer du canon, que l'on fit des remblais derrière les courtines pour pouvoir mettre sur leur crête des pièces en batterie, et que l'on supprima les vieilles barbacanes pour les remplacer par des plates-formes ou boulevards, carrés ou circulaires. Cependant les seigneurs qui bâtissaient à neuf des châteaux de montagne avaient égard aux nouveaux moyens d'attaque.
Le château de Bonaguil nous a fait voir déjà comment on avait cherché, vers le milieu du XVe siècle, à munir d'artillerie une demeure féodale par certaines dispositions de détail qui ne changeaient rien, en réalité, aux dispositions générales antérieures à cette époque. Il n'en fut pas longtemps ainsi, et les châtelains reconnurent, à leurs dépens, que, pour protéger leur demeure féodale, il fallait planter des défenses en avant et indépendantes des bâtiments d'habitation; qu'il fallait s'étendre en dehors, sur tous les points saillants, découverts, afin d'empêcher l'ennemi de placer ses batteries de siége sur quelque plateau commandant le château.
Ce commencement de la transition entre l'ancien système de défense et le
nouveau est visible dans le château du Hoh-Koenigsbourg, situé entre
Sainte-Marie aux Mines et Schelestadt, sur le sommet d'une des montagnes
les plus élevées de l'Alsace. Au XVe siècle, les seigneurs du
Hoh-Koenigsbourg s'étaient rendus redoutables à tous leurs voisins par
leurs violences et leurs actes de brigandage
146. Les plaintes
devinrent si graves que l'archiduc Sigismond d'Autriche, landgrave de
l'Alsace supérieure, s'allia avec l'évêque de Strasbourg, landgrave de
l'Alsace inférieure, avec les seigneurs de Ribeaupierre, l'évêque et la
ville de Bale, pour avoir raison des seigneurs du Hoh-Koenigsbourg. Les
alliés s'emparèrent en effet du château, en 1462, et le démolirent. Ce
domaine, par suite d'une de ces transmissions si fréquentes dans
l'histoire des fiefs, fut cédé à la maison d'Autriche. Dix-sept ans
après la destruction du Hoh-Koenigsbourg, l'empereur Frédéric IV le
concéda en fief aux frères Oswald et Guillaume, comtes de Thierstein,
ses conseillers et serviteurs
147. Ceux-ci s'empressèrent de relever le
Hoh-Koenigsbourg de ses ruines et en firent une place très-forte pour
l'époque, autant à cause de son assiette naturelle que par ses défenses
propres à placer de l'artillerie a feu.
Nous donnons (30) le plan de l'ensemble de la place. Pour s'expliquer la
forme bizarre de ce plan, il faut savoir que le Hoh-Koenigsbourg est
assis sur le sommet d'une montagne formant une crête de rochers abrupts
dominant la riche vallée de Schelestadt et commandant deux défilés. Les
constructions, à des niveaux très-différents, par suite de la nature
du sol, s'enfoncent dans un promontoire de roches du côté A, et, se
relevant sur un pic en B, suivent la pente de la montagne jusqu'au point
C. Les bâtiments d'habitation sont élevés en D, probablement sur
l'emplacement du vieux château dont on retrouve des portions restées
debout et englobées dans les constructions de 1479. Les frères Oswald et
Guillaume firent trancher une partie du plateau pour établir les gros
ouvrages de contre-approche E. Car c'est par ce côté seulement que le
château est abordable. À deux cents mètres environ de ce point, sur le
prolongement de la crête de la montagne, s'élevait un fortin détruit
aujourd'hui, mais dont l'assiette importait à la sûreté de la place.
L'ouvrage E, terrassé en F, oppose des épaisseurs énormes de maçonnerie
du seul côté où l'assiégeant pouvait établir des batteries de siége.
Vers le rampant de la crête en G est un ouvrage supérieur muni de tours
flanquantes pour du canon, et en H une enceinte inférieure se terminant
en étoile et percée d'embrasures pour des arquebusiers ou des pièces de
petit calibre. Outre ces défenses majeures, une enceinte I flanquée de
tourelles bat l'escarpement et devait enlever aux assaillants tout
espoir de prendre le château par escalade. L'entrée est en K, et l'on
arrive, après avoir pourtourné le gros ouvrage G, aux parties
supérieures occupées par les bâtiments d'habitation, dont nous donnons
le plan (31). La tour carrée L est le donjon qui domine l'ensemble des
défenses et paraît appartenir à l'ancien château; en M est la
grand'salle, une des plus grandioses conceptions du moyen âge qui se
puisse voir. Nous avons l'occasion de revenir sur cette belle
construction au mot SALLE.
Quoique le château du Hoh-Koenigsbourg présente un singulier mélange des anciennes et nouvelles dispositions défensives, on y trouve déjà cependant une intention bien marquée d'employer l'artillerie à feu et de s'opposer à ses effets; sous ce rapport, et à cause de la date précise de sa construction, cette place mérite d'être étudiée. Les constructions paraissent avoir été élevées à la hâte et en partie avec des débris plus anciens; mais on trouve dans leur ensemble une grandeur, une hardiesse qui produisent beaucoup d'effet. La partie réservée à l'habitation particulièrement semble appartenir à des temps héroïques. La grand'salle M, à deux étages, était voûtée à sa partie supérieure, probablement pour placer du canon sur la terrasse. Posées en travers de la crête du rocher, les batteries en barbette, établies sur cette plate-forme très-élevée, commandaient d'un côté le gros ouvrage E et le revers de celui G. Le donjon L est complétement dépourvu d'ouvertures, sauf la porte, qui est étroite et basse. C'était probablement dans cette tour qu'étaient conservées les poudres. Sa partie supérieure, à laquelle on ne pouvait arriver que par un petit escalier extérieur, servait de guette, car elle domine, autant par son assiette sur une pointe de rocher que par sa hauteur, l'ensemble des défenses.
En 1633, le château de Hoh-Koenigsbourg, entretenu et habité par une garnison jusqu'alors, fut assiégé par les Suédois. Ceux-ci, s'étant emparés du fortin extérieur, y montèrent une batterie de mortiers et bombardèrent la place, qui n'était pas faite pour résister à ces terribles engins. Elle fut en partie détruite, incendiée, et la garnison fut obligée de se rendre.
Mais, à la fin du XVe siècle, l'artillerie à feu allait commencer le grand nivellement de la société française. L'artillerie à feu exigeait l'emploi de moyens de défense puissants et dispendieux. Les seigneurs n'étaient plus assez riches pour bâtir des forteresses en état de résister d'une manière sérieuse à ce nouvel agent de destruction, pour les munir efficacement, ni assez indépendants pour pouvoir élever des châteaux purement militaires en face de l'autorité royale, sous les yeux de populations décidées à ne plus supporter les abus du pouvoir féodal. Déjà à cette époque les seigneurs paraissent accepter leur nouvelle condition; s'ils bâtissent des châteaux, ce ne sont plus des forteresses qu'ils élèvent, mais des maisons de plaisance dans lesquelles cependant on trouve encore, comme un dernier reflet de la demeure féodale du moyen âge. Le roi donne lui-même l'exemple; il abandonne les châteaux fermés. La forteresse, devenue désormais citadelle de l'État destinée à la défense du territoire, se sépare du château qui n'est plus qu'un palais de campagne, réunissant tout ce qui peut contribuer au bien-être et à l'agrément des habitants. Le goût pour les résidences somptueuses que la noblesse contracta en Italie pendant les campagnes de Charles VIII, de Louis XII et de François Ier, porta le dernier coup au château féodal. Beaucoup de seigneurs ayant visité les villas et les palais d'outre-mont trouvèrent, au retour, leurs vieilles forteresses patrimoniales sombres et tristes. Conservant le donjon et les tours principales comme signe de leur ancienne puissance, ils jetèrent bas les courtines fermées qui les réunissaient, et les remplacèrent par des bâtiments largement ouverts, accompagnés de loges, de portiques décorés avec luxe. Les bailles ou basses-cours, entourées de défenses et de tours, furent remplacées par des avant-cours contenant des communs destinés au logement des serviteurs, des écuries splendides, des parterres garnis de fleurs, des fontaines, jeux de paume, promenoirs, etc. Les seigneurs ne songeaient plus alors à se faire servir par leurs hommes de corvée, comme cela avait lieu deux siècles avant; ils avaient des serviteurs à gages, qu'il fallait loger et nourrir dans le château et ses dépendances. Peu à peu, les tenanciers à tous les degrés s'étaient exonérés, au moyen de rentes perpétuelles ou de sommes une fois payées, des corvées et de tous les droits seigneuriaux qui sentaient la servitude.
Dès le commencement du XVIe siècle, beaucoup de paysans étaient propriétaires et n'avaient, les divers impôts payés, rien à démêler avec leur seigneur. Depuis le XIIIe siècle, la population des campagnes n'a pas abandonné un seul jour l'espoir de s'affranchir d'abord, puis de devenir propriétaire du sol qu'elle cultive. Il serait curieux (si la chose était possible) de supputer les sommes énormes qu'elle a successivement sacrifiées à cette passion pour la terre. Elle a peu à peu racheté les droits seigneuriaux sur les personnes, droits de main-morte, de formariage, de corvées, de redevances en nature, puis les droits sur la terre; puis enfin, poursuivant son but jusqu'à nos jours, elle a consenti des baux, sous forme de fermages; d'amphithéoses, ne laissant échapper aucune occasion, non-seulement de se maintenir sur le sol, mais de l'acquérir. Aujourd'hui, le paysan achète la terre à des prix énormes, bien plus par amour de la propriété que par intérêt, puisque son capital ne lui rapporte souvent qu'un demi pour cent. Il semble ainsi, par instinct, destiné combattre l'abus du principe de la division de la propriété admis par la révolution du siècle dernier. En face de cette marche persistante de la classe agricole, la féodalité, au XVIe siècle, ayant besoin d'argent pour reconstruire ses demeures et entretenir un personnel toujours croissant de serviteurs à gages, abandonne la plus grande partie de ses droits, se dépouille de ses priviléges, droits de chasse, de pêche, droits sur les routes, ponts, cours d'eau. Les uns sont absorbés par la royauté, les autres par la population des campagnes. Pendant que la noblesse songe à ouvrir ses châteaux, ne comptant plus s'y défendre, qu'elle les rebâtit à grands frais, que son amour pour le luxe et le bien-être s'accroît, elle tarit la source de ses revenus pour se procurer de l'argent comptant. Une fois sur cette voie, on peut prévoir sa ruine définitive. Quelque étendues que fussent ses concessions, quelque affaiblie que fût sa puissance, le souvenir de l'oppression féodale du moyen âge resta toujours aussi vif dans les campagnes; et le jour où, criblés de dettes, leurs châteaux ouverts, la plupart de leurs droits n'existant plus que dans leurs archives, les seigneurs furent surpris par les attaques du tiers-état, les paysans se ruèrent sur leurs demeures pour en arracher jusqu'aux dernières pierres.
La nouvelle forme que revêt la demeure féodale au commencement du XVIe siècle mérite toute notre attention; car, à cette époque, si l'architecture religieuse décroît rapidement pour ne plus se relever, et ne présente que de pâles reflets d'un art mourant qui ne sait où il va, ce qu'il veut ni ce qu'il fut, il n'en est pas de même de l'architecture des demeures seigneuriales. En perdant leur caractère de forteresses, elles en prennent un nouveau, plein de charmes, et dont l'étude est une des plus intéressantes et des plus instructives qui se puisse faire. On a répété partout et sous toutes les formes que l'architecture de la renaissance en France avait été chercher ses types en Italie; on a même été jusqu'à dire que ses plus gracieuses conceptions étaient dues à des artistes italiens. On ne saurait nier que la révolution qui se produit dans l'art de l'architecture, à la fin du XVe siècle, coïncide avec nos conquêtes en Italie; que la noblesse française, sortant de ses tristes donjons, s'était éprise des riantes villas italiennes, et que, revenue chez elle, son premier soin fut de transformer ses sombres châteaux en demeures somptueuses, étincelantes de marbres et de sculptures. Mais ce qu'il faut bien reconnaître, en face des monuments témoins irrécusables, c'est que le désir des seigneurs français fut interprété par des artistes français qui surent satisfaire à ces nouveaux programmes d'une manière complétement originale, qui leur appartient, et qui n'emprunte que bien peu à l'Italie. Il ne faut pas être très-expert en matière d'architecture pour voir qu'il n'y a aucun rapport entre les demeures de campagne des Italiens de la fin du XVe siècle et nos châteaux français de la renaissance. Nulle analogie dans les plans, dans les distributions, dans la façon d'ouvrir les jours et de couvrir les édifices; aucune ressemblance dans les décorations intérieures et extérieures. Le palais de ville et celui des champs, en Italie, présentent toujours une certaine masse rectiligne, des dispositions symétriques, que nous ne retrouvons dans aucun château français de la renaissance et jusqu'à Louis XIV. Si l'architecture ne consistait qu'en quelques profils, quelques pilastres ou frises décorés d'arabesques, nous accorderions volontiers que la renaissance française s'est faite italienne; mais cet art est heureusement au-dessus de ces puérilités; les principes en vertu desquels il doit se diriger et s'exprimer dérivent de considérations bien autrement sérieuses. La convenance, la satisfaction des besoins, l'harmonie qui doit exister entre les nécessités et la forme, entre les moeurs des habitants et l'habitation, le judicieux emploi des matériaux, le respect pour les traditions et les usages du pays, voilà ce qui doit diriger l'architecte avant tout, et ce qui dirigea les artistes français de la renaissance dans la construction des demeures seigneuriales: ils élevèrent des châteaux encore empreints des vieux souvenirs féodaux, mais revêtant une enveloppe nouvelle en rapport avec cette société élégante, instruite, polie, chevaleresque, un peu pédante et maniérée que le XVIe siècle vit éclore et qui jeta un si vif éclat pendant le cours du siècle suivant. Soit instinct, soit raison, l'aristocratie territoriale comprit que la force matérielle n'était plus la seule puissance prépondérante en France, que ses forteresses devenaient presque ridicules en face de la prédominance royale; ses donjons redoutables, de vieilles armes rouillées ne pouvant plus inspirer le respect et la crainte au milieu de populations chaque jour plus riches, plus unies, et commençant à sentir leur force, à discuter, à vivre de la vie politique. En gens de goût, la plupart des seigneurs s'exécutèrent franchement et jetèrent bas les murs crénelés, les tours fermées, pour élever à leur place des demeures fastueuses, ouvertes, richement décorées à l'intérieur comme à l'extérieur, mais dans lesquelles cependant on retrouve bien plus la trace des arts français que celle des arts importés d'Italie. Les architectes français surent tirer un parti merveilleux de ce mélange d'anciennes traditions avec des moeurs nouvelles, et les châteaux qu'ils élevèrent à cette époque sont, la plupart, des chefs-d'oeuvre de goût, bien supérieurs à ce que la renaissance italienne sut faire en ce genre. Toujours fidèles à leurs anciens principes, ils ne sacrifièrent pas la raison et le bon sens à la passion de la symétrie et des formes nouvelles, et n'eurent qu'un tort, celui de laisser dire et croire que l'Italie était la source de leurs inspirations.
Mais, avant de présenter à nos lecteurs quelques exemples de ces châteaux des premiers temps de la renaissance, et pour faire comprendre comment ils satisfaisaient aux moeurs de leurs habitants, il est nécessaire de connaître les penchants des seigneurs à cette époque. On a pu voir que le château féodal fortifié sacrifia tout à la défense, même dans des temps où l'aristocratie avait déjà pris des habitudes de luxe et de bien-être fort avancées. Les moyens de défense de ces demeures consistaient principalement en dispositions imprévues, singulières, afin de dérouter un assaillant; car si tous les châteaux forts eussent été bâtis à peu près sur le même modèle, les mêmes moyens qui eussent réussi pour s'emparer de l'un d'eux auraient été employés pour les prendre tous. Il était donc important, pour chaque seigneur qui construisait une place de sûreté, de modifier sans cesse les détails de la défense, de surprendre l'assaillant par des dispositions que celui-ci ne pouvait deviner. De là une extrême variété dans ces demeures, un raffinement de précautions dans les distributions intérieures, une irrégularité systématique; car chacun s'ingéniait à faire mieux ou autrement que son voisin. Des habitudes de ce genre, contractées par des générations qui se succèdent pendant plusieurs siècles, ne peuvent être abandonnées du jour au lendemain; et un châtelain, faisant rebâtir son château au commencement du XVIe siècle, eût été fort mal logé, à son point de vue, s'il n'eût rencontré à chaque pas, dans sa nouvelle demeure, ces détours, ces escaliers interrompus, ces galeries sans issues, ces cabinets secrets, ces tourelles flanquantes du château de son père ou de son aïeul. Les habitudes journalières de la vie s'étaient façonnées, pendant plusieurs siècles, à ces demeures compliquées à l'intérieur, et ces habitudes, une fois prises, devaient influer sur le programme des nouveaux châteaux, bien que l'utilité réelle de tant de subterfuges architectoniques, commandés par la défense, n'existât plus de fait. Un seigneur du moyen âge, logé dans un des châteaux du XVIIe siècle, où les distributions sont larges et symétriques, où les pièces s'enfilent, sont presque toutes de la même dimension et comprises dans de grands parallélogrammes, où le service est direct, facile, où les escaliers sont vastes et permettent de pénétrer immédiatement au coeur de l'édifice, se fût trouvé aussi mal à l'aise que si on l'eût parqué, lui et sa famille, dans une grande pièce divisée par quelques cloisons. Il voulait des issues secrètes, des pièces petites et séparées des grandes salles par des détours à lui connus, des vues de flanc sur ses façades, des chambres fermées et retirées pour le soir, des espaces larges et éclairés pour les assemblées; il voulait que sa vie intime ne fût pas mêlée à sa vie publique, et le séjour du donjon laissait encore une trace dans ses habitudes. Telle salle devait s'ouvrir au midi, telle autre au nord. Il voulait voir ses bois et ses jardins sous certains aspects, ou bien l'église du village sous laquelle reposaient ses ancêtres, ou telle route, telle rivière. Les yeux ont leurs habitudes comme l'esprit, et on peut faire mourir d'ennui un homme qui cesse de voir ce qu'il voyait chaque jour, pour peu que sa vie ne soit pas remplie par des préoccupations très-sérieuses. La vie des seigneurs, lorsque la guerre ne les faisait pas sortir de leurs châteaux, était fort oisive, et ils devaient passer une bonne partie de leur temps à regarder l'eau de leurs fossés, les voyageurs passant sur la route, les paysans moissonnant dans la plaine, l'orage qui s'abattait sur la forêt, les gens qui jouaient dans la basse-cour. Le châtelain contractait ainsi, à son insu, des habitudes de rêverie qui lui faisaient préférer telle place, telle fenêtre, tel réduit. Il ne faut donc pas s'étonner si, dans des châteaux rebâtis au XVIe siècle, on conservait certaines dispositions étranges qui étaient évidemment dictées par les habitudes intimes du seigneur et des membres de sa famille; certes, l'Italie n'avait rien à voir là-dedans, mais bien les architectes auxquels les châtelains confiaient leurs désirs, résultats d'un long séjour dans un même lieu. Il existe encore en France un assez grand nombre de ces châteaux qui servent de transition entre la demeure fortifiée des seigneurs du moyen âge et le palais de campagne de la fin du XVIe siècle. Leurs plans sont souvent irréguliers comme ceux des châteaux du XIIe au XIVe siècle, soit parce qu'en les rebâtissant on utilisait les anciennes fondations, soit parce qu'on voulait jouir de certains points de vue, conserver des dispositions consacrées par l'usage, ou profiter de l'orientation la plus favorable à chacun des services.

Tel était, par exemple, le château de Creil, élevé sur une île de l'Oise, commencé sous Charles V et rebâti entièrement à la fin du XVe siècle et au commencement du XVIe. Nous en donnons le plan (32) 148. En A était le pont qui réunissait l'île aux deux rives de l'Oise défendu par un petit châtelet; en B, l'entrée de la basse-cour. On pénétrait dans la demeure seigneuriale par un second pont C jeté sur un large fossé rempli d'eau; en D est la cour, entourée des bâtiments d'habitation. Suivant un usage assez fréquent, une petite église, élevée dans la basse-cour, servait de chapelle seigneuriale et de paroisse aux habitants de la ville. En E était un jardin réservé aux habitants du château. Ce plan fait ressortir ce que nous disions tout à l'heure à propos du goût que la noblesse avait conservé pour les dispositions compliquées du château féodal. Celui de Creil, quoiqu'il fût naturellement protégé par son assiette au milieu d'une rivière, n'était point fait pour soutenir un siége; et cependant nous y retrouvons, sinon les tours formidables des châteaux du moyen âge, quantité de tourelles flanquantes, de pavillons en avant-corps uniquement disposés pour jouir de la vue extérieure, et offrir, à l'intérieur, ces cabinets, ces réduits si fort aimés des châtelains.

La vue (33) que nous donnons, prise du châtelet A 149, nous dispensera de plus longs commentaires; elle indique bien clairement que ces tours étroites et ces pavillons saillants n'étaient pas élevés pour les besoins de la défense, mais pour l'agrément des habitants et pour simuler, en quelque sorte, la grande forteresse féodale. On multipliait les guettes, les couronnements aigus, comme pour rappeler, sur une petite échelle, l'aspect extérieur des anciens châteaux hérissés de défenses; mais ce n'était plus là qu'un jeu, un caprice d'un riche seigneur qui, sans prétendre se mettre en guerre avec ses voisins, voulait encore cependant que sa résidence conservât l'apparence d'une demeure fortifiée.

C'était d'après ces données que le château de Chantilly avait été élevé un peu plus tard, mais sur des proportions plus grandioses. Chantilly, situé à quatre kilomètres environ de Senlis, est un des plus charmants lieux de cette partie de la France; de belles eaux, des prairies étendues, des bois magnifiques avaient fait choisir l'assiette du château, qui était moins encore que Creil destiné à la défense. Nous donnons (34) le plan des dispositions d'ensemble de cette résidence, qui fut l'asile de tant de personnages illustres et de beaux esprits. Voici ce qu'en dit Ducerceau 150: «Le bastiment consiste en deux places; la première est une court E, en laquelle sont quelques bastimens ordonnez pour les offices; la seconde est une autre court estant comme triangulaire, et est eslevée plus haute que la première de quelque neuf ou dix pieds, et faut monter de la première pour parvenir à la seconde.» On voit en effet, à côté du pont, le petit escalier qui gagne la différence de niveau entre les deux cours. «Entour de laquelle (court triangulaire) de tous costez est le bastiment seigneurial, faict de bonne manière et bien basty. Iceluy bastiment et court sont fondez sur un rocher, dans lequel y a caves à deux estages, sentant plutost, pour l'ordonnance, un laberinthe qu'une cave, tant y a d'allées les unes aux autres, et toutes voultées. Pour le regard de l'ordonnance du bastiment seigneurial il ne tient parfaictement de l'art antique ne moderne, mais des deux meslez ensemble. Les faces en sont belles et riches... En la court première est l'entrée du logis,» par la grande salle D. «Les faces des bastimens estans en icelle tant dans la court que dehors, suivent l'art antique, bien conduicts et accoustrez. Ces deux courts avec leurs bastimens sont fermez d'une grande eau en manière d'estang dont entre icelles y a séparation comme d'un fossé, par laquelle séparation ladite eau passe au travers. Au-dessus y a un pont pour aller et venir d'une des courts à l'autre. Joignant le grand corps de logis y a une terrace A, pratiquée d'un bout du parc, à laquelle on va de la court du logis seigneurial par le moyen d'un pont P estant sur l'eau, lequel faict séparation du logis seigneurial et de la terrace, et d'icelle on vient au parc par-dessus un arc, sur lequel est praticqué un passage couvert... Ce lieu est accompagné d'un grand jardin B, à l'un des costez duquel est une galerie à arceaux (portique), eslevée un peu plus haut que le rez du jardin. D'un costé d'iceluy jardin est la basse-court I, en laquelle sont plusieurs bastimens ordonnés pour écuries. Outre le grand jardin, et prochain iceluy, y en a un autre, non pas de telle grandeur. Iceux jardins sont environnés de places, esquelles aucunes sont bois, prez, taillis, cerizaies, forts d'arbres, et autres commoditez. Aucunes d'icelles places sont fermées par canaux, les autres non; et en ces places est la haironnerie. Le parc est fort grand, à l'entrée duquel à sçavoir du costé du chasteau, est une eau, qui donne un grand plaisir. Ce lieu est fermé du costé de Paris, de la forest de Senlis, dans laquelle y a une voûte pour aller du lieu au grand chemin de Paris. En somme, ce lieu est tenu pour une des plus belles places de France.»
Dans cette résidence, qui, au point de vue de la construction, n'a rien en réalité d'une forteresse; nous voyons encore toutes les dispositions du château féodal conservées. Isolement au moyen d'étangs et de fossés pleins d'eau, ponts étroits d'un accès peu facile, tourelles flanquantes aux angles, avant-cour avec les offices, basse-cour avec ses dépendances, jardins clos avec promenoir, logis irréguliers et disposés suivant la dimension des pièces qu'ils contiennent, passages détournés, caves immenses permettant d'amasser des provisions considérables, et enfin passage long, voûté pour communiquer, sans être vu, avec la grande route. Cependant le château de Chantilly ne pouvait, pas plus que celui de Creil, opposer une défense sérieuse à une attaque à main armée 151. Les courtines et les tourelles du château étaient ouvertes par de larges fenêtres, les combles garnis de belles lucarnes; mais le chemin de ronde supérieur avec les machicoulis traditionnels sont encore conservés. Si ces galeries supérieures ne pouvaient plus protéger le château contre les effets de l'artillerie, elles étaient souvent conservées pour les besoins du service; car elles donnaient de longs couloirs permettant de desservir toutes les pièces des étages élevés, et facilitaient la surveillance.
On remarquera que tous les corps de logis des châteaux, encore à cette époque, sont simples en épaisseur, c'est-à-dire qu'ils n'ont que la largeur des pièces disposées en enfilade; celles-ci se commandaient, et les couloirs supérieurs, comme les caves, offraient du moins une circulation indépendante des salles et chambres, à deux hauteurs différentes 152. Ce ne fut guère qu'au XVIIe siècle que l'on commença, dans les châteaux, à bâtir des corps de logis doubles en épaisseur.
Cependant, il ne faudrait pas croire que l'irrégularité des plans fût, au commencement du XVIe siècle, une sorte de nécessité, le résultat d'une idée préconçue; au contraire, à cette époque, on cherchait, dans les demeures seigneuriales, la symétrie; on lui sacrifiait même déjà les distributions intérieures, avec l'intention de présenter, à l'extérieur, des façades régulières, un ensemble de bâtiments d'un aspect monumental. Sous ce rapport, l'Italie avait exercé une influence sur les constructeurs français; mais c'était, avec l'emprunt de quelques détails architectoniques, tout ce que les architectes avaient pris aux palais italiens; car, d'ailleurs, le château seigneurial conservait son caractère français, soit dans l'ensemble des dispositions générales, soit dans les distributions intérieures, ses flanquements par des tourelles, ou par la manière de couvrir les bâtiments.

Le beau château du Verger en Anjou, demeure des princes de Rohan-Guémené, joignait ainsi les anciennes traditions du château féodal aux dispositions monumentales en vogue au commencement du XVIe siècle. Il se composait (35) d'une basse-cour dans laquelle on pénétrait par une porte flanquée de tourelles, avec grosses tours aux angles, bâtiments de service symétriquement placés en aile; puis de la demeure seigneuriale, séparée de l'avant-cour par un fossé, flanqué également de quatre grosses tours rondes réunies par de grands corps de logis à peu près symétriques. Un fossé extérieur entourait l'ensemble du château. On voit, dans cette vue, que la courtine de face et ses deux tours sont encore percées à leur base d'embrasures pour recevoir des bouches à feu, qu'elles sont garnies de machicoulis et de créneaux. Ce n'était plus là qu'un signe de puissance, non une défense ayant quelque valeur. Mais, comme nous le disions plus haut, les seigneurs ne pouvaient abandonner ces marques ostensibles de leur ancienne indépendance; pour eux, il n'y avait pas de château sans tours et sans créneaux, sans fossés et pont-levis.

Tel était aussi le beau château de Bury, situé à huit kilomètres de Blois, proche de la Loire. Les bâtiments avaient été élevés par le sire Florimond Robertet, secrétaire d'État sous les rois Charles VIII, Louis XII et François Ier. Ils réunissaient tout ce qui composait une demeure seigneuriale du moyen âge. On entrait dans la cour principale du château par un pont-levis A flanqué de deux tourelles (36). Cette cour F était bordée de trois côtés par des corps de logis parfaitement réguliers, bien qu'ils fussent destinés à contenir des services divers, et terminés aux quatres angles par quatre tours. Du corps de logis du fond on descendait dans un jardin particulier E, avec fontaine monumentale au centre, terminé par deux autres tours isolées aux angles, contenant des logis, et une petite chapelle G. À gauche, en C, était la basse-cour avec son entrée particulière B, des écuries, magasins et dépendances; en D par derrière, une seconde basse-cour avec jardins, treilles, arbres fruitiers, et gros colombier en forme de tour en K. Le parc s'étendait au delà des bâtiments, et le devant du château ainsi que la basse-cour étaient entourés de fossés pleins d'eau. Les logis propres à l'habitation étaient au fond de la cour seigneuriale, à gauche étaient les offices, cuisines; à droite, en H, la galerie, c'est-à-dire la grand'salle que nous voyons conservée encore comme dernier souvenir des moeurs féodales. Un portique élevé derrière la courtine antérieure réunissait les deux ailes de droite et de gauche, et ne s'élevant que d'un rez-de-chaussée, ne masquait pas la vue des étages supérieurs des trois corps de logis. Ici, bien que des tours garnies de machicoulis à leur partie supérieure conservent la forme cylindrique, elles donnent à l'intérieur des chambres carrées, cette disposition étant beaucoup plus commode pour l'habitation que la forme circulaire. Ainsi les usages nouveaux commandaient des distributions qui n'étaient plus en harmonie avec les anciennes traditions, et ces tours, qui ne servaient que pour l'habitation, gardaient encore à l'extérieur leur forme de défense militaire. Le colombier lui-même se donne les airs d'un donjon isolé. On ne faisait plus alors que jouer au château féodal. Quoi qu'il en soit, ces demeures sont, au point de vue de l'art, de charmantes créations, et la vue cavalière que nous donnons du château de Bury (37) 153 fait ressortir, mieux qu'une description, tout ce qu'il y a d'élégance dans ces habitations seigneuriales de la renaissance qui venaient remplacer les sombres châteaux fermés du moyen âge.

Nous ne multiplierons pas ces exemples; ils sont entre les mains de tout le monde, et les monuments sont là qui parlent éloquemment. Blois, Gaillon, Azay-le-Rideau, Chenonceau, Amboise, le château neuf de Loches, le château d'Ussé et tant d'autres demeures seigneuriales du commencement du XVIe siècle, offrent un charmant sujet d'études pour les architectes; elles sont la plus brillante expression de la renaissance française et, ce qui ne gâte rien, la plus raisonnable application de l'art antique chez nous. La royauté donnait l'exemple, et c'est autour d'elle que s'élèvent les plus beaux châteaux du XVIe siècle. Souveraine de fait, désormais, elle donnait l'impulsion aux arts comme à la politique. François Ier, ce roi chevalier qui porta le dernier coup à la chevalerie, détruisait les anciennes résidences royales, et son exemple fit renverser plus de donjons que tous ses devanciers et successeurs réunis ne purent faire par la force. Il jeta bas la grosse tour du Louvre, de laquelle relevaient tous les fiefs de France. Quel seigneur de la cour, après cela, pouvait songer à conserver son nid féodal? Ce prince commence et achève la transition entre la demeure seigneuriale du moyen âge et le château moderne, celui de Louis XIII et de Louis XIV. Il bâtit Chambord et Madrid. Le premier de ces deux palais conserve encore l'empreinte du château féodal; le second n'est qu'une demeure de plaisance, dans laquelle on ne trouve plus trace des anciennes traditions. Quoique nous ne soyons pas un admirateur passionné du château de Chambord, il s'en faut de beaucoup, cependant nous ne pouvons le passer sous silence; il doit naturellement clore cet article. Nous en donnons ici le plan (38) 154.

Il n'est personne en France qui n'ait vu cette singulière résidence. Vantée par les uns comme l'expression la plus complète de l'art de l'architecture au moment de la renaissance, dénigrée par les autres comme une fantaisie bizarre, un caprice colossal, une oeuvre qui n'a ni sens ni raison, nous ne discuterons pas ici son mérite; nous prendrons le château de Chambord pour ce qu'il est, comme un essai dans lequel on a cherché à réunir deux programmes sortis de deux principes opposés, à fondre en un seul édifice le château fortifié du moyen âge et le palais de plaisance. Nous accordons que la tentative était absurde; mais la renaissance française est, à son début, dans les lettres, les sciences ou les arts, pleine de ces hésitations; elle ne marche en avant qu'en jetant parfois un regard de regret derrière elle; elle veut s'affranchir du passé et n'ose rompre avec la tradition; le vêtement gothique lui paraît usé, et elle n'en a pas encore un autre pour le remplacer.
Le château de Chambord est bâti au milieu d'un territoire favorable à la chasse, entouré de bois couvrant une plaine agreste; éloigné des villes, c'est évidemment un lieu de plaisir, retiré, parfaitement choisi pour jouir à la fois de tous les avantages qu'offrent la solitude et l'habitation d'un palais somptueux. Pour comprendre Chambord, il faut connaître la cour de François Ier. Ce prince avait passé les premières années de sa jeunesse près de sa mère, la duchesse d'Angoulême, qui, vivant en mauvaise intelligence avec Anne de Bretagne, éloignée de la cour, résidait tantôt dans son château de Cognac, tantôt à Blois, tantôt à sa maison de Romorantin. François avait conservé une affection particulière pour les lieux où s'était écoulée son enfance dans la plus entière liberté. Parvenu au trône, il voulut faire de Chambord, qui n'était jusqu'alors qu'un vieux manoir bâti par les comtes de Blois, un château magnifique, une résidence royale. On prétend que le Primatice fut chargé de la construction de Chambord; le Primatice serait-il là pour nous l'assurer, nous ne pourrions le croire, car Chambord n'a aucun des caractères de l'architecture italienne du commencement du XVIe siècle; c'est, comme plan, comme aspect et comme construction, une oeuvre non-seulement française, mais des bords de la Loire. Si l'on veut nous accorder que le Primatice ait élevé Chambord en cherchant à s'approprier le style français, soit; mais alors cette oeuvre n'est pas de lui, il n'y a mis que son nom, et cela nous importe peu 155.
Le plan de Chambord est le plan d'un château français; au centre est l'habitation seigneuriale, le donjon, flanqué de quatre tours aux angles. De trois côtés, ce donjon est entouré d'une cour fermée par des bâtiments, munis également de tours d'angles. Conformément à la tradition du château féodal, le donjon donne d'un côté directement sur les dehors et ne se réunit aux dépendances que par deux portiques ou galeries. La grand'salle, figurant une croix, forme la partie principale du donjon. Au centre est un grand escalier à double vis permettant à deux personnes de descendre et monter en même temps sans se rencontrer, et qui communique du vestibule inférieur à la grand'salle, puis à une plate-forme supérieure. Cet escalier se termine par un couronnement à jour et une lanterne qui sert de guette. Dans les quatre tours et les angles compris entre les bras de la salle, en forme de croix, sont des appartements ayant chacun leur chambre de parade, leur chambre, leurs retraits, garde-robes, privés et escalier particulier. La tour A contient, au premier étage, la chapelle. Les bâtiments des dépendances, simples en épaisseur suivant l'usage, sont distribués en logements; des fossés entourent l'ensemble des constructions. Du donjon on descendait dans un jardin terrassé et environné de fossés, situé en B. Les écuries et la basse-cour occupaient les dehors du côté de l'arrivée par la route de Blois. Comme ensemble, c'est là un château féodal, si ce n'est que tout est sacrifié à l'habitation, rien à la défense; et cependant ces couloirs, ces escaliers particuliers à chaque tour, cet isolement du donjon rappellent encore les dispositions défensives du château fortifié, indiquent encore cette habitude de l'imprévu, des issues secrètes et des surprises. Ce n'était plus, à Chambord, pour dérouter un ennemi armé que toutes ces précautions de détail étaient prises, mais pour faciliter les intrigues secrètes de cette cour jeune et toute occupée de galanteries. C'était encore une guerre.
Chambord est au château féodal des XIIIe et XIVe siècles ce que l'abbaye de Thélème est aux abbayes du XIIe siècle; c'est une parodie. Plus riche que Rabelais, François Ier réalisait son rêve; mais ils arrivaient tous deux au même résultat: la parodie écrite de Rabelais sapait les institutions monastiques vieillies, comme la parodie de pierre de François Ier donnait le dernier coup aux châteaux fermés des grands vassaux. Nous le répétons, il n'y a rien d'italien en tout ceci, ni comme pensée ni comme forme.
À l'extérieur, quel est l'aspect de cette splendide demeure? C'est une multitude de combles coniques et terminés par des lanternes s'élevant sur les tours, des clochetons, d'immenses tuyaux de cheminée richement sculptés et incrustés d'ardoises, une forêt de pointes, de lucarnes de pierre; rien enfin qui ressemble à la demeure seigneuriale italienne, mais, au contraire, une intention évidente de rappeler le château français muni de ses tours couvertes par des toits aigus, possédant son donjon, sa plate-forme, sa guette, ses escaliers à vis, ses couloirs secrets, ses souterrains et fossés.
Mais Chambord nous donne l'occasion de signaler un fait curieux. Dans
beaucoup de châteaux reconstruits en partie au commencement du XVIe
siècle, on conserva les anciennes tours, autant à cause de leur extrême
solidité et de la difficulté de les démolir que parce qu'elles étaient
la marque de la demeure féodale. Mais pour rendre ces tours habitables,
il fallait les éclairer par de larges fenêtres. Pratiquer des trous à
chaque étage et construire des baies en sous-oeuvre eût été un travail
difficile, dispendieux et long. On trouva plus simple, dans ce cas, pour
les tours avec planchers de bois (et c'était le plus grand nombre), de
pratiquer du haut en bas une large tranchée verticale et de remonter
dans cette espèce de créneau autant de fenêtres qu'il y avait d'étages,
en reprenant seulement ainsi les pieds-droits les linteaux et alléges.
Une figure est nécessaire pour faire comprendre cette opération. Soit
(39) une tour fermée; on y pratiquait une tranchée verticale, ainsi
qu'il est indiqué en A, tout en conservant les planchers intérieurs.
Puis (39 bis) on bâtissait les fenêtres nouvelles, ainsi qu'il est
indiqué dans cette figure. Pour dissimuler la reprise et éviter la
difficulté de raccorder les maçonneries neuves des pieds-droits avec les
vieux parements extérieurs des tours, qui souvent étaient fort
grossiers, on monta, de chaque côté des baies, des pilastres peu
saillants se superposant à chaque étage. Cette construction en
raccordement, donnée par la nécessité, devint un motif de décoration
dans les tours neuves que l'on éleva au commencement du XVIe siècle,
ainsi que nous le voyons dans les vues des châteaux de Bury et de
Chambord. Les machicoulis devinrent aussi l'occasion d'une décoration
architectonique là où on n'en avait plus que faire pour la défense; à
Chambord, les tours et murs des bâtiments sont couronnés par une
corniche qui rappelle cette ancienne défense; elle se compose de
coquilles posées sur des corbeaux et formant ainsi un encorbellement
dont la silhouette figure des machicoulis. Rien d'italien dans ces
traditions, qui sont à Chambord la décoration principale de tous les
extérieurs.

Au XVIe siècle, le sol français était couvert d'une multitude de châteaux qui faisaient l'admiration des étrangers. Car, à côté des vieilles demeures féodales que leur importance ou leur force avaient fait conserver, à la place de presque tous les châteaux de second ordre, les seigneurs avaient élevé des habitations élégantes et dans la construction desquelles on cherchait à conserver l'ancien aspect pittoresque des demeures fortifiées. Les guerres de religion, Richelieu et la Fronde en détruisirent un grand nombre. Alors la noblesse dut s'apercevoir, un peu tard, qu'en rasant elle-même ses forteresses pour les remplacer par des demeures ouvertes, elle avait donné une force nouvelle aux envahissements de la royauté. C'est surtout pendant les luttes de la fin du XVIe siècle et du commencement du XVIIe que les suprêmes efforts de la noblesse féodale se font sentir. Agrippa d'Aubigné nous paraît être le dernier rejeton de cette race puissante; c'est un héros du XIIe siècle qui surgit, tout d'une pièce, dans des temps déjà bien éloignés, par les moeurs, de cette grande époque. Le dernier peut-être il osa se renfermer dans les forteresses de Maillezay et du Dognon, les garder contre les armées du roi, auxquelles il ne les rendit pas; en quittant la France il les vendit à M. de Rohan. Avec cet homme d'un caractère inébranlable, mélange singulier de fidélité et d'indépendance, plus partisan que français, s'éteint l'esprit de résistance de la noblesse. Quand, de gré ou de force, sous la main de Richelieu et le régime absolu de Louis XIV, la féodalité eut renoncé à lutter désormais avec le pouvoir royal, ses demeures prirent une forme nouvelle qui ne conservait plus rien de la forteresse seigneuriale du moyen âge.
Cependant le château français, jusqu'au XVIIIe siècle, fournit des exemples fort remarquables et très-supérieurs à tout ce que l'on trouve en ce genre en Angleterre, en Italie et en Allemagne. Les châteaux de Tanlay, d'Ancy-le-Franc, de Verneuil, de Vaux, de Maisons, l'ancien château de Versailles, les châteaux détruits de Meudon, de Rueil, de Richelieu, de Brèves en Nivernais, de Pont en Champagne, de Blérancourt en Picardie, de Coulommiers en Brie, offrent de vastes sujets d'études pour l'architecte. On y trouve la grandeur du commencement du XVIIe siècle, grandeur solide, sans faux ornements; des dispositions larges et bien entendues, une richesse réelle. Dans ces demeures, il n'est plus trace de tours, de créneaux, de passages détournés; ce sont de vastes palais ouverts, entourés de magnifiques jardins, faciles d'accès. Le souverain peut seul aujourd'hui remplir de pareilles demeures, aussi éloignées de nos habitudes journalières et de nos fortunes de parvenus que le sont les châteaux fortifiés du moyen âge.
La révolution de 1792 anéantit à tout jamais le château, et ce que l'on bâtit en ce genre aujourd'hui, en France, ne présente que de pâles copies, d'un art perdu, parce qu'il n'est plus en rapport avec nos moeurs. Un pays qui a supprimé l'aristocratie et tout ce qu'elle entraîne de priviléges avec elle ne peut sérieusement bâtir des châteaux. Car qu'est-ce qu'un château avec la division de la propriété, sinon un caprice d'un jour? Une demeure dispendieuse qui périt avec son propriétaire et ne laissant aucun souvenir, est destinée à servir de carrière pour quelques maisons de paysans ou des usines.
Nos vieilles églises du moyen âge, toutes dépouillées qu'elles soient, sont encore vivantes; le culte catholique, ne s'est pas modifié; et s'il est survenu, depuis le XIIIe siècle, quelques changements dans la liturgie, ces changements n'ont pas une assez grande importance pour avoir éloigné de nous les édifices sacrés. Mais les châteaux féodaux appartiennent à des temps et à des moeurs si différents des nôtres, qu'il nous faut, pour les comprendre, nous reporter par la pensée à cette époque héroïque de notre histoire. Si leur étude n'a pour nous aujourd'hui aucun but pratique, elle laisse dans l'esprit une trace profondément gravée. Cette étude n'est pas sans fruits; sérieusement faite, elle efface de la mémoire les erreurs qu'on s'est plu à propager sur la féodalité; elle met à nu des moeurs empreintes d'une énergie sauvage, d'une indépendance absolue, auxquelles il est bon parfois de revenir, ne fût-ce que pour connaître les origines des forces, encore vivantes heureusement, de notre pays. La féodalité était un rude berceau; mais la nation qui y passa son enfance et put résister à ce dur apprentissage de la vie politique, sans périr, devait acquérir une vigueur qui lui a permis de sortir des plus grands périls sans être épuisée. Respectons ces ruines, si longtemps maudites, maintenant qu'elles sont silencieuses et rongées par le temps et les révolutions; regardons-les, non comme des restes de l'oppression et de la barbarie, mais bien comme nous regardons la maison, désormais vide, où nous avons appris, sous un recteur dur et fantasque, à connaître la vie et à devenir des hommes. La féodalité est morte; elle est morte vieillie, détestée; oublions ses fautes, pour ne nous souvenir que des services qu'elle a rendus à la nation entière en l'habituant aux armes, en la plaçant dans cette alternative ou de périr misérablement ou de se constituer, de se réunir autour du pouvoir royal; en conservant au milieu d'elle et perpétuant certaines lois d'honneur chevaleresque que nous sommes heureux de posséder encore aujourd'hui et de retrouver dans les jours difficiles. Ne permettons pas que des mains cupides s'acharnent à détruire les derniers vestiges de ses demeures, maintenant qu'elles ont cessé d'être redoutables, car il ne convient pas à une nation de méconnaître son passé, encore moins de le maudire.
Note 21: (retour) Grégoire de Tours parle de plusieurs châteaux assiégés par l'armée de Théodoric... «Ensuite, dit-il, liv. III, Chastel-Marlhac fut assiégé (dans le Cantal, arrond. de Mauriac). Tunc obsessi Meroliacensis castri... Il est entouré, non par un mur, mais par un rocher taillé de plus de cent pieds de hauteur. Au milieu est un grand étang, dont l'eau est très-bonne à boire; dans une autre partie sont des fontaines si abondantes, qu'elles forment un ruisseau d'eau vive qui s'échappe par la porte de la place; et ses remparts renferment un si grand espace, que les habitants y cultivent des terres et y recueillent des fruits en abondance.» On le voit, cet établissement présente plutôt les caractères d'un vaste camp retranché que d'un château proprement dit.
Note 26: (retour) Les vavasseurs et les hôtes étaient des hommes libres: les premiers tenant des terres par droit héréditaire et payant une rente au seigneur; les seconds possédant un tènement peu important, une maison, une cour et un jardin, et payant cette jouissance au seigneur au moyen de redevances en nature s'ils étaient établis à la campagne, ou d'une charge d'hébergeage s'ils étaient dans une ville. La condition des hôtes diffère peu d'ailleurs de celle du paysan.
Note 38: (retour) Les parties intérieures de cet ouvrage existent encore:«Endroit la vile d'Andeli,
Droit en mi Sainne, a une ilete,
Qui comme un cerne ost réondete;
Et est de chascune partie
Sainne parfonde et espartie.
Cele ilete, qui s'en eléve,
Est si haute au-dessus de l'éve (l'eau),
Que Sainne par nule cretine (crue)
N'a povoir d'i faire ataïne.
Ne jusqu'au plain desus reclorre,
Li Roy Richart l'ot faite clorre,
A cui ele estoit toute quite,
De forz murs à la circuite,
Bien crenelez d'euvre nouvele.
En mi ot une tour trop bele;
Le baille (l'enceinte extérieure) et le maisonnement,
Fu atournez si richement
Aus pierres metre et asséoir,
Que c'iert un déduit du veoir.
Pont i ot qui la rabeli,
Pour passer Sainne à Andeli
Qui là endroit est grant et fiére.
(Guill. Guiart, Branche des roy. Lignages, vers 3162 et suiv.)
Note 39: (retour)«Au desus et travers de Sainne,
Estoïent en cete semainne
Ordenéement, comme **aliz**,
Entroit Gaillart trois granz paliz
A touchant l'une et l'autre rive.
N'i furent pas mis par oidive,
Mes pour faire aus nés destourbance
Que l'en amenast devers France.
Jamais nule nef ne fut outre
Qui ne féist les piex descoutre;
Dont là ot plainnes maintes barges.»
(Guill. Guiart, Branche des roy. lignages, vers 3299 et suiv.)
Note 42: (retour) «Ecce quam puichra filia unius anni!» (Bromton, Hist. angl. scriptores antiqui. col. 1276.)--Hist. du chât. Gaillard, par A. Deville. C'était, comme le dit Guillaume Guiart,Nous verrons tout à l'heure comment cette agglomération de défenses sur un petit espace fut précisément la cause, en grande partie, de la prise du château Gaillard.«Un des plus biaus chastiaus du monde
Et des plus forz, si com je cuide,
Au deviser mist grant estuide (Richard)
Tuit cil qui le voïent le loent.
Trois paires de forz murs le cloent,
Et sont environ adossez
De trois paires de granz fossez
Là faiz on le plain de sayve,
Acisel, en roche nayve,
Ainz que li liens fu entaillez,
En fu maint biau deniers bailliez.
Ne croi, ne n'ai oï retraire,
Que nus homs féist fossez faire
En une espace si petite
Comme est la place desus dite,
Puis le tens au sage Mellin (l'enchanteur Merlin);
Qui coustassent tant estellin.»
(Guill. Guiart, vers 3202 et suiv.)
Note 44: (retour)En effet, les fossés sont creusés à pic, et, comme le dit Guillaume, nul n'aurait pu aller chercher un rat qui serait tombé au fond....
«Mes l'autre (la seconde enceinte) est quatre tanz plus bèle,
Trop sont plus bèles les entrées;
Et les granz tours, dont les ventrées
Ens el fonz du fossé s'espandent,
Trop plus haut vers le ciel s'estandent.
...
Entre les deus a grant espace,
Pour ce que, se l'en préist l'une,
L'autre à deffendre fut commune.
Tout amont comme en réondèce,
Resiet la mestre forterèce (la dernière enceinte)
Qui rest noblement façonnée,
Et de fossez environnée;
Onques tiex ne feurent véuz.
S'un rat estoit dedanz chéuz,
Là seroit qui ne l'iroit querre.»
(Guill. Guiart, vers 3238 et suiv.)
Note 45: (retour) Les constructions sont dérasées aujourd'hui au niveau du point O (fig. 13); il est probable que des hourds ou bretèches se posaient, en cas de siège, au sommet de la partie antérieure des segments, ainsi que nous l'avons indiqué en B, afin d'enfiler les fossés, de battre leur fond et d'empêcher ainsi le mineur de s'y attacher. Nous en sommes réduits sur ce point aux conjectures.
Note 46: (retour)«Pluseurs François garnis de targes,
Que l'en doit entiex faiz loer,
Prennent nus par Sainne à noer;
À dalouères et à haches,
Vont desrompant piex et estaches;
Les gros fuz de leur place lièvent.
Cil de Gaillart forment les grièvent,
Qui entr'eus giètent grosses pierres,
Dars et quarriaus à tranchanz quierres,
Si espés que tous les en queuvrent.
Non-pour-quant ileuques tant euvrent,
Comment qu'aucuns ocis i soient,
Que les trois paliz en envoient,
Ronz et tranchiez, contreval Sainne,
Si que toute nef, roide ou plainne
Puet par là, sans destourbement,
Passer assez legièrement.»
(Guill. Guiart, vers 3310 et suiv.)
Note 48: (retour) Ce passage explique parfaitement l'assiette du camp de Philippe-Auguste qui se trouvait en R (fig. 10), précisément au sommet de la colline qui domine la roche Gaillard et qui ne s'y réunit que par cette langue de terre dont nous avons parlé. On voit encore, d'ailleurs, les traces des deux fossés de contrevallation et de circonvallation creusés par le roi. Ces travaux de blocus ont les plus grands rapports avec ceux décrits par César et exécutés à l'occasion du blocus d'Alesia; ils rappellent également ceux ordonnés par Titus lors du siége de Jérusalem.
Note 51: (retour) La fig. 14 représente à vol d'oiseau le château Gaillard au moment où, les approches étant à peu près terminées, les assiégeants se disposent à aller combler le fossé. On voit en A l'estacade rompue par les gens de Philippe-Auguste pour pouvoir faire passer les bateaux qui devaient attaquer l'île B; en C le Petit-Andely, en E l'étang entre le petit et le grand Andely; D les tours de la ligne de circonvallation et de contrevallation tracée par Philippe-Auguste, afin de rendre l'investissement du château Gaillard complet; F le val où moururent de faim et de misère la plupart des malheureux qui s'étaient réfugiés dans le château et que la garnison renvoya pour ne pas épuiser ses vivres. On voit aussi, à l'extrémité de la chaussée faite par l'armée assiégeante, pour arriver par une pente au fossé de l'ouvrage avancé, deux grandes pierrières qui battent la tour saillante contre laquelle toute l'attaque est dirigée; puis, en arrière, un beffroi mobile que l'on fait avancer pour battre tous les couronnements de cet ouvrage avancé et empêcher les assiégés de s'y maintenir.
Note 53: (retour) La fidélité scrupuleuse de la narration de Guillaume ressort pleinement lorsqu'on examine le point qu'il décrit ici. En effet, le fossé est creusé dans le roc, à fond de cuve; il a dix mètres de large environ sur sept à huit mètres de profondeur. On comprend très-bien que les soldats de Philippe-Auguste, ayant jeté quelques fascines et des paniers de terre dans le fossé, impatients, aient posé des échelles le long de la contrescarpe et aient voulu se servir de ces échelles pour escalader l'escarpe, espérant ainsi atteindre la base de la tour; mais il est évident que le fossé devait être comblé en partie du côté de la contrescarpe, tandis qu'il ne l'était pas encore du côté de l'escarpe, puisqu'il est taillé à fond de cuve; dès lors les échelles qui étaient assez longues pour descendre ne l'étaient pas assez pour remonter de l'autre côté. L'épisode des trous creusés à l'aide de poignards sur les flancs de la contrescarpe n'a rien qui doive surprendre, le rocher étant une craie mêlée de silex. Une saillie de soixante centimètres environ qui existe entre le sommet de la contrescarpe et la base de la tour a pu permettre à de hardis mineurs de s'attacher aux flancs de l'ouvrage. Encore aujourd'hui, le texte de Guillaume à la main, on suit pas à pas toutes ces opérations de l'attaque, et pour un peu on retrouverait encore les trous percés dans la craie par ces braves pionniers lorsqu'ils reconnurent que leurs échelles étaient trop courtes pour atteindre le sommet de l'escarpe.
Note 55: (retour) C'étaient les latrines; dans son histoire en prose, l'auteur s'exprime ainsi: «Quod quidem religioni contrarium videbatur.» Les latrines étaient donc placées sous la chapelle, et leur établissement, du côté de l'escarpement, n'avait pas été suffisamment garanti contre une escalade, comme on va le voir. Les latrines jouent un rôle important dans les attaques des châteaux par surprise; aussi on verra comme, pendant les XIIIe et XIVe siècles, elles furent l'objet d'une étude toute spéciale.
Note 60: (retour) Le château Gaillard fut réparé par Philippe-Auguste après qu'il s'en fut emparé, et il est à croire qu'il améliora même certaines parties de la défense. Il supprima, ainsi qu'on peut encore aujourd'hui s'en assurer, le massif de rocher réservé au milieu du fossé de la dernière enceinte elliptique, et supportant le pont, ce massif ayant contribué à la prise de la porte de cette enceinte. Le château Gaillard fut assiégé une seconde fois au XVe siècle, et repris par le roi Charles VII aux Anglais, ainsi que le raconte Alain Chartier dans son histoire de ce prince. «Ce mois de septembre (1449), le seneschal de Poictou, et Monseigneur de Cullant, mareschal de France, messire Pierre de Brezé, messire Denys de Chailly, et plusieurs autres, le roy présent, firent mettre le siége devant Chasteau Gaillard, où eut à l'arrivée de grans vaillances faictes, et de belles armes. Le siége y fut longuement. Car c'est un des plus forts chateaulz de Normandie, assis sur tout le hault d'un rocq ioignant de la rivière de Seine; en telle manière que nuls engins ne le pouvoient grever. Le roy s'en retourna au soir au giste à Louviers, et de jour en jour, tant qu'il y fut, alloit veoir et fortifier ledit siége, auquel l'en fit plusieurs bastilles. Et après la fortification s'en retournèrent lesdits seigneurs françois, fors seulement lesdits de Brezé et de Chailly, qui là demourèrent accompaignez de plusieurs francs-archers pour la garde d'icelles bastilles. Ils se y gouvernèrent tous grandement et sagement; et tant que au bout de cinq sepmaines, lesdits Anglois se rendirent, et mirent ledit Chasteau Gaillard en l'obéissance du roy...» Il est évident que ce siége n'est qu'un blocus et que les Anglais n'eurent pas à soutenir d'assauts; le manque de vivres les décida probablement à capituler, car ils sortirent leurs corps et biens saufs; la garnison se composait de deux cent vingt combattants. Même à cette époque encore, où l'artillerie à feu était en usage, le château Gaillard était une place très-forte.
Note 68: (retour) Depuis peu, M. le ministre d'État et de la maison de l'Empereur a donné des ordres pour que ces restes puissent être conservés et pour que des fouilles soient entreprises. Ces travaux, commencés sous la surveillance de la Commission des monuments historiques, sauveront d'une ruine totale le château de Coucy, et permettront de retrouver des dispositions anciennes d'un grand intérêt pour l'histoire de l'art de la fortification au moyen âge.
Note 72: (retour) Cette vue de l'intérieur de la cour du château de Coucy est supposée prise à côté de la chapelle regardant l'entrée. À droite, on voit se dresser le donjon avec sa poterne et son pont à bascule; au troisième plan est la porte principale et la chemise; au premier plan, la chapelle et le commencement du degré montant au chemin de ronde de la chemise.
Note 81: (retour) Ces quatre portes étaient une exception; généralement les châteaux ne possédaient, à cette époque, qu'une ou deux portes au plus, avec quelques poternes. Mais le Louvre était un château de plaine à proximité d'une grande ville, et la multiplicité des portes était motivée par les défenses extérieures qui étaient fort importantes et par la nécessité où se trouvait le souverain de pouvoir recevoir dans son château un grand concours de monde. Nous voyons cette disposition de quatre portes conservée, au XIVe siècle, à Vincennes et au château de la Bastille, qui n'était cependant qu'un fort comparativement peu important comme étendue. Les quatre portes étaient surtout motivées, nous le croyons, par le besoin qui avait fait élever ces forteresses plantées autour de la ville de Paris pour maintenir la population dans le respect. Il ne s'agissait pas ici de se renfermer et de se défendre comme un seigneur au milieu de son domaine; mais encore, dans un cas pressant, de détacher une partie de la garnison sur un point de la ville en insurrection, et, par conséquent, de ne pas se laisser bloquer par une troupe d'insurgés qui se seraient barricadés devant l'unique porte. Bien en prit, longtemps après, à Henri III, d'avoir plusieurs portes à son Louvre.
Note 83: (retour) Les maîtres de l'oeuvre élèvent une tour avec une grande habileté au milieu de l'enceinte; il est question ici du donjon du Louvre, qui, contrairement aux habitudes des XIIe et XIIIe siècles, se trouvait exactement au milieu de l'enceinte carrée. Mais n'oublions pas que le donjon du Louvre était une tour exceptionnelle, un trésor autant qu'une défense. D'ailleurs les quatre portes expliquent parfaitement la situation de ce donjon, qui les masquait et les enfilait toutes les quatre.
Note 84: (retour) Il y a encore ici exagération de la part de Guillaume de Lorris; le donjon du Louvre n'avait que vingt mètres de diamètre environ sur trente mètres de haut; le donjon de Coucy est bien autrement important, son diamètre étant de trente-un mètres et sa hauteur de soixante-cinq environ; cependant le donjon de Coucy devait être élevé lorsque notre poëte écrivait son roman. Il est certain que ce donjon ne fut bâti qu'après celui de Philippe-Auguste. L'orgueilleux châtelain de Coucy, faisant dresser à la hâte les murs de son château, dans l'espoir de mettre la couronne de France sur sa tête, voulut-il faire plus et mieux que le suzerain auquel il prétendait succéder?
Note 86: (retour) Ce passage mérite la plus sérieuse attention; il ne s'agit plus ici du donjon, mais de l'ensemble du château. Les courtines du Louvre de Philippe-Auguste n'étaient point doublées de bâtiments à l'intérieur, et le château du Louvre se composait seulement encore, comme les châteaux des XIe et XIIe siècles, d'une enceinte flanquée de tours avec un donjon au centre. Le seigneur habitait le donjon et la garnison les tours. On comprend comment alors on pouvait voir par-dessus les crénelages des courtines la partie supérieure des pierrières et mangonneaux établis sur l'aire de la cour. Il n'était pas possible de songer à placer ces énormes engins sur les chemins de ronde des courtines, encore moins sur les tours. Guillaume de Lorris dit bien «dedens le chastel,» c'est-à-dire en dedans des murs; et les descriptions de Guillaume de Lorris sont toujours précises. S'il y eût eu des bâtiments adossés aux courtines, ces bâtiments auraient été couverts par des combles, et on n'aurait pu voir le sommet des engins par-dessus les créneaux. Ce passage du poëte explique un fait qui paraît étrange lorsqu'on examine les fortifications de la première moitié du XIIIe siècle, et particulièrement celles des châteaux. Presque toutes les forteresses féodales de cette époque qui n'ont point été modifiées pendant les XIVe et XVe siècles présentent une suite de tours très-élevées et de courtines relativement basses; c'est qu'en effet, alors, les tours étaient des postes, des fortins protégeant une enceinte, qui avaient assez de relief pour garantir les grandes machines de jet, mais qui n'étaient pas assez élevées pour que ces machines ne pussent jeter des pierres sur les assaillants par-dessus les crénelages. Lorsque Simon de Montfort assiége Toulouse, il s'empare du château extérieur, qui passait, à tort ou à raison, pour être un ouvrage romain, mais dont les murs étaient fort élevés. Pressé par le temps, plutôt que de déraser les murs entre les tours, pour permettre l'établissement de grands engins, il fait faire des terrassements à l'intérieur. Ainsi, le système défensif des châteaux antérieurs à la seconde moitié du XIIIe siècle consiste en des tours d'un commandement considérable, réunies par des courtines peu élevées, libres à l'intérieur, afin de permettre l'établissement de puissantes machines de jet posées sur le sol. Ceci explique comment il se fait que, dans la plupart de ces châteaux, on ne voit pas trace de bâtiments d'habitation adossés à ces courtines. Au Château-Gaillard des Andelys, il n'y a que deux logis adossés aux courtines, l'un dans l'enceinte extérieure, l'autre dans l'enceinte intérieure; mais ces logis sont élevés du côté de l'escarpement à pic, qui ne pouvait permettre à l'assiégeant de s'établir en face des remparts. Nous verrons bientôt comment et pourquoi ce système fut complétement modifié au XVe siècle.
Note 88: (retour) En dehors de la porte du sud (porte principale) donnant sur la Seine, une première défense, assez basse, flanquée de tours, avait été bâtie à cinquante mètres environ de l'entrée du Louvre; cette première défense était double avec une porte à chaque bout. C'était comme un petit camp entouré de murailles formant, en avant de la façade sud du Louvre, ce qu'on appelait alors une lice. Ces ouvrages avaient une grande importance, car ils laissaient à la garnison d'un château, si elle parvenait à les conserver, toute sa liberté d'action; elle facilitait les sorties et remplissait l'office des barbacanes des grandes places fortes (voy. ce mot). Comme le dit Guillaume de Lorris, ces ouvrages bas, plantés en dehors des fossés, empêchaient la troupe ennemie de venir d'emblée jusqu'au bord du fossé, sans trouver de résistance. À une époque où les armes de jet n'avaient pas une portée très-longue, il était fort important d'entourer les châteaux d'ouvrages extérieurs très-considérables; car, autrement, la nuit et par surprise, une troupe aurait pu combler le fossé en peu d'instants et écheller les murailles. Ce fait se présente fréquemment dans l'histoire de nos guerres en France, lorsqu'il s'agit de châteaux de peu de valeur ou qui n'avaient pas une garnison assez nombreuse pour garnir les dehors.
Note 90: (retour) Ce passage est fort curieux; il nous donne une idée de la disposition des postes dans les châteaux. Chaque porte composait une défense qui pouvait s'isoler du reste de la forteresse, véritable châtelet muni de ses tours, de ses salles, cuisines, fours, puits, caves, moulins même; le seigneur en confiait la garde à un capitaine ayant un certain nombre d'hommes d'armes sous ses ordres. Il en était de même pour la garde des tours de quelque importance. Ces postes, habituellement, n'étaient pas relevés comme de nos jours; la garnison d'un château n'était dès lors que la réunion de plusieurs petites garnisons, comme l'ensemble des défenses n'était qu'une réunion de petits forts pouvant au besoin se défendre séparément. Les conséquences du morcellement féodal se faisaient ainsi sentir jusque dans l'enceinte des châteaux. De là ces fréquentes trahisons d'une part, ou ces défenses désespérées de l'autre, de postes qui résistent encore lorsque tous les autres ouvrages d'une forteresse sont tombés. De là aussi l'importance des donjons qui peuvent protéger le seigneur contre ces petites garnisons séparées qui l'entourent. Nous trouvons encore, dans ce passage de la description du Louvre, la confirmation de ce que nous disions tout à l'heure au sujet de la disposition des courtines et des tours. Les tours étant des ouvrages isolés reliés seulement par des courtines basses qu'elles commandaient, les rondes étaient difficiles, ou du moins ne pouvaient se faire qu'à un étage; les communications entre ces postes séparés étaient lentes; cela était une conséquence du système défensif de cette époque, basé sur une défiance continuelle. Ainsi, à une attaque générale, à un siége en règle, on opposait 1º les courtines basses munies par-derrière d'engins envoyant des projectiles par-dessus les remparts; 2º les crénelages de ces courtines garnis d'archers et d'arbalétriers; 3º les tours qui commandaient la campagne au loin et les courtines si elles étaient prises par escalade. Pour se garantir contre les surprises de nuit, pour empêcher qu'une trahison partielle pût faire tomber l'ensemble des défenses entre les mains de l'ennemi, on renfermait, chaque soir, les postes dans leurs tours séparées, et on évitait qu'ils pussent communiquer entre eux. Des guetteurs placés aux créneaux supérieurs des tours par les postes qu'elles abritaient, des sentinelles sur les chemins de ronde posées par le connétable et qui ne dépendaient pas des postes enfermés dans les tours, exerçaient une surveillance double, contrôlée pour ainsi dire. Ce ne sont pas là des conjectures basées sur un seul texte, celui d'un poëte; Sauval, qui a pu consulter un grand nombre de pièces perdues aujourd'hui, entre autres les registres des oeuvres royaux de la chambre des comptes, et qui donne sur le Louvre des détails d'un grand intérêt, dit (p. 14, liv, VII.): «Une bonne partie des tours, chacune, avoit à part son capitaine ou concierge, plus ou moins qualifié, selon que la tour étoit grosse, ou détachée du Louvre. Le comte de Nevers fut nommé, en 1411, concierge de celle de Windal, le 20 septembre. Sous Charles VI, les capitaines de celles du Bois, de l'Écluse et de la Grosse tour furent cassés plusieurs fois.» Le commandement d'une tour n'était donc pas une fonction transitoire, mais un poste fixe, une charge donnée par le seigneur.
Note 92: (retour) Du côté de la rue du Coq. Peur a la charge de grand connestable; la porte qui lui est confiée restant toujours fermée. Il semblerait que, du temps de Guillaume de Lorris, la porte du nord demeurait le plus souvent fermée, à cause du vent de bise. Cette porte n'était d'ailleurs qu'une poterne percée à la base d'une grosse tour servant probablement de logement à la connétablie du Louvre. La garde de cette poterne étant facile, puisqu'elle était fort étroite et habituellement fermée, pouvait être confiée au connétable, dont les fonctions consistaient à surveiller tous les postes, à donner les ordres généraux et à se faire remettre chaque soir les clefs des différentes portes.
Note 107: (retour) En temps de guerre, on faisait faire, en dehors des châteaux, de grandes barbacanes de bois, que l'on garnissait de gens d'armes appelés par le seigneur. Celui-ci n'aimait guère à introduire, dans l'enceinte même du château, des soudoyers, les hommes qui lui devaient un service temporaire, et de la fidélité desquels il ne pouvait être parfaitement assuré.
Note 110: (retour) Presque tous les châteaux n'ont qu'une entrée, ainsi que nous l'avons dit plus haut à propos du Louvre. Dans Li Romans de Parise la Duchesse, nous trouvons ces vers:«An la porte devant a fet .i. pont lever.
. . .
N'i ot que .i. antrée, bien la firent garder.»
Et dans la seconde branche du roman d'Auberi le Bourguignon (voy. la chanson de Roland, XIIe siècle, pub. par Francisque Michel, 1837, p. XL):
«Fu li chastiax et la tors environ;
Bien fu assise par grant devision (réflexion, prévoyance)
De nulle part habiter (entrer) n'i puet-on
Fors d'une part, si comme nous cuidonz;
Là est l'antrée et par là i va-on.
Pont torneiz (à bascule) et barre à quareillon (à serrure)
Selve (forêt) i ot vielle dès le tans Salemon;
Bien fu garnie de riche venoison.
Las (proche) la rivière sont créu li frès jon
Et l'erbe drue que coillent li garson.
Li marois sont entor et environ
Et li fossé qui forment (entourent) sont parfont;
«Li mur de maubre, de chaus et de sablon,
Et les tornelles où mainnent li baron.
Et li vivier où furent li poisson.
Si fort chastel ne vît onques nus hom;
Là dedens ot sa sale et son donjon
Et sa chapelle por devant sa maison.
...
Note 112: (retour) Les ponts-levis étaient assez rares au XIIIe siècle; du moins ils ne tenaient pas encore aux ouvrages mêmes des portes, mais ils étaient posés en avant, à l'entrée ou au milieu des ponts, et se composaient d'un grand châssis mobile posé sur deux piles ou deux poteaux, roulant sur un axe et relevant un tablier au moyen de deux chaînes de suspension (voy. ARCHITECTURE MILITAIRE, PONT).
Note 114: (retour) On faisait une distinction entre les bailles et les lices, les premières étaient, comme nous l'avons vu au château d'Arques, une encloserie extérieure, une basse-cour, comme encore au château de Coucy; les lices étaient les espaces laissés entre deux enceintes à peu près parallèles, entre les murs du château et les palissades extérieures.
Note 115: (retour) Lorsque l'assiette d'un château avait été choisie sur le sommet d'un escarpement, on taillait souvent le rocher qui devait lui servir de base de manière à rendre les escarpements plus formidables; souvent même on creusait les fossés à même le rocher, comme à Château-Gaillard, à la Roche-Guyon, et on réservait, à l'extérieur, une défense prise aux dépens du roc. Ces travaux sont ordinaires autour des châteaux assis sur du tuf, de la craie ou des calcaires tendres.
Note 120: (retour) Dans les salles étaient suspendues les armes, les écus, les cors; c'était la principale décoration des intérieurs; et dans un grand nombre de châteaux, on voit encore la place des tablettes, des crochets de fer qui servaient à porter des panoplies d'armes et d'ustensiles de guerre et de chasse.
Note 123: (retour) Voy. les Titres concern. Raimond du Temple, archit. du roi Charles V. Bib. de l'École des chartes, 2e série, t. III, p. 55. Raimond du Temple cumulait, auprès du roi Charles V, les fonctions de sergent d'armes et de maître des oeuvres, et les titres dont il est ici question font connaître les sentiments d'estime que le roi de France professait pour son garde-du-corps, architecte.
Note 125: (retour) Lorsque Charles V veut faire les honneurs de son Louvre à l'empereur Charles IV, il y fait conduire ce prince en bateau: «Au Louvre arrivèrent; le Roy monstra à l'Empereur les beauls murs et maçonnages qu'il avoit fait au Louvre édifier; l'Empereur, son filz et ses barons moult bien y logia, et partout estoit le lieu moult richement paré; en la sale dina le Roy, les barons avec lui, et l'Empereur en sa chambre.» Des faits du sage Roy Charles V, Cristine de Pizan, ch. XLII.
Note 126: (retour) Ce qui prouve encore que la place de Vincennes n'avait pas été considérée par son fondateur comme un château, c'est ce passage de Cristine de Pisan, extrait de son Livre des faits et bonnes meurs du sage Roy Charles V. «Item, dehors Paris, le chastel du bois de Vincenes, qui moult est notable et bel, avoit entencion (le roi) de faire ville fermée; et là aroit establie en beauls manoirs la demeure de pluseurs seigneurs, chevaliers et autres ses mieulz amez, et à chascun y asseneroit rente à vie selon leur personne: celle-ci lieu voult le Roy qu'il fust franc de toutes servitudes, n'aucune charge par le temps avenir, ne redevance demander.» Chap, XI.
Note 127: (retour) M. Jules Quicherat a trouvé, dans la province de Burgos (vieille Castille), un village qui porte le nom de ce château devenu célèbre, au XIIIe siècle, par le séjour qu'y fit l'archevêque Bertrand de Goth, après l'avoir fait reconstruire. Selon M. Quicherat, au commencement du XIIIe siècle, un cadet de Biscaye, don Alonzo Lopès, apanagé de Villandraut (villa Andrando), eut deux fils, dont le plus jeune, don André, vint en France à la suite de Blanche de Castille, et s'arrêta en Guienne près Bazas, dans le lieu qui a conservé le nom de Villandraut. Un demi-siècle plus tard, l'alliance de la fille ou petite-fille d'André avec un membre de la famille de Goth fit passer cette seigneurie dans cette maison et bientôt dans la possession de celui qui, d'abord archevêque de Bordeaux, ne tarda pas à être élevé dans la chaire de saint Pierre, sous le nom de Clément V. 1306-1316. Comm. des mon. hist. de la Gironde.
Note 135: (retour) Ces sortes de tours servant de prisons sont désignées, pendant les XIIe et XIIIe siècles, sous le nom de cartre.«Or fu Ogier en la grant cartre obscure
Où il estoit et en fers et en buis.
. . . . . . »
(Ogier l'Ardenois vers 10281).
Et plus haut:
«Et morrai chi en celle cartre obscure.
. . . . . . . »
En une crote (grotte) estoit li dux Ogier
Qui si iert basse ne se pooit drechier
Et si estroite ne se pooit couchier.»
(Vers 10254).
Note 142: (retour) Aujourd'hui, quoique le château soit en partie habité par M. de Sully, les tours sont démantelées et le donjon à peu près abandonné; mais il existe, dans le château même, un modèle en relief des bâtiments exécuté dans le dernier siècle, et qui est fort exact; ce modèle nous a servi à compléter les parties détruites pendant la révolution, Le grand Sully habita ce château après la mort de Henri IV et fit percer, à tous les étages, des fenêtres qui n'existaient pas avant cette époque, les jours étant pris du côté de la cour intérieure.
Note 146x: (retour) Nous devons les curieux renseignements que nous possédons sur ce château à l'obligeance bien connue du savant archiviste de Strasbourg, M. Schéegans, et à notre confrère M. Boeswilwald.
Note 147: (retour) «Une lettre fort importante,» dit M. Schéegans dans une notice inédite sur le Hoh-Koenigsbourg, «que l'empereur écrivit aux magistrats de Strasbourg, et conservée dans les archives de cette ville, donne acte de cette cession. Par cette lettre, datée du 14 mars 1479, l'empereur Frédéric informe les magistrats: qu'en reconnaissance des services à lui rendus par les comtes de Thierstein, et pour d'autres motifs justes, il leur a concédé en fief le château ruiné de Hoh-Koenigsbourg, avec ses dépendances, et qu'il leur a permis de le reconstruire. En conséquence, l'empereur, en vertu du pouvoir impérial, prie les magistrats de Strasbourg et leur ordonne de venir en aide aux comtes de Thierstein, de leur prêter secours et assistance contre tous ceux qui chercheraient à les contrarier dans la prise de possession, reconstruction et jouissance dudit château, de ne pas souffrir qu'ils y soient troublés, et de leur fournir secours fidèle, au nom du Saint-Empire, contre tous ceux qui oseraient porter atteinte à leurs droits.»
Note 151: (retour) Toutes les constructions ne dataient pas de la même époque; les plus anciennes remontaient à la fin du XVe siècle. Mais, pendant le XVIe siècle, les bâtiments, surtout à l'intérieur, furent en grande partie décorés avec un grand luxe d'architecture. Plus tard encore, pendant le XVIIe siècle, les communs furent modifiés.
Note 155: (retour) Notre vieux poëte, Charles de Sainte-Marthe, né en 1542, mort en 1555, écrivait, dans ses Conseils aux poëtes, pendant que l'on bâtissait Chambord, ces vers pleins de sens, et qui font connaître quelle était alors la manie des beaux-esprits en France de ne rien trouver de bon que ce qui venait d'Italie:«Ne veulx-tu donq, ô François, y entendre?
Ne veulx-tu donq virilement contendre
Contre quelcuns barbares estrangiers
Qui les François disent estre légiers?
D'où prennent-ils d'ainsi parler audace?
C'est seulement à la mauvaise grace
Que nous avons des nostres dépriser
Et sans propos les aultres tant priser.
Qu'a l'Italie ou toute l'Allemaigne,
La Grèce, Escosse, Angleterre ou Espaigne
Plus que la France? Est-ce point de tous biens?
Est-ce qu'ils ont aux arts plus de moyens?
Ou leurs esprits plus aiguz que les nostres?
Ou bien qu'ils sont plus savants que nous aultres?
Tant s'en fauldra que leur veuillons céder
Que nous dirons plus tost les excéder.
Un seul cas ont (et cela nous fait honte),
C'est que des leurs ils tiennent un grand compte,
Et par amour sont ensemble conjoincts,
Mais nous, François, au contraire, disjoincts.
Car nous avons à écrire invectives.
...
C'est quelque maître des oeuvres français, quelque Claude ou Blaise de Tours ou de Blois, qui aura bâti Chambord; et si le Primatice y a mis quelque chose, il n'y paraît guère. Mais avoir à la cour un artiste étranger, en faire une façon de surintendant des bâtiments, le combler de pensions, cela avait meilleur air que d'employer Claude ou Blaise, natif de Tours ou de Blois, bonhomme qui était sur son chantier pendant que le peintre et architecte italien expliquait les plans du bonhomme aux seigneurs de la cour émerveillés. Nos lecteurs voudront bien nous pardonner cette sortie à propos du Primatice; mais nous ne voyons en cet homme qu'un artiste médiocre qui, ne pouvant faire ses affaires en Italie, où se trouvaient alors cent architectes et peintres supérieurs à lui, était venu en France pour emprunter une gloire appartenant à des hommes modestes, de bons praticiens dont le seul tort était d'être né dans notre pays et de s'appeler Jean ou Pierre.
CHATELET, s. m. On donnait ce nom, pendant le moyen âge, à de petits châteaux établis à la tête d'un pont, au passage d'un gué, à cheval sur une route en dehors d'une ville ou à l'entrée d'un défilé. On désignait aussi, par le mot châtelet, des ouvrages en bois et en terre que les assiégeants élevaient de distance en distance entre les lignes de contrevallation et de circonvallation pour appuyer les postes destinés à garder ces lignes.
Dès le IXe siècle, la Cité, à Paris, était entourée de murailles flanquées de tours irrégulières, le tout en bois. Deux ponts donnaient accès dans la Cité, l'un au nord, à la place du Pont-au-Change actuel, l'autre au midi, à la place du Petit-Pont. Les têtes de ces deux ponts étaient déjà, et probablement avant cette époque, défendues par des châtelets, l'un, celui du nord, s'appelait le grand Châtelet, l'autre, celui du sud, le petit Châtelet. Le grand Châtelet formait une forteresse à peu près carrée, avec cour au milieu et portes détournées. Deux tours flanquaient les deux angles vers le faubourg. Le petit Châtelet n'était, en réalité, qu'une porte avec logis au-dessus et deux tours flanquantes. Ces ouvrages, détruits à plusieurs reprises lors des incursions normandes, furent reconstruits sous Philippe-Auguste, puis sous saint Louis, et réparés sous Charles V. Ils ont tous deux été démolis depuis la révolution.

Les châtelets prenaient quelquefois l'importance d'un véritable château avec ses lices extérieures, ses logis, ses enceintes flanquées et son donjon. Tel était le châtelet qui faisait tête de pont au Pont-de-l'Arche sur la Seine et dont nous donnons ici un croquis (1) d'après une gravure de Mérian. Mais ce qui distingue le châtelet du château, c'est moins son étendue que sa fonction. Le châtelet défend un passage. Guillaume de Nangis rapporte qu'en 1179 les templiers construisirent, au gué de Jacob, un châtelet dont les Turcs s'emparèrent et qu'ils détruisirent 156.
La dénomination de châtelet n'est point arbitraire; ainsi le maréchal de Boucicault fait élever plusieurs forts dans la ville de Gênes, au commencement du XVe siècle: l'un, celui du port, est appelé la Darse; «l'autre chastel, feit édifier en la plus forte place de la ville, et est appellé Chastellet, qui tant est fort que à peu de deffence se tiendroit contre tout le monde. Si est faict par telle manière que ceulx d'iceluy chastel peuvent aller et venir, maugré tous leurs ennemis, en l'autre chastel qui sied sur le port 157.»
Ce qui paraît distinguer particulièrement le châtelet du château, c'est que le premier est une construction uniquement destinée à la défense ou à la garde d'un poste, d'un défilé, d'un pont ou même d'une ville, ne possédant pas, comme le château, des bâtiments d'habitation et de plaisance; le châtelet n'est pas une résidence seigneuriale, c'est un fort habité par un capitaine et des hommes d'armes. C'est donc sa destination secondaire, et non son importance comme étendue et force, qui en fait un diminutif du château.
Quelquefois le châtelet n'était qu'une seule grosse tour carrée à cheval sur un passage, ou même un ouvrage palissadé avec quelques flanquements (voy. BASTILLE, PORTE).
Note 156: (retour) «In transmarinis partibus milites templi, ope regis (Jerusalem) et principum coadunati, in loco qui dicitur Vadum Jacob castrum fortissimum munierunt; quod cum aliquandiu tenuissent, Turci Templarios seditione capiunt, castrum expugnant, et ad terram dejiciunt.» Chron. de Guill. de Nang.
CHEMIN DE RONDE, s. m. Allée des murs. C'était la saillie du rempart derrière les merlons, nécessaire à la défense et à la circulation. Les merlons étant posés sur le parement extérieur des murailles, et ayant une épaisseur qui variait de 0,38 c. à 0,58 c. (14 à 21 pouces), il restait en dedans du rempart un couronnement de maçonnerie que l'on recouvrait de dalles et qui formait le chemin de ronde. Naturellement, les chemins de ronde étaient plus ou moins larges en raison de l'épaisseur du rempart. Lorsque le mur n'avait qu'une épaisseur médiocre, le dallage du chemin de ronde débordait à l'intérieur, afin de suppléer à la maçonnerie et de permettre à deux hommes, au moins, de passer de front.
Pendant la période carlovingienne, les chemins de ronde des remparts étaient mis en communication directe avec le terre-plain intérieur au moyen d'emmarchements assez rapprochés. Plus tard, à partir du XIIe siècle, on ne pouvait généralement circuler sur les chemins de ronde qu'en passant par les tours et les escaliers qui desservaient leurs étages. Les habitants d'une ville n'en avaient pas ainsi la libre jouissance, et ils étaient uniquement réservés à la garnison. Dès une époque fort ancienne, en temps de guerre, les chemins de ronde étaient élargis au moyen de galeries de bois couvertes, posées en encorbellement en dehors des merlons, galeries désignées sous les noms de hourds dans le Nord, de corseras en Languedoc. Au XIVe siècle, les chemins de ronde furent munis de machicoulis en pierre, couverts ou découverts. Plus tard encore, après l'emploi de l'artillerie à feu dans la défense des places, des chemins de ronde en bois furent quelquefois posés par-dessus les parapets percés d'embrasures, destinées à recevoir des bouches à feu (voy. ARCHITECTURE MILITAIRE, CHÂTEAU, COURTINE, EMBRASURE, ENCEINTE, HOURD, MACHICOULIS).
CHEMINÉE, s. f. Queminée. Foyer disposé dans une salle avec tuyau de conduite pour la fumée. Il ne paraît pas qu'il y ait eu des cheminées dans les intérieurs des palais ou des maisons de l'époque romaine. Pendant les premiers siècles du moyen âge, on chauffait les intérieurs des appartements soit au moyen de réchauds remplis de braise que l'on roulait d'une pièce dans l'autre, comme cela se pratique encore en Italie et en Espagne, soit par des hypocauste, c'est-à-dire au moyen de foyers inférieurs, qui répandaient la chaleur, par des conduits, sous le pavage des appartements et dans l'épaisseur des murs, ainsi que le font nos calorifères modernes. Dans les abbayes primitives, ce mode de chauffage était usité, ainsi que le démontre le plan de l'abbaye de Saint-Gall, qui date de l'année 820 environ (voy. ARCHITECTURE MONASTIQUE, (p. 243)). Les cuisines primitives des abbayes et châteaux n'avaient pas, à proprement parler, de cheminées, mais n'étaient elles-mêmes qu'une immense cheminée munie d'un ou plusieurs tuyaux pour la sortie de la fumée (voy. CUISINE). Nous ne voyons guère apparaître les cheminées ou foyers, disposés dans les intérieurs, qu'au XIIe siècle, et à dater de cette époque les exemples abondent. La cheminée primitive se compose d'une niche prise aux dépens de l'épaisseur du mur, arrêtée de chaque côté par deux pieds-droits, et surmontée d'un manteau et d'une hotte, sous laquelle s'engouffre la fumée. Les plus anciennes cheminées sont souvent tracées sur plan circulaire, le foyer formant un segment de cercle et le manteau l'autre segment. Telle est la belle cheminée, sculptée que l'on voit encore aujourd'hui dans le bâtiment de la maîtrise dépendant de la cathédrale du Puy-en-Vélay, et qui date du XIIe siècle.

Nous en donnons le plan (1) et l'élévation perspective (2).

La hotte de cette cheminée affecte la forme conique et aboutit à un tuyau cylindrique dont le demi-diamètre est en saillie sur le nu du mur intérieur. Ce tuyau dépasse de beaucoup le pignon du bâtiment; mais nous arriverons tout à l'heure à cette partie essentielle de la cheminée. On voit encore, dans la cuisine de l'ancien collége de Vézelay, une belle cheminée sculptée, mais sur plan barlong, qui remonte également au XIIe siècle 158.
Les cheminées du XIIe siècle ne prennent pas des dimensions aussi étendues en largeur que celles élevées un siècle plus tard. Aussi le manteau est-il, à cette époque, formé d'une plate-bande d'un seul morceau ou de deux morceaux, comme celui de la cheminée du Puy. Cependant nous voyons déjà, à la fin du XIIe siècle, l'arc adopté pour le manteau.

Il existe dans le château de Vauce, près Ébreuil (Allier), une belle cheminée ainsi construite, sur plan barlong (3) 159; son manteau se compose de deux sommiers engagés dans le mur, portant sur les deux pieds-droits, et d'une clef; il n'a que 0,20 c. d'épaisseur environ. Le contre-coeur 160 est maçonné en tuileaux, afin de mieux résister à l'action du feu. Plus tard, une plaque en fonte de fer posée debout devant le contre-coeur vient encore protéger la maçonnerie contre l'ardeur du foyer, et des carreaux de brique tapissent l'âtre.

Rarement, au XIIe siècle, posait-on les cheminées adossées à des murs de refend; on les logeait de préférence sur les murs de face entre deux croisées. Si les murs de la maison n'étaient pas très-épais, le contre-coeur formait saillie à l'extérieur porté en encorbellement, ainsi qu'on en voit quelques exemples dans des maisons de la ville de Cluny, ou portait sur la saillie formée par la porte d'entrée du rez-de-chaussée. Cette dernière disposition existe encore dans une maison normande, du XIIe siècle, de la ville de Lincoln en Angleterre, dite maison du Juif. Elle présente trop d'intérêt pour que nous ne la donnions pas ici (4). La cheminée chauffe la salle principale au premier étage, et le contre-coeur A ainsi que le tuyau qui le surmonte portent entièrement sur un arc posé sur deux corbeaux formant un abri au-dessus de la porte d'entrée B sur la rue. Tout en se chauffant, on voulait voir ce qui se passait dans la rue, et, non contents de placer les cheminées entre les fenêtres de la façade des maisons, les bourgeois perçaient quelquefois une petite fenêtre dans le fond même de la cheminée, d'un côté, de manière à pouvoir se tenir sous le manteau en ayant vue sur l'extérieur. Les manteaux des cheminées, lorsque celles-ci prennent plus de largeur, sont souvent en bois dans les habitations privées, car il était difficile de se procurer des plates-bandes assez longues et assez résistantes pour former ces manteaux d'un seul morceau, et leur appareil présentait des difficultés. Il existe, dans l'une des maisons de la ville de Cluny, rue d'Avril, nº 13, une grande cheminée logée sur le mur de face, avec contre-coeur en encorbellement, dont le manteau est composé d'une pièce courbe de charpente. De chaque côté de la cheminée s'ouvrent deux fenêtres basses avec tablettes de pierre au-dessus, pour recevoir des flambeaux le soir. Le contre-coeur est en brique à l'intérieur, en pierre à l'extérieur; la hotte est en moellons. Le manteau de bois est porté sur deux fortes consoles de pierre sans pieds-droits.


Nous donnons (5) le plan de cette cheminée et (6) son élévation perspective. À l'intérieur, la hotte est ovale et aboutit en s'élevant à un tuyau circulaire. Souvent des poignées en fer sont attachées sous le manteau, afin de permettre à une personne debout de se chauffer les pieds l'un après l'autre, sans fatigue. Parfois aussi des bancs sont disposés sur l'âtre, des deux côtés des pieds-droits, afin qu'on puisse se chauffer en se tenant sous le manteau, lorsque le feu est réduit à quelques tisons. Dans ces grandes cheminées, on jetait des troncs d'arbres de deux ou trois mètres de long, et on obtenait ainsi des foyers de chaleur d'une telle intensité qu'ils permettaient de chauffer de vastes salles. Bien que nos pères fussent moins frileux que nous, qu'ils fussent habitués à vivre au grand air en toute saison, cependant la réunion de la famille au foyer de la salle était évidemment pour eux un des plaisirs les plus vifs durant les longues soirées d'hiver. Le châtelain, obligé de se renfermer dans son manoir aussitôt le soleil couché, réunissait autour de son foyer non-seulement les membres de sa famille, mais ses serviteurs, ses hommes qui revenaient des champs, les voyageurs auxquels on donnait l'hospitalité; c'était devant la flamme claire qui pétillait dans l'âtre que chacun rendait compte de l'emploi de son temps pendant le jour, que l'on servait le souper partagé entre tous, que l'on racontait ces interminables légendes recueillies aujourd'hui avec tant de soin et dont les récits diffus ne s'accordent plus guère avec notre impatience moderne. Une longue chandelle de suif, de résine ou de cire, posée sur la tablette qui joignait le manteau de la cheminée, ou fichée dans une pointe de fer, et la brillante flamme du foyer éclairaient les personnages ainsi réunis, permettaient aux femmes de filer ou de travailler à quelque ouvrage d'aiguille. Lorsque sonnait le couvre-feu, chacun allait trouver son lit, et la braise, amoncelée par un serviteur, au moyen de longues pelles de fer, entretenait la chaleur dans la salle pendant une partie de la nuit, car le maître, sa femme, ses enfants, avaient leurs lits encourtinés dans la salle; souvent les étrangers et quelques familiers couchaient aussi dans cette salle, sur des bancs garnis de coussins, sur des châlits ou des litières.
À dater du XIIIe siècle, les cuisines ne sont plus des salles isolées, vastes officines dans lesquelles on faisait cuire à la fois des boeufs et des moutons entiers; ce sont des salles comprises dans les bâtiments, et munies d'une ou plusieurs cheminées. La cuisine du Palais, à Paris, était à deux étages, possédant une cheminée centrale à l'étage supérieur et quatre à l'étage inférieur 161.

Il existe encore, dans le château de Clisson près de Nantes, une de ces cuisines qui remonte aux premières années du XIVe siècle et qui se compose d'une énorme cheminée dont le manteau, formé de deux arcs plein cintre, occupe la moitié d'une salle voûtée. L'abbaye Blanche de Mortain a conservé une belle cheminée de cuisine en granit dont nous donnons (7) une vue perspective. Les armes de l'abbaye sont sculptées sur la clef du manteau, composé de deux énormes sommiers et de trois claveaux avec crossettes. Il n'y a pas ici de pieds-droits pour porter le manteau, mais deux consoles très-saillantes. Le contre-coeur est encore garni de sa plaque en fonte et de sa triple crémaillère.
Mais, jusqu'au XIVe siècle, les cheminées des châteaux et maisons étaient, sauf de rares exceptions, d'une grande simplicité, comme tout ce qui tenait à l'usage journalier. Le luxe des intérieurs consistait en peintures, en boiseries et en tentures plus ou moins riches, en raison de l'état de fortune du maître. Ce n'est guère que pendant le XIVe siècle que nous voyons la sculpture, les bas-reliefs envahir les manteaux des cheminées. À cette époque, les grand'salles des châteaux, reconstruites la plupart sur de plus vastes proportions, étaient garnies de plusieurs cheminées. La grand'salle des chevaliers du Mont-Saint-Michel-en-Mer contient deux cheminées; celle du château de Montargis en contenait quatre, deux sur l'une des parois longitudinales et deux à chacune des extrémités (voy. SALLE).
«La cheminée de la chambre du roi à l'hôtel Saint-Pol, dit Sauval 162, avoit pour ornement de grands chevaux de pierre; celle de sa chambre au Louvre, en 1365, étoit chargée de douze grosses bêtes, et de treize grands prophètes, qui tenoient chacun un rouleau; de plus, terminée des armes de France, soutenue par deux anges, et couverte d'une couronne. Il se trouve encore une cheminée de cette manière à l'hôtel de Cluni, rue des Mathurins (cette cheminée n'existe plus), sans parler de celle de la grand'salle qui s'y voit embarrassée d'une infinité de pellerins de toutes tailles, qui vont en pelerinage dans un bois, le long d'une haute montagne.»
La grand'salle du château de Coucy en contient deux, offrant également cette particularité que les tuyaux de ces cheminées sont divisés par une languette en pierre, de manière à fournir deux tirages. Un pied-droit divisait la portée du manteau et formait ainsi comme deux cheminées jumelles. La même disposition était adoptée dans la construction de la cheminée de la salle des Preuses dépendant de ce château. Le dessin de cette belle cheminée nous est conservé par Ducerceau 163, et nous le reproduisons ici (8). Sur le manteau de cette cheminée étaient sculptées en ronde-bosse, de dimension colossale, les statues des neuf Preuses 164, portant chacune un écusson sur lequel était gravé un attribut.

Tout porte à supposer que l'on avait reconnu, en construisant des cheminées d'une très-grande largeur, la nécessité de diviser le tuyau de tirage en plusieurs sections, afin d'empêcher le vent de s'engouffrer dans ces larges trémies et de faire ainsi rabattre la fumée. En pratiquant plusieurs tuyaux, on donnait plus d'activité au tirage, et la fumée pouvait ainsi s'échapper avec plus de facilité; ces divisions avaient encore l'avantage de donner de la solidité aux murs dédoublés par les tuyaux en reliant leurs deux parements extérieurs et intérieurs.
La belle cheminée de la grand'salle du palais des comtes de Poitiers nous donne un très-remarquable exemple de ce système de tuyaux divisés surmontant un seul manteau. Cette cheminée, qui date du commencement du XVe siècle, ainsi que le pignon auquel elle se trouve adossée, occupe presque entièrement l'une des extrémités de cette salle, dont la construction remonte au XIIIe siècle; elle n'a pas moins de 10m,00 de largeur sur 2m,30 sous le manteau (sept pieds). Le dessus du manteau forme une sorte de tribune à laquelle on arrive par deux escaliers percés aux angles du pignon; ces deux escaliers communiquent eux-mêmes à deux tourelles qui flanquent les angles extérieurs de la salle. La cheminée est divisée en trois corps; trois tuyaux partent de la hotte et, passant derrière une claire-voie vitrée, s'élèvent jusqu'à l'extrémité du pignon. L'ensemble de cette décoration produit un grand effet et termine noblement cette belle salle dont la largeur, dans oeuvre, est de 16m,30.

Nous donnons (9) en A le plan de la cheminée de la grand'salle de Poitiers, au niveau de l'âtre, et en B le plan du dessus de la tribune pratiquée sur le manteau, pris au niveau de la claire-voie vitrée. Son âtre est relevée de dix marches au-dessus du sol de la salle; la cheminée se trouve ainsi former le fond du tribunal. La fig. 10 présente son élévation géométrale. Les deux pieds-droits qui la divisent en trois travées sont terminés par des chapiteaux richement sculptés et décorés d'écussons portés par des anges. Le manteau est orné de la même manière 165.

À l'intérieur des monuments civils comme à l'extérieur, le moyen âge savait produire des effets grandioses qui laissent bien loin les dispositions mesquines de nos plus vastes édifices modernes. Lorsque siégeaient sur cette estrade, dans leurs grands costumes, les comtes de Poitiers entourés de leurs officiers; lorsque derrière la cour seigneuriale brillaient les trois feux allumés dans les trois âtres, et que des assistants assis sur un banc au-dessus du manteau de la cheminée, adossés à des verrières, complétaient ce tableau, on peut se figurer la noblesse et la grandeur d'une pareille mise en scène, combien elle devait inspirer de respect aux vassaux cités devant la cour du comte. Certes, pour défendre sa cause en face d'un tribunal si noblement assis et entouré, il fallait avoir trois fois raison. Mais nous avons l'occasion de revenir sur les dispositions des tribunaux seigneuriaux au mot SALLE, auquel nous renvoyons nos lecteurs.
Les châteaux des XIVe et XVe siècles possèdent encore un grand nombre de cheminées de petite dimension dans les tours et les appartements privés. Souvent ces cheminées sont habilement disposées pour chauffer deux pièces. Leboeuf 166 dit avoir vu, dans le donjon du château de Montlhéry, «une cheminée construite de manière qu'elle servait à quatre chambres.» L'hôtel de Jacques Coeur, à Bourges, renferme d'assez belles cheminées du XVe siècle; l'une de celles qui sont conservées représente un couronnement de château avec créneaux, machicoulis et lucarnes; entre les créneaux sont de petites figures à mi-corps; les unes tirent de l'arc ou de l'arbalète, d'autres jouent du cor et de la cornemuse, d'autres jettent des cailloux, tiennent des étendards, etc. Cette cheminée porte 1m,66 sous le manteau sur 2m,57 de largeur. Mais la plus intéressante, parmi les cheminées de cet hôtel, était celle qui représentait un tournoi burlesque, et dont il ne reste que des fragments déposés aux archives de la mairie. Sur le manteau étaient sculptés des paysans montés sur des baudets, ayant des bâtons pour lances, des fonds de paniers pour écus, et courant la barrière. Jacques Coeur, qui n'aimait guère la noblesse féodale de son temps, avait-il voulu avoir sous les yeux cette caricature d'un des délassements les plus ordinaires des seigneurs de la cour du roi Charles VII? ou est-ce là une fantaisie du sculpteur? Quoi qu'il en soit, il est fort regrettable que ce précieux monument été détruit.
Dans les habitations des bourgeois du XIVe au XVe siècle, les cheminées sont décorées avec luxe, comme chez les seigneurs, mais dans des proportions plus restreintes et en rapport avec la dimension des pièces. La sculpture sur pierre était chère, et, comme de nos jours, le bourgeois voulait souvent paraître à peu de frais; aussi beaucoup de cheminées d'habitations privées étaient en bois apparent ou recouvert de plâtre sculpté et mouluré. On retrouve encore, dans plusieurs villes de province, quelques exemples de ces cheminées conservées malgré leur fragilité; nous en avons vu plusieurs à Toulouse, dans des maisons que l'on démolissait dernièrement, dans le voisinage de la place du Capitole; et il en existe deux fort précieuses, à cause de leur parfaite conservation, dans la petite ville de Saint-Antonin (Tarn-et-Garonne), autrefois industrieuse et riche, aujourd'hui réduite à l'état de bourgade.

Ces deux cheminées datent du XVe siècle; la plus simple, celle que nous donnons (11), se compose de deux pieds-droits en pierre et d'un manteau formé d'un châssis de bois recouvert de plâtre mouluré et sculpté. La hotte est hourdée également en plâtre sur planches de chêne.

La fig. 12 donne en A le profil et le plan en B de cette construction. Le détail C indique une portion du pan-de-bois hourdé formant la hotte et le manteau de la cheminée. Les lignes ponctuées sur la coupe A font comprendre la disposition générale de ce pan-de-bois. Par un sentiment de pudeur, et comme si l'artiste qui exécutait cette cheminée eût craint d'en imposer, il a eu le soin de simuler sur la hotte un câblé vertical et horizontal qui semble destiné à la relier, comme pour indiquer sa fragilité et son défaut de liaison avec la muraille.
L'autre cheminée de Saint-Antonin est construite de la même manière: mais elle est couverte d'une profusion d'ornements sculptés dans le plâtre et de moulures. Sur la hotte, deux anges tiennent un écusson armoyé.
Deux autres écussons, posés de chaque côté contre la muraille, sont également armoyés et tenus par des anges. Ces derniers écussons paraissent porter sur le champ des instruments de métier, des doloires. Un câblé serré avec un bâton et tenu par deux figures semble maintenir la base de la hotte et une chaîne retient sa partie supérieure. Voici (13) la vue perspective de cette cheminée.

L'époque de la renaissance vit encore élever de belles cheminées dans les intérieurs des châteaux; leurs pieds-droits et manteaux furent décorés de sculptures et de peintures d'une richesse et d'une élégance rares; plusieurs de ces cheminées existent dans quelques châteaux, à Écouen, à Fontainebleau, dans le manoir de Ronsard près du bourg de Coutures (Maine), dans la salle de l'hôtel de ville de Paris. Le musée de Cluny en possède une d'un travail précieux qui provient du Mans, et tout le monde connaît la magnifique cheminée de Bruges. Mais bientôt les dimensions énormes données aux cheminées furent réduites, et déjà, pendant le XVIIe siècle, elles prenaient des proportions moins grandioses. Le marbre remplaça la pierre, qui jusqu'alors avait été employée dans la construction des pieds-droits et manteaux des cheminées, et ces manteaux s'abaissèrent successivement jusqu'à la hauteur d'appui.
TUYAUX ET MITRES DE CHEMINÉE. Les conduits de fumée des cheminées du
XIIe siècle sont ordinairement cylindriques à l'intérieur et terminés
au-dessus des pignons ou des combles en forme de grosse colonne
couronnée par une mitre. Construits d'ailleurs avec grand soin au moyen
d'assises de pierre évidées, ces tuyaux affectent souvent une forme
monumentale qui surmonte d'une façon gracieuse le faîte des édifices. La
cheminée de la maîtrise de la cathédrale du Puy-en-Vélay, dont nous
avons donné un dessin (fig. 1 et 2), est terminée au-dessus du pignon de
la salle à laquelle elle est adossée, par un beau tuyau cylindrique
formé d'assises de pierres noires et rousses alternées, avec mitre en
forme de lanterne couverte par un cône. Nous en donnons la
représentation géométrale (14). Très-rarement, à cette époque primitive,
les cheminées sont superposées, de sorte que les tuyaux sont simples et
isolés.
Mais la cheminée du Puy est relativement petite; lorsque les
cheminées avaient des dimensions considérables, lorsqu'elles devaient
chauffer de grandes salles et contenir un très-vaste foyer, il fallait
donner à la fumée un passage en rapport avec ces dimensions. Il
existait, avant 1845, à l'abbaye de Saint-Lô, une énorme cheminée, du
commencement du XIIIe siècle, dont le tuyau était un véritable monument,
une tourelle octogone de 0,90 c. de diamètre hors oeuvre. Ce tuyau, dont
nous donnons l'élévation géométrale (15), arrivait du carré à la forme
prismatique par quatre pendentifs, et se terminait par deux étages de
colonnettes dont le dernier était à jour et par une haute pyramide
167.
Il existe, sur une maison proche de la cathédrale de Bayeux, un tuyau de
cheminée qui, dans des dimensions plus restreintes, rappelle celui de
l'abbaye de Saint-Lô. Ces tuyaux, ainsi qu'on peut le voir, ne sont
ouverts que sur la circonférence du cylindre et sont fermés entièrement
au sommet; la fumée ne pouvait ainsi s'échapper que par les côtés. Au
XIIIe siècle, les tuyaux de cheminée sont souvent ouverts sur les côtés
et à leur extrémité supérieure. En voici (16) un exemple tiré de
l'abbaye de Fontenay, de l'ordre de Cîteaux (Côte-d'Or). Afin d'empêcher
les eaux pluviales de tomber dans la cheminée, l'orifice supérieur est
fort étroit. Ce tuyau est fait de tambours de pierre creusés comme celui
du Puy-en-Vélay. Souvent même les tuyaux de cheminée ne sont ouverts,
dans les constructions du XIIIe siècle, qu'à leur extrémité et
continuent d'affecter la forme cylindrique ou prismatique. Les exemples
de ces sortes de tuyaux sont très-nombreux; il en existe encore dans les
bâtiments du Palais à Paris; nous en connaissons un assez remarquable
conservé dans les restes du château de Semur en Auxois, avec base
moulurée au-dessus de la souche sortant du comble (17).


Il faut signaler ici un point important dans la construction de ces accessoire; les souches sortant des combles sont toujours munies d'un filet rampant en pierre formant chéneau sous la tuile ou l'ardoise en A, et solin B au-dessus dans les parties latérales et inférieures des souches, afin d'empêcher les eaux pluviales glissant le long des tuyaux à l'extérieur de s'introduire sous la couverture. Ce sont là des précautions de détail qui accusent la prévoyance extrême et le soin des constructeurs du moyen âge, précautions fort négligées aujourd'hui. Mais, jusqu'au XIVe siècle, même dans les grandes constructions civiles ou monastiques, les cheminées sont rarement superposées; si plusieurs étages d'un même bâtimemt en sont pourvus, on évite de les placer au-dessus les unes des autres, elles se chevauchent au contraire ou sont opposées, afin de laisser chaque tuyau isolé; tandis qu'à partir de cette époque, l'usage des cheminées s'étant fort répandu, on voulut non-seulement en avoir dans toutes les pièces importantes, mais encore les placer les unes au-dessus des autres; dès lors, les tours, les pignons de bâtiments d'habitation reçurent deux, trois, quatre tuyaux de cheminée juxtaposés. Il fallait avoir un tuyau pour chacune de ces cheminées et les séparer par des languettes; ces constructions furent exécutées avec un soin minutieux. Au lieu d'être cylindriques à l'intérieur, les tuyaux donnent, dans ce cas, les sections horizontales de parallélogrammes très-allongés séparés par des cloisons de 0,10 c. à 0,20 c. d'épaisseur.


Ainsi sont pratiqués les tuyaux des trois cheminées superposées du donjon de Pierrefonds, dont nous donnons (18) en P la coupe transversale et en A la section horizontale au niveau A'. Les languettes B B' sont en pierre bien parementées et dressées. En C C' C'' sont réservés de petits renfoncements carrés, pour recevoir la plaque de fonte de fer du contre-coeur, destinés à empêcher la chaleur du foyer de calciner la pierre et de détruire les languettes. Par un surcroît de précaution, souvent, au-dessus de la plaque, la languette est appareillée en plate-bande ou en arc de décharge, ainsi qu'on le voit en D. Les manteaux sont également déchargés par des arcs E. En F, nous donnons la tête de ces tuyaux de cheminée, surmontant l'extrémité du pignon du bâtiment; en G leur plan supérieur et en H leur profil. On voit en I le filet saillant réservé dans les assises de la souche, et destiné à recouvrir les rampants du comble au-dessus de l'ardoise. Ce filet, tenant lieu de solins, se continue sous les marches qui, le long des rampants du pignon, permettent d'arriver facilement aux tuyaux pour les réparer et de placer des défenseurs protégés par le crénelage K donnant sur les dehors. Mais, dans les localités exposées aux grands vents, les tuyaux de cheminée, terminés brusquement par des ouvertures sans mitres, ne laissaient pas échapper facilement la fumée; celle-ci, rabattue par le vent, était comprimée et rentrait à l'intérieur des appartements. Pour éviter cet inconvénient, on garnit souvent les bouches supérieures des tuyaux de couronnes en tôle découpée qui, divisant le courant d'air extérieur, permettaient à la fumée de sortir librement. Nous avons vu, sur beaucoup de têtes de cheminée des XIVe et XVe siècles, des traces de scellements qui indiquent la présence de ces couronnes; mais il en existe fort peu qui aient résisté aux intempéries et à l'action corrosive de la suie. L'ancien tuyau de la cheminée de la grand'salle du château de Sully-sur-Loire, ayant été mis hors d'usage depuis le XVIe siècle, par suite d'un changement de distribution intérieure, a conservé sa couronne de fer battu, ainsi que le fait voir la fig. 19. Ce tuyau donne en section horizontale le plan A; l'extrémité du pignon de la salle lui sert de souche.

Le château de Du Guesclin, à la Bélière près Dinan, a conservé plusieurs charmants tuyaux de cheminée, octogones, en granit, brique et ardoise, dont nous donnons (20) deux exemples qui datent de la fin du XIVe siècle. Les cornes B décorant les couronnements sont en ardoise épaisse et fichées en rainure dans les assises supérieures de granit formant chapiteaux. Les fonds des petites arcatures C sont plaqués d'ardoises qui, à cause de leur teinte sombre, détachent vivement cette fine ornementation et permettent de la distinguer à la hauteur où elle est placée 168.
Une des qualités les plus remarquables de l'architecture du moyen âge, c'est d'avoir su tirer parti de tous les accessoires les plus vulgaires de la construction pour en faire un motif de décoration. Des besoins nouveaux venaient-ils à se développer, aussitôt les architectes, loin de les dissimuler, cherchaient au contraire à leur donner une forme d'art, non-seulement dans les constructions élevées avec luxe, mais aussi dans les habitations les plus humbles. Nous en trouvons la preuve dans un grand nombre d'anciennes maisons de nos vieilles villes. Avec les moyens les plus simples et les moins dispendieux, ces architectes ont obtenu des formes élégantes et parfaitement appropriées aux besoins auxquels il fallait satisfaire. Dans les villes de l'Est, il existe encore beaucoup de tuyaux de cheminée dont les mitres, formées d'un échafaudage de tuiles retenues avec du mortier, se découpent sur le ciel de la façon la plus gracieuse.

La fig. 21 offre trois exemples de ces têtes de cheminée comme on en voit tant à Strasbourg 169. Les boules A qui surmontent les tuiles des mitres sont en mortier. Encore aujourd'hui, à Strasbourg, on conserve la tradition de cette construction des XIVe et XVe siècles.
Les architectes des châteaux de l'époque de la renaissance renchérirent encore sur leurs devanciers dans la construction des tuyaux de cheminée; ils les décorèrent souvent avec un luxe de moulures et de sculptures passablement exagéré. S'il est bon de ne pas dissimuler un besoin secondaire et d'en profiter pour orner un édifice, il ne faut pas cependant qu'un accessoire prenne plus d'importance qu'il ne convient, et perde ainsi son véritable caractère. Cette modération, si parfaitement observée par les architectes du moyen âge, ne fut pas du goût de ceux du XVIe siècle, et ceux-ci arrivèrent à donner aux tuyaux des cheminées, au-dessus des combles, une telle importance qu'il est souvent difficile de savoir ce que contiennent ces énormes piles de pierre couvertes de colonnettes, de frontons, de panneaux et de sculptures. Les châteaux de Chambord, de Blois, d'Écouen et tant d'autres, présentent quantité de ces tuyaux massifs couverts d'ornements qui, à distance, détruisent les lignes principales des combles et ressemblent aux ruines de quelque monument gigantesque.
Sous le règne de Louis XIV, on tomba d'un excès dans un pire; le retour vers ce que l'on croyait alors être l'architecture romaine fit supprimer les combles apparents et par suite les tuyaux de cheminée. Mais, comme en France on se chauffe six mois de l'année, il fallut, bon gré mal gré, surmonter après coup les acrotères et terrasses antiques des édifices par d'horribles tuyaux de brique, de plâtre et de tôle. On est revenu, ces temps derniers, à des principes plus raisonnés, et les architectes ne paraissent pas craindre de montrer franchement à l'extérieur les tuyaux de nos cheminées.
CHÉNEAU, s. m. Chenal, chenai, échenai. C'est le nom que l'on donne à un conduit en pierre, en terre cuite, en bois ou en métal, qui, recevant les eaux d'un comble, les dirigent, par des pentes douces, vers des issues ménagées dans la construction des édifices.
Les monuments de l'antiquité païenne, dès une époque fort reculée, possédaient des chéneaux à la chute des pentes des combles. Les temples de la grande Grèce, ceux d'Athènes, avaient des chéneaux en terre cuite, en pierre ou en marbre, avec gargouilles percées de distance en distance. On retrouve également les chéneaux dans les monuments romains. Cependant ils disparaissent, pendant la période romane, en France. Les toits laissent les eaux s'égoutter directement sur le sol. Nous ne voyons guère le chéneau apparaître, dans le nord de la France, que vers le milieu du XIIe siècle. Ils sont, dès la fin de ce siècle, très-caractérisés dans les édifices normands.

Ces chéneaux (1) sont généralement très-profonds; portés sur des arcs en saillie sur le nu des murs, leurs sommiers partent de la tête des contre-forts, et sont surmontés du côté du dehors d'un acrotère en talus composé de plusieurs assises, ainsi que l'indique le profil A. On ne peut expliquer la hauteur extraordinaire de ce revers de chéneau que comme une garde destinée à empêcher les tuiles ou ardoises qui se détachent de la couverture de tomber sur la voie publique, et à contenir la neige qui glissait le long des rampants des combles. Nous trouvons des chéneaux analogues à ceux-ci au-dessus du triforium du choeur de l'église Saint-Étienne de Caen, et qui sont d'une date un peu moins ancienne. Les chapelles absidales de l'église haute de Chauvigny près Poitiers, qui datent de la première moitié du XIIe siècle, possèdent également des acrotères formant chéneau au-dessus de la corniche. Des gargouilles peu saillantes, ou de simples trous percés de distance en distance, jetaient les eaux pluviales à l'extérieur. Dans l'Île de France, la Champagne et la Bourgogne, les chéneaux n'apparaissent qu'au XIIIe siècle. Mais la disposition des premiers chéneaux de cette époque exige quelques développements.
Bien que les murs des édifices romans fussent fort épais, les charpentes des combles présentaient des pentes inclinées suivant un angle plutôt au-dessous qu'au-dessus de 45 degrés; les pieds de ces charpentes exigeaient alors une large assiette (voy. CHARPENTE), et les bouts des chevrons ainsi que la volige et la tuile arrivaient au bord des corniches, d'ailleurs peu saillantes; il ne restait pas de place pour établir des chéneaux à la chute des combles, et les eaux tombaient directement sur le sol ou sur les combles inférieurs. On reconnut les inconvénients de ce système primitif; les eaux en s'égouttant ainsi le long des parements les altéraient, entretenaient l'humidité à la base des murs et pourrissaient la fondation; si une tuile venait à glisser, elle tombait sur la tête des passants ou sur un comble inférieur; dans ce dernier cas, elle brisait un grand nombre de tuiles et faisait un trou dans cette toiture. Si l'on était dans la nécessité de réparer les couvertures, les couvreurs, ne pouvant appuyer le pied de leurs échelles nulle part, risquaient de glisser avec elles ou, tout au moins, faisaient des dégâts considérables en posant ces échelles sur la couverture même. Cependant, par suite du nouveau système de construction mis en pratique par les architectes gothiques, ceux-ci étaient amenés à diminuer de plus en plus les épaisseurs des murs et même à les supprimer entièrement. C'est alors qu'ils prirent le parti de rendre les chéneaux, pour ainsi dire, indépendants de la construction, en les portant en saillie sur des corniches ou sur des arcs, ou bien de faire porter les charpentes sur les formerets des voûtes bandés à une certaine distance des murs à l'intérieur, et de poser les chéneaux, sur l'intervalle restant entre ces formerets et le mur extérieur, réduit alors à une faible épaisseur. Ce dernier système fut appliqué en Bourgogne et en Champagne. Dans l'Ile de France, on donna une saillie assez forte aux corniches pour pouvoir faire courir des chéneaux à la base des combles. Nous observons, dans la partie haute du choeur de Notre-Dame de Paris, la transition entre le système des égouts romans et le système des chéneaux posés sur corniches saillantes à la base des combles sous le bahut. Dans l'origine, c'est-à-dire du temps de Maurice de Sully (1160 à 1180 environ), il n'existait pas de chéneaux à la base du grand comble 170. Le couronnement recevant la charpente consistait en une corniche peu saillante, composée de quatre rangs de damiers sur lesquels était posé un profil formant boudin supérieur. Vers 1220, probablement après l'incendie dont nous venons de parler, lorsque déjà à Paris l'architecture gothique avait pris son développement complet, on n'enleva, de la corniche de Maurice de Sully, que le boudin supérieur, et, laissant subsister les assises de damiers, on posa par-dessus une corniche composée d'une assise de feuilles à crochets et d'un larmier; le tout présentant une forte saillie. Ce larmier fut creusé en forme de chéneau, dont les pentes répartissaient les eaux pluviales dans de grosses gargouilles posées au-dessus de chacun des arcs-boutants. Quant à la nouvelle charpente, elle vint s'asseoir sur un bahut élevé de 1m,30 au-dessus de ce chéneau, et une balustrade en pierre fut fixée sur le rampant du larmier (voy, BAHUT, fig. 1).

Vers la même époque, dans la cathédrale de Chartres et sur la façade de Notre-Dame de Paris, on posait aussi des larmiers formant chéneaux, mais sans gargouilles; les eaux s'écoulaient simplement par des trous ménagés, sous les balustrades, de distance en distance, ainsi que l'indique la fig. 2 171. Cette disposition explique pourquoi, sur la façade de Notre-Dame de Paris, les larmiers des divers étages portant chéneaux ont une aussi forte saillie; c'est qu'ils étaient destinés à renvoyer loin des parements les eaux des chéneaux, comme une mouchette continue. À Notre-Dame de Chartres, les balustrades n'ayant pas de traverse inférieure, mais n'étant composées que de colonnettes isolées posées à cul sur l'extrémité de la corniche, les eaux du chéneau s'écoulent entre ces colonnettes sur la pente du larmier. Ces moyens toutefois ne faisaient que diminuer les inconvénients résultant des égouts des combles, mais ne les évitaient pas, puisque les eaux pluviales continuaient à s'égoutter dans toute la longueur des corniches; ils rendaient déjà le service des couvreurs plus facile et arrêtaient les tuiles ou ardoises qui glissaient sur la pente des combles 172. Ce n'est que de 1225 à 1240 que des gargouilles saillantes furent adaptées aux chéneaux pour distribuer l'écoulement des eaux pluviales d'une manière régulière et sur certains points des édifices. Dans les églises à bas-côtés, les eaux des chéneaux, vers cette époque, furent conduites sur les chaperons des arcs-boutants, puis rejetées au dehors par des gargouilles en pierre posées à l'extrémité des pentes de ces arcs-boutants. Les eaux de pluie, tombant sur les combles supérieurs, arrivaient ainsi, par le plus court chemin, sur le sol extérieur. Mais les arcs-boutants, destinés à contre-butter la poussée des voûtes, n'atteignaient pas le niveau des corniches supérieures; on essaya d'abord de jeter les eaux des chéneaux des grands combles, à gueule-bée, par des gargouilles, sur les chéneaux formant le chaperon des arcs-boutants; et, quoique la distance entre ces chaperons et les gargouilles supérieures ne fût pas considérable, cependant le vent renvoyait les eaux à droite ou à gauche des chaperons; on établit donc bientôt des coffres en pierre évidés mettant les chéneaux supérieurs en communication avec les chaperons. Souvent même, ces coffres en pierre furent doublés de tuyaux de plomb (voy. CONDUITE). Puis, plus tard, vers la fin du XIIIe siècle, on renonça aux coffres en pierre, qui étaient sujets à s'engorger et à causer des filtrations dans les murs, et on établit sur les arcs-boutants des aqueducs en pierre destinés à porter le chéneau rampant (voy. ARC-BOUTANT, CONSTRUCTION). Les chéneaux rampants pratiqués sur le chaperon des arcs-boutants, arrivés aux pinacles surmontant l'extrémité des contre-forts, passaient, dans l'origine, à travers ces pinacles pour être déversés par la gargouille. On ne fut pas longtemps sans s'apercevoir que ces canaux, traversant la maçonnerie, ne pouvaient jamais sécher, qu'ils s'engorgaient et causaient des filtrations dans la masse des constructions des contre-forts; on prit le parti, vers le milieu du XIVe siècle, de détourner les chéneaux au droit des pinacles, et d'amener ainsi à ciel ouvert les eaux jusqu'aux gargouilles d'extrémité. Quelquefois même, dans les provinces du Nord, en Picardie et en Normandie, ces chéneaux aboutirent à des conduites en plomb habilement ménagées dans la construction (voy. CONDUITE).

Les chéneaux en pierre, pratiqués à la base des combles, pendant les XIIIe et XIVe siècles, sont généralement creusés à fond de cuve, c'est-à-dire donnant en coupe le profil ci-contre (3); les joints sont faits avec soin, ayant une entaille A dans laquelle on coulait quelquefois du plomb ou un ciment très-dur composé de grès pilé et de litharge. Ces chéneaux portent de 0,33 c. à 0,48 c. de largeur (un pied, un pied et demi). Ils sont taillés dans les pierres les plus dures que l'on pouvait se procurer, et il nous a paru que leur concavité, destinée à recevoir les eaux, soigneusement taillée, polie même, était souvent imprégnée d'une matière grasse (peut-être d'huile de lin et de litharge). Nous avons vu même quelques-uns de ces chéneaux qui étaient enduits d'un ciment mince, très-dur et adhérant à la pierre; pour faire tenir ce ciment, les tailleurs de pierre pratiquaient en travers du chenal de petites rainures, particulièrement des deux côtés des joints, ainsi que le fait voir la fig. 4 173, ou creusaient sur le joint même une rainure qui permettait d'y couler du ciment (5).

Les chéneaux des grands édifices du moyen âge, du XIIIe au XVe siècle, présentent peu de variétés; le système admis persiste sans différences notables. Il n'en est pas de même des chéneaux des habitations privées; ceux-ci sont très-variés comme disposition et comme forme. Ils n'apparaissent qu'au XIIIe siècle; jusqu'alors les eaux pluviales tombaient directement des égouts des toits dans la rue 174. Deux raisons contribuèrent à faire établir des chéneaux à la base des combles, le besoin de réunir les eaux pluviales dans des citernes (beaucoup de villes étant bâties sur des lieux élevés dépourvus d'eau), et l'incommodité que causait la pluie s'égouttant des combles sur la voie publique. Mais, comme la grande majorité des habitations urbaines était d'une construction fort simple, on ne pouvait faire la dépense d'un chéneau de couronnement en pierre à la chute des combles. Les constructeurs de maisons se contentèrent d'incruster des corbeaux de pierre au sommet des murs de face, et sur les corbeaux ils posèrent une pièce de bois évidée et inclinée formant gargouille à l'un des bouts.

La fig. 6 expliquera cette disposition naïve 175. Ces chéneaux s'appliquent à des maisons dont les égouts des toits sont sur la rue; mais si les pignons donnaient sur la voie publique, ainsi que cela fut pratiqué généralement à dater du XIVe siècle, les chéneaux étaient disposés perpendiculairement à la rue. À cette époque, rarement les maisons avaient-elles des murs mitoyens; chaque maison possédait ses quatre murs en propre, et il existait entre elles une petite ruelle très-étroite (voy. MAISON).

Chaque habitation avait donc ses chéneaux particuliers, qui, le plus souvent, étaient formés d'un tronc d'arbre creusé, dépassant le pignon et formant gargouille, ainsi que l'indique la fig. 7. Ces chéneaux de bois étaient quelquefois moulurés, sculptés même, et peints de diverses couleurs, l'art intervenant toujours dans l'ensemble comme dans les détails des constructions les plus vulgaires. Ces dispositions de chéneaux appliquées aux habitations n'étaient pas les seules. Dans les pays riches en matériaux calcaires, comme la Bourgogne, la Haute-Marne et l'Oise, on employa les chéneaux de pierre de préférence à ceux en bois, et ces chéneaux de pierre sont posés de façon à éviter toute fuite par les joints le long des parements: d'abord ils sont toujours posés en saillie, afin que le comble vienne couvrir la tête des murs et la préserver de toute humidité; puis des corbeaux incrustés dans le mur, sous chaque joint du chéneau, sont creusés en forme de gargouille; si donc ces joints venaient à s'ouvrir ou à perdre le ciment qui les soudait, l'eau tombait dans la gargouille-corbeau et était rejetée en dehors loin des parements. La fig. 8 nous dispensera de plus longues explications à ce sujet.
On voit à Chaumont (Haute-Marne) beaucoup de maisons dont les chéneaux sont ainsi disposés, et cet usage a persisté jusqu'à nos jours.
L'architecture n'est véritablement un art que lorsqu'elle sait ainsi vaincre les difficultés, prévoir et conserver, par des moyens simples, vrais, d'une exécution facile dans la plus humble maison comme dans le palais; mais lorsque, au contraire, il lui faut recourir à des moyens factices qui demandent le concours d'industries très-développées, une main-d'oeuvre extraordinaire et beaucoup de dépense, elle peut réussir là où toutes ces ressources sont sous sa main, mais elle abandonne à la barbarie les localités éloignées des grands centres industriels. C'est ce qui est arrivé; aujourd'hui, hormis les grandes villes où les écoulements d'eaux pluviales sont, dans les habitations privées, disposés avec assez d'adresse, partout l'incurie, l'ignorance, le défaut de soin laissent voir combien ces constructeurs anciens étaient plus habiles, plus savants, plus scrupuleux que les bâtisseurs de notre temps, sans entraîner pour cela leurs clients dans des dépenses inutiles.
Note 170: (retour) Ce comble était moins aigu que celui actuel, qui date du commencement du XIIIe siècle, et qui fut refait après un incendie dont l'histoire ne parle pas, mais dont les traces sont visibles sur le monument même. Le choeur de Notre-Dame de Paris était complétement élevé, sauf la toiture, en 1177, ainsi que le constate la chronique de Robert, abbé du Mont Saint-Michel, et dont M. Alfred Ramé a bien voulu nous envoyer le curieux extrait suivant: «Ad ann. 1177. Mauricius episcopus Parisiensis jam diù est; quod (qui) multum laborat et proficit in ædificatione ecclesiæ prædictæ civitatis, cujus caput jam perfectum est, excepto majori tectorio. Quod opus si perfectum fuerit, non erit opus citra montes cui aptè debeat comparari.»
Note 174: (retour) Il n'y a pas plus de vingt-cinq ans qu'à Paris encore les toits de la plupart des maisons étaient dépourvus de chéneaux. Pendant les pluies d'orage, les eaux pluviales formaient comme une nappe d'eau devant les façades, et rendaient la circulation impossible, même avec des parapluies.
CHEVET, s. m. Nom que l'on donne à la partie extrême de l'abside des églises (voy. ABSIDE, CATHÉDRALE, ÉGLISE).
CHIFFRE, s. m. On désigne par ce mot les initiales de noms propres sculptées ou peintes sur les monuments. Il ne paraît pas que l'on ait admis les chiffres de personnages vivants dans la décoration des édifices avant le XVe siècle; mais, à partir de la fin de ce siècle, les chiffres se rencontrent fréquemment sculptés dans les frises, sur les parements, dans les balustrades, ou peints dans les vitraux et sur les murs intérieurs des églises, chapelles, palais et maisons. La balustrade du pignon occidental de la Sainte-Chapelle de Paris, refaite par Charles VII, est composée de fleurs de lis dans des quatre-lobes, au milieu desquelles s'élève un K (Karolus) couronné, soutenu par deux anges. La balustrade de l'oratoire de cette même chapelle, bâti par Louis XI, est de même ornée, au milieu, d'un L couronné se détachant sur un ajour fleurdelisé. L'ancien hôtel de la cour des comptes à Paris, bâti par Louis XII, était couvert de chiffres, L couronnés, de porcs-épics, de dauphins, d'hermines et de fleurs de lis. Les F couronnés se rencontrent dans les constructions entreprises par François Ier. On peut en voir un grand nombre à Blois et à Chambord. Cet usage s'est conservé depuis cette époque; les chiffres enlacés d'Henri II et de Catherine de Médicis couvrent les frises et panneaux du Louvre, ainsi que ceux de Henri IV et même de Louis XIV.
CHOEUR, s. m. Partie de l'église où se tiennent les chanoines, religieux ou clercs pour chanter. L'intérieur des églises se divise en cinq parties distinctes: le narthex, vestibule ou porche, la nef, les transsepts, le choeur et le sanctuaire. Dans les églises monastiques françaises, le choeur des religieux descendait ordinairement jusque dans la nef. Un autel était placé au delà des transsepts; c'etait l'autel devant lequel on chantait les matines et laudes; derrière l'autel matutinal s'élevait le sanctuaire qui occupait tout l'espace compris entre les transsepts et le chevet. Dans les cathédrales et les églises paroissiales, le choeur ne commence ordinairement qu'après les transsepts et l'autel est placé au fond de l'abside dans le sanctuaire qui occupe le rond-point. «Le choeur des clercs, dit Guillaume Durand 176, est l'endroit où ils se réunissent pour chanter en commun,» et il ajoute: «où la multitude du peuple est rassemblée pour assister aux saints mystères,» ce qui rend sa définition assez vague; à moins de supposer (ce qui est possible) qu'il entendait par choeur, non-seulement l'espace réservé aux clercs, mais aussi les bas-côtés de l'abside dans lesquels se rangeaient les fidèles 177. Toutefois il est nécessaire ici de faire connaître ce qu'étaient les choeurs des églises, soit conventuelles, soit paroissiales ou cathédrales, aux différentes époques du moyen âge.
Les dispositions qui aujourd'hui nous semblent les plus faciles à retrouver sont celles des choeurs des églises monastiques, parce qu'elles ont, jusqu'à la fin du siècle dernier, subi moins d'altérations que celles des autres églises. Toutes les abbayes possédaient des corps saints, des reliques vénérées qui étaient déposées soit dans une crypte sous le sanctuaire, soit dans le sanctuaire lui-même, ainsi que cela avait lieu à Saint-Denis en France. Ce sanctuaire, qui, comme nous venons de le dire, commençait à partir de l'ouverture orientale de la croisée, était souvent élevé de quelques marches au-dessus du sol des transsepts. Les fidèles n'étaient admis dans l'intérieur du sanctuaire qu'à certaines fêtes, à l'occasion de cérémonies extraordinaires. Le choeur des religieux, placé dans la croisée et les dernières travées de la nef, était clos par un jubé vers l'entrée, et des boiseries, grilles ou murs latéraux s'étendant jusqu'au sanctuaire. L'assistance des fidèles dans les églises monastiques n'était qu'accessoire, et les religieux enfermés dans le choeur, n'étaient pas et ne devaient pas être vus de la nef, les fidèles entendaient leurs chants, voyaient les clercs montés sur le jubé pour lire l'épître et l'évangile, et ne pouvaient apercevoir l'autel qu'au travers de la porte du jubé, lorsque le voile était tiré. Dans les monastères des XIe et XIIe siècles, les religieux étaient très-nombreux et leurs églises faites pour eux; les fidèles se rendaient aux paroisses et dans les nombreuses chapelles qui entouraient les couvents pour assister au service divin. Il y avait toujours alors dans ces monastères un concours nombreux d'étrangers, de pèlerins, de réfugiés, auxquels la nef de l'église était réservée, qui y passaient une grande partie de leur temps et y demeuraient même parfois jour et nuit. Il devenait alors nécessaire de clore le choeur des religieux. Ce programme ne convenait pas aux paroisses, encore moins aux cathédrales.
Les cathédrales (voy. ce mot), lorsqu'elles furent presque toutes rebâties en France, à la fin du XIe le siècle, avaient à la fois un caractère religieux et civil; et là, sauf l'autel qui était entouré de ses voiles, rien n'obstruait la vue. En les construisant sur de vastes plans, les évêques avaient voulu, au contraire, offrir aux habitants des grandes cités, de larges espaces dans lesquels les cérémonies du culte, et même des assemblées civiles, pussent se développer à l'aise. Il ne faut pas oublier que les cathédrales de cette époque furent élevées dans un esprit opposé à l'esprit monastique, pour attirer et réunir les habitants des cités populeuses autour de leur évêque. Les évêques voulaient que les fêtes religieuses fussent la fête de tous. Aussi les choeurs et les sanctuaires des cathédrales ne s'élèvent que de deux ou trois marches au-dessus du pavé de la nef; les transsepts sont abandonnés aux fidèles, les larges bas-côtés qui entourent les absides sont presque toujours de plain-pied avec le choeur, et n'en sont séparés par aucune clôture. De tous côtés la vue s'étend, l'accès est facile.
Du temps de Guillaume Durand encore, à la fin du XIIIe siècle, il ne semble pas que les choeurs fussent généralement entourés de stalles fixes et de clôtures. «L'ornement du choeur, dit-il 178, ce sont des dorsals, des tapis que l'on étend sur le pavé, et des bancs garnis (bancalia). Les dorsals (dorsalia) sont des draps que l'on suspend dans le choeur derrière le dos des clercs 179...» Plus loin, à propos des fêtes de Pâques, il dit 180: «On approprie les églises, on en décore les murailles en y étalant des draperies. On place des chaires dans le choeur, on y déploie des tapis et on y dispose des bans 181... L'autel est décoré de tous ses ornements; dans certaines églises, ce sont des étendards qui désignent la victoire de Jésus-Christ, des croix et autres reliques.»
Dans toutes les cathédrales primitives la place de l'évêque était au fond de l'abside, dans l'axe; celles des officiers qui assistaient le prélat lorsqu'il disait la messe étaient à droite et à gauche en demi-cercle; cette disposition justifie l'une des étymologies données au mot choeur, corona; alors l'autel n'était qu'une table sans retable, placée entre le clergé et le bas-choeur où se tenaient les chanoines et clercs; puis venaient les laïques rangés dans les transsepts et la nef, les femmes d'un côté, les hommes de l'autre. Cette disposition fut conservée dans quelques cathédrales, jusque vers le milieu du dernier siècle, entre autres à Lyon, ainsi que l'atteste le sieur de Mauléon, dans ses Voyages liturgiques. À l'une des extrémités de l'hémicycle qui garnissait l'abside du côté de l'épître, s'asseyait le prêtre célébrant qui avait à côté de lui un pupître pour lire l'épître. L'officiant à l'autel faisait face à l'orient. Derrière le grand autel, entouré d'une balustrade, était un autel plus petit. Depuis cet autel jusqu'au fond de l'abside où se trouvait placé le siége archi-épiscopal, il restait un vaste espace libre au milieu duquel on plaçait, sur une sorte de pupître, la chape pour l'officiant, et à côté un réchaud contenant de la braise pour les encensements. En avant de l'autel, entre le bas-choeur et le sanctuaire, était placé un grand ratelier à sept cierges 182, qui remplaçait ainsi la trabes ou trabs 183 des églises primitives. Mais l'abside de la cathédrale de Lyon est dépourvue de bas-côté. La disposition du choeur et du sanctuaire devait être tout autre dans les églises, dont les absides, comme celles de nos grandes cathédrales du Nord, étaient accompagnées d'un bas-côté simple ou double. Alors le maître-autel était placé au centre de l'hémicycle, et l'évêque assistant prenait sa place en bas du choeur, qui était alors la place honorable; les officiers s'asseyaient à droite et à gauche, sur des bancs, suivant leurs dignités, les derniers plus près du sanctuaire. Cet ordre était également suivi dans les églises abbatiales; le siége de l'abbé était en bas du choeur, cette disposition se prêtant mieux que toute autre aux cérémonies.
Pendant la seconde moitié du XIIIe siècle, soit que les évêques eussent renoncé à conserver à leurs cathédrales les dispositions de vastes salles propres aux grandes réunions populaires, soit que les chapitres se trouvassent trop à découvert dans les choeurs accessibles de toutes parts, on établit d'abord des jubés en avant des choeurs, puis bientôt après des clôtures hautes, parfaitement fermées, protégeant des rangées de stalles fixes garnies de hauts dossiers avec dais. Les chanoines furent ainsi chez eux dans les cathédrales, comme les religieux cloîtrés étaient chez eux dans leurs églises monastiques. Mais cependant, il fallait, dans les cathédrales, que les fidèles pussent assister aux offices, ne pouvant voir les cérémonies qui se faisaient dans les choeurs fermés de toutes parts; c'est alors que l'on éleva, dans les églises épiscopales, ces chapelles nombreuses autour des bas-côtés des choeurs et même le long des parois des nefs (voy. CATHÉDRALE). La pensée dominante qui avait inspiré les évêques à la fin du XIIe siècle, lorsqu'ils se mirent à bâtir des cathédrales sur de nouveaux plans, fut ainsi abandonnée lorsqu'elles étaient à peine achevées, et, en moins d'un siècle, la plupart des choeurs de ces grandes églises furent fermés, les cérémonies du culte dérobées aux yeux des fidèles. Nous n'entreprendrons pas de rechercher ici ni d'expliquer les causes de ce changement. Nous nous contenterons de signaler le fait qui doit se rattacher, si nous ne nous trompons, à des discussions survenues entre les évêques et leurs chapitres, discussions à la suite desquelles les évêques durent céder aux voeux des chanoines, particulièrement intéressés à se clore 184.
La cathédrale de Chartres éleva un jubé en avant de son choeur vers le milieu du XIIIe siècle; nous ne savons aujourd'hui si, dès cette époque, elle l'entoura d'une clôture; c'est probable. La cathédrale de Bourges éleva une clôture en pierre autour de son choeur dès la fin du XIIIe siècle. Celle de Paris commença aussi à clore son choeur vers la même époque, et cette clôture était à peine achevée, que l'évêque Mattifas de Bucy faisait construire la ceinture de larges chapelles qui enveloppe le double bas-côté de l'abside. Ces clôtures nécessitaient donc la construction de ces chapelles?
Les clôtures modifièrent profondément les plans primitifs des cathédrales dont les choeurs n'avaient nullement été disposés pour les recevoir; elles donnèrent aux choeurs un aspect nouveau, contraire à l'esprit qui avait dû diriger les premiers constructeurs. Ne pouvant savoir aujourd'hui quelles étaient les dispositions premières des choeurs de cathédrales, nous sommes obligés de nous en tenir à celles adoptées à la fin du XIIIe siècle; elles sont d'ailleurs coordonnées avec ensemble, et dignes en tous points de l'objet. De tous les choeurs de cathédrales, celui sur lequel il reste le plus de renseignements précis est le choeur de la cathédrale de Paris. Nous en donnerons donc (1) une vue cavalière, accompagnée d'une description empruntée à Corrozet et à Du Breul. Après la croisée, entre les deux gros piliers des transsepts, un jubé de pierre fermait l'entrée du choeur. Sur l'arcade principale qui servait de porte était un grand crucifix; cet ouvrage, dit Du Breul, était un chef-d'oeuvre de sculpture; à droite et à gauche, cette arcade se réunissait à la clôture en pierre peinte, de cinq mètres de haut, représentant l'histoire de Jésus-Christ, et dont il reste une grande partie. Cette clôture, du côté nord et du côté sud, servait d'appui aux dossiers des stalles qui étaient de bois sculpté et couronnées d'une suite de dais. Deux portes latérales percées dans la clôture donnaient entrée dans le choeur, auquel on arrivait du côté du cloître par la porte rouge, et du côté de l'évêché par une galerie communiquant avec le palais épiscopal. Autour du rond-point (sanctuaire), la clôture, dans sa partie supérieure, était à jour, de sorte que les scènes de la vie de Notre-Seigneur, sculptées en ronde-bosse, se voyaient du dedans du choeur aussi bien que des bas-côtés. Au-dessous de cette partie à jour, des bas-reliefs représentaient des scènes de l'Ancien Testament. Il était, de toutes manières, impossible de voir, des collatéraux, ce qui se passait dans le choeur et le sanctuaire. Des deux côtés de l'entrée du jubé donnant sur la croisée étaient deux autels, suivant l'usage. Le choeur s'élevait de quatre marches au-dessus du pavé de la nef; à la suite des stalles venait le sanctuaire, élevé de trois marches au-dessus du choeur, et sous la clef de voûte absidale le maître autel, dont une tapisserie et une gravure 185 nous ont conservé la forme et les accessoires. Derrière le maître autel était placée, sur une large table de cuivre, portée sur quatre gros piliers de même matière, la châsse de saint Marcel, surmontée d'une grande croix; d'autres châsses étaient disposées à droite et à gauche; derrière la châsse de saint Marcel était, du côté droit, le petit autel de la Trinité, dit des Ardents, sur lequel était placée la châsse de Notre-Dame, contenant du lait de la sainte Vierge et des fragments de ses vêtements. Près de l'entrée principale du choeur, on voyait, en ronde-bosse, la statue de bronze de l'évêque Odon de Sully, couchée sur une table de même métal élevé d'un pied environ au-dessus du niveau du pavé du choeur. Odon de Sully contribua en partie à la construction de la cathédrale; c'est sous son épiscopat que fut probablement élevée la nef. Au milieu du choeur, sous le lutrin, étaient incrustées, au niveau du pavé, quatre pierres tombales, couvrant les restes de la reine Isabelle de Hainaut, femme de Philippe-Auguste, de Geoffroy, duc de Bretagne, et de deux autres personnages inconnus. Devant le grand autel, sous une table de cuivre, le coeur de Louise de Savoie, mère de François Ier. D'autres tombes se voyaient encore derrière le grand autel du temps de Corrozet, entre autres celles du célèbre Pierre Lombard, archidiacre de la cathédrale et prince; car on n'enterrait dans le choeur des cathédrales que des évêques, des princes et princesses. À côté du maître autel, du côté du nord, s'élevait, sur une colonne de pierre, la statue de Philippe-Auguste; à ses pieds était la tombe en marbre noir de l'évêque Pierre de Ordemont, qui mourut en 1409.

Mais quelle que fût la richesse et la splendeur des choeurs des cathédrales, ceux-ci n'égalaient pas, en étendue, en meubles richement ouvragés, en châsses précieuses et en tombeaux magnifiques, les choeurs et sanctuaires des grandes abbayes. Parmi ces abbayes, celle de Saint-Denis, en France, se distinguait entre toutes, puisque le choeur de son église servait de sépulture aux princes français. Le plan de ce choeur et de ce sanctuaire est donné dans l'histoire de l'abbaye de Saint-Denis, par dom Félibien; nous nous contenterons d'en tracer la vue cavalière, qui fera mieux comprendre les dispositions principales de cette clôture vénérée (2). Ici, comme dans toutes les églises abbatiales, le choeur, proprement dit, occupait les dernières travées de la nef, la croisée et une travée de l'abside; le sanctuaire, auquel on montait par quatre rampes de dix-huit degrés chacune, deux petites de chaque côté de l'autel et deux grandes dans les deux collatéraux, s'étendait dans l'abside au-dessus de l'ancienne crypte carlovingienne.

Dom Doublet 186 nous fournira la description détaillée de toutes les parties du choeur et sanctuaire de la célèbre église abbatiale. L'entrée du choeur était fermée par un jubé, sur le devant duquel, du temps de dom Doublet, on voyait encore, sculptés en pierre, la vie et le martyre de saint Denis, de saint Rustic et de saint Éleuthère. Sur l'arcade principale s'élevait le crucifix donné par l'abbé Suger; les images de la Vierge et de saint Jean accompagnaient la croix. C'était du haut du jubé que, les jours de fêtes, on chantait l'Évangile. Dom Doublet dit qu'autrefois ce frontispice était couvert de figures d'ivoire entremêlées d'animaux de cuivre; ouvrage admirable, prétend-il, donné par Suger, et que les huguenots détruisirent 187. Avant le sacre et couronnement de la reine Marie de Médicis, le choeur de Saint-Denis n'avait toutefois subi aucune modification importante. Des deux côtés, soixante stalles hautes et basses, richement sculptées et garnies de dossiers en étoffe, s'adossaient aux piliers de la nef. À l'extrémité des stalles, d'un des gros piliers de la croisée à l'autre, une trabes traversait le choeur; cette poutre était peinte d'azur, semée de fleurs de lis d'or; une croix d'or, que l'on prétendait avoir été fabriquée par saint Éloy, s'élevait au milieu de sa portée. Entre les stalles était le lutrin de bronze donné par le roi Dagobert et provenant de l'église Saint-Hilaire de Poitiers. Ce pupitre était soutenu par les quatre figures des Évangélistes, également en bronze. En remontant vers l'autel, dans l'axe du choeur, on voyait le tombeau de Charles le Chauve, en cuivre émaillé, porté sur quatre lions, et ayant, à chaque angle, un des quatre docteurs de l'Église. Le pavé était magnifique, en marbre blanc, noir, vert antique, jaspe et porphyre; c'était probablement une de ces mosaïques connues en Italie sous le nom d'opus Alexandrinum. À l'extrémité orientale du choeur, au-delà de la croisée dans la première travée du sanctuaire, s'élevait l'autel de la Trinité, dit autel matutinal, en marbre noir, enrichi de figures en marbre blanc représentant le martyre de saint Denis; on couvrait son retable de pierre d'un magnifique retable d'or aux fêtes solennelles (voy. AUTEL, fig, 7). Une grille de fer, placée au-devant de l'autel matutinal, au droit des deux premiers piliers de l'abside, formait un premier sanctuaire inférieur. Derrière l'autel, on apercevait la châsse de saint Louis, ouvrage d'argent et de vermeil. Des deux côtés, deux rampes étroites montaient au sanctuaire supérieur. Quatre colonnes d'argent portant les anges céroféraires accompagnaient ces rampes et servaient à suspendre, au moyen de tringles, les voiles de l'autel matutinal. Le sanctuaire supérieur était clos par des grilles de fer forgé, dont il reste des débris admirables. Au fond de l'abside, les châsses de saint Denis et de ses deux compagnons étaient placées sous un édicule d'un travail précieux, accompagné d'un grand autel antérieur (voy. AUTEL, fig. 6). Entre les stalles et l'autel de la Trinité, saint Louis avait fait placer un grand nombre de tombes des princes ses prédécesseurs, en respectant probablement les anciennes places occupées par leurs restes. Le tombeau de Dagobert, monument d'une grande importance, également refait du temps de saint Louis, était placé à côté de l'autel matutinal (côté de l'épître). En face, plus tard, furent disposées les tombes de Philippe V, de la reine Jeanne d'Évreux, de Charles le Bel son époux, de Jeanne de Bourgogne, de Philippe de Valois et du roi Jean. Le magnifique monument de Charles VIII, en bronze doré et émaillé, se trouvait, du même côté, en avant de la clôture de l'autel matutinal (voy. TOMBEAU).
Toutes les églises abbatiales ne pouvaient réunir dans leurs choeurs une aussi grande quantité de monuments précieux comme art et comme matière; cependant elles rivalisaient de zèle et de soins pour décorer les clôtures religieuses. Le choeur de l'abbaye de Cluny était magnifique, le nombre des stalles considérable, le luminaire splendide. Le sanctuaire était entouré de grilles et de tombeaux qui formaient clôture. Cet usage d'employer les tombeaux en guise de clôture pour les sanctuaires se retrouve également dans beaucoup d'autres églises abbatiales et cathédrales, à Saint-Germain-des-Prés, à l'abbaye d'Eu, dans les cathédrales de Rouen, d'Amiens, de Limoges, de Narbonne. Les tombes des princes, des évêques, protègent les sanctuaires (voy. CLÔTURE, TOMBEAU).
Les choeurs des églises paroissiales reproduisaient, sur de petites dimensions, les dispositions adoptées dans les cathédrales. Cependant, comme les églises paroissiales étaient, avant tout, faites pour les fidèles, les choeurs ne furent guère entourés que de clôtures à jour en fer ou en pierre, et les jubés laissaient voir l'autel sous des arcs portés par de fins piliers. Il ne paraît pas, d'ailleurs, que des jubés aient été très-anciennement élevés à l'entrée des choeurs des églises paroissiales, tandis qu'à la fin du XVe siècle et au commencement du XVIe, au contraire, on établit des jubés devant les choeurs de ces églises (voy. JUBÉ). Nous ne devons pas omettre de signaler à nos lecteurs les choeurs des églises qui étaient dépourvues de bas-côtés, comme, par exemple, la cathédrale d'Alby. Dans ce cas, le choeur formait une église dans l'église, avec un espace laissé entre cette clôture et les chapelles rayonnantes; cette disposition est rare en France, et ne se rencontrait que dans quelques églises du Midi.
Presque toutes les églises françaises, et particulièrement les grandes églises abbatiales et cathédrales, présentent une déviation plus ou moins prononcée dans leur axe, à la réunion du choeur avec les transsepts, soit vers le nord, soit vers le sud. On a cherché naturellement à donner l'explication de cette singularité. L'auteur du moyen âge qui pouvait le mieux en donner la raison, Guillaume Durand, qui applique à chaque partie de l'église une signification symbolique, n'en dit mot. Les archéologues modernes ont voulu voir, dans cette inclinaison donnée à l'axe des choeurs des églises, soit une représentation mystique de l'inclinaison de la tête du Christ sur la croix, soit une orientation particulière de l'abside vers le levant et de la façade vers le couchant. Nous ne discuterons pas ces deux opinions, qui ne sont basées sur aucun texte et qui sont plus ingénieuses que vraisemblables; car, dans l'une ou l'autre hypothèse, l'inclinaison serait toujours dirigée du même côté, ce qui n'est point, et les écrivains du moyen âge qui ont parlé longuement de la construction des églises en auraient dit un mot.
Nous hasarderons aussi notre opinion personnelle, sans toutefois prétendre la donner comme résolvant la question; nous dirons tout d'abord qu'elle n'est basée que sur une observation pratique et purement matérielle. Les églises qui présentent cette déviation dans leur axe sont toutes bâties à la fin du XIIe siècle ou au commencement du XIIIe; on les construisait partiellement sur l'emplacement d'églises déjà existantes; c'est-à-dire qu'en conservant la nef pour ne pas interrompre les offices, on bâtissait le choeur, ou, ce qui était plus rare, conservant le choeur ancien, on rebâtissait d'abord la nef, ainsi que cela eut lieu pour la cathédrale d'Amiens. Il arrivait souvent qu'en reconstruisant le choeur on élevait en même temps la façade occidentale, afin de donner aux fidèles, le plus promptement possible, une idée de la grandeur du monument et d'encourager leurs efforts; ou bien, par des raisons d'économie faciles à comprendre, on comptait se servir des fondations anciennes lorsque, l'abside achevée, on rebâtirait la nef. Ces deux opérations successives, ce raccordement ne laissaient pas de présenter des difficultés de plantation assez grandes, surtout à une époque où l'on ne possédait pas d'instruments de précision appropriés à la plantation des édifices, où l'on ne pouvait se servir que de cordeaux et de jalons; alors même l'instrument très-imparfait, connu sous le nom d'équerre d'arpenteur, n'était pas en usage. Il ne faut pas oublier d'ailleurs que les cathédrales, aussi bien que les églises conventuelles, étaient, à cette époque, entourées d'une quantité de bâtiments accessoires, cloîtres, trésors, sacristies, librairies, logements, que les évêques ainsi que les moines conservaient debout aussi longtemps que cela était possible, puisque ces bâtiments servaient journellement. Le maître de l'oeuvre, en plantant un choeur avec l'idée de le raccorder plus tard à une nef existante ou à reconstruire sur d'anciennes fondations, ne pouvait se mettre en communication immédiate avec cette seconde partie. Il devait fermer hermétiquement la portion conservée de l'édifice, et planter son abside au moyen de lignes d'emprunt qu'il lui fallait prendre au milieu d'une masse compacte de bâtiments. Or aujourd'hui, avec l'aide de nos instruments si parfaits, cette opération présente d'assez sérieuses difficultés, ne réussit pas toujours, et on constate des erreurs lorsqu'on en vient au raccordement. Le raccordement exact de l'axe ancien avec l'axe nouveau est un, tandis que la chance d'erreurs est infinie. Nous sommes donc disposés à penser que ces déviations des choeurs de nos églises proviennent d'erreurs, inévitables alors, dans la plantation de monuments construits à deux reprises. Si l'on pouvait nous fournir deux exemples seulement d'églises bâties d'un seul jet et dans lesquelles les choeurs seraient inclinés du même côté, nous serions disposés à admettre une raison symbolique; jusqu'alors nous regarderons l'opinion que nous venons d'émettre comme étant la plus probable.
On nous objectera peut-être que, lorsque les maîtres des oeuvres en venaient à la reconstruction de la nef après avoir achevé celle du choeur, il leur était facile de réparer leur erreur, et de prolonger l'axe du sanctuaire pour en faire l'axe de la nef nouvelle. Certainement cela leur eût été facile, s'ils n'eussent dû soit conserver de vieilles fondations, soit se raccorder avec une façade déjà élevée de quelques mètres, soit enfin, admettant qu'ils n'eussent ni fondations anciennes à conserver, ni façade à respecter, se tenir entre des lignes de bâtiments presque toujours accolés aux murs de l'église, tels que cloîtres, salles capitulaires, logis, que l'on voulait conserver parce qu'on ne pouvait s'en passer, même temporairement. Ces constructions que nous admirons gênaient fort les chanoines ou les moines, et il fallait la ferme volonté des abbés, au XIIe siècle, et des évêques, au XIIIe, et leur souveraine puissance, pour vaincre des opositions nombreuses dont nous retrouvons les traces même encore aujourd'hui. Or tous ceux qui sont appelés à diriger des constructions savent quelles sont les difficultés incessantes que soulèvent ces oppositions de chaque jour, quelles que soient la fermeté et la volonté du maître. Il n'est pas surprenant que les architectes des XIIe et XIIIe siècles n'aient pas eu leurs coudées franches et aient été conduits souvent, par des motifs bien misérables, à des erreurs ou des irrégularités qui nous paraissent inexplicables aujourd'hui.
Note 184: (retour) «Le long de la clôture du choeur de Notre-Dame de Paris allant vers l'orient,» dit Du Breul, «on voit la figure d'un homme d'église, orné d'une dalmatique, à côté duquel ce qui suit est gravé: «Maistre Pierre de Fayel, chanoine de Paris, a donné deux cents livres pour ayder à faire ces histoires (qui décorent la clôture), et pour les nouvelles verrières qui sont sur le choeur de ceans.» Le don du digne chanoine indique assez que les chapitres tenaient à être bien clos.
Note 187: (retour) Il faut observer toutefois que le jubé avait dû être rebâti sous le règne de saint Louis, avec la nef, la croisée et une partie du sanctuaire. Il faut donc supposer que ces images dont parle D. Doublet auraient été reposées sur le jubé du XIIIe siècle. Le fait n'a rien d'ailleurs de contraire aux habitudes de cette époque, souvent les constructeurs du XIIIe siècle replacèrent dans leurs monuments des bas-reliefs d'une époque antérieure.
CHRIST (Jésus). Nous ne tenterons pas de faire l'histoire des premières représentations peintes ou sculptées de Jésus-Christ, après les travaux des Ciampini, des Eckel, des Ducange, des Bottari, des Bosio, des d'Agincourt, et ceux plus récents de M. Raoul Rochette 188, de M. Didron 189, des RR. PP. Martin et Cahier 190. Avant l'époque dont nous nous occupons particulièrement, les représentations du Sauveur sont diverses; les plus anciennes, celles que l'on trouve dans les catacombes de Rome et sur les sarcophages chrétiens, nous montrent Jésus sous la forme d'un jeune homme imberbe, portant le vêtement romain, la tête nue avec de longs cheveux ou ceinte d'un diadème ou d'une bandelette, et tenant à la main le volumen antique roulé. Cependant, dès une époque reculée, on prétendait posséder des portraits authentiques de Jésus-Christ. Saint Jean Damascène dit qu'une tradition accréditée de son temps reconnaissait un portrait de Jésus empreint sur un morceau d'étoffe par le Sauveur lui-même pour satisfaire au désir d'Abgare, roi d'Édesse. Pendant les premiers siècles de l'Église, il circulait un signalement (apocryphe il est vrai) de Jésus, envoyé par Lentulus au sénat; ce signalement, par son ancienneté, sinon par son origine plus que douteuse, n'en a pas moins une grande valeur, car il est mentionné par les premiers Pères de l'Église, et servit de type aux images adoptées plus tard par les Églises grecque et latine. «Cet homme, dit le signalement attribué à Lentulus, est d'une taille haute et bien proportionnée; sa physionomie est sévère et pleine de puissance, afin que ceux qui le voient puissent l'aimer et le craindre en même temps. Ses cheveux sont couleur de vin, et, jusqu'à la racine des oreilles, sont longs et sans reflets. Mais, des oreilles aux épaules, ils sont bouclés et brillants; à partir des épaules, ils descendent sur le dos, divisés en deux parties, à la façon des Nazaréens. Front uni et pur; face sans tache, tempérée d'une certaine rougeur. Son aspect est modeste et gracieux, son nez et sa bouche irréprochables. Sa barbe est abondante, de la couleur des cheveux, et bifurquée. Ses yeux sont bleus 191 et très-brillants. S'il reprend ou blâme, il est redoutable; s'il instruit ou exhorte, sa parole est aimable et insinuante. Son visage joint une grâce merveilleuse à la gravité. Personne ne l'a vu rire une seule fois, pas même pleurer 192. D'une taille svelte, ses mains sont longues et belles, ses bras charmants. Grave et mesuré dans ses discours, il est sobre de paroles. De visage, il est le plus beau des enfants des hommes 193.» Tous les artistes chrétiens du moyen âge cherchèrent à reproduire ces traits, ce port et cette physionomie; ils y réussirent quelquefois. En France, jusque vers la fin du XIe siècle, les représentations du Christ sont, comme toute la sculpture et la peinture occidentales avant cette époque, passablement grossières, empreintes des traditions romaines ou byzantines, suivant que les écoles de sculpteurs subissaient l'une ou l'autre de ces deux influences. Sauf quelques traits caractéristiques, comme la longueur des cheveux, la nudité des pieds, le nimbe crucifère, le geste et la présence de quelques accessoires, le livre des évangiles ou le globe, les figures du Christ ne présentent pas un type uniforme; ils sont barbus ou imberbes, vêtus de la tunique simple, longue ou double; le manteau se rapproche du pallium grec ou de la toge romaine. Mais, à la fin du XIe siècle, les riches abbayes françaises qui avaient des rapports fréquents avec la Lombardie, où s'était réunie une école d'artistes grecs, et même avec l'Orient, firent venir dans leurs monastères des peintres et des sculpteurs, qui bientôt formèrent en France une école qui surpassa ses maîtres (voy. STATUAIRE) et parcourut une longue et brillante carrière. Ces artistes non-seulement introduisirent chez nous la pratique de l'art, mais aussi des types formés, consacrés depuis longtemps déjà en Orient; types que le génie occidental modifia bientôt, sans cependant s'en écarter tout à fait. Et pour ne parler ici que da la représentation du Christ, nous voyons, sur le portail intérieur de la célèbre église de Vézelay, un immense tympan au milieu duquel est représenté le Sauveur dans sa gloire, entouré des douze apôtres. Cette figure, de dimension colossale, est évidemment exécutée sous l'inspiration d'artistes byzantins, si ce n'est par eux-mêmes. L'attitude, les vêtements, le faire ne rappellent en rien les grossières et lourdes sculptures françaises antérieures à cette époque, empreintes des dernières traditions de la décadence romaine.

Nous donnons (1) une copie de cette sculpture, étrange mais imposante à la fois. Ce Christ est vêtu d'une longue robe flottante, plissée à petits plis suivant un usage oriental fort ancien et conservé jusqu'à nos jours. La brise semble soulever les longs plis de la robe. Le pallium ne rappelle en rien, ni comme forme, ni comme façon de le porter, le manteau romain ou franc. Le col est découvert; les manches de la tunique sont larges, un peu fendues à leur extrémité et très-ouvertes. Quant à la face du fils de Dieu, elle offre un type tout nouveau alors pour l'Occident. Les yeux sont légèrement relevés vers leurs extrémités, saillants; les joues longues et plates, le nez très-fin et droit, la bouche petite et les lèvres minces. La coiffure est conforme au signalement de Lentulus et la barbe courte, fournie, soyeuse et divisée en deux pointes.
Ce type, l'un des premiers peut-être introduits en France à la fin du XIe siècle ou au commencement du XIIe, dut être regardé, à cette époque, comme une oeuvre remarquable, car nous le voyons reproduit, mais par des artistes grossiers, sur le tympan de la cathédrale d'Autun, postérieure de quelques années à la nef de Vézelay, puis à l'abbaye de Charlieu, puis enfin dans beaucoup d'églises secondaires; mais en se divulguant ainsi, il perd de son caractère byzantin et reprend quelque chose aux vieilles traditions romaines. Évidemment les sculpteurs indigènes, tout en voulant imiter ces sculptures importées chez eux, ne pouvaient abandonner complétement les anciennes méthodes et ne faisaient que les modifier. Cet art byzantin ne convenait pas à l'esprit des populations occidentales; il était trop hyératique; l'observation de la nature, le besoin de l'imitation, du vrai, l'amour pour le dramatique, devaient exercer une influence salutaire d'abord, déplorable quand elle tomba dans l'excès. Cependant, cette introduction d'un art étranger avait eu un grand résultat; elle formait de bons praticiens, car cette figure du Christ dont nous venons de donner une copie est exécutée avec une adresse de main très-remarquable, ainsi que le reste de ce bas-relief; on sent là un art complet, quoique soumis à une forme hyératique. Ce qui se produisait en France pour la sculpture se produisait également pour la peinture. Les fresques de l'église abbatiale de Saint-Savin près Poitiers, qui datent à peu près de la même époque que le bas-relief de Vézelay, dénotent une influence byzantine prononcée, au moins dans la représentation des personnages sacrés; celles qui se voyaient encore dans la cathédrale du Puy-en-Vélay, il y a quelques années, se rapprochaient encore davantage des types grecs. Ce n'est pas à dire que nous regardions les peintures de Saint-Savin ou du Puy comme ayant été exécutées par des artistes grecs; il est certain, au contraire, qu'elles sont l'oeuvre de peintres occidentaux. Le geste dramatique n'a rien de byzantin; c'est seulement dans la méthode, dans les procédés et quelques types, comme celui du Christ, que la trace des arts d'Orient se fait sentir. La fig. 2 nous dispensera de plus longues dissertations sur cet objet. Nous aurons l'occasion de revenir sur ces influences d'écoles au mot PEINTURE.

C'est surtout dans les représentations du Christ triomphant, au milieu de sa gloire, qu'il faut étudier la physionomie donnée, pendant le moyen âge, au fils de Dieu; car c'est en traitant ce sujet que les artistes se sont appliqués à rendre les traits et le port donnés au Sauveur par la tradition.
Pendant la période romane, jusque vers la fin du XIIe siècle, le Christ triomphateur, figuré en sculpture ou peinture, est ordinairement entouré du nimbe allongé, comme celui représenté fig. 1, ce qui n'exclut pas le nimbe crucifère qui cerne sa tête. Dans les peintures, comme à Saint-Savin par exemple, l'auréole qui entoure le corps du Christ triomphateur est souvent circulaire; nous n'en connaissons pas ayant cette forme dans les représentations sculptées. Du reste, ces règles ne sont pas sans exception.

Dans la crypte de la cathédrale d'Auxerre, il
existe une peinture, de la fin du XIe siècle probablement, qui fait voir
le Christ triomphateur à cheval (3), conformément à la vision de saint
Jean
194. Il est posé sur une grande croix ornée de pierreries peintes
qui couvre la voûte. Dans les quatre intervalles laissés entre les bras
de la croix sont quatre anges, également à cheval; la tête seule du
Christ est nimbée. Il est vrai que la croix peut passer pour un signe de
triomphe et tenir lieu de la grande auréole. Dans ces deux
représentations peintes, les cheveux du Sauveur sont blonds et la barbe
noire. Les vêtements du Christ de Saint-Savin sont ainsi colorés: la
robe est verte avec une bordure branche, le manteau est jaune; la
bordure de la robe, sur la poitrine, est brun rouge avec ornements
blancs. Le nimbe est rouge croisé de blanc. La robe du Christ d'Auxerre
est blanche, bordée de brun rouge; le manteau est bleu clair sur les
épaules, brun rouge bordé de jaune sur la poitrine; le nimbe est bleu
croisé de rouge. Les couleurs des vêtements donnés au Christ par les
peintres des XIe, XIIe et XIIIe siècles, varient à l'infini, ce qui ne
peut laisser supposer qu'on eût adopté en Occident certaines couleurs
symboliques pour les vêtements des personnages sacrés. Pendant le cours
du XIIe siècle, le Christ triomphateur, soit peint, soit sculpté, est
presque toujours représenté entouré des quatre signes des évangélistes,
des apôtres ou des vingt-quatre vieillards. À Vézelay, ce sont les
apôtres qui sont assis autour de lui (voy. APÔTRE). Au portail
occidental de Notre-Dame de Chartres, dont le tympan date de 1150 ou
environ, ce sont les quatre animaux, les apôtres et les vieillards de
l'Apocalypse. À Saint-Savin, ce sont, en peinture, les quatre animaux
qui accompagnent l'auréole circulaire du fils de Dieu. À la cathédrale
d'Autun (1150 environ), ce sont les apôtres, les animaux, des anges et
démons, le jugement dernier, le pèsement des âmes. Au portail sud de
l'église de Moissac, même époque, le Christ est coiffé d'une couronne
carrée; son buste seul est entouré du nimbe allongé; à ses pieds sont le
lion et le boeuf; des deux côtés de ses épaules, l'ange et l'aigle; deux
anges de dimension colossale sont debout à droite et à gauche; puis
viennent les vingt-quatre vieillards, sous ses pieds et derrière les
deux anges (voy. TYMPAN). Ici le Christ tient un livre fermé de la main
gauche et bénit de la droite, comme au portail de Chartres; tandis qu'à
Vézelay et à Autun il a les mains étendues et ouvertes. Il est certain
que, pendant le XIIe siècle, l'idée dominante des sculpteurs était,
lorsqu'ils représentaient le Christ dans sa gloire, de se rapprocher de
la vision de saint Jean. Au XIIIe siècle, le Christ glorieux est
représenté pendant le jugement dernier; il est demi-nu, montre ses
plaies; autour de lui sont des anges tenant les instruments de la
Passion, quelquefois aussi le soleil et la lune; à ses pieds se
développent les scènes de la résurrection et de la séparation des bons
d'avec les méchants. C'est ainsi qu'il est représenté au portail
principal de la cathédrale de Paris, au portail sud de la cathédrale de
Chartres, au portail nord de la cathédrale de Bordeaux, au portail
occidental de la cathédrale d'Amiens, etc. Alors les quatre animaux
n'occupent plus qu'une place très-secondaire ou disparaissent
entièrement. Le clergé français du XIIIe siècle avait évidemment voulu
adopter la scène du jugement, bien plus dramatique, plus facile à
comprendre pour la foule, que les visions de saint Jean. En abandonnant
la tradition byzantine quant à la manière de représenter le Christ
glorieux, on abandonnait également le costume et le faire oriental.
Cependant le type de physionomie donné au Christ se modifie quelque peu;
la face est moins longue, les cheveux deviennent ondés sur les tempes au
lieu d'être plats, les yeux sont moins ouverts, la bouche moins fine;
les traits se rapprochent davantage de l'humanité; déjà on sent
l'influence du réalisme occidental qui remplace les types consacrés.
Le grand Christ du jugement du portail de la cathédrale de Paris est
curieux à étudier sous ce rapport. Cette figure, fort belle d'ailleurs,
n'a plus rien d'hiératique. Et, à ce propos, nous devons signaler ici un
fait remarquable. En reprenant les soubassements des chapelles situées
au nord de la nef de cette église, chapelles dont la construction ne
saurait être postérieure à 1235 ou 1240, nous avons retrouvé des
fragments d'un Christ colossal provenant évidemment d'un grand tympan,
avec les traces des quatre animaux et d'un livre. Cette sculpture
appartient aux dernières années du XIIe siècle et, comme exécution, est
d'une grande beauté. Il fallait donc que les types admis par le XIIe
siècle fussent réprouvés par le XIIIe, pour que l'on se soit décidé,
quelques années après, lorsque le portail principal fut élevé vers 1220,
à détruire une sculpture aussi importante, pour y substituer celle que
nous voyons aujourd'hui. Du reste, il est bon de remarquer encore ceci,
c'est que le Christ du tympan de la porte principale de Notre-Dame de
Paris, ainsi que la statue de l'ange tenant les clous et la lance,
paraissent, comme exécution, quelque peu postérieurs à toute la
statuaire de cette porte, et que ces figures ne sont pas sculptées dans
un tympan, mais sont des statues posées les unes à côté des autres sur
les linteaux et réunies par un enduit de mortier. Ainsi donc, au XIIIe
siècle, il y avait une volonté arrêtée parmi le haut clergé de modifier
les types du Christ glorieux consacrés jusqu'alors. Le Christ glorieux
ne devait plus être que celui qui apparaîtra le jour du jugement. Nous
avons cru devoir nous étendre sur ce fait, qui, pour l'histoire de
l'art, nous paraît avoir une grande importance.
Mais pendant que les sculpteurs modifiaient ainsi les traditions byzantines du Christ triomphant, ils devaient en même temps exécuter des statues du Christ-Homme, du Christ sur la terre, enseignant au milieu de ses apôtres. C'est ainsi qu'il est représenté sur les trumeaux des portails de la plupart de nos cathédrales françaises. Ce ne fut guère qu'au XIIIe siècle que cette représentation du Christ fut définitivement adoptée. Alors il est vêtu de la tunique longue et du manteau; il tient le livre de la main gauche et bénit de la droite; ses pieds écrasent la tête du dragon et du basilic, images du démon. Parmi ces figures, encore conservées aujourd'hui en assez petit nombre, grâce aux iconoclastes des XVIe et XVIIIe siècles, la plus belle, celle dont le caractère se rapproche le plus du type byzantin sans en avoir la sécheresse, est, à notre avis, la statue du Christ-Homme de la cathédrale d'Amiens. La figure 4 en donne l'ensemble; non que nous espérions présenter dans un croquis l'aspect de grandeur et de noblesse de cette remarquable statue, ce n'est ici qu'un renseignement.

Le type de la tête du Dieu d'Amiens, dont nous présentons le profil (5), mérite toute l'attention des statuaires. Cette sculpture est traitée comme le sont les têtes grecques, dites éginétiques: même simplicité de modelé, même pureté de contours, même exécution large et fine à la fois. Ce sont bien là les traits indiqués dans le signalement cité plus haut: mélange de douceur et de fermeté; gravité sans tristesse. Cette tête est d'autant plus remarquable que toutes celles appartenant aux statues d'apôtres qui l'avoisinent, et qui ont été exécutées en même temps, sont loin de présenter cette noblesse divine. Ce sont des hommes, des portraits même, dans la plupart desquels on retrouve le type picard. L'artiste qui a exécuté la figure du Christ a donc suivi un type consacré, et, avec la souplesse de talent qui appartenait aux sculpteurs de cette époque, il a su distinguer, entre toutes, la statue du Sauveur, lui donner des traits, une physionomie au-dessus des modèles humains dont il pouvait disposer. Mais la limite entre l'art hiératique et l'art d'imitation est, chez tous les peuples artistes, facile à franchir; on ne s'y tient pas longtemps. Les Grecs de l'antiquité l'ont franchie en quelques années; il en fut de même en France. Déjà, vers le milieu du XIIIe siècle, les représentations du Christ ont perdu cette noblesse surhumaine; les sculpteurs s'attachent à l'imitation de la nature, perdent de vue le type primitif, font du fils de Dieu un bel homme, au regard doux, à la bouche souriante, à la barbe soigneusement frisée et aux cheveux bouclés, aux membres grêles et à la pose maniérée. Au XIVe siècle, ces défauts, à notre avis du moins, tombent dans l'exagération, et les dernières traditions se perdent dans la recherche des détails, dans une exécution précieuse et une certaine grâce affectée. Il faut dire encore qu'à partir de la fin du XIIIe siècle les grandes figures du Christ-Homme ou triomphant posées sur les portails des églises deviennent rares. Les sculpteurs semblent donner la place principale à la sainte Vierge, et le Christ est relégué dans les sujets légendaires, ou, s'il apparaît en triomphateur, ses dimensions ne dépassent guère celles des autres personnages. On le représente en buste, sortant des nuées, au sommet d'un tympan ou dans une clef des voussures, tandis que la représentation de la vierge Marie occupe, jusqu'au XVIe siècle, une place principale (voy. VIERGE). Les types du Sauveur se perdant à la fin du XIIIe siècle, nous n'avons pas à nous en occuper ici; ces figures rentrent dans la statuaire. Pour le Christ crucifié, nous renvoyons nos lecteurs au mot CRUCIFIX. La peinture suit les mêmes phases que la sculpture quant à la représentation de Jésus-Christ, plus lentement il est vrai, cet art étant, pendant le moyen âge en France, en retard d'un demi-siècle sur la sculpture. Mais, à la fin du XIIIe siècle, les traditions byzantines sont, en peinture, de même qu'en sculpture, complétement abandonnées. En Italie, on les voit persister plus longtemps, et les Christ de Giotto, d'Orcagna, de Buffalmacco, de Simon Memmi, conservent encore quelque chose du type primitif. Ce respect pour une forme ancienne va beaucoup plus loin chez les Italiens; nous en retrouvons la trace chez des peintres de la renaissance, qui n'avaient rien conservé cependant de l'art hiératique de Cimabué et de ses prédécesseurs. Titien a su donner à ses figures du Christ ce calme, cette noblesse, cette grandeur, cette physionomie en dehors de l'humanité que nous admirons dans nos belles statues du XIIe siècle, et du commencement du XIIIe, ce qui n'a pas empêché ce grand artiste de faire de la peinture de son temps, et dans laquelle certainement il ne cherchait pas l'imitation archéologique. Il n'est pas donné à tous les artistes d'atteindre à cette hauteur, et nous nous garderons bien de le reprocher à ceux qui, depuis trois siècles, font de la peinture ou de la sculpture sacrée; mais ce qu'on eût été peut-être en droit de leur demander, c'est l'étude de ces types si admirablement interprétés dans quelques oeuvres du moyen âge, surtout en France. Depuis la renaissance, on s'est plu à peindre des Christ ou jolis ou terribles. Michel-Ange, dans son Jugement dernier, a fait du Christ une sorte d'Hercule en colère qui se démène sur son trône et s'occupe exclusivement des damnés qu'il envoie d'un geste furieux à tous les diables. Puis sont venus les Christ-Apollon, puis les Christ-mignards au visage efféminé, aux cheveux parfumés, à la démarche molle. De notre temps, on a cherché des inspirations plus pures. Mais peut-être nos artistes feraient-ils sagement d'aller de temps à autre voir les Christ de Chartres, d'Amiens, de Paris; si ces visites ne font pas naître de nouveaux chefs-d'oeuvre, elles nous éviteront cette pâle et maladive physionomie que l'on se plaît à donner au Sauveur aujourd'hui, ces traits de songe-creux, indécis et ennuyés, plutôt tristes que sérieux, ce port plutôt famélique que gracieux. Certes, la lecture des Évangiles est bien loin de tracer dans l'esprit un pareil portrait. La devise du moyen âge, «Christus vincit, Christus regnat, Christus imperat,» toute triomphante qu'elle soit, est faite pour relever la statuaire et laisser une vivante et franche empreinte dans l'âme des fidèles, tandis que la vue d'une nature étiolée, pauvre et souffreteuse, inspire du mépris aux âmes énergiques et affaiblit encore les âmes faibles.
CIMETIÈRE, s. m. Enclos consacré dans lequel on ensevelit les morts. Il était d'usage, chez les Grecs et les Romains, de brûler les cadavres, de renfermer leurs cendres dans des urnes de marbre, de pierre ou de terre cuite, ou dans des sarcophages, et d'entourer ces restes de monuments élevés à la mémoire du défunt, ou au milieu de cavités pratiquées dans le roc. Les villes antiques, comme Syracuse, Agrigente, Athènes, Rome, sont entourées encore de nombreuses excavations ou de monuments qui servaient de dernière demeure aux morts de la cité. Les premiers chrétiens ne brûlèrent pas les cadavres. Comment l'eussent-ils pu faire? À Rome, réfugiés dans les catacombes, vastes carrières antiques, où ils célébraient leurs saints mystères; ils voulurent y déposer les restes de leurs martyrs et de leurs frères en religion morts de mort naturelle. À cet effet, ils creusèrent dans les parois de ces souterrains immenses des cavités de la grandeur d'un corps humain, et, après y avoir déposé les cadavres, ils scellaient l'ouverture soit avec une dalle de pierre ou de marbre, soit au moyen d'une simple cloison de maçonnerie. C'est ainsi que l'idée d'être enseveli près des lieux consacrés au culte prit racine chez les premiers chrétiens.
Saint Augustin dit, dans son livre: «De cura pro mortuis agenda,» qu'ensevelir un mort auprès des monuments élevés à la mémoire des martyrs, cela devient profitable à l'âme du défunt.
Lorsque les églises purent s'élever sur le sol, on voulut être enterré, sinon dans leur enceinte, ce qui n'était pas permis dans les premiers siècles, au moins le plus près possible de leurs murs, sous l'égout du toit, et ces églises furent bientôt entourées de vastes champs de repos. Mais, dans les villes populeuses, on ne tarda pas à reconnaître les inconvénients et les dangers même de cet usage. Les églises devaient grouper autour d'elles certaines dépendances nécessaires. Au milieu des cités encloses de murailles, le terrain devenait rare à mesure que la population augmentait, et il fallut renoncer à conserver ces enceintes uniquement destinées à la sépulture des morts. Vers la fin du XIIe siècle, les églises commencèrent à recevoir, sous leur pavé, les corps de leurs évêques, de leurs abbés, chanoines, puis des princes, des seigneurs et même, vers la fin du XIIIe siècle, de laïques roturiers assez riches pour obtenir cette faveur. Dans les campagnes et les petites villes, les églises conservèrent leurs cimetières autour de leurs murs. Ces cimetières contenaient habituellement, outre les tombeaux, une chapelle, une chaire à prêcher et une lanterne des morts (voyez ces mots). Quelquefois des portiques élevés le long des murs de clôture servaient de promenoirs et de lieu de sépulture réservé à des familles privilégiées. Il fallut, dans le voisinage des grandes villes, ou souvent à l'abri de leurs murs, établir des cimetières, ceux qui entouraient les églises ne suffisant plus, ou les habitations privées ayant peu à peu empiété sur les terrains sacrés. Ces cimetières, qui, le plus souvent, servaient de lieu de retraite la nuit aux malfaiteurs et aux prostituées, durent être enclos; ils devinrent alors des lieux d'asile. Pendant la guerre, les cimetières des campagnes étaient considérés par les paysans comme des enceintes inviolables; ils y déposaient leurs instruments aratoires, leurs meubles et même leurs bestiaux:
«Grant fu la guerre, si s'esmaient (s'inquiètent),
As cimetieres tot atraient,
Ne laissoent rien as maisons
Por robéors è por larrons 195.»
La nuit, la lanterne des morts, sorte de colonne creuse au sommet de laquelle brûlait une lampe, avertissait les étrangers que là était un champ de repos. Cette lanterne était aussi destinée à conjurer les apparitions de mauvais esprits, vampires, loups-garous qui causaient la terreur des populations du nord et de l'ouest: «Item en ung aittre, ou cimetire, estant en Escoce, estoit une biere dont par nuit yssoit une chose nommée Gargarouf, qui dévoroit et occioit quant que trouvoit. 196»
Quelques-uns de ces cimetières de grandes villes furent assez richement décorés de cloîtres, sur les murs desquels on retraça en peinture la danse macabre, la légende des trois morts et des trois vifs, les scènes de la Passion de Notre-Seigneur. Toutefois, pendant le moyen âge, les cimetières indépendants des églises furent l'exception; ils ne constituaient pas, comme en Italie, un édifice complet; ce n'était guère qu'une clôture au-dedans de laquelle les siècles accumulaient, sans ordre, les monuments privés, des portions de galeries, de petites chapelles, des croix, des ossuaires, des édicules de toutes sortes. Le cimetière monumental disposé d'une façon symétrique n'appartient qu'aux établissements religieux, et, quand il n'est pas une simple clôture, il affecte alors les dispositions des cloîtres (voy. CLOÎTRE).
CIRCONVALLATION ET CONTREVALLATION (LIGNES DE). Fossés avec ou sans remparts de terre et de palissades que les assiégeants faisaient autour d'une place investie, pour se mettre à l'abri des sorties ou des secours du dehors et enfermer complétement les assiégés (voy. ARCHITECTURE MILITAIRE, CHÂTEAU, SIÈGE).
CITERNE, s. f. Cave destinée à recueillir et conserver les eaux pluviales. Les abbayes et les châteaux du moyen âge, situés souvent sur des collines élevées, étaient dépourvus de sources naturelles; on suppléait à ce manque d'eau par des citernes creusées dans le roc ou maçonnées, dans lesquelles venaient se réunir, par des conduites, les eaux pluviales tombant sur les combles des bâtiments et sur l'aire des cours.
Le cloître de l'abbaye de Vézelay possède une belle citerne, du XIIe
siècle, qui se compose de deux nefs voûtées soutenues par une rangée de
petits piliers carrés. Cette citerne n'était pas la seule que possédât
l'abbaye; elles étaient toutes creusées dans le rocher et soigneusement
enduites à l'intérieur. Presque toutes les citernes du moyen âge sont
pourvues d'un citerneau, destiné à recevoir tout d'abord les eaux et à
les rejeter, clarifiées, dans la citerne. À cet effet, le citerneau est
placé à un niveau supérieur à celui du fond de la citerne, et se compose
d'une auge percée de trous latéraux, ainsi que l'indique la fig. l. Le
citerneau était rempli de gravier et de charbon. On tirait l'eau de la
citerne par un orifice percé dans la voûte, garni d'une margelle et
d'une manivelle munie de seaux. Les citernes possèdent toujours un canal
de trop plein et quelquefois un canal de vidange. Nous avons remarqué
que, dans les citernes du moyen âge, le canal de trop plein est placé de
façon à ce que le niveau de l'eau ne dépasse pas la naissance des
voûtes.
CLAVEAU, s. m. Nom que l'on donne aux pierres taillées en forme de coin qui composent un arc ou une plate-bande appareillée et qui se trouvent comprises entre le sommier et la clef. Les constructeurs du moyen âge n'ayant employé la plate-bande appareillée qu'exceptionnellement, nous nous occuperons d'abord des claveaux d'arcs. En règle générale, la coupe d'un claveau est toujours normale à la courbe de l'arc; en d'autres termes, la coupe du claveau doit être faite suivant la direction du rayon de l'arc (voy. CONSTRUCTION). Les claveaux, dans l'architecture du moyen âge, étant toujours intradossés et extradossés, sauf de très-rares exceptions, il en résulte que les claveaux d'un même arc sont tous de même forme et de même dimension, ainsi que le démontre la fig. 1. A sont les sommiers, B la clef et C les claveaux.

Pendant les premiers siècles du moyen âge, en France, on rencontre
souvent des claveaux de pierre alternés dans les arcs avec des briques.
C'était là un reste des traditions de la construction romaine des
bas-temps. Les fenêtres de la Basse-oeuvre de Beauvais, dont la
construction remonte probablement au VIIIe siècle, ont leurs arcs ainsi
composés de claveaux de pierre séparés par une ou deux briques (2).
On
obtenait ainsi une décoration à peu de frais. Un rang de briques
extradossait l'arc. Les claveaux des arcs reçoivent souvent des moulures
à dater du XIIe siècle; jusqu'à cette époque, ils sont généralement
taillés à vives arêtes, ou parfois en demi-cylindres (voy. ARC). Les
membres de l'architecture romane à son déclin sont très-chargés
d'ornements; non-seulement les chapiteaux, les frises en sont couverts,
mais encore les colonnes et les archivoltes qu'elles supportent. Les
ornements les plus ordinairement sculptés sur les archivoltes, pendant
le XIIe siècle, sont des billettes, des dents de scie, des damiers, des
besans, des zigzags, des méandres, des entrelacs, etc. Ces ornements
sont toujours compris dans la hauteur de chaque claveau, afin de pouvoir
les sculpter avant la pose, et de les raccorder bout à bout, en formant
ainsi une décoration continue. Cette règle est suivie d'une manière si
absolue, que, lorsque dans un même archivolte les claveaux sont inégaux
d'épaisseur, l'ornement se conforme à la dimension de chaque pierre,
quitte à déranger ainsi la symétrie de la décoration.
La fig. 3 explique ce que nous disons ici.
Quelquefois, vers la fin du XIIe siècle, les claveaux des arcs moulurés sont, de deux en deux, chargés d'un ornement. Cette disposition est fréquente dans les monuments de l'Auvergne. Ainsi, les arcs ogives du porche sud de la cathédrale du Puy-en-Vélay (4), qui datent du milieu du XIIe siècle, se composent de claveaux alternativement moulurés et sculptés. La porte sud de l'église d'Ennezat, près de Riom, d'une époque plus récente (commencement du XIIIe siècle), présente, dans son archivolte, une disposition analogue (5). Dans cette province, le midi de la France, et en Bourgogne même, lorsque la nature des matériaux le permet, les claveaux des arcs sont taillés dans des pierres de deux couleurs. La construction, rendue apparente, contribuait ainsi à la décoration, sans avoir recours à la sculpture ou à la peinture appliquée.


Pendant le cours du XIIe siècle, dans le Beauvoisis et en Normandie particulièrement, les claveaux des archivoltes sont refouillés, évidés, de façon à présenter des entrelacs de zigzags, de bâtons rompus et même d'ornements sculptés. C'est dans l'architecture anglo-normande de cette époque que l'on trouve les combinaisons les plus compliquées, les évidements les plus précieux. Les deux portes latérales de la façade occidentale de la cathédrale de Rouen, dont les pieds-droits et les archivoltes datent de 1160 environ, nous fournissent un des exemples les plus riches de ces claveaux appareillés, évidés, découpés et sculptés avec une finesse et une précision rares.

Voici (6) deux rangs de ces claveaux; les uns, ceux figurés en A, présentent un rang de feuillages entrelacés complétement à jour, derrière lequel les sculpteurs ont eu la patience de ciseler des palmettes qui garnissent le fond de la gorge, ainsi que l'indique la section B. En C est tracé le fond de la gorge; en D les palmettes, et en E les feuillages ajourés compris exactement dans l'épannelage du claveau. L'autre rang de claveaux, figuré en F, présente des dessins découpés à vif sur l'épannelage; cette sorte de broderie, creusée profondément, donne la section G. Plus tard, les rinceaux de feuillages, et plus fréquemment des figures, décorent les claveaux d'archivoltes, mais en observant toujours la règle primitive, savoir: que chaque ornement ou figure doit être comprise dans un claveau. Il y a très-peu d'exceptions à cette règle. Cependant, au portail occidental de l'église abbatiale de Saint-Denis, on voit les figures des vingt-quatre vieillards de l'Apocalypse sculptées dans deux ou trois claveaux, et, par conséquent, taillés sur le tas après la pose.
Les claveaux de plates-bandes sont rares pendant les périodes romane et gothique; cependant force fut, dans quelques contrées où la pierre à bâtir n'était extraite qu'en petites dimensions, de faire des linteaux de porte composés de claveaux. Dans le Beauvoisis on rencontre assez fréquemment des linteaux de porte appareillés appartenant au XIIe siècle; mais les claveaux de plate-bande ne présentent jamais, à cette époque, des coupes tendant à un centre, comme dans l'architecture romaine; ils sont maintenus dans leur plan au moyen de coupes enchevêtrées, qui rendent tout glissement impossible. On voit un de ces linteaux de porte le long du flanc nord de l'église Saint-Étienne de Beauvais (7).

La difficulté résultant de la taille et de la pose de plates-bandes ainsi appareillées fit qu'au XIIIe siècle, alors que l'on extrayait des carrières des pierres d'un fort volume, on abandonna ces moyens de construction compliqués, à moins d'une nécessité absolue, comme, par exemple, pour les manteaux de cheminée; et, dans ce cas particulier, les claveaux des manteaux sont appareillés à crossettes, ou suivant des coupes tendant à un centre (voy. APPAREIL, CHEMINÉE).

Lorsqu'au XIIIe et au XIVe siècle on adopta les voûtes en arcs d'ogive, divisés en un certain nombre de moulures, boudins, filets, cavets, gorges, il arrivait quelquefois que, les sommiers étant posés tout taillés, suivant l'usage, les claveaux ne venaient pas raccorder exactement leurs membres de moulures avec ceux des sommiers, il restait des balèvres. Le boudin A des claveaux (8), par exemple, ne retombait pas exactement sur le profil du boudin B du sommier; les appareilleurs, s'apercevant de ce défaut de taille, posaient un claveau de transition C, sur les moulures duquel on réservait un petit ornement, une feuille, qui dissimulait les balèvres. Il existe un certain nombre de claveaux de contre-clefs et de sommiers possédant cet appendice dans les arcs ogives des voûtes de l'église de Saint-Nazaire de Carcassonne (commencement du XIVe siècle). Ceci est encore une preuve certaine de la taille de tous les membres de moulures avant leur pose. Parfois aussi les claveaux possèdent des membres de moulures que les appareilleurs n'avaient pas eu la précaution de réserver dans les sommiers. Alors une tête, une fleur forme comme un petit cul-de-lampe servant de naissance à ce membre supplémentaire. Ces détails sont intéressants à observer, car ils démontrent comment les constructeurs savaient dissimuler les erreurs ou irrégularités qui ne pouvaient manquer de se présenter dans les détails compliqués de l'architecture gothique, comme ils trouvaient toujours des ressources lorsqu'il s'agissait de s'affranchir des difficultés qui se présentaient dans l'ensemble aussi bien que, dans les plus minces détails de leurs constructions.
CLAVETTE, s. f. Petite clef. C'est le nom que l'on donne à une chevillette de fer plat servant à arrêter l'extrémité d'un boulon (voy. BOULON) ou les panneaux des vitraux.
Pendant le moyen âge, les vitraux formés de la réunion de verres maintenus par des plombs se posaient par panneaux entre des barres de fer garnies de pitons. Des clavettes, passant à travers ces pitons, étaient destinées à empêcher les panneaux de sortir de leur place; afin que ces clavettes pussent serrer les bords des panneaux, sans fêler les verres, contre les traverses et montants en fer, et pour pouvoir les enlever facilement en cas de réparations, on leur donnait la forme indiquée dans la fig. 1 (voy. ARMATURE, VITRAIL).

Dans la charpente, la serrurerie et la grosse menuiserie, les clavettes qui passent à travers l'extrémité des boulons sont souvent doubles à la queue; les deux pointes étant recourbées, la clavette ne pouvait plus sortir (voy. fig. 2).
CLEF, s. f. Ce mot, appliqué aux ouvrages de maçonnerie, signifie le claveau qui ferme un arc, celui qui est posé sur la ligne verticale élevée du centre de cet arc. Il n'y a de clefs que pour les arcs plein-cintres; les arcs en tiers-point, étant formés de deux segments de cercle, n'ont que des sommiers et des claveaux; la clef, dans ce cas, est remplacée par un joint.
CLEF D'ARCHIVOLTE. Les Romains, et avant eux les Étrusques, décoraient
souvent la clef des archivoltes de la manière la plus riche,
principalement lorsque ces archivoltes surmontaient l'entrée d'un
édifice ou la maîtresse baie d'un arc de triomphe. La clef, dans ce cas,
était comme un signe indiquant un passage. Chacun connaît les clefs
admirablement sculptées des arcs de Trajan, de Titus, de Septime-Sévère,
de Constantin à Rome. Nous voyons des clefs sculptées au-dessus des
entrées principales des arènes de Nîmes, ces entrées n'ayant aucun autre
signe qui les distingue des autres arcades pourtournant l'édifice. Le
moyen âge ne parait pas, même dans les premiers temps, avoir continué
cette tradition; ses archivoltes présentent une suite de claveaux
uniformes, et le plus souvent même les constructeurs négligent de
réserver la place régulière donnée à la clef; un joint la remplace. Les
archivoltes du cloître de la cathédrale du Puy-en-Vélay nous montrent, à
l'extérieur, des clefs décorées de sculptures. Une partie de ce cloître
date du Xe siècle, mais il fut presqu'entièrement rebâti au XIIe, et les
derniers architectes conservèrent aux clefs des archivoltes ce genre de
décoration probablement pour ne pas déranger l'harmonie de l'ensemble.
Nous donnons ici (1) une de ces clefs représentant un animal à tête de
femme. Bien que dans les arcs en tiers-point il n'y ait point de clef à
proprement parler, cependant les architectes de l'époque gothique ont
quelquefois terminé les archivoltes des portails d'églises par une clef,
ou plutôt par deux contre-clefs prises dans une seule pierre, et sur
laquelle ils ont sculpté une figure devant occuper une place d'honneur,
comme le buste du Christ, par exemple, ou quelquefois, vers le XVe
siècle, celui du Père Éternel.
CLEF D'ARC OGIVE. Les architectes du XIIe siècle, ayant inventé la voûte en arcs d'ogives, cherchèrent bientôt à placer un des plus beaux motifs de décoration intérieure à la rencontre des deux arcs croisés qui portent la voûte d'arête gothique. La rencontre de ces deux arcs saillants exige, au point de vue de la construction, une clef, c'est-à-dire un seul morceau de pierre venant fermer, par des coupes normales aux courbes, la rencontre des deux arcs. S'il y eut quelques tâtonnements quant à la manière de joindre ces arcs (voy. CONSTRUCTION), ils ne furent pas de longue durée; car sitôt que nous voyons les arcs ogives adoptés, apparaissent les clefs sculptées. Toutefois cette décoration ne se développe pas partout avec la même franchise; abondante et riche dans quelques provinces dès l'origine, elle est pauvre et timide dans d'autres. Quand il s'agit de la sculpture, c'est presque toujours à la Bourgogne qu'il faut d'abord avoir recours, ou plutôt à l'ordre de Cluny et à l'Île de France. En effet, la clef d'arcs ogives la plus ancienne que nous connaissions se voit dans la tribune du porche de Vézelay. Toutes les voûtes de ce porche, sauf deux, sont encore dépourvues d'arêtiers; l'une de ces deux voûtes, dont la construction remonte à 1130 environ, présente, à l'intersection des deux arcs, une belle clef richement sculptée, que nous donnons (2).

Percée au centre, pour permettre le passage d'un fil propre à suspendre un lustre, cette clef présente, sur deux côtés, entre les arêtiers, des figures de chérubins nimbés dont les yeux sont remplis d'un mastic noir figurant les prunelles. Autour du trou central se renversent des feuilles largement refouillées 197.
L'idée de suspendre des figures d'anges aux voûtes devait naturellement se présenter la première, et beaucoup de voûtes d'églises de la seconde moitié du XIIe siècle étaient décorées de cette façon. Mais il en existe peu aujourd'hui qui datent de cette époque reculée, les XIIIe et XIVe siècles ayant reconstruit une grande quantité de voûtes par suite d'incendies ou de vices dans ces constructions primitives, exécutées souvent par des architectes qui tâtonnaient. On peut admettre, si l'on examine les quelques exemples existant encore de nos jours, que les artistes du XIIe siècle avaient prodigué la sculpture dans les voûtes, genre de décoration qui fut abandonné par les maîtres des XIIIe et XIVe siècles.
Non-seulement, vers 1160, les architectes sculptent les clefs, mais les arcs ogives eux-mêmes, et souvent ils font tailler des statues dans leurs sommiers, au-dessus des chapiteaux (voy. SOMMIER). Après l'exemple de clef représenté dans la fig. 2, l'un des plus anciens et des plus remarquables est certainement la collection de clefs d'arcs ogives que l'on voit encore dans l'église Notre-Dame d'Étampes. Trois de ces voûtes sont décorées à la rencontre des arcs diagonaux, l'une de figures de rois représentés à mi-corps, issant du sommet des angles formés par l'intersection de ces arcs, et les deux autres de huit figures d'anges assis, quatre sur les arêtiers les ailes abaissées, et quatre dans les angles les ailes éployées.

Nous donnons (3) l'une de ces clefs magnifiques, bien qu'à proprement parler les anges ne fassent pas partie de la clef, ceux sculptés sur les arêtiers tenant aux contre-clefs, et ceux des remplissages étant rapportés dans les rangs de moellons supérieurs. Les ailes de ceux-ci sont accrochées à la voûte par des crampons. Autrefois ces figures étaient peintes, aujourd'hui un badigeon jaunâtre les couvre ainsi que le reste de la voûte.
Nous voyons de belles clefs sculptées, datant de la fin du XIIe siècle, dans les voûtes de la cathédrale de Laon, et ici les figures ne sont pas rapportées, comme à Étampes, autour de la clef, mais tiennent à cette pièce principale de la voûte. À la rencontre des huit arcs ogives portant la voûte absidale de la chapelle du transsept nord de cette église est une clef représentant un ange tenant un phylactère au milieu d'une couronne de feuillages. La tête et les ailes de l'ange se présentent, vers l'entrée de la chapelle, dans l'angle le plus ouvert réservé entre ces arcs, et remplissent ainsi d'une façon gracieuse le vide produit par la rencontre des deux premières nervures.

Voici (4) cette clef finement sculptée, et qui, suivant l'usage alors adopté, était peinte de diverses couleurs. À cette époque déjà, cependant, on ne sculptait pas seulement sur les clefs de voûtes des figures sacrées, on tentait parfois de les décorer par des feuillages agencés avec élégance. La voûte de la chapelle supérieure du transsept sud de la cathédrale de Laon nous présente une de ces clefs entourée de feuilles finement sculptées et peintes; du côté de l'angle le plus ouvert, comme dans l'exemple précédent, les feuillages s'échappent de la rosace centrale, s'entrelacent et viennent garnir la rencontre des deux premiers arcs. Nous donnons (5) cette jolie clef.

Mais ces deux derniers exemples appartiennent à des voûtes de petite dimension. En construisant les voûtes en arcs ogives, les architectes de la seconde moitié du XIIe siècle avaient reconnu qu'il était d'une grande importance, pour la solidité de ces voûtes, que les clefs eussent une certaine force de pression, et, par conséquent, un poids considérable relativement aux claveaux. Aussi, partant de ce principe, ils donnèrent un volume extraordinaire aux clefs, les renforcèrent de puissantes saillies, et, pour dissimuler la lourdeur apparente de ces gros morceaux de pierre suspendus au point culminant des voûtes, ils les couvrirent de sculptures savamment combinées en raison de leur place élevée et de l'effet qu'elles devaient produire.
La grande voûte absidale de l'église abbatiale de Saint-Germer en Beauvoisis nous montre une de ces clefs volumineuses. Les arêtiers de cette voûte absidale viennent se rencontrer au sommet d'un arc doubleau, disposition assez vicieuse qui ne se rencontre guère que dans les monuments gothiques primitifs; la clef n'est qu'une demi-clef buttant contre la pointe de l'arc doubleau; elle est d'une dimension considérable; les arêtiers sont couverts de sculptures dans tout leur développement, et les angles rentrants laissés entre eux sont renforcés et ornés d'une croix, de figures de dragons et de basilics (6).

Dès la fin du XIIe siècle, les clefs des voûtes absidales ou des chapelles ne représentent pas seulement, sculptés sur leur face intérieure, des personnages sacrés, tels que le Christ bénissant, le Christ entouré d'anges, la Vierge, l'Agneau, les signes des évangélistes, comme dans la chapelle terminale de la grand'salle de l'Hôtel-Dieu de Chartres; des saints, des martyrs; mais aussi parfois des évêques ou abbés fondateurs, des sujets, comme, par exemple, les signes du zodiaque, des animaux tirés des bestiaires, etc. Dans la voûte de la chapelle absidale de l'église abbatiale de Vézelay, dont la construction remonte aux dernières années du XIIe siècle, on voit une fort belle clef sculptée représentant le signe du Verseau sous la forme d'un jeune homme à peine vêtu, tenant un long vase d'où s'échappe de l'eau, et entouré d'enroulements.

Nous donnons une copie de cette clef (7). On observera qu'ici la clef n'est qu'un ornement détaché des arcs de la voûte; cette clef n'a pas de fond et les arcs passent et se pénètrent derrière elle. C'est là un des caractères particuliers aux clefs riches de la fin du XIIe siècle. Lorsqu'on examine les clefs de voûtes de cette époque, il est facile de reconnaître que les architectes confiaient ces parties de la décoration intérieure aux sculpteurs les plus habiles. Quelle que soit la hauteur à laquelle sont placées les clefs de voûtes des XIIe et XIIIe siècles, elles sont toujours composées avec une élégance et exécutées avec un soin qui indiquent l'importance que l'on attachait à ces pièces de sculpture. Mais il faut dire que les artistes du XIIe siècle ne se rendaient pas toujours un compte bien exact de l'effet qu'elles devaient produire à de grandes hauteurs, et certaines clefs qui, vues de près, sont de véritables chefs-d'oeuvre, ne produisent que peu ou point d'effet, à cause de la distance qui les sépare de l'oeil du spectateur; les sculpteurs du XIIIe siècle, sous ce rapport, comprirent beaucoup mieux que ceux du XIIe le parti que l'on pouvait tirer de ces rosaces posées à la rencontre des arcs.
Mais, avant de présenter des exemples de ces clefs du XIIIe siècle, il est nécessaire que nous parlions des clefs des voûtes secondaires. Généralement celles-ci, pendant la seconde moitié du XIIe; siècle, sont petites et très-simples; parfois même elles disparaissent, et les arcs ogives se croisent sans être renforcés de cet appendice décoratif.

À Paris, à Saint-Denis en France, à Noyon, à Senlis, à Saint-Étienne de Beauvais, nous voyons les arcs ogives des voûtes percés à la clef d'un trou entouré d'une maigre rosace. Il est arrivé, comme dans cette dernière église (8), que les appareilleurs n'ont su comment faire pénétrer les deux arcs croisés. Ici la rosace décorative ne couvrant pas l'intersection des arcs, leurs doubles boudins se rétrécissent en se réunissant à la clef. À la cathédrale de Senlis, les arcs ogives des voûtes des bas-côtés n'étant composés que d'un seul boudin, la petitesse de la rosace formant décoration à la clef couvre à peine l'intersection de ces boudins. Voici (9) une de ces clefs. Quelquefois, comme dans les voûtes des bas-côtés de l'église de la Madeleine de Châteaudun, l'ornement de la clef ne se compose que d'un entrelac couvrant la rencontre des boudins (10).
Dans la partie de la cathédrale de Paris construite par Maurice de Sully
(1170 environ), les clefs des arcs ogives ne présentent que des rosaces
peu saillantes ne débordant pas l'intersection des arcs ogives, et leur
décoration ne consiste qu'en des plateaux dans lesquels sont sculptées
des croix grecques pattées. Mais les grandes voûtes de cette église,
comme la plupart de celles de toutes les églises françaises de cette
époque, se composent de deux arcs ogives et d'un arc doubleau se
rencontrant à la clef. Dans ce cas particulier (11), il reste en A et B
deux espaces libres que le sculpteur remplit par des têtes humaines se
dressant le long des profils. La clef sculptée à la réunion des nervures
de la voûte absidale de la cathédrale de Paris consiste simplement en
une croix grecque pattée, avec une tête dans l'espace opposé à la
rencontre des nervures rayonnantes.

Nous donnons (12) un dessin de cette clef qui fait bien voir quelle était l'utilité de ces têtes de remplissage: elles donnaient de la force à la clef au point où un évidement considérable eût pu occasionner une brisure, et reliaient les deux branches les plus ouvertes des arcs ogives. L'ornementation des monuments gothiques trouve toujours son origine dans un besoin de la construction; nous sommes trop disposés à ne voir dans la sculpture de ces édifices qu'une fantaisie d'artiste, tandis qu'elle n'est souvent que le résultat d'un raisonnement.
Au XIIIe siècle, la sculpture des clefs se compose le plus habituellement de feuillages admirablement agencés, sans confusion, et d'une dimension en rapport avec la grandeur des voûtes. La nef de Notre-Dame de Paris, dont les voûtes ont été élevées vers 1225, possède des clefs disposées comme celles du choeur, mais d'une composition beaucoup plus belle et savante. Celles du réfectoire de l'abbaye de Saint-Martin-des-Champs, à Paris, qui datent de la même époque, sont remarquablement belles. Les arcs ogives se croisant à angle droit sans arcs doubleaux, il n'était pas nécessaire de réserver là des têtes saillantes dans les angles rentrants; ces clefs se composent d'une simple rosace feuillue. Nous donnons l'une d'elles (13).

Il ne faudrait pas croire cependant que les sculpteurs au XIIIe siècle renoncent à la représentation des figures dans les clefs de voûtes, mais ils les réservent plus particulièrement pour les sanctuaires; les couronnes de feuillages garnissent les clefs, comme les crochets et bouquets de feuilles les chapiteaux. Lorsqu'à cette époque les clefs représentent des sujets, ceux-ci sont traités avec une finesse d'exécution remarquable. Une des plus belles clefs à sujets que nous connaissions se trouve sculptée au-dessus du sanctuaire de l'église collégiale de Sémur en Auxois, dont les voûtes furent élevées vers 1235. Cette clef représente le couronnement de la Vierge au milieu de feuillages. Le Christ s'appuie sur le livre saint et bénit sa mère. Un ange pose la couronne divine sur la tête de Marie. Deux autres anges, sortant à mi-corps des branchages, portent chacun un cierge. Toute la sculpture qui couvre un plateau de près d'un mètre de diamètre est complétement peinte, les feuillages en vert, les fonds en brun rouge et les vêtements des deux personnages de diverses couleurs, dans lesquelles le bleu et le rouge dominent. Nous donnons (14) une copie de cette belle clef.


Il arrivait souvent qu'en construisant, les sculpteurs n'avaient pas le temps de ciseler les clefs de voûtes avant la pose, ou que, la saillie de la sculpture gênant les appareilleurs pour poser la clef sur les cintres, on laissait celle-ci unie à l'intérieur et que l'on accrochait après coup des rosaces sculptées dans du bois, sous le plateau lisse de la pierre; c'est ainsi que sont décorées la plupart des clefs des voûtes de la Sainte-Chapelle basse à Paris, et ces rosaces sont taillées de main de maître. Nous en montrons ci-après un exemple (15) qui date de 1240, ou environ. Le feuillage y est rendu avec une souplesse qui accuse déjà la recherche de l'imitation scrupuleuse de la nature 198.
La clef d'une voûte en arcs d'ogives doit être placée tout d'abord au
sommet des cintres avant la pose des claveaux d'arêtiers, car c'est elle
qui sert de guide, de repère pour bander les deux arcs croisés de
manière à ce qu'ils se rencontrent exactement au même niveau à leur
point de jonction. Sans cette précaution, on ne serait jamais certain, à
la pose, quelque bien taillés que soient les cintres, de joindre les
arcs croisés au même niveau (voy. CONSTRUCTION); on concevra dès lors
que, souvent, pour ne pas retarder la construction de la voûte, on ne
prenait pas le temps de permettre au sculpteur de sculpter la rosace; de
là les rosaces en bois rapportées après coup, de là aussi l'absence de
sculpture sur quelques clefs de voûte, si, plus tard, on omettait
d'accrocher les rosaces de bois sous les plateaux de pierre laissés
unis. Si les arcs ogives sont extradossés et ne pénètrent jamais dans
les remplissages qu'ils sont destinés à porter, il n'en est pas de même
des clefs; celles-ci ont le plus souvent une queue qui vient pénétrer le
remplissage. Elle s'offraient ainsi un point parfaitement fixe au sommet
de la voûte, et d'ailleurs, étant presque toujours percées d'un trou
pour le passage d'un fil de suspension, il était nécessaire que leur
épaisseur atteignît l'extrados des remplissages. La fig. 16, qui
représente une clef en coupe, fera comprendre l'utilité de ce mode de
construction. Mais la clef étant solidaire des remplissages de la voûte,
ne pouvant se prêter, par conséquent, aux mouvements des arêtiers, il ne
fallait pas donner aux branches d'arcs ogives qui s'en échappaient une
grande longueur; car si ces branches d'arêtiers eussent été
très-saillantes, le moindre mouvement dans les arcs les eût fait casser,
et la clef ne remplissait plus dès lors son office. Aussi les amorces
des arcs ogives tenant aux clefs sont-elles coupées aussi près que
possible du corps circulaire de ces clefs, comme l'indique la fig. 17.

Quant au profil donné au corps de la clef de la voûte en arcs d'ogives, il reproduit le plus souvent celui des arcs, comme dans la fig. 17, ou, s'il s'en éloigne, c'est pour adopter un profil plus mâle et moins refouillé. Soit, dans ce cas (18), A le profil de l'arc ogive, B sera le profil du corps de la clef. Sous le corps cylindrique, un plateau orlé C reçoit la rosace sculptée qui se détache sur le fond concave de ce plateau C, dont le point le plus creux D ne s'enfonce pas au delà du niveau E du prolongement de la courbe intrados des arcs ogives. Ces détails paraîtront peut-être minutieux; mais dans le mode de la construction gothique, rien n'est indifférent, et c'est par des recherches de ce genre, résultat du raisonnement et de l'expérience acquise par des observations suivies, que les constructeurs de la belle époque du moyen âge sont arrivés à produire des effets surprenants avec des moyens très-simples. Nous renvoyons, du reste, nos lecteurs au mot CONSTRUCTION, pour tout ce qui touche à la facture des voûtes dans lesquelles les clefs jouent un rôle très-important.

Le XIVe siècle ne changea rien au mode de construction adopté pour les voûtes en arcs d'ogives pendant la première moitié du XIIIe siècle, et les clefs, par conséquent, furent taillées suivant le même principe; mais leur sculpture devint plus maigre et plus confuse, les larges feuilles visibles à une grande hauteur furent remplacées par des branchages et des feuillages délicats qui sont loin de présenter un effet aussi satisfaisant. Examinées de près, ces clefs sont cependant d'une exécution parfaite, refouillées avec un soin et une finesse surprenante. Nous donnons (19) une clef du commencement du XIVe siècle appartenant aux voûtes de l'ancienne cathédrale de Carcassonne, qui conserve encore la disposition des clefs primitives du XIIIe siècle, c'est-à-dire les deux têtes venant remplir les deux angles les plus ouverts formés par la rencontre des arêtiers. L'une de ces têtes représente le Christ, l'autre la sainte Vierge. La rosace se compose d'une couronne de feuilles sortant d'une branche circulaire. En A, nous avons tracé le profil du plateau.

Vers la fin du XIIIe siècle, les clefs d'arcs ogives furent décorées fréquemment d'écussons armoyés, d'abord entourés d'ornements, de feuillages, puis plus tard soutenus par des anges, ou dépouillés d'accessoires. L'église de Saint-Nazaire, cathédrale de Carcassonne, possède des clefs sous lesquelles sont sculptées les armes de France (anciennes) et celles du fondateur du choeur, Pierre de Roquefort; voici l'une de ces dernières clefs (20); l'écu est d'azur aux trois rocs d'or posés deux en chef et un en pointe; il se détache au milieu d'une couronne de feuilles de chêne. Comme dans l'exemple précédent, deux têtes remplissent les deux angles les plus ouverts entre les arcs ogives. Rarement, au XIVe siècle, des personnages figurent sous les plateaux des clefs.
Nous ne devons pas omettre de dire ici que, presque toujours, les clefs des voûtes en arcs d'ogives sont peintes, même dans des monuments d'ailleurs totalement dépourvus de ce genre de décoration. La peinture appliquée sur les clefs s'étendit sur les arêtiers jusqu'à une certaine distance du centre (voy. PEINTURE) 199.
Il serait inutile ici de donner de nombreux exemples des clefs de voûtes du XIVe siècle; ce sont toujours des rosaces feuillues plus ou moins bien composées et traitées, et qui ne diffèrent pas des rosaces sculptées dans les tympans des gâbles ou sur tout autre membre de l'architecture (voy. ROSACE). Mais le XVe siècle apporta dans la sculpture des clefs l'exagération qu'il mit en toute chose. La rosace des clefs d'arcs ogives du XVe siècle forme comme une sorte de découpure à jour plaquée à la rencontre des deux arcs. Au lieu de présenter des couronnes de feuillages, des rosaces, elle s'épanouit en redents compris dans des lignes géométriques et d'une délicatesse de taille qui rappelle les formes propres au métal plutôt que celles qui conviennent à de la pierre. Souvent, ces rosaces sont d'une telle finesse de travail, si bien découpées à jour sur toute leur surface, qu'il a fallu les rapporter après coup, car il eût été impossible de les poser sur l'extrémité des cintres sans les briser. Alors elles sont accrochées à la clef réelle par une tigette de fer qui passe à travers le trou central avec une clavette en travers de ce trou à l'extrados. Nous donnons (21) une de ces clefs, du milieu du XVe siècle, provenant des voûtes des bas-côtés du choeur de l'église abbatiale d'Eu, restaurées vers cette époque, et (21 bis) la coupe sur la ligne a b de cette clef, qui n'est qu'une dalle ajourée et sculptée de 0,08, c. d'épaisseur.


Vers la fin de ce siècle, on ne se contenta pas de décorer les voûtes par ces sortes de clefs. Lorsque l'étude des arts antiques et de la renaissance italienne vint se mêler aux traditions gothiques dégénérées, on ne changea pas tout d'abord les formes principales de l'architecture. Ces nouveaux éléments s'attachèrent aux détails, à l'ornementation. Il semble que les architectes français se plaisaient à jeter, au milieu de leurs combinaisons toutes gothiques encore, comme ensemble et comme système de construction, des fragments qu'ils allaient chercher dans les monuments romains ou de la renaissance italienne. En cela, notre renaissance diffère essentiellement de la renaissance d'outre-monts. Les Brunelleschi et, plus tard, les Bramante s'emparèrent des dispositions générales de l'architecture antique, bien plus encore que des détails; ou plutôt les architectes italiens n'avaient jamais complétement perdu de vue les arts romains, et n'eurent, pour y revenir, qu'à laisser de côté des traditions corrompues des arts du Nord, qui, pendant les XIIIe et XIVe siècles, avaient pénétré à Florence, à Sienne, à Pérouse et jusque dans les États du pape.
Vers la fin du XVe siècle donc, nos architectes imaginèrent de placer, dans leurs édifices, tout gothiques comme construction, des réminiscences des arts d'Italie. Ils trouvèrent ingénieux, par exemple, de suspendre aux voûtes, des chapiteaux, des culots d'ornements quasi antiques et même parfois de petits modèles de monuments qui, eux, n'avaient plus rien de gothique. Partant de cet axiome de construction de la voûte gothique, que la clef doit être pesante afin d'empêcher le relèvement des nervures sous la pression des reins, ils posèrent des clefs dont les ornements pendants ressemblent à des stalactites. C'était le temps des plus grands écarts de l'architecture; on ne se contenta plus d'un morceau de pierre, et on alla jusqu'à composer les clefs pendantes de pièces de rapport attachées à la clef véritable par des boulons en fer, et même quelquefois aux entraits des charpentes. Il n'est pas besoin de faire ressortir les inconvénients et les dangers de ce genre de décoration. Les clefs pendantes fatiguent les voûtes par leur poids exagéré, au lieu de les maintenir dans un juste équilibre; elles risquent de se détacher par l'oxydation des fers et de tomber sur la tête des assistants.
Nous disions tout à l'heure que quelques-unes de ces clefs sont de petits modèles de monuments. Nous citerons entre autres celle de la chapelle de la Vierge de l'église de Saint-Gervais et Saint-Protais à Paris, qui représente, suspendu sous la voûte, toute une enceinte entourant des édifices. Celles de l'église de Saint-Florentin en Bourgogne, de l'église de Saint-Pierre de Caen, qui datent du commencement du XVIe siècle, celles des voûtes hautes du choeur de l'église d'Eu, etc. Les exemples abondent. Alors les voûtes en arcs d'ogives ne se composent pas seulement des deux arcs diagonaux; mais d'une quantité d'arcs qui s'entrecroisent (voy. VOÛTE); aux points d'intersection de ces arcs se trouvent souvent des clefs pendantes, plus ou moins saillantes et décorées, ce qui donne à ces voûtes l'apparence d'une grotte tapissée d'énormes stalactites. Ce sont là de ces fantaisies de pierre plus surprenantes que belles, qui fatiguent et préoccupent plutôt qu'elles ne satisfont les yeux. La raison et le goût se choquent de ces raffinements dont on ne comprend pas le motif, et qui détruisent l'unité des intérieurs.

Nous donnons (22) une de ces clefs provenant des voûtes du choeur de l'église d'Eu. Nous choisissons cet exemple comme un des plus anciens, car il date de la fin du XVe siècle. C'est aussi, à notre sens, un des plus beaux. Les clefs pendantes des voûtes du choeur de cette église, rebâties à cette époque sur un édifice de la fin du XIIe siècle, sont encore à peu près gothiques comme ornementation. Déjà, cependant, on sent l'influence du chapiteau corinthien dans la clef que nous donnons ici. Elle est d'ailleurs prise dans un seul morceau de pierre et n'est point composée de pièces accrochées. Dans la même église, nous voyons aussi les arcs-doubleaux de la voûte du choeur décorés de clefs pendantes assez adroitement agencées; nous donnons plus loin l'une d'elles (23).

La Normandie, l'Angleterre et la Bretagne ont surtout abusé de ce genre de décoration; mais les reproductions de ces étrangetés sont trop connues pour qu'il soit nécessaire d'en donner ici de nombreux exemples; on a pris si longtemps les abus et les exagérations de la décadence du style gothique pour l'expression la plus complète et la plus heureuse de cet art, que les ouvrages traitant de l'architecture du moyen âge sont pleins de ces extravagances, bonnes pour amuser les personnes qui ne voient dans l'art que nous professons qu'un jeu d'esprit. Nous croirions manquer à nos lecteurs si nous remplissions nos pages de figures n'ayant tout au plus qu'un attrait de curiosité.
Par exception, les constructeurs du XIIe siècle ont parfois posé des clefs sculptées dans les remplissages des voûtes en arcs d'ogives. En Angleterre surtout, ce genre de décoration est assez fréquent au XIIIe siècle. La grande clef de la voûte de Notre-Dame d'Étampes, que nous avons donnée (fig. 3), se compose de contre-clefs et de ces clefs posées dans les remplissages; mais, par le fait, les quatre clefs des remplissages font partie d'une composition unique. Nous ne connaissons guère en France qu'un exemple de ces clefs de remplissage isolées, qui existe sous les voûtes de l'ancienne sacristie de l'église abbatiale de Vézelay (XIIe siècle). Ainsi que le représente la fig. 24, entre les deux arcs ogives, en A, sont posées des clefs sculptées, saillantes sous le parement des remplissages, et qui n'ont guère que 0,30 c. de côté. La fig. 24 bis donne le détail de l'une d'elles, représentant un guerrier combattant un dragon. La salle est couverte par six voûtes ainsi décorées, et parmi ces clefs on reconnaît les quatre signes des Évangélistes dans des cercles de feuillages. Les voûtes fermées sous les clochers centrals des églises sont, à dater du XIIIe siècle, presque toujours munies de clefs d'un grand diamètre, percées d'un trou large pour le passage des cloches; mais ces clefs sont décrites au mot OEIL.

Sous les charpentes lambrissées construites pendant les XIVe, XVe et XVIe siècles, au point de la rencontre de la tête des poinçons avec les courbes et l'entre-toise supérieure, on attache des clefs sculptées sur bois, formant comme un épanouissement de feuillages et d'ornements qui masque les assemblages des pièces de charpente au-dessus du chapiteau de ces poinçons. Ces clefs ne sont qu'un ornement sans utilité réelle, une bague découpée à la tête du poinçon; elles produisent un bon effet et contribuent à meubler ces lambris en berceau, d'un aspect assez pauvre. Quelquefois même des clefs de bois découpé et sculpté sont posées à la rencontre des filières ou pannes longitudinales avec les courbes divisant les lambris et servant de couvre-joints.


Nous reproduisons (25) une clef de tête de poinçon, et (26) une clef masquant la rencontre d'une filière avec une courbe. Ces dernières clefs sont très-fréquentes dans les charpentes anglo-normandes du XVe siècle, elles sont ajourées, et sculptées avec beaucoup d'adresse, et rompent la monotonie de ces grands berceaux en bardeaux. La grand'salle du palais ducal de Dijon conserve encore, sous sa voûte en bois du XVe siècle, de jolies clefs ainsi disposées, qui sont rehaussées d'or et de peinture.
Note 199: (retour) Jusqu'au XVIe siècle, l'usage s'est perpétué de peindre les clefs de voûtes et de les peindre aux armes des souverains, évêques, abbés, seigneurs, villes, etc. Dans les registres des comptes de l'oeuvre de l'église de Troyes (f° 348 à 352), on lit qu'en 1463, un certain Jacquet peint, en la clef de l'une des grandes voûtes, les armes du cardinal d'Avignon; qu'en 1494, Nicolas Cordonnier, peintre, peint la clef de la première voûte de la nef alors achevée, «où sont les armes de Mgr le grand archidiacre de Refuge;» que sur la clef de la deuxième voûte il peint les armes de la ville, puis, sur les voûtes suivantes, celles du roi et de l'évêque de Troyes; qu'enfin la clef de la cinquième voûte est dorée (voy. les Comptes de l'oeuvre de l'église de Troyes. Troyes, Bouquot, édit. 1855).
CLEF, terme de charpenterie. On désigne par le mot clef; dans les oeuvres de charpente, une petite pièce de bois destinée à réunir et serrer deux moises. Le fer n'étant pas employé dans les charpentes anciennes, on réunissait les moises au moyen de clefs en bois passant à travers deux mortaises et serrées par une clavette ou une cheville. On avait le soin de tailler ces clefs dans du bois de fil, bien sain et sans noeuds, afin qu'elles pussent être facilement chassées à coup de masse dans les mortaises. Nous donnons (27), en A, une de ces clefs non posée, et, en B, deux clefs posées pour serrer deux moises contre une pièce de bois horizontale. La tête C de la clef portait contre une moise, tandis que la clavette D, enfoncée à force, venait serrer le tout.

Mais, dans certaines fermes armées au moyen de moises ou aiguilles pendantes, si, par exemple, un entrait étant destiné à porter une charge considérable, on voulait le soulager de distance en distance au moyen de moises en bois suspendues aux arbalétriers, alors, au lieu de boulonner ces moises pendantes après les arbalétriers au moyen de boulons en fer, ainsi que cela se pratique aujourd'hui, on passait des clefs en bois à cheval sur ces arbalétriers. Dans ce cas, on donnait une grande force aux clefs de bois.
La fig. 28 nous donnera la disposition de cette pièce de charpente. Soit A l'entrait qu'il s'agit de soulager, B l'arbalétrier, on posait deux moises pendantes CC qui venaient s'assembler et s'embréver dans une clef D supérieure; deux chevilles empêchaient les moises de sortir de leur embrévement et de quitter les tenons; une cale G, taillée en coin, évitait le glissement de la clef supérieure sur l'arbalétrier incliné; en E était une autre clef également embrévée, suspendant l'entrait. Un pareil assemblage avait une grande puissance. C'est ainsi que les entraits des fermes qui portent les poteaux d'arêtiers de la flèche de la cathédrale d'Amiens (commencement du XVIe siècle) sont suspendus aux arbalétriers. Mais on trouve des assemblages identiques dans des charpentes beaucoup plus anciennes, notamment dans celle de la cathédrale de Paris, qui date du XIIIe siècle.
CLEF, terme de menuiserie. C'est une petite barre de bois dur, embrévée à queue d'aronde derrière des panneaux composés de planches assemblées afin de les maintenir planes et de les empêcher de coffiner. On désigne aussi ces clefs sous le nom de barres à queues (voy. MENUISERIE).
CLEF, terme de serrurerie (voy. SERRURERIE).
CLOCHE, s. f. Saint, sein (signum). «Le petit peuple et la canaille, dit Thiers dans son Traité des superstitions 200, accourent en foule de toutes parts à l'église, non pour prier, mais pour sonner..... Car il faut remarquer en passant que les gens les plus grossiers sont ceux qui aiment davantage les cloches et le son des cloches. Les Grecs, qui sont des peuples fort polis, avaient peu de cloches avant qu'ils eussent été réduits sous la domination ottomane, et ils n'en ont presque point aujourd'hui, étant obligés de se servir de tables de fer ou de bois pour assembler les fidèles dans les églises. Les Italiens, qui se piquent de spiritualité et de délicatesse, ont aussi peu de cloches; encore ne sont-elles pas fort grosses. Les Allemands et les Flamands, au contraire, en ont de grosses et en grand nombre; cela vient de leur peu de politesse. Les païsans, les gens de basse condition, les enfans, les foux, les sourds et muets, aiment beaucoup à sonner les cloches ou à les entendre sonner. Les personnes spirituelles n'ont pas de penchant pour cela. Le son des cloches les importune, les incommode, leur fait mal à la tête, les étourdit.» Thiers n'aime pas les cloches, sa boutade le dit assez. Cependant il faut avouer que le moyen âge les aimait fort et en fabriqua une quantité prodigieuse. Les églises paroissiales possédaient souvent deux clochers; les églises abbatiales et cathédrales en élevèrent quelquefois jusqu'à sept, qui tous contenaient des cloches.
Les cloches, ou du moins les clochettes, étaient connues dès l'antiquité grecque et romaine. Quelques auteurs prétendent que ce fut le pape Sabinien (an 604), successeur immédiat de saint Grégoire, qui, le premier, prescrivit l'usage des cloches pour annoncer les saints offices. Ce qui ne peut être mis en doute, c'est que des cloches étaient suspendues au-dessus des églises dès le VIIe siècle 201. Ces cloches primitives, toutefois, n'étaient que d'un faible poids relativement aux nôtres. La plus grosse des cloches données par le roi Robert à l'église Saint-Agnan d'Orléans, au XIe siècle, et qui passait pour une pièce admirable, ne pesait pas plus de 2,600 livres. Les cloches données par Rodolphe, abbé de Saint-Trond, au commencement du XIIe siècle, pour l'église de son monastère, pesaient depuis 200 jusqu'à 3,000 livres.
Guillaume Durand 202 commence ainsi son chapitre sur les cloches des églises: «Les cloches ou campanes (campanæ) sont des vases d'airain inventés d'abord à Nole, cité de Campanie; c'est pourquoi les plus grands de ces vases sont appelés campanæ, du pays de Campanie, et les plus petits ou clochettes, nolæ, de la cité de ce nom.» Mais l'opinion de l'évêque de Mende, partagée par saint Anselme, par Honoré, prêtre de l'église d'Autun, et par Binsfeld, n'est appuyée sur aucun monument, sur aucune preuve. Ce n'est guère qu'à dater du XIIIe siècle que l'on donna aux cloches des dimensions considérables; à cette époque, l'art du fondeur était déjà très-perfectionné; il dut nécessairement s'appliquer à la fabrication des cloches. Il est vraisemblable que ce fut seulement vers cette époque que l'on observa, dans la fabrication des cloches, deux sortes de proportions, la proportion absolue et la proportion relative; l'une qui produit la sonorité de la cloche, l'autre qui établit des rapports d'harmonie, des accords entre plusieurs cloches. Il y a aujourd'hui, pour obtenir ces résultats, des formules que l'on déclare infaillibles quant à l'alliage des métaux et aux formes à donner aux cloches; ce qui n'empêche pas nos fondeurs de fabriquer trop souvent des cloches d'un mauvais son, tandis que toutes les cloches anciennes encore existantes sont remarquables par la beauté 203 et la pureté des vibrations sonores. Toutefois, comme nous ne voulons pas nous faire de querelles avec les fondeurs de cloches, nous reconnaissant incapables de discuter sur leur art en connaissance de cause, nous admettrons, si l'on veut, que, si les anciennes cloches connues sont particulièrement remarquables par la qualité de leur son, c'est qu'on a brisé de préférence toutes celles qui étaient défectueuses; or, comme on en a brisé un nombre considérable, nos fondeurs peuvent soutenir que la plupart d'entre elles ne valaient rien.
On distingue dans les cloches plusieurs parties qui, chacune, ont un nom: la patte, ou le bord inférieur qui est mince; la panse (d'autres disent la pinse), c'est la partie la plus épaisse contre laquelle frappe le battant; les saussures, c'est la partie moyenne de la cloche se rapprochant de la forme cylindrique; la gorge ou la fourniture, c'est le passage entre les saussures et la panse, le point où le métal s'épaissit et où la cloche commence à prendre un diamètre plus fort; le vase supérieur, c'est la partie supérieure de la cloche à peu près cylindrique, entre les saussures et le cerveau; le cerveau, c'est la calotte supérieure, recevant l'anneau auquel le battant est suspendu; les anses, qui sont les bras supérieurs au moyen desquels on suspend la cloche au mouton; le battant, qui est de fer forgé, en forme de poire très-allongée terminée par un appendice ou poids, destiné à lui donner de la volée. Le battant porte au sommet de sa tige un anneau qui sert à l'attacher à l'intérieur du cerveau au moyen d'une forte courroie en cuir. Le P. Marsenne 203b a laissé le premier une méthode sûre pour fondre les cloches; il établit les rapports qui doivent exister entre les diamètres de l'instrument à toutes les hauteurs et les épaisseurs relatives des diverses parties. La matière qui sert à fondre les cloches est un composé de cuivre rosette et d'étain fin. Le cuivre entre pour trois quarts et l'étain pour un quart. On a cru longtemps que l'argent mêlé à cet alliage donnait aux cloches un son plus pur, et la piété des fidèles ajoutait cet appoint à l'alliage dans d'assez fortes proportions. Il est certain qu'aujourd'hui on a renoncé à jeter de l'argent dans le fourneau des fondeurs de cloches, et nous sommes assez disposés à croire qu'autrefois il en entrait plus dans la bourse de ces industriels que dans leurs creusets, car nos sous, dits de métal de cloches, et façonnés, à la fin du dernier siècle, avec les débris de ces instruments, ne contiennent qu'une très-faible partie d'argent; cependant il s'y en trouve.
La fonte des cloches était autrefois une affaire majeure. Les fondeurs n'avaient pas d'usine, mais se transportaient dans les localités où l'on voulait faire fondre des cloches. On creusait une fosse près de l'église, on bâtissait un fourneau, et c'était, pour les habitants des paroisses, une préoccupation grave de savoir si la fonte réussirait ou non. On lit, dans les registres des comptes de l'oeuvre de l'église de Troyes, qu'en 1475 Jacques de la Bouticle et Robinet Reguin viennent à Troyes fondre plusieurs cloches. Pour les exciter à bien faire, «les chanoines leur font présent de harengs, de carpes et d'autres choses; Me J. de la Hache, marchand, leur donne en outre 10 pintes de vin. Les vicaires de l'église visitent les ouvriers, chantent le Te Deum et assistent à la bénédiction des cloches 204.»

La plus ancienne cloche fondue que nous ayons vue est celle qui se trouvait encore, en 1845, dans la tour de l'église abbatiale de Moissac. Elle était fort belle, d'une fonte admirable, non retouchée au burin et d'un son plein. La forme était assez remarquable pour que nous croyions devoir en donner le profil, à 0,05 c. pour mètre, rapporté très-exactement (1) 205.
Cette cloche, fort simple, avait, pour tout ornement, deux inscriptions, entre le vase et le cerveau, placées l'une au-dessus de l'autre; voici la première:
SALVE REGINA MISERICORDIÆ.
Entre les mots regina et misericordiæ était une petite figure de la sainte Vierge, entourée d'un orle à deux pointes, comme les sceaux; après le dernier mot, il y avait trois sceaux.
L'inscription inférieure portait, en une seule ligne et en lettres plus petites:
ANNO DOMINI MILLESIMO CCº LXX TERCIO GOFRIDUS
ME FECIT ET SOCIOS
MEOS. PAULUS VOCOR
206.

La première inscription avait été façonnée au moyen de filets de cire appliqués sur le modèle. Nous donnons (2) une des lettres de cette inscription, grandeur d'exécution, afin de faire comprendre le procédé employé par les fondeurs. La fonte de cette cloche était tellement pure que tous les fins linéaments de ces lettres étaient parfaitement venus et les sceaux aussi nets qu'une empreinte de cire d'Espagne.
La cloche de Moissac, de 1273, était un monument fort rare, car nous n'en connaissons pas d'aussi anciennes; le métal était sombre et assez semblable au bronze des statues grecques; le cuivre y entrait certainement pour une forte part.
Mais c'est à dater du XVe siècle surtout que l'on donna aux cloches des dimensions et un poids considérables. Le premier bourdon de la cathédrale de Paris fut fondu, en 1400, par Jean de Montaigu, frère de Gérard de Montaigu, quatre-vingt-quinzième évêque de Paris; on le nomma Jacqueline, du nom de l'épouse de Jean. Il pesait, dit-on, 15,000 livres 207. Un second bourdon fut donné à l'église de Paris en 1472; il pesait 25,000 livres. La célèbre cloche de Rouen, donnée par le cardinal d'Amboise, et fondue en 1501, pesait 36,364 livres. Elle fut fêlée en 1786 et ne fut pas refondue.
Un des plus anciens bourdons qui ait été conservé est celui de la cathédrale de Reims; il fut fondu en 1570 et pèse 23,000 livres. Il existe encore des cloches de moyenne grandeur, des XVe et XVIe siècles, dans les cathédrales d'Amiens, de Beauvais, de Sens, de Metz, de Chartres, dans l'ancienne cathédrale de Carcassonne, dans les églises de Saumanes (Vaucluse), de Notre-Dame de Bon-Secours à Orléans, de Trumilly (Oise), etc., dans les beffrois des villes de Valenciennes, de Béthune, de Compiègne.
À dater du XVIe siècle, les cloches sont décorées de filets d'ornements,
de rinceaux, de fleurs de lis, d'armoiries, de petits bas-reliefs
représentant le crucifiement de Notre-Seigneur, avec la sainte Vierge et
saint Jean, Jésus descendu de la croix entre les bras de sa mère, de
sceaux des chapitres, abbayes, églises et donateurs; il faut dire que
plus on se rapproche du XVIIe siècle et moins la fonte des cloches est
pure.
Les inscriptions façonnées dans les moules pour chaque cloche, pendant les XIIIe et XIVe siècles, ainsi que le démontre la fig. 2, sont faites, à partir de la fin du XVe siècle, au moyen de caractères de plomb ou de bois servant à imprimer chaque lettre sur une petite plaque de cire que l'on appliquait sur le modèle avant de faire le creux; par suite de ce procédé, les lettres se trouvent inscrites chacune dans une petite tablette plus ou moins décorée, ainsi que l'indique la fig. 3, copiée sur l'inscription de l'une des cloches de la cité de Carcassonne, fondue vers le milieu du XVIe siècle.
Nous ne pensons pas que l'usage de sonner les cloches à grande volée soit très-ancien; autrefois, on se contentait probablement de les mettre en branle de manière à ce que le battant vînt frapper le bord inférieur, ou de les tinter en attirant le battant sur le bord de la cloche. L'extrême étroitesse de beaucoup de clochers anciens ne peut permettre de sonner des cloches de dimension moyenne à grande volée; et, autant qu'on en peut juger, la disposition des plus anciens beffrois est telle qu'elle n'eût pu résister à l'action de la cloche décrivant un demi-cercle.
Aujourd'hui, on a perfectionné la suspension des cloches de manière à rendre l'effet du branle à peu près nul (voy. BEFFROI).
Note 203b: (retour) Harmonie univers., t. II, liv. VII.
CLOCHER, s. m. Les églises bâties pendant les premiers siècles du christianisme, ne possédant pas de cloches, étaient naturellement dépourvues de clochers. Si, déjà, au VIIIe siècle, l'usage des cloches destinées à sonner les offices ou à convoquer les fidèles était répandu, ces cloches n'étaient pas d'une assez grande dimension pour exiger l'érection de tours considérables, et ces instruments étaient suspendus dans de petits campaniles élevés à côté de l'église, ou au-dessus des combles, ou dans des arcatures ménagées au sommet des pignons, ou même à de petits beffrois de bois dressés sur la façade ou les murs latéraux. Nous ne voyons pas qu'on ait fondu de grosses cloches avant le XIIe siècle; encore ces cloches étaient-elles petites relativement à celles qui furent fabriquées dans les siècles suivants, et cependant le XIe et le XIIe siècle élevèrent des clochers qui ne le cèdent en rien, comme diamètre et hauteur, à ceux bâtis depuis le XIIIe siècle. On peut donc considérer les plus anciens clochers autant comme des monuments destinés à faire reconnaître l'église au loin, comme un signe de puissance, que comme des tours bâties pour contenir des cloches. Des motifs étrangers aux idées religieuses durent encore contribuer à faire élever des tours attenantes aux églises.
Pendant les incursions normandes sur les côtes du Nord, de l'Ouest et le long des bords de la Loire et de la Seine, la plupart des églises furent saccagées par ces barbares; on dut songer à les mettre à l'abri du pillage en les enfermant dans des enceintes et en les appuyant à des tours solides qui défendaient leurs approches. Ces tours durent être naturellement bâties au-dessus de la porte de l'église, comme étant le point le plus attaquable. Dans ce cas, le placement des cloches n'était qu'accessoire; on les suspendait au sommet de ces tours, dans les loges ou les combles qui les couronnaient. C'est, en effet, dans les contrées particulièrement ravagées par les incursions périodiques des Normands que nous voyons les églises abbatiales et même paroissiales précédées de tours massives dont malheureusement il ne nous reste guère aujourd'hui que les étages inférieurs.
L'église abbatiale de Saint-Germain-des-Prés, à Paris, conserve encore les parties inférieures de la tour carlovingienne bâtie devant la porte principale, celle par laquelle entraient les fidèles. Les églises de Poissy et de Créteil, sur la Seine, et les églises abbatiales de Saint-Martin de Tours, et de Saint-Savin, en Poitou, présentent la même disposition d'une tour massive précédant l'entrée ou servant de porche. Ce qui fut d'abord commandé par la nécessité devint bientôt une disposition consacrée; chaque église voulut avoir sa tour; il faut d'ailleurs ne point perdre de vue l'état social de l'Occident au XIe siècle. À cette époque, la féodalité était constituée; elle élevait des châteaux fortifiés sur ses domaines; ces châteaux possédaient tous un donjon, une tour plus élevée que le reste des bâtiments et commandant les dehors. Or les églises cathédrales et abbatiales étaient en possession des mêmes droits que les seigneurs laïques; elles adoptèrent les mêmes signes visibles et voulurent avoir des donjons religieux, comme les châteaux avaient leurs donjons militaires. On ne saurait admettre que les énormes clochers précédant les églises abbatiales du XIe siècle, comme, par exemple, ceux dont on voit encore les étages inférieurs à Saint-Benoît sur Loire et à Moissac entre autres, fussent uniquement destinés à recevoir des cloches à leur sommet; car il faudrait supposer que ces cloches étaient très-grosses ou en quantité prodigieuse; ces deux suppositions sont également inadmissibles; les cloches, au XIe siècle, étaient petites et rares. On regardait alors une cloche de 3,000 kilogrammes comme un objet de luxe que peu d'églises pouvaient se permettre (voy. CLOCHE).
Si le clocher, au XIe siècle, n'eût été qu'un beffroi, comment les constructeurs eussent-ils employé la majeure partie de leurs ressources à les élever, tandis qu'ils étaient obligés de mettre la plus grande parcimonie souvent dans la construction de l'église? Pour suspendre les quelques petites cloches dont un monument religieux disposait à cette époque, il suffisait d'un campanile posé sur le pignon; il faut donc voir, dans le clocher primitif, une marque de la puissance féodale des cathédrales et abbayes, ou de la richesse et de l'importance des communes. Du moment que l'érection d'un clocher devenait une question d'amour-propre pour les monastères, les chapitres ou les communes, c'était à qui construirait la tour la plus élevée, la plus riche, la plus imposante. Bientôt on ne se contenta pas d'un seul clocher; les églises en eurent deux, trois, cinq, sept et jusqu'à neuf, et c'est principalement dans les contrées où la féodalité séculière élève ses châteaux les plus formidables que les cathédrales, les abbayes et plus tard les paroisses, construisent des clochers magnifiques et nombreux.
La basilique romaine servit longtemps de type aux architectes chrétiens pour bâtir leurs églises, et ils ne commencèrent à s'en écarter que vers le commencement du XIe siècle, dans quelques provinces où les arts d'Orient pénétrèrent brusquement: dans le Périgord et le Limousin. Lorsque des clochers furent annexés aux basiliques imitées, par tradition, des monuments antiques, force fut aux architectes d'adopter, pour leurs clochers, des formes nouvelles, puisque la basilique antique n'avait rien qui pût servir de modèle à ce genre de construction.
L'idée d'élever, à la place du narthex, une tour massive propre à la défense de l'entrée du monument, dut être la plus naturelle, et c'est, comme nous l'avons dit plus haut, celle qui fut adoptée. Les constructeurs carlovingiens, préoccupés avant tout d'élever une défense surmontée d'une guette et d'un signal sonore, ne songèrent pas tout d'abord à décorer leurs clochers. Des murs épais flanqués aux angles de contre-forts plats, percés à la base d'une arcade cintrée, aux étages intermédiaires de rares fenêtres, et couronnés par un crénelage, une loge et un beffroi durent composer nos plus anciens clochers. Le rez-de-chaussée voûté en berceau plein cintre, ordinairement sur plan barlong 208, servait de porche. Rarement un escalier communiquait directement de la base au faîte du monument, afin de rendre plus difficile la prise de cette défense. On n'arrivait aux étages supérieurs que par les combles de la nef ou par une porte percée à l'intérieur de l'église, à quelques mètres au-dessus d'un pavé, et en se servant d'une échelle 209. Au point de vue de l'art, ces constructions n'avaient rien de remarquable. Ce devaient être de véritables bâtisses élevées pour satisfaire au besoin du moment. Cependant le porche, la partie inférieure de l'édifice précédant l'entrée, affectait parfois des dispositions déjà recherchées 210. L'architecture romane primitive était pauvre en invention; toutes les fois qu'elle ne s'appuyait pas sur une tradition romaine, elle était singulièrement stérile. Mais quand, dans l'ouest, des Vénitiens eurent fait pénétrer les arts qu'eux-mêmes avaient été recueillir en Orient 211, il se fit une véritable révolution dans l'art de bâtir, révolution qui, du Périgord et du Limousin, s'étendit jusque sur la Loire et en Poitou. À Périgueux même, nous trouvons un immense clocher qui n'est pas moins curieux à étudier à cause de la date reculée de sa construction (premières années du XIe siècle) que par sa forme étrange et la hardiesse de sa structure. Les constructeurs de Saint-Front de Périgueux, après avoir élevé l'église actuelle sur le modèle de celle de Saint-Marc de Venise, bâtirent, sur les restes de l'église latine des VIe ou VIIe siècles, une tour carrée terminée par une calotte conique portée sur des colonnes. Que ce clocher ait été copié plus ou moins fidèlement sur l'ancien campanile de Saint-Marc de Venise, ou qu'il ait été composé, nous ne savons sur quelles données, par les architectes périgourdins du XIe siècle, toujours est-il qu'il présente des dispositions neuves pour l'époque, étrangères aux traditions romaines quant à l'ensemble, sinon quant aux détails. Ce clocher est fort élevé, et cependant il accuse la plus grande inexpérience de ce genre de construction.

Nous en donnons (1) l'élévation au-dessus de la bâtisse latine sur laquelle il est planté. Les architectes du clocher de Saint-Front n'ont rien trouvé de mieux évidemment que de superposer deux étages carrés en retraite l'un au-dessus de l'autre et produisant ainsi le plus dangereux porte-à-faux qu'il soit possible d'imaginer; car les parements intérieurs des murs de l'étage carré supérieur surplombent les parements de l'étage inférieur, de sorte que les piles d'angles portent en partie sur les voussoirs des petits arcs inférieurs, et les sollicitent à pousser les pieds-droits en dehors. Ne s'en tenant pas à cette première disposition si vicieuse, ces architectes couronnèrent l'étage supérieur d'une voûte hémisphérique surmontée, toujours en porte-à-faux, d'un chapeau à peu près conique porté sur un rang de colonnes isolées prises à des monuments romains et toutes de hauteurs et de diamètres différents. Il est vrai que, pour diminuer les dangers résultant de la poussée de la calotte supérieure sur les piles d'angles, les arcades de l'étage supérieur furent simplement fermées par des linteaux cintrés, au lieu de l'être par des archivoltes; mais ces linteaux devaient casser sous la charge, et c'est ce qui arriva. Ce dont on peut s'émerveiller, c'est qu'une pareille tour ait pu se maintenir debout. Il faut croire que, dans l'épaisseur des maçonneries, entre les rangs d'arcades, des chaînages horizontaux en bois furent posés, conformément aux habitudes des constructeurs occidentaux, et que ces chaînages maintinrent cette construction. Quoi qu'il en soit, peu de temps après l'achèvement du clocher de Saint-Front, les arcades que nous avons figurées vides, conformément au plan originaire, furent en partie bouchées par des pieds-droits et des archivoltes en sous-oeuvre qui diminuèrent considérablement les ouvertures primitives, et les fenêtres carrées de la base furent complétement murées. Déjà, dans la construction de ce clocher primitif, on sent l'influence de cet esprit hardi des architectes occidentaux qui, un siècle plus tard, allait produire, appuyé sur le savoir et l'expérience, des monuments surprenants par leur hauteur, leur légèreté et leur solidité. Il est difficile de reconnaître aujourd'hui jusqu'à quel point le clocher de Saint-Front de Périgueux servit de type aux architectes des provinces de l'ouest; qu'il ait exercé une influence sur un grand nombre de leurs constructions, le fait n'est pas douteux; mais nous trouvons, dans des clochers qui lui sont postérieurs d'un demi-siècle environ, des éléments provenant d'autres sources. Ce qui caractérise le clocher de Saint-Front, ce sont ces étages carrés en retraite et renforcés de colonnes engagées, entre lesquelles s'ouvrent de petites baies cintrées, et surtout ce couronnement conique porté sur un tambour formé de colonnes. Nous retrouvons un grand nombre de couronnements coniques dans l'ouest et jusque vers la Loire, sur des clochers des XIe et XIIe siècles, ainsi que les étages carrés avec leurs colonnes engagées dont les chapiteaux supportent les corniches. Mais, parallèlement à cette famille de clochers périgourdins importés peut-être par les Vénitiens, nous en voyons surgir une autre dont nous aurions grand'peine à reconnaître l'origine, les types primitifs n'existant plus. Ces types étaient-ils latins? ce qui est probable, appartenaient-ils aux derniers débris de la décadence romaine sous les Mérovingiens? Nous ne saurions décider la question. Les monuments qui nous restent, n'étant évidemment que des dérivés d'édifices antérieurs, il nous faut les prendre tels qu'ils sont, sans essayer d'indiquer d'où ils viennent.

Il existe, sur le flanc de l'église abbatiale de Brantôme (Dordogne), non loin de Périgueux, un gros clocher bâti sur le roc qui longe cette église et sans communication avec elle. C'est une tour isolée; afin de l'élever davantage au-dessus des combles de l'église, les constructeurs ont profité d'une falaise escarpé présentant un relief de douze mètres environ au-dessus du pavé de la nef. L'étage inférieur du clocher de Brantôme formait autrefois, avant le bouchement de cinq de ses arcades, une salle fermée d'un côté par un gros mur adossé au roc, et ouverte sur trois côtés par six arcs épais. Une voûte elliptique surmonte cette salle, dont la construction est des plus curieuses et assez savante. Voici (2) le plan de ce rez-de-chaussée. Au-dessus est une seconde salle, fermée de même, du côté nord, par le gros mur contenant un escalier à rampes droites et ajourées, sur les trois autres faces, en arcades divisées par des colonnes (voy. le plan de ce premier étage, fig. 3). Cette salle n'était pas voûtée, mais recevait un plancher qui portait évidemment le beffroi en charpente.

Nous donnons (4) la coupe du clocher de Brantôme sur la ligne A B des deux plans ci-dessus. Cette coupe indique une construction savante, bien calculée, dans laquelle les retraites des étages supérieurs sont habilement supportées par l'inclinaison des parements intérieurs de l'étage C contenant la souche du beffroi. Afin d'épauler les faces des étages supérieurs du clocher, qui sont assez minces, de grands pignons pleins surmontent les arcades D et de petits contre-forts renforcent les angles.

L'élévation (5) fait comprendre cette disposition. Le plan de ce clocher n'est pas un carré parfait, mais parallélogramme, afin de laisser un libre mouvement aux cloches. Suivant un usage fort ancien, qui appartient au Quercy et que nous voyons encore adopté aujourd'hui dans les constructions particulières, la pyramide à base carrée qui couronne la tour est bâtie en petits moellons, bien que le clocher soit tout entier construit en pierres de taille d'appareil 212. Rien ne rappelle, dans la construction du clocher de Brantôme, élevé vers le milieu du XIe siècle, les formes et le mode de bâtir employés dans le clocher de Périgueux, si ce n'est la petite coupole inférieure. Tout indique, dans la tour de Brantôme, une origine latine; le système de construction, l'appareil, la forme des arcs; c'est un art complet développé au point de vue de la construction. Il y a même, dans les proportions de cet édifice, une certaine recherche qui appartient à des artistes consommés; les vides, les saillies et les pleins sont adroitement répartis. La rudesse de la partie inférieure, qui rappelle les constructions romaines, s'allie par des transitions heureuses à la légèreté de l'ordonnance supérieure. Cette école, étrangère et supérieure à celle de Périgueux, ne devait pas s'arrêter en si beau chemin; nous la voyons se développer de la manière la plus complète dans la construction du clocher de Saint-Léonard (Haute-Vienne), presque contemporain de celui de Brantôme. Conservant le parti adopté dans les étages inférieurs de la tour de Brantôme, l'architecte du clocher de Saint-Léonard entreprit d'élever un beffroi octogone en prenant comme points d'appui les quatre angles de la tour carrée et les quatre pointes des pignons couronnant les arcs percés à la base de ce beffroi, de manière à présenter quatre des angles de son octogone sur le milieu des quatre faces du carré (voy., fig. 6, l'élévation perspective de ce clocher). C'était là un parti tout nouveau, original, franc et parfaitement solide, car les angles de l'octogone ainsi plantés portaient plus directement sur les parties résistantes de la construction, que si cet octogone eût été posé ses faces parallèles aux faces du carré. Cette étude et cette recherche de la construction percent dans l'exécution des détails et dans les proportions de ce beau monument. L'architecte a donné de la grandeur aux divisions principales de sa tour, en plaçant des rangées de petites arcatures aveugles à la base en A et au sommet en B. Il y a, dans cette oeuvre remarquable, toutes les qualités que l'on se plaît à reconnaître dans la bonne architecture antique romaine, et, de plus, une certaine finesse, un instinct des proportions qui tiennent à cette école d'architectes de nos provinces occidentales. Un siècle et demi plus tard, ce système de construction de clochers était encore appliqué à Limoges; mais il devait se perdre au XIVe siècle pour ne plus reparaître après l'invasion des arts du Nord dans ces provinces. Comme à Brantôme, la flèche du clocher de Saint-Léonard est bâtie en moellon.


Postérieurement à la construction du clocher de Saint-Léonard, on élève à Uzerches (Corrèze) un clocher-porche qui conserve encore les caractères principaux du clocher de Brantôme; mais l'étage supérieur, bien qu'étant sur plan octogone, présente ses faces parallèlement à celles de la base carrée. Les angles restés libres entre le plan carré et le plan octogonal sont couverts par des cornes en pierre qui tiennent lieu de pinacles. Nous donnons (6 bis) une vue du clocher d'Uzerches. Il est construit en granit, et les faces diagonales de l'étage octogone sont portés par des encorbellements intérieurs. Le beffroi, en charpente, repose sur une voûte en calotte à base octogonale, percée à son sommet d'une lunette pour le passage des cloches; la pyramide était autrefois maçonnée en moellon; une charpente l'a remplacée. Malgré son apparence romane, ce clocher date des dernières années du XIIe siècle, et il fait voir que si les provinces d'Aquitaine avaient rapidement perfectionné les arts romans, elles ne se disposaient pas, à la fin du XIIe siècle, à s'en affranchir, comme les provinces du nord. Cependant les deux écoles du Périgord, celle de Saint-Front et celle dont nous suivons la trace à Brantôme, puis à Saint-Léonard, à Uzerches et dans beaucoup d'églises du Limousin, présentaient, au point de vue de la construction, sinon comme aspect, une troisième variété qui mérite d'être mentionnée. Préoccupés de l'idée de superposer, dans la construction des clochers, des étages en retraite les uns sur les autres, les architectes limousins n'ont pas toujours cherché à obtenir ce résultat, ou par des porte-à-faux dangereux comme à Saint-Front de Périgueux, ou par des encorbellements comme à Brantôme et à Uzerches; ils ont parfois tenté un autre moyen.

Vers le milieu du XIe siècle, on élevait, en avant de la cathédrale de Limoges (car c'est la place de la plupart des clochers de cette époque), un gros clocher dont le plan inférieur présente la disposition indiquée ici (7). Les quatre colonnes intérieures A étaient ainsi destinées à porter de fonds les retraites successives des étages de la tour. Les trois étages inférieurs seuls sont conservés et englobés dans une construction du XIIIe siècle.
Quant au couronnement, il n'existe plus; mais tout porte à croire qu'il se rétrécissait de façon à porter sur les quatre colonnes. Un clocher, d'une époque plus récente (fin du XIe siècle), celui de la cathédrale du Puy-en-Vélay 213, nous donne la même disposition dans toute son intégrité. Ce clocher se compose, à la base, d'une muraille carrée avec quatre piles isolées à l'intérieur. Des arcs sont bandés de ces piles aux murs et portent des berceaux perpendiculaires aux quatre murs; sur ces berceaux reposent les étages supérieurs, qui vont en se rétrécissant jusqu'à l'aplomb des piles; de sorte que le sommet de ce clocher porte sur ces piles.


Nous donnons (8) la coupe de ce clocher, (9) le plan au niveau A du
premier étage, (10) le plan au niveau B du deuxième étage, (11) le plan
au niveau C du troisième étage, et (12) le plan au niveau D de l'étage
supérieur
214. Ce dernier plan est, comme on peut le vérifier,
exactement superposé aux piles inférieures. On remarquera la disposition
curieuse du plan fig. 11, qui présente une suite de niches intérieures
et extérieures se pénétrant avec beaucoup d'adresse et de manière à
reporter les charges sur les angles de la tour.
Mais, au XIe siècle déjà, l'Auvergne possédait des constructeurs d'une rare habileté et beaucoup plus savants que ceux des autres provinces de la France (voy. CONSTRUCTION). Le clocher de la cathédrale du Puy-en-Vélay, quelles que soient son importance et les dimensions de sa bâtisse, ne pouvait cependant contenir que des cloches assez petites, ainsi que sa coupe fig. 8 le fait voir, et certainement ceux qui l'ont bâti songeaient autant à faire une tour élevée, un monument propre à être aperçu de loin, à signaler l'église, qu'à loger des cloches, car ils eussent pu obtenir ce dernier résultat à beaucoup moins de frais. En examinant la coupe, il est facile de reconnaître que la partie du clocher destinée aux cloches se trouvait comprise entre les niveaux B et C, tandis que le dernier étage est bien plutôt une loge de guetteur qu'un beffroi. Les évêques étaient seigneurs, et, comme tels, devaient poster des guetteurs au sommet des tours des églises, comme les seigneurs laïques le faisaient au sommet du donjon de leurs châteaux. Ces guetteurs de jour et de nuit étaient, on le sait, chargés de signaler aux habitants des cités, en tintant les cloches ou en soufflant dans des cornets, les incendies, les orages, l'approche d'un parti ennemi, le lever du soleil, l'ouverture et la fermeture des portes de la cathédrale et des cloîtres.
Nous donnons (13) l'élévation du clocher de la cathédrale du Puy.

Il est certain que les architectes qui élevèrent les clochers les plus anciens cherchèrent, pour les couronner, des dispositions surprenantes et de nature à exciter l'admiration ou l'étonnement. Il n'était pas besoin, pour placer des cloches, de ces combinaisons étudiées; on voulait, avant tout, attirer l'attention des populations en érigeant, à côté de l'église ou sur ses constructions inférieures, un monument qui fût aperçu de loin et qui, par sa forme, contrastât avec les tours des châteaux ou des palais, en rivalisant de hauteur avec elles.
Dès le XIe siècle, les clochers des églises cathédrales servaient souvent de beffroi pour les villes (voy. BEFFROI), et la cité était aussi intéressée que le chapitre à marquer sa richesse et sa puissance par des constructions hardies dominant les habitations privées et les monuments publics.
Le clocher de la cathédrale du Puy est une tour reliée au corps de l'édifice, mais qui n'est point posée sur un porche ou sur la croisée de l'église; c'est un monument presque indépendant du plan, une annexe, comme à Brantôme. Cette disposition ne se rencontre que dans des églises très-anciennes.
Chacun sait qu'en Italie les clochers des églises sont tous isolés, qu'ils composent un monument à part. Mais en Italie, pendant les premiers siècles du moyen âge, les cités avaient conservé leur constitution romaine, ou peu s'en faut, et les clochers étaient un monument municipal autant qu'un monument religieux. Dans le midi de la France, les plus anciens clochers présentent la même disposition, et ne font pas partie du plan de l'église. Le clocher de Périgueux lui-même est planté sur une portion de l'église primitive conservée, mais ne tient pas à l'église abbatiale de la fin du Xe siècle. Les constructeurs périgourdins ont voulu utiliser une bâtisse ancienne qui leur servît de soubassement et qui leur permît d'élever ainsi à une grande hauteur leur nouvelle tour, sans dépenses trop considérables. Il y a là certainement une question d'économie, d'autant que l'on trouve partout, dans l'église de Saint-Front, la marque évidente d'une pénurie de ressources, la volonté d'élever un vaste monument en dépensant le moins possible.
Il est probable que, dans les premiers siècles du moyen âge, on éleva ainsi, en France, accolés à des églises fort anciennes, mais en dehors de leur plan, des clochers auxquels on voulait donner une grande hauteur et par conséquent une base solide et large. Dès le XIe siècle, ce qui caractérise le clocher de l'église et le distingue des tours des châteaux ou des habitations privées, ce sont: 1º ces étages ajourés supérieurs destinés au placement des cloches; 2º les couronnements aigus, pyramidaux, en pierre, qui leur servent de toit. Les clochers primitifs affectant, en France, la forme carrée en plan, les pyramides en pierre qui les couronnent sont elles-mêmes à base carrée, avec ou sans nerf sur les arêtiers. Il est cependant des exceptions à cette règle, et le vieux clocher de Périgueux en est une preuve; là, le couronnement porte sur un étage circulaire et est conique; mais il fait reconnaître, comme nous l'avons déjà dit, dans le clocher de Périgueux, une origine étrangère, qui servit de type à beaucoup de clochers de l'ouest, car nous voyons ces couronnements coniques persister, dans cette partie de la France, pendant le XIIe siècle, et pénétrer même jusque dans le Berry. En dehors de cette influence sortie de Périgueux, et dont l'origine peut bien être byzantine, en dehors de l'école occidentale dont Brantôme est un type, les provinces composant la France de nos jours adoptent les clochers pour toutes leurs églises, grandes ou petites, à partir du XIe siècle; mais toutes n'adoptent pas les mêmes dispositions, quant à la place ou quant à la forme à donner aux clochers. Les unes, comme l'Auvergne et le centre, qui, pendant la période romane, sont en avance sur le nord et l'ouest, plantent leurs clochers d'abord sur la rencontre des transsepts avec la nef, sur la croisée et sur la façade; les autres, comme les provinces françaises proprement dites, les placent en avant des nefs et dans les angles des transsepts. D'autres enfin, comme les provinces les plus méridionales, hésitent, ne font pas entrer les clochers dans le plan général de l'église, ou ne leur donnent qu'une minime importance. Peut-être, dans ces contrées où l'esprit municipal des villes romaines s'était conservé comme en Italie, existait-il près des églises des tours isolées à la fois religieuses et communales, qui furent détruites lors des guerres religieuses du XIIIe siècle; ce qui est certain, c'est que, dans les villes du nord, le réveil de l'esprit municipal est signalé par l'érection de grands clochers tenant aux églises cathédrales, car il faut observer que les clochers les plus imposants par leur hauteur et leur richesse s'élèvent, à la fin du XIe siècle et pendant le XIIe, au milieu des cités qui s'érigent en communes de gré ou de force.
Mais aucune province ne rivalise avec la Normandie, dès la fin du XIe siècle, pour le nombre et la dimension de ses clochers. Les Normands établis sur le continent devinrent bientôt d'infatigables constructeurs. Ils avaient pour eux la richesse d'abord, puis un esprit de suite qui manquait à la plupart des populations françaises; ces deux conditions étaient également nécessaires pour ériger des monuments dispendieux et qui demandaient de longs travaux. Bien partagés en matériaux propres à bâtir, les Normands élevèrent, dès le temps de Guillaume le Conquérant, de vastes églises et les couronnèrent par des clochers nombreux et élevés; c'est surtout pendant le XIIe siècle que leurs cités se signalèrent entre les villes françaises par le nombre et l'élévation prodigieuse des clochers. La plupart de leurs églises, même de second ordre, en possédaient trois, un clocher sur la croisée et deux clochers sur la façade. Leurs cathédrales et leurs églises abbatiales en possédèrent bientôt cinq, car aux trois dont nous venons d'indiquer la place ils en ajoutèrent souvent deux de moindre importance, flanquant les sanctuaires au-dessus des collatéraux. Ce ne fut qu'à la fin du XIIe siècle que les provinces du domaine royal renchérirent encore sur les constructions normandes, en donnant à leurs cathédrales sept et même neuf clochers (voy. CATHÉDRALE).
Le clocher central normand, celui qui est posé à l'intersection des bras de croix, n'est pas seulement une tour s'élevant au-dessus des voûtes de l'église et portant sur les quatre piliers principaux, il contribue encore à l'effet intérieur du monument en laissant au-dessus de la croisée une vaste lanterne, libre et apparente à l'intérieur, dont l'effet ajoute singulièrement à la grandeur du vaisseau. Quant aux clochers annexés aux façades, les plus anciens montent de fond, et l'intervalle laissé entre eux est réservé au porche ou vestibule. Cette méthode, appliquée à la construction des clochers des façades, n'était pas, avant la période gothique, propre seulement à la Normandie. Les constructeurs romans n'osaient pas, comme leurs successeurs, poser ces tours colossales partie sur les murs de face et latéraux, partie sur une pile isolée, et il faut dire qu'en principe ils n'avaient pas tort. D'ailleurs les architectes romans ne donnaient pas généralement, aux tours des façades, l'importance qu'on leur donna depuis. Pour eux, le clocher principal, celui qui s'élevait le plus haut et qui présentait la base la plus large, était naturellement le clocher élevé sur la croisée. Cette base était commandée par l'écartement des piles, par la largeur de la nef, et partant d'un plan aussi étendu comme surface, il fallait bien, afin de donner une proportion convenable au clocher, élever son sommet à une grande hauteur.
Malheureusement, des grands clochers normands élevés sur la croisée des églises antérieurement à la fin du XIIe siècle, il ne nous reste que des fragments, des traces noyées dans des constructions postérieures, ou tout au plus les étages inférieurs 215. Ces clochers étaient carrés, percés d'un ou de deux étages de fenêtres éclairant l'intérieur de l'église. A proprement parler, le clocher ne commençait qu'au-dessus de ces étages, qui participaient du vaisseau intérieur.
Nous nous occuperons d'abord de ces clochers centrals, qui paraissent avoir été adoptés en France, dans les provinces du centre, de l'est et en Normandie, vers le commencement du XIe siècle. Nous avons donné, fig. 1, le clocher de la cathédrale de Périgueux, qui date de la fin du Xe siècle ou du commencement du XIe. Ainsi que nous l'avons dit, cette construction eut une influence sur la plupart de celles qui furent élevées, pendant les XIe et XIIe siècles, dans le Périgord, la Saintonge, l'Angoumois et le Poitou. Mais les imitateurs évitèrent les vices de construction que l'on remarque dans ce clocher et qui avaient nécessité le bouchement de presque tous ses ajours; ils cherchèrent, au contraire, à donner à leurs clochers une grande solidité, au moyen d'angles puissants en maçonnerie et de combinaisons ingénieuses. Les architectes de ces provinces, soit qu'ils fussent influencés par la position donnée au clocher de Saint-Front de Périgueux, bâti à cheval sur l'ancienne église latine, soit qu'ils eussent reconnu que le centre de la croisée des églises est le point le plus résistant et le mieux contre-butté de ces monuments, bâtirent de préférence leurs clochers à l'intersection des transsepts, à l'entrée du choeur, sur la dernière travée renforcée de la nef.
Il existe encore, sur l'église de l'abbaye des Dames, à Saintes, un gros clocher, de la fin du XIe siècle, qui, rappelant encore les dispositions primitives du clocher de Saint-Front, est déjà franchement roman et abandonne les formes antiques qui caractérisent le clocher de Périgueux.

Nous donnons (14) une vue de ce clocher. Il se compose, au-dessus des voûtes de l'église, d'un étage carré percé sur chaque côté de trois arcades soutenues par des piles formées de colonnes engagées. Une voûte hémisphérique porte, comme à Saint-Front, un étage circulaire, non plus composé d'un quillage de colonnes, mais de douze petits contre-forts cylindriques, entre lesquels s'ouvrent des arcades divisées par une colonne. Cet étage est surmonté du chapeau conique légèrement convexe, couvert d'écailles retournées, comme celui de Saint-Front. Mais ici l'architecte, plus habile que celui du clocher de Périgueux, a compris déjà qu'il devait charger les quatre angles de la base carrée par des pinacles, pour donner une résistance plus grande à ces angles.

Il peut paraître étrange que l'on ait décoré les cônes en pierre d'écailles retournées, car au premier abord il semblerait plus convenable, afin de faciliter l'écoulement des eaux pluviales, de placer les écailles dans leur sens naturel, comme des tuiles; mais lorsqu'on examine de près la construction de ces cônes en pierre, on comprend parfaitement pourquoi les constructeurs ont adopté cette singulière disposition. C'est que chaque intervalle entre ces écailles forme une petite rigole éloignant les eaux des joints verticaux. Une figure est nécessaire pour expliquer ce système de couverture en pierre. Soit (15) un détail perspectif d'une portion du cône squamé et une coupe; les lits des assises étant en A, les joints verticaux sont en B. L'eau suivant toujours les surfaces, est conduite naturellement d'une surface C sur la surface inférieure D, et n'est pas invitée ainsi à pénétrer les joints verticaux, qui sont d'autant plus garantis qu'ils se trouvent au point culminant E des écailles et qu'ils coupent leur parement vertical F. Et, en effet, ces cônes couverts d'écailles retournées résistent mieux à l'action des pluies que les cônes ou que les pyramides à parements unis.
La forme des clochers dont l'église de Saint-Front de Périgueux est le
premier type connu, se perpétue et se perfectionne, pendant le XIIe
siècle, dans les provinces de l'ouest. Beaucoup d'églises de l'Angoumois
et de la Saintonge possèdent encore des clochers centrals bien conçus,
bien construits, et qui affectent des formes plus sveltes à mesure
qu'ils se rapprochent de la fin de ce siècle. Entre plusieurs, nous en
choisirons un qui, de la base au faîte, est combiné de façon à présenter
une stabilité parfaite; c'est le clocher de l'église de Roulet
(Charente). Cette église, comme la plupart des édifices religieux de
second ordre de cette contrée, se compose d'une seule nef couverte par
des coupoles. À l'entrée du choeur est une travée plus épaisse dans ses
oeuvres basses qui porte un clocher. Voici (16) le plan de la travée à
rez-de-chaussée, portant la tour qui s'élève de fond sur les deux murs
latéraux et sur les deux arcs doubleaux transversaux bandés sur les
quatre piles. Au-dessus du comble est un soubassement carré décoré
d'arcatures aveugles, puis un étage également carré, mais percé
d'arcades à jour; c'est l'étage destiné aux cloches. Sur ce dernier
étage s'élève la flèche conique franche, non plus convexe.

Voici (17) le plan de l'étage carré du beffroi, et (18) le plan de la base du cône avec ses quatre petits pinacles à jour.

La fig. 19 donne la coupe de ce clocher et la fig. 20 son élévation 216. Ces croquis font voir que, déjà vers le milieu du XIIe siècle, les architectes occidentaux se préoccupaient de donner plus d'élégance à leurs clochers; les étages carrés sont d'une proportion heureuse, les flèches coniques s'élancent davantage, se couvrent d'écailles en dents de scie au lieu d'écailles circulaires, mais en conservant toujours le principe de construction présenté fig. 15; les pinacles des angles s'ajourent et prennent plus d'importance. Ils sont posés diagonalement, afin de profiter d'une base plus large. Jusqu'à la fin du XIIe siècle, cette forme de clocher persiste, en devenant chaque jour plus légère. Mais ce qui caractérise les clochers de l'ouest, ce sont ces étages carrés qui partent de fond, de la base à la flèche, et surtout cette couverture conique dont les écailles sont plus fines à mesure que l'art roman arrive à son dernier degré d'élégance.

En Auvergne, dès le XIe siècle, les clochers centrals portent sur une coupole inscrite dans un carré et arrivent brusquement au plan octogone à deux ou trois étages couronnés par une pyramide à huit pans. Tels étaient les clochers centrals, dernièrement rétablis 217, des églises d'Issoire, de Notre-Dame-du-Port à Clermont, de Saint-Nectaire (Puy-de-Dôme), bâtis pendant la seconde moitié du XIe siècle. Mais ces clochers portent sur un soubassement qui appartient exclusivement à l'Auvergne, et comprenant la coupole et deux demi-berceaux l'étayant dans le sens des transsepts (voy. ARCHITECTURE RELIGIEUSE, CONSTRUCTION, ÉGLISE); et ce système, qui consiste à planter un clocher à base octogone sur une énorme construction barlongue, n'est pas heureux, car il n'y a pas de transition entre les soubassements appartenant à l'église et la tour. L'oeil, ne devinant pas la coupole à l'extérieur, ne peut comprendre comment une tour prismatique porte sur un parallélogramme.

Nous trouvons, au contraire, ces transitions habilement ménagées dans le clocher central de la petite église d'Obasine (Corrèze). La coupole de la croisée, à Obasine, est toute périgourdine, portant sur quatre arcs doubleaux et des pendentifs; sur cette coupole s'élève un clocher octogonal à jour. Nous donnons (21) l'élévation de ce clocher 218. On voit comment les pendentifs de la coupole sont couverts par les triangles a ressauts, et comment, du socle carré portant sur les quatre piles et les arcs doubleaux, la construction arrive à l'octogone parfait. La coupe (22) indique l'ensemble de cette construction.

Ce système, dérivé de l'école de Périgueux, prévaut dans le Languedoc jusqu'à la fin du XIIIe siècle, et le grand clocher central de Saint-Sernin de Toulouse, bâti en pierre et en brique, vers le milieu du XIIIe siècle, est encore construit conformément à ce principe. Nous trouvons aussi des clochers centrals octogones de l'époque de transition dans les provinces du centre, dans l'église de Cogniat (Allier), par exempte 219, et jusqu'en Bourgogne. La belle église de Paray-le-Monial (Saône-et-Loire) possède encore un clocher central à huit pans, dont l'étage inférieur date de la fin du XIIe siècle et l'étage supérieur du XIIIe. Ce clocher, qui porte 10m,00 de largeur hors oeuvre, surmonte une coupole octogone percée d'un oeil pour le passage des cloches. À ce propos, il est utile de remarquer que, dans les voûtes inférieures des clochers primitifs, il n'est pas réservé de passage pour les cloches. Celles-ci étaient de dimensions assez petites pour pouvoir être introduites par les baies du clocher, ou, ce qui est plus probable, étaient montées avant la fermeture des voûtes inférieures.
Nous avons l'occasion de présenter un certain nombre de ces clochers de l'époque de transition et gothique au mot ÉGLISE, auquel nous renvoyons nos lecteurs.
La Normandie fut, de toutes les provinces françaises, celle qui persista le plus longtemps à élever des clochers gigantesques sur la croisée de ses églises. Les cathédrales de Bayeux, de Coutances, de Rouen, les églises de la Trinité de Caen, de Saint-Ouen de Rouen, possèdent encore des clochers centrals en pierre qui datent des XIIe, XIIIe, XIVe, XVe et XVIe siècles. Tandis que dans l'Île de France, la Picardie et la Champagne, on renonça, dès la fin du XIIIe siècle, à surmonter les croisées des églises par des clochers de pierre. La cathédrale de Paris ne posséda jamais qu'une flèche en bois, à l'intersection des transsepts, qui datait du commencement du XIIIe siècle; les cathédrales d'Amiens et de Beauvais furent surmontées de clochers centrals en pierre et bois; mais ces constructions s'étant écroulées ou ayant été détruites par le feu, ne furent remplacées que par des flèches en charpente recouvertes de plomb. Les provinces de l'est, pendant la période romane, élevèrent, sur un grand nombre de leurs églises, des clochers centrals en pierre; ceux-ci sont carrés sur la Haute-Saône, la Haute-Marne, le Rhône supérieur, et octogones, vers la fin du XIe siècle, en se rapprochant du Rhin.
Il paraîtrait que l'usage des clochers posés au centre de la croisée des églises était fort anciennement adopté dans les contrées qui subirent particulièrement l'influence carlovingienne ou de la renaissance des arts du Bas-Empire. On conçoit, en effet, qu'il était difficile de poser une tour sur la croisée d'une basilique latine; le peu d'épaisseur des murs de ces monuments, la largeur des nefs et la faiblesse des points d'appui du vaisseau principal, ne permettait guère de charger des constructions aussi légères de maçonneries s'élevant à une assez grande hauteur. Mais quand Charlemagne eut fait construire des édifices sacrés qui, comme l'église d'Aix-la-Chapelle, sont bâtis sur un plan circulaire ou à pans, épaulé par des niches à l'instar de certains édifices orientaux des premiers temps chrétiens, la résistance de ces constructions, parfaitement contrebuttées sur tous les points, leur forme même, appela nécessairement un couronnement central élevé.
Nous possédons, sur les bords de la Loire, à Germigny-des-Prés, près de Sully, une petite église qui est du plus grand intérêt, car sa date et son histoire sont connues. «Le moine Letalde, écrivain du Xe siècle, rapporte, dit M. Mérimée 220, que Théodulphe, d'abord abbé de Saint-Benoît-sur-Loire, puis évêque d'Orléans, fit bâtir l'église de Germigny à l'imitation de celle d'Aix-la-Chapelle.» Il faut avouer que l'imitation est fort libre, car ce qui existe du plan de Théodulphe, c'est-à-dire la partie principale de l'édifice, donne quatre piliers carrés entourés d'un bas-côté avec trois absidioles, une à l'orient et deux au sud et au nord. Ce plan rappelle bien plutôt les petites églises grecques de l'Asie et du Péloponèse que celui d'Aix-la-Chapelle. Quoi qu'il en soit, sur les quatre piles centrales s'élève un clocher carré portant sur les quatre arcs doubleaux. Son beffroi n'est séparé du vaisseau que par un plancher, et est percé, sur chacune des quatre faces, à l'étage inférieur formant lanterne, de quatre petites fenêtres décorées de stucs à l'intérieur; à l'étage supérieur destiné aux cloches, de quatre baies jumelles. On retrouve, dans les stucs et dans la construction même, faite en moellons recouverts d'enduits et d'une mosaïque sous la voûte de l'abside orientale, les traditions du bas-empire.
Mais nous avons l'occasion de revenir sur ce curieux monument au mot ÉGLISE. Nous devons nous borner à le signaler ici à cause de sa date et de la présence d'un clocher central antérieur à celui de Saint-Front de Périgueux, puisqu'il aurait été élevé au commencement du IXe siècle. On peut donc, jusqu'à présent, trouver deux origines distinctes à l'introduction des clochers centrals des églises en France: l'une, par les Vénitiens, sur les côtes occidentales; l'autre, par la renaissance carlovingienne de l'Est. Il est des provinces où ces deux influences se rencontrent et se mêlent: d'autres où elles dominent exclusivement. Or, si le clocher de Saint-Front servit de type à un grand nombre de tours d'églises dans l'Ouest, des clochers analogues à celui de Germigny (car nous ne pouvons faire à ce petit édifice l'honneur d'avoir servi de type), des clochers carlovingiens d'origine, influèrent sur les constructions entreprises sur les bords de la Saône, de la haute Marne et dans le Lyonnais. L'un des plus anciens clochers centrals de cette dernière contrée est celui de l'église d'Ainay à Lyon. La base massive de ce clocher date probablement du XIe siècle, et son étage à jour, supérieur, du XIIe. Si l'on considère la partie inférieure du clocher central d'Ainay, on pourrait supposer qu'elle était destinée à porter plusieurs étages, car ses murs massifs, percés seulement d'une petite baie sur chacune des faces, ont une résistance considérable. Cependant, cette base ne fut surmontée que d'un seul étage percé d'arcatures. Mais il n'est pas rare de rencontrer, dans l'ancien Lyonnais, ces clochers trapus, couronnés d'un toit plat en charpente, recouvert de tuiles romaines dans l'origine et plus tard de tuiles creuses.

La fig. 23 représente une vue du clocher central d'Ainay. Sa base est construite en moellons, avec angles en pierre, elle porte sur quatre arcs-doubleaux et contient une coupole; un escalier massif à pans monte jusqu'à l'étage supérieur, qui, plus moderne que la base, est en pierre. La corniche qui termine cet étage, formée d'une tablette portée sur des corbeaux, ne laisse pas supposer qu'on ait eu l'intention de construire plus d'un étage sur la large base qui surmonte les voûtes de l'église.
Vers la haute Marne et la haute Saône, c'est-à-dire en se rapprochant du Rhin, les clochers centrals des églises n'ont pas cette forme écrasée, et sont couverts par des flèches en pierre; ils conservent longtemps, cependant, le plan carré jusqu'à la corniche du couronnement; la flèche en pierre est souvent sur plan octogonal, et les angles restant entre les côtés du polygone et le carré sont remplis par des amortissements de pierre en forme de cornes détachées de la pyramide de la flèche. La présence de ces cornes ou pinacles triangulaires est motivée par la construction de la flèche en pierre, dont quatre des faces reposent sur des encorbellements ou des trompillons, la charge des pinacles étant destinée à empêcher la bascule des encorbellements ou le dévers des trompillons. Dans ces contrées, les constructions du XIe siècle et du commencement du XIIe sont brutes et les clochers d'une simplicité remarquable; fermés du côté de l'ouest, à cause des vents de pluie, ils sont percés seulement d'arcatures plein-cintre assez étroites sur trois côtés et surmontés de flèches carrées sans aucun ornement, ou, dans les derniers temps de la période romane, de pyramides à huit pans. Parmi les clochers de la haute Marne, un des plus anciens et des plus curieux, à cause de sa parfaite conservation, est le clocher de la petite église d'Isomes; il date de la seconde moitié du XIIe siècle.

Nous en présentons (24) la vue perspective. Le couronnement de ce clocher mérite de fixer l'attention des architectes. Il se compose, à la base de la flèche, de quatre pignons et de quatre amortissements aux angles, de l'effet le plus pittoresque. Les petites plates-formes qui terminent les quatre amortissements triangulaires étaient probablement destinées à recevoir les figures des quatre évangélistes, de quatre anges sonnant de l'olifant, ou des quatre Vents, conformément à un usage assez généralement établi en Bourgogne et en Champagne. Des gargouilles simplement épannelées reçoivent les eaux de la flèche entre les pignons et les amortissements. Notre figure démontre assez que ce clocher porte de fond sur les deux murs latéraux de la nef dépourvue de transsepts et sur deux arcs doubleaux. Mais si ces clochers carrés centrals ont une origine carlovingienne, il faut reconnaître que, dans les provinces mêmes où ils avaient pris naissance, le type primitif fut bientôt modifié, car presque tous les clochers centrals des bords du Rhin, des XIe et XIIe siècles, sont bâtis sur plan octogonal, ainsi que nous l'avons dit plus haut. On ne peut cependant méconnaître cette influence, sinon dans l'ensemble du plan, du moins dans les détails. Les amortissements des angles, la disposition des baies, les décorations des bandeaux et des chapiteaux des clochers de la haute Marne et de la haute Saône sont évidemment empruntés au style carlovingien primitif. Seulement, les constructeurs de ces dernières provinces, moins habiles et moins savants que ceux du Rhin, n'osaient probablement pas planter un octogone sur quatre piles. Si l'architecte qui a bâti l'église de Germigny a cru de bonne foi copier la construction de l'église d'Aix-la-Chapelle, on peut bien admettre que l'architecte du clocher d'Isomes s'est inspiré des constructions rhénanes; seulement, il n'a osé adopter le plan octogone que pour la flèche. Il nous faut étudier quelques-uns des clochers centrals des provinces rhénanes pour faire reconnaître l'influence qu'ils ont dû exercer sur les constructions des provinces françaises de l'Est.
Il existe, sur la croisée de l'église de Guebviller, un clocher central octogone dès sa base dont les quatre faces parallèles aux diagonales du carré sont portées sur des trompillons. La construction de ce clocher remonte à la fin du XIe siècle; elle est légère eu égard à sa hauteur.

Voici (25) en C le plan, en D l'élévation et en E la coupe sur A B de ce clocher. La nature des matériaux employés (grès rouge des Vosges) a pu permettre au constructeur de donner aux murs de l'octogone une épaisseur assez faible (0,80 c.); encore, les pierres de ces murs ne font pas parpaing; on remarquera que l'étage inférieur est construit en moellons à l'intérieur et parementé en pierre à l'extérieur. Les angles du prisme sont chargés de huit pinacles en pierre à la base de la flèche, et les quatre amortissements qui couvrent les trompillons à la base reçoivent sur leur pente quatre petites statues que nous pensons être les quatre Vents ou peut-être les quatre Saisons.
La curieuse église de Sainte-Foi à Schelestadt possède également un clocher central s'élevant sur la croisée, qui mérite d'être mentionné. Comme celui de Guebviller, le clocher de Sainte-Foi est octogone portant sur les quatre arcs doubleaux et sur des trompes. Il se compose d'un étage orné d'une arcature aveugle surmontant un soubassement, d'un étage à jour et d'une flèche pyramidale en pierre dont les côtés sont légèrement convexes en se rapprochant de la corniche.

Nous donnons (26) une vue perspective de ce clocher, bien construit en grès. On remarquera, aux angles de chacun des deux étages, les décorations plaquées qui rappellent les amortissements de couronnement que nous avons vus à la base des flèches des clochers d'Isomes et de Guebviller. Le clocher de Schelestadt est contemporain de celui-ci; il appartient à la fin du XIe siècle ou au commencement du XIIe. Peu variés dans leur composition d'ensemble et dans leurs détails, les clochers centrals rhénans de l'époque romane se rapprochent plus ou moins de ces deux exemples.
Il nous faut revenir maintenant aux dérivés les plus éloignés du clocher de Saint-Front de Périgueux. On a vu que l'un des caractères particuliers au clocher de Saint-Front consiste en certaines colonnes engagées qui séparent les arcades comme les ordres de l'architecture romaine. On retrouve cette disposition dans beaucoup de clochers centrals de l'Angoumois, de la Saintonge et du Périgord; elle est franchement adoptée dans le clocher de l'église de Montmoreau (Charente), dans ceux de Ségonzac, de Jonsac; et nous la voyons suivie jusque dans des provinces éloignées qui cependant subissent l'influence de l'architecture des côtes occidentales, comme dans le Poitou et jusque dans le Berry. Le clocher de l'église haute de Loches, bâti sur le sanctuaire, conserve non-seulement cette disposition des clochers périgourdins, mais aussi les pinacles d'angles; quant à sa flèche, elle est à huit pans au lieu d'être conique. Mais les architectes du XIIe siècle qui ont élevé ce clocher, habiles constructeurs, ont compris qu'une seule colonne engagée â l'angle des étages carrés, comme à Saint-Front, ne suffisait pas pour maintenir la poussée des arcs et qu'il fallait renforcer ces angles. Ils ont donc éloigné les colonnes engagées de ces angles, afin de leur laisser une grande force, et ont ainsi rapproché les arcades doubles l'une de l'autre, sur chaque face. D'après cette méthode les angles épais, chargés par des pinacles, pèsent verticalement sur les quatre points d'appui inférieurs et maintiennent la stabilité de la tour. Au point de vue de la construction, le clocher central de l'église de Loches est un des mieux étudiés suivant les traditions du Périgord, et la planche 27 en offre une vue perspective.

Profitant des deux styles venus de l'Est et de l'Ouest, les architectes des provinces du domaine royal élèvent sur leurs églises, pendant le XIIe siècle, des tours centrales qui subissent ces deux influences, mais prennent bientôt, comme toute l'architecture de cette époque et de ce territoire, un caractère propre qui est réellement le style français. Nous en trouvons un exemple remarquable à Poissy, dans l'église collégiale. Sur la dernière travée de la nef, à l'entrée du choeur (car cette église est dépourvue de transsepts), s'élève un clocher portant sur quatre piliers. Sa base est carrée; aux quatre angles de cette base s'élèvent quatre pinacles massifs (un seul renferme un petit escalier à vis); au-dessus est posée la souche du beffroi sur plan octogone irrégulier, c'est-à-dire ayant quatre grands côtés et quatre petits. Posant la tour sur quatre piles, il est évident que les constructeurs n'ont pas osé adopter l'octogone régulier, afin d'éviter des trompillons de grande dimension et de rapprocher, autant que possible, la charge totale sur ces quatre points d'appui. Mais les angles de l'octogone possèdent leurs colonnes engagées, les angles du carré leurs pinacles, ce qui rappelle l'influence occidentale, et le beffroi est octogone, comme la plupart des clochers centrals de l'Est. La flèche du clocher central de l'église de Poissy est en charpente, comme certaines flèches de clochers normands dans une situation analogue; et il n'y a pas lieu de supposer qu'elle ait été primitivement projetée en pierre. L'étage à jour du beffroi octogone se compose d'arcades jumelles sur les grands côtés et d'arcades simples sur les petits. La base de ce clocher ne renferme point une coupole ou une lanterne, comme les clochers centrals du Rhin ou de Normandie, elle n'est que l'étage inférieur du beffroi au-dessus de la voûte de la nef.

Nous présentons (28) une vue perspective de ce clocher, dont la construction remonte aux premières années du XIIe siècle. Cependant, dès la fin de ce siècle, on renonçait, dans l'Île de France, aux plans octogones pour les tours centrales des églises; le plan carré des tours normandes prévalait; les flèches seules conservaient la forme octogonale à la base, avec quatre pinacles aux angles.
Non loin de Poissy, en descendant la Seine, on voit, sur la rive gauche, une petite église bâtie au centre du village de Vernouillet. Cette église possède un clocher sur la croisée, à l'entrée du choeur. La construction du clocher de Vernouillet remonte aux dernières années du XIIe siècle (1190 environ); là, plus de tâtonnements, plus d'incertitudes; les diverses influences romanes de l'Est et de l'Ouest se sont fondues; un art nouveau, formé de ces divers éléments, mais franc et original, apparaît dans tout son éclat.
Avant la construction du clocher central de Vernouillet, on avait élevé celui de Limay, près de Mantes, et qui déjà donne une tour carrée surmontée d'une flèche à base octogone, de quatre pinacles pleins sur les angles et de lucarnes sur quatre des faces de la pyramide. Le clocher de Limay, lourd encore, soumis aux traditions romanes, est cependant l'un des premiers pas faits dans la voie nouvelle. Les clochers centrals du XIIe siècle sont fort rares dans cette partie de la France, dévastée par les guerres de la fin de ce siècle; aussi celui de Vernouillet, qui clôt l'époque de transition, doit-il être étudié avec attention. Il se compose d'une base carrée, sans ouverture, portant sur les quatre piles de la croisée et sur les quatre arcs doubleaux. Le beffroi à jour s'élève sur ce socle; ses angles sont renforcés de colonnes engagées formant contre-forts; les quatre faces sont percées chacune de deux baies. Une corniche à corbeaux termine cet étage à jour, destiné au placement des cloches, et arrive au plan carré parfait, sans ressauts ni saillies.

Voici (29) le plan de l'étage du beffroi. Sur la corniche, huit têtes monstrueuses, posées aux angles de l'octogone inscrit dans le carré, donnent naissance aux huit arêtiers de la pyramide à base octogone formant la flèche. Sur les angles saillants du carré, quatre colonnes 221 portent quatre pinacles qui viennent s'épauler sur huit colonnes engagées à la base de la flèche et se dégageant à mesure que celle-ci s'élève. Ces colonnes sont des monolithes ne faisant pas corps avec la construction de la pyramide. Quatre baies cintrées, percées entre les huit colonnes, permettent de passer de l'intérieur dans les pinacles. Sur les quatre autres faces de la pyramide, parallèles aux faces du carré, quatre autres baies forment de grandes lucarnes surmontées de gâbles. Le plan (30) est pris au niveau de la base de la pyramide et explique la disposition des pinacles et des lucarnes.

Une vue perspective (31) donne l'ensemble de ce monument. Cette construction, légère et bien pondérée, exécutée en petits matériaux, n'a subi aucune altération notable dans son ensemble. Les assises composant la flèche sont sculptées, à l'extérieur, en écailles circulaires et simulent des tuiles. Une coupe est nécessaire pour faire comprendre la construction simple, hardie et solide de ce clocher.

Nous la donnons (32). Les trompillons A qui portent quatre des faces de la pyramide viennent adroitement reposer leurs sommiers sur les clefs des arcs B des huit baies de l'étage carré. Les parements intérieurs de la tour s'élèvent verticalement jusqu'à leur rencontre avec les parements inclinés de la flèche, et à partir de ce point, celle-ci n'a pas plus de 0,25 c. d'épaisseur; mais quatre de ses faces sont renforcées par les sommets des gâbles C, qui remplissent l'office de contre-forts (voy. CONSTRUCTION). Entre cette charmante construction et la plupart des bâtisses passablement lourdes que nous avons données précédemment, il y a un pas immense de fait. Les proportions des différentes parties du clocher de Vernouillet sont étudiées par un véritable artiste et contrastent avec les étages divisés en zones égales des clochers de l'Est, avec les couronnements écrasés de ceux des provinces de l'Ouest. Les détails des moulures et de l'ornementation, bien exécutés, fins et fermes à la fois, sont habilement calculés pour la place qu'ils occupent; si bien que ce clocher, qui est d'une dimension très-exiguë, paraît grand, et grandit le très-petit édifice qu'il surmonte au lieu de l'écraser. On reconnaît là, enfin, l'oeuvre d'artistes consommés, de constructeurs savants et habiles. Un clocher de cette époque, bâti sur la croisée d'une cathédrale, et suivant ces données si heureuses, devait être un monument de la plus grande beauté; malheureusement, nous n'en possédons pas un seul en France. Les incendies et la main des hommes, plus que le temps, les ont tous détruits, et nous ne trouvons plus, sur nos grands édifices religieux, que les souches et les débris de ces belles constructions. La cathédrale de Coutances seule a conservé son clocher central du XIIIe siècle; encore n'est-il pas complet; sa flèche en pierre fait défaut. Quant à son style, il appartient à l'architecture normande et s'éloigne beaucoup du caractère de l'architecture française.
Ce n'est que dans l'Île de France et les provinces voisines que l'on voit les clochers centrals, aussi bien que ceux de façades, prendre tout à coup un caractère aussi déterminé dès la fin du XIIe siècle et abandonner les traditions romanes. Dans la Champagne, la Bourgogne, sur les bords de la haute Marne, de la Saône, les clochers centrals restent carrés et se terminent le plus habituellement par des pyramides à base rectangulaire jusqu'au commencement du XIIIe siècle. Le clocher central de l'église de Châteauneuf (Saône-et-Loire), bâti vers le milieu du XIIe siècle, est un exemple de ces sortes de constructions. Il se compose d'un soubassement plein en moellons, avec angles en pierre, posé, suivant l'usage, sur les quatre piliers de la croisée et les quatre arcs doubleaux; d'un étage percé d'une seule baie sur chaque face; d'un beffroi percé de quatre baies jumelles et d'une pyramide à base carrée maçonnée en moellons avec quatre lucarnes.

Voici (33) l'élévation géométrale de ce clocher central. On remarquera la disposition des baies du premier étage; il y a là, comme dans les détails de l'architecture romane de ces contrées, un souvenir des monuments gallo-romains. Ici, les angles de l'étage du beffroi sont flanqués de pilastres portant la corniche; c'est encore un souvenir de l'antiquité romaine.
La coupe de ce clocher, que nous donnons (34), laisse voir à la base de la pyramide en pierre les traces d'un chaînage en bois, sorte d'enrayure qui était destinée à arrêter le déversement des quatre murs sous la charge de cette pyramide. Il faut remarquer la disposition originale des faisceaux de colonnettes qui séparent les baies jumelles de l'étage du beffroi, disposition indiquée en A dans le plan de cet étage (35).

Les constructeurs obtenaient ainsi une grande légèreté apparente en même temps qu'une parfaite solidité. En examinant ce clocher sur la diagonale du carré, les ajours laissés entre ces faisceaux de quatre colonnettes prennent toute leur largeur et contribuent ainsi à donner de l'élégance et de la finesse à la loge supérieure; les baies jumelles avec leur piédroit ajouré forment une large ouverture qui ne semble pas charger les baies uniques des faces inférieures. On retrouve cette disposition dans certains clochers de l'Auvergne, et elle produit l'effet le plus gracieux, particulièrement dans les clochers carrés, dont les angles présentent à l'oeil une masse très-solide. À Bois-Sainte-Marie (Saône-et-Loire), nous trouvons un clocher central dont les dispositions sont analogues. En nous rapprochant du Bourbonnais, la forme carrée donnée aux clochers centrals persiste encore vers la fin du XIIe siècle, mais les traditions antiques se perdent; des innovations assez larges, quoique moins franches que celles introduites dans l'architecture de l'Île de France, se font jour.
Dans le Bourbonnais, il existe un clocher central construit pendant la première moitié du XIIIe siècle, présentant le plus singulier mélange des influences diverses qui avaient alors laissé des traces à l'est et à l'ouest de cette province, avec le nouveau système adopté déjà dans l'Île de France; c'est le clocher de l'église de Saint-Menoux, près de Souvigny (Allier). Comme les clochers de Saône-et-Loire, le clocher central de Saint-Menoux est carré; mais son étage de soubassement forme lanterne à l'intérieur de l'église, comme ceux des tours centrales des églises normandes et du Rhin, de la cathédrale de Laon et de l'église Notre-Dame de Cluny (voy., fig. 36, la coupe du clocher de Saint-Menoux).

Son premier étage, décoré à l'extérieur d'une arcature aveugle très-riche, est ajouré au moyen de dalles percées de trous ronds et de quatre-feuilles; puis s'élève l'étage percé d'arcades destiné à laisser passer le son des cloches. Des trompillons disposés pour porter une flèche en pierre à base octogonale, qui existait encore au commencement de ce siècle, recevaient des pinacles sur les angles du carré.

L'élévation géométrale de ce clocher (37) fait voir sa décoration extérieure, mélange des traditions romanes des provinces de l'Ouest et de la nouvelle architecture française de cette époque. Comme dans l'Ouest, les angles sont encore flanqués de colonnes engagées, et la décoration ogivale n'est ici qu'une concession au goût du temps, qui n'est guère motivé par la construction, encore toute romane. La flèche à base octogone, sur cette tour carrée, est elle-même aussi le résultat d'une influence étrangère aux traditions locales, et les trompillons portent fort maladroitement sur les colonnes accouplées des baies supérieures. Un petit escalier, circulaire à la base et octogone au sommet, détaché de la masse de la tour et montant de fond, donne accès à l'étage inférieur du beffroi.

Nous donnons (38) un détail des baies de cet étage inférieur avec leurs ajours percés dans des dalles de champ. Par le fait, les grandes archivoltes ogives des deux étages ne sont qu'une décoration et ne jouent aucun rôle au point de vue de la construction. L'architecte, en faisant cette concession aux formes nouvelles, avait compris que ces arcs, s'ils eussent fait parpaing, auraient eu pour effet de pousser les angles de la tour en dehors, et, adoptant une décoration d'un caractère déjà gothique, il conservait prudemment son système de construction roman. Il faut signaler, dans le clocher de Saint-Menoux, un progrès; c'est que ce clocher est assez bien combiné pour le placement d'un beffroi en charpente portant des cloches à son sommet. Les bois sont suffisamment aérés par les ajours des fenêtres basses, sans risquer d'être mouillés, et l'étage supérieur laisse librement passer le son des cloches. Dans la plupart des clochers romans, on reconnaît bien plutôt un désir d'élever une tour que la satisfaction d'un besoin particulier; les clochers à base octogone, si fréquents dans les provinces de l'Est, se prêtent mal au placement des beffrois en bois qui ne peuvent, être inscrits que dans un carré; leurs étages superposés, également ajourés, ne permettent pas aux vibrations des cloches de se développer dans toute leur intensité; la combinaison adoptée dans la construction du clocher de Saint-Menoux est la meilleure, en ce qu'elle ne donne qu'un étage d'ouïes très-ouvertes près de la pyramide, dont la concavité de pierre est très-favorable à la répercussion des vibrations des cloches. Cependant, dans tous les clochers précédents, non plus que dans celui de Saint-Menoux, on ne voit pas que les architectes se soient préoccupés de placer des abat-vents ou abat-sons, destinés à garantir les charpentes des beffrois contre la pluie chassée par le vent. Ces charpentes, au moins dans l'étage supérieur, restaient à l'air libre, étaient recouvertes de plomb, ou seulement peintes. La neige ou les eaux pluviales qui s'introduisaient dans la tour étaient recueillies sur un dallage inférieur en pente, munie de caniveaux et de gargouilles. Mais nous aurons l'occasion de revenir sur ce détail important.
Les clochers centrals carrés persistent donc assez tard dans certaines provinces du centre; on les retrouve le long du cours de la Marne. Pendant que, dans le village de Vernouillet, sur la Seine, on construisait le joli clocher que nous avons donné ci-dessus, sur la Marne, à Dormans, on élevait un clocher qui conservait encore la forme traditionnelle des clochers des provinces du centre, bien que les détails en soient déjà complétement gothiques. L'église de Dormans est petite et ses transsepts sont moins larges que le vaisseau de la nef et du choeur. L'intersection de la croisée donnait donc un plan barlong. C'est sur cette base qu'on éleva un clocher central, dont nous présentons le plan (39). Pour une petite église, le plan barlong se prêtait mieux que le plan carré au placement des cloches; celles-ci étant mises en mouvement demandaient plus d'espace dans le sens de leur volée que dans l'autre.

Dans l'élévation perspective du clocher central de Dormans (40), sauf un soubassement pris dans la hauteur des combles, il n'y a qu'un étage complétement à jour. Le couronnement de ce clocher se compose aujourd'hui de quatre pignons ou gâbles d'égale hauteur, mais à bases inégales, et de deux combles se pénétrant avec quatre gargouilles à la chute des noues. Mais ce couronnement date du XVe siècle. Nous sommes disposés à croire que, dans l'origine, l'étage à jour était terminé par des gâbles d'inégale hauteur, ainsi que le fait voir notre figure et conformément à certains exemples de clochers romans de la Champagne.
Nous avons dû, jusqu'à présent, n'indiquer les clochers centrals des églises normandes que pour mémoire, non que ces clochers n'aient eu une grande importance, mais parce qu'ils offrent, ainsi que nous l'avons dit au commencement de cet article, une disposition toute particulière et qu'ils sont bien plutôt des lanternes destinées à donner de la lumière et de l'élévation au centre des églises que des clochers proprement dits. En effet, les clochers centrals normands antérieurs au XIIIe siècle qui existent encore, comme celui de Saint-Georges de Bocherville, comme les restes de celui de l'église abbatiale de Jumiéges, quoique fort élevés au-dessus du pavé de l'église, ne donnent, pour le placement des cloches, qu'un étage assez bas, sorte de loge coiffée d'une immense charpente recouverte de plomb ou d'ardoise. Le clocher de l'église de Saint-Georges de Bocherville, le plus complet peut-être de tous, et dont la largeur hors oeuvre est de 11m,00, ne possède qu'un étage supérieur destiné aux cloches, ayant 4m,00 de hauteur. Le reste de la tour en contrebas forme lanterne au centre de la croisée. Sur l'étage du beffroi s'élève une flèche en charpente ayant 27m,00 de hauteur, passant du carré à l'octogone au moyen de coyaux sur les diagonales. Chacune des faces de l'étage du beffroi est percée de trois baies cintrées divisées par une colonnette. Ce clocher ayant, comme oeuvre de charpenterie, une grande importance, nous l'avons rangé parmi les flèches (voyez ce mot). Le clocher central de l'abbaye de Fécamp présente une disposition analogue; celui de l'abbaye aux hommes, à Caen, ne conserve plus que sa lanterne du XIIe siècle, terminée par un pavillon octogone du XIIIe siècle; le clocher central de la cathédrale de Rouen présente de même une lanterne à deux étages, du XIIIe siècle, au-dessus de laquelle s'élève une tour des XVe et XVIe siècles, qui, avant le dernier incendie, était couronnée par une flèche en charpente recouverte de plomb, élevée au commencement du XVIIe siècle.
Quelle que soit l'apparence des grandes tours centrales des églises de Normandie, elles n'ont pas, à proprement parler, le caractère de véritables clochers, ou du moins ce qui nous en reste, d'une époque très-postérieure à la période romane, ne nous offre pas de ces exemples complets tels que nous en trouvons dans les autres provinces qui composent la France de nos jours.
Il nous faut revenir aux clochers de façades, latéraux, isolés, portant de fond, et enfin à ceux qui s'élèvent sur les collatéraux des églises. Ceux-ci présentent plus de variétés encore, s'il est possible, que les clochers centrals. Les architectes, n'étant plus soumis à un programme invariable, savoir de poser une tour sur quatre piles isolées et quatre arcs doubleaux, pouvaient se livrer plus aisément aux conceptions les plus étendues et les plus hardies. Nous avons dit, en commençant cet article, que ces clochers servaient de défense dans l'origine, qu'ils conservaient ainsi tous les caractères d'une tour fortifiée, et qu'ils étaient généralement ou isolés ou posés sur le porche occidental des églises. En cas de siége, les remparts des villes étant forcés, ces clochers servaient souvent d'asile aux défenseurs, comme les donjons des châteaux. En 1105, Robert Fitz-Haimon, assiégé dans Bayeux par les soldats du duc de Normandie, se réfugie dans la tour de la cathédrale:
Robert s'embati el mostier,
Sus en la tor très k'ol clochier,
Maiz il n'i pout'gaires atendre;
Volsit u non l'estut (lui fallut) descendre,
Kar li feu i fu aportez,
Dunc li mostier fu alumez 222.
Les assiégeants mettent le feu à l'église pour forcer ce capitaine de renoncer à la défense. On considérait donc, dans certaines circonstances critiques, les clochers des églises comme des forteresses, et leur emploi comme beffroi n'était parfois qu'accessoire. Aussi, tous les clochers de façades antérieurs au XIIIe siècle conservent un aspect de tour de défense; au moins dans leur partie inférieure; ou bien il est arrivé, comme à Moissac par exemple, que, bâtis en forme de porche ouvert, surmonté d'étages à jour, ils ont été revêtus de crénelages, comme d'une chemise extérieure.
Parmi les plus anciens clochers couvrant toute la surface occupée par porche, il faut citer celui de l'église abbatiale de Saint-Benoît-sur-Loire, qui date du XIe siècle. Nous avons vu que le clocher primitif de la cathédrale de Limoges et celui de la cathédrale du Puy donnent en plan quatre colonnes intérieures isolées, destinées à porter l'étage supérieur en retraite sur les étages inférieurs. Le clocher-porche de l'église de Saint-Benoît-sur-Loire présente la même disposition; mais ici les quatre piles intérieures et les piles extérieures forment un quinconce régulier, et tout le clocher devait se trouver supporté par le mur-pignon de la nef, par les huit piles extérieures et les quatre piles intérieures. Ce clocher n'ayant qu'un étage bâti sut le même plan au-dessus du porche, nous ne pouvons reconnaître si les quatre piles intérieures étaient destinées à porter les étages supérieurs du clocher, le beffroi, ou si les piles extérieures devaient monter de fond jusqu'au comble; cette dernière hypothèse est la moins probable, car si on l'admettait, il faudrait supposer à ce clocher une hauteur énorme en raison de la surface couverte par son plan inférieur. Nous penchons à croire que les quatre piles intérieures étaient seules destinées à porter le beffroi, l'étage à jour contenant les cloches, et que l'enveloppe extérieure devait recevoir une terrasse de laquelle on pouvait se défendre au loin contre des assaillants qui eussent voulu s'emparer du monastère. Des figures sont nécessaires pour faire comprendre ce que nous disons ici.

Voici donc (41) le plan du rez-de-chaussée du clocher de Saint-Benoît-sur-Loire, ou plutôt du porche, et (42) son élévation géométrale latérale; les constructions ont été arrêtées au niveau A; et de l'extrados des arcs supérieurs à ce niveau A, le mur ancien n'a plus qu'une épaisseur de 0,60 c. Donc, on ne projetait pas d'élever ce mur à une grande hauteur; ce n'est plus qu'un mur de défense, l'épaisseur d'un crénelage ordinaire.

Toute la partie de notre fig. 42 comprise entre le niveau A et le sommet n'a jamais été construite; c'est celle qui, portant sur les quatre piles intérieures, devait, suivant notre hypothèse, renfermer les cloches. Nos lecteurs voudront bien ne pas prendre notre restauration autrement que comme une probabilité 223.
Cependant ce quinconce de piles, adopté pour le plan du rez-de-chaussée de quelques anciens clochers, n'était pas toujours destiné à porter de fond l'étage supérieur en retraite. Nous en avons une preuve, remarquable d'ailleurs, dans la construction du clocher de l'église de Lesterps (Charente). À rez-de-chaussée, le clocher de Lesterps, bâti vers le commencement du XIIe siècle, présente à peu près la même disposition que celui de Saint-Benoît-sur-Loire, si ce n'est que trois berceaux portés sur des archivoltes remplacent les voûtes d'arêtes romaines adoptées à Saint-Benoît. Au-dessus du rez-de-chaussée s'élève une belle et grande salle voûtée en calotte cintrée sur un plan octogonal, obtenu au moyen de trompes posées sur les angles du carré. Un second étage offre la même disposition dans des dimensions plus restreintes.


La fig. 43 donne l'élévation occidentale de ce clocher, et (44) la coupe prise suivant l'axe du porche perpendiculaire à la façade 224; en A est la porte de la nef. Un troisième étage B est amorcé, mais n'a pas été achevé ou a été détruit. Nous en sommes donc ici, comme à Saint-Benoît, réduits aux conjectures relativement au couronnement de ce clocher. Il est certain qu'un troisième étage, percé de baies jumelles sur chacune des faces, était interposé entre la flèche et le second étage, et qu'en ajoutant la hauteur probable de l'étage supérieur et de la flèche aux parties existantes, on obtiendrait, du pavé au sommet de la pyramide, une hauteur de soixante mètres environ. Le faîtage du comble de la nef de l'église étant en D, il est vraisemblable que les cloches devaient être placées dans l'étage C, d'autant qu'il existe une lunette dans la voûte du premier étage destinée au passage des cordes nécessaires pour les mettre en branle; dans ce cas, le troisième étage B ne servait que de guette. Le clocher de l'église de Lesterps a, comparativement à la nef avec bas-côtés qu'il précède, une importance énorme; il est à lui seul tout un monument, un donjon élevé dans le but d'imposer par sa masse et de découvrir la campagne au loin. L'escalier adossé à l'angle nord-est ne monte cependant qu'au premier étage, et nous ne savons comment les constructeurs entendaient parvenir aux étages supérieurs. Il est difficile de savoir aujourd'hui à quoi pouvait être utilisée la belle salle du premier; elle s'ouvre sur une tribune E donnant dans la nef. Cette construction est fort belle, bien pondérée; les porte-à-faux sont évités avec soin, bien que les étages soient en retraite les uns sur les autres, ainsi que le démontre la coupe (fig. 44). L'influence des deux écoles du Périgord se fait sentir encore dans cette bâtisse colossale, admirablement traitée. Pour compléter le clocher du porche de l'église de Lesterps, il faut aller chercher des exemples dans des monuments analogues et soumis aux mêmes influences. Or, nous avons donné le clocher posé sur la nef de l'église haute de Loches (ancienne collégiale); son couronnement (fig. 27) peut servir à compléter le clocher de Lesterps.
Si les clochers-porches des églises de l'Ile de France ont pu être employés à la défense, il ne paraît pas qu'ils aient jamais eu, comme surface et hauteur, une importance égale à ceux des provinces de l'ouest et du centre. Les nefs des églises de l'Ile de France et des provinces voisines étaient assez étroites généralement, et les clochers-porches ne débordaient pas sur les bas-côtés. La base du vieux clocher de l'église abbatiale de Saint-Germain-des-Prés à Paris, celle du clocher de la collégiale de Poissy, n'occupent guère qu'une superficie en carré, de cinq à huit mètres de côté. Mais c'est que, pendant la période carlovingienne, les provinces de l'ouest et celles qui bordaient la Loire étaient beaucoup plus riches que les provinces voisines de la Seine, de l'Oise et de la Marne; elles faisaient un commerce très étendu; elles étaient industrieuses, possédaient le territoire le plus fertile. Ce n'est guère qu'à la fin du XIIe siècle, lorsque la monarchie française prend un ascendant réel, que l'Ile de France s'enrichit et élève à son tour des monuments plus vastes que ceux de la Loire, du Poitou, du Périgord et de la Saintonge. Cependant on voit apparaître, dans les provinces proprement françaises, dès le commencement du XIIe siècle, un style d'architecture qui ne le cède en rien au style adopté dans l'ouest et le centre. Ce n'est pas par des dimensions extraordinaires et des constructions colossales que cette architecture se fait remarquer, mais par une entente des proportions, une exécution fine et sobre, des dispositions heureuses et hardies déjà. Les clochers fournissaient aux architectes un programme qui exigeait toute leur science et qui se prêtait au développement de leur imagination naturelle; car ce programme, beaucoup moins circonscrit que celui des autres parties des édifices religieux, civils ou militaires, permettait l'emploi de formes neuves, ouvrait un vaste champ aux artistes doués d'une imagination vive. L'étendue que nous sommes obligés de donner à cet article indique assez combien les constructeurs du moyen âge ont, suivant les traditions importées ou locales, et suivant leur propre génie, été entraînés à varier à l'infini les formes qu'ils donnaient à des monuments qui n'étaient pas seulement le résultat d'un besoin impérieux, mais bien plutôt une oeuvre d'art. Aussi les clochers sont-ils la pierre de touche de l'imagination des architectes pendant le moyen âge.
L'école occidentale ne sort guère des types admis vers le commencement du XIe siècle; elle arrive promptement à un développement complet et cesse de progresser vers le milieu du XIIe siècle; elle meurt avec l'architecture romane. L'école orientale, celle dont le siége est sur les bords du Rhin, est frappée de stérilité dès ses premiers essais; elle ne fait que reproduire à l'infini les premiers types; l'imagination fait complétement défaut à ses artistes; on ne peut saisir un progrès réel dans la conception des clochers rhénans, et les plus beaux, les mieux entendus sont peut-être les plus anciens. En France, au contraire, c'est-à-dire dans le domaine royal, le clocher roman se dépouille successivement, pendant le cours du XIIe siècle, de ses formes traditionnelles, et crée, à la fin de ce siècle, par une suite de tentatives qui indiquent l'effort heureux d'artistes pleins d'imagination et de sens, des conceptions de la plus grande beauté. Des modestes clochers carrés, de la fin du XIe siècle, bâtis sur les bords de la Seine, de l'Oise et de l'Eure, au clocher vieux de la cathédrale de Chartres, il n'y a que cinquante années d'intervalle; et, au point de vue de l'art, quel progrès immense! Nous allons essayer de suivre pas à pas la marche de ce progrès; car si l'architecture gothique est née dans ces contrées, c'est dans l'exécution de ses clochers qu'elle fait ressortir particulièrement ses ressources et la prodigieuse fertilité d'imagination de ses artistes, en même temps que leur science et leur goût.
Nous prendrons d'abord, comme un des types les plus complets des clochers français, le clocher-porche de l'église de Morienval (Oise), bâti à la fin du XIe siècle. Sa base est celle des clochers carlovingiens de Saint-Germain-des-Prés et de Poissy 225. Cette base, non compris la saillie des contre-forts, n'a que six mètres hors oeuvre en carré. Suivant l'usage alors adopté, elle s'élève pleine, sauf les arcades du porche, jusqu'à la hauteur de la corniche de la nef. À partir de ce niveau A, est un premier étage percé d'une double arcature sur chaque face, puis un deuxième étage, également à jour, qui sert de beffroi.

Voici (45) une élévation géométrale de ce clocher, qui dut être couronné primitivement par une pyramide en pierre à quatre pans; car il ne paraît pas que l'on ait couvert les clochers avant le XIIIe siècle, si ce n'est peut-être en Normandie et dans les Flandres, par des combles en charpente 226. On sent déjà, dans cette construction si simple, le cachet d'un artiste de goût. Les contre-forts qui renforcent les angles de la partie inférieure s'arrêtent à la hauteur convenable pour laisser le beffroi se détacher sur un socle carré. L'étage du beffroi lui-même est rendu plus élégant par des colonnettes d'angle engagées qui rompent la sécheresse des vives arêtes. Le petit ordre qui supporte les archivoltes des baies supérieures est d'une proportion heureuse, et le plan des piles est léger et solide (fig. 46).

La corniche de couronnement, composée d'une tablette portée par des corbeaux sculptés, est fine et riche à peu de frais. Quoique très-simple de la base au sommet, cette construction ménage cependant ses effets avec adresse, réservant la sculpture pour les parties supérieures, n'abandonnant rien au caprice; elle n'emploie que des matériaux de petite dimension, et laisse aux cloches les plus grands vides possibles. Ce qui fait supposer que le clocher-porche de l'église de Morienval était primitivement terminé par une pyramide en pierre à base carrée, c'est que, dans la même église, les deux autres clochers qui flanquent le choeur, conformément aux habitudes de cette époque 227, sont couverts par des pavillons en maçonnerie, ainsi que l'indique la fig.47.
Mais, vers le commencement du XIIe siècle, on cessa, dans les nouveaux plans des églises bâties à cette époque, d'élever des clochers sur les porches; c'était là un reste des traditions des temps désastreux de l'invasion normande; les raisons qui avaient fait élever ces clochers ne subsistaient plus. Les clochers ainsi plantés bouchaient les jours que l'on pouvait prendre dans les pignons occidentaux; ils forçaient de faire des porches étroits; ils gênaient l'entrée de la nef, et il fallait, pour sonner les cloches, monter au premier étage, car les sonneurs ne pouvaient se tenir sous le porche et embarrasser ainsi le passage des fidèles. Les religieux dans les abbayes, comme les desservants dans les paroisses, préféraient avoir des clochers près du sanctuaire, et si on en élevait sur les façades, c'était latéralement, communiquant avec les bas-côtés, de manière à laisser l'entrée de l'église parfaitement libre (voy. ÉGLISE). Par un besoin de symétrie fort naturel, si l'on bâtissait les clochers à côté de la façade ou sur les flancs des sanctuaires, au lieu d'un seul clocher on en élevait souvent deux, et, loin de leur conserver l'aspect traditionnel d'une tour de défense, on cherchait au contraire à les rendre élégants, afin que leur masse n'écrasât pas en apparence les constructions de l'église. Cependant on n'osa pas tout d'abord les planter à cheval sur les bas-côtés, et les supporter en partie sur la première pile isolée des collatéraux. Ils montaient de fond; leur rez-de-chaussée formait une petite salle servant de baptistère ou de chapelle des morts, s'ils étaient posés proche de la façade occidentale, ou tenait lieu de sacristie et de trésor, s'ils étaient bâtis proche du sanctuaire.
Les grandes églises abbatiales, ou les paroisses fort importantes, élevaient souvent deux clochers des deux côtés de la façade et deux autres près du sanctuaire; mais les petites églises des XIe et XIIe siècles, ne pouvant avoir qu'un clocher, le bâtissaient de préférence près du choeur. Dans l'Île de France et le Beauvoisis, cette disposition est assez fréquente et s'accordait parfaitement avec les nécessités du culte. Le village de Nesle, près l'Île-Adam (Oise), a conservé une charmante église dont la construction remonte aux dernières années du XIIe siècle, et qui s'est accolée à un clocher plus ancien (premières années du XIIe), de manière à placer ce clocher sur le flanc méridional du choeur. Cette église est dépourvue de transsepts, et le clocher s'est trouvé englobé dans le collatéral; il devait être primitivement détaché, et bâti probablement le long d'une église à une seule nef. Le clocher de l'église de Nesle est un des mieux conçus et des mieux bâtis parmi les nombreux exemples fournis par cette province et cette époque, la plus fertile en beaux clochers.

Nous en donnons l'élévation (48). Au-dessus d'un rez-de-chaussée bien empatté et solide, percé d'une petite fenêtre, s'élèvent deux étages ouverts destinés au beffroi. La flèche en pierre qui couronne le dernier étage n'est déjà plus élevée, comme à Morienval, sur plan carré, mais sur un octogone dont les quatre faces diagonales sont portées sur quatre trompillons intérieurs. Quatre pinacles à base carrée, pleins, chargent les angles de la tour et la queue des claveaux des trompillons. Ce monument, d'une petite dimension, est remarquablement étudié dans son ensemble comme dans ses détails. On remarquera comme les corniches A et B se marient adroitement aux têtes des contre-forts d'angles, qui ne sont que des colonnes engagées. La sculpture est fine, sobre, et n'est appliquée qu'aux chapiteaux. Les archivoltes sont simplement décorées de dents-de-scie. Les profils sont délicats, d'un excellent style; partout la construction est apparente et est intimement liée à la décoration. Il n'est pas besoin de dire que le rez-de-chaussée seul est voûté. Le clocher de l'église de Nesle est construit d'après les données romanes. Mais déjà, au commencement du XIIe siècle, les architectes de cette province, cherchant à s'affranchir de ces traditions, essayaient certaines dispositions neuves, originales, qui devaient se développer rapidement et les amener à produire des oeuvres mieux raisonnées, plus savantes, plus gracieuses et moins uniformes que celles des siècles précédents. L'esprit d'innovation se fit jour avec plus de hardiesse, peut-être, dans la construction des clochers pendant le XIIe siècle que dans les autres édifices, car l'imagination des architectes n'était pas soumise à des programmes impérieux; il ne s'agissait pour eux que de trouver la place des cloches et d'élever un monument qui se distinguât de ses voisins par un aspect plus léger, plus hardi, par des dispositions inusitées, imprévues. Alors, l'architecture romane avait produit tout ce qu'elle devait produire; elle était arrivée à ses dernières limites et ne pouvait ou que se traîner dans la même voie, ou que décroître en se chargeant de détails superflus. Le génie occidental, toujours enclin à marcher en avant, rompit brusquement avec les traditions, et ses premiers essais sont des chefs-d'oeuvre 228. Nos lecteurs vont en juger.
Dans la même province, à Tracy-le-Val (Oise), il existe une petite église qui conserve encore un de ces clochers voisins des sanctuaires, dont la construction est peu postérieure à celle du clocher de Nesle (première moitié du XIIe siècle). Sa base est carrée, pleine, détachée de l'abside qui est dépourvue de bas-côtés. Sur cette base carrée 229 s'élève un étage à jour qui se dégage au-dessus des combles. Un beffroi, à base octogone, couronné par une pyramide en pierre, est bâti sur ce premier étage.

Voici (49) une élévation perspective de ce clocher, dont le système de construction indique déjà, de la part de l'architecte, le désir de s'affranchir des traditions romanes, et un premier pas vers l'art français de la fin du XIIe siècle. Les archivoltes des baies sont tracées en tiers-point peu prononcé; et, par une disposition aussi ingénieuse que rationnelle, les angles du beffroi octogone portent sur les clefs des huit archivoltes du premier étage. Pour remplir les triangles qui restent entre l'étage carré et l'octogone, l'architecte a placé des figures d'anges assis. La sculpture de cette jolie construction est barbare, mais les profils sont fins, multipliés, tracés avec talent; ceux des archivoltes retombent bien sur les pieds-droits. Ainsi que notre dessin l'indique, les proportions du clocher de Tracy-le-Val sont élégantes, les détails parfaitement à l'échelle du monument; qualité qui manque dans la plupart des clochers romans antérieurs à cette époque. Un petit escalier, en tour ronde, placé en dehors, monte au premier étage; de là on ne pouvait arriver au beffroi, comme dans presque tous les clochers romans, que par des échelles placées intérieurement.
Un des caractères qui distinguent les clochers romans de l'Île de France, du Beauvoisis et même de la Normandie, jusqu'au moment de l'avénement du style gothique, ce sont ces pyramides de pierre peu élevées, trapues. Presque tous ces couronnements ont été détruits dans ces climats humides; leurs pentes peu inclinées, recevant la pluie de plein fouet, ont dû se dégrader rapidement et furent remplacées, dès le commencement du XIIIe siècle, surtout en Normandie, par des pyramides très-aiguës. Il existe dans cette province, près de Caen, un petit clocher du XIe siècle, primitivement bâti sur le porche de l'église de Thaon, qui a conservé sa pyramide trapue et carrée comme celles des clochers romans de l'Ouest de la même époque. Ce clocher est pour nous d'autant plus intéressant qu'il est encore empreint des traditions défensives des tours primitives élevées sur les porches. Son escalier, qui, du rez-de-chaussée jusqu'au-dessus de la voûte du porche, est pris aux dépens de l'épaisseur d'une des quatre piles, ne reprend sa révolution, à partir du premier étage, que le long de la pile opposée, de manière à interrompre ainsi la circulation. De plus, le clocher au-dessus du rez-de-chaussée s'élève en retraite sur les arcs doubleaux intérieurs du porche, de façon à laisser, entre l'étage inférieur et le clocher proprement dit, au niveau du dessus de la voûte de ce porche, une sorte de chemin de ronde, qui pouvait bien être primitivement muni d'un parapet de défense.

Voici (50) les plans superposés du rez-de-chaussée de ce clocher et du premier étage qui expliquent ce que nous venons de dire.

Nous donnons (51) l'élévation de la tour de l'église de Thaon, et (52) sa coupe 230. C'est là, du reste, un charmant édifice. Dans notre coupe en A, on voit l'escalier qui monte du dessus de la voûte à l'étage supérieur. La pyramide est à base carrée, forme qui se retrouve beaucoup plus tard dans les clochers normands, et se compose d'assises basses posées en retraite les unes sur les autres. Elle n'est ornée à sa base et vers le milieu de ses arêtiers que par des têtes saillantes d'animaux. Quatre lucarnes, ou plutôt quatre baies carrées, l'ajourent au-dessus de la corniche. On remarquera, dans notre coupe (fig. 52), la construction des baies de l'étage supérieur. En constructeurs habiles, les architectes du clocher de Thaon n'ont pas fait faire parpaing aux archivoltes de ces baies dans tout leur développement, afin de ne point pousser sur les angles. Cinq claveaux seuls font parpaing et forment ainsi un arc de décharge au-dessus des arcs linteaux. Aux baies de l'étage au-dessous, là où les contre-forts viennent encore épauler les angles de la bâtisse et où la charge est puissante, les constructeurs, au contraire, ont fait faire parpaing aux archivoltes des baies. Il est assez embarrassant de savoir comment était disposé le beffroi de bois dans cette tour, dont un des angles intérieurs est entamé par l'escalier. Nous serions assez portés à croire qu'un plancher en bois était posé au niveau de l'appui des baies supérieures, d'autant que les trous de scellement des poutres de ce plancher existent encore, et que les cloches étaient suspendues à ces poutres et peut-être à deux pièces de bois en croix dont les extrémités étaient fixées dans les quatre petites baies carrées de la flèche. Ce système de suspension eût été fort primitif; mais il ne faut pas oublier qu'avant le XIIe siècle les cloches étaient d'un très-faible poids.
Dans le Maine, l'Anjou et le pays chartrain, les pyramides de couronnement des clochers atteignent déjà, dès le milieu du XIIe siècle, une grande élévation relativement à la hauteur des tours. Nous avons vu qu'à Loches les clochers de couronnement du XIIe siècle possèdent des pyramides dont le sommet est très-aigu.
Il faut toujours en revenir aux divisions politiques du territoire, lorsqu'il s'agit de reconnaître les différentes écoles d'architecture au XIIe siècle. À cette époque, la Normandie, le Maine, l'Anjou, une partie du Poitou et du pays chartrain, possédaient une école de constructeurs qui ne le cédaient pas, comme habileté, à ceux de l'Île de France et de la Normandie; mais ils étaient moins indépendants et subissaient l'influence soit du style normand, soit du style des écoles de l'Ouest.
Pendant la première moitié du XIIe siècle, avant l'érection du vieux clocher de la cathédrale de Chartres, on construisit un immense clocher isolé, dépendant de l'église abbatiale de la Trinité de Vendôme. Au point de vue de la construction, et sous le rapport du style, ce clocher doit être examiné en détail; il subit l'influence de deux styles, du style roman ancien né dans les provinces occidentales, et du style qui se développait sur les bords de l'Oise et de la Seine dès le commencement du XIIe siècle.

La coupe du clocher de la Trinité de Vendôme (53) nous explique les dispositions de cette étrange construction, déjà très-parfaite, mais où l'on sent encore les tâtonnements d'artistes qui cherchent des moyens nouveaux et qui ne s'affranchissent pas entièrement des traditions antérieures. Sa base est une salle carrée, voûtée par une calotte en arcs de cloître, avec quatre trompillons aux angles donnant pour le plan de la voûte un octogone à quatre grands côtés et quatre petits. Sur cette voûte, dont la coupe est en tiers-point, s'élève, au centre, un pilier carré B cantonné de quatre colonnes engagées [voir le plan du premier étage (54)].

Quatre arcs doubleaux A, en tiers-point, sont cintrés du pilier B aux quatre piliers engagés C. Mais, pour porter en toute sécurité le pilier central B, deux arcs croisés, concentriques à la voûte, viennent reposer sur les murs de l'étage inférieur, et, afin d'éviter le relèvement de ces deux arcs croisés sous la charge du pilier, quatre arcs-boutants, sortes d'étrésillons indiqués sur notre coupe (fig. 53), aboutissent sous les bases des colonnes D des quatre piles engagées.

Il serait difficile de bien faire comprendre ce système de construction sans l'aide d'une figure; aussi nous donnons (55), une vue perspective de cet étage à l'intérieur. En E sont les deux arcs croisés sur l'extrados de la voûte et portant le pilier central; en F, les arcs-boutants aboutissant sous les bases des colonnes engagées H des piliers adossés aux murs. En G, des portions de mur étrésillonnant le système d'arcs. Les pans coupés J de la voûte inférieure en arcs de cloître ne sont pas inutiles; ils tiennent lieu des pièces de charpente que l'on place aux angles des enrayures et que l'on désigne sous le nom de goussets; ils empêchent le roulement de tout le système, relient et étrésillonnent les angles de la base en maçonnerie. Des moyens si puissants devaient avoir un motif. Ce motif était de porter, sur le pilier central, les quatre arcs doubleaux I et la retraite K, un énorme beffroi en charpente, auquel la partie supérieure du clocher servait d'enveloppe. Les constructeurs avaient compris, à mesure qu'ils donnaient plus d'élévation à leurs clochers, qu'il fallait, aux beffrois de charpente mis en mouvement par le branle des cloches, un point d'appui solide, près de la base du clocher, là où la construction épaisse et chargée n'avait rien à craindre des pressions inégales des beffrois. Or, les quatre arcs doubleaux et la retraite portaient l'enrayure basse de ce beffroi, et cette construction de pierre, bien appuyée, bien étrésillonnée, conservait cependant une certaine élasticité. À partir de cette base, l'enveloppe, la partie supérieure du clocher, n'ayant à subir aucun ébranlement, pouvait être légère; et, en effet, le clocher de la Trinité de Vendôme, si on le compare aux clochers précédents dont nous avons donné des coupes, est très-léger relativement à sa hauteur, qui est considérable (environ 80m,00 de la base au sommet de la flèche).
Jusqu'alors, dans les clochers romans, une simple retraite ou des trous dans les parements intérieurs, ou des corbeaux saillants, ou une voûte en calotte, recevaient l'enrayure basse des beffrois en charpente; et peu à peu, par suite du mouvement de va-et-vient que prennent ces beffrois, les constructions se disloquaient, des lézardes se manifestaient au-dessus des ouvertures supérieures, les angles des tours fatiguaient et finissaient par se séparer des faces 231. Si la charpente des cloches reposait à plat sur une voûte dont les reins étaient remplis, le peu d'élasticité d'une pareille assiette produisait des effets plus funestes encore que les retraites ou les corbeaux sur les parements intérieurs. Car ces voûtes, pressées tantôt d'un côté, tantôt de l'autre, se disjoignaient d'abord, et produisaient bientôt des poussées inégales. Le système d'assiette de beffroi adopté dans la construction du clocher de la Trinité, par sa complication même et la pression contrariée des arcs inférieurs, à cause de ces deux étages d'arcs séparés par une pile, possède une élasticité égale à sa résistance, et divise tellement les pressions alternatives du beffroi en charpente qu'elle arrive à les neutraliser complétement. Cela est très-savant et fait voir comme, en quelques années, sous l'influence des écoles nouvelles, les lourdes constructions romanes s'étaient transformées. Le clocher de la Trinité de Vendôme est peut-être le premier qui soit élevé sur un programme arrêté. Ce n'est plus une tour de quasi défense sur laquelle on a élevé un beffroi, ce n'est plus un porche surmonté de salles et terminé au sommet par une loge; c'est un véritable clocher, construit de la base au sommet pour placer des cloches, c'est une enveloppe de cloches, reposant sur l'assiette d'un beffroi. Tout en conservant la plupart des formes romanes, comme construction, il appartient à l'école nouvelle; il remplace les résistances passives de la construction romane par les résistances élastiques, équilibrées, vivantes (qu'on nous passe le mot qui exprime notre pensée) de la construction française. Ce principe, découvert et mis en pratique une fois, eut des conséquences auxquelles les architectes ne posèrent de limites que celles données par la qualité des matériaux, et encore dépassèrent-ils parfois, grâce à leur désir d'appliquer le principe dans toute sa rigueur logique, ces limites matérielles.

Voyons maintenant le clocher de la Trinité en dehors (56). Bien que déjà les baies soient fermées par des archivoltes en tiers-point peu prononcé, son aspect est roman; son étage supérieur octogonal sous la flèche nous rappelle les couronnements des clochers de Brantôme et de Saint-Léonard, avec leurs gâbles pleins sur les grandes baies principales, et les pinacles des clochers de l'Ouest. Les archivoltes de ces pinacles, ainsi que ceux de l'arcature sous la pyramide, sont plein-cintre. Mais la pyramide devient très-aiguë; elle est renforcée de nerfs saillants sur ses angles et sur le milieu de ses faces; elle n'est plus bâtie en moellons, conformément à la vieille tradition romane, mais en pierres bien appareillées, et ne porte, dans cette énorme hauteur, que 0,50 c. d'épaisseur à sa base et 0,30 c. à son sommet.

Nous donnons (57) le plan horizontal du clocher de la Trinité pris au niveau des pinacles. Ceux-ci, comme le démontre ce plan, sont portés sur des colonnettes alternativement simples et renforcées d'un petit pilier carré; leur plan est circulaire. C'est encore là un dernier vestige des traditions du Périgord. On observera que l'escalier en pierre accolé à la tour ne monte que jusqu'au-dessus de la voûte de l'étage inférieur (fig. 53). Conformément aux habitudes romanes, on ne montait dans le beffroi en charpente que par des échelles de bois.
Du clocher de la Trinité de Vendôme, nous sommes amenés au vieux clocher de la cathédrale de Chartres, le plus grand et certainement le plus beau des monuments de ce genre que nous possédions en France. Admirablement construit en matériaux excellents et bien choisis, il a subi deux incendies terribles et a vu passer sept siècles sans que sa masse et les détails de sa construction aient subi d'altérations apparentes. Mais, avant de décrire ce dernier clocher, il est bon de faire connaître ses diverses origines.
Nous avons vu qu'à Vendôme l'influence des monuments de l'Ouest se faisait encore sentir. À Chartres, cette influence est moins sensible qu'à Vendôme; mais, d'un autre côté, les styles normand et de l'Île de France prennent une plus grande place. Jusqu'au XIIIe siècle, les clochers normands qui ne sont pas posés sur la croisée des églises montent de fond, ainsi que les clochers de l'Ouest. Ce sont des tours carrées renforcées de contre-forts peu saillants, étroites comparativement à leur hauteur, percées de baies rares dans les substructions, décorées d'arcatures aveugles sous les beffrois, et présentant, au sommet, une suite d'étages d'égale hauteur, terminés par des pyramides carrées.
Les deux beaux clochers de l'église abbatiale de la Trinité à Caen, ceux de la cathédrale de Bayeux, conservent, malgré les adjonctions et modifications apportées par le XIIIe siècle, le caractère bien franc du clocher normand pendant les XIe et XIIe siècles. Nous ne pensons pas que les clochers normands du commencement du XIIe siècle possédassent des flèches très-élevées, et le clocher de l'église de Thaon que nous avons donné ci-dessus est là pour confirmer notre opinion, puisque sa construction n'est pas antérieure à la fin du XIe siècle. Mais, vers le milieu de ce siècle, la Normandie devança les provinces françaises en érigeant, la première, des pyramides d'une excessive acuité sur les tours carrées des églises. Ce parti fut promptement adopté dans l'Ile de France, le Maine et l'Anjou; seulement, ces dernières provinces donnèrent de préférence à leurs flèches une base octogonale.
Nous ne croyons pas nécessaire de donner ici les clochers de l'église de la Trinité de Caen, qui sont entre les mains de tout le monde. Au point de vue architectonique, la composition de ces tours, jusqu'à la base des flèches, dont la construction ne date que du XIII siècle, est assez médiocre. Leur division en étages d'égale hauteur n'est pas heureuse; il y a là un défaut de proportion que l'on ne trouve que dans cette province et sur les bords du Rhin; cependant, comme construction, les clochers normands sont remarquables; bâtis presque toujours en petits matériaux parfaitement appareillés, ils ont conservé leur aplomb, malgré le peu de superficie de la base par rapport à la hauteur. Mais les Normands n'avaient pas cet instinct des proportions que possédaient à un haut degré les architectes de l'Ile de France, du Beauvoisis et du Soissonnais. Toutefois, la hardiesse de leurs constructions, leur parfaite exécution, l'élévation des flèches, eurent évidemment une influence sur l'école française proprement dite, et cette influence se fait sentir dans le vieux clocher de la cathédrale de Chartres. Celui-ci, comme tous les clochers romans, monte de fond, c'est-à-dire qu'il porte sur quatre murs pleins. Originairement, il flanquait, ainsi que la tour voisine, qui ne fut achevée qu'au XVe siècle, un porche, et précédait le collatéral sud de la nef; il était ainsi détaché de l'église sur trois côtés 232.

Voici (58) le plan du vieux clocher de la cathédrale de Chartres, au niveau du rez-de-chaussée. En A est une grande salle voûtée qui autrefois s'ouvrait sur le porche B, et qui aujourd'hui s'ouvre sur la première travée de la nef, le pignon de cette nef ayant, au commencement du XIIIe siècle, été avancé de C en D. Suivant l'habitude des constructeurs romans (habitude fort sage), l'escalier particulier du clocher en E est en dehors des murs, et n'affaiblit pas les constructions. Cet étage inférieur est bâti en matériaux énormes provenant des carrières de Berchère, qui fournissent un calcaire d'une dureté et d'une solidité incomparables. La fig. 59 donne l'élévation de ce clocher 233, dont la hauteur est de 103m,50 de la base au pied de la croix en fer qui couronne la flèche. C'est ici que l'on reconnaît la supériorité de cette construction sur celles élevées à la même époque en Normandie. La division des étages est habilement calculée en raison des dispositions intérieures et fait paraître la masse du monument plus grande et plus imposante encore. La salle basse est bien marquée par la fausse arcature et par le premier bandeau G. Au-dessus est une seconde salle, plus ouverte, de même hauteur, mais dont les parements extérieurs et les baies prennent plus de richesse; un second bandeau indique l'arase de la seconde voûte. Puis vient le beffroi, dont la base repose sur cette voûte, au niveau H (voy. BEFFROI). L'étage I est plus ouvert et plus orné que le second étage; il sert de soubassement à la flèche à laquelle il tient: cette flèche ne commence pas brusquement, mais s'amorce sur un tambour à base octogone; les triangles, restant libres entre l'étage carré et le tambour octogone, portent quatre pinacles qui forment autant de baies. Quatre lucarnes sont percées sur chacune des faces de l'octogone parallèles aux côtés du carré. Comme à la Trinité de Vendôme, quatre grands pignons surmontent ces lucarnes et sont eux-mêmes percés de baies, afin de permettre au son des cloches de s'échapper du beffroi. Mais ces gâbles empiètent adroitement sur les faces de la pyramide, de manière à lier les parties verticales avec les surfaces inclinées; c'est un progrès. À la Trinité de Vendôme on voit que les étages supérieurs sont encore coupés par des lignes horizontales qui séparent l'ordonnance inférieure du beffroi de la pyramide, bien que ces deux parties, n'étant séparées par aucun plancher, ne fassent qu'un tout. À Chartres, l'architecte a parfaitement fait comprendre que le beffroi et la pyramide ne sont qu'un étage vide du bas en haut. Une flèche immense, décorée d'arêtiers sur les angles, de nerfs sur les faces et d'écailles, comme à Vendôme, termine le clocher.

Il n'est pas besoin de faire ressortir la beauté et la grandeur de cette composition dans laquelle l'architecte a fait preuve d'une rare sobriété, où tous les effets sont obtenus non par des ornements, mais par la juste et savante proportion des diverses parties. La transition si difficile à établir entre la base carrée et l'octogone de la flèche est ménagée et conduite avec une adresse qui n'a point été surpassée dans les monuments analogues. On pourrait peut-être reprocher aux contre-forts d'angle de la tour carrée de finir trop brusquement sous le bandeau K; mais, en exécution, ce défaut, apparent sur le dessin géométral, est complétement détruit à cause de la faible saillie de ces contre-forts qui ne compte plus à cette hauteur, et par le jeu des ombres des lucarnes et pinacles qui s'harmonise de la façon la plus heureuse avec les saillies et les parties ajourées de la souche carrée.

Les trompes qui portent la flèche ne prennent naissance qu'au-dessus des baies des quatre pinacles, et le plan (60), pris au niveau L, fait voir avec quelle adresse les constructeurs ont su faire pénétrer l'octogone dans le carré. Les quatre pinacles d'angle, au lieu de n'être qu'un ornement comme dans les clochers romans, comme dans le clocher de la Trinité de Vendôme, sont de véritables contre-forts, bien chargés, qui reportent le poids des quatre côtés de l'octogone, parallèles aux diagonales du carré, sur les quatre angles de la tour. Les quatre pignons couronnant les lucarnes ont aussi leur utilité et sont plus qu'une simple décoration; ils chargent les quatre faces du tambour parallèles aux côtés du carré, afin de donner à ces faces de la souche octogonale une résistance puissante. Le dernier étage (fig. 60) est aussi léger que possible; les pieds-droits sont minces, et le roulement de cet étage est parfaitement maintenu par les pinacles formant éperons; cependant, le dans-oeuvre de la souche de la flèche n'a pas moins de 10m,20 d'un parement à l'autre. L'exécution des détails du clocher vieux de Chartres répond à cet ensemble grandiose; la construction est traitée avec un soin particulier, les assises sont parfaitement réglées, l'appareil très-savant; les profils et la sculpture sont de la plus grande beauté; sur aucun point on ne trouve l'architecte en faute, on ne peut constater de ces négligences si fréquentes dans les constructions élevées un demi-siècle plus tard. Tout est prévu, calculé, rien n'est livré au hasard; les écoulements d'eau sont simplement disposés. Aussi le clocher vieux de Chartres, bien qu'il soit de cinquante ans plus ancien que le reste de la cathédrale, et qu'il ait subi l'épreuve de deux incendies, sera encore debout quand l'église tombera en ruine. Il dut être bâti de 1140 à 1170, et la beauté de sa construction contraste avec la négligence et la grossièreté de celle de l'église. L'école du XIIe siècle en France, au point de vue de l'exécution, ne fut jamais dépassée et fut rarement égalée par celle du XIIIe, malgré les progrès scientifiques qui se développèrent chez cette dernière; mais nous expliquons les causes de ce fait au mot CATHÉDRALE.
Quelque soin que nous ayons pris de distinguer les différents caractères des clochers qui couvrent le sol de la France actuelle jusqu'au XIIe siècle, d'indiquer les écoles diverses, leurs croisements et les influences qu'elles exercent les unes sur les autres, nous devons avouer que notre travail est très-sommaire et qu'il nous a fallu laisser de côté des détails d'un intérêt réel. À nos yeux, toutefois, cette question a trop d'importance; elle se rattache trop à l'esprit du moyen âge, aux efforts des constructeurs, pour que nous n'essayions pas de faciliter à nos lecteurs le classement de ces diverses écoles, leur marche et leurs progrès. L'érection des clochers ne suit pas rigoureusement, d'ailleurs, les styles propres à chaque division territoriale.
Jusqu'à la fin du XIIe siècle, le clocher est encore un édifice à part, et les établissements monastiques, les cathédrales et les paroisses, faisaient souvent annexer à l'église un clocher dont le type primitif n'était pas en rapport intime avec le style local. Le clocher est, pendant cette période du moyen âge, plutôt un monument de vanité (que l'on veuille bien nous passer l'expression) qu'un monument d'utilité; il n'est donc pas surprenant que l'on s'écartât quelquefois des traditions locales pour se donner la satisfaction d'élever un édifice capable de rivaliser avec ceux de telle ville ou de tel monastère, qui excitaient l'admiration des étrangers. Le classement des clochers par écoles et ramifications d'écoles coïncide, de province à province, avec les relations commerciales et politiques; ce classement suit le mouvement naturel de ces relations; au point de vue de l'histoire, il peut donc être utile. Aussi, avant d'aller plus avant, et afin de résumer pour nos lecteurs ce que nous avons dit sur ces monuments, nous donnons ci-contre (61) une carte de la France sur laquelle nous avons marqué les points centrals des différents types de clochers, et l'étendue de leurs ramifications, vers le milieu du XIIe siècle, avant la grande révolution architectonique du règne de Philippe-Auguste; révolution qui tendit à substituer une école unique à ces écoles d'origines diverses.

Nous avons dit que le Périgord possède, dès la fin du Xe siècle et commencement du XIe, deux types de clochers: celui de Saint-Front marqué en A sur notre plan, fig. 61, et celui de Brantôme marqué en B.
Le prototype A pousse au sud une ramification le long de la rivière d'Isle, s'étend sur les bords de la Dordogne inférieure et remonte la Garonne jusqu'à Toulouse; un rameau pénètre jusqu'à Cahors. Vers le nord, l'influence du prototype A s'étend plus loin; elle envahit l'Angoumois, la Saintonge, l'Aunis, le Poitou, descend la Vienne, se prolonge au nord, vers Loches, et remonte l'Indre jusqu'à Châteauroux (clocher de Déols). Ce rameau passe la Loire entre Tours et Orléans, et vient se perdre dans le Maine et l'Anjou. Le second type périgourdin B, dont le Brantôme est le plus ancien modèle existant, remonte la vallée de la Dordogne, traverse les montagnes au sud du Cantal, et vient expirer au Puy-en-Vélay. Une autre branche vigoureuse pousse vers le nord, passe à Limoges, se rencontre à Loches avec une des branches du type A, traverse la Loire à Saint-Benoît et arrive jusqu'à Vendôme et Chartres. L'Auvergne possède aussi son école; à Clermont en H est son siége. Une de ses branches se dirige, en remontant l'Allier jusqu'au Puy, où elle se rencontre avec celle venue de B. Au sud, le prototype H jette un rameau directement sur la Garonne à Toulouse, à Agen, et, plus bas, jusqu'au Mas d'Agenais. Au nord, il éparpille ses rameaux en éventail à travers les plaines de la Limagne; une branche s'étend même jusqu'à Nevers, une autre est arrêtée brusquement par les montagnes du Lyonnais. Ces trois types ABH occupent toute l'ancienne Aquitaine de Charlemagne et jettent quelques rameaux jusque dans la Neustrie. Le prototype carlovingien, dont nous avons placé le siége en C, à Aix-la-Chapelle, envahit la Meuse, la Moselle et le Rhin; il pousse un rameau à travers les Ardennes jusque sur la Marne à Châlons, un autre jusqu'à Besançon, un autre en Flandre jusqu'à Tournay, en remontant la Sambre et descendant l'Escaut; il occupe l'Austrasie. Le prototype bourguignon, que nous plaçons en D, à Autun, jette une branche à travers le Morvan, va chercher la vallée de l'Yonne et descend cette rivière jusqu'à Auxerre, où elle s'arrête. Une autre branche passe sous Château-Chinon le long des montagnes, traverse la Loire à la Charité, pousse quelques rameaux dans le Nivernais et se perd avant d'arriver à Bourges. Un troisième rameau vivace se jette sur Beaune, Dijon, arrive à Langres; puis, traversant la montagne, descend la Marne jusqu'à Châlons. Un quatrième va chercher le Doubs et le remonte jusqu'à Besançon, vers l'est. Un cinquième enfin suit la vallée de la Saône et s'étend jusque vers Valence, en passant par Lyon et Vienne, se rencontre avec une des branches du prototype I, placé à Arles. L'école D occupe l'ancien royaume carlovingien de Bourgogne. Le type appartenant à l'Île de France, dont le centre est placé à Paris en E, jette des rameaux tout autour de lui: au nord-ouest jusqu'à Rouen; au nord jusqu'à Saint-Omer et Tournay, Saint-Quentin, en remontant l'Oise; à l'est jusqu'à Reims et Châlons; au sud-est jusqu'à Troyes, en remontant la Seine, et jusqu'à Sens en remontant l'Yonne; au sud jusqu'à Orléans, et à l'ouest jusqu'à Chartres. Enfin, le type normand, dont le centre est posé en G, à Caen, se ramifie sur les côtes, au nord-ouest jusqu'à Eu, à l'ouest jusqu'à Dol, et, remontant l'Orne, descend l'Eure jusqu'à Évreux. Un rameau passe le détroit et couvre l'Angleterre. Ces deux dernières écoles occupent la Neustrie. Sur notre carte, les divisions carlovingiennes sont indiquées par des lignes ponctuées. Pendant la première période carlovingienne, l'Aquitaine est, de toutes les provinces des Gaules, celle qui est la plus riche par son étendue, son territoire et le commerce qu'elle faisait avec la Bourgogne, le Nord et la Bretagne. C'est celle aussi qui fait pénétrer le plus loin l'influence de ses écoles d'architecture. La Neustrie, divisée par l'invasion normande, ne prend, jusqu'à la prédominance des suzerains français, qu'une influence limitée. Que l'on veuille bien examiner avec attention cette carte (fig. 61), on y trouvera l'occasion de faire de singulières observations. On voit, par exemple, qu'au XIIe siècle, malgré les révolutions politiques survenues depuis la division des Gaules faite par Charlemagne à sa mort, les populations avaient conservé presque intact leur caractère d'Aquitains, de Bourguignons, de Neustriens et d'Austrasiens. Nos lecteurs penseront peut-être que nous prenons la question de bien haut, à propos de clochers; et nous ne devons pas oublier que nous avons, plus d'une fois depuis le commencement de cet ouvrage, été accusés de supposer des arts nationaux, des écoles qui n'existeraient que dans notre imagination; il faut donc que nous développions notre thème, en adressant nos remercîments sincères à ceux qui nous obligent à accumuler les renseignements et les preuves propres à éclairer la question importante du développement de l'art de l'architecture sur le territoire occidental du continent européen.
Le clocher, plus qu'aucun autre édifice, nous facilite ce travail; car, plus qu'aucun autre édifice, il indique les goûts, les traditions des populations; il est le signe visible de la grandeur de la cité, de sa richesse; il est l'expression la plus sensible de la civilisation à la fois religieuse et civile de cette époque; il prend de l'importance en raison du développement de l'esprit municipal; il se soustrait, plus que tout autre monument, aux influences monastiques; c'est, pour tout dire en un mot, au XIIe siècle, le véritable monument national, dans un temps où chaque ville importante formait un noyau presque indépendant de la féodalité séculière ou cléricale. Le clocher peut être considéré comme le signe du développement industriel et commercial des cités. Les exemples que nous avons donnés jusqu'à présent sont autant de jalons que nous avons signalés, jalons qui sont posés sur les lignes tracées sur notre carte. Les preuves sont donc matérielles, palpables. Observons maintenant la direction de chacune de ces branches: elles suivent le cours des rivières, ce qui est naturel, ou des grandes voies commerciales qui existent encore aujourd'hui, voies qui ont singulièrement aidé au travail de centralisation du pouvoir monarchique. Prenons l'une de ces branches les plus étendues et qui ne tiennent pas compte du cours des rivières; celle, par exemple, qui part de Périgueux, passe par Limoges, et vient aboutir à Chartres. Ne voyons-nous pas là la grande route centrale de Limoges à Paris, à peu de déviation près? Et cette autre qui, du même centre, passe par Angoulême et le Poitou pour se jeter sur la Loire et le Maine, n'est-elle pas aussi une grande voie commerciale suivie de nos jours? Notre carte ne tient-elle pas compte de cette barrière naturelle que la Loire a si longtemps établie entre le nord et le sud de la France? Et cette ligne de la Bourgogne qui, de la Marne, de Châlons, descendant jusqu'aux limites du Lyonnais au sud, réunit Aix-la-Chapelle, le Rhin et la Moselle au Rhône par la Marne et la Saône, n'est-elle pas encore une voie suivie et tracée de notre temps? On ne saurait prétendre que notre carte est tracée d'après certaines idées préconçues; encore une fois, les monuments sont là; et d'ailleurs ces idées ne nous ont été suggérées que par la vue des lignes réunissant les jalons épars que nous avons pu marquer. Dans les localités où deux ou trois branches partant de deux ou trois centres opposés viennent aboutir, nous pouvons constater l'influence et le mélange des arts sortis de ces centres. Ce fait est sensible à Chartres, à Châlons-sur-Marne, à Nevers, à Toulouse, à Valence, au Puy, à Auxerre, à Rouen. Nos figures l'ont démontré ou vont le démontrer. Le croisement des deux branches issues de Périgueux est sensible à Loches. Toutes ces branches indiquent des routes tracées et suivies par le commerce au XIIe siècle; et sans avoir la prétention de donner à ce travail une importance exagérée, nous pouvons croire qu'il pourra contribuer à détruire cette idée de confusion, d'intervention du hasard, dans la marche et le développement des arts sur ce coin de l'Europe; peut-être jettera-t-il quelques clartés sur l'histoire, si compliquée, de ces temps reculés. Pour nous, ces centres, avec leurs branches qui tendent à se réunir sur certain point, indiquent les premiers pas des populations vers l'unité nationale au milieu du réseau féodal; ces faits peuvent aider à retrouver les causes de la richesse de certaines cités dont nous avons peine à comprendre aujourd'hui l'importance. Quand le pouvoir monarchique s'établit, au XIIIe siècle, sur des bases de plus en plus fermes, il trouva ouvertes ces communications entre des provinces diverses d'origine, de moeurs et de langage, et y fit rapidement pénétrer, avec de nouvelles institutions politiques, les arts du domaine royal. On s'explique ainsi comment l'architecture romane fut tout à coup, à cette époque, frappée d'impuissance; comment ces provinces de l'ouest, de l'est et du midi, reçurent l'influence du domaine royal par les mêmes voies qui leur avaient servi pendant deux siècles à répandre au dehors les traditions de leurs arts propres.
Le clocher vieux de la cathédrale de Chartres résume les efforts, les goûts et les traditions des deux principales écoles du sol des Gaules, dont nous venons de tracer l'histoire et les influences plus ou moins étendues. Il possède, à la fois, la grandeur des conceptions des artistes de l'ouest et la puissance de leurs constructions, la hardiesse aventureuse des architectes normands, la sobriété, la finesse et l'instinct de l'harmonie des proportions qui étaient le partage des constructeurs du domaine royal, des vallées de la Seine, de l'Oise et de l'Aisne. Le nom de l'architecte qui sut fondre dans un seul édifice ces divers éléments ne nous est pas connu; mais son oeuvre impérissable, dont le principal mérite est l'unité, nous prouve que cette qualité dépend bien plus du génie de l'artiste que des éléments placés sous sa main; que l'emploi d'éléments différents entre eux n'exclut pas l'originalité, quand ces matériaux sont recueillis par un esprit juste, une tête bien organisée et une main habile. Il est d'autres clochers en France qui ne le cèdent guère au clocher vieux de Chartres comme importance; mais aucun ne réunit à un degré aussi élevé des proportions heureuses à l'interprétation exacte d'un programme, la sobriété à la richesse, l'application de traditions étrangères les unes aux autres à un seul édifice, sans efforts apparents. À voir ce clocher, rien ne paraît plus simple, plus facilement conçu et exécuté; et cependant, si on analyse sa structure avec quelque soin, on aperçoit les habiles soudures entre des éléments divers, partout le raisonnement soumis à un goût sûr. Il serait fort intéressant, pour l'histoire de la transition de l'architecture romane à l'architecture française du XIIIe siècle, de savoir d'où venait le maître des oeuvres auquel la construction du vieux clocher de Chartres fut confiée, à quelle province il appartenait. Était-il né dans l'une de ces villes des bords de l'Oise et de l'Aisne, où les traditions gallo-romaines se conservèrent si longtemps? ou bien était-il venu des bords de la Seine et de l'Eure, entre Paris et Rouen? Nous pencherions vers cette dernière origine, car on retrouve, dans les détails du clocher de Chartres, dans les profils des arcs, dans la sculpture, la finesse et la grâce qui appartiennent à cette portion du territoire français. Dans les bassins de l'Oise et de l'Aisne, jusqu'à la fin du XIIe siècle, les profils sont plus simples, se dépouillent moins des traditions gallo-romaines, la sculpture est barbare et péche par le mépris de la forme. L'influence mérovingienne persiste très-tard dans ces dernières contrées, tandis que dans la partie de l'Île de France comprise entre Paris, Mantes et Dreux, il s'était formé là, dès le XIe siècle, une école particulière, dont le goût s'épure de plus en plus jusque vers le milieu du XIIe siècle, qui évite les exagérations et marche d'un pas assuré vers un art plein d'élégance et de finesse, délicat et contenu. Un architecte, sorti de cette école au milieu du XIIe siècle, trouvant dans l'Orléanais les dernières traces des arts des provinces du sud-ouest et quelques éléments de ceux de la Normandie, apportait juste ce qu'il fallait pour bâtir le clocher vieux de Chartres en mêlant ses qualités propres aux influences romanes qui avaient pénétré cette province. Il est, en effet, curieux d'observer comme, à cette époque et plus tard encore, au commencement du XIIIe siècle, les architectes de l'Île de France, bien qu'ils fussent en avance sur les écoles voisines, se pliaient aux traditions locales lorsqu'ils étaient appelés en dehors de leur centre. Ce ne fut guère qu'à la fin du XIIIe siècle, alors que l'architecture eut admis de véritables formules, que cette souplesse des artistes disparaît totalement pour faire place à un art qui, ne tenant plus compte ni des traditions ni des habitudes locales, marche résolûment dans la voie unique qu'il s'est tracée. Pour nous, nous préférons la souplesse à ces formules invariables, à cette logique inexorable qui force l'art à se jeter dans les abus de ses propres principes pour ne pas tomber dans la monotonie; aussi, nos lecteurs voudront-ils nous pardonner de nous étendre si longuement sur l'époque de transition, de recherche, de tâtonnements même, époque bien plus variée et fertile en enseignements que celle qui la suit.
Si, à Chartres, un architecte de l'Île-de-France a conçu et présidé à l'exécution du clocher vieux, à Rouen, il est très-probable qu'un de ses confrères a conçu et fait élever le clocher de la cathédrale connu sous le nom de tour Saint-Romain. Le clocher de Saint-Romain de la cathédrale de Rouen est contemporain du clocher vieux de Chartres (1140 à 1160). Le couronnement primitif de ce clocher n'existe plus, ou ne fut jamais élevé. Il devait se composer, probablement, d'une grande pyramide octogone, comme celle qui termine l'escalier du même clocher. Quoi qu'il en soit, la tour est entière et est certainement l'une des plus belles de cette partie de la France; elle offre un mélange des deux styles de l'Île de France et de la Normandie, dans lequel le premier élément domine; là aussi l'artiste français s'est soumis aux influences locales, mais il a évidemment apporté le goût de son école et son propre génie.

Voici (62) l'élévation du clocher Saint-Romain du côté de l'est où se trouve l'escalier qui conduit à la base du beffroi. Le clocher Saint-Romain de la cathédrale de Rouen est isolé sur trois côtés et porte de fond, comme la plupart des clochers de façade antérieurs au XIIIe siècle. Il se compose, à l'intérieur, comme celui de Chartres, de deux salles voûtées superposées et d'un étage de beffroi divisé en deux. Mais ici les dispositions mesquines, confuses, les divisions d'étages égaux en hauteur des clochers normands ont été adoptées par le maître de l'oeuvre français; en se soumettant à ces habitudes, il a cependant répandu dans son oeuvre la grâce et la finesse, l'étude des détails, la sobriété des saillies, la parfaite harmonie des profils et de la sculpture avec l'ensemble, qui appartiennent à l'école d'où il sortait. Il a surtout habilement ménagé les pleins et les vides, donnant d'autant plus d'importance à ceux-ci et augmentant l'échelle des détails à mesure que la tour s'élevait au-dessus du sol. Ces détails sont d'une grande beauté; la construction est exécutée en petits matériaux, avec le soin que les architectes du XIIe siècle mettaient dans leurs bâtisses; les profils sont peu saillants et produisent, malgré leur extrême finesse, beaucoup d'effet; les contre-forts sont habilement plantés et profilés. L'escalier qui, du côté de l'est, dérange la disposition des baies, est un chef-d'oeuvre d'architecture. La construction du clocher Saint-Romain de Rouen, bien que très-légère en raison de la dimension extraordinaire de cet édifice, n'a subi d'autre altération que celle produite par l'incendie qui détruisit la cathédrale à la fin du XIIe siècle. Au XIIIe siècle, on pratiqua en A une arcade dans une des baies géminées du beffroi pour le passage des grosses cloches. Ce fait est curieux; il indique, ou qu'avant cette époque les cloches étaient montées dans les tours pendant leur construction, ou qu'elles étaient de petite dimension, ainsi que nous l'avons dit plus haut.
Nous pourrions fournir encore de nombreux exemples de ces clochers de l'époque de transition bâtis dans le voisinage de l'Île-de-France; mais il faut nous borner. Il nous reste à faire voir comment les architectes du XIIIe siècle surent profiter des tentatives de leurs prédécesseurs, et appliquer les principes nés dans les provinces de l'Ouest, de l'Est et du Nord, au nouveau mode de construction inauguré, à la fin du XIIe siècle, dans l'Île-de-France.

Un des rares clochers complets, du commencement du XIIIe siècle, est celui qui flanque la façade de la cathédrale de Senlis, du côté méridional. Nous en donnons la vue perspective (63). Bâti d'un seul jet, pendant les premières années du XIIIe siècle, en matériaux d'excellente qualité, ce clocher nous montre déjà les tendances des architectes du XIIIe siècle à chercher les effets surprenants. S'élevant sur une base carrée à peu près pleine, mais sous laquelle s'ouvre une charmante porte donnant sur le bas-côté sud de la cathédrale (voy. PORTE), ce clocher latéral, contrairement aux habitudes des constructeurs antérieurs, n'est plus un monument isolé; il participe intimement au plan de l'église; son rez-de-chaussée sert de vestibule à l'un des collatéraux. Déjà les clochers latéraux de l'église abbatiale de Saint-Denis, élevés par l'abbé Suger, présentaient cette disposition, qui paraît avoir été adoptée dans l'Île-de-France dès le XIIe siècle. Au-dessus du rez-de-chaussée est un étage voûté, éclairé, sur chaque face, par des baies jumelles; puis, immédiatement au-dessus de cet étage, s'élève le beffroi sur plan octogone. Un escalier A, pris dans un angle renforcé, et non plus indépendant comme dans les exemples précédents, donne entrée dans l'étage du beffroi. De grands pinacles à jour posés sur les angles du carré servent de transition entre cette base carrée et l'étage octogonal. L'un de ces pinacles contient une tour ronde B qui renferme le sommet de l'escalier. Quatre longues baies, ouvertes dans toute la hauteur du beffroi sur les quatre faces parallèles au carré, laissent sortir le son des cloches. Trois autres baies plus petites s'ouvrent dans les autres faces, sous les pinacles, ainsi que l'indique la fig. 64. Cette figure nous fait voir la disposition des pyramides à jour qui couronnent ces pinacles; leur axe ne correspond pas à l'axe des pinacles, mais ces pyramides s'appuient sur les faces de l'étage octogone vertical, comme pour leur servir de contre-forts. Cette déviation de l'axe des pyramides, bien qu'assez bizarre quand on examine les pinacles isolément, produit, dans l'ensemble, un très-bon effet, car elle conduit l'oeil de la base carrée à l'inclinaison des côtés de la grande pyramide de couronnement, ainsi que le fait voir notre fig. 63. La pyramide supérieure, à huit pans comme la tour qui la reçoit, porte sur chacune de ses faces une grande lucarne, dont l'ouverture laisse une issue au son des cloches. Ces lucarnes sont d'un beau style; les découpures qui ornent leurs écoinçons et leurs tympans, taillées à vives arêtes, produisent beaucoup d'effet à la hauteur où elles se trouvent placées. On remarquera que les petits combles en pierre qui couronnent ces lucarnes sont taillés en croupes du côté de la flèche pour la dégager (voy. fig. 63). La flèche et les combles des lucarnes ont leurs parements taillés en écailles, et les arêtiers de la grande pyramide sont fournis de nombreux crochets. C'est là encore une innovation qui appartient au XIIIe siècle, et qui tendait à détruire la sécheresse de ces longues lignes inclinées des flèches. Avant d'en venir à garnir les arêtiers des flèches par des crochets feuillus, sorte de crête rampante, les architectes avaient fait d'autres tentatives. À Saint-Leu-d'Esserent, non loin de Senlis, est un clocher bâti vers 1160, dont la pyramide présente cette singularité d'arêtiers détachés de la flèche, et ne s'y reliant, comme des colonnettes inclinées, que par des bagues. Mais ce moyen étrange, employé pour éviter la sécheresse d'une ligne droite se détachant sur le ciel sans transition entre le plein et le vide, ne fut pas imité. Au-dessus des lucarnes, huit meurtrières, percées au milieu des faces de la pyramide, allégissent encore la partie supérieure du clocher. Ce qu'on ne saurait trop admirer dans ces compositions, c'est l'adresse avec laquelle les architectes conduisent l'oeil du spectateur d'une base massive, carrée, à un couronnement aigu et léger, tout en réservant des points saillants qui, se profilant en dehors de la silhouette générale, détruisent la monotonie des grandes lignes, sans cependant les altérer. À ce point de vue, le clocher de la cathédrale de Senlis est une oeuvre digne d'être étudiée avec soin; ceux qui ont eu l'occasion d'élever des édifices de ce genre savent combien il est difficile d'obtenir d'heureux effets. Et les clochers modernes dans lesquels on a cherché cette harmonie générale, cette parfaite concordance des lignes, en même temps que l'effet pittoresque, sont là pour nous démontrer que l'on n'atteint que rarement à cette perfection. Le passage des parties verticales aux plans inclinés des flèches est un écueil contre lequel viennent presque toujours se briser les efforts des constructeurs. Les architectes, à dater de la fin du XIIe siècle, ont étudié avec grand soin et exécuté avec adresse ces parties importantes de leurs clochers, et tous les exemples précédents que nous avons donnés montrent que, s'ils ont enfin réussi d'une manière complète, ce n'a pas été sans de longs tâtonnements qui n'ont pas toujours été couronnés d'un plein succès. Ils avaient derrière eux des traditions, des exemples plus ou moins heureux, mais en grand nombre, qui pouvaient leur servir de guide; tandis que nous, aujourd'hui, il nous faut aller chercher des modèles épars, dont nous ne pouvons retrouver les types originaux, et nous baser sur des exemples qui ne nous présentent que des superfétations de styles différents ou de diverses époques. Trop souvent alors on se laisse séduire par l'apparence d'harmonie que le temps a jetée sur ces constructions formées d'éléments dissemblables, et on est fort surpris, lorsqu'on a élevé un clocher copié sur ces édifices, de n'avoir produit qu'un assemblage disgracieux, incohérent, donnant des silhouettes malheureuses. Toute partie d'architecture qui se découpe immédiatement sur le ciel demande des calculs, et, plus encore, un sentiment exquis de la forme, car rien n'est indifférent dans une pareille situation; le moindre détail prend des proportions autres que celles obtenues sur le papier ou sur l'épure géométrale, et il faut une bien longue expérience, une habitude pratique des effets pour préjuger de l'aspect perspectif d'une combinaison géométrique.
Après avoir cherché à produire des effets surprenants par des moyens compliqués, les architectes, comme il arrive toujours, s'aperçurent bientôt que les combinaisons générales les plus simples sont les plus propres à donner l'idée de la grandeur. Le clocher de la cathédrale de Senlis, qui paraît si grand, bien qu'il soit d'une dimension très-ordinaire, dont l'effet perspectif est si élégant et d'une heureuse silhouette, est, comme combinaison, d'une simplicité parfaite. L'octogone de l'étage du beffroi et les pinacles sont exactement inscrits dans le carré de la base: quatre longues baies servant d'ouïes et huit lucarnes semblables sur les huit faces de la pyramide.

La combinaison géométrique, le tracé des divers membres de ce clocher, sont indiqués dans notre fig. 65, en A, au niveau des pinacles, avec leur petite voûte d'arête, dont l'arc ogive C retombe sur une tête incrustée au-dessus de l'ouverture D; en B, au-dessus de la pyramide, à vol d'oiseau: ce plan B fait voir la direction des arêtiers des pinacles et les pénétrations des lucarnes, avec leurs croupes, dans la pyramide de la flèche.
Nous devons laisser de côté, pour un instant, les clochers de l'Île-de-France ou des provinces voisines, pour examiner comment, vers la même époque, c'est-à-dire du XIIe au XIIIe siècle, les contrées éloignées de ce centre d'architecture se transformèrent et passèrent des formes romanes aux formes gothiques. Dans ces contrées, la transition fut plus longue, plus indécise, et la révolution ne fut complète que quand les écoles purement françaises réagirent sur les provinces les plus éloignées de ce foyer de la belle et bonne architecture gothique.
Nos lecteurs ont vu que les clochers centrals de la Saône, de Saône-et-Loire, lesquels appartiennent au style bourguignon, étaient un composé des traditions carlovingiennes du Rhin et des influences locales produites par la présence de monuments romains: c'est pourquoi nous avons, sur notre carte (fig. 58), placé le foyer de cette école à Autun. Mais, à Autun même, il n'existe pas de clocher antérieur au XVe siècle qui ait quelque valeur; il nous faut aller trouver les types bourguignons du commencement du XIIe siècle à Beaune, à Saulieu. À Beaune, un clocher central présente un étage primitif qui possède tous les caractères du type bourguignon romain. L'église de Saulieu conserve ses deux clochers de façade à peu près entiers, dans le même caractère. Nous trouvons le type bourguignon très-développé, quoique un peu mélangé, à la Charité-sur-Loire. L'église abbatiale de la Charité-sur-Loire, dépendant de l'ordre de Cluny, bâtie dans la première moitié du XIIe siècle, était précédée, comme toutes les églises de cet ordre, d'un vaste narthex, sur les collatéraux duquel s'élevaient deux gros clochers; l'une de ces deux tours existe encore en entier, sauf le couronnement, qui est en charpente et d'une époque plus récente.

Voici (66) une vue perspective de ce clocher, prise de l'intérieur du narthex, détruit aujourd'hui, et dont on voit la naissance des voûtes en A. Ici, comme dans l'architecture de cette époque et de la province de Bourgogne, les pilastres cannelés remplacent presque partout les colonnes portant les archivoltes. Les bandeaux sont ou à modillons, ou décorés de ces petites arcatures si fréquentes dans l'architecture carlovingienne du Rhin. L'arcature aveugle de l'étage inférieur en B et la construction montée en pierres de grand appareil, sorte de placage sur un massif, sont surtout franchement bourguignonnes. Mais ce qu'il ne faut pas omettre, c'est ce bandeau D, plaqué de rosaces et de bas-reliefs d'ornements qui semblent être des fragments antiques incrustés dans la bâtisse. Nous en donnons un détail (67). Du reste, l'aspect de cette tour est majestueux; ce qu'on pourrait lui reprocher, c'est une certaine lourdeur et cette division du beffroi en deux étages égaux comme hauteur et semblables comme décoration. Mais il ne faut pas oublier qu'à cette époque on ne posait pas des abat-sons aux baies des beffrois, et que les architectes cherchaient à garantir les charpentes intérieures portant les cloches, en divisant les vides autant que faire se pouvait, tout en suppléant par leur nombre à l'étroitesse de leur ouverture. Cependant, sur les bords du Rhin, dès le XIIe siècle, ainsi que nous l'avons vu plus haut, les architectes cherchaient à rendre les sommets des clochers plus légers en les terminant par des étages à huit pans. La Bourgogne suivait ce progrès, qui se faisait jour, d'ailleurs, dans les autres provinces ses voisines.

À Auxerre, nous trouvons deux clochers intéressants au point de vue des diverses influences qui réagissaient sur les confins de la Bourgogne, et tendaient à modifier son architecture native. L'un, le clocher vieux de l'église abbatiale de Saint-Germain, bâti pendant la première moitié du XIIe siècle, abandonne presque complétement les traditions bourguignonnes pour adopter un style mixte qui tient de l'Ile-de-France ou plutôt de la Champagne; l'autre, le clocher de l'église de Saint-Eusèbe, bâti cependant plus tard, vers 1160, reste franchement bourguignon. Le vieux clocher de l'église de Saint-Germain d'Auxerre, dit clocher de Saint-Jean, est bâti d'un seul jet de la base au sommet de la flèche, et il est rare de trouver des clochers de cette époque et de cette partie de la France conservant leur couverture primitive. Il flanquait l'ancienne façade de l'église abbatiale et porte de fond sur une tour carrée dépourvue d'ouvertures, sauf une arcade, donnant entrée au rez-de-chaussée.
Nous donnons l'élévation géométrale de ce clocher (68). La construction
est pleine jusqu'à l'étage du beffroi, et n'est décorée que par une
arcature aveugle au niveau A. Huit contre-forts flanquent les quatre
angles jusqu'à la naissance des trompillons intérieurs qui portent
l'étage B sur plan octogonal. Sur chaque face, trois baies ouvertes dans
l'étage du beffroi permettent au son des cloches de se répandre au
dehors, et sur chaque angle du carré sont posés des pinacles pleins qui
raffermissent les quatre angles du clocher par leur poids. Une pyramide
à huit pans s'élève sur le dernier étage et est décorée, à sa base, par
quatre pignons pleins. Les faces de la pyramide en pierre sont
légèrement convexes, comme pour mieux conduire l'oeil de l'étage
octogone vertical à la pointe supérieure. De la base au sommet de la
flèche, ce clocher porte 49m,00, soit cent cinquante pieds. La
construction du clocher de Saint-Jean d'Auxerre est exécutée avec grand
soin, en petits matériaux tendres; elle est parfaitement conservée. Le
passage du carré à l'octogone est assez adroitement ménagé, mais on ne
trouve pas, entre les hauteurs relatives des étages de cet édifice, les
proportions heureuses que nous présentent les clochers de
l'Ile-de-France. L'étage du beffroi n'a pas assez d'importance; celui de
l'arcature aveugle en a trop, ou plutôt il y a un défaut choquant de
proportions dans l'égalité de hauteur de ces deux étages. Les quatre
gâbles à la base de la pyramide sont assez médiocrement arrangés;
l'étage octogone au-dessous est pauvre et les quatre pinacles mesquins.
Cependant l'ensemble de l'édifice produit, en exécution, un effet
très-heureux, et ce qui rachète les défauts de détail, c'est la
silhouette générale finement étudiée. Les lignes horizontales, si
nécessaires dans tout édifice de pierre, pour donner l'idée de la
stabilité et rappeler une construction élevée en assises, ne dérangent
pas le galbe qui, de la base au sommet, donne une ligne se retraitant
successivement sans ressauts brusques. Les quatre pinacles, dont les
sommets dépassent l'arase de la corniche supérieure, plus encore par
l'effet de la perspective que sur le tracé géométral, relient la base
carrée à la pyramide. On sent ici un art très-délicat, une étude
sérieuse des effets. Ce clocher de Saint-Germain d'Auxerre dut servir de
type à beaucoup d'autres élevés dans les environs vers la fin du XIIe
siècle. À Vermanton, il existe encore un charmant clocher qui date des
premières années du XIIIe siècle, bâti suivant les mêmes données, mais
beaucoup plus élégant; déjà les pinacles sont ajourés, les archivoltes
des baies portent sur des colonnettes. La flèche en pierre de ce clocher
n'existe plus depuis longtemps. La base du clocher de Vermanton n'est
pas pleine, comme celle du clocher de Saint-Jean, mais forme vestibule
en avant du collatéral de l'église.

Dans la même ville, à Auxerre, il existe encore un autre clocher, bâti quelques années après celui de Saint-Jean (vers 1160), mais qui cependant appartient plus franchement à l'école bourguignonne. C'est le petit clocher de l'église de Saint-Eusèbe. Nous en donnons (69) l'élévation géométrale et en A la coupe. Ce clocher était autrefois placé près du choeur du côté nord et portait de fond; son plan est un carré parfait. Aujourd'hui, il se trouve engagé dans le collatéral d'un choeur du XVIe siècle, à l'extrémité d'une nef de la fin du XIIe siècle. Au-dessus du rez-de-chaussée, percé d'une seule petite fenêtre, s'élève une jolie arcature aveugle formée de pilastres et de colonnettes prismatiques, avec arcs en tiers-points dentelés. Cette arcature sert de soubassement au beffroi, très-heureusement ajouré. À l'intérieur, du niveau de la voûte du rez-de-chaussée à la base de la flèche, les parements s'élèvent verticalement sans ressauts ni saillies; en B, on aperçoit seulement des corbeaux, sur lesquels s'appuyait probablement le plancher supérieur en bois. Quatre trompillons portent le dernier étage octogone qui devait recevoir une flèche en pierre refaite au XVe siècle. On remarquera ici que l'étage supérieur est sur plan octogonal irrégulier, ayant quatre grandes faces et quatre plus petites sur les trompillons. On retrouve encore, au sommet de la tour, la corniche composée de petites arcatures que nous voyons à la Charité-sur-Loire, au clocher de Saint-Jean d'Auxerre et dans les clochers rhénans.
Le clocher de Saint-Eusèbe est admirablement construit, et ses points d'appui, la disposition des étages, les détails, profils et sculptures, indiquent la main d'un architecte habile et d'un homme de goût. Il est regrettable que la flèche de ce clocher ait été détruite, car il serait intéressant de savoir comment l'auteur de ce clocher avait planté une pyramide sur un octogone irrégulier: était-elle irrégulière elle-même, ou l'architecte avait-il racheté les différences des faces par quelque arrangement particulier? Ce dernier système nous semble présenter plus de vraisemblance.
Nous devons avouer à nos lecteurs qu'il règne une grande incertitude sur la forme et les dimensions données aux flèches des clochers pendant le XIIe siècle, car la plupart des clochers de cette époque ont été couronnés par des constructions plus récentes. Nous avons vu que, dans l'Ouest, l'une des deux écoles de ces contrées bâtissait, au XIe siècle, des flèches en moellons formant un angle assez ouvert au sommet, et que l'autre école élevait des flèches coniques ou à pans, en assises de pierre squammées, assez aiguës. Dans les provinces carlovingiennes de l'Est, les flèches qui datent de la même époque, carrées ou à pans, sont de même construites en pierre et passablement aiguës: au XIIe siècle, la Bourgogne surmonte déjà ses tours d'églises de flèches très-aiguës, témoin le clocher de Saint-Jean d'Auxerre. En Normandie, les clochers d'une petite dimension semblent n'avoir été couronnés, au XIe siècle, que de flèches en pierre ne donnant guère au sommet qu'un angle droit, comme celle du joli clocher de Than près Caen; les gros clochers sont construits, évidemment (surtout ceux élevés sur la croisée des églises) pour recevoir des pyramides en bois. Ce n'est qu'au XIIIe siècle que cette province couvre ses tours d'églises de flèches en pierre très-aiguës. Dans l'Ile-de-France, la méthode adoptée en Normandie paraît avoir été suivie; les clochers les plus anciens ne possèdent que des flèches en pierre trapues, et c'est pendant le XIIe siècle que les pyramides aiguës apparaissent. La seule conclusion que l'on puisse tirer de ces renseignements divers, c'est que, vers 1150, dans le centre, en Bourgogne, en Normandie et dans les provinces du domaine royal, l'aiguïté des flèches était considérée comme le complément nécessaire de tout clocher, gros ou petit.
Mais revenons à la Bourgogne. Il s'était formé, dès le commencement du XIIIe siècle, dans cette province, une école gothique qui marchait de pair avec celles de l'Ile-de-France et de la Champagne; si les principes généraux qu'elle avait adoptés appartenaient complétement à la nouvelle révolution qui s'était opérée dans l'architecture, elle possédait cependant son caractère propre, distinct, résultat de ses traditions romanes, de la qualité des matériaux, et, il faut le dire, de la nature d'esprit des habitants de cette province. Le Bourguignon était et est encore hardi sans témérité, il va droit au but, évite les difficultés qui peuvent l'arrêter dans sa marche plutôt que de discuter leur valeur ou leur étendue; moins fin que le Champenois et l'habitant des bords de la Seine, il pèche plutôt par excès de force; cette disposition va chez lui souvent jusqu'à la brutalité; il est poussé par sa nature à paraître puissant, résolu, entreprenant; mais il possède un sens droit et ne sacrifie jamais le vrai, le solide, à l'apparence du faste. Ces qualités et même ces défauts percent de la manière la plus évidente dans les monuments élevés pendant le XIIIe siècle en Bourgogne; car la nouvelle architecture, inaugurée au commencement de ce siècle, a cet avantage, lorsqu'elle est sincèrement et savamment appliquée, de mettre au jour toutes les qualités et les défauts de ceux qui l'emploient. C'est pour cela que nous regardons cette architecture comme appartenant véritablement à notre pays.
Les traditions, les tendances du clergé vers un art hiératique, les formules n'y peuvent rien; cet art marche tout seul et peint dans ses allures diverses le caractère des populations et même des individus. Or les clochers, par les motifs déduits plus haut, monuments d'inspiration autant au moins que d'utilité, font ressortir, plus vivement que tout autre édifice, les qualités propres à chaque province au moment où l'art peut se passer de ses langes romans.
La Bourgogne, malheureusement pour l'art, ne possède qu'un très-petit nombre de clochers du XIIIe siècle. Les églises de l'ordre de Cîteaux étaient influentes et très-nombreuses dans cette province, et l'on sait que cet ordre n'admettait dans ses édifices sacrés, pour placer des cloches, que les dispositions rigoureusement nécessaires. Saint Bernard avait exclu des églises de son ordre non-seulement la sculpture, mais les clochers, comme étant des monuments de vanité sans utilité réelle 234. Le jugement de saint Bernard vient encore appuyer notre opinion sur l'importance donnée aux clochers pendant le moyen âge, savoir: qu'ils étaient bien plutôt des édifices fastueux, l'orgueil des cités ou des monastères, que des tours destinées à recevoir des cloches. Si le sentiment religieux faisait bâtir les églises, le sentiment de la richesse ou de la puissance érigeait les clochers, et l'anathème prononcé par saint Bernard contre les clochers suffirait, à défaut d'autres preuves, pour justifier, notre appréciation. Nous pouvons nous plaindre toutefois de la rigueur de saint Bernard, qui nous a privés de conceptions belles et originales comme toutes celles qui, au XIIIe siècle, sont sorties de l'école des architectes bourguignons. Vézelay appartenait à l'ordre de Cluny, fort opposé au rigorisme de l'ordre de Cîteaux, comme chacun sait: or, près de Vézelay, est une petite église qui dépendait de ce monastère; c'est l'église de Saint-Père ou plutôt de Saint-Pierre. Il semble que, dans ce petit édifice, élevé vers 1240, l'architecte qui travaillait sous la dépendance de l'abbé de Vézelay ait voulu protester contre les tendances cisterciennes de la Bourgogne à cette époque; car il a élevé, des deux côtés du portail de l'église de Saint-Père, deux clochers énormes, si on les compare à la grandeur de l'église. De ces deux clochers, un seul est achevé, sauf la flèche, qui fut faite en bois au XIVe siècle et couverte en bardeaux. À voir cette élégante construction, belle par ses heureuses proportions et par les charmants détails qui la couvrent, on doit croire que l'école bourguignonne, malgré les Cisterciens, n'en était pas alors à son coup d'essai; ce n'est pas du premier jet que l'on arrive à de semblables conceptions. Il devait exister dans ces contrées d'autres clochers formant la transition entre les clochers romans de la Bourgogne ou du Nivernais et le clocher de Saint-Père. Cette transition, faute d'exemples existants et malgré nos recherches, nous échappe complétement, et si l'on trouve encore dans la tour de Saint-Père quelques traces des traditions romanes de ces provinces, il faut avouer qu'elles sont à peine appréciables.
La fig. 70 présente la vue perspective de ce clocher tel que
l'architecte primitif le laissa, c'est-à-dire sans flèche et avant la
construction du porche qui masque sa base. En E, on voit l'amorce des
constructions de la nef de l'église contemporaines du clocher. À peine
celui-ci était-il élevé, qu'on y accolait un pignon couvert de statues
et de sculptures dont la hauteur considérable engage une partie de
l'angle de la tour jusqu'au niveau F. Notre vue donne le clocher de
Saint-Père tel qu'il était avant ces adjonctions successives. Quoiqu'il
soit élevé sur la première travée du collatéral nord de l'église, et
qu'un de ses angles porte sur une pile isolée, cependant sa base ne
donnait pas entrée dans le collatéral; il conservait, à l'extérieur du
moins, l'apparence d'une tour partant de fond comme les clochers romans.
À l'intérieur, il se compose d'une salle voûtée au-dessus du collatéral,
éclairée par des fenêtres jumelles. Au-dessus de cette salle, la tour
est complétement vide. Le dessus de la voûte du premier étage, au niveau
A, est dallé en pavillon avec des caniveaux le long des quatre murs
aboutissant à une gargouille, pour l'écoulement des eaux que le vent
poussait dans le beffroi. Cette voûte, ainsi que celle du collatéral,
sont percées de lunettes pour le passage des cloches. Sur la base
carrée, à partir du bandeau B, l'octogone supérieur se dessine déjà au
moyen des colonnettes qui montent de fond et inscrivent les baies
centrales. Les espaces compris entre ces colonnettes et les quatre
angles sont pleins (car l'escalier C ne monte que jusqu'au-dessus de la
voûte du premier étage), et forment les quatre points d'appui
principaux, les piles d'angle de la tour. Le dernier étage, à base
octogone, porte ses faces parallèles aux diagonales du carré sur des
trompillons. Les angles de la tour carrée sont terminés par des pinacles
à jour. Sous l'étage octogone en D, on remarque des médaillons sculptés
incrustés dans une sorte de fausse balustrade et qui rappellent encore
les rosaces et les bas-reliefs que nous avons vus entre les bandeaux du
clocher de l'église de la Charité-sur-Loire. Il semble que ces
médaillons, au nombre de douze, représentent les signes du zodiaque;
nous pensons du moins que telle a été l'idée de l'architecte; mais le
sculpteur paraît s'être livré, dans l'exécution de quelques-uns de ces
petits bas-reliefs, à des conceptions de fantaisie. L'un des médaillons
n'est même qu'une de ces ammonites fossiles comme on en trouve
fréquemment dans les calcaires anciens des confins du Morvan. C'était
une sculpture naturelle toute trouvée qu'on a placée là. Quatre statues
d'anges sonnant de l'olifant, couronnées de dais, terminent heureusement
les angles du second étage du beffroi; et sur les flancs de l'étage
octogonal, huit statues plus petites, assises, accompagnent les
pinacles.
Si la composition générale du clocher de Saint-Père est
remarquable, facile à comprendre, les détails, tels que les profils et
la sculpture, sont exécutés avec cette hardiesse et cette franchise qui
appartiennent au style bourguignon du XIIIe siècle. Les angles, avec
leurs colonnettes détachées de la masse et reliées aux piles par des
bagues et les tailloirs des chapiteaux, rompent la sécheresse de ces
angles et conduisent l'oeil aux silhouettes ajourées des pinacles. Mais
un des caractères particuliers à ce mode d'architecture, c'est que la
masse de la construction est indépendante de la décoration. Les piles et
les parties pleines sont bâties en assises basses qui peuvent passer
pour du moellon piqué, tandis que les bandeaux, archivoltes et
colonnettes, sont élevés en grands morceaux de pierre posés en délit,
d'une belle qualité et taillés avec soin. Le contraste entre la bâtisse
de la masse et la partie purement décorative ajoute singulièrement à
l'effet que produit celle-ci.
Le détail de l'un des angles de la tour (71) fera comprendre le mode de construction adopté, ainsi que l'heureuse composition de ces angles ajourés dans quelques parties, comme pour établir une transition entre le plein des piles et le vide de l'atmosphère. C'était là, en effet, une des préoccupations des architectes du XIIIe siècle; ils craignaient les silhouettes pleines et rigides; il semblait qu'ils voulussent, dans les constructions se détachant sur le ciel, éviter le brusque passage du plein au vide. Ce principe, qui indique un sentiment très-fin des formes extérieures de l'architecture, qui allégit et grandit les édifices en les faisant se fondre, pour ainsi dire, dans le ciel, poussé à l'excès, conduisit peu à peu les architectes à exécuter les dentelles de pierre du XVe siècle.

Nous donnons (72) le quart du plan de l'étage supérieur du clocher de Saint-Père sur lequel devait s'élever la flèche en pierre. Ce plan indique, en A, la disposition des pinacles des quatre angles, celle des quatre baies, et comment l'octogone s'inscrit dans le carré.
À dater de cette époque (milieu du XIIIe siècle), on ne trouve plus guère de clochers isolés. Dans la France proprement dite, les clochers tiennent aux façades des églises; ils participent à leur composition générale et ne deviennent réellement clochers qu'au-dessus du niveau des collatéraux et des murs des nefs; cependant, jusque vers la fin du XIIIe siècle, les architectes ont le soin de reculer les pignons des charpentes des hautes nefs au delà de l'épaisseur des clochers, de manière à leur permettre de se détacher plus librement au-dessus des grandes voûtes. Ainsi sont disposés les deux clochers de la façade de la cathédrale de Paris; une galerie à jour les réunit à la hauteur de la base du beffroi. Même disposition à la cathédrale de Laon. Les clochers de la façade de la cathédrale de Paris, connus de tous sous la dénomination des tours de Notre-Dame, n'ont été élevés que jusqu'à la base des flèches en pierre qui les devaient couronner; leur construction peut être comprise entre les années 1225 et 1235, de la base de la grande galerie à jour au sommet. Ces tours demeurent carrées jusqu'à la souche de la flèche; leurs angles sont renforcés de contre-forts, et des baies jumelles occupent, sur chaque face, toute la hauteur comprise entre la grande galerie à jour et la corniche supérieure. Des encorbellements intérieurs, passant du carré à l'octogone, devaient porter les flèches. On ne saurait trop admirer la grandeur et la simplicité de cette belle construction, si bien disposée pour recevoir des cloches et laisser passer au dehors l'éclat de leur son. Le beffroi en charpente, assis sur une retraite ménagée au niveau de la grande galerie à jour, portant sur une maçonnerie épaisse et déchargée par des arcs, ne peut causer aucun ébranlement aux piliers des tours qui font comme une enveloppe parfaitement indépendante autour de ce beffroi 235. Cette disposition du plan carré des tours jusqu'à la base de la pyramide de couronnement, au commencement du XIIIe siècle; appartient exclusivement à l'Ile-de-France. Sur les bords de l'Oise, on avait adopté déjà le plan octogone pour les parties supérieures des beffrois dès le commencement du XIIIe siècle 236, avec de grands pinacles à jour sur les angles des souches carrées. La cathédrale de Laon, contemporaine de celle de Paris, et dont le style d'architecture a la plus grande affinité avec celui de Notre-Dame, possède quatre tours terminées par des beffrois octogones, flanqués, sur les faces parallèles aux diagonales du carré, de pinacles à deux étages ajourés.

Voici (73) l'élévation d'un des clochers de la façade de la cathédrale de Laon prise au-dessus de la voûte de la nef. Des flèches en pierre, qui n'existent plus et dont nous indiquons l'amorce dans notre figure, surmontaient ces tours. Sur le second étage des pinacles à jour sont placés des animaux de dimension colossale qui représentent des boeufs; on croit que le chapitre de Notre-Dame de Laon fit sculpter et poser ces figures en reconnaissance du labeur des animaux qui avaient monté péniblement les matériaux de la cathédrale au sommet de la montagne qu'elle couronne 237. La légende (car il y a toujours quelque légende attachée à la construction des grands édifices du moyen âge) prétend que plusieurs boeufs s'attelèrent d'eux-mêmes à des matériaux d'un poids considérable laissés en bas de l'escarpement et les montèrent courageusement jusque dans le chantier. Nous ne garantissons pas le fait; mais la pensée du chapitre et du maître de l'oeuvre de la cathédrale de Laon est trop dans l'esprit de l'époque, pour que nous puissions voir, dans la présence de ces bêtes colossales au sommet des tours, autre chose que la consécration d'événements tenant à la construction du monument. Il y a, dans cet hommage rendu à la patience et à la force des utiles animaux qui ont contribué à l'édification de l'église, l'expression naïve d'un sentiment de justice assez touchant. Au point de vue de l'art, la présence de ces sculptures colossales donne aux sommets des tours de Laon un aspect étrange qui ne manque ni d'originalité ni de grandeur. Il n'est pas besoin de faire ressortir la beauté de cette composition. La manière dont les pinacles posés diagonalement sont portés sur les contre-forts d'angle, les riches encorbellements établis au niveau A et qui servent de transition entre la forme de ces contre-forts et celle des pinacles à jour, la sobriété des détails, les proportions si heureuses des étages de la tour, ces rappels de lignes horizontales à certaines hauteurs, font de cet ensemble un magnifique monument. Malheureusement, les constructions faites à la hâte, élevées en matériaux de médiocre qualité et avec trop peu de soin, ne répondent pas à la grandeur magistrale de cette conception. Il a fallu, de notre temps, en venir à des restaurations importantes et nécessitées par l'état de ruine de la façade de la cathédrale de Laon. Ces restaurations, dirigées avec intelligence et savoir par un de nos plus habiles confrères, permettront aux clochers de Laon de traverser plusieurs siècles.
Désormais, dans les églises du XIIIe siècle, le plan adopté à Laon pour les clochers devait l'emporter sur le plan des architectes de l'Ile-de-France. Vers 1260, on commençait à élever les deux clochers de la façade de la cathédrale de Reims, qui n'ont, comparativement à la hauteur de cette façade, qu'une médiocre importance. L'étage de leur beffroi seul se dégage des constructions inférieures 238. Mais le plan de ces clochers, pris à la base des beffrois, est remarquable. Nous le donnons ici (74), en A au niveau de la souche du beffroi, et en B au-dessous de la voûte d'arêtes à huit pans qui ferme la tour au-dessous de la flèche.

Ces flèches, projetées en pierre, ne furent point terminées; les désastres du XIVe siècle en arrêtèrent l'exécution. Si l'on compare ce plan à tous ceux que nous avons donnés précédemment dans le cours de cet article, on y trouvera un progrès sensible. Les pinacles d'angles ne sont plus là un hors-d'oeuvre, un édicule accolé aux quatre coins du clocher; ils s'y lient intimement, ils forment des couvertures voûtées sur les angles E du beffroi de charpente qui pénètrent l'octogone de la tour. Ces pinacles ne sont plus divisés en étages comme ceux des tours de la cathédrale de Laon, mais montent de fond comme les fenêtres munies de meneaux servant d'ouïes au beffroi. L'un d'eux C contient un escalier à jour qui permet d'arriver au-dessus de la voûte. Ce plan est fort bien étudié, ainsi que toutes les dispositions d'ensemble et de détail de la cathédrale de Reims; il présente une particularité toute nouvelle à cette époque; en ce qu'à l'intérieur il donne une cage carrée au beffroi, nécessaire au jeu des cloches et à la solidité de la charpente, et qu'à l'extérieur il forme une tour octogonale flanquée de quatre pinacles servant de transition entre la base carrée et la pyramide à huit pans. C'est la solution complète du problème posé par les architectes de la fin du XIIe siècle, et qui à Laon n'était qu'imparfaitement résolu. Comme construction, les clochers de la façade de la cathédrale de Reims sont traités par un maître savant et habile; l'inspection seule du plan fait connaître cette qualité essentielle; aussi ces clochers, sauf les dégradations causées par les intempéries, sont d'une parfaite solidité.
Vers la même époque, à la fin du XIIIe siècle, un architecte rémois d'un rare mérite, Libergier, construisait, dans la ville de Reims, une église dont la démolition est à jamais regrettable; c'est l'église de l'abbaye de Saint-Nicaise. À la cathédrale, les deux tours de la façade sortent de son sommet sans se lier visiblement avec elle. Les contre-forts qui épaulent les clochers sont si bien enveloppés d'ornements, de galeries se reliant avec le portail, qu'il faut faire un effort de raisonnement pour comprendre comment ces tours portent sur cet amas de colonnettes, de pinacles, d'ajours et de sculptures. À nos yeux, il y a là un défaut capital, et la richesse ou la beauté des détails ne compense pas la confusion des lignes principales, le manque de points d'appui visibles. On enlèverait à la façade de la cathédrale de Reims ses deux tours, c'est-à-dire ses deux étages de beffrois, qu'on ne s'apercevrait pas, en voyant les constructions restantes, qu'il leur manque un complément nécessaire et prévu. L'architecte de l'église de Saint-Nicaise sut éviter ce grave défaut de composition, et, bien que ses deux clochers, conformément au mode adopté vers le milieu du XIIIe siècle, fassent partie de la façade et portent sur la première travée des collatéraux, ils marquent carrément leur place dès la base de l'édifice.

Nous donnons (75) l'un de ces deux clochers, semblables entre eux 239. Au-dessus du collatéral était un étage voûté, ajouré, laissant passer la lumière à travers la fenêtre de la première travée de la nef. De la place située en avant du portail, on apercevait, à travers les fenêtres A de cette salle de premier étage, les arcs-boutants de la nef. La voûte de la salle de premier étage était élevée exactement à la hauteur de la voûte du vaisseau principal, et permettait ainsi d'éclairer la première travée de la nef. Rien n'est plus simple et mieux écrit qu'une pareille disposition, qui fait parfaitement voir la structure de l'église et qui laisse à la tour son caractère d'annexe. Des contre-forts, dépourvus d'ornements inutiles, montent jusqu'à la corniche B qui régnait de niveau avec celle de la nef. C'est sur ces contre-forts que sont portés les pinacles qui accompagnent quatre des côtés de l'octogone du beffroi. Ces pinacles sont à deux étages, l'un carré posé diagonalement comme ceux de la tour de Laon donnée ci-dessus, fig. 73, l'autre à huit pans. Une grande flèche surmonte l'étage octogone et quatre petites pyramides couronnent les pinacles. Deux galeries à jour C passant, l'une immédiatement derrière le grand pignon de la nef, et l'autre en arrière, reliaient les deux tours à mi-étage des beffrois. Les clochers de Saint-Nicaise nous paraissent être la plus complète expression du clocher gothique attenant aux façades: légèreté et solidité, disposition simple, programme exactement rempli, construction bien entendue, rien ne manque à cette oeuvre de Libergier; il ne lui manque que d'être encore debout pour nous permettre de l'étudier dans ses détails. La gravure de la façade de l'église de Saint-Nicaise est assez parfaite pour permettre de restituer le plan de l'étage du beffroi, et ce plan n'est pas moins adroitement conçu que celui des clochers de Notre-Dame de Reims. Il présente même, dans ses dispositions, les qualités de simplicité qui manquent aux clochers de la cathédrale.

Le plan (75 bis) fait voir en A la section horizontale de la tour au niveau de l'étage inférieur, et en B au niveau de l'étage supérieur des pinacles. L'octogone de la tour, formé de quatre grands côtés et de quatre plus petits à l'extérieur, inscrit la cage carrée du beffroi, et, comme à la cathédrale, les pinacles couvrent les angles de la charpente. Comme à la cathédrale aussi, ces pinacles sont des portions d'octogones en plan, mais épaulés à l'étage inférieur par les colonnes C qui inscrivent ces portions d'octogones dans des parallélogrammes rectangles. En G, on voit les retraites successives des contre-forts projetées sur plan horizontal, et en H l'une des galeries de réunion entre les deux tours. Tout cela est fort adroitement combiné, fort solide, et se comprend facilement, ce qui est une belle qualité (voy. CONSTRUCTION). Les trumeaux D, laissés pleins entre les ouïes du beffroi et les pinacles, conduisent l'oeil des contre-forts de la base aux surfaces pleines de la flèche par une heureuse transition; ils ont encore cet avantage de permettre de placer des abat-sons dans les grandes baies; on voit partout dominer la construction, l'ossature dans cet édifice, et cela sans efforts comme sans pédanterie. Les architectes du moyen âge eussent dû s'en tenir là; c'était la dernière limite à laquelle l'art de l'architecture pouvait arriver avant de tomber dans l'exagération et la recherche, et cette limite ne tarda pas à être franchie. La passion de la légèreté apparente des constructions, le désir d'élever des édifices surprenants, entraîna bientôt les architectes dans une voie fausse et qui, malgré la science qu'ils déployèrent, les fit sortir des limites du bon sens. Ce fut principalement vers les provinces de l'Est, voisines de l'Allemagne, que l'abus se fit sentir; car longtemps encore, dans le domaine royal, les architectes conservèrent une certaine modération en appliquant les principes posés vers la fin du XIIIe siècle. Le clocher de la cathédrale de Strasbourg, fondé en 1277 et achevé sur les dessins dressés pendant le XIVe siècle par Jean de Steinbach, est le résumé le plus extraordinaire de l'abus du principe gothique. Chef-d'oeuvre de science et de calcul, le clocher de Strasbourg ne produit qu'une silhouette assez disgracieuse, malgré les efforts de l'architecte, les combinaisons les plus hardies et les plus ingénieuses; et n'était sa hauteur énorme, qui fait en grande partie sa réputation, on le regarderait avec raison plutôt comme une aberration savante que comme une oeuvre d'art. Nous aurons l'occasion de parler de l'étage le plus important de ce clocher, la flèche, au mot CONSTRUCTION.
Nous ne croyons pas nécessaire de nous étendre longuement sur les clochers élevés pendant les XIVe et XVe siècles; comme principe de construction et disposition générale, ils se conforment aux beaux exemples laissés par les architectes de la fin du XIIIe siècle, et n'en diffèrent que par les détails des moulures et de la sculpture, par l'excès de la légèreté. D'ailleurs, en France, les XIVe et XVe siècles n'eurent guère le loisir d'élever des constructions dispendieuses. Le XIIIe siècle n'avait laissé que peu de choses à faire en fait de monuments religieux, et les deux siècles suivants n'eurent qu'à compléter des constructions inachevées. Nous ne possédons pas un seul grand clocher complet élevé d'un seul jet pendant cette, époque, tandis que l'Allemagne et l'Angleterre, à l'abri des guerres désastreuses qui ruinèrent alors notre pays, construisirent des tours d'église assez importantes. L'une des plus belles est le clocher de la cathédrale de Fribourg, bâti sur le porche de cette église. La flèche, fort aiguë, est complètement ajourée. Les architectes gothiques devaient nécessairement en venir là; ils n'y manquèrent pas.
Nous devons mentionner, avant de passer aux campaniles et petits clochers d'églises paroissiales, certains grands clochers élevés sur les bords de la Haute-Garonne. Ces contrées, de Muret à Agen, ne possédant pas de matériaux calcaires, la brique fut presque exclusivement employée pendant les XIIe, XIIIe, XIVe et XVe siècles, par les architectes. Toulouse possède encore un certain nombre de clochers bâtis en brique et dans la construction desquels cette nature de matériaux est employée avec un parfait discernement. Le principe de l'architecture gothique, soumis à la nature des matériaux mis en oeuvre, devait nécessairement obliger les maîtres à donner aux constructions de brique des formes différentes de celles élevées en pierre; c'est ce qui eut lieu à Toulouse. L'église des Jacobins, de cette ville, bâtie vers la fin du XIIIe siècle, se compose d'un seul vaisseau divisé en deux nefs par une rangée de longues colonnes posées sur l'axe de ce vaisseau. Des chapelles rayonnent autour de l'abside unique (voy. ARCHITECTURE MONASTIQUE, fig. 24 bis). Sur le flanc nord de l'église, en avant des travées rayonnantes, s'élève un grand clocher sur une base épaisse et ne communiquant avec la nef que par une arcade.

Ce clocher, dont nous donnons une vue perspective (76), est bâti sur plan octogonal de la base au faîte; toute sa construction est de brique, sauf les bandeaux, les gargouilles, les chapiteaux et les pinacles, qui sont en pierre, et les colonnettes de la balustrade supérieure qui sont en marbre. Le rez-de-chaussée seul est voûté. Du dessus de cette voûte, élevée de 24m,75 au-dessus du pavé de l'église, la construction est d'une seule venue, sans voûtes ni planchers. Chaque étage se retraite de 0,08 c. à l'intérieur.

Nous donnons (77) le quart du plan de l'étage supérieur. Si ce n'est cette retraite qui diminue le diamètre de la tour à chaque étage, ceux-ci sont tous semblables comme hauteur et comme ordonnance; le premier étage seul, compris entre le dessus de la voûte et la corniche du vaisseau, est plus élevé que les autres et présente sur chaque face de l'octogone des arcades jumelles aveugles. Les quatre autres étages, semblables entre eux, sont ajourés d'arcatures fermées, non point par des archivoltes, mais par des imbrications formant des angles droits au sommet.
Le détail du dernier étage de la tour (78) fera saisir cette construction singulière, parfaitement motivée par la nature des matériaux mis en oeuvre. Il est évident que l'architecte a employé un seul échantillon de brique et n'a pas voulu faire mouler des claveaux, ce qu'il eût été forcé d'ordonner s'il eût fermé les arcatures par de petites archivoltes cintrées. Cependant les colonnes engagées des piles sont cylindriques et ont été moulées exprès; mais il est beaucoup plus aisé de donner une forme particulière à la brique, avant la cuisson, sur sa tranche que sur son plat. Seules, les briques des arcs de la balustrade supérieure sont moulées en claveaux. Il est clair aussi que la pierre, étant fort rare, n'a été employée qu'exceptionnellement dans cette bâtisse et pour l'exécution des membres d'architecture qui ne pouvaient être faits d'une autre matière.

Dans la fig. 78, les assises de pierre sont indiquées. Un escalier à vis accolé au clocher monte jusqu'à la hauteur de la corniche de l'église; de là, au sommet de la tour, on montait par des échelles. Le clocher des Jacobins de Toulouse n'a jamais dû être couronné par une flèche; cependant, nous trouvons des clochers analogues à Toulouse, à Caussade, à Montauban, qui sont terminés par des pyramides aiguës, à huit pans, en brique; mais cette dernière disposition est d'une époque plus récente.
Les clochers de la Haute-Garonne sont, en France, une exception qui appartient uniquement à cette contrée; exception justifiée par la rareté de la pierre à bâtir, et tous ont entre eux une telle analogie, que l'exemple donné ici, le plus beau et le plus complet, nous dispensera de nous étendre plus longuement sur ce mode de construction.
Il nous faut encore revenir en arrière afin de trouver l'origine d'une certaine disposition de clochers, disposition dont il ne reste que peu d'exemples antérieurs au XIVe siècle, mais qui cependant doit être fort ancienne. Nous voulons parler des clochers terminés par deux pignons et un comble à deux égouts. C'est dans l'Île-de-France, sur les bords de l'Oise et de la Marne, que nous rencontrons un certain nombre de ces clochers appartenant toujours à de petites églises. C'était là, en effet, un moyen économique de couronner les clochers, et nous avons déjà fait voir qu'antérieurement au XIIe siècle, ces provinces, moins riches que les provinces de l'Ouest et du centre, n'avaient donné à leurs tours d'églises que des dimensions relativement restreintes. Sur les bords de la Seine, de la basse Marne, de l'Oise et de l'Aisne, il existe un nombre prodigieux d'églises paroissiales, des XIe et XIIe siècles, ayant conservé leurs clochers; modestes constructions ne se composant guère que d'un soubassement plein et d'un étage de beffroi; mais presque tous ces clochers ont perdu leurs couronnements primitifs, qui ont été remplacés par des flèches en pierre ou en bois pendant les XIIIe, XIVe et XVe siècles. Bon nombre de ces clochers devaient être terminés primitivement par des pyramides en pierre peu élevées; mais un plus grand nombre encore étaient couverts par des pignons et un toit, ce moyen de construction étant le moins dispendieux de tous ceux que l'on peut adopter. À défaut de monuments de quelque importance existant aujourd'hui et dans lesquels nous pourrions étudier ce genre de couronnement, il nous faut avoir recours aux représentations de ces monuments sur les bas-reliefs. Or il existe, à la porte Sainte-Anne de la cathédrale de Paris, un grand tympan du XIIe siècle, représentant la Vierge assise sous un dais magnifique. Ce dais se compose d'une sorte de coupole flanquée de deux clochers qui nous donnent, exécuté avec un soin minutieux, l'un de ces couronnements que nous chercherions vainement sur les monuments mêmes. Et il ne s'agit pas ici de ces pignons d'une simplicité telle qu'on ne saurait leur assigner une date, mais bien d'une composition riche et qui d'ailleurs doit éclaircir à nos yeux plusieurs points importants touchant la terminaison de certains clochers de l'Île-de-France pendant la période romane.

Voici (79) une copie de ce petit modèle de clocher. Nos monuments romans s'arrêtent généralement au niveau marqué en A sur notre gravure. On voit ici, à partir de ce niveau A, une pyramide tronquée formée de quatre assises de pierres couvertes de dents-de-scie, puis une loge composée de colonnes isolées reliées par de petits arcs et portant une corniche à modillons sur laquelle s'élève un pignon décoré d'une double arcature et terminé par une croix. La place des cloches est bien marquée par la disposition très-ajourée de la loge et du pignon supérieur. Les derniers étages de ce clocher se retraitent, ainsi que nous l'avons supposé dans la restauration du gros clocher de Saint-Benoît-sur-Loire, et la base, comparativement large, se distingue, par une forte saillie, du reste de la construction. Le système de loges adopté pour l'étage supérieur destiné au beffroi nous a toujours paru devoir être la disposition primitive du couronnement des clochers romans au nord de la Loire. Le modèle reproduit fig. 79, quantité de bas-reliefs et certaines vignettes de manuscrits, ne font que fortifier notre opinion. Les loges bâties au sommet des tours des églises devaient nécessiter la construction de toits à double égout et à pignons, ou tout au moins de pavillons en charpente. Il ne faut pas oublier d'ailleurs ce que nous avons dit au commencement de cet article relativement à la dimension des cloches anciennes et au peu d'espace nécessaire à leur suspension. Nous avons fait remarquer que des murs percés d'arcades, élevés sur les façades des églises, devaient suffire à loger des cloches dont le diamètre était fort petit. Nous trouvons en effet, à une époque fort ancienne, des clochers, en grand nombre, ainsi disposés dans le midi de la France et même dans les provinces du Nord. La petite église de Rue-Saint-Pierre (Oise), dont la façade date du commencement du XIe siècle, possède un clocher de ce genre.

Afin de mieux faire comprendre la disposition de ce clocher, nous donnons (80) l'ensemble de cette façade en A, et son élévation latérale en B. Deux contre-forts CC, montant de fond et formant au rez-de-chaussée les jambages de la porte, viennent épauler le mur percé de deux arcades réservées au placement des cloches. La tête de ce mur est couverte par des assises de pierre en talus. On sonnait les cloches de l'intérieur, au moyen de potences en fer attachées aux moutons, ainsi qu'il est indiqué en D, et de cordes passant à travers le comble. Il est difficile de suspendre des cloches à moins de frais. Mais ces clochers, qui n'étaient exactement qu'une construction remplissant un besoin, sans nulle décoration, se trouvaient plus souvent élevés dans le voisinage de la sacristie, sur un des murs goutterots de l'église ou sur un contre-fort. Dans de petites églises de villages dont le gouvernement spirituel était entre les mains d'un seul prêtre, celui-ci n'avait pas à ses ordres un personnel nombreux, et était obligé, avant de monter à l'autel, de sonner lui-même la cloche; il était naturel dès lors de placer le clocher à proximité de la sacristie.

La petite église de Froissy (Côte-d'Or) a conservé un de ces clochers bâti, au XIIIe siècle, sur un contre-fort dans le voisinage du choeur; nous en donnons une vue (81). Dans les provinces méridionales, on rencontre bon nombre de clochers de ce genre qui ont une certaine importance, mais dont la construction ne remonte guère au delà du XIIIe siècle. Il faut dire que ces sortes de bâtisses, exposées aux vents et à la pluie, ne pouvaient résister aussi longtemps aux intempéries que des tours couvertes, et les clochers romans à arcades simples, élevés dans ces contrées, où les matériaux sont tendres et sensibles aux agents atmosphériques, ont dû être souvent reconstruits. En effet, l'église de Lalande de Libourne, dont nous donnons une élévation géométrale (82), présente sur sa façade, qui date du XIIe siècle, un clocher à arcades dont les jambages sont encore romans, et dont les archivoltes ont été reconstruites au XIIIe ou au XIVe siècle.
Il existe des clochers d'une époque plus récente dans la Guyenne et le
Languedoc, où les constructions de brique sont si fréquentes, qui
possèdent jusqu'à cinq, six et même dix arcades propres à recevoir des
cloches; ce sont le plus souvent de simples pignons percés de baies
posées trois trois, ou trois et deux, trois, deux et une, ou quatre,
trois, deux et une. Ces sortes de clochers n'ont pas généralement de
caractère architectonique qui les distingue des bâtisses les plus
vulgaires; cependant on rencontre près de Toulouse quelques clochers
assez élégants élevés d'après ce principe: nous citerons entre autres
celui de Ville-Nouvelle, dont les deux étages d'arcades triples sont
flanqués de deux tourelles contenant des escaliers avec passage d'une
tourelle à l'autre devant les arcades.
Quant aux clochers couronnés par des pignons et des toits à double égout, on les rencontre en grand nombre annexés à de petites églises et qui datent des XIIIe, XIVe et XVe siècles, dans le Beauvoisis et la Brie. Parfois même, au lieu de deux pignons, les tours en possèdent quatre ou deux combles se pénétrant, formant ainsi quatre noues, et couronnées par une flèche. La petite église de la Chapelle-sous-Crécy (Seine-et-Marne) a conservé un clocher de ce genre, qui est un des plus complets que nous connaissions; il date de la seconde moitié du XIIIe siècle. Nous en présentons l'élévation (83). À l'extrémité dès quatre noues, quatre gargouilles en pierre rejettent les eaux des combles loin des parements. La petite flèche en bois, recouverte d'ardoise, est sur plan octogone; ses arêtiers sont posés sur les faîtages des combles et dans les noues, ce qui est parfaitement entendu 240 (voy. FLÈCHE).
Les clochers à quatre pignons sont très-fréquents sur les bords du Rhin, à dater du XIIe siècle; mais leurs couronnements présentent une singularité qui appartient uniquement à ces provinces et qui n'est guère imitée en France que dans leur voisinage. Ces couronnements consistent en une pyramide à huit pans, dont quatre des arêtiers posent sur les angles de la tour et les quatre autres sur l'extrémité des quatre pignons; de sorte que c'est l'inclinaison des faces de la pyramide qui donne forcément la hauteur des pignons; plus la pyramide est aiguë, plus ces pignons sont élevés.

En effet, soit (84) A B C D le plan de la tour carrée sur laquelle est posée la pyramide à plan octogonal. En élevant un pignon sur le côté du carré A C, ce pignon devra puisqu'il porte l'arêtier E O rencontrer cet arêtier au point G. Or, fig. 84 bis, E O étant l'arêtier, EP l'axe de la pyramide, le pignon A C G du plan figurée en coupe, élevé sur le point G, rencontrera l'arêtier en L; mais si l'arêtier présente une plus forte inclinaison, suivant la ligne E'O par exemple, le pignon figuré en coupe, élevé sur le point G, rencontrera le second arêtier en M. Donc, les pignons ont d'autant plus d'élévation que la flèche est plus aiguë.
Une vue (85) de l'un des clochers de la cathédrale de Spire fera comprendre notre démonstration. À Spire, les flèches de couronnement sont en grès; mais souvent ces couvertures des clochers sont en charpente, quoiqu'elles affectent la forme indiquée ici. L'effet de ces couronnements de clochers n'est pas heureux, car il semble que les arêtiers qui rencontrent les sommets des pignons n'ont pas une assiette suffisante, qu'ils poussent au vide, et nous ne saurions blâmer nos architectes du moyen âge de n'avoir pas adopté ce système de construction. Ce n'est pas là, d'ailleurs, le seul défaut que nous pouvons reprocher aux clochers des bords du Rhin, de l'époque romane. On voit (fig. 85) que les deux derniers étages de la tour sont identiques: or il arrive souvent que ces tours possèdent jusqu'à six étages pareils ainsi superposés; cela donne à ces édifices un aspect monotone qui fatigue; on ne sait quel est celui ou ceux de ces étages qui contiennent des cloches, ou s'ils n'en contiennent pas tous. Les clochers du Rhin n'ont ni commencement ni fin, et on ne comprend pas pourquoi la construction comporte tant d'étages, ou pourquoi elle s'arrête au cinquième ou au sixième plutôt qu'au second. Les couronnements ne se relient d'aucune manière avec les étages carrés. Il y a là un manque total de goût et du sentiment des proportions, bien éloigné de nos conceptions françaises de la même époque, dont toutes les parties se lient avec art, et auxquelles il ne semble pas qu'on puisse rien retrancher ni rien ajouter.
Puisque nous venons de faire une excursion hors de France, nous parlerons aussi des clochers de Provence, qui ne sont pas plus français que les clochers du Rhin. Si les arts de Lombardie et des côtes de l'Adriatique avaient eu sur les bords du Rhin une puissante influence, les monuments romains qui couvraient le sol de la Provence régnaient encore en maîtres dans cette contrée au XIIe siècle. Les Romains de l'antiquité n'avaient pas construit de clochers, mais ils avaient érigé certains monuments votifs ou funéraires, comme celui de Saint-Remy par exemple, qui, à la rigueur, pouvaient fournir des types de clochers aux architectes du moyen âge. Ceux-ci, à défaut d'autres traditions ou influences, ne manquèrent pas de prendre pour modèles ces débris de l'architecture romaine. Nous trouvons, planté sur le pignon de la façade de l'église de Molléges (Bouches-du-Rhône), un petit clocher du XIIe siècle qui reproduit assez exactement, quoique d'une manière barbare, le monument antique de Saint-Remy. Le clocher de Molléges n'a pas plus de 2m,06 à sa base hors oeuvre: il se compose d'un étage carré, porté sur quatre piliers réunis par quatre archivoltes, et d'une lanterne sur plan circulaire.


Nous donnons (86) le plan de l'étage inférieur, (87) le plan de la lanterne, et (88) l'élévation, géométrale de ce clocher, dont l'unique cloche était suspendue au centre de la lanterne circulaire 241. Cette cloche, dont le bord inférieur devait se trouver au niveau B, ne pouvait être mise en branle; elle était fixée très-probablement à une traverse intérieure posée sur la corniche au niveau A, et le sonneur, placé sous l'arcature en C, se contentait de frapper le battant contre le bord de la cloche, autrement dit, de tinter au moyen d'une cordelle attachée à l'extrémité inférieure du battant, ainsi que cela se pratique encore dans toute l'Italie méridionale. La partie supérieure de ce clocher de Molléges, à partir du niveau A, n'existe plus.
Nous ne croyons pas nécessaire de nous étendre sur les diverses applications de l'art antique romain aux clochers des églises provençales, car ce serait sortir de notre sujet, ces exemples n'ayant aucun des caractères de l'architecture française proprement dite, et ne devant être signalés que comme ayant pu exercer une certaine influence sur les constructions élevées le long du Rhône, en dehors de cette province et jusque dans le Lyonnais.
Avant de terminer, nous devons signaler l'existence de clochers bâtis sur plan barlong très-prononcé, qui servent de transition entre le clocher à arcades simples comme ceux donnés fig. 80, 81 et 82, et les clochers tours. Ces clochers sur plan barlong sont rares. Il en existe un fort gros et fort ancien sur la façade de l'ancienne cathédrale de Carcassonne servant originairement à la défense de la cité. Nous en possédons un autre d'une époque plus récente (commencement du XIIIe siècle), bâti sur le mur renforcé de l'unique chapelle latérale de la petite église de Thoureil (Maine-et-Loire). Élevé dans le voisinage de la sacristie et du sanctuaire, ce clocher était ainsi à portée du desservant. Voici comment il est placé à rez-de-chaussée (89).

A est le plan de la chapelle latérale bâtie sur le bord de la Loire; un berceau bandé sur le renfoncement B porte sur le pilier C et sur le massif E contrebutté par un épais contre-fort descendant jusque dans le fleuve. Au-dessus du comble de l'église, le beffroi du clocher de Thoureil présente le plan (90). La figure allongée de ce plan fait assez voir que les cloches devaient être mises en branle dans le sens de la longueur. En élévation (91), ce clocher, dont le couronnement n'existe plus à partir du niveau F, est enrichi d'une arcature aveugle sous le beffroi, et ne laisse pas d'être assez élégant, malgré l'extrême simplicité de son plan 242.

À dater du XIVe siècle, en France, les clochers des églises conservent longtemps la forme et les dispositions adoptées au XIIIe siècle, et n'en diffèrent que par les détails qui suivent le mouvement imprimé dès cette époque aux arts de l'architecture; c'est-à-dire que leurs points d'appui tendent à devenir plus grêles, leurs flèches et couronnements de plus en plus élancés. Les clochers se couvrent de découpures de pierre, se percent d'ajours surprenants, mais la masse reste la même. Or ces détails trouvant leur place dans le Dictionnaire, nous n'avons pas à nous en occuper ici. D'ailleurs, ainsi que nous l'avons dit déjà, les désastres politiques des XIVe et XVe siècles ne laissèrent pas aux monastères, aux évêques et aux paroisses, le loisir d'élever des clochers d'une certaine importance. Beaucoup de ces tours, commencées vers le milieu du XIIIe siècle, restèrent inachevées et ne furent terminées qu'à la fin du XVe siècle et au commencement du XVIe. Lorsque l'architecture qui avait pris naissance, pendant le XIIe siècle, dans le domaine royal et les provinces voisines, se fut répandue sur toute la surface de la France, ces différences d'écoles, si intéressantes à étudier pendant la période romane, disparurent pour faire place à des reproductions à peu près uniformes d'un type unique. Le clocher est le monument qui indique le plus nettement les nombreuses variétés de l'art de l'architecture sur le sol des provinces françaises jusqu'au XIIe siècle. L'esprit provincial s'éteignant sous la main du pouvoir royal, cette variété s'efface. Si la nation y gagna au point de vue de la politique, l'art y perdit de son originalité, et les reproductions des types mis en honneur dans le domaine royal furent souvent incomplètes ou mal comprises dans les provinces éloignées. Cependant les clochers furent longtemps les monuments affectionnés par les villes; après chaque désastre, les populations s'empressaient de les reconstruire ou de les réparer du mieux qu'elles pouvaient. On dit encore, de notre temps, l'influence de clocher, pour désigner l'esprit local, la défense exclusive des intérêts de la ville, et nous voyons chaque jour de pauvres villages s'imposer de lourdes charges pour élever un clocher sur leur église.
L'état des arts de l'architecture aujourd'hui ne répond pas aux désirs et aux efforts des populations des villes ou des campagnes, et les clochers, en grand nombre, construits dans notre pays depuis trente ans, ne fourniront pas, dans quelques siècles, un sujet d'étude intéressant pour nos successeurs: mal conçus généralement, plus mal bâtis, présentant des silhouettes lourdes ou démanchées, ils ne dureront guère, et s'ils sont laids la plupart, nous pouvons au moins nous en consoler en pensant qu'ils ne témoigneront pas longtemps de ce retour vers l'un des goûts les plus vifs des populations au moyen âge. Après les tours carrées, froides et flanquées de pilastres, élevées sur nos églises, de 1815 à 1840, on a cherché à se rapprocher des types laissés par les XIIe et XIIIe siècles; mais ces derniers essais font, la plupart, ressortir la faiblesse de nos études et la pauvreté d'invention des artistes modernes.
Note 212: (retour) De nos jours encore, dans la Vienne, la Dordogne et la Corrèze, on couvre les habitations privées de cette manière: on dresse une charpente très-légère, qui n'est, à proprement parler, qu'une forme, et sur cette forme on pose des assises de moellons en encorbellement de la base au faîte. La construction achevée, on pourrait enlever la charpente intérieure. C'est évidemment là une tradition fort ancienne.
Note 226: (retour) De 859 à 861, l'église abbatiale de Saint-Bertin de Saint-Omer, après avoir été incendiée par les Normands, fut rebâtie, et le clocher de cette nouvelle église était terminé par une charpente contenant trois étages de cloches, sans compter la flèche; le tout était couvert de plomb. (Voy. les abbés de Saint-Bertin, d'après les anciens mon. de ce monast., par H. de Laplane; prem. part., p. 66; 1854, Saint-Omer.)
Note 227: (retour) Les clochers posés à droite et à gauche du sanctuaire étaient, particulièrement dans les églises abbatiales, destinés à la sonnerie des offices. Du choeur, les clercs étaient ainsi à portée des clochers sans sortir de l'enceinte cloîtrée. Les clochers des façades étaient réservés aux sonneries des fêtes et à celles qui appelaient les fidèles du dehors.
Note 228: (retour) Ce mouvement, qui se produit, vers le milieu du XIIe siècle, dans les arts et les lettres, est trop marqué pour ne pas fixer l'attention de tous ceux qui étudient les oeuvres de cette époque. Nous avons l'occasion de le signaler bien des fois dans ce Dictionnaire. Il appartient à l'esprit moderne, c'est son premier et son plus puissant effort, et nous n'avons pu encore deviner pourquoi quelques hommes distingués, savants, qui repoussent les préjugés vulgaires, mais d'ailleurs étrangers à l'art de bâtir, veulent séparer (en ce qui concerne l'art de l'architecture) ces tendances de celles de notre époque, et surtout ne pas admettre qu'elles appartiennent à notre pays, comme si c'était une tache pour nous. Si nous parvenons à découvrir la cause de ce dissentiment entre ces personnes et nous, pendant le cours de notre ouvrage, nous promettons d'en instruire nos lecteurs.
Note 231: (retour) Ces effets sont sensibles dans presque tous les clochers romans, surtout depuis qu'on les a garnis de cloches très-pesantes que l'on sonne à grande volée. N'oublions pas que nous avons dit en commençant cet article que les cloches, jusqu'au XIIe siècle, étaient petites, et quelles n'étaient pas destinées à être sonnées à grande volée. Le clocher de la Trinité de Vendôme est encore intéressant à étudier, à ce point de vue qu'il indique évidemment, par la manière dont il est construit, le placement de cloches pesantes sonnées à grande volée.
Note 232: (retour) Au commencement du XIIIe siècle, ce porche fut supprimé et le pignon de la nef avancé au ras du parement occidental et des tours, ce qui leur fit perdre leur aspect primitif (voy. CATHÉDRALE). Ce fut très-probablement à la suite de l'incendie de 1194 que ce pignon fut reconstruit dans cette nouvelle position. Du monument commencé par Fulbert et achevé vers le milieu du XIIe siècle, il ne resta debout, après cet incendie, que les deux clochers de la façade occidentale. Le porche bas, recouvert d'une terrasse qui les réunissait, fut supprimé, et la nouvelle nef du XIIIe siècle avancée jusqu'au parement extérieur des deux clochers. Pintard, dans son Histoire chronologique de la ville de Chartres, dit, p. 193: «En l'année 1145, les deux grands clochers furent bâtis hors oeuvre au bout de la nef, suivant la pensée de quelques-uns qui se persuadent que la clôture de la nef et la façade de l'église n'ont été apportées jusqu'à la ligne du devant des clochers que depuis ce temps-là, quoiqu'il n'en paraisse aucun vestige sensible.» Pintard est dans l'erreur, les vestiges de l'ancienne disposition de porche sont parfaitement apparents, et l'opinion des «quelques-uns» qu'il cite est de la plus grande justesse. L'éditeur du Livre des miracles de Notre-Dame de Chartres (manuscrit du XIIIe siècle, en vers), M. Duplessis, croit que la flèche du clocher vieux de Chartres est postérieure à l'incendie de 1194. Mais cette opinion est démentie par le caractère des sculptures et moulures de cette flèche et par sa construction. Avant l'incendie de 1836, nous avons vu, dans l'intérieur de cette flèche, les traces de l'incendie de 1194, qui ne fit que brûler l'ancien beffroi, probablement peu important, traces qui étaient absolument les mêmes que celles encore visibles en dedans de l'étage carré au-dessous de cette flèche.
Note 239: (retour) Notre dessin est fait d'après une charmante gravure, très-rare aujourd'hui, datée de 1625 et signée de N. De Son, Rémois. Contrairement aux habitudes des graveurs de cette époque, le caractère de l'édifice est reproduit avec une perfection qui ne laisse rien à désirer, les détails dessinés avec une finesse qui rappelle les meilleures gravures de Callot, la construction indiquée avec un soin scrupuleux. Cette gravure porte 0,39 c. de hauteur sur 0,30 c. de largeur, non compris le titre et les armoiries gravés en haut et en bas hors cadre. Une quantité de figures finement touchées remplissent la place en avant du portail. Il existe une copie de cette gravure qui lui est très-inférieure.
CLOÎTRE, s. m. Cloistre, clouastre. Cour entourée de murs et de galeries établies à côté des églises cathédrales, collégiales et monastiques. Dès les premiers temps du christianisme, des cloîtres furent élevés dans le voisinage immédiat des églises. La forme des cloîtres en plan est généralement celle d'un carré 243. Les abbayes possédaient deux cloîtres: l'un près de l'entrée occidentale de l'église; l'autre à l'Orient, derrière l'abside. Le premier donnait accès dans les réfectoires, les dortoirs, la salle capitulaire, la sacristie, le chauffoir et les prisons; c'était le cloître des religieux dans lequel tous pouvaient circuler. Le second était particulièrement réservé à l'abbé, aux dignitaires et aux copistes; plus retiré, plus petit que le premier, il était bâti dans le voisinage de la bibliothèque, de l'infirmerie et du cimetière. Les cathédrales avaient toutes un cloître accolé à l'un des flancs de la nef, soit au nord, soit au sud; celui-ci était entouré par les habitations des chanoines qui vivaient sous une règle commune. Souvent les écoles étaient élevées dans le voisinage des cloîtres des abbayes et des cathédrales. Dès le IXe siècle, les synodes s'étaient occupés de la clôture des chapitres des cathédrales 244. «Il est nécessaire, disent ces assemblées, que les évêques établissent des cloîtres à proximité des églises cathédrales, afin que les clercs vivent suivant la règle canonique, que les prêtres s'y astreignent, ne délaissent pas l'église et n'aillent point habiter ailleurs.» Il est dit aussi qu'un réfectoire et un dortoir doivent être bâtis dans l'enceinte de ces cloîtres.
«La diversité des demeures et des offices dans le cloître, dit Guillaume Durand 245, signifie la diversité des demeures et des récompenses dans le royaume céleste: «Car, dans la maison de mon Père, il y a beaucoup de «demeures,» dit le Seigneur. Et, dans le sens moral, «le cloître représente la contemplation dans laquelle l'âme se replie sur elle-même, et où elle se cache après s'être séparée de la foule des pensées charnelles, et où elle médite les seuls biens célestes. Dans ce cloître, il y a quatre murailles, qui sont le mépris de soi-même, le mépris du monde, l'amour du prochain et l'amour de Dieu. Et chaque côté a sa rangée de colonnes... La base de toutes les colonnes est la patience. Dans le cloître, la diversité des demeures, c'est celle des vertus.»
La disposition la plus habituelle du cloître d'abbaye est celle-ci: une galerie adossée à l'un des murs de la nef, avec une entrée sous le porche et une entrée dans le voisinage de l'un des transsepts; une galerie à l'ouest, à laquelle viennent s'accoler les bâtiments des étrangers, ou des magasins et celliers ayant des entrées sur le dehors; une galerie à l'est donnant entrée dans la sacristie, dans la salle capitulaire et les services ecclésiastiques; la dernière galerie, opposée à celle longeant l'église, communique au dortoir et au réfectoire. Les cloîtres des cathédrales étaient entourés de maisons servant de demeure aux chanoines; quelquefois ceux-ci mangeaient en commun. Les écoles étaient adossées à la galerie de l'ouest proche de l'entrée de l'église. Nous devons ajouter ici qu'habituellement les cloîtres des abbayes sont bâtis du côté méridional de l'église, tandis que ceux des cathédrales sont le plus souvent au nord 246. L'orientation du midi est de beaucoup la plus agréable dans notre climat, et il n'est pas surprenant que les religieux l'aient adoptée pour leur cloître. Mais, dès une époque très-reculée, les évêchés avaient naturellement pris cette situation comme la meilleure, et le côté nord des cathédrales restait seul pour bâtir les cloîtres.
Les dispositions des cloîtres d'abbayes ne furent guère modifiées jusqu'au XVIe siècle; tandis que les cloîtres des cathédrales, au contraire, subirent de notables changements, par suite des usages des chapitres, plus variables que ceux des religieux réguliers. On continuait à désigner sous la dénomination de cloître des cathédrales des amas de constructions qui n'avaient plus rien, dans leur ensemble ou leurs détails, des dispositions que nous avons indiquées en commençant cet article. Ainsi, par exemple, le cloître de Notre-Dame de Paris, du temps de Louis le Gros, se composait de maisons canoniales bâties dans son enceinte et de plusieurs autres au dehors. Ce prince, avant de monter sur le trône, fit abattre une partie de ces maisons sises hors du cloître, mais qui jouissaient cependant des mêmes franchises que celles de l'intérieur; il répara ce tort fait au chapitre le jour de son mariage. Au commencement du XIVe siècle, le cloître de Notre-Dame de Paris, qui s'étendait, au nord et à l'est de la cathédrale, jusqu'aux bords de la Seine, renfermait trente-sept maisons canoniales. «Lorsqu'un chanoine venait à mourir 247, la maison, si elle était dans le cloître, pouvait être occupée par la famille pendant quinze jours; ensuite elle était visitée par le chapitre, et réparée, s'il y avait lieu, aux frais de la succession du défunt; puis elle était vendue par licitation à un autre chanoine, sur la mise à prix fixée par le chapitre. Dans le cas où l'adjudicataire aurait eu déjà une maison dans le cloître, il pouvait la vendre, toujours à un chanoine, et disposer du prix à sa volonté; mais le prix de la maison du chanoine défunt devait être converti en rentes pour la célébration de son anniversaire... Tout chanoine qui recevait une maison dans le cloître était tenu de jurer que, dans l'année précédant le jour où il l'avait reçue, il avait fait son stage à Paris pendant vingt semaines, en passant une heure par jour soit au chapitre, soit dans l'église, et qu'il se proposait d'agir de même dans la suite. Il s'engageait en outre, par serment, à entretenir la maison et ses dépendances en aussi bon état, sinon en meilleur état qu'elles lui avaient été remises; enfin, à acquitter exactement la pension et les autres charges auxquelles la maison était imposée 248.» Ces maisons étaient dotées de terres et de rentes, mais elles étaient en même temps grevées de charges nombreuses et très-variées; aussi les chanoines cherchaient-ils les moyens de diminuer, autant que faire se pouvait, l'étendue de ces charges par des bénéfices étrangers à leur état. Ils vendaient du vin en détail, ouvraient même des tavernes, louaient partie des locaux qui leur étaient affectés; aussi les statuts capitulaires suppriment expressément ces abus, ce qui prouve qu'ils existaient. Ils défendent aussi à tout chanoine de laisser passer la nuit dans la maison claustrale «à aucune femme, religieuse ou autre, à l'exception de sa mère, de sa soeur, de sa parente au troisième degré, ou d'une femme de haut rang qu'on ne peut éconduire sans scandale 249.» Ces statuts s'élèvent à plusieurs reprises, pendant les XIIIe et XIVe siècles, contre les abus résultant de la présence des femmes dans le cloître des chanoines. Le cloître de Notre-Dame de Paris, comme la plupart de ceux des grandes cathédrales, était donc plutôt une agglomération de maisons comprises dans une enceinte fermée qu'un cloître proprement dit. Cependant nous verrons tout à l'heure que les maisons capitulaires n'excluaient pas les galeries de cloîtres dans certaines églises cathédrales. Les cloîtres de cathédrales conservaient ainsi souvent la physionomie d'un quartier ayant son enceinte particulière, ses rues et ses places. L'abbé Lebeuf 250 nous apprend que le cloître de la cathédrale d'Auxerre n'était, vers 1350, «qu'un amas de maisons voisines de l'église Saint-Étienne, dont la plupart appartenoient au Chapitre par donation des particuliers, par échange ou par acquisition... Qu'il n'y avoit que deux portes à ce cloître, vers la rivière de l'Yonne... L'on n'est pas bien certain, ajoute-t-il, quelles étoient les bornes du cloître dans le quartier d'en haut. Il y avoit seulement quelques marques qui en désignoient les limites, comme de grandes fleurs de lis et des croix de fer. Mais cet espace, quoique non fermé de ce côté-là, contenoit environ la moitié de l'ancien Auxerre. Il y avait franchise et immunité dans tout ce territoire pour tous les laïques même qui y demeuroient et qui la vouloient reconnaître et la requéroient. L'évêque y avoit seul toute seigneurie et justice temporelle haute, moyenne et basse, excepté dans les maisons des chanoines que l'évêque Érard avoit exemptées de sa juridiction temporelle... Le comte qui avoit disputé cette justice à l'évêque avoit succombé. Il avoit aussi reconnu que ce que l'évêque Érard en avoit cédé au Chapitre pour les maisons canoniales, et que ce qui en dépend au delà des anciens murs, c'est-à-dire ce qui constituoit dès lors les jardins de quelques-uns, appartenoit légitimement au Chapitre. En conséquence, un de ces comtes avoit accordé à l'évêque et au Chapitre de pouvoir faire des murs et des portes dans les endroits où se terminoit le cloître vers le milieu de la cité, à condition de les tenir ouvertes depuis le point du jour jusqu'au couvre-feu, comme on le faisoit à l'égard des deux anciennes portes: et ce traité avoit été confirmé par le roi, qui avoit permis la clôture aussi bien que l'évêque; mais cette clôture, quoique bien autorisée; n'avoit point été consommée. Le Chapitre avoit seulement fait pour cela des préparatifs de matériaux. Ainsi, les bourgeois avoient toujours passé librement de nuit comme de jour dans les rues du cloître Saint-Étienne, et y avoient fait passer leurs voitures... Les chanoines étoient cependant toujours en droit d'user de la permission qu'ils avoient obtenue. Ils s'appuyoient sur le pouvoir de l'évêque qui la leur avoit accordée, disant qu'un seigneur haut justicier peut se fermer quand il le juge à propos; que l'abbé de Saint-Germain avoit bien fait bâtir nouvellement, dans sa justice, une tour pour les prisonniers qui occupoit une partie de la rue, et que les habitants d'Auxerre, qui s'y étoient opposés d'abord, avoient ensuite quitté prise; que l'on avoit plusieurs exemples de rues du cloître Saint-Étienne qui avoient été fermées avec la permission de l'évêque, et dans lesquelles on avoit construit des arcades ou allées, pour passer d'une maison à l'autre par-dessus le chemin..... etc.» Les chanoines fondaient leur demande de clôture principalement sur ce que des accidents étaient arrivés récemment pendant la nuit. Un chanoine avait été tué en allant à matines; des cavaliers avaient enfoncé des portes; un autre chanoine avait été blessé par des sergents du comte; le prévôt et les châtelains d'Auxerre étaient venus une autre fois, au point du jour, chez un chanoine collecteur des décimes du roi, avaient brisé ses portes, abattu un escalier, maltraité ce chanoine et pillé la maison. Une autre fois, le bailli et le prévôt d'Auxerre avec leurs gens, au nombre de plus de quatre-vingts, avaient assiégé le chanoine Raoul Jouvain dans sa maison. Des cavaliers étaient venus, la nuit, dans le cloître, pour s'emparer des chevaux des chanoines. Enfin, les insultes étaient devenues si communes que, quand on voulait menacer un chanoine ou un clerc de l'église, on disait: «Je te trouverai quand tu iras à matines.» Au mois d'octobre 1351, cinq ou six cents des plus notables de la ville d'Auxerre, immédiatement après complies, se fondant sur ce que le bailli de Sens, ignorant ces insultes récentes, avait rendu une sentence qui maintenait aux bourgeois le droit de passer quand bon leur semblait par le cloître Saint-Étienne, vinrent se promener par toutes les rues du cloître en menaçant les chanoines d'abattre leurs maisons et de leur faire leurs couronnes rouges; ils ne se retirèrent qu'après avoir rempli d'immondices les rues du cloître en plein jour et par dérision. L'affaire fut portée à la cour du parlement, et le chapitre de Saint-Étienne se dessaisit de ses droits de clôture moyennant une somme de deux mille livres, que la ville paya en quatre termes. Nous avons résumé cette longue discussion, afin de faire connaître à nos lecteurs l'extension qu'avaient prise certains cloîtres de cathédrales, et aussi les graves désordres que faisaient naître dans une ville populeuse les priviléges accordés ainsi à des quartiers tout entiers formant comme une cité dans la cité.
Les dispositions générales des cloîtres de cathédrales ou de monastères étant connues, nous nous occuperons seulement des édifices auxquels ce nom est particulièrement resté, c'est-à-dire des galeries couvertes bâties dans le voisinage des églises.
Il est à croire que les premiers cloîtres n'étaient que des portiques dans le genre des portiques antiques, c'est-à-dire des appentis en charpente portés sur des colonnes dont la base reposait sur le sol. Nous avons cherché vainement à découvrir à quelle époque la disposition si connue de l'impluvium romain fut modifiée pour adopter celle que nous voyons admise dans les cloîtres les plus anciens. Il dut y avoir une transition qui nous échappe, faute de monuments décrits ou bâtis existant encore. Car il est une démarcation bien tranchée entre l'impluvium romain et le cloître chrétien de nos contrées, c'est que, dans le premier, les rangées de colonnes portent directement sur le sol et que l'on peut passer de la galerie dans le préau entre chaque entre-colonnement; tandis que, dans le second, les piles ou colonnes sont toujours posées sur un socle, bahut ou appui continu qui sépare la galerie du préau et qui n'est interrompu que par de rares coupures servant d'issues. Cette disposition et le peu de hauteur des colonnes caractérisent nettement le cloître en Occident, et en font un monument particulier qui n'a plus de rapport avec les cours entourées de portiques des Romains.
Un des cloîtres les plus anciens que nous possédions en France est le cloître de la cathédrale du Puy-en-Vélay, dont la construction remonte en partie au Xe siècle. Au XIIe siècle, ce cloître fut reconstruit sur trois côtés; mais une des galeries anciennes existe encore. Les cloîtres primitifs ne sont pas voûtés, mais sont couverts par des charpentes apparentes disposées en appentis, ou, si le cloître est surmonté d'un étage, par un plafond formé de solives posées en travers de la galerie. Ces cloîtres primitifs, dans le midi de la France aussi bien que dans le nord, ne sont pas vitrés et se composent d'une suite d'arcades portant sur des colonnes simples ou accouplées, avec des points d'appui plus résistants et plus épais aux angles. Cependant le cloître de la cathédrale du Puy-en-Vélay ne se conforme point à ces dispositions. Il est couvert par une suite de voûtes d'arêtes romaines portant sur les murs extérieurs, et, du côté de la cour, sur de grosses piles flanquées de colonnettes dégagées.

Ce cloître est tracé conformément au plan (1) vers ses angles. Les piles portent sur un bahut épais élevé de 0,45 c. au-dessus du pavé des galeries, et forment ainsi un banc continu A à l'intérieur aussi bien que sur le préau; un autre banc B pourtourne le mur et sert de socle aux colonnes adossées à ce mur. On observera la disposition singulière de la pile d'angle C, dont le plan est donné par les écartements que l'on voulait maintenir égaux entre les colonnes D, afin de pouvoir construire des voûtes d'arêtes régulières.
Voici l'élévation et la coupe de ce cloître prises sur la ligne EG (2). Les piles sont construites en assises et les colonnes sont monolithes; les archivoltes extradossées sont composées de claveaux noirs et blancs alternés, et doublées d'incrustations de brique et pierre formant une suite de losanges. Les tympans sont incrustés de la même manière; au-dessus est posée une frise également incrustée de morceaux de lave noire et de briques. Une corniche sculptée termine le tout et portait le comble avant la construction de la galerie supérieure, qui date du XIVe siècle. Afin de mieux faire comprendre le mode de construction et de décoration de ce curieux monument, nous présentons (3) l'élévation géométrale de l'une des arcades à l'échelle de 0,025 millimètres pour mètre.

Cette bâtisse est d'ailleurs grossièrement exécutée, et les chapiteaux sont d'un travail barbare qui rappelle la décadence romaine. Son aspect général et le système de décoration employé ne laissent pas cependant d'avoir un certain air de solidité et de grandeur empreint encore des traditions antiques. Les constructeurs romans voulaient obtenir, dans la composition des cloîtres, des galeries assez larges et basses, pour que les religieux ne fussent pas incommodés par le soleil ou le vent. Ils ne se départirent jamais de ce programme fort sensé, et même dans les provinces septentrionales, lorsque l'on se décida à vitrer les galeries des cloîtres en totalité ou en partie, on continua de leur donner une grande largeur comparativement à leur hauteur. Les cloîtres étant toujours entourés de bâtiments, cette disposition permettait encore d'éclairer les salles voisines au-dessus des combles des galeries.
Dès le XIe siècle, les abbayes construisirent des cloîtres d'une grande richesse, car c'était, après l'église, la partie la plus importante de ces établissements, celle dans laquelle les religieux passaient les heures que l'on ne consacrait pas à la prière en commun ou aux travaux extérieurs et intérieurs, les cloîtres servant non-seulement de galeries de service, mais de promenoirs, de lieu de méditation. Quelquefois, dans l'un des angles du préau ou sur l'une des parois des galeries, était placée une fontaine avec une grande cuve pour les ablutions. Un petit portique; sorte de loge couverte, protégeait la cuve et mettait ainsi les religieux qui venaient s'y laver à l'abri des intempéries. Cependant il faut dire que cette disposition, fréquente dans les cloîtres d'Italie, de Sicile et d'Espagne, est assez rare en France 251. Dans notre pays, les cuves étaient souvent placées au milieu ou dans l'un des angles du préau sans abri, ou dans le voisinage du réfectoire (voy. le Dictionnaire du Mobilier, au mot LAVOIR).
On décorait les cloîtres le plus souvent de peintures appliquées sur les murs et représentant, dans l'origine, des scènes de l'Ancien et du Nouveau-Testament, les légendes de saint Antoine et de saint Benoît; plus tard, la danse Macabre ou des légendes plus modernes.
Lorsque, vers le XIIe siècle, les établissements monastiques furent arrivés à leur apogée de grandeur et de richesse, les galeries des cloîtres furent soutenues par des colonnes de marbre apportées à grands frais; et les sculptures des chapiteaux, exécutées avec un soin tout particulier, retracèrent aux yeux des religieux des scènes de l'histoire sainte ou des légendes.
Nos monastères du Nord n'ont guère conservé de cloîtres romans d'une certaine valeur; car, pendant les XIIIe et XIVe siècles, les religieux de ces contrées détruisirent presque partout leurs anciens cloîtres ouverts pour les remplacer par des galeries vitrées ou à peu près closes. D'ailleurs, le mouvement de rénovation de l'architecture qui, dans le Nord, avait commencé, vers le milieu du XIIe siècle, par la reconstruction des cathédrales, fut suivi par un grand nombre de monastères. La reconstruction des églises des abbayes exigeant des sommes énormes, les édifices anciens furent conservés; mais les cloîtres, constructions assez légères et exigeant des dépenses comparativement moins considérables, furent presque tous rebâtis dans le goût nouveau. À défaut de cloîtres romans du Nord, nous irons chercher nos exemples dans le Midi, d'autant que les établissements monastiques, régis par une règle commune indépendante de la nature du climat ou des matériaux, adoptaient en Occident des formes à peu près identiques dans leurs constructions ordinaires, quant à l'ensemble des dispositions, sinon dans les détails de l'architecture.

Un des plus beaux cloîtres du Midi est certainement celui de Saint-Trophyme d'Arles. Deux des galeries de ce cloître datent du commencement du XIIe siècle; chacune d'elles se compose de trois travées principales, divisées en quatre arcades portées sur des colonnettes jumelles. Voici (4) le plan d'un des angles et d'une des travées du cloître de Saint-Trophyme, et (5) sa coupe; on voit, d'après ce plan, que les piles d'angles sont très-puissantes, ainsi que celles qui séparent les travées. Les galeries étant voûtées en berceau continu, les piles d'angles reçoivent deux arcs doubleaux et un arc diagonal qui cache la pénétration des deux berceaux. Chaque pile de travée reçoit un arc doubleau.

Mais si l'on examine la coupe, fig. 5, on observera que la section du berceau est un arc rampant et que les culs-de-lampe A, portant les sommiers des arcs doubleaux du côté du mur, sont placés à 0,60 c. au-dessus des têtes des pilastres du côté de la claire-voie; on remarquera encore, en C, à l'extérieur, un chéneau continu indiquant que primitivement la couverture du cloître en dalles posée à cru sur l'extrados du berceau, d'après le mode provençal, venait déverser les eaux pluviales suivant la pente ponctuée CF, et que probablement les têtes G des contre-forts étaient destinées à recevoir de larges gargouilles. Cette disposition a été changée au XIIIe siècle, lorsque l'on reconstruisit deux des galeries du cloître. Des terrasses furent établies, suivant la ligne FK, ainsi que le fait voir notre coupe, et un bahut L, avec banc pour s'asseoir et trous percés de distance en distance destinés à laisser tomber les eaux dans l'ancien chéneau, fut monté à 2m,00 au-dessus du niveau du premier égout. Ce cloître est d'une grande richesse comme sculpture: les colonnettes, les chapiteaux, le revêtement des piles sont en marbre gris; le long du mur, une riche arcature reçoit le berceau. On sent, dans les sculptures aussi bien que dans les profils du cloître de Saint-Trophyme, l'influence des arts de l'antiquité romaine. Les piliers, décorés de statues, sont composés avec un grand art et ont fort bon air. Nous donnons (6) une vue d'une portion de la galerie et d'un pilier, prise sous la voûte.

Dans le cloître de l'abbaye de Moissac, couvert par une charpente et non par une voûte, on remarque sur les piliers qui sont disposés aux angles et interrompent l'arcature de distance en distance des figures en bas-relief d'assez grande dimension, sculptées sur des plaques de marbre; elles représentent onze apôtres, et l'abbé Durand qui fit la dédicace de l'église en 1063. Cet abbé prend ainsi la place de l'un des douze apôtres, saint Simon. Le cloître de l'abbaye de Moissac se compose de fragments d'un monument du XIe siècle reposés lors de la reconstruction des bâtiments claustraux vers le commencement du XIIe siècle, quelques années avant l'époque où cet établissement religieux se soumit à la règle de Cîteaux. C'est ce qui explique la richesse des sculptures des chapiteaux et piliers de ce cloître, qui ne s'accorde pas avec la réforme que saint Bernard imposa aux constructions monastiques.
Les cisterciens adoptèrent, dans la construction des cloîtres de leurs abbayes, un caractère d'architecture particulier, propre à cet ordre, et qui mérite d'être étudié. Ils renoncèrent à ces délicates galeries recouvertes le plus souvent de charpente, et qui rappelaient encore l'impluvium antique, et, préférant les voûtes aux lambris dans toutes leurs bâtisses, repoussant la sculpture et les vains ornements, ils élevèrent des cloîtres remarquables par leur aspect de force et de durée. Ceux-ci se composent (au moment où cet ordre naissant éleva en peu d'années un nombre considérable de monastères sur toute la surface de l'Europe occidentale) de gros piliers portant des berceaux ou des voûtes d'arêtes, et entre lesquels est posée une claire-voie basse, trapue, qui a plutôt l'aspect d'une suite de baies dans un mur épais que d'un portique. Il ne reste plus trace des cloîtres des abbayes mères de Cîteaux et de Clairvaux; mais nous en possédons un assez grand nombre qui sont contemporains de ceux-ci et ont été bâtis au moment de la ferveur des cisterciens. Dans le Midi, nous voyons encore debout ceux des abbayes de Thoronet (Var), de Silvacane, sur les bords de la Durance, de Sénanque (Vaucluse) 252, qui affectent ces formes sévères. Afin d'expliquer clairement quel était le programme donné par l'abbaye mère de Cîteaux à ses filles pour la construction des cloîtres car ces établissements s'érigeaient sur des instructions précises données par la tête de l'ordre (voy. ARCHITECTURE MONASTIQUE), une figure est nécessaire.
Nous prenons comme type le cloître de l'abbaye de Thoronet. Ce cloître, conformément à l'usage général, possède quatre galeries bâties au nord de l'église. Celle qui longe le mur de la nef est à un niveau plus élevé que les autres galeries et n'a qu'un rez-de-chaussée, tandis qu'un premier étage surmonte les trois autres. Ce premier étage se compose d'un portique portant autrefois une simple charpente, et donnant entrée dans les dortoirs et divers services. Les galeries de rez-de-chaussée présentent une suite de grosses piles de 0,50 c. de face sur 1m,50 d'épaisseur, réunies par des archivoltes. Une seule colonne, posée entre les piles, porte une petite arcature jumelle au-dessus de laquelle, dans le tympan, s'ouvre un oeil. Un berceau plein cintre, renforcé de distance en distance d'arcs doubleaux portés sur les corbeaux, couvre la galerie longeant l'église. Ce sont des berceaux en tiers-point qui couvrent les trois autres galeries. La galerie septentrionale, dont le sol est encore plus bas que celui des deux galeries est et ouest, est accompagnée au milieu d'une salle hexagonale donnant sur le préau et servant autrefois de lavoir.

Nous donnons (7) une portion des galeries du cloître de Thoronet 253. Aux deux angles de rencontre des trois galeries de niveau, la pénétration des berceaux donne deux voûtes d'arêtes renforcées d'arcs ogives.
Les chapiteaux des colonnes isolées sont sans sculptures. Des griffes très-simples garnissent les angles des bases, plutôt par mesure de solidité que comme décoration. La première assise de la galerie en pierres équarries sans moulures sépare le pavé du cloître du préau et sert de banc; un autre banc existe sur une portion du mur du fond. Quelle que soit la rudesse de cette architecture, elle ne laisse pas d'avoir un grand caractère, et, comme construction, elle est bien entendue, car le berceau ne saurait pousser des piles de cette épaisseur chargées par le second portique en maçonnerie du premier étage. Absence complète de moulures, de profils; seulement quelques bandeaux indispensables taillés en biseau, pour garantir les parements extérieurs et pour recevoir les cintres ayant servi à bander les arcs et les voûtes. Nulle apparence de fermetures ni de vitraux; les fenêtres supérieures elles-mêmes en étaient souvent dépourvues, surtout dans les contrées méridionales.
Cependant cette affectation de simplicité dans la construction des cloîtres cisterciens était déjà tempérée, à la fin du XIIe siècle; par l'influence des établissements monastiques de Cluny, qui étaient bien loin de professer la même rigueur dans leurs édifices. Alors, par toute la France, l'architecture tendait au contraire à s'enrichir de plus en plus en dépit des principes professés par saint Bernard. Nous trouvons dans la province même de ce célèbre abbé, non loin de Montbard, dans l'abbaye de Fontenay (voyez ARCHITECTURE MONASTIQUE, fig. 9 bis), un cloître qui, tout en conservant encore les dispositions d'ensemble cisterciennes que nous venons de donner, présente cependant déjà une certaine élégance et une construction moins primitive. Ce cloître n'est pas surmonté d'un premier étage et se compose d'une galerie de rez-de-chaussée, couverte par des voûtes d'arêtes romaines, et dont les travées, composées d'archivoltes plein cintre, sont divisées par une arcature jumelle portée sur des colonnes accouplées. Sa galerie sud, s'ouvrant sur le réfectoire, était accompagnée d'une belle salle ouverte, au milieu de laquelle était le lavoir ou lavatoire. Cette salle est détruite aujourd'hui, mais on en retrouve les amorces et de beaux fragments. Au centre s'élevait une colonne portant le sommier des quatre voûtes d'arête et autour de laquelle régnait la vasque du lavatoire.

Voici (8) le plan de la partie du cloître de l'abbaye de Fontenay à laquelle le lavoir se trouvait accolé. La disposition est monumentale, l'architecture sévère, la construction formée de matériaux admirables; en A est le réfectoire rebâti au XIIIe siècle, en B la galerie, en C la vasque.

Nous présentons (9) une des travées du cloître. Ce cloître, dont chaque galerie est composée de huit travées, donne en plan un carré parfait. Les grandes archivoltes des entrées dans le lavoir sont décorées de moulures, et les piles elles-mêmes sont assez riches. Ces piles sont épaulées par des contre-forts descendant jusqu'au sol, et les archivoltes des galeries sont sans moulures. Ces archivoltes sont la pénétration des voûtes d'arêtes intérieures, de sorte que la construction est parfaitement écrite à l'extérieur. Les sommiers des voûtes d'arêtes reposent, du côté du mur, sur des colonnes isolées. La construction de ce cloître est bien entendue, élevée en matériaux de grande dimension; les piles entre les bases et les chapiteaux sont d'un seul bloc, ce qui donne un grand air de puissance à la bâtisse. Pour compléter l'ensemble du cloître de Fontenay, voici (10) l'arrangement de la pile d'angle, avec la rencontre des archivoltes se pénétrant d'équerre.

Il semblerait que les cloîtres des établissements cisterciens aient servi de type (au point de vue de la construction) à la plupart des cloîtres élevés pendant le XIIIe siècle. Dès l'instant qu'on admettait les voûtes d'arêtes pour couvrir les galeries, il n'était pas, en effet, de parti meilleur et plus sage que celui adopté par l'ordre de Cîteaux. Il fallait des points d'appui résistants au droit des poussées régulièrement espacées de ces sortes de voûtes, et l'intervalle entre ces points d'appui était réservé pour la claire-voie. Les formerets des voûtes d'arêtes figuraient naturellement les archivoltes extérieurs d'une pile à l'autre. Les cloîtres primitifs, composés d'arcades semblables, continues, comme les cloîtres de Moissac, de Saint-Michel de Cuxa près Prades, convenaient à des couvertures en charpente, mais ne pouvaient s'arranger avec la disposition par travées des voûtes d'arêtes. Quoique le cloître de l'abbaye de Fontenay soit encore tout roman, que ses voûtes soient romaines, sans arcs ogives, que ses arcs grands et petits soient plein cintre, on sent là déjà poindre la transition entre le système de construction du XIe siècle et celui du XIIIe. À Fontfroide, la transition est plus avancée encore, bien que le mode adopté soit le même qu'à Fontenay. Fontfroide est une petite abbaye voisine de Narbonne 254; son cloître est assez bien conservé.

Nous donnons (11) le plan d'une travée des galeries voisine de l'un des angles. Ce cloître date des premières années du XIIIe siècle; il forme un parallélogramme rectangle comprenant cinq travées sur chacun de deux de ses côtés, quatre sur les deux autres; ces travées sont voûtées en arcs d'ogives, et les voûtes sont d'un grand intérêt pour l'histoire de la construction (voy. CONSTRUCTION). Comme à Fontenay, les galeries se composent de piles entre lesquelles s'ouvrent trois ou quatre arcades soutenues sur des colonnettes jumelles en marbre blanc veiné, avec chapiteaux de même matière; le reste de la bâtisse est en pierre. Les formerets des voûtes en arcs d'ogives sur plan carré traversent la claire-voie et forment archivoltes en tiers-point à l'extérieur, tandis que les archivoltes de l'arcature sont encore plein cintre. La claire-voie n'est franchement ici qu'un remplissage indépendant de la construction, une sorte de cloison ajourée.

Voici (12) une élévation des travées voisines des angles et une coupe des galeries. Une belle salle capitulaire s'ouvre sur ce cloître; nous avons l'occasion d'en parler à l'article SALLE capitulaire. Si le parti adopté à Fontfroide est le même, comme principe, que celui adopté dans le cloître de Fontenay, les détails de l'architecture sont beaucoup plus riches; les archivoltes sont moulurées, ainsi que les oeils percés dans les tympans des travées; les chapiteaux de l'arcature sont finement sculptés; les colonnettes, grâce à la matière employée, grêles et bien dégagées de la construction. Il y a un grand pas de fait vers le système admis au XIIIe siècle, car les claires-voies font déjà pressentir les meneaux appliqués un peu plus tard entre les travées des cloîtres. Le cloître de Fondfroide ne fut jamais surmonté d'un premier étage, mais couvert en terrasses par des dalles, de manière à prendre le moins de hauteur possible au-dessus des voûtes et à permettre ainsi d'ouvrir des jours au-dessus de ces couvertures pour éclairer les salles voisines (voy. DALLAGE). En effet, le bas-côté de l'église accolé à la galerie sud du cloître prend ses jours par des fenêtres cintrées dont les appuis sont posés immédiatement au-dessus des terrasses. Les oeils qui s'ouvrent dans les tympans des archivoltes du cloître de Fontfroide n'ont jamais été destinés à être vitrés; mais il est facile de comprendre que dans un climat plus humide et plus froid, en laissant ouverte l'arcature, on pouvait vitrer ces oeils et garantir ainsi les moines de la pluie ou du vent, sinon modifier la température extérieure, car les arcatures sont si peu élevées et ses galeries comparativement si profondes, qu'en supposant les oeils vitrés, le vent ne pouvait chasser la pluie sur le pavé de ces galeries. Or il existe encore, le long du flanc sud de la nef de la cathédrale de Laon, un cloître qui remplit exactement ces dernières conditions. L'espace étroit dont pouvait disposer l'architecte ne lui permit pas de donner à ce cloître la forme d'un carré en plan; ce n'est qu'une galerie composée de sept travées faisant face à l'église et s'y réunissant par une seule travée, de sorte que le préau donne un parallélogramme ayant en longueur sept fois sa largeur.

La fig. 13 présente le plan d'une portion de ce cloître. Il est voûté en arcs d'ogives et date des premières années du XIIIe siècle. Mais, à Laon, les voûtes sont dépourvues de formerets; ceux-ci, par conséquent, ne traversent pas la construction et ne présentent pas à l'extérieur une suite de grandes archivoltes d'une pile à l'autre, comme à Fontenay et à Fontfroide. Ces piles sont buttées par des contre-forts saillants, et (14) l'arcature est surmontée de roses inscrites sous les voûtes.

Ces roses étaient vitrées, et l'arcature ne l'était pas; on obtenait ainsi un abri convenable et des jours suffisants pour éclairer la galerie. Les colonnettes de l'arcature sont en calcaire schisteux aussi résistants que le marbre, ce qui a permis aux constructeurs de les faire grêles; les piles et contre-forts sont bâtis en assises et portent tout le poids de la construction, car on remarquera, en examinant la coupe (fig. 14), que le mur percé de roses qui surmonte, l'arcature est très-mince, O,35 c., et n'est réellement qu'une cloison évidée qui ne charge pas les trois colonnettes destinées à la porter. L'unique galerie du cloître de la cathédrale de Laon est fort rapprochée de l'église, et ses baies sont ouvertes au nord; le cloître eût donc été triste et obscur, si l'architecte n'avait eu la précaution d'y faire entrer le soleil par des fenêtres carrées percées dans le mur de clôture du côté de la rue, au sud. Ce mur, épais à sa base, sans ressauts, afin d'éviter les dépôts d'immondices, se retraite au-dessus de la naissance des voûtes et laisse paraître alors de petits contre-forts au droit des poussées.

Nous donnons (15) une portion de ce mur, vu de l'extérieur, qui explique ce que nous venons de dire. Une belle corniche sculptée le couronne et porte le comble en charpente couvert d'ardoises. Afin de dissimuler la monotonie de ce mur qui venait masquer l'un des flancs de la cathédrale, l'architecte eut l'idée de disposer à l'un de ses angles (celui qui se détourne vers le portail du sud) une sorte de grand éperon servant de pignon au comble du cloître, de décorer sa tête sur la rue par une figure d'ange surmontée d'un dais, et de dégager l'angle dans sa partie inférieure en le soutenant par deux colonnes posées de manière à détruire son aiguité 255. Ce motif, qui n'est qu'une pure décoration et un arrangement de retour d'équerre, est fort beau; nous le représentons (16).

Il nous fournit l'occasion de faire ressortir encore les qualités toujours neuves et imprévues qui distinguent l'architecture de cette époque et avec quel art, d'une nécessité vulgaire, les architectes savaient tirer un parti décoratif. Comment cette originalité, cette fertilité d'invention se sont-elles éteintes chez nous, pour être remplacées par des formes de convention, prévues avant même d'être exécutées? C'est une grosse question qu'il n'est pas temps de résoudre ici. Contentons-nous de signaler cet exemple, qui viendra, ainsi que beaucoup d'autres, à l'appui de ce que nous aurons à dire sur les causes de cette décadence du génie architectonique de notre pays (voy. GOÛT, STYLE).
Presque toujours les murs extérieurs des cloîtres de cathédrales, murs qui devaient conserver l'apparence sévère d'une clôture rigoureuse, présentaient aux-yeux des passants des motifs de décoration qui masquaient la recherche et la froideur de ces sortes de constructions. Leurs angles, vus sous plusieurs aspects à l'extrémité des rues qui entouraient ces grands monuments, étaient particulièrement ornés de quelque statue de saint, devant laquelle était suspendu un fanal pendant la nuit; et, pour gêner le moins possible la circulation, ces angles, comme à Laon, étaient portés sur des trompillons, des colonnes ou des encorbellements plus ou moins décorés de sculptures. Quant aux portes des cloîtres de cathédrales, lorsqu'elles donnaient immédiatement sur la voie publique, elles étaient habituellement d'une grande simplicité, afin de laisser aux portes de l'église toute leur importance et leur richesse.
Mais avant d'aller plus avant et de quitter les cloîtres romans des provinces méridionales, nous devons observer que beaucoup de ces cloîtres furent rebâtis pendant les XIIIe et XIVe siècles. Ces cloîtres romans, comme nous l'avons dit, se composaient de galeries continues formées de colonnettes portant les archivoltes qui soutenaient l'égout du comble. Ce mode de construction était suffisant pour recevoir une charpente apparente ou lambrissée. Un cloître du XIIe siècle dépendant de l'église de Saint-Michel de Cuxa près Prades (Pyrénées-Orientales) conserve la disposition primitive des galeries couvertes par des charpentes. Il se compose de rangées de colonnettes simples et non accouplées, interrompues seulement de distance en distance par des piles carrées, afin de maintenir cette longue claire-voie dans son plan vertical.

Voici (17) une portion du plan de ce cloître; dans la longueur de chaque rangée de colonnes, il n'y a que les piles d'angles et deux piles intermédiaires A qui maintiennent le dévers de l'arcature. Les colonnettes, étant simples et non jumelles, sont courtes et trapues; nous donnons (18) une portion de l'arcature bâtie entièrement en marbre de Villefranche; en B est tracée la coupe de cette arcature avec la pile d'angle.
Mais, dès le XIIIe siècle, les voûtes prévalurent dans la construction des cloîtres, et à cette époque on démonta la plupart des galeries romanes non voûtées (c'était le plus grand nombre) pour y substituer des galeries couvertes par des voûtes d'arêtes. Toutefois, dans les provinces méridionales, les colonnettes et chapiteaux étant le plus souvent en marbre et d'un beau travail, on les conservait autant que possible et on les faisait entrer dans la nouvelle ordonnance. Ce remaniement est surtout visible dans le beau cloître de l'abbaye d'Elne, située à quelques lieues de Perpignan. Il présente une grande quantité de colonnettes et chapiteaux de marbre du XIIe siècle, entremêlés de piles, chapiteaux et colonnettes du XIVe siècle. Reconstruit évidemment à cette dernière époque, le cloître d'Elne fut alors voûté; mais les formerets des voûtes ne traversent pas le mur de la galerie comme à Fontenay et à Fontfroide. Les architectes se contentèrent de placer de trois en trois arcades une pile cubique, soit prise parmi les piles du cloître primitif, soit taillée pour cette nouvelle disposition; car il faut remarquer qu'à Elne comme à Moissac, outre les colonnettes jumelles, il devait exister, au XIIe siècle, des piles rectangulaires de distance en distance pour donner plus de résistance à ces longues galeries, comme aussi à Saint-Michel de Cuxa.

Voici (19) une portion du cloître d'Elne, dont le plan d'ensemble donne un losange se rapprochant du carré. On voit en A les piles qui reçoivent les retombées des arcs doubleaux et des arcs ogives des voûtes construites avec beaucoup de soin.

La fig. 20 présente la coupe de ce cloître et une travée extérieure 256. Comme sculpture, ce cloître est le plus riche de tous ceux existant encore de nos jours dans cette partie de la France. Les chapiteaux reposés appartenant au XIIe siècle et même ceux du XIVe siècle sont d'un beau travail; les fûts des colonnettes donnant du côté intérieur de la galerie sont tous couverts de sculptures d'une grande délicatesse, et les deniers constructeurs cherchèrent à se rapprocher autant qu'ils le pouvaient du style adopté par les architectes du premier cloître. On se rendra compte de cet effort et de l'influence des arts romans en plein XIVe siècle, dans ces contrées, si l'on examine les colonnettes appartenant à ces deux époques (XIIe et XIVe siècles), que nous donnons au mot COLONNETTE.
Nous avons encore un exemple de ces remaniements dans le cloître de l'ancienne église de Saint-Papoul, près Castelnaudary. Celui-ci fut rebâti au XIVe siècle avec des fragments du commencement du XIIIe. Mais Saint-Papoul était pauvre; les galeries furent simplement couvertes par une charpente, et les colonnettes jumelles furent refaites en petits carreaux de briques octogonales, posés les uns sur les autres et réunis par un lit de mortier.
Quant aux charpentes en appentis qui couvrent les cloîtres, elles sont d'une grande simplicité; elles se composent habituellement d'une suite de chevrons soulagés par des liens, et formant à l'intérieur un angle obtus dont les rampants étaient quelquefois lambrissés et peints.

La fig. 21 donne une de ces charpentes 257; en A nous avons reproduit le profil de l'extrémité des chevrons. Ces charpentes, sans entraits, poussaient les murs des galeries, surtout lorsque ces murs n'étaient pas maintenus par des piles assez rapprochées, et lorsqu'ils étaient montés sur de longues rangées de colonnettes accouplées. Aussi faut-il attribuer en grande partie la reconstruction de presque tous les cloîtres romans à la mauvaise combinaison de ces charpentes qui durent hâter leur ruine. Nous devons faire remarquer que parfois, comme à Moissac et à Saint-Lizier par exemple, les colonnettes des galeries des cloîtres romans sont tantôt accouplées, tantôt simples: lorsqu'elles sont simples, le chapiteau est beaucoup plus évasé, dans le sens de l'épaisseur du mur que dans l'autre sens; lorsqu'elles sont jumelles, souvent les chapiteaux doubles sont pris dans un seul morceau de pierre, ainsi que les deux bases, afin de bien relier les fûts des colonnettes et de les rendre solidaires. Si les chapiteaux doubles sont indépendants l'un de l'autre, ce sont alors des tailloirs qui relient les colonnes accouplées sous le sommier des archivoltes. Les déversements fréquents des galeries des cloîtres romans, produits par la poussée des charpentes, firent évidemment substituer d'abord les colonnes jumelles aux colonnettes simples, puis obligèrent les constructeurs à prendre des précautions particulières lors de la pose de ces colonnettes jumelles: comme, par exemple, de tailler les chapiteaux accouplés dans un seul morceau de pierre et de leur donner un fort volume comparativement au diamètre et à la hauteur de la colonne; comme de poser ces colonnettes, généralement peu ou point galbées, celle du dedans ayant son parement intérieur vertical, et celle extérieure légèrement inclinée, ou, pour employer un terme de bâtisse, ayant du fruit sur le dehors.
Une figure est nécessaire pour faire comprendre cette précaution des
constructeurs romans.
Soit (22) la coupe d'une colonnade de cloître
portant des archivoltes; soit A l'intérieur de la galerie et B le préau,
la colonnette C sera posée verticale, tandis que la colonnette D sera
posée inclinée de 0,02 c. ou 0,03 c., de G en H. La base double I étant
prise dans un seul morceau de pierre, ainsi que le chapiteau double K,
les deux colonnettes forment ainsi un véritable chevalement résistant à
une poussée agissant suivant la ligne L M. Malgré ces précautions,
basées sur une observation très-juste, le temps, la négligence,
l'affaissement de charpentes mal entretenues et pourries, ont cependant
fait déverser la plupart des colonnades des cloîtres romans couverts par
des lambris. Mais ce qui nous a permis de constater ce fait intéressant,
ce sont les centres des bases, en plan, qui sont presque toujours plus
écartés que les centres des astragales des chapiteaux de 0,01 c., 0,02
c. ou même 0,03 c.; c'est encore l'alignement du parement intérieur des
bahuts O (qui n'a pu changer) comparé à l'alignement primitif intérieur
N des archivoltes, donné par les angles des cloîtres, lesquels n'ont pu
varier non plus. Mais nous avons l'occasion de nous étendre sur ces
précautions des constructeurs dans la pose des membres de l'architecture
au mot CONSTRUCTION.
Pour clore ce que nous avons à dire sur les cloîtres romans, nous signalerons à nos lecteurs le cloître de Saint-Lizier (Ariége) (fin du XIIe siècle). Sa construction est d'une extrême simplicité. Il se compose de deux étages de galeries, l'une au rez-de-chaussée, en maçonnerie, l'autre au premier, en charpente.


La fig. 23 donne la moitié du plan général de ce cloître, et la fig. 24 sa coupe avec l'élévation des galeries. On ne saurait bâtir deux étages de portiques avec plus d'économie. Les colonnettes et bases sont en marbre, n'ont que 0,11 c. de diamètre (il faut dire que le marbre n'est pas, dans cette contrée, une matière rare); elles posent sur une seule assise continue et si basse qu'on ne peut guère la considérer comme un bahut. Les chapiteaux, très-évasés, sont en pierre ainsi que les archivoltes, les murs au-dessus en maçonnerie. Un plancher couvre cette galerie. Au-dessus, le mur forme un appui sur lequel sont posées des piles en brique dans les angles et sur les milieux de deux des côtés du cloître; puis des poteaux à huit pans en bois avec base et chapiteau pris dans la masse, portant de longs poitrails posés de champ, sur lesquels sont fixés les chevrons dont la saillie abrite toute la construction 258. On n'oserait aujour'd'hui exécuter une bâtisse aussi légère, qui doit sa solidité à l'extrême simplicité des moyens employés.
Revenons maintenant aux cloîtres de l'époque gothique; après tout, les cloîtres romans n'offrent que peu de variétés, et ce que nous en avons donné suffit pour se faire une idée passablement complète de ces sortes de constructions. Il n'en est pas de même des cloîtres élevés pendant la période gothique, surtout au moment où cet art commence à se développer. Le programme d'un cloître était, pour les architectes du XIIIe siècle, un thème précieux dont ils devaient tirer un grand parti. L'orientation, la disposition d'un cloître relativement à ses annexes, les besoins particuliers à telle communauté, la nature des matériaux, la nécessité de clore telle partie, de laisser l'autre ouverte, les écoulements d'eau pluviale, les moyens de recueillir ces eaux dans des citernes, tout cela devait exciter et excitait le génie inventif des architectes de cette époque. Il nous serait difficile, au milieu de tant de ruines regrettables (car ces dépendances de nos églises ont été presque partout transformées, dévastées ou même démolies), de ne rien omettre; toutefois, nous essayerons du moins de faire connaître les modifications successives apportées dans ces constructions et de présenter les exemples les plus complets et les plus remarquables que le temps et la main des hommes n'ont pas détruits. Les cloîtres encore debout, abandonnés, sans usage aujourd'hui, construits la plupart très-légèrement, tendent tous les jours à disparaître, et notre travail pourra perpétuer pour l'étude des oeuvres dont il ne restera bientôt plus trace 259.
Nous avons vu déjà qu'à Laon les constructeurs avaient vitré les ouvertures supérieures prises sous les formerets des voûtes du cloître et avaient laissé les arcatures inférieures libres, comme les anciennes galeries romanes. Mais à Laon, bien que ce cloître soit déjà gothique par ses voûtes, la claire-voie inférieure est complétement distincte de la rose vitrée, comme dans les cloîtres de transition, tels que ceux de Fontenay et de Fontfroide. Cette disposition ne fut pas longtemps conservée; bientôt tout l'espace compris entre les formerets, les piles et le bahut, fut rempli par des meneaux; mais ces meneaux ne furent pas entièrement vitrés comme ceux des fenêtres des collatéraux d'une église. On se contenta d'abord de vitrer les compartiments supérieurs et de laisser à jour les intervalles entre les colonnettes. Il existe un cloître de ce genre, d'une disposition charmante, sur le flanc sud de l'église collégiale de Sémur-en-Auxois. Il est fort petit, puisque chacun de ses côtés ne contient que deux travée.

En voici le plan entier (25), à l'échelle de 0,005 millimètres pour mètre. Profitant avec une intelligence rare des poussées égales qui, dans les angles, agissent en sens contraire et se neutralisent par conséquent, l'architecte, au lieu de donner à ces angles, comme dans les cloîtres romans, une épaisseur considérable, en a fait une pile composée de six colonnettes réunies et prises dans un seul morceau de pierre. Cette jolie disposition donne une légèreté extraordinaire à ce cloître, tout en lui conservant une parfaite solidité. Les seuls points résistants de la construction sont les quatre contre-forts plantés sur le milieu de chacune des faces de la galerie et les divisant en deux travées. Un puits est creusé au milieu du petit préau.

La fig. 26 présente la coupe et l'élévation d'une travée du cloître de Sémur, ainsi qu'un détail du plan des piles en A. Les intervalles entre les colonnettes n'étaient pas vitrés, tandis que les compartiments des meneaux au-dessus de l'arcature l'étaient 260. On obtenait ainsi, pour éclairer les galeries, beaucoup plus de jour que dans les cloîtres romans, et la pluie ni le vent ne pouvaient gêner les personnes qui circulaient sous les galeries. Les roses et découpures des meneaux vitrés formaient comme des écrans transparents opposés au vent et au soleil. La sculpture des chapiteaux est fort belle, large, abondante, et les matériaux des piles de grande dimension, suivant le mode bourguignon. Ce cloître est du temps de l'église et dut être bâti entre les années 1230 et 1240.
Cependant il arrivait souvent, au XIIIe siècle, que les travées des cloîtres voûtés étaient garnies de meneaux sans vitraux, qui n'étaient alors que des claires-voies de pierre destinées à briser l'effort du vent et à garantir les personnes qui passaient dans les galeries contre la vivacité de l'air ou des rayons du soleil. Nos églises du nord possédaient beaucoup de cloîtres de ce genre vitrés partiellement ou complétement à claires-voies. La cathédrale de Noyon, le long de la nef, au nord, conserve encore la galerie occidentale de son cloître du XIIIe siècle, sur laquelle s'ouvre une belle salle capitulaire dont les piles d'entrée sont richement décorées de sculptures, d'ornements et de statues d'évêques (voy. SALLE CAPITULAIRE). Ce cloître, ainsi que ses dépendances, était autrefois crénelé du côté extérieur, afin de pouvoir, au besoin, se défendre contre un coup de main. La construction des galeries est large, simple, bien conçue et bien exécutée.


Voici (27) le plan et (28) l'élévation extérieure d'une des travées du cloître de la cathédrale de Noyon. La claire-voie est complétement à jour, sans verrières, et son archivolte sert de formeret aux voûtes en arcs d'ogives; du côté du mur, les arcs portent sur des culs-de-lampe sculptés, afin de ne pas gêner la circulation par la saillie de piles engagées. Aujourd'hui, la construction est dérasée au niveau A (fig. 28); les gargouilles, pinacles, larmiers et balustrades qui couronnaient certainement la belle corniche feuillue n'existent plus. Nous donnons en B une coupe sur l'axe de la travée, qui fait voir l'extrême simplicité de cette construction, ne consistant réellement qu'en des contre-forts réunis par des archivoltes recevant l'intrados des voûtes. Il est bon d'examiner ce cloître après celui de l'église de Sémur que nous avons donné (fig. 26); ces deux petits édifices sont contemporains, ils sont élevés entre les années 1230 et 1240.
On peut observer ici la différence des deux écoles bourguignonne et française: la première hardie, élégante, avec un mélange de rudesse, employant des matériaux résistants et sachant en tirer les avantages résultant de leur nature; l'autre fine, sobre, possédant un sentiment très-vif des proportions, évitant les exagérations et les étrangetés. Il ne faudrait pas croire cependant que les architectes des provinces françaises eussent adopté un poncif aussi simple dans la construction de leurs cloîtres. L'amour du luxe, un instant comprimé par les cisterciens, reprit un nouvel essor au commencement du XIIIe siècle chez les religieux réguliers. À cette époque, en France, en Italie, en Espagne, en Allemagne et en Angleterre, les monastères virent s'élever des cloîtres qui rivalisaient entre eux comme étendue, en richesse de matériaux et de sculpture. En Italie, ce fut alors qu'on éleva les cloîtres de marbre, couverts de sculptures et de mosaïques, de Saint-Paul-hors-les-murs, de Saint-Jean de Latran, à Rome; en Sicile, l'admirable et immense cloître de Montréale, singulier mélange d'architecture normande et de traditions des Maures; en France, les beaux cloîtres de Saint-Léger et de Saint-Jean-des-Vignes de Soissons. Nous nous occuperons de ce dernier cloître, dans lequel les religieux, tout en restant fidèles au principe appliqué avec une si grande sobriété à Noyon, déployèrent un luxe de sculpture peu commun.


Nous donnons (29) le plan et (30) l'élévation extérieure d'une travée du cloître de Saint-Jean-des-Vignes, contemporain de celui de Noyon. La galerie du rez-de-chaussée était probablement surmontée d'un étage qui n'existe plus. Les contre-forts, les tympans entre les archivoltes sont couverts de sculpture. Le plan présente une multitude de colonnettes dont la fonction est déterminée par les arcs des voûtes, et qui sont couronnées par des chapiteaux finement travaillés dont la réunion forme, à l'intérieur comme à l'extérieur de la galerie, un brillant cordon d'ornements. Les voûtes, du côté du mur, ainsi qu'à Noyon, sont portées sur des culs-de-lampe naissant sur des têtes humaines. Quant à la claire-voie, ses roses seules étaient vitrées 261.
Cette richesse, si fort en contradiction avec le principe des ordres religieux, ne laissait pas d'exciter déjà, au XIIIe siècle, le blâme ou la raillerie. On est trop disposé à croire que les XVIe et XVIIIe siècles ont été les seuls à critiquer le luxe des moines. Un poëte du XIIIe siècle qui était reçu à la cour de saint Louis, Rutebeuf, ne manque pas une occasion d'exercer sa verve contre les ordres religieux. On en jugera par ce passage extrait de la Vie de sainte Elysabel:
«Une foiz entra en .i. cloistre
De povres genz qui pas acroistre
Ne se pooient de lor biens;
Fors d'aumosne n'avoient riens.
Ymages li monstrent bien fètes,
Bien entaillies et portrètes;
Mult orent cousté, ce li samble,
Ainçois que il fussent ensamble;
Mult l'en pesa, et bien lor monstre.
«Et mult lor en va à l'encontre,
Et dist: «Je croi miex vous en fust,
Se ce ç'on a mis en ce fust
Por fere entaillier ces ymages
Fust mis en preu; c'or est domages
Qui a l'amor de Dieu el cuer
Les ymages qu'il voit defuer,
Si ne li font ne froit ne chaut.
Endroit de moi il ne m'en chaut,
Et bien sachiez, ce me conforte,
Que chascun crestiens, là, porte
Les ymages el cuer dedenz.
Les lèvres muevre ne les denz
Ne font pas la religion,
Mès la bone compontion 262.»
Un huguenot n'aurait pas parlé autrement au XVIe siècle.
Afin de meubler la nudité des murs intérieurs des galeries des cloîtres entre les culs-de-lampe portant les voûtes, on les décorait de peintures et même quelquefois de bas-reliefs et d'arcatures. Le cloître de la cathédrale de Toul, commencé vers 1240 et terminé à la fin du XIIIe siècle, nous donne une jolie décoration de ce genre, consistant en une suite d'arcatures trilobées, sous chacune desquelles était sculpté un petit bas-relief porté sur une sorte de tablette ornée peu saillante.

Nous donnons (31) l'une des travées intérieures de ce cloître 263. À l'extérieur, le cloître de la cathédrale de Toul présente une disposition analogue à celle des cloîtres de Noyon et de Soissons, si ce n'est que les formerets des voûtes ne pénètrent pas à travers l'épaisseur du mur, et que les archivoltes des claires-voies sont bandées en dedans de ces formerets. Il reste ainsi, de chaque côté des contre-forts, une portion de trumeau. Cette disposition est moins franche que celle des cloîtres présentés ci-dessus. D'ailleurs la galerie n'était point vitrée. À Toul, les chéneaux du cloître sont disposés d'une façon particulière; ils consistent, au-dessus de la corniche, en une assise de pierre taillée suivant les pentes correspondant à l'écoulement des eaux, lequel a lieu par les gargouilles percées au milieu de chaque tête de contre-fort (32).
Jusque vers le milieu du XIIIe siècle, les combles des cloîtres égouttent, sauf de très-rares exceptions, leurs eaux directement sur le préau sans chéneaux; la présence des chéneaux est un perfectionnement qui depuis fut introduit dans la construction des cloîtres. Dans les localités où l'eau de source manquait, on profita des combles des cloîtres et salles voisines pour recueillir les eaux pluviales dans une citerne ménagée sous le préau. Il arriva parfois alors qu'au lieu de jeter les eaux à gueule bée sur l'aire du préau, et pour éviter que des ordures pussent être entraînées dans la citerne, on plaça des tuyaux de descente en pierre de distance en distance dans les angles formés par les contre-forts (voy. CONDUITE); ou si l'on admettait les gargouilles, ce qui était le cas le plus ordinaire, on établissait un caniveau en pierre au-dessous d'elles, tout autour du préau, pour recueillir les eaux et les envoyer, par des pertuis, dans la citerne. Quelquefois même ce caniveau était un petit égout souterrain ayant un pertuis garni d'une crapaudine au-dessous de la gueule de chacune des gargouilles. Plus rarement l'aire du préau était dallée comme l'aire de l'impluvium antique et conduisait l'eau par des pentes, se dirigeant vers le milieu, dans la citerne. On recueillait ainsi non-seulement les eaux tombant sur les combles, mais aussi celles reçues sur la surface totale du préau. Le préau du cloître de l'abbaye du Mont-Saint-Michel-en-Mer est couvert de plomb; mais nous aurons l'occasion de parler bientôt de ce cloître remarquable.
Cependant, certains cloîtres de cathédrales particulièrement furent, au XIIIe siècle, surmontés d'un étage, probablement à cause du peu d'espace dont on disposait autour de ces monuments élevés au centre de cités populeuses. Il existe, à Langres, les restes d'un cloître de ce genre qui est d'un fort bon style et qui appartient au milieu de ce siècle.

La fig. 33 présente l'une de ses travées. Un premier étage, percé d'une petite fenêtre carrée au-dessus de chaque arcade, était destiné peut-être au logement des chanoines. Ici ce sont les formerets des voûtes qui, comme à Noyon, servent d'archivoltes à la claire-voie. Le mur du fond du cloître de la cathédrale de Langres est décoré d'une triple arcature sous chaque formeret, portée sur des colonnettes et des chapiteaux admirablement sculptés. Quant aux contre-forts, épais et saillants dans la hauteur du rez-de-chaussée, pour contre-butter la poussée des voûtes, ils se réduisent sensiblement dans la hauteur du premier étage, qui n'était couvert que d'une charpente 264.
Mais le plus beau cloître qui nous soit conservé (en partie du moins) possédant un premier étage est certainement le cloître de la cathédrale de Rouen. Cette construction date de 1240 environ, et son ensemble comme ses détails sont exécutés avec un grand luxe et un soin minutieux.

La fig. 34 nous donne l'élévation d'une des travées du cloître de la cathédrale de Rouen. Ces travées sont larges, percées à la base par quatre arcades libres portées sur des colonnettes monolithes. Au-dessus de ces arcades, la claire-voie est vitrée. L'archivolte est épaisse, composée de deux rangs de claveaux, celle supérieure servant de formeret aux voûtes à l'intérieur. Ces archivoltes soutiennent un grand talus sur lequel viennent pénétrer les piles et trumeaux des fenêtres jumelles du premier étage. Une corniche à double rang de crochets et une balustrade dont les quatre-feuilles seuls sont ajourés couronnent le premier étage, qui porte chéneau. Au milieu de la tête de chacun des contre-forts, complètement dépourvus d'ornements, sort une gargouille rejetant à l'extérieur l'eau recueillie dans les chéneaux. Des pinacles surmontaient ces contre-forts; ils sont malheureusement détruits.

Voici (35) le plan de ces contre-forts et d'une travée à rez-de-chaussée. On voit combien cette construction est simple et légère. Toute la résistance consiste seulement dans les contre-forts et les piles carrées qu'ils viennent épauler. Quant à la claire-voie, elle est indépendante de la bâtisse proprement dite. Il n'est pas besoin de dire que ce cloître est voûté en arcs ogives, composant une suite de travées sur plan barlong; c'est là une disposition généralement admise pour les cloîtres au XIIIe siècle et suivie plus tard. Le premier étage n'existait que sur l'un des côtés du cloître et contenait la bibliothèque du chapitre; il formait une grande salle couverte par une charpente lambrissée 265.
Les dispositions des cloîtres admises dès le commencement du XIIIe siècle ne varient guère jusque vers le milieu du XIVe; ce sont toujours des voûtes carrées dont les formerets extérieurs sont remplis par des meneaux vitrés dans la partie supérieure ou dépourvus de vitraux. Au XIVe siècle, les églises cathédrales et monastiques, étant moins riches qu'elles ne le furent au XIIIe, revinrent aux cloîtres composés d'arcatures continues, comme les cloîtres romans primitifs, dont les galeries sont couvertes par des charpentes apparentes ou lambrissées. Mais le système de construction n'est plus celui du cloître roman. Les archivoltes composées de claveaux disparaissent souvent et sont remplacées par une claire-voie qui ressemble assez à une grande balustrade. Le flanc sud de la cathédrale de Bordeaux a conservé un cloître élevé suivant ce mode; il date du XIVe siècle. L'une de ses quatre galeries s'engage dans les contre-forts isolés de la cathédrale, les trois autres sont libres.

La fig. 36 présente le plan d'un des angles du cloître de la cathédrale de Bordeaux. En A, nous avons tracé la section horizontale d'une des piles, à l'échelle de 0,05 c. pour mètre. Sur un bahut continu s'élèvent des faisceaux de colonnettes présentant beaucoup plus de profondeur que de largeur.

Ces piles sont prises dans un seul morceau de pierre, et elles portent une arcature dont chaque triangle est taillé dans un seul bloc, ainsi que l'indique la fig. 37, qui donne l'élévation et la coupe du cloître de la cathédrale de Bordeaux. Une corniche composée de longs morceaux de pierre relie le tout; un surhaussement moderne, formé de deux assises de pierre, charge cette légère construction. Mais autrefois, ainsi que le prouve la présence des gargouilles encore en place, la corniche portait un chéneau sur lequel venait reposer la charpente; nous avons cru devoir rétablir l'état primitif dans notre fig. 37 266. La charpente apparente était composée d'une suite de chevrons portant ferme, retenus par des liens reposant sur des corbeaux. Ce genre de construction n'offrait pas une grande solidité; aussi la plupart de ces cloîtres furent-ils renversés par la poussée de la charpente dépourvue d'entraits, et, au XVe siècle, on reprit le mode adopté par le XIIIe siècle, c'est-à-dire qu'on en revint aux cloîtres voûtés avec meneaux sous les formerets, et ces meneaux furent vitrés. Il est cependant des exceptions à cette règle, surtout dans les provinces méridionales.
Ainsi le cloître de la cathédrale de Narbonne, qui date des premières années du XVe siècle, se compose d'une série d'arcades sans meneaux, séparées par des contre-forts épais.

La fig. 38 présente le plan du quart de ce cloître. En A, nous donnons la section horizontale de la pile d'angle, et en B celle d'une des autres piles, à l'échelle de 0,02 c. pour mètre. La fig. 39 nous montre un des angles de ce cloître, vu en perspective.

Le cloître de Narbonne possède un bahut; les arcades sont hautes, contrairement aux habitudes des constructeurs du moyen âge; il est couvert en terrasses dallées, protégées par une balustrade, ainsi que le cloître de la cathédrale de Béziers, qui date du XIVe siècle.
Les cloîtres du XVe siècle en général ne diffèrent de ceux du XIVe que par la décoration des contre-forts, les compartiments des meneaux, la construction des voûtes et les détails de l'architecture. Il n'est donc pas nécessaire de nous en occuper ici, puisque nous retrouvons ces détails dans les différents articles de ce Dictionnaire.
Nous terminerons ce que nous avons à dire sur ces monuments par la description du cloître de l'abbaye du Mont-Saint-Michel-en-Mer, l'un des plus curieux et des plus complets parmi ceux que nous possédons en France.

Nous donnons le plan d'ensemble de ce cloître, ayant vue du côté A sur la mer par des fenêtres oblongues et très-étroites (40). Les galeries ont été couvertes primitivement par une charpente lambrissée. L'arcature se compose de deux rangées de colonnettes se chevauchant, ainsi que l'indique le détail de l'angle du plan (41). Des archivoltes en tiers-point portent sur les colonnettes, de A en B, de B en C, à l'extérieur; de D en E, de E en F, à l'intérieur, et des arcs diagonaux très-aigus sont bandés de A en D, de A en E, de E en B, de B en F, de F en C, etc.; les triangles laissés entre les archivoltes et les arcs diagonaux sont remplis comme des triangles de voûtes ordinaires. Il est évident que ce système de colonnettes posées en herse est plus capable de résister à la poussée ou au mouvement d'une charpente que le mode de colonnes jumelles, car les arcs diagonaux AD, AE, EB, etc., opposent une double résistance à ces poussées, étrésillonnent la construction et rendent les deux rangs de colonnettes solidaires. D'ailleurs il n'est pas besoin de dire qu'un poids reposant sur trois pieds est plus stable que s'il repose sur deux ou sur quatre. Or la galerie du cloître de l'abbaye du Mont-Saint-Michel n'est qu'une suite de trépieds.


Voici (42) une coupe sur O P, et (43) une élévation intérieure de ces arcatures. Les profils et l'ornementation rappellent la véritable architecture normande du XIIIe siècle. Les chapiteaux, suivant la méthode anglo-normande, sont simplement tournés, sans feuillages ni crochets autour de la corbeille. Seuls, les chapiteaux de l'arcature adossés à la muraille sont décorés de crochets bâtards. Les écoinçons entre les archivoltes de l'intérieur des galeries présentent de belles rosaces sculptées en creux, des figures, l'agneau surmonté d'un dais (fig. 43), puis au-dessus des arcs une frise d'enroulements ou de petites rosaces d'un beau travail. Entre les naissances des arcs diagonaux des petites voûtes sont sculptés des crochets. Ce cloître était complétement peint, du moins à l'intérieur et entre les deux rangs de colonnettes. En B (fig. 40) est la seule entrée des galeries dans le préau, bien qu'il soit facile d'enjamber par-dessus les bahuts entre les colonnettes, et ce préau est complétement couvert de lames de plomb, destinées à recueillir les eaux pluviales dans une grande citerne réservée sous l'église. Sous le cloître est bâtie la salle des Chevaliers, composée d'un quinconce de colonnes (voy. ARCHITECTURE MONASTIQUE, fig. 18 et 19); sous la salle des Chevaliers est un étage inférieur. Ainsi le cloître de l'abbaye du Mont-Saint-Michel-en-Mer est situé au sommet d'un immense édifice, et ses galeries sont portées sur des voûtes; c'est pourquoi on a cherché à donner à cette construction une extrême légèreté.
La renaissance éleva quelques jolis cloîtres, mais qui ne présentent aucune particularité digne d'être notée. Les dispositions générales des cloîtres, à partir du XIIIe siècle, varient peu en France, ainsi que nous l'avons dit déjà, et les détails de l'architecture seuls se modifient en raison du goût de chaque époque. Ces détails trouvent leur place dans le Dictionnaire; il est donc inutile de les mentionner ici.
Note 243: (retour)«Quadratam speciem structura domestica præfert,
Atria bis binis inclyta particibus.
Quæ tribus inclusæ domibus, quas corporis usus
Postulat, et quarta quæ domus est Domini,
Quarum prima domus servat potumque cihumque
Ex quibus hos reficit juncta secunda domus.
Tertia membra fovet vexata labore diurno,
Quarta Dei laudes assidue resonat.»
Carmen de Laude vitæ monasticæ edit. a Sirmondo ad Goffrid. Vindocin. (Voy. Ducange, Gloss.)
Note 246: (retour) Ce n'est pas là, bien entendu, une règle absolue; diverses causes venaient modifier ces dispositions: la nature du terrain, des constructions plus anciennes dans les villes, des rues existantes, obligeaient les abbés ou les chapitres à ne pas être fidèles à leur programme. Cependant les cloîtres des abbayes de Cluny, de Vézelay, de Clairvaux, de Fontenay, de la Charité-sur-Loire, de Saint-Denis, de Saint-Jean-des-Vignes à Soissons, de Saint-Front de Périgueux, de Poissy, de Sainte-Geneviève à Paris, de la Trinité de Caen, etc., et particulièrement de l'abbaye type de l'abbé de Saint-Gall (voy. ARCHIT. MONAST., fig. 1), sont situés sur le flanc méridional de l'église; tandis que les cloîtres des cathédrales de Paris, de Noyon, de Rouen, de Reims, de Beauvais, de Séez, de Bayeux, de Puy-en-Vélay, etc., étaient situés au nord. Quelquefois le cloître et l'évêché se touchent et sont tous deux bâtis du côté méridional, comme à Langres, à Évreux, à Verdun; mais ce sont là des exceptions; les évêques et les chapitres préféraient généralement occuper des terrains séparés par l'église.
Note 248: (retour) «Canonicus qui recipit domum in claustro jurat quod, anno precedenti diem qua recepit illam, fecit stagium suum Parisiis per vigenti septimanas; ita quod qualibet die fecit horam unam vel in capitulo vel in ecclesia... Item jurat quod domum illam et appendicias domus illius tenebit in eque bono statu in quo est, quando accipit illam, vel etiam meliori. Jurat etiam quod solvet pensionem domus illius et alia onera diebus statutis ad hoc, nisi dilationem habuerit ab illis ad quos pertinet receptio predictorum.» Chartul. Eccles. Parisiensis, Pars II, lib. IX, feb. 1240, XXVIII.
Note 254: (retour) On ne doit pas s'étonner si, dans cet article, nous passons brusquement d'une province à l'autre, quelle que soit la distance qui les sépare. Il s'agit ici de dispositions générales, non de détails d'architecture, et nous avons dit déjà que les établissements monastiques agissaient, quelle que fût leur position sur le territoire occidental, d'après une direction uniforme, en tant qu'elles appartenaient au même ordre.
Note 259: (retour) En compulsant nos notes, nous sommes obligé de reconnaître que, depuis le temps où quelques-unes d'entre elles ont été prises, des exemples de cloîtres encore existant il y a quelques années sont aujourd'hui détruits. On ne doit point s'en étonner; la vie s'est retirée de ces dépendances des églises depuis longtemps, et bien avant les dernières années du dernier siècle déjà, la plupart des cloîtres des cathédrales et des abbayes étaient laissés à l'abandon, comme des constructions qui n'ont plus de raison d'être.
Note 264: (retour) Ce cloître n'appartient plus à la cathédrale; il fut vendu par le Domaine il y a une vingtaine d'années; il sert aujourd'hui de magasin à des marchands de meules à aiguiser. Nous ne savons ce que le Domaine a retiré de cette vente; mais lorsqu'on voudra racheter ce cloître, ce qu'il faudra faire un jour ou l'autre, ne fût-ce que pour assainir la cathédrale de Langres, il est probable qu'on payera cher cet abandon.
Note 265: (retour) Les restes de ce cloître tombaient en ruine par suite de surcharges sur les voûtes et de l'abandon dans lequel ce précieux débris d'architecture était laissé. L'administration des cultes depuis peu, a fourni à MM. Barthélemy et Desmarets, architectes diocésains de Rouen, les moyens de restaurer les parties les plus endommagées. Mais des logements sont établis au premier étage et contribuent à détruire ce qui reste des belles fenêtres. On ne saurait trop souhaiter de voir enfin ce magnifique spécimen d'un cloître de cathédrale débarrassé de services que rien n'empêche de placer partout ailleurs.
CLOTÊT, s. m. Clotest. Petite clôture. On donnait, pendant les XIIIe, XIVe et XVe siècles, le nom de clotêt à des clôtures en bois que l'on établissait ordinairement dans les grandes salles des châteaux pour garantir contre le vent un lit, ou seulement une partie de ces vastes pièces. Ce mot s'entend aussi comme: petite chambre, cabinet, réduit:
«En un clostet esgarde et voit
Une clarté qui là estoit 267.»
On appelait encore les paravents mobiles des clotêts (voy. le Dictionnaire du Mobilier, au mot PARAVENT).
CLÔTURE, s. f. Coulture, chancel, canchel, chaingle. Obstacle de pierre ou de bois entourant des champs, des constructions publiques ou particulières, ou encore certaine partie d'un édifice. Nous diviserons cet article en: 1° clôtures extérieures de villes ou bourgs; 2° clôtures de propriétés particulières; 3° clôtures du choeur des églises.
CLÔTURES DE VILLES.--Pendant le moyen âge, la construction, l'entretien et la garde des clôtures des cités étaient habituellement à la charge des habitants; mais cependant, lorsqu'un seigneur prétendait avoir des droits féodaux sur une ville ou portion de ville, il faisait établir une clôture à ses dépens; alors tout l'espace compris dans cette clôture était sous sa juridiction: Guillaume le Breton et Rigord assurent que Philippe-Auguste acheta tous les terrains dont il avait besoin pour élever la clôture de Paris; aussi, dans les chartes de son temps, ces clôtures sont-elles appelées Muri Regis. «Outre cela, dit Sauval 268, dans un arrêt de 1261, le Parlement nomme les murailles de la porte Saint-Marceau Muri Regis. En un mot, c'est le nom que les murs de Paris prennent en 1273, 1280 et 1299, dans deux accords entre le roi et saint Merry, l'autre entre Philippe le Hardy et saint Éloi; et dans la permission donnée aux Templiers de bâtir à la porte du Chaume. Au reste, ajoute-t-il, après que Philippe-Auguste eut achevé ses murailles, il prétendit être seigneur des terres et des lieux qu'elles embrassoient, et pour cela, dans l'Université, il voulut d'abord ôter à l'abbé et aux religieux de Saint-Germain la justice des lieux et leur juridiction qu'il venoit de renfermer; il en usa de même dans la ville à l'égard de l'évêque de Paris pour la seigneurie tant du bourg vieux et nouveau de Saint-Germain que de la coulture nouvelle et vieille, c'est-à-dire des quartiers de Saint-Germain-l'Auxerrois, de Saint-Honoré et de Saint-Eustache, qu'il avoit encore compris dans ses murs... Depuis Philippe-Auguste, les murailles et les fortifications se sont toujours faites aux dépens des Parisiens. Les successeurs de ce prince les ont données au prévôt des marchands et échevins; ils leur en ont confié la garde, la visite, la conduite, et le soin de les réparer, rétablir et changer...»
Les seigneurs laïques, les évêques et les abbés, réunis souvent dans une même ville, avaient chacun des droits féodaux s'étendant sur certaines portions de la cité; ces droits étaient circonscrits dans des enceintes particulières, désignées sous les noms de «coulture de l'évêque, coulture du comte, coulture de l'abbaye». Les habitants possédant des propriétés en dehors de ces clôtures avaient aussi leur clôture, les remparts de la ville élevés et entretenus à leurs dépens. On comprend combien une pareille division devait amener de conflits. À Reims, par exemple, dans l'enceinte de la ville, il y avait la clôture du seigneur séculier qui tenait le château, la clôture de l'archevêque, celle du chapitre de la cathédrale et celle de l'abbaye de Saint-Remy. Quelquefois une rue étroite séparait deux clôtures, et on se battait de muraille à muraille, à quelques mètres de distance.
En campagne, les armées entouraient leurs campements de clôtures, conformément à la tradition romaine:
«Entour son ost fist li Rois faire
Fossés parfons jusqu'à deus paire,
Et i fist faire quatre entrées
De barbacanes bien fremées;
A cascune mist de ses gens
Pour bien garder dusqu'à deus cens 269»
Quelquefois les clôtures en bois étaient mobiles, pouvaient être démontées par parties, et transportées avec l'armée lorsqu'elle changeait de campement.
CLÔTURES DE PROPRIÉTÉS.--Grégoire de Tours rapporte 270 qu'un homme avait élevé un oratoire à saint Martin avec des branches entrelacées, et qu'il s'était établi avec sa femme dans cet asile, qui n'était réellement qu'une clôture faite de claies.
Pendant le moyen âge, comme de nos jours, on entourait les jardins, les vergers, les prairies, de clayonnages ou de palissades:
«. . . . . . . .
Sa meson sist joste un plessié (bois taillis)
Qui estoit richement garnie
De tot le bien que terre crie,
Si con de vaches et de bués (boeufs),
De brebiz et de lait et d'ués (oeufs),
D'unes et d'autres norriçons
De gelines et de chapons,
De ce i avoit à plenté.
Or aura-il sa volenté
Renart s'il puet entrer dedenz;
Mès je cuit et croi par mes dens
Qu'il fera par de fors sejor,
Que clos estoit trestot entor
Et li jardins et la mesons
Di pïex agus et gros et lons 271. »
Les palissades se composaient, si l'on s'en rapporte aux vignettes des manuscrits, de pieux aigus enfoncés en terre, à claire-voie, reliés entre eux par des branches souples à leur pied et près du sommet, ainsi que l'indique la fig. 1.

Les clayonnages souvent figurés dans les manuscrits des XIVe et XVe siècles paraissent être exécutés avec un soin particulier, formés souvent de bois refendu (mairrain) et de branches d'arbres s'entrelaçant en lozanges (2). De distance en distance, des branches A, prenant pied à une certaine distance du clayonnage et s'y reliant, l'étayent et le maintiennent dans son plan vertical. D'autres clôtures, plus simples, se composent de perches posées horizontalement sur de petits chevalets rustiques très-adroitement combinés, ainsi que l'indique la fig. 2 bis.

Ces sortes de clôtures étaient surtout employées pour parquer les troupeaux; en enlevant les perches horizontales, les bêtes se trouvaient libres. On trouve encore dans les pays de montagne, et particulièrement dans le Tyrol qui a conservé la plupart des usages du moyen âge, des clôtures de champs très-industrieusement travaillées, solides à l'aide des combinaisons les plus simples.
Les rois, de riches seigneurs ou des abbés, les prieurs faisaient quelquefois clore leurs jardins et leurs vergers de murs en pierre. Philippe-Auguste fit «clorre, dit Corrozet 272, le parc du bois de Vincennes de hautes murailles, et y mit la sauvagine que le roy d'Angleterre luy envoya.» Il nous est resté des fragments de belles clôtures de jardins d'abbayes. Ces clôtures sont bâties en pierre de taille, avec échauguettes aux angles pour surveiller les flancs des murailles; quelquefois même elles sont crénelées à leur sommet. L'usage d'entourer les monastères et leurs dépendances par des clôtures est fort ancien. Frodoard rapporte que Séulphe, archevêque de Reims, «fit entourer d'un mur le monastère de Saint-Remi avec les églises et les maisons adjacentes, et y établit un château-fort 273.» Il existe encore des portions de la clôture du parc de l'abbaye de Marmoustier près Tours qui sont fort belles et bien construites.

Cette clôture se composait d'un mur renforcé de distance en distance de contre-forts intérieurs et extérieurs donnant en plan la fig. 3 et en élévation perspective la fig. 4.

Elle était élevée de cinq à six mètres au-dessus du sol; mais ici le crénelage ne pouvait être utilisé qu'autant qu'on eût établi à l'intérieur un chemin de ronde en bois, ce qu'en temps de guerre on pouvait faire. La clôture du prieuré de Sainte-Marie d'Argenteuil nous est conservée dans une gravure du dernier siècle 274. Nous en reproduisons ici une portion (5) donnant un angle et le milieu d'un des côtés avec échauguettes flanquantes. À l'intérieur, ces clôtures abritaient des arbres fruitiers disposés en espaliers, et beaucoup de maisons religieuses étaient renommées pour la bonté de leurs fruits dont elles tiraient un profit assez considérable.
Autour des manoirs ou des maisons de campagne de simples bourgeois, des haies vives servaient seules de clôtures, et elles étaient entretenues avec grand soin. La culture et l'élagage des haies des maisons seigneuriales étaient à la charge des bordiers.
CLÔTURES DISPOSÉES DANS L'INTÉRIEUR DES ÉGLISES MONASTIQUES. Il ne reste aujourd'hui nulle trace des clôtures nombreuses qui divisaient à l'intérieur les églises monastiques. Pendant les premiers siècles du moyen âge, des clôtures étaient disposées autour de chaque autel. Frodoard 275 parle de l'autel que l'archevêque de Reims Hérivée «éleva et consacra au milieu du choeur de la cathédrale en l'honneur de la sainte Trinité, et qu'il entoura de tables revêtues de lames d'argent». Dès le XIIe siècle, il paraîtrait que les nombreuses clôtures qui divisaient l'intérieur des églises furent supprimées pour laisser, probablement, plus de place aux fidèles; car, à dater de cette époque, les textes et les monuments n'indiquent plus guère que les clôtures des choeurs et celles des sanctuaires.
Le plan de l'abbaye de Saint-Gall 276, si curieux à consulter lorsque l'on veut prendre une idée de ce qu'était, au IXe siècle, un grand établissement monastique, nous fait voir dans l'église un grand nombre de clôtures disposées de telle façon que l'espace réservé aux fidèles devait être fort restreint, à moins que ceux-ci ne fussent appelés dans l'église à l'occasion d'une cérémonie particulière, auquel cas ils devaient être admis à l'intérieur de plusieurs de ces clôtures. Les moeurs religieuses se sont évidemment successivement modifiées depuis cette époque reculée. Alors les diverses parties des églises n'étaient point ouvertes tout le jour comme elles le sont aujourd'hui en France, et les fidèles qui voulaient faire une prière dans la maison du Seigneur ne pouvaient circuler partout; ils se tenaient près de l'entrée dans un espace assez restreint. Déjà, au XIIe siècle, les religieux réguliers avaient senti le besoin de modifier cet état de choses au milieu de populations dont la dévotion moins ardente avait besoin d'être soutenue par le spectacle de grandes pompes religieuses. Vers le milieu de ce siècle, les évêques, voulant reprendre l'importance que les grandes abbayes leur avaient fait perdre, élevèrent, sur presque toute la surface de la France, de vastes cathédrales dont les dispositions intérieures contrastaient avec celles des églises monastiques en ce qu'elles laissaient au contraire des espaces considérables à la foule, et que les cérémonies du culte, faites à un autel unique, découvert de toutes parts, pouvaient être vues par un grand nombre d'assistants (voy. CATHÉDRALE, CHOEUR). Cette observation, qui nous est suggérée par une étude attentive des dispositions intérieures des églises du moyen âge, et à laquelle nous attachons une certaine importance puisqu'elle nous explique en partie le mouvement prodigieux qui fit reconstruire les cathédrales sur de vastes plans, à la fin du XIIe siècle et au commencement du XIIIe, ne saurait s'appuyer sur un monument plus ancien et plus authentique que celui dont nous venons de parler, le plan manuscrit de l'abbaye de Saint-Gall. L'église comprise dans ce plan est, comme les églises rhénanes, à deux absides, l'une à l'occident, l'autre à l'orient.

En voici (6) une copie réduite. Les fidèles entrent par l'abside occidentale, pourvue d'un double bas-côté AA. Ils sont arrêtés par la clôture qui entoure l'autel dédié à saint Pierre et par des barrières B, B donnant entrée dans les deux ailes de la nef C, C. Un exèdre, ou banc circulaire pour les religieux, entoure l'autel de Saint-Pierre E, élevé de deux degrés. Un premier choeur clôturé est établi en F; puis on trouve une seconde clôture entourant les fonts baptismaux G, à l'orient desquels est un autel dédié à saint Jean l'Évangéliste. Vers le milieu de la nef s'élève en H un troisième autel dédié au saint Sauveur et surmonté d'un grand crucifix; cet autel est clôturé. Puis vient le grand choeur divisé en plusieurs parties 277; la première contient l'ambon I pour la lecture des évangiles. Deux autres petits ambons K précèdent la seconde clôture du choeur réservée aux offices de nuit. Dans l'axe, à l'extrémité orientale de cette seconde clôture, est la descente à la Confession ou crypte, contenant les restes du saint; deux petits autels sont disposés en LL des deux côtés de cette descente. Sept marches M montent au sanctuaire à droite et à gauche de l'entrée de la crypte. Deux autres descentes donnent accès dans cette crypte en NN. L'autel principal O, dédié à la Vierge et à Saint-Gall, est entouré d'une galerie désignée sur le dessin par ces mots «Involutio arcuum». Cette galerie paraît être une clôture double, derrière laquelle s'ouvre l'abside orientale, dont l'autel P est dédié à saint Paul et est entouré d'un exèdre et par conséquent d'une clôture. Dans les deux transsepts RR sont deux autels dédiés à saint André et à saint Jacques et saint Philippe, autels qui ont leur clôture. Chaque travée des bas-côtés est pourvue d'un autel orienté avec clôtures divisant ces travées en chapelles. Il est facile de se rendre compte, en examinant ce plan, pourquoi le peuple ne pouvait circuler librement à travers tous ces obstacles, et comment l'église était tout entière réservée aux divers services religieux, c'est-à-dire presque uniquement occupée par les moines. Ce sont ces dispositions que les abbés cherchèrent à modifier plus tard, ainsi qu'il apparaît en étudiant les plans des églises des ordres de Cluny et de Cîteaux, et que les évêques français des XIIe et XIIIe siècles abandonnèrent absolument dans la construction de leurs nouvelles cathédrales par les motifs déduits ci-dessus. Ce mouvement du haut clergé français ne fut pas suivi également dans tout l'Occident, et les cathédrales allemandes ou rhénanes conservent encore certaines dispositions qui rappellent les clôtures des édifices monastiques carlovingiens. C'est ainsi que les cathédrales de Bamberg et de Trèves, pourvues de deux absides opposées comme toutes les cathédrales rhénanes, ont conservé encore des clôtures des XIe et XIIe siècles, en pierre, richement sculptées; elles nous indiquent quelle était la forme et la décoration des clôtures d'églises abbatiales. À défaut de monuments analogues existant en France, on peut recourir aux monuments que nous venons de citer. Celle du choeur oriental de Bamberg se compose, entre chaque pile du sanctuaire, d'un mur élevé, dans le soubassement duquel sont percés des arcs qui éclairent la crypte. Une arcature forme la décoration principale à l'extérieur, et sous chaque arcade sont sculptées deux figures d'apôtres de 1m,10 de hauteur environ, d'un grand style quoique déjà maniéré. Ces apôtres semblent discuter entre eux; ils ont tous un phylactère déroulé dans la main. Toute cette décoration était peinte et les colonnes dorées. Il est regrettable que nous n'ayons conservé en France aucune clôture de cette époque, car il n'est pas douteux que ces monuments intérieurs dussent être fort beaux et traités avec un grand soin. Il ne nous reste plus, dans quelques églises monastiques, que des clôtures en fer d'une époque plus récente, c'est-à-dire exécutées lorsque les abbés voulurent laisser voir le choeur de leurs églises. Il y avait, dans l'église de Saint-Denis de l'abbé Suger, de très-belles clôtures en fer forgé dont il existe encore quelques fragments, et nous voyons encore autour du sanctuaire de l'église abbatiale de Saint-Germer en Beauvoisis les grilles qui servaient de clôture et qui datent du commencement du XIIIe siècle. Jusque pendant le dernier siècle, les églises monastiques supprimèrent autant qu'elles le purent les clôtures pleines pour les remplacer par des claires-voies en pierre, en bois ou en fer; cependant on trouve, dans quelques pauvres églises, des restes de clôtures fermées autour des choeurs. L'église abbatiale de Saint-Seine en Bourgogne a conservé sa clôture en grossière maçonnerie, couverte, du côté extérieur, de peintures du commencement du XVIe siècle représentant l'histoire de saint Seine.
CLÔTURES DES CHOEURS DES CATHÉDRALES. En France, des clôtures de choeur existaient dans les églises cathédrales primitives; mais, lorsqu'au XIIe siècle les évêques français reconstruisirent ces monuments sur des plans beaucoup plus vastes et d'après des programmes nouveaux, il ne paraît pas qu'ils aient songé à fermer les choeurs par des clôtures fixes (voy. CHOEUR). Ce n'est que vers la fin du XIIIe siècle que nous voyons en France élever des clôtures en pierre autour des choeurs des cathédrales. L'une des plus anciennes est celle dont il reste des fragments derrière les stalles de la cathédrale de Paris; elle fut commencée pendant les dernières années du XIIIe siècle, et achevée en 1351 par Jean le Bouteillier 278. Cette clôture représente l'histoire de Notre-Seigneur disposée par travées, formant une suite de scènes ronde-bosse entre les piliers du choeur. Ces scènes, derrière les stalles, n'étaient vues que des bas-côtés; mais, autour du sanctuaire, elles se trouvaient complétement ajourées de manière à être vues de l'intérieur du choeur comme des collatéraux (voy. CHOEUR, fig. 1). Un riche soubassement décoré d'arcatures les supporte. Suivant l'usage, l'architecture et la statuaire de la clôture du choeur de Notre-Dame de Paris étaient peintes et dorées. Le choeur de la cathédrale de Bourges fut clos vers la même époque; il ne reste que des fragments fort beaux de cette clôture, déposés aujourd'hui dans la crypte. Les choeurs des cathédrales de Limoges et de Narbonne sont encore clos en partie par des tombeaux d'évêques. Il en était de même à Amiens. À Narbonne, outre les tombeaux, on voit encore les restes d'une clôture architectonique du XIVe siècle, dont nous donnons (7) une travée. Ce fragment de clôture, placé dans l'axe du sanctuaire, est complétement peint.

Plus tard, ces clôtures furent quelquefois exécutées en bois. Les XVe et XVIe siècles en élevèrent de fort riches. La clôture du choeur de la cathédrale de Chartres fut presque entièrement exécutée au commencement du XVIe siècle, et c'est une des plus remarquables. Mutilée par le Chapitre pendant le dernier siècle, pour garnir le choeur à l'intérieur de la plus lourde décoration qui se puisse imaginer, la face extérieure seule est conservée. Elle représente, comme à la cathédrale de Paris, l'histoire de Jésus-Christ divisée par travées, dans lesquelles sont sculptées des scènes ronde-bosse. Cette clôture est en pierre, exécutée avec une finesse et une richesse de détails prodigieuses. À Amiens, on voit encore, derrière les belles stalles du commencement du XVIe siècle, une clôture en pierres peintes, de la même époque, représentant du côté sud l'histoire de saint Firmin, et du côté nord l'histoire de saint Jean-Baptiste. Cette clôture, d'un assez mauvais style, est cependant fort curieuse à cause de la quantité de costumes que l'on y trouve, costumes qui sont fidèlement copiés sur ceux du temps auquel appartiennent ces sculptures. Il n'est personne qui ne connaisse la belle clôture du choeur de la cathédrale d' Alby, qui date des premières années du XVIe siècle (voy. JUBÉ). Les XVIIe et XVIIIe siècles virent détruire dans nos cathédrales la plupart de ces clôtures en pierre, au moins autour des sanctuaires; elles furent remplacées par des grilles plus ou moins riches, enlevées à la fin du dernier siècle. De sorte qu'aujourd'hui ces sanctuaires sont clos d'une manière peu convenable par des boiseries sans valeur ou des grilles d'un aspect misérable.
Note 277: (retour) Il est souvent question de sanctuaires à doubles clôtures dans les églises des premiers temps du moyen âge; Galbert, dans la Vie de Charles le Bon, écrite en 1130, chap. IV, s'exprime ainsi: «Dans le premier sanctuaire, Baudoin, chapelain et prêtre, et Robert, clerc du comte, se tenaient cachés auprès de l'autel;... dans le second sanctuaire s'étaient réfugiés Oger, clerc, et Frumold le jeune, syndic,... et avec eux Arnoul... Oger et Arnoul s'étaient couverts d'un tapis, et Frumold s'était fait une cache sous des faisceaux de branches... Alors les serviteurs qui avaient été introduits dans le sanctuaire, cherchant et retournant tous les rideaux, les manteaux, les livres, les tapis et les branches que les moines avaient coutume d'apporter tous les ans au dimanche des Rameaux...»
CLOU, s. m. Tige de fer pointue garnie d'une tête, destinée à fixer des
ferrures sur le bois ou à maintenir ensemble certaines pièces de
charpente ou de menuiserie. L'antiquité grecque et romaine employa
souvent les clous comme motif de décoration des barrières de bois, et
principalement des portes. Il n'est pas un architecte qui ne connaisse
les clous de la porte en bronze du Panthéon à Rome, ceux des portes en
bronze de Saint-Jean de Latran. Ces clous sont munis de têtes richement
ciselées qui en font des objets d'art d'une grande valeur. Cette
habitude fut suivie pendant le moyen âge, et il nous reste un grand
nombre de ventaux de portes de cette époque dont les ferrures ou les
plaques de bronze sont retenues au bois par des clous dont les têtes
sont d'un travail remarquable. Lors même que ces petites pièces de forge
sont simples comme forme, elles conservent toujours la trace d'une
fabrication soignée. Nous avons entre les mains quelques clous provenant
des ventaux vermoulus de la grande porte de l'église abbatiale de
Vézelay qui, au point de vue de la fabrication, sont d'un grand intérêt,
et sont évidemment une tradition antique. Ils se composent (1)
279
d'une tête en forme de capsule hémisphérique, munie dans sa concavité
d'une longue pointe. Cette tête, très-mince, et sa tige sont en fer; une
seconde capsule A en cuivre jaune, de l'épaisseur d'une carte à jouer,
enveloppe exactement la tête de fer de manière à présenter, à
l'extérieur, l'apparence d'une demi-sphère en bronze. Ces clous, que
nous croyons appartenir au XIe siècle, sont bien forgés, et la capsule
de bronze parfaitement ajustée sur la tête du clou. Un point de soudure
retient celle-ci sur le fer. Nous pensons que l'on enfonçait d'abord le
clou dans le bois et que l'on appliquait ensuite la capsule de bronze,
car on ne remarque sur celle-ci aucune de ces traces que les coups de
marteau y eussent laissées. Quelquefois ces revêtements de cuivre sur
les têtes de clous en fer sont fondus et ciselés, représentant
habituellement des mufles d'animaux. La belle porte revêtue de lames de
bronze qui existe encore du côté méridional de la cathédrale d'Augsbourg
(porte dont la plupart des panneaux appartiennent à une époque fort
ancienne, VIIe ou VIIIe siècle), et qui fut remontée au XIIe, présente
une série de clous appartenant à cette dernière époque, dont les têtes
figurent des masques humains en bronze (2). Ces traditions antiques se
perdirent vers la fin du XIIe siècle, et depuis lors les clous simples
ou ornés ne furent plus que des pièces de forge en fer. Il existe encore
sur les ventaux de portes du XIIe siècle un grand nombre de clous dont
la tête est forgée en pointe de diamant, et dont la tige, divisée en
deux pointes, est rivée sur les traverses, ainsi que l'indique la fig.
3.

C'était un moyen sûr et puissant de serrer les planches des huis contre les membrures qui les portaient, car alors on ne connaissait point les écrous taraudés, les vis et les boulons. Quelquefois les têtes de clous sont forgées en forme de graines ou de pistils de fleurs, ainsi que l'indiquent les fig. 4 et 4 bis 280, refendues et à facettes (5) 281, coniques (6 et 6 bis) 282.

Bientôt on reconnut que quand les clous étaient enfoncés directement dans le bois, pour relier des huis, et qu'ils ne portaient pas sur des bandes de fer, telles que pentures, équerres, etc., la tête enfoncée à coups de marteau éraillait le bois ou ne le joignait pas exactement; on posa entre cette tête et le bois une rondelle de fer battu légèrement modelée, le creux posé du côté du bois afin de faire ressort et de joindre ainsi exactement les têtes de clous aux planches, comme on place aujourd'hui des rondelles sous les écrous des boulons. Seulement les serruriers du moyen âge donnaient à ces rondelles des formes variées; plus barbares apparemment que ceux de notre temps, ils ne pensaient pas qu'une nécessité de métier dût exclure l'art comme une superfluité inutile. À dater du XIIIe siècle, les exemples de clous munis de rondelles sont si fréquents et si variés, que nous ne pouvons que choisir quelques-uns des plus remarquables. Ces rondelles sont composées d'une petite plaque de fer battu très-mince, percée au milieu d'un trou juste assez grand pour laisser passer la tige du clou, dont le collet vient forcer la rondelle à s'appliquer sur le bois. Celle-ci ayant presque toujours sa concavité du côté du bois, il en résulte qu'en frappant sur la tête du clou pour l'enfoncer, on fait pénétrer les extrémités de la rondelle dans les fibres du bois, de manière à ne pas présenter sur la surface des planches des aspérités ou saillies de nature à écorcher les mains ou à arrêter la poussière.

La fig. 7 donne plusieurs exemples de ces clous à rondelles: le clou A provient de la porte méridionale de l'église de Schelestadt, XIIe siècle; le clou B, en notre possession, provient d'une porte de Carcassonne, XIIIe siècle; le clou C, d'une porte de Rouen; le clou D, d'une porte de l'église de Flavigny (Côte-d'Or). On alla plus loin; on mit bientôt deux rondelles l'une sur l'autre, dont les formes, en se contrariant, présentaient des dessins plus variés et d'un modelé plus apparent. C'est surtout à dater du XVe siècle que cette méthode fut employée. Nous possédons deux clous de cette époque munis de doubles rondelles qui sont de véritables chefs-d'oeuvre; ils proviennent de démolitions 283. L'un d'eux présente deux rondelles superposées dont la forme est inscrite chacune dans un carré (8). Ces rondelles sont découpées et modelées au moyen d'un procédé bien simple. Des coups de poinçon sous les feuilles leur ont donné le galbe reproduit dans notre dessin. La tête du clou est finement forgée et retouchée au burin. L'autre clou (9), d'une époque plus récente, possède deux rondelles inscrites chacune dans un triangle. Ici le forgeron a mis plus d'art dans le modelé des feuilles, et, de plus, il les a retouchées au burin. La tête du clou est refendue à chaud et burinée.

Les clous qui maintiennent les serrures, les entrées ou les marteaux de porte, ont souvent leurs têtes forgées en forme de figurines très-délicatement travaillées.

Nous donnons (10) un de ces clous, qui date du XIIIe ou du XIVe siècle, et qui provient d'une église de Basse-Bretagne 284. Quelquefois les têtes de ces clous de serrures sont en forme d'écussons armoyés, ou représentent des muffles d'animaux (voy. SERRURERIE).
La renaissance conserva ces habitudes d'art industriel dans les moindres détails de la construction; elles ne se perdirent que vers le milieu du XVIIe siècle. Cependant on trouve encore, en province surtout, la trace de ces traditions du moyen âge dans la serrurerie du dernier siècle.
COLLATÉRAL, s. m. S'emploie pour désigner les ailes, les nefs latérales ou bas-côtés des églises (voy. CATHÉDRALE, ÉGLISE).
COLLÉGE, s. m. Établissement destiné à l'enseignement des lettres, des arts et des sciences, élevé par suite d'une fondation particulière. Sauval nous donne de curieux détails sur l'origine de ces établissements dans la ville de Paris 285. Nous indiquons, dans l'article sur l'ARCHITECTURE MONASTIQUE, quelques-unes des raisons qui déterminèrent les riches abbayes à fonder des colléges dans Paris ou dans d'autres villes populeuses et puissantes. Les cathédrales (voy. CATHÉDRALE, CLOÎTRE) possédaient, la plupart, sous l'ombre de leurs clochers, des écoles, dont quelques-unes devinrent célèbres. Jusqu'au XIIe siècle, l'enseignement ne sortit pas de l'enceinte des cloîtres des abbayes ou des églises épiscopales; mais, à cette époque déjà, il se répandit au dehors. Abailard fut un des premiers qui enseignât la dialectique, la théologie et la philosophie, en dehors des écoles alors seules reconnues; son succès fut immense: après avoir battu ses adversaires, il vit le nombre de ses élèves s'accroître sans cesse autour de sa chaire, jusqu'au moment où le pape Innocent II, confirmant le jugement du concile de Sens qui condamnait la doctrine d'Abailard, lui interdit l'enseignement. Il n'entre pas dans le cadre de notre Dictionnaire de traiter les questions qui alors divisaient le monde enseignant; il nous suffira d'indiquer ici le mouvement extraordinaire des esprits vers les études philosophiques, mouvement qui, malgré les persécutions dont Abailard fut l'objet, comme le sont tous les professeurs qui prétendent quitter les voies de la routine, entraîna bientôt les prélats, les abbayes et même les particuliers, à fonder, à Paris principalement, un grand nombre d'établissements moitié religieux, moitié laïques, qui s'ouvrirent à la jeunesse avide de savoir. Sous Louis VII, les écoles du cloître Notre-Dame ne pouvant contenir le nombre des étudiants qui venaient s'y presser, le chapitre de la cathédrale de Paris souffrit que les écoliers passassent la rivière et s'établissent autour de Saint-Julien-le-Pauvre. Ce fut là que Guillaume de Champeaux, le maître et bientôt après l'adversaire malheureux d'Abailard, vint enseigner. De Saint-Julien, l'école des humanistes et des philosophes fut transférée à Saint-Victor. «Depuis, dit Sauval, le nombre des écoliers de dehors étant venu à s'augmenter, les écoles des Quatre-Nations furent bâties à la rue du Fouare; ensuite on fonda le collége des Bons-Enfants, celui de Saint-Nicolas-du-Louvre, et le collége Sainte-Catherine-du-Val des écoliers. Il fut permis même, en 1244, d'enseigner les sciences partout où l'on voudroit, et dans les maisons que les régents trouveroient les plus commodes. Mais afin que pas un d'eux ne dépossédât son compagnon de celle qu'il avoit louée, Innocent IV fit des défenses expresses là-dessus, par deux bulles consécutives, l'une donnée à Lyon le deux des nones de mars, l'an deuxième de son pontificat; l'autre, sept ans après, datée de Péronne le troisième des calendes de juin, avec commandement au chancelier de l'Université de faire taxer le louage des maisons où ils demeuroient. Dans tout ce temps-là, et même jusqu'au règne de saint Louis, il n'y eut point à Paris de colléges, bien que nous apprenions de Rigord en la vie de Philippe-Auguste, et même de l'Architremius de Joannes Hantivillensis, qu'en 1183 on y comptoit plus de dix mille écoliers; et nonobstant cela, il est constant qu'ils n'avoient point de quartier affecté, et se trouvoient dispersés de côté et d'autre dans la ville, de même que les écoles et les régents; personne encore ne s'étant avisé de fonder des colléges ou hospices. Je me sers du mot hospice, non sans raison; car les colléges qu'on vint à bâtir d'abord n'étoient simplement que pour loger et nourrir de pauvres étudiants. Que si depuis on y a fait tant d'écoles, ce n'a été que longtemps après, et pour perfectionner ce que les fondateurs, en quelque façon, n'avoient qu'ébauché.»
Sous le règne de saint Louis cependant furent fondés et rentés les colléges de Calvi, de Prémontré, de Cluny et des Trésoriers. «Mais, ajoute Sauval, comme depuis ce temps-là, tant les rois que les reines, les princes, les évêques, outre beaucoup de personnes riches et charitables, en firent d'autres presque à l'envi, insensiblement il s'en forma un corps, dont l'union fut cause que ce grand quartier où ils se trouvèrent prit le nom d'Université... Or par ce moyen des colléges tout le quartier devint si plein d'écoliers, que quelquefois ils ont forcé, tant le Parlement que ceux de Paris, et les rois eux-mêmes, à leur accorder ce qu'ils demandoient, quoique la chose fût injuste. Et de fait leur nombre étoit si grand, que, dans Juvénal des Ursins, il se voit qu'en 1409 le recteur alla en procession à Saint-Denis en France pour l'assoupissement des troubles, et, lui n'étant qu'aux Mathurins (Saint-Jacques), les écoliers néanmoins du premier rang, et qui marchoient à la tête des autres, entroient déjà dans Saint-Denis.»
Dès le XIIIe siècle, Paris était devenu la ville des lettres, des arts et des sciences en Europe. Les élèves y affluaient de l'Angleterre, de l'Allemagne et de l'Italie 286. Les écoliers, réunis d'abord dans des maisons que louaient des recteurs ou que donnaient des particuliers, purent bientôt s'assembler dans des établissements construits pour les contenir. En 1252, saint Louis institue le collége de la Sorbonne. Robert de Sorbone fonde le collége de Calvi. En 1246, les Bernardins, moines de l'ordre de Cîteaux, érigent les écoles des Bernardins. En 1255, l'abbé de Prémontré achète neuf maisons de la rue des Étuves afin de bâtir à leur place un collége pour les religieux. En 1269, Ives de Vergé, abbé de Cluny, fonde un collége au-dessus de la rue de la Sorbonne pour les religieux de son ordre. Devant la porte de l'Hôtel-Dieu, sur le parvis Notre-Dame, existait une maison où étaient logés dix-huit pauvres écoliers. Cette fondation fut transférée devant le collége de Cluny. En 1269, Guillaume de Saona, trésorier de l'église de Notre-Dame de Rouen, fonde un collége dans la rue de la Harpe pour vingt-quatre écoliers. En 1280, Raoul de Harcourt, chanoine de l'église Notre-Dame de Paris, fonde un autre collége rue de la Harpe. En 1289, Jean Cholet, évêque de Beauvais, laisse par testament 6,000 livres pour fournir aux frais de la guerre d'Arragon; mais Gérard de Saint-Just et Évrard de Nointel, ses exécuteurs testamentaires, convertissent ce legs en achat de quelques maisons près de l'église Saint-Étienne-des-Grès, lesquelles ils érigent en collége. En 1302, le cardinal J. le Moine établit un collége sur des terrains situés entre la rue Saint-Victor et la Seine. En 1304, Jeanne, femme de Philippe le Bel, fonde le collége de Navarre; c'était un des plus beaux colléges de Paris. En 1308, Guillaume Bonnet, évêque de Bayeux, bâtit le Collége de Bayeux. En 1313, Gui de Laon et Raoul de Preelles, secrétaire de Philippe le Bel, établissent un collége au bas du mont Saint-Hilaire pour les pauvres étudiants de Laon et de Soissons. En 1314, Gilles Aiscelin, archevêque de Rouen, achète, proche l'église de Sainte-Geneviève, un terrain sur lequel il bâtit le collége appelé depuis de Montaigu. En 1317, Bernard de Forges, archevêque de Narbonne, fonde le collége de Narbonne. En 1322, Geoffroi du Plessis, notaire du pape Jean XXII et secrétaire de Philippe le Long, affecte son hôtel, situé rue Saint-Jacques, à l'établissement d'un collége. Vers 1325, Jeanne de Bourgogne, reine de France, fonde le collége de Bourgogne. En 1332, Nicolas le Candrelier, abbé de Saint-Vaast, fonde le collége d'Arras pour de pauvres étudiants de l'Artois. André Chini, Florentin, évêque d'Arras, élève un collége en faveur des écoliers italiens. En 1332, onze boursiers sont institués dans ce collége par trois seigneurs italiens. En 1333, Étienne de Bourgueil, archevêque de Tours, fait édifier le collége de Tours. En 1336, Gui de Harcourt, évêque de Lizieux, laisse par testament une somme suffisante pour louer une maison propre à entretenir vingt-quatre écoliers. En 1334, Jean Huban, conseiller du roi, fonde le collége de l'Ave-Maria. En 1341, Pierre Bertrand, cardinal, évêque d'Autun, érige, rue Saint-André-des-Arcs, le collége d'Autun. En 1343, Jean Mignon, conseiller du roi, achète plusieurs maisons tenant à l'ancien hôtel de Vendôme qu'il destine à l'érection d'un collége. En 1348, les trois évêques de Langres, de Laon et de Cambrai, laissent par testament la somme nécessaire à la fondation du collége de Cambrai. En 1342, Guillaume de Chanac, évêque de Paris, institue un collége en l'honneur de saint Michel pour les pauvres étudiants du Limousin, son pays. En 1353, Pierre de Boucourt, chevalier, fonde le collége de Boucourt et de Tournay. En la même année, Jean de Justice, chanoine de l'église Notre-Dame de Paris, achète plusieurs maisons rue de la Harpe pour y établir le collége de Justice. En 1359, Étienne de Boissé laisse quelques maisons, situées derrière l'église Saint-André-des-Arcs, pour être converties en collége.
Vers la même époque, un autre collége est érigé derrière les Mathurins-Saint-Jacques par Maistre Gervais, médecin de Charles V. En 1365, le cardinal Jean de Dormans, évêque de Beauvais, chancelier de France, élève le collége dit de Dormans. En 1380, Michel de Dainville, chanoine archidiacre de Noyon, conseiller du roi Charles V, fonde le collége de Dainville. La même année, le collége de Cornouailles est fondé par Galeran Nicolas. En 1391, Pierre de Fortet, chanoine de Notre-Dame de Paris, ordonne qu'un collége soit érigé sur ses biens. En 1400, le collége de Treguier est établi par Guillaume Coëtman, chantre de l'église de Treguier. Ajoutons à cette longue liste de fondations celles des colléges de Reims, de Coquerel, de la Marche, de Sées, de la Merci, du Mans, de Sainte-Barbe, des Jésuites et des Grassins, élevés pendant les XVe et XVIe siècles.
La ville de Paris possédait, en dehors de ces établissements, plusieurs écoles publiques: l'école des Quatre-Nations, rue du Fouare, citée par Pétrarque. En 1109, Guillaume de Champeaux avait fondé une école rue Saint-Victor. En 1182, il existait plusieurs écoles pour les Juifs. En 1187, il y avait à Saint-Thomas-du-Louvre une école pour cent soixante pauvres prêtres. En 1208, Étienne Belot et sa femme donnent un arpent de terre, près le cimetière Saint-Honorat, pour établir le collége des Bons-Enfants. En 1415 est bâtie l'École de droit. En 1472, l'École de médecine est construite rue de la Bucherie. L'École des beaux-arts n'existait pas alors; les arts plastiques et l'architecture s'enseignaient dans le sein des corporations qui avaient leurs traditions et leur enseignement. De tous ces colléges, plusieurs, à la fin du dernier siècle, conservaient encore quelques-uns de leurs anciens bâtiments. De nos jours, nous avons encore vu, à la place qu'occupe aujourd'hui la bibliothèque Sainte-Genevière, le collége de Montaigu, qui présentait quelques traces de ses dispositions primitives.
Les colléges élevés pendant les XIIIe et XIVe siècles n'avaient pas les dimensions que l'on a dû donner depuis à ces établissements; ils ne contenaient qu'un nombre assez restreint de pensionnaires; c'était des asiles ouverts aux écoliers de province qui obtenaient la faveur d'être envoyés à Paris pour étudier les lettres et les sciences. Mais ils réunissaient dans les classes un personnel assez nombreux d'externes logés au dehors, pour que, dans les temps de troubles, cette population flottante fût un véritable danger pour la ville de Paris. Aussi, pendant le XVIe siècle, la plupart de ces établissements furent-ils augmentés, afin de pouvoir contenir des pensionnaires en plus grand nombre; mais l'espace manquait dans une ville aussi populeuse, et les bâtiments s'aggloméraient successivement autour du premier noyau sans qu'il fût possible de donner de l'unité à leur réunion. Les colléges de Paris ne purent jamais présenter un ensemble de constructions élevées d'un seul jet, tels que ceux que nous voyons encore à Oxford et à Cambridge en Angleterre. C'est dans ces deux villes qu'il faut aller pour prendre une idée exacte de ce qu'était un collége pendant le moyen âge, car les universités d'Oxford et de Cambridge ont conservé à peu près intacts leurs immenses revenus et maintiennent leurs vieilles coutumes. Chacun de ces colléges contient une vaste chapelle, une bibliothèque, un réfectoire, des cuisines et leurs dépendances, un logement pour le principal, des chambres pour les élèves, des logements pour les associés, fellows 287, des salles, des jardins, des prés, une brasserie, quelquefois un jeu de paume. Tous ces grands établissements, richement dotés, admirablement entretenus, bien situés, entourés de jardins magnifiques, présentent l'aspect de l'abondance et du calme. Si on devait leur adresser un reproche, c'est d'habituer les jeunes gens à une existence princière; mais les moeurs anglaises ne ressemblent pas aux nôtres. Les colléges d'Oxford et de Cambridge semblent n'être faits que pour les classes élevées de la société. Depuis deux cents ans, nous sommes tombés en France dans l'excès opposé; la plupart de nos colléges, établis dans de vieux bâtiments, resserrés, sans air, sans verdure autour d'eux, ou bâtis avec une parcimonie déplorable, tristes en dedans ou au dehors, accumulant les étages les uns sur les autres, les bâtiments à côté les uns des autres, ne montrant aux écoliers que des murs nus et noirs, des cours fermées et humides, des couloirs sombres, partout la pauvreté avec ses tristes expédients, semblent destinés à faire regretter la maison paternelle aux écoliers qui doivent y passer huit ou dix années de leur jeunesse. Dans ces tristes demeures, l'art n'entre pas, il semble exclu; tout ce qui frappe les yeux de la jeunesse est dépouillé, froid, maussade, comme si ces établissements étaient destinés à froisser les âmes délicates, celles qui sont les plus propres à former des artistes, des hommes de lettres, des savants, celles chez qui l'étude ne pénètre qu'en se parant d'une enveloppe aimable. Avant de jeter l'épithète de barbares aux siècles qui sont déjà loin de nous, portons nos regards sur nous-mêmes, et demandons-nous si un peuple intelligent, sensible, facile à émouvoir pour le bien comme pour le mal, si un peuple qui tient le premier rang dans les travaux de l'esprit, n'a besoin que de routes, de ponts, de larges rues, de marchés magnifiques et de boutiques splendides; s'il n'est pas nécessaire d'élever la jeunesse dans des établissements sains, bien disposés, agréables à la vue, dans lesquels le goût et l'art interviennent pour quelque chose.
Les entrées de nos colléges du moyen âge étaient élégantes, décorées par les statues de leurs fondateurs. L'écolier qui venait s'enfermer dans ces demeures consacrées à l'étude n'éprouvait pas ce sentiment de répulsion qui, dès l'abord, s'empare des nôtres aujourd'hui lorsqu'ils se trouvent devant ces portes nues, sombres, qui ressemblent à l'entrée d'un pénitencier. À Oxford comme à Cambridge, les entrées des colléges sont de jolis monuments, élégants, couverts de sculpture, et protégés par les images des bienfaiteurs de ces établissements; les cours entourées de portiques délicatement travaillés ou de bâtiments construits avec luxe, les réfectoires larges, hauts, bien aérés et éclairés, ces verts gazons qui tapissent les préaux, ces fontaines, ces loges qui rompent la monotonie des longues façades, égayent l'imagination au lieu de l'attrister. Combien est-il d'enfants en France qui, sortant de la maison paternelle, où tout semble disposé pour plaire aux regards, ont éprouvé, en entrant dans un collége, ce sentiment de froid qui saisit toute âme délicate en présence de la laideur et de la pauvreté? Supposez que nos colléges aient des fellows, il est certain que pas un sur dix ne remettra jamais les pieds dans les demeures maussades et nauséabondes où ils ont dû passer leurs premières années d'études. Regardons près de nous toutes les fois que nous voudrons juger le passé; s'il est plein d'abus et de préjugés, peut-être sommes-nous trop pleins de vanité.
Note 286: (retour) C'est là un fait que devraient détruire d'abord les personnes qui, nous ne savons pour quel motif ne veulent pas admettre une influence purement française sur les arts du moyen âge. Que cette influence dérange les systèmes qu'elles veulent faire prévaloir, cela est fâcheux; mais il serait bon d'opposer autre chose que des phrases banales à des faits dont tout le monde peut reconnaître l'importance. Ce XIIIe siècle, livré à la barbarie et à l'ignorance, couvre tout un quartier de Paris d'établissements destinés non-seulement à l'enseignement, mais encore au logement gratuit des écoliers pauvres; des rentes attachées à ces établissements sont affectées au payement des professeurs et à la nourriture des élèves. Il est certain qu'une ville qui pense à bâtir des colléges et à réunir dans son sein des écoliers venus de tous les coins de l'Europe, même aux dépens de sa tranquillité intérieure, avant de songer à aligner ses rues, à élever des marchés, des abattoirs, à faire des trottoirs et des égouts, est une ville peuplée de sauvages laissant dans l'histoire un pernicieux exemple.
Note 287: (retour) Les fellows sont d'anciens élèves qui demeurent associés au collége par un privilége particulier; les fellows conservent toute leur vie durant le droit d'avoir un logement dans le collége, d'y entretenir un cheval, d'y prendre la bière. Il est des colléges d'Oxford ou de Cambridge qui entretiennent jusqu'à quinze et vingt fellows.
COLOMBIER, s. m. Pigeonnier. Bâtiment destiné à contenir des troupes de pigeons et à leur permettre de pondre et de couver leurs oeufs à l'abri des intempéries.
Pendant le moyen âge, la construction d'un colombier était un privilége réservé à la féodalité. Le paysan ne pouvait avoir son four; il fallait qu'il apportât son pain au four banal du château ou de l'abbaye, et qu'il payât une redevance pour le faire cuire. Il ne lui était pas permis non plus d'avoir un pigeonnier à lui appartenant. Il en était des pigeons comme des troupeaux de bêtes à cornes et à laine, ils appartenaient au seigneur, qui seul en pouvait tirer un produit. Les troupes de pigeons étant un rapport, ceux qui avaient le privilége de les entretenir cherchaient tous les moyens propres à en rendre l'exploitation productive. La construction d'un pigeonnier était donc une affaire importante. Tous les châteaux possédaient un ou plusieurs pigeonniers; les manoirs, demeures des chevaliers, petits châteaux sans tours ni donjons, pouvaient encore posséder un pigeonnier. Il n'est pas besoin de dire que les abbés, qui étaient tous seigneurs féodaux, et qui possédaient les établissements agricoles les mieux exploités pendant le moyen âge, avaient des pigeonniers dans les cours des abbayes, dans les fermes qui en dépendaient, les prieurés et les obédiences.
Les propriétaires de trente-six arpents avaient le droit de joindre à leur habitation, non un colombier construit en maçonnerie, mais un pigeonnier en bois de seize pieds de hauteur et pouvant contenir seulement de soixante à cent vingt boulins. On entend par boulins (du grec [Grec: bôlos]) les trous pratiqués dans les colombiers et destinés à la ponte des oeufs de pigeons. De là on est venu à donner le nom de boulins aux trous réservés dans la maçonnerie pour recevoir les pièces de bois horizontales des échafauds, et par suite à ces pièces de bois elles-mêmes (voy. ÉCHAFAUD).
Les colombiers sont généralement bâtis en forme de tour cylindrique avec toit conique, bien fermés de murs épais et distribués à l'intérieur avec un soin tout particulier. Nous en connaissons plusieurs dans les provinces françaises du nord qui ont été bâtis pendant les XIVe et XVe siècles, et qui sont dignes d'être étudiés. Il en existe un dans une ferme du village de Creteil près Paris, rue des Mèches, 14, qui paraît appartenir aux dernières années du XIVe siècle. Il est bâti en tour ronde et est divisé en deux étages. Le rez-de-chaussée était destiné à contenir des bestiaux, des moutons probablement. Le premier était réservé aux pigeons.

Voici (1) le plan au niveau du rez-de-chaussée. En A est la porte de l'étable, en A' celle de l'escalier, en B des fenêtres, en C une auge, en D l'escalier qui monte au pigeonnier, en E une colonne en pierre dont l'usage est indiqué dans la coupe (2).

Ainsi que l'indique cette coupe prise sur GH, une forte poutre porte sur la colonne et deux consoles en pierre incrustées dans le mur. Des solives reposent sur cette poutre et reçoivent le plancher. Un arbre vertical, muni de deux pivots en fer à chacune de ses extrémités et formant l'axe de la rotonde, reçoit trois potences auxquelles est accrochée une échelle que la disposition des potences, qui ne sont pas sur un même plan, oblige d'incliner. Cet arbre muni de son échelle permettait, en pivotant, aux gens de la ferme, de visiter facilement tous les boulins et de dénicher les pigeonneaux. Au niveau du plancher, en F, est un trou en pente traversant la muraille et destiné à l'extraction du guano. Le comble est hermétiquement fermé par des bardeaux à l'intérieur, enduits de plâtre aujourd'hui. Le parement de la tour contient vingt-cinq rangs de soixante boulins chacun environ, ce qui fait quinze cents couvées de pigeons. De cinq en cinq rangs de boulins est une petite saillie permettant aux personnes qui vont dénicher les pigeonneaux de poser le pied, afin d'être plus à l'aise pour procéder à cette opération. Une fenêtre et une lucarne, celle qui donne entrée aux pigeons, sont les seules ouvertures qui laissent pénétrer le jour et l'air dans l'intérieur de la tour.

La fig. 3 donne le détail de la construction des boulins; le colombier est entièrement bâti en pierre et moellons.

Sur la clef de la porte est sculpté l'écu armoyé dont nous présentons (4) la copie. Pour compléter la description de cette curieuse bâtisse, nous donnons (5) son plan pris au niveau KL de la coupe (fig. 2) 288.
Un autre colombier assez semblable à celui-ci, et qui appartient à la même époque, existe encore à Nesle (Oise), dans une ferme près de l'église. Le rez-de-chaussée du colombier de Nesle ne contient pas une étable, mais un poulailler possédant six rangs de boulins. Une colonne en pierre se dresse dans l'axe, comme dans le pigeonnier de Creteil, et porte un arbre à pivots muni de potences doubles recevant deux échelles au lieu d'une. Les boulins pour les pigeons sont plus nombreux qu'à Creteil, et sont au nombre de près de deux mille; ils sont construits en moellons et brique, c'est-à-dire qu'une assise de brique sépare chaque rang de boulins et que l'intérieur de ceux-ci est entièrement maçonné en brique; cette matière avait paru probablement plus chaude et moins humide que le moellon. L'arbre central pivotant est disposé ainsi que l'indique la fig. 6.

Les pièces AB sont des moises doubles qui ne sont pas sur un même plan afin de pouvoir donner une certaine inclinaison aux deux échelles. On ne monte au pigeonnier que par une échelle extérieure que l'on dresse devant la porte donnant sur le plancher du premier étage. Du reste, le pigeonnier de Nesle porte les mêmes dimensions que celui de Creteil, 6m,80 de diamètre intérieur et 1m,00 d'épaisseur de mur. Il est construit avec grand soin, et l'entrée des pigeons se fait par trois jolies lucarnes de pierre ménagées dans la hauteur du comble, l'une à l'est et les deux autre au sud-ouest et au nord-ouest.

La fig. 7 reproduit la vue extérieure du pigeonnier de Nesle: ses bandeaux, sa corniche et ses lucarnes sont en pierre; le reste de la bâtisse, à l'extérieur, est fait en moellon enduit; à l'intérieur, en moellon proprement taillé et en belles briques.

Nous figurons (8) une des lucarnes; les constructeurs ont eu le soin de ménager en avant une saillie, sorte de petit balcon dépassant le relief de la corniche, qui permet aux pigeons de se réunir en troupe avant d'entrer dans le colombier, ce qui est dans leurs habitudes. On remarquera même les deux petits épaulements B destinés à les garantir du vent lorsqu'ils viennent se reposer sur l'appui de la lucarne. Ces deux exemples de pigeonniers des provinces du nord indiquent assez le soin et l'étude apportés par les constructeurs du moyen âge jusque dans les bâtisses les plus ordinaires.
Il existe encore, près de Rouen, à Saint-Jacques, un très-beau colombier bâti en briques de diverses couleurs, et qui appartient au commencement du XVIe siècle. Trois lucarnes en bois s'ouvrent dans le comble. Ses dispositions rappellent le colombier de Nesle. Cependant l'étage supérieur est porté en encorbellement sur le soubassement, ce qui donne à cette construction une certaine grâce.
Dans les provinces méridionales, les colombiers affectent, jusqu'au XVIe siècle, la forme circulaire, comme ceux du nord; mais leur couronnement présente une disposition toute particulière et qui appartient à ces contrées: c'est une sorte d'abri destiné à garantir les pigeons contre les grands vents et à leur permettre de se rassembler en nombre sur le toit de l'édifice. Ces pigeonniers sont généralement plus petits que ceux des provinces septentrionales, mais ils sont en revanche très-abondants.

Un des plus anciens que nous connaissions est un pigeonnier dépendant autrefois de l'abbaye de Saint-Théodard, près Montauban. Ce pigeonnier, dont nous donnons (9) l'aspect sur deux faces, est entièrement bâti en brique, terminé par une voûte hémisphérique percée d'une lucarne avec claire-voie. On aperçoit en A le mur renforcé de trois tourelles pleines, et qui ne sont qu'un ornement, dépassant la couverture et formant l'abri dont nous venons de parler. Il faut dire que, dans ces contrées, les grands vents viennent régulièrement du même point de l'horizon, et qu'ainsi cet abri opposé à la direction invariable des vents violents est parfaitement motivé. Une seule porte à rez-de-chaussée donne entrée dans le colombier, qui, à l'intérieur, est muni de boulins ménagés dans les parements. Un chéneau avec crénelage et gargouille accompagne la coupole. Ce petit édifice n'a que 4m,60 de diamètre sur environ 11m,50 du sol au sommet des trois pinacles 289.

La disposition habituelle des colombiers du Languedoc, à partir du XVIe siècle, est celle d'un bâtiment carré couronné par un toit à une seule pente avec abri, presque toujours accompagné de pinacles aux angles, afin de signaler cet édifice aux pigeons. Voici (10) un de ces colombiers, comme on en trouve en si grand nombre dans les environs de Toulouse et de Montauban. Des carreaux de brique vernissée incrustés dans l'enduit extérieur, ainsi qu'il est figuré en A, empêchent les belettes de monter jusqu'à l'ouverture réservée aux pigeons. Il en est aussi qui sont bâtis sur quatre colonnes isolées, afin de soustraire les pigeons aux approches de leurs ennemis acharnés. Quatre poitraux en bois posés sur les quatre colonnes portent la maçonnerie de brique, et un trou percé au centre du plancher, auquel on adapte une échelle volante, permet d'entrer dans le pigeonnier.
COLONNE, s, f. Cylindre de pierre posé sur une base ou un socle, recevant un chapiteau à son sommet, employé dans la construction comme point d'appui pour porter une plate-bande ou un arc. Les architectes du moyen âge n'eurent pas à inventer la colonne. Les monuments antiques de l'époque romaine laissaient sur le sol des Gaules une quantité innombrable de colonnes, car aucune architecture ne prodigua autant ce genre de support que l'architecture des Romains. Nos premiers constructeurs romans employèrent ces fragments comme ils purent; ils trouvaient très-simple, lorsqu'ils élevaient un édifice, d'aller chercher, parmi les débris des monuments antiques, des fûts de colonnes et de les dresser dans leurs nouvelles constructions, sans tenir compte de leur grosseur ou de leurs proportions, plutôt que de tailler à grand'peine, dans les carrières, des pierres de grande dimension et de les amener à pied-d'oeuvre. Il résulta de cette réunion de colonnes ou même de fragments de colonnes de toutes dimensions et proportions, dans un même édifice souvent, un oubli complet des méthodes qui avaient été suivies par les Romains dans la composition des ordres de l'architecture. Les yeux s'habituèrent à ne plus établir ces rapports entre les diamètres et les hauteurs des colonnes, à ne plus éprouver le besoin de l'observation des règles suivies par les anciens. Cet oubli barbare, résultat de la perte des traditions et de moyens de construction très-incomplets, du défaut d'ouvriers capables, fit faire aux architectes des premiers temps du moyen âge les plus singulières bévues. Pour eux, les colonnes antiques, souvent taillées dans des matières précieuses, furent un objet de luxe, une sorte de dépouille dont ils cherchèrent à parer leurs grossiers édifices, sans se préoccuper souvent de la fonction véritable de la colonne. D'ailleurs, s'ils étaient hors d'état de tailler un cylindre dans un bloc de pierre, à plus forte raison ne pouvaient-ils sculpter des chapiteaux et des bases; il arriva qu'ils placèrent tantôt une colonne sur le sol sans base, tantôt un chapiteau antique sur une colonne dont le diamètre ne correspondait pas avec celui du fût. Trop inexpérimentés pour oser combiner un système de construction reposant sur des points d'appui grêles, ils placèrent les colonnes qu'ils arrachaient aux débris des monuments antiques dans des angles rentrants, ou les accolèrent à des piliers massifs, comme une décoration plutôt que comme un support.
Lorsque l'architecture romane se développa et essaya de substituer aux traditions abâtardies de l'architecture antique un art nouveau, tantôt elle se servit de la colonne comme l'avaient fait les Romains, c'est-à-dire comme d'un point d'appui monolythe, grêle, isolé, tantôt comme d'une pile cylindrique, épaisse, composée d'assises, destinée à porter une charge très-lourde. Il est certain que la colonne isolée est employée par les architectes romans tout autrement qu'elle ne le fut chez les Romains. Les Romains, si ce n'est dans les derniers temps du Bas-Empire et dans l'architecture dite byzantine, n'employèrent généralement les colonnes qu'en les surmontant de l'entablement, c'est-à-dire qu'ils n'employèrent que les ordres complets; s'il est des exceptions à cette règle, elles sont rares. Vitruve, dans sa description de la basilique qu'il bâtit à Fano, parle d'un grand ordre portant des poitraux et des piles isolées sans entablement. Si les colonnes pouvaient se passer de leur entablement, c'était lorsqu'elles portaient des arcs. Cependant nous voyons, dans les thermes romains et autres édifices analogues, des colonnes portant des arcs ou des voûtes d'arêtes, et possédant toujours un entablement sans usage mais comme une décoration jugée nécessaire. Les architectes romans, soit qu'ils eussent sous les yeux des exemples de monuments du Bas-Empire dans lesquels les arcs venaient poser leur sommier sur le chapiteau, soit que leur bon sens naturel leur indiquât que dans ce cas l'entablement n'était plus qu'un membre inutile, renoncèrent à l'employer. Et comme ils n'adoptaient presque jamais la plate-bande dans leurs constructions, il en résulta que s'ils conservèrent la colonne antique, ils supprimèrent toujours l'entablement. Les colonnes des édifices romans sont donc dépourvues de ce complément, et ne possèdent que la base et le chapiteau. L'ordre corinthien était celui qui, sous l'Empire, avait été presque exclusivement employé, surtout dans les derniers temps; aussi les architectes romans cherchèrent-ils à imiter les chapiteaux de cet ordre, de préférence à tout autre. Mais la diminution des fûts antiques, leur galbe, était un détail de l'art trop délicat pour être apprécié par des hommes grossiers; aussi lorsqu'ils élevèrent des colonnes, ils les taillèrent le plus souvent suivant la forme cylindrique parfaite, c'est-à-dire qu'ils leur donnèrent le même diamètre dans toute leur hauteur. Nous devons observer en passant que les colonnes isolées sont de préférence adoptées pendant l'époque romane dans les contrées où il restait des débris considérables d'édifices antiques. Dans les provinces méridionales, le long du Rhône, de la Saône, de la Marne, nous trouvons la colonne isolée fréquemment employée comme pile; tandis que, dans les contrées où les traditions antiques étaient plus effacées, les colonnes ne sont guère usitées que pour cantonner des piles à plan carré; elles sont alors engagées et reçoivent les retombées des arcs, ou bien elles tiennent lieu, à l'extérieur, de contre-forts, et ne portent rien (voy. ARCHITECTURE RELIGIEUSE, CLOCHER, CONSTRUCTION, ÉGLISE).
Chez les Romains, la colonne n'était guère adoptée à l'intérieur, comme
support nécessaire, que dans les basiliques. Les architectes romans,
même lorsqu'ils tentèrent de remplacer les charpentes des basiliques par
des voûtes, voulurent parfois, cependant, conserver la colonne comme
point d'appui; seulement ils en augmentèrent le diamètre afin de
résister à la charge des maçonneries supérieures. La nef de l'église
abbatiale de Saint-Savin en Poitou, qui date du XIe siècle, voûtée en
berceau plein cintre avec bas-côtés en voûtes d'arêtes, présente deux
rangées de colonnes cylindriques isolées formées de tambours de pierre.
La nef de l'église cathédrale de la cité de Carcassonne présente des
colonnes isolées alternées avec des piles à base carrée cantonnées de
colonnes engagées. Ces colonnes cylindriques portent directement sur
leurs chapiteaux circulaires les sommiers des archivoltes longitudinaux
de la nef, des arcs doubleaux des bas-côtés et des colonnes engagées
recevant les arcs doubleaux du berceau principal. La fig. 1 présente
l'une de ces colonnes composée de tambours de pierre en plusieurs
pièces. Ce ne sont là, en réalité, que des piles cylindriques bâties en
gros moellons assez mal parementés.
Si les architectes romans ne dressaient que rarement des colonnes monolythes, c'était faute de pouvoir extraire et tailler des blocs de pierre d'une grande dimension; car toutes fois qu'ils purent trouver des colonnes antiques, ils ne manquèrent pas de les employer. Dans les cryptes romanes on rencontre souvent des colonnes monolythes en marbre qui ne sont que des dépouilles de monuments antiques. Lorsque les moyens de transport devinrent plus faciles et plus puissants, que l'habileté des tailleurs de pierre égala et dépassa même celle des ouvriers romains, on se mit à dresser des colonnes monolythes là où leur emploi était nécessaire. Presque tous les choeurs des grandes églises du XIIe siècle possèdent des colonnes monolythes en pierre dure d'une hauteur et d'un diamètre considérables, et presque toujours ces colonnes sont diminuées, c'est-à-dire qu'elles sont taillées en cône de la base au sommet. D'ailleurs il est rare de voir ces colonnes porter, comme la colonne romaine, un filet et un congé sur la base et une astragale sous le chapiteau. Ces saillies réservées exigeaient un évidement dispendieux et inutile sur toute la longueur du fût; les architectes préféraient faire porter le congé et le filet inférieur à la base, ou supprimaient ces membres, l'astragale au chapiteau (voy. BASE, CHAPITEAU).
Les colonnes monolythes ne sont pas rares pendant les XIIe et XIIIe siècles. Les cathédrales de Langres, de Mantes, les églises de Saint-Leu d'Esserent, de Vézelay, de Beaune, de Pontigny, de Semur-en-Auxois, etc., nous en font voir dont la dimension et la taille ne le cèdent en rien aux colonnes des monuments romains. Toutefois les architectes du moyen âge n'ont creusé des cannelures sur les fûts des colonnes que très rarement. À l'extérieur du choeur de l'église abbatiale de Saint-Rémy de Reims (XIIe siècle), on trouve cependant un exemple de colonnes cannelées sous l'arrivée des arcs-boutants. Mais à Reims il existait et il existe encore des monuments antiques qui ont été évidemment l'origine de ce genre de décoration. Dès le XIe siècle, on taillait déjà les colonnes au tour, suivant la méthode antique. Les colonnes monolythes du choeur de l'église de Saint-Étienne de Nevers sont taillées au tour. En Auvergne, où l'art de bâtir avait, à cette époque, atteint un degré de perfection remarquable, on trouve, dans les choeurs des églises, des colonnes monolythes tournées. Dans le Berry et le Poitou, pendant le XIIe siècle, les colonnes tournées sont très-fréquentes, et les ouvriers avaient le soin de laisser sur les fûts la trace du tour indiquée par des filets très-peu saillants ou des stries horizontales très-fines. Les architectes qui élevèrent des colonnes pendant la période romane ne s'inquiétaient pas d'établir une proportion conventionnelle entre la hauteur du fût et son diamètre; la nature des matériaux employés, la charge qu'il fallait supporter, le lieu, l'ordonnance générale du monument étaient les seules lois qui imposaient ces proportions. Au XIIe siècle, lorsque l'art de l'architecture se développa et devint l'objet d'une étude approfondie et raisonnée, les architectes donnèrent généralement aux fûts de leurs colonnes monolythes des proportions qui varient peu; cependant il est visible que déjà la résistance des matériaux influait sur ces proportions; si ces matériaux étaient très-forts, les colonnes étaient d'un diamètre moindre, eu égard à leur hauteur, que si ces matériaux étaient fragiles. Lorsqu'au commencement du XIIIe siècle, on employa encore les colonnes cylindriques non cantonnées, on chercha à réduire leur diamètre autant que la qualité des matériaux le permettait, afin de laisser, suivant le principe adopté par les architectes de cette époque, les plus grands vides possibles entre les points d'appui. C'est alors qu'on porta des voûtes sur des colonnes dont la maigreur égale presque celle qu'on donnerait à des supports en bois ou en métal en pareil cas. Le réfectoire du prieuré de Saint-Martin-des-Champs à Paris nous a conservé un des meilleurs exemples de ces colonnes en pierre d'une hauteur considérable et d'un diamètre extrêmement faible. Mais telle est l'heureuse disposition de ces colonnes, portées sur un stylobate à base octogone et séparées vers le milieu de leur hauteur par une bague moulurée, que l'oeil n'est pas choqué par leur excessive maigreur, et qu'elles semblent d'une force suffisante, comme elles le sont en effet, pour porter les deux rangs de voûtes qui viennent reposer sur leurs chapiteaux évasés (voy. BAGUE, CHAPITEAU, CONSTRUCTION).
L'Île de France semble avoir conservé les colonnes dans les nefs de ses
églises plus tard que les autres provinces. Notre-Dame de Paris, la
partie ancienne de l'église Saint-Severin à Paris, les églises de
Champeaux, de la Chapelle sous Crécy, de Bagneux, etc., portent leurs
nefs, bâties vers la fin du XIIe siècle et le commencement du XIIIe, sur
des colonnes qui s'élèvent jusqu'à la hauteur des archivoltes des
bas-côtés, et dont les chapiteaux portent les faisceaux de colonnettes
recevant les voûtes hautes.
Les colonnes cantonnant les piliers romans sont généralement, pendant les XIe et XIIe siècles, engagées d'un tiers seulement; quelle que soit la dimension des édifices, leur diamètre varie de 0,33 c.(un pied) à 0,42 c. (quinze pouces). Sur les bords de l'Oise, pendant les premières années du XIIe siècle, ces colonnes engagées offrent une singularité qui mérite d'être signalée. Leur section horizontale, au lieu de présenter un segment de cercle, est composée de deux segments formant une arête au point de la tangente parallèle à la face du pilier, ainsi que le démontre la fig. 2. Nous trouvons de ces colonnes dans la partie ancienne de l'église de Saint-Maclou à Pontoise et dans l'église de Saint-Étienne de Beauvais. Nous devons supposer que les architectes ont donné cette figure à leurs colonnes engagées, afin d'éviter la mollesse et l'indécision d'une surface cylindrique. Ces colonnes n'ont que 0,30 c. de diamètre; mais, grâce à cette arête que forment les deux segments de cercle, elles offrent à l'oeil, de chaque côté, des surfaces plus développées que celles présentées par un cylindre. Dans tous les membres de l'architecture romane de transition des bords de l'Oise, on remarque d'ailleurs une certaine recherche qui se traduit par une grande finesse dans les profils et les détails.
COLONNETTE, s. f. Petite colonne; s'applique aussi, lorsqu'il est question de l'architecture du moyen âge, aux colonnes dont le fût très-allongé est d'un faible diamètre, aux colonnes cantonnant les piles de l'architecture gothique, ou aux colonnes secondaires cantonnant les piles de l'architecture romane de transition.
Les colonnettes cantonnant les piles romanes de transition dépendent toujours de la construction jusque vers 1160, c'est-à-dire qu'elles font partie des assises de ces piliers; mais, à partir de cette époque jusque vers 1220, elles sont indépendantes de la construction en assises, sont détachées et posées en délit. À dater de 1230, on les voit de nouveau faire partie des assises jusqu'à la fin de la période gothique (voy. CONSTRUCTION). Il va sans dire que cette règle n'est pas sans exceptions.
Les architectes romans placèrent souvent, dans les cloîtres, les galeries, dans les baies jumelles, des colonnettes isolées ou accouplées portant des arcs; ces colonnettes sont faites en pierre dure et même en marbre. Dans les cloîtres des provinces méridionales, elles sont souvent sculptées; leurs fûts sont ornés de torsades, de cannelures, d'enroulements, de rinceaux, de feuillages, d'imbrications, quelquefois même de sujets légendaires. Le cloître d'Elne près Perpignan présente une quantité de ces colonnettes de marbre dont tous les fûts sont couverts d'ornements variés des XIIe et XIVe siècles.

Nous donnons (1) deux de ces fûts: l'un, celui A, date du XIIe siècle; l'autre, celui B, appartient à la restauration entreprise au XIVe 290.
L'antiquité romaine et beaucoup de monuments gallo-romains possédaient déjà des colonnes ornées de sculptures peu saillantes; cette tradition fut suivie par les architectes des XIe et XIIe siècles. Cependant ceux-ci n'employèrent ce genre de décoration que dans des cas particuliers, pour les cloîtres, ainsi que nous venons de le dire, et pour les portails, afin de donner une grande richesse apparente aux entrées des édifices. Le XIIe siècle fut prodigue de colonnettes sculptées.

Il nous suffira d'en donner quelques exemples. Ceux présentés (2) proviennent de l'église paroissiale de Tournus, XIIe siècle (basse ville). La cathédrale d'Autun, les églises de Saint-Andoche de Saulieu, de l'abbaye de Vézelay, de Saint-Lazare d'Avallon, et en général les monuments de la Saône, du Rhône, de la Haute Marne et de la Haute Loire, montrent, sur leurs portails, des colonnettes curieusement sculptées. Le porche nord de la cathédrale du Puy-en-Vélay, si remarquable par son ornementation, conserve des fûts de colonnettes d'une extrême délicatesse de sculpture (3).

Celui-ci est composé de tambours alternativement noirs et blancs; ce qui, joint à la gaufrure qui le couvre, produit beaucoup d'effet. On remarquera encore ici que l'astragale est taillée sur plan carré, et que la colonnette arrive du cylindre à ce plan carré par un ornement C. Les lits des tambours noirs et blancs sont alternativement placés en A et en B.
Si nous nous rapprochons de l'Île-de-France, l'architecture du XIIe siècle est plus avare de ces sortes de décorations appliquées aux colonnettes; et lorsqu'elle les emploie, c'est toujours dans des cas particuliers, comme, par exemple, pour les colonnettes qui sont placées entre les statues des portails, et ces décorations ne détruisent pas ainsi la solidité apparente que doit conserver un support. Le portail de l'église de Saint-Denis, le portail Royal de la cathédrale de Chartres nous fournissent de beaux exemples de colonnettes sculptées posées dessous ou entre les statues.

Voici (4) une des colonnettes d'entre-deux des statues (portail Royal de la cathédrale de Chartres), et (5) une de celles qui supportent les statues.
Les colonnettes du XIIe siècle sont souvent torses et quelquefois à six ou huit pans. Le portail de l'église de Saint-Lazare d'Avallon, qui est un des exemples les plus remarquables de l'architecture fleurie du XIIe siècle, possède des colonnettes à pans, torses (6), taillées avec une rare perfection dans un seul morceau de pierre. L'imagination des derniers architectes romans va très-loin dans l'ornementation des colonnettes, et jusqu'à leur donner l'apparence d'un corps élastique, flexible. Sur les ébraiements de cette même porte de Saint-Lazare d'Avallon, nous voyons un fût de colonnette torse qui présente un réseau de cordelettes (7).

L'architecture du XIIIe siècle renonça entièrement à décorer les colonnettes. Les architectes gothiques étaient trop rationalistes pour donner à des supports cette apparence flexible. Ils se contentèrent parfois, seulement, de les orner de peintures (voy. PEINTURE).
À partir de cette époque, on voit les colonnettes (quelle que soit d'ailleurs la longueur de leur fût) adopter des diamètres qui varient peu, 0,16 c. (six pouces), 0,11 c. (quatre pouces), et les plus fines, celles des meneaux, par exemple, 0,08 c. (trois pouces).
Les architectes romans diminuent généralement les colonnettes isolées des cloîtres et des galeries, jamais celles occupant des angles rentrants et cantonnant des piles: car, dans ce dernier cas, la diminution des fûts eût produit un fâcheux effet. C'est sur les bords du Rhin que nous trouvons des édifices romans dans lesquels les colonnettes sont taillées en cône très-prononcé. Dans la cathédrale de Worms, par exemple, les galeries extérieures présentent une suite de colonnettes dont la diminution au sommet est très-sensible (8). Les architectes gothiques ne diminuent leurs colonnettes isolées que très-rarement. Cependant celles de l'arcature de la Sainte-Chapelle de Paris le sont, mais très-faiblement. Au XIVe siècle, on ne trouve plus guère de colonnettes isolées; celles-ci se subdivisent en plusieurs membres comme les arcatures qu'elles portent. Elles commencent, à cette époque, à porter un nerf saillant, qui peu à peu arrive à la forme prismatique.
La renaissance, en reprenant la colonne antique, la décora, souvent d'arabesques, de cannelures, de rinceaux. On peut voir, à l'École des beaux-arts, à Paris, des colonnes provenant du château de Gaillon qui sont fort richement sculptées. La tourelle de l'hôtel de la Trémoille, à Paris, était portée sur deux colonnettes délicatement sculptées. Elles sont également déposées à l'École des beaux-arts.
COMBLE, s. m. Combinaison de charpenterie recevant du métal, de l'ardoise ou de la tuile, et couvrant un édifice (voy. CHARPENTE, COUVERTURE).
CONDUITE, s. f. Tuyau de métal, de terre cuite ou de pierre, servant à conduire les eaux soit sur un plan horizontal, soit verticalement du sommet d'un édifice à sa base.
Les Romains disposaient souvent des conduites verticales dans leurs grands monuments pour se débarrasser des eaux pluviales à travers les constructions. Les amphithéâtres et les théâtres particulièrement, qui présentaient une surface considérable de gradins exposés directement à la pluie, possédaient de distance en distance des égouts verticaux simplement perforés à travers la maçonnerie qui amenaient les eaux sur le sol. Dans les édifices d'une construction plus simple, les temples, les basiliques et les habitations particulières, les eaux pluviales tombaient des toits sur le sol librement, soit à l'extrémité de la couverture, soit en passant à travers de petites gargouilles percées dans des chéneaux de pierre ou de terre cuite. Ce moyen si naturel fut employé par les architectes romans, qui ne construisirent guère que des édifices d'une grande simplicité de plan et couverts par des combles à deux égouts. Cependant il était certaines circonstances où l'on sentait le besoin de recueillir les eaux de pluie et par conséquent de les diriger. Dans les cloîtres des abbayes, dans les cours des châteaux, bâtis souvent sur des lieux élevés, les sources manquaient, et on ne pouvait se procurer des approvisionnements d'eau qu'à la condition de creuser des citernes dans lesquelles on conduisait les eau des combles, en évitant de les faire passer sur le sol, afin de les avoir aussi pures que possible. Alors, établissant des chéneaux de pierre ou de bois à la chute des combles, les constructeurs élevaient, de distance en distance, des piles creuses munies à leur sommet d'une cuvette qui recevait les eaux amenées par les pentes de ces chéneaux. Ces piles étaient presque toujours isolées, ne participaient pas à la construction, et on évitait ainsi les infiltrations lentes mais très-funestes de l'humidité dans les bâtisses. Nous avons encore vu, le long du mur du collatéral sud de la nef de l'église abbatiale de Vézelay, des conduites isolées destinées à diriger les eaux pluviales tombant sur les combles dans la citerne creusée au centre du cloître. Ces conduites n'appartenaient pas à la construction primitive, mais à l'époque où le cloître fut construit, c'est-à-dire à la fin du XIIe siècle. Elles étaient bâties en assises de pierre carrées, percées au centre d'un trou cylindrique, avec entailles circulaires dans les lits pour recevoir le ciment.

Voici quelle était (1) la forme extérieure de ces conduites: en A on voit une des pierres avec l'entaille circulaire de son lit. Nous avons souvent vu, dans des châteaux des XIIe et XIIIe siècles, des conduites carrées en pierre ménagées dans l'épaisseur des constructions (conduites qu'il ne faut pas confondre avec les porte-voix), et qui étaient destinées à envoyer dans des citernes les eaux pluviales tombant sur les combles. Lorsqu'au XIIIe siècle la construction des églises dut présenter des combinaisons compliquées, des surfaces très-considérables de combles recevant les eaux pluviales, les architectes songèrent tout d'abord à se débarrasser des eaux par plus court chemin, c'est-à-dire en les faisant couler des chéneaux sur les chaperons des arcs-boutants jusqu'à des gargouilles très-saillantes qui les rejetaient sur le sol en dehors du périmètre de l'édifice. Divisant ces eaux en une infinité de jets, ils diminuaient considérablement ainsi leur effet destructif. Ce moyen, qui est toujours le meilleur lorsque les matériaux employés dans les parties inférieures des bâtisses sont solides et ne craignent pas la gelée, qui permet de s'assurer continuellement de l'état des conduites puisqu'ils sont à l'air libre, est désastreux lorsque la pierre employée dans les soubassements est gélive ou poreuse; car alors cette quantité de cascades, mouillant les parements inférieurs, ne tardent pas à les salpêtrer et même à les détruire. Ces inconvénients furent reconnus évidemment par les architectes du XIIIe siècle, puisque, dans plusieurs grands édifices de cette époque, nous voyons les conduites fermées verticales remplacer les gargouilles. En Normandie et en Picardie, où le climat est humide et les matériaux sensible à la gelée, les conduites d'eau furent adoptées dès 1230 environ dans certaines églises. À Bayeux, nous voyons les arcs-boutants de la nef amener les eaux des combles supérieurs dans des conduites en plomb incrustées dans les contre-forts. Ces conduites sont apparentes ou masquées de deux en deux assises; elles se trouvent ainsi protégées contre les chocs extérieurs, et visibles cependant s'il survient une rupture.

Voici (2) en A le plan de cette disposition, en B l'élévation des parties des contre-forts munies de conduites, et en C le détail des incrustements cylindriques contenant les tuyaux de plomb légèrement aplatis du côté des ouvertures pour laisser passer les petits linteaux D. Les contre-forts des arcs-boutants du choeur de la même église contiennent des tuyaux de descente moins bien disposés que ceux donnés ci-dessus, en ce qu'ils sont incrustés au milieu de ces contre-forts et ne sont vus que par deux petites meurtrières. En plan (3), ces tuyaux sont placés en A, les meurtrières en B et les débouchés ou dauphins dans une gargouille placée en C. Du chéneau supérieur du grand comble, les eaux sont amenées dans la rigole des arcs-boutants, de même par des conduites passant à travers un contre-fort terminé à sa partie inférieure par une tête formant dauphin (voy. ce mot). Nous trouvons, au-dessus des arcs-boutants de la nef de la cathédrale de Sées (1230 environ), une disposition analogue, mais préférable à celle adoptée à Bayeux, en ce que les contre-forts contenant les conduites de chute des eaux du grand chéneau ne sont que des coffres, des appendices crevés à leur base verticalement, sans coudes ni ressauts, de manière à éviter tout engorgement.

Voici (4) en A la section horizontale de ces conduites, en B leur élévation perspective, en C la coupe sur l'axe de la conduite. Habituellement, comme nous l'avons indiqué en D, les conduites verticales de plomb enfermées dans des coffres de pierre ont leur sommet élargi en cuvette et dont les bords sont pincés sous l'assise du chéneau, l'orifice de celui-ci formant larmier sous le lit inférieur. Dans le cas présent, l'eau ne coulant vers l'orifice que d'un côté, ce larmier n'existe que sous la chute, ainsi que nous l'avons tracé en E. Dans les grands édifices élevés au commencement du XIIIe siècle les eaux des chéneaux supérieurs se déversaient par des gargouilles à gueule bée sur les chaperons non creusés des arcs-boutants, comme à la cathédrale de Reims encore aujourd'hui. Les eaux dégradaient rapidement ces chaperons; on leur donna la section d'un canal; mais le vent poussait le jet des gargouilles en dehors de ces canaux, c'est pourquoi on adopta les chutes verticales enfermées dans des coffres de pierre au-dessus des têtes des arcs-boutants. Toutefois, quand même les eaux des combles supérieurs des grands édifices étaient menées par des conduites, celles-ci n'arrivaient qu'au niveau des chéneaux des chapelles ou bas-côtés, et de là elles étaient rejetées sur le sol par des gargouilles, suivant la méthode la plus ordinaire. Les contre-forts supérieurs du choeur de la cathédrale d'Amiens recevant les arcs-boutants (1260 environ) laissent voir, dans l'un de leurs angles rentrants, de longues entailles cylindriques destinées à recevoir des tuyaux de descente en plomb qui n'ont jamais été posés (5); la même disposition est adoptée pour l'écoulement des eaux pluviales dans la cathédrale de Nevers.

En A est tracée la section horizontale de ces
entailles. Les eaux descendent des chéneaux supérieurs par les caniveaux
B servant de chaperons à la claire-voie des arcs-boutants. Dans
l'épaisseur du contre-fort, au niveau C, est une cuvette qui devait
recevoir ces eaux pour les rejeter dans la conduite verticale posée dans
l'entaille. Ce n'est qu'en Angleterre que nous trouvons, dès le XIVe
siècle, des conduites en plomb aboutissant à la base des édifices. Au
lieu d'être cylindriques, ces conduites donnent, en section horizontale,
un carré, et cela était fort bien raisonné. Un cylindre ne peut se
dilater; il en résulte que, dans les fortes gelées, si les conduites
s'engorgent, l'eau glacée, prenant un volume plus fort que l'eau à
l'état liquide, ces conduites sont sujettes à crever. Un tuyau dont la
section est carrée peut se dilater, et les ruptures sont moins à
craindre. Ces tuyaux de plomb, posés le plus souvent dans des angles
rentrants, sont faits par parties entrant les unes dans les autres,
comme nos tuyaux de fonte de fer, avec collets et colliers de fer ou de
bronze qui les maintiennent à leur place; ils sont surmontés de cuvettes
également en plomb, et de dauphins à leur partie inférieure (6).
Au XVIe siècle, on posa souvent des conduits en plomb cylindriques dans les grands édifices français, et ces tuyaux sont presque toujours décorés de reliefs ou de dorures. On en voit d'assez beaux sur les côtés du portail méridional de la cathédrale de Beauvais. On en rencontrait en grand nombre dans les châteaux de la renaissance; mais ces objets ont été enlevés à la fin du dernier siècle pour être fondus.
L'écoulement des eaux pluviales était, pour les architectes du moyen âge, un sujet de préoccupations constantes. Il est facile de reconnaître qu'ils ont souvent hésité entre le système qui porte à conduire les eaux et les rejeter à ciel ouvert et celui qui consiste à les diriger dans des tuyaux fermés; l'un et l'autre, de ces deux systèmes ont leurs inconvénients et leurs avantages: le premier mouille les parements et les soubassements en particulier; mais si la pierre employée est compacte, si elle n'est pas sensible à la gelée, cette humidité extérieure est bientôt enlevée par l'air et le soleil. Il a l'avantage de permettre un entretien facile, puisque tous les canaux sont visibles et à l'air libre; il évite les engorgements, les dégradations cachées qui n'apparaissent que lorsque le mal est produit. Le second évite ces lavages des parements extérieurs; il conduit les eaux sur des points fixes; il ne produit pas autour d'un édifice ce déluge qui en rend les abords insupportables; mais il demande une surveillance constante, surtout pendant les alternatives de gelée et de dégel; il produit des engorgements dans les temps de neige, est sujet à des ruptures auxquelles il est difficile souvent de remédier et dont on ne s'aperçoit que lorsque les dégradations qu'elles causent ont fait des ravages profonds dans les constructions. Il ne faudrait donc pas prescrire d'une manière absolue l'un ou l'autre de ces deux systèmes. C'est à l'architecte à les employer comme il convient, suivant le lieu et en raison des matériaux employés. Toutefois nous devons dire que, dans de très-vastes édifices publics où la surveillance ne peut être exercée comme dans une construction particulière et un lieu habité journellement, les conduites en métal et surtout en fonte de fer, qui se brisent si facilement sous l'effort de l'eau glacée, ont de très-grands dangers, que leur engorgement ou le faible suintement qui se produit à chaque joint finissent par altérer les parements et y entretenir une humidité permanente. Les tuyaux de plomb sont les meilleurs, en ce qu'ils conservent une certaine flexibilité et peuvent se dilater, surtout les tuyaux à section carrée. Un soin extrême dans l'établissement de ces tuyaux et dans les scellements de leurs colliers, un isolement complet et des gargouilles de trop plein, en cas d'engorgement, peuvent toutefois remédier à ces inconvénients (voy. CUVETTE, DAUPHIN).
CONGÉ, congié, s. m. On désigne ainsi la transition entre une moulure et un parement.

Dans la colonne romaine, on nomme congé la courbe qui relie le fût de la colonne au filet inférieur posé sur la base; soit (1) un profil de base romaine, A est un congé. Dans l'architecture romane et surtout dans l'architecture gothique, le fût des colonnes étant d'une seule venue, c'est-à-dire ne portant pas de saillie inférieure, la base ne porte pas de congé, et le premier tore de cette base reçoit immédiatement le fût de la colonne (voy. BASE). Il en est de même de l'astragale du chapiteau; cette moulure n'a point de congé, sauf d'assez rares exceptions, pendant l'époque romane primitive. On désigne aussi, dans l'architecture du moyen âge, par congé ou congié, la fin, la terminaison d'une moulure taillée par une arête vive. Le mot exprime bien, en effet, l'objet; c'est un congé donné à la moulure de cesser d'être. Ainsi, dans les édifices du XIIe siècle particulièrement, on voit souvent des arêtes abattues, soit par un simple biseau, soit par une moulure, qui ne descendent pas jusqu'au sol, mais s'arrêtent à l'assise inférieure ou sur un bandeau, et passent à l'angle droit au moyen de congés dont la forme est très-variée.

La fig. 2 reproduit plusieurs exemples de ces congés, empruntés tous à des monuments de la fin du XIIe siècle, appartenant à la Bourgogne; car il faut dire que c'est dans cette province où l'on trouve le plus de ces sortes de terminaisons de moulures. La beauté de la pierre de taille engageait les appareilleurs à conserver les lits intacts et les arêtes vives à l'origine de chaque membre d'architecture. Il est de ces congés qui sont d'une richesse remarquable. Le trumeau central de la porte de l'église de Montréale se termine, à sa partie inférieure, par des congés ornés de sculptures d'un goût excellent; nous en donnons (3) un croquis.

Il est difficile de passer avec plus d'adresse d'un faisceau de moulures à un socle rectangulaire. Si les moulures des pieds-droits, chambranles, pilastres, sont terminées à leur partie inférieure et sous les linteaux ou les chapiteaux par des congés, à plus forte raison les arcs moulurés des voûtes sont-ils accompagnés à leur naissance de ce renfort, qui laisse au lit inférieur du sommier toute son assiette. Les moulures des arcs du XIIe siècle, au lieu de descendre jusque sur le tailloir du chapiteau, s'arrêtent à un niveau supérieur et se terminent par des congés, afin de laisser, sur le tailloir, le lit inférieur du sommier poser franchement, comme si ce sommier n'était qu'épannelé. Voici (4) deux exemples de ces congés: l'un, très-simple, provient de l'église de Montréale; l'autre, très-riche, provient de la sacristie de l'église de Vézelay. Les tailleurs de pierre évitaient ainsi aux bardeurs et poseurs la difficulté de poser des sommiers (toujours assez lourds) portant des moulures fragiles sur le lit inférieur, et par conséquent faciles à épaufrer. L'oeil est contenté, d'ailleurs, par ces arrêts qui empêchent les moulures de tomber brusquement et sans transition sur le tailloir des chapiteaux. Dans ce cas, comme dans beaucoup d'autres, le raisonnement de l'artiste était d'accord avec son instinct.
CONSOLE, s. f. Support incrusté dans un parement et portant un membre d'architecture en encorbellement (voy. CORBEAU).
FIN DU TOME TROISIÈME.

(SUITE).
FIN DE LA TABLE PROVISOIRE DU TOME TROISIÈME.