The Project Gutenberg eBook of Electricity for Boys

This eBook is for the use of anyone anywhere in the United States and most other parts of the world at no cost and with almost no restrictions whatsoever. You may copy it, give it away or re-use it under the terms of the Project Gutenberg License included with this eBook or online at www.gutenberg.org. If you are not located in the United States, you will have to check the laws of the country where you are located before using this eBook.

Title: Electricity for Boys

Author: James Slough Zerbe


Release date: September 25, 2007 [eBook #22766]
Most recently updated: March 2, 2013

Language: English

Other information and formats: www.gutenberg.org/ebooks/22766

Credits: Produced by Joe Longo and the Online Distributed
Proofreading Team at http://www.pgdp.net

*** START OF THE PROJECT GUTENBERG EBOOK ELECTRICITY FOR BOYS ***

WARNING: This book of one hundred years ago describes
experiments which are too dangerous to attempt by either
adults or children. It is published for historical
interest only.


The "How-to-do-it" Books


ELECTRICITY FOR BOYS

Fig. 1. WORK BENCH Fig. 1. WORK BENCH


THE "HOW-TO-DO-IT" BOOKS

ELECTRICITY FOR BOYS

A working guide, in the successive steps of electricity, described in simple terms

WITH MANY ORIGINAL ILLUSTRATIONS

By J. S. ZERBE, M.E.

AUTHOR OF

CARPENTRY FOR BOYSPRACTICAL MECHANICS FOR BOYS

Printer's Mark: NYBC/Windmill

THE NEW YORK BOOK COMPANY

New York

Copyright, 1914, by
THE NEW YORK BOOK COMPANY


p. i

CONTENTS

  Introductory Page 1
   
I. Electricity Considered. Brief Historical Events Page 5

The Study of Electricity. First Historical Accounts. Bottling Electricity. Discovery of Galvanic Electricity. Electro-motive Force. Measuring Instruments. Rapidity of Modern Progress. How to Acquire the Vast Knowledge. The Means Employed.

II. What Tools and Apparatus are Needed Page 11

Preparing the Workshop. Uses of Our Workshop. What to Build. What to Learn. Uses of the Electrical Devices. Tools. Magnet-winding Reel.

III. Magnets, Coils, Armatures, Etc. Page 18

The Two Kinds of Magnets. Permanent Magnets. Electro-Magnets. Magnetism. Materials for Magnets. Non-magnetic Material. Action of a Second Magnet. What North and South Pole Mean. Repulsion and Attraction. Positives and Negatives. Magnetic Lines of Force. The Earth as a Magnet. Why the Compass Points North and South. Peculiarity of a Magnet. Action of the Electro-Magnet. Exterior Magnetic Influence Around a Wires Carrying a Current. Parallel Wires.

IV. Frictional, Voltaic or Galvanic and Electro-magnetic Electricity Page 29

Three Electrical Sources. Frictional Electricity. Leyden p. iiJar. Voltaic or Galvanic Electricity. Voltaic Pile; How Made. Plus and Minus Signs. The Common Primary Cell. Battery Resistance. Electrolyte and Current. Electro-magnetic Electricity. Magnetic Radiation. Different Kinds of Dynamos. Direct Current Dynamos. Simple Magnet Construction. How to Wind. The Dynamo Fields. The Armature. Armature Windings. Mounting the Armature. The Commutator. Commutator Brushes. Dynamo Windings. The Field. Series-wound Field. Shunt-wound. Compound-wound.

V. How to Detect and Measure Electricity Page 49

Measuring Instruments. The Detector. Direction of Current. Simple Current Detector. How to Place the Detector. Different Ways to Measure a Current. The Sulphuric Acid Voltameter. The Copper Voltameter. The Galvanoscope Electro-magnetic Method. The Calorimeter. The Light Method. The Preferred Method. How to Make a Sulphuric Acid Voltameter. How to Make a Copper Voltameter. Objections to the Calorimeter.

VI. Volts, Amperes, Ohms and Watts Page 60

Understanding Terms. Intensity and Quantity. Voltage. Amperage Meaning of Watts and Kilowatt. A Standard of Measurement. The Ampere Standard. The Voltage Standard. The Ohm. Calculating the Voltage.

VII. Push Buttons, Switches, Annunciators, Bells and Like Apparatus Page 65

Simple Switches. A Two-Pole Switch. Double-Pole Switch. Sliding Switch. Reversing Switch. Push Buttons. p. iiiElectric Bells. How Made. How Operated. Annunciators. Burglar Alarm. Wire Circuiting. Circuiting System with Two Bells and Push Buttons. The Push Buttons, Annunciators and Bells. Wiring Up a House.

VIII. Accumulators, Storage or Secondary Batteries Page 82

Storing Up Electricity. The Accumulator. Accumulator Plates. The Grid. The Negative Pole. Connecting Up the Plates. Charging the Cells. The Initial Charge. The Charging Current.

IX. The Telegraph Page 90

Mechanism in Telegraph Circuit. The Sending Key. The Sounder. Connecting Up the Key and Sounder. Two Stations in Circuit. The Double Click. Illustrating the Dot and the Dash. The Morse Telegraph Code. Example in Use.

X. High-tension Apparatus, Condensers, Etc. Page 98

Induction. Low and High Tension. Elastic Property of Electricity. The Condenser. Connecting up a Condenser. The Interrupter. Uses of High-tension Coils.

XI. Wireless Telegraphy Page 104

Telegraphing Without Wires. Surging Character of High-tension Currents. The Coherer. How Made. The Decoherer. The Sending Apparatus. The Receiving Apparatus. How the Circuits are Formed.

XII. The Telephone Page 110

Vibrations. The Acoustic Telephone. Sound Waves. p. ivHearing Electricity. The Diaphragm in a Magnetic Field. A Simple Telephone Circuit. How to Make a Telephone. Telephone Connections. Complete Installation. The Microphone. Light Contact Points. How to Make a Microphone. Microphone, the Father of the Transmitter. Automatic Cut-outs for Telephones. Complete Circuiting with Transmitters.

XIII. Electrolysis, Water Purification, Electroplating Page 123

Decomposing Liquids. Making Hydrogen and Oxygen. Purifying Water. Rust. Oxygen as a Purifier. Composition of Water. Common Air Not a Good Purifier. Pure Oxygen a Water Purifier. The Use of Hydrogen in Purification. Aluminum Electrodes. Electric Hand Purifier. Purification and Separation of Metals. Electroplating. Plating Iron with Copper. Direction of Current.

XIV. Electric Heating. Thermo-Electricity Page 135

Generating Heat in a Wire. Resistance of Substances. Signs of Connectors. Comparison of Metals. A Simple Electric Heater. How to Arrange for Quantity of Current Used. An Electric Iron. Thermo-Electricity Converting Heat Directly into Electricity Metals. Electric, Positive, Negative. Thermo-electric Coupler.

XV. Alternating Currents, Choking Coil, Transformer Page 145

Direct Current. Alternating Current. The Magnetic Field. Action of a Magnetized Wire. The Movement of a Current in a Charged Wire. Current Reversing Itself. Self-Induction. Brushes in a Direct Current Dynamo: p. vAlternating, Positive and Negative Poles. How an Alternating Current Dynamo is Made. The Windings. The Armature Wires. Choking Coils. The Transformer. How the Voltage is Determined. Voltage and Amperage in Transformers.

XVI. Electric Lighting Page 161

Early conditions. Fuels. Reversibility of Dynamo. Electric arc. Mechanism to maintain the arc. Resistance coil. Parallel carbons for making arc. Series current. Incandescent system. Multiple circuit. Subdivision of electric light. The filament. The glass bulb. Metallic filaments. Vapor lamps. Directions for improvements. Heat in electric lighting. Curious superstitions concerning electricity. Magnetism. Amber. Discovery of the properties of a magnet. Electricity in mountain regions. Early beliefs as to magnetism and electricity. The lightning rod. Protests against using it. Pliny's explanation of electricity.

XVII. Power, and Various Other Electrical Manifestations Page 175

Early beliefs concerning the dynamo. Experiments with magnets. Physical action of dynamo and motor. Electrical influence in windings. Comparing motor and dynamo. How the current acts in a dynamo. Its force in a motor. Loss in power transmission. The four ways in which power is dissipated. Disadvantages of electric power. Its advantages. Transmission of energy. High voltages. The transformer. Step-down transformers. Electric furnaces. Welding by electricity. Merging the particles of the joined ends.

XVIII. X-Ray, Radium and the Like Page 184 p. vi

The camera and the eye. Actinic rays. Hertzian waves. High-tension apparatus. Vacuum tubes. Character of the ultra-violet rays. How distinguished. The infra-red rays. Their uses. X-rays not capable of reflection. Not subject to refraction. Transmission through opaque substances. Reducing rates of vibration. Radium. Radio-activity. Radio-active materials. Pitchblende. A new form of energy. Electrical source. Healing power. Problems for scientists.

Glossary of Words Used in the Text Page 189
Index Page 207

p. vii


LIST OF ILLUSTRATIONS

1. Work bench Frontispiece
    PAGE
2. Top of magnet-winding reel 14
3. Side of magnet-winding reel 14
4. Journal block 15
5. Plain magnet bar 19
6. Severed magnet 20
7. Reversed magnets 21
8. Horseshoe magnet 22
9. Earth's magnetic lines 23
10. Two permanent magnets 24
11. Magnets in earth's magnetic field 24
12. Armatures for magnets 25
13. Magnetized field 26
14. Magnetized bar 26
15. Direction of current 27
16. Direction of induction current 28
17. Frictional-electricity machine 30
18. Leyden jar 32
19. Galvanic electricity. Crown of cups 33
20. Voltaic electricity 34
21. Primary battery 36
22. Dynamo field and pole piece 39
23. Base and fields assembled 41
24. Details of the armature, core 42
25. Details of the armature, body 42
26. Armature Journals 43 p. viii
27. Commutator 43
28. End view of armature, mounted 44
29. Top view of armature on base 45
30. Field winding 47
31. Series-wound 47
32. Shunt-wound 48
33. Compound-wound 48
34. Compass magnet, swing to the right 50
35. Magnetic compass 50
36. Magnet, swing to the left 50
37. Indicating direction of current 51
38. The bridge of the detector 52
39. Details of detector 53
40. Cross-section of detector 54
41. Acid voltameter 56
42. Copper voltameter 56
43. Two-pole switch 66
44. Double-pole switch 66
45. Sliding switch 67
46. Rheostat form of switch 68
47. Reversing switch 69
48. Push button 70
49. Electric bell 71
50. Armature of electric bell 72
51. Vertical section of annunciator 72
52. Front view of annunciator 72
53. Horizontal section of annunciator 72
54. Front plate of annunciator 72
55. Alarm switch on window 76
56. Burglar alarm on window 76
57. Burglar alarm contact 77
58. Neutral position of contact 78
59. Circuiting for electric bell 79 p. ix
60. Annunciators in circuit 80
61. Wiring system for a house 80
62. Accumulator grids 83
63. Assemblage of accumulator grids 85
64. Connecting up storage battery in series 87
65. Parallel series 88
66. Charging circuit 88
67. Telegraph sending key 91
68. Telegraph sounder 92
69. A telegraph circuit 94
70. Induction coil and circuit 99
71. Illustrating elasticity 100
72. Condenser 101
73. High-tension circuit 102
74. Current interrupter 103
75. Wireless-telegraphy coherer 105
76. Wireless sending-apparatus 107
77. Wireless receiving-apparatus 108
78. Acoustic telephone 111
79. Illustrating vibrations 111
80. The magnetic field 112
81. Section of telephone receiver 114
82. The magnet and receiver head 115
83. Simple telephone connection 116
84. Telephone stations in circuit 117
85. Illustrating light contact points 118
86. The microphone 119
87. The transmitter 119
88. Complete telephone circuit 121
89. Device for making hydrogen and oxygen 124
90. Electric-water purifier 127
91. Portable electric purifier 129p. x
92. Section of positive plate 130
93. Section of negative plate 130
94. Positive and negative in position 130
95. Form of the insulator 130
96. Simple electric heater 137
97. Side view of resistance device 139
98. Top view of resistance device 139
99. Plan view of electric iron 140
100. Section of electric iron 141
101. Thermo-electric couple 143
102. Cutting a magnetic field 146
103. Alternations, first position 148
104. Alternations, second position 148
105. Alternations, third position 148
106. Alternations, fourth position 148
107. Increasing alternations, first view 149
108. Increasing alternations, second view 149
109. Connection of alternating dynamo armature 150
110. Direct current dynamo 151
111. Circuit wires in direct current dynamo 152
112. Alternating polarity lines 154
113. Alternating current dynamo 155
114. Choking coil 157
115. A transformer 158
116. Parallel carbons 164
117. Arc-lighting circuit 165
118. Interrupted conductor 166
119. Incandescent circuit 167
120. Magnetic action in dynamo, 1st 177
121. Magnetic action in dynamo, 2d 177
122. Magnetic action in dynamo, 3d 178
123. Magnetic action in dynamo, 4th 178p. xi
124. Magnetic action in motor, 1st 179
125. Magnetic action in motor, 2d 179
126. Magnetic action in motor, 3d 180
127. Magnetic action in motor, 4th 180

p. 1


INTRODUCTORY

Electricity, like every science, presents two phases to the student, one belonging to a theoretical knowledge, and the other which pertains to the practical application of that knowledge. The boy is directly interested in the practical use which he can make of this wonderful phenomenon in nature.

It is, in reality, the most successful avenue by which he may obtain the theory, for he learns the abstract more readily from concrete examples.

It is an art in which shop practice is a greater educator than can be possible with books. Boys are not, generally, inclined to speculate or theorize on phenomena apart from the work itself; but once put them into contact with the mechanism itself, let them become a living part of it, and they will commence to reason and think for themselves.

It would be a dry, dull and uninteresting thing to tell a boy that electricity can be generated byp. 2 riveting together two pieces of dissimilar metals, and applying heat to the juncture. But put into his hands the metals, and set him to perform the actual work of riveting the metals together, then wiring up the ends of the metals, heating them, and, with a galvanometer, watching for results, it will at once make him see something in the experiment which never occurred when the abstract theory was propounded.

He will inquire first what metals should be used to get the best results, and finally, he will speculate as to the reasons for the phenomena. When he learns that all metals are positive-negative or negative-positive to each other, he has grasped a new idea in the realm of knowledge, which he unconsciously traces back still further, only to learn that he has entered a field which relates to the constitution of matter itself. As he follows the subject through its various channels he will learn that there is a common source of all things; a manifestation common to all matter, and that all substances in nature are linked together in a most wonderful way.

An impulse must be given to a boy's training. The time is past for the rule-and-rote method. The rule can be learned better by a manual application than by committing a sentence to memory.

In the preparation of this book, therefore, Ip. 3 have made practice and work the predominating factors. It has been my aim to suggest the best form in which to do the things in a practical way, and from that work, as the boy carries it out, to deduce certain laws and develop the principles which underlie them. Wherever it is deemed possible to do so, it is planned to have the boy make these discoveries for himself, so as to encourage him to become a thinker and a reasoner instead of a mere machine.

A boy does not develop into a philosopher or a scientist through being told he must learn the principles of this teaching, or the fundamentals of that school of reasoning. He will unconsciously imbibe the spirit and the willingness if we but place before him the tools by which he may build even the simple machinery that displays the various electrical manifestations.


p. 5

CHAPTER I

THE STUDY OF ELECTRICITY. HISTORICAL

There is no study so profound as electricity. It is a marvel to the scientist as well as to the novice. It is simple in its manifestations, but most complex in its organization and in its ramifications. It has been shown that light, heat, magnetism and electricity are the same, but that they differ merely in their modes of motion.

First Historical Account.—The first historical account of electricity dates back to 600 years B. C. Thales of Miletus was the first to describe the properties of amber, which, when rubbed, attracted and repelled light bodies. The ancients also described what was probably tourmaline, a mineral which has the same qualities. The torpedo, a fish which has the power of emitting electric impulses, was known in very early times.

From that period down to about the year 1600 no accounts of any historical value have been given. Dr. Gilbert, of England, made a number of researches at that time, principally with amber and other materials, and Boyle, in 1650, made numerous experiments with frictional electricity.

Sir Isaac Newton also took up the subject atp. 6 about the same period. In 1705 Hawksbee made numerous experiments; also Gray, in 1720, and a Welshman, Dufay, at about the same time. The Germans, from 1740 to 1780, made many experiments. In 1740, at Leyden, was discovered the jar which bears that name. Before that time, all experiments began and ended with frictional electricity.

The first attempt to "bottle" electricity was attempted by Muschenbrœck, at Leyden, who conceived the idea that electricity in materials might be retained by surrounding them with bodies which did not conduct the current. He electrified some water in a jar, and communication having been established between the water and the prime conductor, his assistant, who was holding the bottle, on trying to disengage the communicating wire, received a sudden shock.

In 1747 Sir William Watson fired gunpowder by an electric spark, and, later on, a party from the Royal Society, in conjunction with Watson, conducted a series of experiments to determine the velocity of the electric fluid, as it was then termed.

Benjamin Franklin, in 1750, showed that lightning was electricity, and later on made his interesting experiments with the kite and the key.

Discovering Galvanic Electricity.—The great discovery of Galvani, in 1790, led to the recognitionp. 7 of a new element in electricity, called galvanic or voltaic (named after the experimenter, Volta), and now known to be identical with frictional electricity. In 1805 Poisson was the first to analyze electricity; and when Œrsted of Copenhagen, in 1820, discovered the magnetic action of electricity, it offered a great stimulus to the science, and paved the way for investigation in a new direction. Ampere was the first to develop the idea that a motor or a dynamo could be made operative by means of the electro-magnetic current; and Faraday, about 1830, discovered electro-magnetic rotation.

Electro-magnetic Force.—From this time on the knowledge of electricity grew with amazing rapidity. Ohm's definition of electro-motive force, current strength and resistance eventuated into Ohm's law. Thomson greatly simplified the galvanometer, and Wheatstone invented the rheostat, a means of measuring resistance, about 1850. Then primary batteries were brought forward by Daniels, Grove, Bunsen and Thomson, and electrolysis by Faraday. Then came the instruments of precision—the electrometer, the resistance bridge, the ammeter, the voltmeter—all of the utmost value in the science.

Measuring Instruments.—The perfection of measuring instruments did more to advance electricityp. 8 than almost any other field of endeavor; so that after 1875 the inventors took up the subject, and by their energy developed and put into practical operation a most wonderful array of mechanism, which has become valuable in the service of man in almost every field of human activity.

Rapidity of Modern Progress.—This brief history is given merely to show what wonders have been accomplished in a few years. The art is really less than fifty years old, and yet so rapidly has it gone forward that it is not at all surprising to hear the remark, that the end of the wonders has been reached. Less than twenty-five years ago a high official of the United States Patent Office stated that it was probable the end of electrical research had been reached. The most wonderful developments have been made since that time; and now, as in the past, one discovery is but the prelude to another still more remarkable. We are beginning to learn that we are only on the threshold of that storehouse in which nature has locked her secrets, and that there is no limit to human ingenuity.

How to Acquire the Vast Knowledge.—As the boy, with his limited vision, surveys this vast accumulation of tools, instruments and machinery, and sees what has been and is now beingp. 9 accomplished, it is not to be wondered at that he should enter the field with timidity. In his mind the great question is, how to acquire the knowledge. There is so much to learn. How can it be accomplished?

The answer to this is, that the student of to-day has the advantage of the knowledge of all who have gone before; and now the pertinent thing is to acquire that knowledge.

The Means Employed.—This brings us definitely down to an examination of the means that we shall employ to instil this knowledge, so that it may become a permanent asset to the student's store of information.

The most significant thing in the history of electrical development is the knowledge that of all the great scientists not one of them ever added any knowledge to the science on purely speculative reasoning. All of them were experimenters. They practically applied and developed their theories in the laboratory or the workshop. The natural inference is, therefore, that the boy who starts out to acquire a knowledge of electricity, must not only theorize, but that he shall, primarily, conduct the experiments, and thereby acquire the information in a practical way, one example of which will make a more lasting impression than pages of dry text

p. 10

Throughout these pages, therefore, I shall, as briefly as possible, point out the theories involved, as a foundation for the work, and then illustrate the structural types or samples; and the work is so arranged that what is done to-day is merely a prelude or stepping-stone to the next phase of the art. In reality, we shall travel, to a considerable extent, the course which the great investigators followed when they were groping for the facts and discovering the great manifestations in nature.


p. 11

CHAPTER IIToC

WHAT TOOLS AND APPARATUS ARE NEEDED

Preparing the Workshop.—Before commencing actual experiments we should prepare the workshop and tools. Since we are going into this work as pioneers, we shall have to be dependent upon our own efforts for the production of the electrical apparatus, so as to be able, with our home-made factory, to provide the power, the heat and the electricity. Then, finding we are successful in these enterprises, we may look forward for "more worlds to conquer."

By this time our neighbors will become interested in and solicit work from us.

Uses of Our Workshops.—They may want us to test batteries, and it then becomes necessary to construct mechanism to detect and measure electricity; to install new and improved apparatus; and to put in and connect up electric bells in their houses, as well as burglar alarms. To meet the requirements, we put in a telegraph line, having learned, as well as we are able, how they are made and operated. But we find the telegraph too slow and altogether unsuited for our purposes, as well as for the uses of the neighborhood,p. 12 so we conclude to put in a telephone system.

What to Build.—It is necessary, therefore, to commence right at the bottom to build a telephone, a transmitter, a receiver and a switch-board for our system. From the telephone we soon see the desirability of getting into touch with the great outside world, and wireless telegraphy absorbs our time and energies.

But as we learn more and more of the wonderful things electricity will do, we are brought into contact with problems which directly interest the home. Sanitation attracts our attention. Why cannot electricity act as an agent to purify our drinking water, to sterilize sewage and to arrest offensive odors? We must, therefore, learn something about the subject of electrolysis.

What to Learn.—The decomposition of water is not the only thing that we shall describe pertaining to this subject. We go a step further, and find that we can decompose metals as well as liquids, and that we can make a pure metal out of an impure one, as well as make the foulest water pure. But we shall also, in the course of our experiments, find that a cheap metal can be coated with a costly one by means of electricity—that we can electroplate by electrolysis.

Uses of the Electrical Devices.—While allp. 13 this is progressing and our factory is turning out an amazing variety of useful articles, we are led to inquire into the uses to which we may devote our surplus electricity. The current may be diverted for boiling water; for welding metals; for heating sad-irons, as well as for other purposes which are daily required.

Tools.—To do these things tools are necessary, and for the present they should not be expensive. A small, rigidly built bench is the first requirement. This may be made, as shown in Fig. 1, of three 2-inch planks, each 10 inches wide and 6 feet long, mounted on legs 36 inches in height. In the front part are three drawers for your material, or the small odds and ends, as well as for such little tools as you may accumulate. Then you will need a small vise, say, with a 2-inch jaw, and you will also require a hand reel for winding magnets. This will be fully described hereafter.

You can also, probably, get a small, cheap anvil, which will be of the greatest service in your work. It should be mounted close up to the work bench. Two small hammers, one with an A-shaped peon, and the other with a round peon, should be selected, and also a plane and a small wood saw with fine teeth. A bit stock, or a ratchet drill, if you can afford it, with a variety of small drills; two wood chisels, say of ⅜-inch and ¾-inch widths;p. 14 small cold chisels; hack saw, 10-inch blade; small iron square; pair of dividers; tin shears; wire cutters; 2 pairs of pliers, one flat and the other round-nosed; 2 awls, centering punch, wire cutters, and, finally, soldering tools.

Fig. 2. Top View Fig. 2.
Fig. 3. Side View Fig. 3.
Magnet-winding Reel

If a gas stove is not available, a brazing torch is an essential tool. Numerous small torches are being made, which are cheap and easily operated. A small soldering iron, with pointed end, should be provided; also metal shears and a small square; an awl and several sizes of gimlets; a screwdriver; pair of pliers and wire cutters

p. 15

From the foregoing it will be seen that the cost of tools is not a very expensive item.

This entire outfit, not including the anvil and vise, may be purchased new for about $20.00, so we have not been extravagant.

Magnet-winding Reel.—Some little preparation must be made, so we may be enabled to handle our work by the construction of mechanical aids.

Fig. 4. Journal Block. Fig. 4. Journal Block.

First of these is the magnet-winding reel, a plan view of which is shown in Fig. 2. This, for our present work, will be made wholly of wood.

Select a plank 1½ inches thick and 8 inches wide, and from this cut off two pieces (A), each 7 inches long, and then trim off the corners (B, B), as shown in Fig. 4. To serve as the mandrel (C, Fig. 2), select a piece of broomstick 9 inches long. Bore a hole (D) in each block (A) a half inch below the upper margin of the block, this hole being of such diameter that the broomstick mandrel will fit and easily turn therein

p. 16

Place a crank (E), 5 inches long, on the outer end of the mandrel, as in Fig. 3. Then mount one block on the end of the bench and the other block 3 inches away. Affix them to the bench by nails or screws, preferably the latter.

On the inner end of the mandrel put a block (F) of hard wood. This is done by boring a hole 1 inch deep in the center of the block, into which the mandrel is driven. On the outer face of the block is a square hole large enough to receive the head of a ⅜-inch bolt, and into the depression thus formed a screw (G) is driven through the block and into the end of the mandrel, so as to hold the block (F) and mandrel firmly together. When these parts are properly put together, the inner side of the block will rest and turn against the inner journal block (A).

The tailpiece is made of a 2" × 4" scantling (H), 10 inches long, one end of it being nailed to a transverse block (I) 2" × 2" × 4". The inner face of this block has a depression in which is placed a V-shaped cup (J), to receive the end of the magnet core (K) or bolt, which is to be used for this purpose. The tailpiece (H) has a longitudinal slot (L) 5 inches long adapted to receive a ½-inch bolt (M), which passes down through the bench, and is, therefore, adjustable, so it may be moved to and from the journal bearing (A),p. 17 thereby providing a place for the bolts to be put in. These bolts are the magnet cores (K), 6 inches long, but they may be even longer, if you bore several holes (N) through the bench so you may set over the tailpiece.

With a single tool made substantially like this, over a thousand of the finest magnets have been wound. Its value will be appreciated after you have had the experience of winding a few magnets.

Order in the Workshop.—Select a place for each tool on the rear upright of the bench, and make it a rule to put each tool back into its place after using. This, if persisted in, will soon become a habit, and will save you hours of time. Hunting for tools is the unprofitable part of any work.


p. 18

CHAPTER IIIToC

MAGNETS, COILS, ARMATURES, ETC.

The Two Kinds of Magnet.—Generally speaking, magnets are of two kinds, namely, permanent and electro-magnetic.

Permanent Magnets.—A permanent magnet is a piece of steel in which an electric force is exerted at all times. An electro-magnet is a piece of iron which is magnetized by a winding of wire, and the magnet is energized only while a current of electricity is passing through the wire.

Electro-Magnet.—The electro-magnet, therefore, is the more useful, because the pull of the magnet can be controlled by the current which actuates it.

The electro-magnet is the most essential of all contrivances in the operation and use of electricity. It is the piece of mechanism which does the physical work of almost every electrical apparatus or machine. It is the device which has the power to convert the unseen electric current into motion which may be observed by the human eye. Without it electricity would be a useless agent to man.

While the electro-magnet is, therefore, the formp. 19 of device which is almost wholly used, it is necessary, first, to understand the principles of the permanent magnet.

Magnetism.—The curious force exerted by a magnet is called magnetism, but its origin has never been explained. We know its manifestations only, and laws have been formulated to explain its various phases; how to make it more or less intense; how to make its pull more effective; the shape and form of the magnet and the material most useful in its construction.

Fig 5. Plain Magnet Bar Fig 5. Plain Magnet Bar

Materials for Magnets.—Iron and steel are the best materials for magnets. Some metals are non-magnetic, this applying to iron if combined with manganese. Others, like sulphur, zinc, bismuth, antimony, gold, silver and copper, not only are non-magnetic, but they are actually repelled by magnetism. They are called the diamagnetics.

Non-magnetic Materials.—Any non-magnetic body in the path of a magnetic force does not screen or diminish its action, whereas a magnetic substance will

p. 20

In Fig. 5 we show the simplest form of magnet, merely a bar of steel (A) with the magnetic lines of force passing from end to end. It will be understood that these lines extend out on all sides, and not only along two sides, as shown in the drawing. The object is to explain clearly how the lines run.

Fig. 6. Severed Magnet Fig 6. Severed Magnet

Action of a Severed Magnet.—Now, let us suppose that we sever this bar in the middle, as in Fig. 6, or at any other point between the ends. In this case each part becomes a perfect magnet, and a new north pole (N) and a new south pole (S) are made, so that the movement of the magnetic lines of force are still in the same direction in each—that is, the current flows from the north pole to the south pole.

What North and South Poles Mean.—If these two parts are placed close together they will attract each other. But if, on the other hand, one of the pieces is reversed, as in Fig. 7, they will repel each other. From this comes the statement that likes repel and unlikes attract each other

p. 21

Repulsion and Attraction.—This physical act of repulsion and attraction is made use of in motors, as we shall see hereinafter.

It will be well to bear in mind that in treating of electricity the north pole is always associated with the plus sign (+) and the south pole with the minus sign (-). Or the N sign is positive and the S sign negative electricity.

Fig. 7. Reversed Magnets Fig. 7. Reversed Magnets

Positives and Negatives.—There is really no difference between positive and negative electricity, so called, but the foregoing method merely serves as a means of identifying or classifying the opposite ends of a magnet or of a wire.

Magnetic Lines of Force.—It will be noticed that the magnetic lines of force pass through the bar and then go from end to end through the atmosphere. Air is a poor conductor of electricity, so that if we can find a shorter way to conduct the current from the north pole to the south pole, the efficiency of the magnet is increased.

This is accomplished by means of the well-knownp. 22 horseshoe magnet, where the two ends (N, S) are brought close together, as in Fig. 8.

The Earth as a Magnet.—The earth is a huge magnet and the magnetic lines run from the north pole to the south pole around all sides of the globe.

Fig. 8. Horseshoe Magnet Fig. 8. Horseshoe Magnet

The north magnetic pole does not coincide with the true north pole or the pivotal point of the earth's rotation, but it is sufficiently near for all practical purposes. Fig. 9 shows the magnetic lines running from the north to the south pole.

Why the Compass Points North and South.—Now, let us try to ascertain why the compass points north and south.

Let us assume that we have a large magnet (A, Fig. 10), and suspend a small magnet (B) above it, so that it is within the magnetic field of the large magnet. This may be done by means of a short pin (C), which is located in the middlep. 23 of the magnet (B), the upper end of this pin having thereon a loop to which a thread (D) is attached. The pin also carries thereon a pointer (E), which is directed toward the north pole of the bar (B).

Fig. 9. Earth's Magnetic Lines Fig. 9. Earth's Magnetic Lines

You will now take note of the interior magnetic lines (X), and the exterior magnetic lines (Z) of the large magnet (A), and compare the direction of their flow with the similar lines in the small magnet (B).

The small magnet has both its exterior and its interior lines within the exterior lines (Z) of the large magnet (A), so that as the small magnet (B) is capable of swinging around, the N pole ofp. 24 the bar (B) will point toward the S pole of the larger bar (A). The small bar, therefore, is influenced by the exterior magnetic field (Z).

Fig. 10. Two Permanent Magnets Fig. 10. Two Permanent Magnets
Fig. 11. Magnets in the Earth's Magnetic Field Fig. 11. Magnets in the Earth's Magnetic Field

Let us now take the outline represented by the earth's surface (Fig. 11), and suspend a magnet (A) at any point, like the needle of a compass, and it will be seen that the needle will arrange itself north and south, within the magnetic field which flows from the north to the south pole

p. 25

Peculiarity of a Magnet.—One characteristic of a magnet is that, while apparently the magnetic field flows out at one end of the magnet, and moves inwardly at the other end, the power of attraction is just the same at both ends.

In Fig. 12 are shown a bar (A) and a horseshoe magnet (B). The bar (A) has metal blocks (C) at each end, and each of these blocks is attracted to and held in contact with the ends by magnetic influence, just the same as the bar (D) is attracted by and held against the two ends of the horseshoe magnet. These blocks (C) or the bar (D) are called armatures. Through them is represented the visible motion produced by the magnetic field.

Fig. 12. Armatures for Magnets Fig. 12. Armatures for Magnets

Action of the Electro-Magnet.—The electro-magnet exerts its force in the same manner as a permanent magnet, so far as attraction and repulsion are concerned, and it has a north and a south pole, as in the case with the permanent magnet. An electro-magnet is simply a bar ofp. 26 iron with a coil or coils of wire around it; when a current of electricity flows through the wire, the bar is magnetized. The moment the current is cut off, the bar is demagnetized. The question that now arises is, why an electric current flowing through a wire, under those conditions, magnetizes the bar, or core, as it is called.

Fig. 13. Magnetized Field Fig. 13. Magnetized Field
Fig. 14. Magnetized Bar Fig. 14. Magnetized Bar

In Fig. 13 is shown a piece of wire (A). Let us assume that a current of electricity is flowing through this wire in the direction of the darts. What actually takes place is that the electricity extends out beyond the surface of the wire in the form of the closed rings (B). If, now, this wire (A) is wound around an iron core (C, Fig. 14), you will observe that this electric field, asp. 27 it is called, entirely surrounds the core, or rather, that the core is within the magnetic field or influence of the current flowing through the wire, and the core (C) thereby becomes magnetized, but it is magnetized only when the current passes through the wire coil (A).

Fig. 15. Direction of Current Fig. 15. Direction of Current

From the foregoing, it will be understood that a wire carrying a current of electricity not only is affected within its body, but that it also has a sphere of influence exteriorly to the body of the wire, at all points; and advantage is taken of this phenomenon in constructing motors, dynamos, electrical measuring devices and almost every kind of electrical mechanism in existence.

Exterior Magnetic Influence Around a Wire Carrying a Current.—Bear in mind that the wire coil (A, Fig. 14) does not come into contact with the core (C). It is insulated from the core, either by air or by rubber or other insulating substance, and a current passing from A to C under those conditions is a current of induction. On the other hand, the current flowing through the wire (A)p. 28 from end to end is called a conduction current. Remember these terms.

In this connection there is also another thing which you will do well to bear in mind. In Fig. 15 you will notice a core (C) and an insulated wire coil (B) wound around it. The current, through the wire (B), as shown by the darts (D), moves in one direction, and the induced current in the core (C) travels in the opposite direction, as shown by the darts (D).

Fig. 16. Direction of Induction Current Fig. 16. Direction of Induction Current

Parallel Wires.—In like manner, if two wires (A, B, Fig. 16) are parallel with each other, and a current of electricity passes along the wire (A) in one direction, the induced current in the wire (B) will move in the opposite direction.

These fundamental principles should be thoroughly understood and mastered.


p. 29

CHAPTER IVToC

FRICTIONAL, VOLTAIC OR GALVANIC, AND ELECTRO-MAGNETIC ELECTRICITY

Three Electrical Sources.—It has been found that there are three kinds of electricity, or, to be more accurate, there are three ways to generate it. These will now be described.

When man first began experimenting, he produced a current by frictional means, and collected the electricity in a bottle or jar. Electricity, so stored, could be drawn from the jar, by attaching thereto suitable connection. This could be effected only in one way, and that was by discharging the entire accumulation instantaneously. At that time they knew of no means whereby the current could be made to flow from the jar as from a battery or cell.

Frictional Electricity.—With a view of explaining the principles involved, we show in Fig. 17 a machine for producing electricity by friction.

Fig. 17. Friction-Electricity Machine Fig. 17. Friction-Electricity Machine

This is made up as follows: A represents the base, having thereon a flat member (B), on which is mounted a pair of parallel posts or standards (C, C), which are connected at the top by a cross piece (D). Between these two posts is a glassp. 30 disc (E), mounted upon a shaft (F), which passes through the posts, this shaft having at one end a crank (G). Two leather collecting surfaces (H, H), which are in contact with the glass disc (E), are held in position by arms (I, J), the arm (I) being supported by the cross piece (D), and the arm (J) held by the base piece (B). A rod (K), U-shaped in form, passes over the structure here thus described, its ends being secured to the basep. 31 (B). The arms (I, J) are both electrically connected with this rod, or conductor (K), joined to a main conductor (L), which has a terminating knob (M). On each side and close to the terminal end of each leather collector (H) is a fork-shaped collector (N). These two collectors are also connected electrically with the conductor (K). When the disc is turned electricity is generated by the leather flaps and accumulated by the collectors (N), after which it is ready to be discharged at the knob (M).

In order to collect the electricity thus generated a vessel called a Leyden jar is used.

Leyden Jar.—This is shown in Fig. 18. The jar (A) is of glass coated exteriorly at its lower end with tinfoil (B), which extends up a little more than halfway from the bottom. This jar has a wooden cover or top (C), provided centrally with a hole (D). The jar is designed to receive within it a tripod and standard (E) of lead. Within this lead standard is fitted a metal rod (F), which projects upwardly through the hole (D), its upper end having thereon a terminal knob (G). A sliding cork (H) on the rod (F) serves as a means to close the jar when not in use. When in use this cork is raised so the rod may not come into contact, electrically, with the cover (C).

The jar is half filled with sulphuric acid (I),p. 32 after which, in order to charge the jar, the knob (G) is brought into contact with the knob (M) of the friction generator (Fig. 17).

Voltaic or Galvanic Electricity.—The second method of generating electricity is by chemical means, so called, because a liquid is used as one of the agents.

Fig. 18. Leyden Jar Fig. 18. Leyden Jar

Galvani, in 1790, made the experiments which led to the generation of electricity by means of liquids and metals. The first battery was called the "crown of cups," shown in Fig. 19, and consistingp. 33 of a row of glass cups (A), containing salt water. These cups were electrically connected by means of bent metal strips (B), each strip having at one end a copper plate (C), and at the other end a zinc plate (D). The first plate in the cup at one end is connected with the last plate in the cup at the other end by a conductor (E) to make a complete circuit.

Fig. 19. Galvanic Electricity. Crown of Cups Fig. 19. Galvanic Electricity. Crown of Cups

The Cell and Battery.—From the foregoing it will be seen that within each cup the current flows from the zinc to the copper plates, and exteriorly from the copper to the zinc plates through the conductors (B and E).

A few years afterwards Volta devised what is known as the voltaic pile (Fig. 20).

Voltaic Pile—How Made.—This is made of alternate discs of copper and zinc with a piece ofp. 34 cardboard of corresponding size between each zinc and copper plate. The cardboard discs are moistened with acidulated water. The bottom disc of copper has a strip which connects with a cup of acid, and one wire terminal (A) runs therefrom. The upper disc, which is of zinc, is also connected, by a strip, with a cup of acid from which extends the other terminal wire (B).

Fig. 20. Voltaic Electricity Fig. 20. Voltaic Electricity

Plus and Minus Signs.—It will be noted that the positive or copper disc has the plus signp. 35 (+) while the zinc disc has the minus (-) sign. These signs denote the positive and the negative sides of the current.

The liquid in the cells, or in the moistened paper, is called the electrolyte and the plates or discs are called electrodes. To define them more clearly, the positive plate is the anode, and the negative plate the cathode.

The current, upon entering the zinc plate, decomposes the water in the electrolyte, thereby forming oxygen. The hydrogen in the water, which has also been formed by the decomposition, is carried to the copper plate, so that the plate finally is so coated with hydrogen that it is difficult for the current to pass through. This condition is called "polarization," and to prevent it has been the aim of all inventors. To it also we may attribute the great variety of primary batteries, each having some distinctive claim of merit.

The Common Primary Cell.—The most common form of primary cell contains sulphuric acid, or a sulphuric acid solution, as the electrolyte, with zinc for the anode, and carbon, instead of copper, for the cathode.

The ends of the zinc and copper plates are called terminals, and while the zinc is the anode or positive element, its terminal is designated as the positive pole. In like manner, the carbon isp. 36 the negative element or cathode, and its terminal is designated as negative pole.

Fig. 21 will show the relative arrangement of the parts. It is customary to term that end or element from which the current flows as positive. A cell is regarded as a whole, and as the current passes out of the cell from the copper element, the copper terminal becomes positive.

Fig. 21. Primary Battery Fig. 21. Primary Battery

Battery Resistance, Electrolyte and Current.—The following should be carefully memorized:

A cell has reference to a single vessel. When two or more cells are coupled together they form a battery

p. 37

Resistance is opposition to the movement of the current. If it is offered by the electrolyte, it is designated "Internal Resistance." If, on the other hand, the opposition takes place, for instance, through the wire, it is then called "External Resistance."

The electrolyte must be either acid, or alkaline, or saline, and the electrodes must be of dissimilar metals, so the electrolyte will attack one of them.

The current is measured in amperes, and the force with which it is caused to flow is measured in volts. In practice the word "current" is used to designate ampere flow; and electromotive force, or E. M. F., is used instead of voltage.

Electro-magnetic Electricity.—The third method of generating electricity is by electro-magnets. The value and use of induction will now be seen, and you will be enabled to utilize the lesson concerning magnetic action referred to in the previous chapter.

Magnetic Radiation.—You will remember that every piece of metal which is within the path of an electric current has a space all about its surface from end to end which is electrified. This electrified field extends out a certain distance from the metal, and is supposed to maintain a movement around it. If, now, another piece of metal is brought within range of this electric or magneticp. 38 zone and moved across it, so as to cut through this field, a current will be generated thereby, or rather added to the current already exerted, so that if we start with a feeble current, it can be increased by rapidly "cutting the lines of force," as it is called.

Different Kinds of Dynamo.—While there are many kinds of dynamo, they all, without exception, are constructed in accordance with this principle. There are also many varieties of current. For instance, a dynamo may be made to produce a high voltage and a low amperage; another with high amperage and low voltage; another which gives a direct current for lighting, heating, power, and electroplating; still another which generates an alternating current for high tension power, or transmission, arc-lighting, etc., all of which will be explained hereafter.

In this place, however, a full description of a direct-current dynamo will explain the principle involved in all dynamos—that to generate a current of electricity makes it necessary for us to move a field of force, like an armature, rapidly and continuously through another field of force, like a magnetic field.

Direct-Current Dynamo.—We shall now make the simplest form of dynamo, using for this purpose a pair of permanent magnets

p. 39

Fig. 22. Dynamo Field and Pole Piece Fig. 22. Dynamo Field and Pole Piece

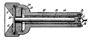
Simple Magnet Construction.—A simple way to make a pair of magnets for this purpose is shown in Fig. 22. A piece of round ¾-inch steel core (A), 5½ inches long, is threaded at both ends to receive at one end a nut (B), which is screwed on a sufficient distance so that the end of the core (A) projects a half inch beyond the nut. The other end of the steel core has a pole piece ofp. 40 iron (C) 2" × 2" × 4", with a hole midway between the ends, threaded entirely through, and provided along one side with a concave channel, within which the armature is to turn. Now, before the pole piece (C) is put on, we will slip on a disc (E), made of hard rubber, then a thin rubber tube (F), and finally a rubber disc (G), so as to provide a positive insulation for the wire coil which is wound on the bobbin thus made.

How to Wind.—In practice, and as you go further along in this work, you will learn the value, first, of winding one layer of insulated wire on the spool, coating it with shellac, and then putting on the next layer, and so on; when completely wound, the two wire terminals may be brought out at one end; but for our present purpose, and to render the explanation clearer, the wire terminals are at the opposite ends of the spool (H, H').

The Dynamo Fields.—Two of these spools are so made and they are called the fields of the dynamo.

We will next prepare an iron bar (I), 5 inches long and ½ inch thick and 1½ inches wide, then bore two holes through it so the distance measures 3 inches from center to center. These holes are to be threaded for the ¾-inch cores (A). This bar holds together the upper ends of the cores, as shown in Fig. 23

p. 41

Fig. 23. Base and Fields Assembled Fig. 23. Base and Fields Assembled

We then prepare a base (J) of any hard wood, 2 inches thick, 8 inches long and 8 inches wide,p. 42 and bore two ¾-inch holes 3 inches apart on a middle line, to receive a pair of ¾-inch cap screws (K), which pass upwardly through the holes in the base and screw into the pole pieces (C). A wooden bar (L), 1½" × 1½", 8 inches long, is placed under each pole piece, which is also provided with holes for the cap screws (K). The lower side of the base (J) should be countersunk, as at M, so the head of the nut will not project. The fields of the dynamo are now secured in position to the base.

Fig. 24. Details of the Armature, core Fig. 25.  Details of the Armature, body
Figs. 24-25. Details of the Armature

The Armature.—A bar of iron (Fig. 24), 1" × 1" and 2¼ inches long, is next provided. Through this bar (1) are then bored two 5/16-inch holes 1¾ inches apart, and on the opposite sides of this bar are two half-rounded plates of iron (3) (Fig. 25).

Armature Winding.—Each plate is ½ inch thick, 1¾ inches wide and 4 inches long, each plate having holes (4) to coincide with the holes (2) of the bar (1), so that when the two plates are applied top. 43 opposite sides of the bar, and riveted together, a cylindrical member is formed, with two channels running longitudinally, and transversely at the ends; and in these channels the insulated wires are wound from end to end around the central block (1).

Mounting the Armature.—It is now necessary to provide a means for revolving this armature. To this end a brass disc (5, Fig. 26) is made, 2 inches in diameter, ⅛ inch thick. Centrally, at one side, is a projecting stem (6) of round brass, which projects out 2 inches, and the outer end is turned down, as at 7, to form a small bearing surface.

Fig. 26. Journals Fig. 27. Commutator
Figs. 26-27. Armature Mountings

The other end of the armature has a similar disc (8), with a central stem (9), 1½ inches long, turned down to ¼-inch diameter up to within ¼ inch of the disc (7), so as to form a shoulder

p. 44

The Commutator.—In Fig. 27 is shown, at 10, a wooden cylinder, 1 inch long and 1¼ inches in diameter, with a hole (11) bored through axially, so that it will fit tightly on the stem (6) of the disc (5). On this wooden cylinder is driven a brass or copper tube (12), which has holes (13) opposite each other. Screws are used to hold the tube to the wooden cylinder, and after they are properly secured together, the tube (12) is cut by a saw, as at 14, so as to form two independent tubular surfaces

p. 45

Fig. 28. End View Armature, Mounted Fig. 28.
End View Armature, Mounted

These tubular sections are called the commutator plates.

Fig. 29. Top View of Armature on Base Fig. 29.
Top View of Armature on Base

In order to mount this armature, two bearings are provided, each comprising a bar of brass (15, Fig. 28), each ¼ inch thick, ½ inch wide and 4½ inches long. Two holes, 3 inches apart, are formed through this bar, to receive round-headed wood screws (16), these screws being 3 inches long, so they will pass through the wooden piecesp. 46 (I) and enter the base (J). Midway between the ends, each bar (15) has an iron bearing block (17), ¾" × ½" and 1½ inches high, the ¼-inch hole for the journal (7) being midway between its ends.

Commutator Brushes.—Fig. 28 shows the base, armature and commutator assembled in position, and to these parts have been added the commutator brushes. The brush holder (18) is a horizontal bar made of hard rubber loosely mounted upon the journal pin (7), which is 2½ inches long. At each end is a right-angled metal arm (19) secured to the bar (18) by screws (20). To these arms the brushes (21) are attached, so that their spring ends engage with the commutator (12). An adjusting screw (22) in the bearing post (17), with the head thereof bearing against the brush-holder (18), serves as a means for revolubly adjusting the brushes with relation to the commutator.

Dynamo Windings.—There are several ways to wind the dynamos. These can be shown better by the following diagrams (Figs. 30, 31, 32, 33):

The Field.—If the field (A, Fig. 30) is not a permanent magnet, it must be excited by a cell or battery, and the wires (B, B') are connected up with a battery, while the wires (C, C') may be connected up to run a motor. This would, therefore, be what is called a "separately excited" dynamo.p. 47 In this case the battery excites the field and the armature (D), cutting the lines of force at the pole pieces (E), so that the armature gathers the current for the wires (C, C').

Fig. 30-31. Field Winding, Series-wound Figs. 30-31. Field Winding, Series-wound

Series-wound Field.—Fig. 31 shows a "series-wound" dynamo. The wires of the fields (A) are connected up in series with the brushes of the armature (D), and the wires (G, G') are led out and connected up with a lamp, motor or other mechanism. In this case, as well as in Figs. 32 and 33, both the field and the armature are made of soft gray iron. With this winding and means of connecting the wires, the field is constantly excited by the current passing through the wires.

Shunt-wound Field.—Fig. 32 represents what is known as a "shunt-wound" dynamo. Here thep. 48 field wires (H, H) connect with the opposite brushes of the armature, and the wires (I, I') are also connected with the brushes, these two wires being provided to perform the work required. This is a more useful form of winding for electroplating purposes.

Figs. 32-33. Shunt-wound, Compound-wound Figs. 32-33. Shunt-wound, Compound-wound

Compound-wound Field.—Fig. 33 is a diagram of a "compound-wound" dynamo. The regular field winding (J) has its opposite ends connected directly with the armature brushes. There is also a winding, of a comparatively few turns, of a thicker wire, one terminal (K) of which is connected with one of the brushes and the other terminal (K') forms one side of the lighting circuit. A wire (L) connects with the other armature brush to form a complete lighting circuit.


p. 49

CHAPTER VToC

HOW TO DETECT AND MEASURE ELECTRICITY

Measuring Instruments.—The production of an electric current would not be of much value unless we had some way by which we might detect and measure it. The pound weight, the foot rule and the quart measure are very simple devices, but without them very little business could be done. There must be a standard of measurement in electricity as well as in dealing with iron or vegetables or fabrics.

As electricity cannot be seen by the human eye, some mechanism must be made which will reveal its movements.

The Detector.—It has been shown in the preceding chapter that a current of electricity passing through a wire will cause a current to pass through a parallel wire, if the two wires are placed close together, but not actually in contact with each other. An instrument which reveals this condition is called a galvanometer. It not only detects the presence of a current, but it shows the direction of its flow. We shall now see how this is done.

For example, the wire (A, Fig. 35) is connectedp. 50 up in an electric circuit with a permanent magnet (B) suspended by a fine wire (C), so that the magnet (B) may freely revolve.

Figs. 34-36. To the right, Compass Magnet, To the left Figs. 34-36.
To the right, Compass Magnet, To the left

For convenience, the magnetic field is shown flowing in the direction of the darts, in which the dart (D) represents the current within the magnet (B) flowing toward the north pole, and the darts (E) showing the exterior current flowing toward the south pole. Now, if the wire (A) is brought up close to the magnet (B), and a current passed through A, the magnet (B) will be affected. Fig. 35 shows the normal condition of the magnetized bar (B) parallel with the wire (A) when a current is not passing through the latter.

Direction of Current.—If the current should go through the wire (A) from right to left, as shown in Fig. 34, the magnet (B) would swing in the direction taken by the hands of a clock and assume the position shownp. 51 in Fig. 34. If, on the other hand, the current in the wire (A) should be reversed or flow from left to right, the magnet (B) would swing counter-clock-wise, and assume the position shown in Fig. 36. The little pointer (G) would, in either case, point in the direction of the flow of the current through the wire (A).

Fig. 37. Indicating Direction of Current Fig. 37. Indicating Direction of Current

p. 52

Simple Current Detector.—A simple current detector may be made as follows:

Prepare a base 3' × 4' in size and 1 inch thick. At each corner of one end fix a binding post, as at A, A', Fig. 37. Then select 20 feet of No. 28 cotton-insulated wire, and make a coil (B) 2 inches in diameter, leaving the ends free, so they may be affixed to the binding posts (A, A'). Now glue or nail six blocks (C) to the base, each block being 1" × 1" × 2", and lay the coil on these blocks. Then drive an L-shaped nail (D) down into each block, on the inside of the coil, as shown, so as to hold the latter in place.

Fig. 38. The Bridge Fig. 38. The Bridge

Now make a bridge (E, Fig. 38) of a strip of brass ½ inch wide, 1/16 inch thick and long enough to span the coil, and bend the ends down, as at F, so as to form legs. A screw hole (G) is formed in each foot, so it may be screwed to the base.

Midway between the ends this bridge has a transverse slot (H) in one edge, to receive therein thep. 53 pivot pin of the swinging magnet. In order to hold the pivot pin in place, cut out an H-shaped piece of sheet brass (I), which, when laid on the bridge, has its ends bent around the latter, as shown at J, and the crossbar of the H-shaped piece then will prevent the pivot pin from coming out of the slot (H).

Fig. 39. Details of Detector Fig. 39. Details of Detector

The magnet is made of a bar of steel (K, Fig. 39) 1½ inches long, ⅜ inch wide and 1/16 inch thick, a piece of a clock spring being very serviceable for this purpose. The pivot pin is made of an ordinary pin (L), and as it is difficult to solder the steel magnet (K) to the pin, solder only a small disc (M) to the pin (L). Then bore a hole (N) through the middle of the magnet (K), larger in diameter than the pin (L), and, after putting the pin in the hole, pour sealing wax into the hole, and thereby secure the two parts together. Near the upper end of the pin (L) solder the end of a pointer (O), this pointer being at right angles to the armature (K). It is betterp. 54 to have a metal socket for the lower end of the pin. When these parts are put together, as shown in Fig. 37, a removable glass top, or cover, should be provided.

This is shown in Fig. 40, in which a square, wooden frame (P) is used, and a glass (Q) fitted into the frame, the glass being so arranged that when the cover is in position it will be in close proximity to the upper projecting end of the pivot pin (L), and thus prevent the magnet from becoming misplaced.

Fig. 40. Cross Section of Detector Fig. 40. Cross Section of Detector

How to Place the Detector.—If the detector is placed north and south, as shown by the two markings, N and S (Fig. 37), the magnet bar will point north and south, being affected by the earth's magnetism; but when a current of electricity flows through the coil (B), the magnet will be deflected to the right or to the left, so that the pointer (O) will then show the direction in which thep. 55 current is flowing through the wire (R) which you are testing.

The next step of importance is to measure the current, that is, to determine its strength or intensity, as well as the flow or quantity.

Different Ways of Measuring a Current.—There are several ways to measure the properties of a current, which may be defined as follows:

1. The Sulphuric Acid Voltameter.—By means of an electrolytic action, whereby the current decomposes an acidulated solution—that is, water which has in it a small amount of sulphuric acid—and then measuring the gas generated by the current.

2. The Copper Voltameter.—By electro-chemical means, in which the current passes through plates immersed in a solution of copper sulphate.

3. The Galvanoscope.—By having a coil of insulated wire, with a magnet suspended so as to turn freely within the coil, forming what is called a galvanoscope.

4. Electro-magnetic Method.—By using a pair of magnets and sending a current through the coils, and then measuring the pull on the armature.

5. The Power or Speed Method.—By using an electric fan, and noting the revolutions produced by the current

p. 56

6. The Calorimeter.—By using a coil of bare wire, immersed in paraffine oil, and then measuring the temperature by means of a thermometer.

Fig. 41. Acid Voltameter Fig. 42. Copper Voltameter
Fig. 41.
Acid Voltameter
Fig. 42.
Copper Voltameter

7. The Light Method.—Lastly, by means of an electric light, which shows, by its brightness, a greater or less current.

The Preferred Methods.—It has been found that the first and second methods are the onlyp. 57 ones which will accurately register current strength, and these methods have this advantage—that the chemical effect produced is not dependent upon the size or shape of the apparatus or the plates used.

How to Make a Sulphuric Acid Voltameter.—In Fig. 41 is shown a simple form of sulphuric acid voltameter, to illustrate the first method. A is a jar, tightly closed by a cover (B). Within is a pair of platinum plates (C, C), each having a wire (D) through the cover. The cover has a vertical glass tube (E) through it, which extends down to the bottom of the jar, the electrolyte therein being a weak solution of sulphuric acid. When a current passes through the wires (D), the solution is partially decomposed—that is, converted into gas, which passes up into the vacant space (F) above the liquid, and, as it cannot escape, it presses the liquid downwardly, and causes the latter to flow upwardly into the tube (E). It is then an easy matter, after the current is on for a certain time, to determine its strength by the height of the liquid in the tube.

How to Make a Copper Voltameter.—The second, or copper voltameter, is shown in Fig. 42. The glass jar (A) contains a solution of copper sulphate, known in commerce as blue vitriol. Ap. 58 pair of copper plates (B, B') are placed in this solution, each being provided with a connecting wire (C). When a current passes through the wires (C), one copper plate (B) is eaten away and deposited on the other plate (B'). It is then an easy matter to take out the plates and find out how much in weight B' has gained, or how much B has lost.

In this way, in comparing the strength of, say, two separate currents, one should have each current pass through the voltameter the same length of time as the other, so as to obtain comparative results.

It is not necessary, in the first and second methods, to consider the shapes, the sizes of the plates or the distances between them. In the first method the gas produced, within a given time, will be the same, and in the second method the amount deposited or eaten away will be the same under all conditions.

Disadvantages of the Galvanoscope.—With the third method (using the galvanoscope) it is necessary, in order to get a positively correct reading instrument, to follow an absolutely accurate plan in constructing each part, in every detail, and great care must be exercised, particularly in winding. It is necessary also to be very careful inp. 59 selecting the sizes of wire used and in the number of turns made in the coils.

This is equally true of the fourth method, using the electro-magnet, because the magnetic pull is dependent upon the size of wire from which the coils are made and the number of turns of wire.

Objections to the Calorimeter.—The calorimeter, or sixth method, has the same objection. The galvanoscope and electro-magnet do not respond equally to all currents, and this is also true, even to a greater extent, with the calorimeter.


p. 60

CHAPTER VIToC

VOLTS, AMPERES, OHMS AND WATTS

Understanding Terms.—We must now try to ascertain the meaning of some of the terms so frequently used in connection with electricity. If you intended to sell or measure produce or goods of any kind, it would be essential to know how many pints or quarts are contained in a gallon, or in a bushel, or how many inches there are in a yard, and you also ought to know just what the quantity term bushel or the measurement yard means.

Intensity and Quantity.—Electricity, while it has no weight, is capable of being measured by means of its intensity, or by its quantity. Light may be measured or tested by its brilliancy. If one light is of less intensity than another and both of them receive their impulses from the same source, there must be something which interferes with that light which shows the least brilliancy. Electricity can also be interfered with, and this interference is called resistance.

Voltage.—Water may be made to flow with greater or less force, or velocity, through a pipe, the degree of same depending upon the height ofp. 61 the water which supplies the pipe. So with electricity. It may pass over a wire with greater or less force under one condition than another. This force is called voltage. If we have a large pipe, a much greater quantity of water will flow through it than will pass through a small pipe, providing the pressure in each case is alike. This quantity in electricity is called amperage.

In the case of water, a column 1" × 1", 28 inches in height, weighs 1 pound; so that if a pipe 1 inch square draws water from the bottom it flows with a pressure of 1 pound. If the pipe has a measurement of 2 square inches, double the quantity of water will flow therefrom, at the same pressure.

Amperage.—If, on the other hand, we have a pipe 1 inch square, and there is a depth of 56 inches of water in the reservoir, we shall get as much water from the reservoir as though we had a pipe of 2 square inches drawing water from a reservoir which is 28 inches deep.

Meaning of Watts.—It is obvious, therefore, that if we multiply the height of the water in inches with the area of the pipe, we shall obtain a factor which will show how much water is flowing.

Here are two examples:

  1. p. 6228 inches = height of the water in the reservoir.
    2 square inches = size of the pipe.
    Multiply 28 × 2 = 56.
  2. 56 = height of the water in the reservoir.
    1 square inch = size of the pipe.
    Multiply 56 × 1 = 56.

Thus the two problems are equal.

A Kilowatt.—Now, in electricity, remembering that the height of the water corresponds with voltage in electricity, and the size of the pipe with amperage, if we multiply volts by amperes, or amperes by volts, we get a result which is indicated by the term watts. One thousand of these watts make a kilowatt, and the latter is the standard of measurement by which a dynamo or motor is judged or rated.

Thus, if we have 5 amperes and 110 volts, the result of multiplying them would be 550 watts, or 5 volts and 110 amperes would produce 550 watts.

A Standard of Measurement.—But with all this we must have some standard. A bushel measure is of a certain size, and a foot has a definite length, so in electricity there is a recognized force and quantity which are determined as follows:

The Ampere Standard.—It is necessary, first, to determine what an ampere is. For this purpose a standard solution of nitrate of silver isp. 63 used, and a current of electricity is passed through this solution. In doing so the current deposits silver at the rate of 0.001118 grains per second for each ampere.

The Voltage Standard.—In order to determine the voltage we must know something of resistance. Different metals do not transmit a current with equal ease. The size of a conductor, also, is an important factor in the passage of a current. A large conductor will transmit a current much better than a small conductor. We must therefore have a standard for the ohm, which is the measure of resistance.

The Ohm.—It is calculated in this way: There are several standards, but the one most generally employed is the International Ohm. To determine it, by this system, a column of pure mercury, 106.3 millimeters long and weighing 14.4521 grams, is used. This would make a square tube about 94 inches long, and a little over 1/25 of an inch in diameter. The resistance to a current flow in such a column would be equal to 1 ohm.

Calculating the Voltage.—In order to arrive at the voltage we must use a conductor, which, with a resistance of 1 ohm, will produce 1 ampere. It must be remembered that the volt is the practical unit of electro-motive force

p. 64

While it would be difficult for the boy to conduct these experiments in the absence of suitable apparatus, still, it is well to understand thoroughly how and why these standards are made and used.


p. 65

CHAPTER VIIToC

PUSH BUTTONS, SWITCHES, ANNUNCIATORS, BELLS AND LIKE APPARATUS

Simple Switches.—We have now gone over the simpler or elementary outlines of electrical phenomena, and we may commence to do some of the practical work in the art. We need certain apparatus to make connections, which will be constructed first.

A Two-Pole Switch.—A simple two-pole switch for a single line is made as follows:

A base block (A, Fig. 43) 3 inches long, 2 inches wide and ¾ inch thick, has on it, at one end, a binding screw (B), which holds a pair of fingers (C) of brass or copper, these fingers being bent upwardly and so arranged as to serve as fingers to hold a switch bar (D) between them. This bar is also of copper or brass and is pivoted to the fingers. Near the other end of the base is a similar binding screw (E) and fingers (F) to receive the blade of the switch bar. The bar has a handle (G) of wood. The wires are attached to the respective binding screws (B, E).

Double-Pole Switch.—A double-pole switch or a switch for a double line is shown in Fig. 44.p. 66 This is made similar in all respects to the one shown in Fig. 43, excepting that there are two switch blades (A, A) connected by a cross bar (B) of insulating material, and this bar carries the handle (C).

Fig. 43. Two-Pole Switch Fig. 43. Two-Pole Switch
Fig. 44. Double-Pole Switch Fig. 44. Double-Pole Switch

Other types of switch will be found very useful. In Fig. 45 is a simple sliding switch in which the base block has, at one end, a pair of copper plates (A, B), each held at one end to the base by a binding screw (C), and having a bearing or contact surface (D) at its other end. At thep. 67 other end of the base is a copper plate (E) held by a binding screw (F), to the inner end of which plate is hinged a swinging switch blade (G), the free end of which is adapted to engage with the plates (A, B).

Fig. 45. Sliding Switch Fig. 45. Sliding Switch

Sliding Switch.—This sliding switch form may have the contact plates (A, B and C, Fig. 46) circularly arranged and any number may be located on the base, so they may be engaged by a single switching lever (H). It is the form usually adopted for rheostats.

Reversing Switch.—A reversing switch is shown in Fig. 47. The base has two plates (A, B) at one end, to which the parallel switch bars (C, D) are hinged. The other end of the base has three contact plates (E, F, G) to engage thep. 68 swinging switch bars, these latter being at such distance apart that they will engage with the middle and one of the outer plates. The inlet wires, positive and negative, are attached to the plates (A, B, respectively), and one of the outlet wires (H) is attached to the middle contact plate (F), while the other wire is connected up with both of the outside plates. When the switch bars (C, D) are thrown to the left so as to be in contact with E, F, the outside plate (E) and the middle plate (F) will be positive and negative, respectively; but when the switch is thrown to the right, as shown in the figure, plate F becomes positive and plate E negative, as shown.

Fig. 46. Rheostat Form of Switch Fig. 46. Rheostat Form of Switch

Push Buttons.—A push button is but a modified structure of a switch, and they are serviceablep. 69 because they are operating, or the circuit is formed only while the finger is on the button.

Fig. 47. Reversing Switch Fig. 47. Reversing Switch

In its simplest form (Fig. 48) the push button has merely a circular base (A) of insulating material, and near one margin, on the flat side, is a rectangular plate (B), intended to serve as a contact plate as well as a means for attaching one of the wires thereto. In line with this plate is a spring finger (C), bent upwardly so that it is normally out of contact with the plate (B), its end being held by a binding screw (D). To effect contact, the spring end of the finger (C) is pressed against the bar (B), as at E. This is enclosed in a suitable casing, such as will readily suggest itself to the novice.

Electric Bell.—One of the first things the boyp. 70 wants to make, and one which is also an interesting piece of work, is an electric bell.

To make this he will be brought, experimentally, in touch with several important features in electrical work. He must make a battery for the production of current, a pair of electro-magnets to be acted upon by the current, a switch to control it, and, finally, he must learn how to connect it up so that it may be operated not only from one, but from two or more push buttons.

Fig. 48. Push Button Fig. 48. Push Button

How Made.—In Fig. 49 is shown an electric bell, as usually constructed, so modified as to show the structure at a glance, with its connections. A is the base, B, B' the binding posts for the wires, C, C the electro-magnets, C' the bracket for holding the magnets, D the armature, E the thin spring which connects the armature with the post F, G the clapper arm, H the bell, I the adjusting screw on the post J, K the wire lead from thep. 71 binding post B to the first magnet, L the wire which connects the two magnets, M the wire which runs from the second magnet to the post J, and N a wire leading from the armature post to the binding post B'.

Fig. 49. Electric Bell Fig. 49. Electric Bell

The principle of the electric bell is this: In looking at Fig. 49, you will note that the armature bar D is held against the end of the adjustingp. 72 screw by the small spring E. When a current is turned on, it passes through the connections and conduits as follows: Wire K to the magnets, wire M to the binding post J, and set screw I, then through the armature to the post F, and from post F to the binding post B'.

Fig. 50. Armature of Electric Bell Fig. 50. Armature of Electric Bell

Electric Bell—How Operated.—The moment a current passes through the magnets (C, C), the core is magnetized, and the result is that the armature (D) is attracted to the magnets, as shown by the dotted lines (O), when the clapper strikes the bell. But when the armature moves over to the magnet, the connection is broken between the screw (I) and armature (D), so that the cores of the magnets are demagnetized and lose their pull, and the spring (E) succeeds in drawingp. 73 back the armature. This operation of vibrating the armature is repeated with great rapidity, alternately breaking and re-establishing the circuit, by the action of the current.

In making the bell, you must observe one thing, the binding posts (B, B') must be insulated from each other, and the post J, or the post F, should also be insulated from the base. For convenience we show the post F insulated, so as to necessitate the use of wire (N) from post (F) to binding post (B').

The foregoing assumes that you have used a cast metal base, as most bells are now made; but if you use a wooden base, the binding posts (B, B') and the posts (F, J) are insulated from each other, and the construction is much simplified.

It is better, in practice, to have a small spring (P, Fig. 50) between the armature (D) and the end of the adjusting screw (I), so as to give a return impetus to the clapper. The object of the adjusting screw is to push and hold the armature close up to the ends of the magnets, if it seems necessary.

If two bells are placed on the base with the clapper mounted between them, both bells will be struck by the swinging motion of the armature.

An easily removable cap or cover is usuallyp. 74 placed over the coils and armature, to keep out dust.

A very simple annunciator may be attached to the bell, as shown in the following figures:

Figs. 51-54. Annunciator Figs. 51-54. Annunciator

Annunciators.—Make a box of wood, with a base (A) 4" × 5" and ½ inch thick. On this you can permanently mount the two side pieces (B) and two top and bottom pieces (C), respectively,p. 75 so they project outwardly 4½ inches from the base. On the open front place a wood or metal plate (D), provided with a square opening (D), as in Fig. 54, near its lower end. This plate is held to the box by screws (E).

Within is a magnet (F), screwed into the base (A), as shown in Fig. 51; and pivoted to the bottom of the box is a vertical armature (G), which extends upwardly and contacts with the core of the magnet. The upper end of the armature has a shoulder (H), which is in such position that it serves as a rest for a V-shaped stirrup (I), which is hinged at J to the base (C). This stirrup carries the number plate (K), and when it is raised to its highest point it is held on the shoulder (H), unless the electro-magnet draws the armature out of range of the stirrup. A spring (L) bearing against the inner side of the armature keeps its upper end normally away from the magnet core. When the magnet draws the armature inwardly, the number plate drops and exposes the numeral through the opening in the front of the box. In order to return the number plate to its original position, as shown in Fig. 51, a vertical trigger (M) passes up through the bottom, its upper end being within range of one of the limbs of the stirrup.

This is easily made by the ingenious boy, andp. 76 will be quite an acquisition to his stock of instruments. In practice, the annunciator may be located in any convenient place and wires run to that point.

Fig. 55. Alarm Switch on Window Fig. 55. Alarm Switch on Window
Fig. 56. Burglar Alarm Attachment to Window Fig. 56. Burglar Alarm Attachment to Window

Burglar Alarm.—In order to make a burglar alarm connection with a bell, push buttons or switches may be put in circuit to connect with thep. 77 windows and doors, and by means of the annunciators you may locate the door or window which has been opened. The simplest form of switch for a window is shown in the following figures:

The base piece (A), which may be of hard rubber or fiber, is ¼ inch thick and 1" × 1½" in size.

Fig. 57. Burglar Alarm Contact Fig. 57. Burglar Alarm Contact

At one end is a brass plate (B), with a hole for a wood screw (C), this screw being designed to pass through the plate and also into the window-frame, so as to serve as a means of attaching one of the wires thereto. The inner end of the plate has a hole for a round-headed screw (C') that also goes through the base and into the window-frame. It also passes through the lower end of the heart-shaped metal switch-piece (D)

p. 78

The upper end of the base has a brass plate (E), also secured to the base and window by a screw (F) at its upper end. The heart-shaped switch is of such length and width at its upper end that when it is swung to the right with one of the lobes projecting past the edge of the window-frame, the other lobe will be out of contact with the plate (E).

Fig. 58. Neutral Position of Contact Fig. 58. Neutral Position of Contact

The window sash (G) has a removable pin (H), which, when the sash moves upwardly, is in the path of the lobe of the heart-shaped switch, as shown in Fig. 56, and in this manner the pin (H) moves the upper end of the switch (D) inwardly, so that the other lobe contacts with the plate (E), and establishes an electric circuit, as shown in Fig. 57. During the daytime the pin (H) may be removed, and in order to protect the switchp. 79 the heart-shaped piece (D) is swung inwardly, as shown in Fig. 58, so that neither of the lobes is in contact with the plate (E).

Wire Circuiting.—For the purpose of understanding fully the circuiting, diagrams will be shown of the simple electric bell with two push buttons; next in order, the circuiting with an annunciator and then the circuiting necessary for a series of windows and doors, with annunciator attachments.

Fig. 59. Circuiting for Electric Bell Fig. 59. Circuiting for Electric Bell

Circuiting System with a Bell and Two Push Buttons.—Fig. 59 shows a simple circuiting system which has two push buttons, although any number may be used, so that the bell will ring when the circuit is closed by either button.

The Push Buttons and the Annunciator Bells.—Fig. 60 shows three push buttons and an annunciator for each button. These three circuitsp. 80 are indicated by A, B and C, so that when either button makes contact, a complete circuit is formed through the corresponding annunciator.

Fig. 60. Annunciators Fig. 60. Annunciators
Fig. 61. Wiring System for a House Fig. 61. Wiring System for a House

Wiring Up a House.—The system of wiring up a house so that all doors and windows will be connected to form a burglar alarm outfit, is shown in Fig. 61. It will be understood that, in practice, the bell is mounted on or at the annunciator, andp. 81 that, for convenience, the annunciator box has also a receptacle for the battery. The circuiting is shown diagramatically, as it is called, so as fully to explain how the lines are run. Two windows and a door are connected up with an annunciator having three drops, or numbers 1, 2, 3. The circuit runs from one pole of the battery to the bell and then to one post of the annunciator. From the other post a wire runs to one terminal of the switch at the door or window. The other switch terminal has a wire running to the other pole of the battery.

A, B, C represent the circuit wires from the terminals of the window and door switches, to the annunciators.

It is entirely immaterial which side of the battery is connected up with the bell.

From the foregoing it will readily be understood how to connect up any ordinary apparatus, remembering that in all cases the magnet must be brought into the electric circuit.


p. 82

CHAPTER VIIIToC

ACCUMULATORS. STORAGE OR SECONDARY BATTERIES

Storing Up Electricity.—In the foregoing chapters we have seen that, originally, electricity was confined in a bottle, called the Leyden jar, from which it was wholly discharged at a single impulse, as soon as it was connected up by external means. Later the primary battery and the dynamo were invented to generate a constant current, and after these came the second form of storing electricity, called the storage or secondary battery, and later still recognized as accumulators.

The Accumulator.—The term accumulator is, strictly speaking, the more nearly correct, as electricity is, in reality, "stored" in an accumulator. But when an accumulator is charged by a current of electricity, a chemical change is gradually produced in the active element of which the accumulator is made. This change or decomposition continues so long as the charging current is on. When the accumulator is disconnected from the charging battery or dynamo, and its terminals are connected up with a lighting system, or with a motor, for instance, a reverse process is setp. 83 up, or the particles re-form themselves into their original compositions, which causes a current to flow in a direction opposite to that of the charging current.

It is immaterial to the purposes of this chapter, as to the charging source, whether it be by batteries or dynamos; the same principles will apply in either case.

Fig. 62. Accumulator Grids Fig. 62. Accumulator Grids

Accumulator Plates.—The elements used for accumulator plates are red lead for the positive plates, and precipitated lead, or the well-known litharge, for the negative plates. Experience has shown that the best way to hold this material is by means of lead grids

p. 84

Fig. 62 shows the typical form of one of these grids. It is made of lead, cast or molded in one piece, usually square, as at A, with a wing or projection (B), at one margin, extending upwardly and provided with a hole (C). The grid is about a quarter of an inch thick.

The Grid.—The open space, called the grid, proper, comprises cross bars, integral with the plate, made in a variety of shapes. Fig. 62 shows three forms of constructing these bars or ribs, the object being to provide a form which will hold in the lead paste, which is pressed in so as to make a solid-looking plate when completed.

The Positive Plate.—The positive plate is made in the following manner: Make a stiff paste of red lead and sulphuric acid; using a solution, say, of one part of acid to two parts of water. The grid is laid on a flat surface and the paste forced into the perforations with a stiff knife or spatula. Turn over the grid so as to get the paste in evenly on both sides.

The grid is then stood on its edge, from 18 to 20 hours, to dry, and afterwards immersed in a concentrated solution of chloride of lime, so as to convert it into lead peroxide. When the action is complete it is thoroughly rinsed in cold water, and is ready to use.

The Negative Plate.—The negative plate isp. 85 filled, in like manner, with precipitated lead. This lead is made by putting a strip of zinc into a standard solution of acetate of lead, and crystals will then form on the zinc. These will be very thin, and will adhere together, firmly, forming a porous mass. This, when saturated and kept under water for a short time, may be put into the openings of the negative plate.

Fig. 63. Assemblage of Accumulator Plates Fig. 63. Assemblage of Accumulator Plates

Connecting Up the Plates.—The next step is to put these plates in position to form a battery. In Fig. 63 is shown a collection of plates connected together

p. 86

For simplicity in illustrating, the cell is made up of glass, porcelain, or hard rubber, with five plates (A), A, A representing the negative and B, B the positive plates. A base of grooved strips (C, C) is placed in the batteries of the cell to receive the lower ends of the plates. The positive plates are held apart by means of a short section of tubing (D), which is clamped and held within the plates by a bolt (E), this bolt also being designed to hold the terminal strip (F).

In like manner, the negative plates are held apart by the two tubular sections (G), each of which is of the same length as the section D of the positives. The bolt (H) holds the negatives together as well as the terminal (I). The terminals should be lead strips, and it would be well, owing to the acid fumes which are formed, to coat all brass work, screws, etc., with paraffine wax.

The electrolyte or acid used in the cell, for working purposes, is a pure sulphuric acid, which should be diluted with about four times its weight in water. Remember, you should always add the strong acid to the water, and never pour the water into the acid, as the latter method causes a dangerous ebullition, and does not produce a good mixture

p. 87

Put enough of this solution into the cell to cover the tops of the plates, and the cell is ready.

Fig. 64. Connecting Up Storage Battery in Series Fig. 64. Connecting Up Storage Battery in Series

Charging the Cells.—The charge of the current must never be less than 2.5 volts. Each cell has an output, in voltage, of about 2 volts, hence if we have, say, 10 cells, we must have at least 25 volts charging capacity. We may arrange these in one line, or in series, as it is called, so far as the connections are concerned, and charge them with a dynamo, or other electrical source, which shows a pressure of 25 volts, as illustrated in Fig. 64, or, instead of this, we may put them into two parallel sets of 5 cells each, as shown in Fig. 65, and use 12.5 volts to charge with. In this case it will take double the time because we are charging with only one-half the voltage used in the first case.

The positive pole of the dynamo should be connected with the positive pole of the accumulatorp. 88 cell, and negative with negative. When this has been done run up the machine until it slightly exceeds the voltage of the cells. Thus, if we have 50 cells in parallel, like in Fig. 64, at least 125 volts will be required, and the excess necessary should bring up the voltage in the dynamo to 135 or 140 volts.

Fig. 65. Parallel Series Fig. 65. Parallel Series
Fig. 66. Charging Circuit Fig. 66. Charging Circuit

The Initial Charge.—It is usual initially to charge the battery from periods ranging from 36 to 40 hours, and to let it stand for 12 or 15 hours, after which to re-charge, until the positive plates have turned to a chocolate color, and the negativep. 89 plates to a slate or gray color, and both plates give off large bubbles of gas.

In charging, the temperature of the electrolyte should not exceed 100° Fahrenheit.

When using the accumulators they should never be fully discharged.

The Charging Circuit.—The diagram (Fig. 66) shows how a charging circuit is formed. The lamps are connected up in parallel, as illustrated. Each 16-candle-power 105-volt lamp will carry ½ ampere, so that, supposing we have a dynamo which gives 110 volts, and we want to charge a 4-volt accumulator, there will be 5-volt surplus to go to the accumulator. If, for instance, you want the cell to have a charge of 2 amperes, four of these lamps should be connected up in parallel. If 3 amperes are required, use 6 lamps, and so on.


p. 90

CHAPTER IXToC

THE TELEGRAPH

The telegraph is a very simple instrument. The key is nothing more or less than a switch which turns the current on and off alternately.

The signals sent over the wires are simply the audible sounds made by the armature, as it moves to and from the magnets.

Mechanism in Telegraph Circuits.—A telegraph circuit requires three pieces of mechanism at each station, namely, a key used by the sender, a sounder for the receiver, and a battery.

The Sending Key.—The base of the sending instrument is six inches long, four inches wide, and three-quarters of an inch thick, made of wood, or any suitable non-conducting material. The key (A) is a piece of brass three-eighths by one-half inch in thickness and six inches long. Midway between its ends is a cross hole, to receive the pivot pin (B), which also passes through a pair of metal brackets (C, D), the bracket C having a screw to hold one of the line wires, and the other bracket having a metal switch (E) hinged thereto. This switch bar, like the brackets, is made ofp. 91 brass, one-half inch wide by one-sixteenth of an inch thick.

Below the forward end of the key (A) is a cross bar of brass (F), screwed to the base by a screw at one end, to receive the other line wire. Directly below the key (A) is a screw (G), so that the key will strike it when moved downwardly. The other end of the bar (F) contacts with the forward end of the switch bar (E) when the latter is moved inwardly.

Fig. 67. Telegraph Sending Key Fig. 67. Telegraph Sending Key

The forward end of the key (A) has a knob (H) for the fingers, and the rear end has an elastic (I) attached thereto which is secured to the end of the base, so that, normally, the rear end is held against the base and away from the screw head (G). The head (J) of a screw projects from the base at its rear end. Key A contacts with it.

When the key A contacts with the screw headsp. 92 G, J, a click is produced, one when the key is pressed down and the other when the key is released.

You will notice that the two plates C, F are connected up in circuit with the battery, so that, as the switch E is thrown, so as to be out of contact, the circuit is open, and may be closed either by the key A or the switch E. The use of the switch will be illustrated in connection with the sounder.

Fig. 68. Telegraph Sounder Fig. 68. Telegraph Sounder

When the key A is depressed, the circuit of course goes through plate C, key A and plate F to the station signalled.

The Sounder.—The sounder is the instrument which carries the electro-magnet.

In Fig. 68 this is shown in perspective. The base is six inches long and four inches wide, beingp. 93 made, preferably, of wood. Near the forward end is mounted a pair of electro-magnets (A, A), with their terminal wires connected up with plates B, B', to which the line wires are attached.

Midway between the magnets and the rear end of the base is a pair of upwardly projecting brackets (C). Between these are pivoted a bar (D), the forward end of which rests between the magnets and carries, thereon, a cross bar (E) which is directly above the magnets, and serves as the armature.

The rear end of the base has a screw (F) directly beneath the bar D of such height that when the rear end of the bar D is in contact therewith the armature E will be out of contact with the magnet cores (A, A). A spiral spring (G) secured to the rear ends of the arm and to the base, respectively, serves to keep the rear end of the key normally in contact with the screw F.

Connecting Up the Key and Sounder.—Having made these two instruments, we must next connect them up in the circuit, or circuits, formed for them, as there must be a battery, a key, and a sounder at each end of the line.

In Fig. 69 you will note two groups of those instruments. Now observe how the wires connect them together. There are two line wires, one (A) which connects up the two batteries, the wirep. 94 being attached so that one end connects with the positive terminal of the battery, and the other end with the negative terminal.

Fig. 69. A Telegraph Circuit Fig. 69. A Telegraph Circuit

The other line wire (B), between the two stations, has its opposite ends connected with the terminals of the electro-magnet C of the sounders. The other terminals of each electro-magnet are connected up with one terminal of each key by a wire (D), and to complete the circuit at each station, the other terminal of the key has a wire (E) to its own battery.

Two Stations in Circuit.—The illustration shows station 2 telegraphing to station 1. This is indicated by the fact that the switch F' of that instrument is open, and the switch F of station 1 closed. When, therefore, the key of station 2 is depressed, a complete circuit is formedp. 95 which transmits the current through wire E' and battery, through line A, then through the battery of station 1, through wire E to the key, and from the key, through wire D, to the sounder, and finally from the sounder over line wire B back to the sounder of station 2, completing the circuit at the key through wire D'.

When the operator at station 2 closes the switch F', and the operator at station 1 opens the switch F, the reverse operation takes place. In both cases, however, the sounder is in at both ends of the line, and only the circuit through the key is cut out by the switch F, or F'.

The Double Click.—The importance of the double click of the sounder will be understood when it is realized that the receiving operator must have some means of determining if the sounder has transmitted a dot or a dash. Whether he depresses the key for a dot or a dash, there must be one click when the key is pressed down on the screw head G (Fig. 62), and also another click, of a different kind, when the key is raised up so that its rear end strikes the screw head J. This action of the key is instantly duplicated by the bar D (Fig. 68) of the sounder, so that the sounder as well as the receiver knows the time between the first and the second click, and by that means he learns that a dot or a dash is made

p. 96

Illustrating the Dot and the Dash.—To illustrate: Let us suppose, for convenience, that the downward movement of the lever in the key, and the bar in the sounder, make a sharp click, and the return of the lever and bar make a dull click. In this case the ear, after a little practice, can learn readily how to distinguish the number of downward impulses that have been given to the key.

The Morse Telegraph Code

Morse Code Table: A-Z, 0-9, &

Example in Use.—Let us take an example in the word "electrical."

E L E C T R I C A L

p. 97

The operator first makes a dot, which means a sharp and a dull click close together; there is then a brief interval, then a lapse, after which there is a sharp click, followed, after a comparatively longer interval, with the dull click. Now a dash by itself may be an L, a T, or the figure 0, dependent upon its length. The short dash is T, and the longest dash the figure 0. The operator will soon learn whether it is either of these or the letter L, which is intermediate in length.

In time the sender as well as receiver will give a uniform length to the dash impulse, so that it may be readily distinguished. In the same way, we find that R, which is indicated by a dot, is followed, after a short interval, by two dots. This might readily be mistaken for the single dot for E and the two dots for I, were it not that the time element in R is not as long between the first and second dots, as it ordinarily is between the single dot of E when followed by the two dots of I.


p. 98

CHAPTER XToC

HIGH TENSION APPARATUS, CONDENSERS, ETC.

Induction.—One of the most remarkable things in electricity is the action of induction—that property of an electric current which enables it to pass from one conductor to another conductor through the air. Another singular and interesting thing is that the current so transmitted across spaces changes its direction of flow, and, furthermore, the tension of such a current may be changed by transmitting it from one conductor to another.

Low and High Tension.—In order to effect this latter change—that is, to convert it from a low tension to a high tension—coils are used, one coil being wound upon the other; one of these coils is called the primary and the other the secondary. The primary coil receives the current from the battery, or source of electrical power, and the secondary coil receives charges, and transmits the current.

For an illustration of this examine Fig. 70, in which you will note a coil of heavy wire (A), around which is wound a coil of fine wire (B). If, for instance, the primary coil has a low voltage,p. 99 the secondary coil will have a high voltage, or tension. Advantage is taken of this phase to use a few cells, as a primary battery, and then, by a set of Induction Coils, as they are called, to build up a high-tension electro-motive force, so that the spark will jump across a gap, as shown at C, for the purpose of igniting the charges of gas in a gasoline motor; or the current may be used for medical batteries, and for other purposes.

Fig. 70. Induction Coil and Circuit Fig. 70. Induction Coil and Circuit

The current passes, by induction, from the primary to the secondary coil. It passes from a large conductor to a small conductor, the small conductor having a much greater resistance than the large one.

Elastic Property of Electricity.—While electricity has no resiliency, like a spring, for instance, still it acts in the manner of a cushion under certain conditions. It may be likened to an oscillating spring acted upon by a bar

p. 100

Referring to Fig. 71, we will assume that the bar A in falling down upon the spring B compresses the latter, so that at the time of greatest compression the bar goes down as far as the dotted line C. It is obvious that the spring B will throw the bar upwardly. Now, electricity appears to have a kind of elasticity, which characteristic is taken advantage of in order to increase the efficiency of the induction in the coil.

Fig. 71. Illustrating Elasticity Fig. 71. Illustrating Elasticity

The Condenser.—To make a condenser, prepare two pine boards like A, say, eight by ten inches and a half inch thick, and shellac thoroughly on all sides. Then prepare sheets of tinfoil (B), six by eight inches in size, and also sheets of paraffined paper (C), seven by nine inches in dimensions. Also cut out from the waste pieces of tinfoil strips (D), one inch by two inches. To build up the condenser, lay down a sheet of paraffined paper (C), then a sheet of tinfoil (B),p. 101 and before putting on the next sheet of paraffined paper lay down one of the small strips (D) of tinfoil, as shown in the illustration, so that its end projects over one end of the board A; then on the second sheet of paraffine paper lay another sheet of tinfoil, and on this, at the opposite end, place one of the small strips (D), and so on, using from 50 to 100 of the tinfoil sheets. When the last paraffine sheet is laid on, the other board is placed on top, and the whole bound together, either by wrapping cords around the same or by clamping them together with bolts.

Fig. 72. Condenser Fig. 72. Condenser

You may now make a hole through the projecting ends of the strips, and you will have two sets of tinfoil sheets, alternately connected together at opposite ends of the condenser.

Care should be exercised to leave the paraffine sheets perfect or without holes. You can makep. 102 these sheets yourself by soaking them in melted paraffine wax.

Connecting Up a Condenser.—When completed, one end of the condenser is connected up with one terminal of the secondary coil, and the other end of the condenser with the other secondary terminal.

Fig. 73. High-tension Circuit Fig. 73. High-tension Circuit

In Fig. 73 a high-tension circuit is shown. Two coils, side by side, are always used to show an induction coil, and a condenser is generally shown, as illustrated, by means of a pair of forks, one resting within the other.

The Interrupter.—One other piece of mechanism is necessary, and that is an Interrupter, for the purpose of getting the effect of the pulsations given out by the secondary coil.

A simple current interrupter is made as follows: Prepare a wooden base (A), one inch thick, six inches wide, and twelve inches long. Upon this mount a toothed wheel (B), six inchesp. 103 in diameter, of thin sheet metal, or a brass gear wheel will answer the purpose. The standard (C), which supports the wheel, may be of metal bent up to form two posts, between which the crankshaft (D) is journaled. The base of the posts has an extension plate (E), with a binding post for a wire. At the front end of the base is an L-shaped strip (F), with a binding post for a wire connection, and the upwardly projecting part of the strip contacts with the toothed wheel. When the wheel B is rotated the spring finger (F) snaps from one tooth to the next, so that, momentarily, the current is broken, and the frequency is dependent upon the speed imparted to the wheel.

Fig. 74. Current Interrupter Fig. 74. Current Interrupter

Uses of High-tension Coils.—This high-tension coil is made use of, and is the essential apparatus in wireless telegraphy, as we shall see in the chapter treating upon that subject.


p. 104

CHAPTER XIToC

WIRELESS TELEGRAPHY

Telegraphing Without Wires.—Wireless telegraphy is an outgrowth of the ordinary telegraph system. When Maxwell, and, later on, Hertz, discovered that electricity, magnetism, and light were transmitted through the ether, and that they differed only in their wave lengths, they laid the foundations for wireless telegraphy. Ether is a substance which is millions and millions of times lighter than air, and it pervades all space. It is so unstable that it is constantly in motion, and this phase led some one to suggest that if a proper electrical apparatus could be made, the ether would thereby be disturbed sufficiently so that its impulses would extend out a distance proportioned to the intensity of the electrical agitation thereby created.

Surging Character of High-tension Currents.—When a current of electricity is sent through a wire, hundreds of miles in length, the current surges back and forth on the wire many thousands of times a second. Light comes to us from the sun, over 90,000,000 of miles, through the ether. It is as reasonable to suppose, or infer,p. 105 that the ether can, therefore, convey an electrical impulse as readily as does a wire.

It is on this principle that impulses are sent for thousands of miles, and no doubt they extend even farther, if the proper mechanism could be devised to detect movement of the waves so propagated.

The Coherer.—The instrument for detecting these impulses, or disturbances, in the ether is generally called a coherer, although detector is the term which is most satisfactory. The name coherer comes from the first practical instrument made for this purpose.

Fig. 75. Wireless Telegraphy Coherer Fig. 75. Wireless Telegraphy Coherer

How Made.—The coherer is simply a tube, say, of glass, within which is placed iron filings. When the oscillations surge through the secondary coil the pressure or potentiality of the current finally causes it to leap across the small space separating the filings and, as it were, it welds together their edges so that a current freely passes. Thep. 106 bringing together of the particles, under these conditions, is called cohering.

Fig. 75 shows the simplest form of coherer. The posts (A) are firmly affixed to the base (B), each post having an adjusting screw (C) in its upper end, and these screw downwardly against and serve to bind a pair of horizontal rods (D), the inner ends of which closely approach each other. These may be adjusted so as to be as near together or as far apart as desired. E is a glass tube in which the ends of the rods (D) rest, and between the separated ends of the rods (D) the iron filings (F) are placed.

The Decoherers.—For the purpose of causing the metal filings to fall apart, or decohere, the tube is tapped lightly, and this is done by a little object like the clapper of an electric bell.

In practice, the coils and the parts directly connected with it are put together on one base.

The Sending Apparatus.—Fig. 76 shows a section of a coil with its connection in the sending station. The spark gap rods (A) may be swung so as to bring them closer together or farther apart, but they must not at any time contact with each other.

The induction coil has one terminal of the primary coil connected up by a wire (B) with one post of a telegraph key, and the other post ofp. 107 the key has a wire connection (C), with one side of a storage battery. The other side of the battery has a wire (D) running to the other terminal of the primary.

Fig. 76. Wireless Sending Apparatus Fig. 76. Wireless Sending Apparatus

The secondary coil has one of its terminals connected with a binding post (E). This binding post has an adjustable rod with a knob (F) on its end, and the other binding post (G), which is connected up with the other terminal of thep. 108 secondary coil, carries a similar adjusting rod with a knob (H).

From the post (E) is a wire (I), which extends upwardly, and is called the aerial wire, or wire for the antennæ, and this wire also connects with one side of the condenser by a conductor (J). The ground wire (K) connects with the other binding post (G), and a branch wire (L) also connects the ground wire (K) with one end of the condenser.

Fig. 77. Wireless Receiving Apparatus Fig. 77. Wireless Receiving Apparatus

The Receiving Apparatus.—The receiving station, on the other hand, has neither condenser, induction coil, nor key. When the apparatus is in operation, the coherer switch is closed, and the instant a current passes through the coherer and operates the telegraph sounder, the galvanometer indicates the current.

Of course, when the coherer switch is closed, the battery operates the decoherer

p. 109

How the Circuits are Formed.—By referring again to Fig. 76, it will be seen that when the key is depressed, a circuit is formed from the battery through wire B to the primary coil, and back again to the battery through wire D. The secondary coil is thereby energized, and, when the full potential is reached, the current leaps across the gap formed between the two knobs (F, H), thereby setting up a disturbance in the ether which is transmitted through space in all directions.

It is this impulse, or disturbance, which is received by the coherer at the receiving station, and which is indicated by the telegraph sounder.


p. 110

CHAPTER XIIToC

THE TELEPHONE

Vibrations.—Every manifestation in nature is by way of vibration. The beating of the heart, the action of the legs in walking, the winking of the eyelid; the impulses from the sun, which we call light; sound, taste and color appeal to our senses by vibratory means, and, as we have hereinbefore stated, the manifestations of electricity and magnetism are merely vibrations of different wave lengths.

The Acoustic Telephone.—That sound is merely a product of vibrations may be proven in many ways. One of the earliest forms of telephones was simply a "sound" telephone, called the Acoustic Telephone. The principle of this may be illustrated as follows:

Take two cups (A, B), as in Fig. 78, punch a small hole through the bottom of each, and run a string or wire (C) from the hole of one cup to that of the other, and secure it at both ends so it may be drawn taut. Now, by talking into the cup (A) the bottom of it will vibrate to and fro, as shown by the dotted lines and thereby cause the bottom of the other cup (B) to vibratep. 111 in like manner, and in so vibrating it will receive not only the same amplitude, but also the same character of vibrations as the cup (A) gave forth.

Fig. 78. Acoustic Telephone Fig. 78. Acoustic Telephone
Fig. 79. Illustrating Vibrations Fig. 79. Illustrating Vibrations

Sound Waves.—Sound waves are long and short; the long waves giving sounds which are low in the musical scale, and the short waves high musical tones. You may easily determine this by the following experiment:

Stretch a wire, as at B (Fig. 79), fairly tight, and then vibrate it. The amplitude of the vibration will be as indicated by dotted line A. Now, stretch it very tight, as at C, so that the amplitude of vibration will be as shown at E. By putting your ear close to the string you will find that while A has a low pitch, C is very much higher. Thisp. 112 is the principle on which stringed instruments are built. You will note that the wave length, which represents the distance between the dotted lines A is much greater than E.

Hearing Electricity.—In electricity, mechanism has been made to enable man to note the action of the current. By means of the armature, vibrating in front of a magnet, we can see its manifestations. It is now but a step to devise some means whereby we may hear it. In this, as in everything else electrically, the magnet comes into play.

Fig. 80 .The Magnetic Field Fig. 80. The Magnetic Field

In the chapter on magnetism, it was stated that the magnetic field extended out beyond the magnet, so that if we were able to see the magnetism, the end of a magnet would appear to us something like a moving field, represented by the dotted lines in Fig. 80.

The magnetic field is shown in Fig. 80 at onlyp. 113 one end, but its manifestations are alike at both ends. It will be seen that the magnetic field extends out to a considerable distance and has quite a radius of influence.

The Diaphragm in a Magnetic Field.—If, now, we put a diaphragm (A) in this magnetic field, close up to the end of the magnet, but not so close as to touch it, and then push it in and out, or talk into it so that the sound waves strike it, the movement or the vibration of the diaphragm (A) will disturb the magnetic field emanating from the magnet, and this disturbance of the magnetic field at one end of the magnet also affects the magnetic field at the other end in the same way, so that the disturbance there will be of the same amplitude. It will also display the same characteristics as did the magnetic field when the diaphragm (A) disturbed it.

A Simple Telephone Circuit.—From this simple fact grew the telephone. If two magnets are connected up in the same circuit, so that the magnetic fields of the two magnets have the same source of electric power, the disturbance of one diaphragm will affect the other similarly, just the same as the two magnetic fields of the single magnet are disturbed in unison.

How to Make a Telephone.—For experimental and testing purposes two of these telephonesp. 114 should be made at the same time. The case or holder (A) may be made either of hard wood or hard rubber, so that it is of insulating material. The core (B) is of soft iron, ⅜ inch in diameter and 5 inches long, bored and threaded at one end to receive a screw (C) which passes through the end of the case (A).

The enlarged end of the case should be, exteriorly, 2¼ inches in diameter, and the body of the case 1 inch in diameter.

Fig. 81. Section of Telephone Receiver Fig. 81. Section of Telephone Receiver

Interiorly, the large end of the case is provided with a circular recess 1¾ inches in diameter and adapted to receive therein a spool which is, diametrically, a little smaller than the recess. The spool fits fairly tight upon the end of the core, and when in position rests against an annular shoulder in the recess. A hollow space (F) is thus provided behind the spool (D), so the two wiresp. 115 from the magnet may have room where they emerge from the spool.

The spool is a little shorter than the distance between the shoulder (E) and the end of the casing, at G, and the core projects only a short distance beyond the end of the spool, so that when the diaphragm (H) is put upon the end of the case, and held there by screws (I) it will not touch the end of the core. A wooden or rubber mouthpiece (J) is then turned up to fit over the end of the case.

Fig. 82. The Magnet and Receiver Head Fig. 82. The Magnet and Receiver Head

The spool (D) is made of hard rubber, and is wound with No. 24 silk-covered wire, the windings to be well insulated from each other. The two ends of the wire are brought out, and threaded through holes (K) drilled longitudinally through the walls of the case, and affixed to the end by means of screws (L), so that the two wires may be brought together and connected with a duplex wire (M)

p. 116

As the screw (C), which holds the core in place, has its head hidden within a recess, which can be closed up by wax, the two terminals of the wires are well separated so that short-circuiting cannot take place.

Telephone Connections.—The simplest form of telephone connection is shown in Fig. 83. This has merely the two telephones (A and B), with a single battery (C) to supply electricity for both. One line wire (D) connects the two telephones directly, while the other line (E) has the battery in its circuit.

Fig. 83. Simple Telephone Connection Fig. 83. Simple Telephone Connection

Complete Installation.—To install a more complete system requires, at each end, a switch, a battery and an electro-magneto bell. You may use, for this purpose, a bell, made as shown in the chapter on bells.

Fig. 84 shows such a circuit. We now dispense with one of the line wires, because it has been found that the ground between the two stations serves as a conductor, so that only one line wire (A) is necessary to connect directly with the telephonesp. 117 of the two stations. The telephones (B, B', respectively) have wires (C, C') running to the pivots of double-throw switches (D, D'), one terminal of the switches having wires (E, E'), which go to electric bells (F, F'), and from the bells are other wires (G, G'), which go to the ground. The ground wires also have wires (H, H'), which go to the other terminals of the switch (D, D'). The double-throw switch (D, D'), in the two stations, is thrown over so the current, if any should pass through, will go through the bell to the ground, through the wires (E, G or E', G').

Fig. 84. Telephone Stations in Circuit Fig. 84. Telephone Stations in Circuit

Now, supposing the switch (D'), in station 2, should be thrown over so it contacts with the wire (H'). It is obvious that the current will then flow from the battery (I') through wires (H', C') and line (A) to station 1; then through wire C, switch D, wire E to the bell F, to the ground through wire G. From wire G the current returns through the ground to station 2,p. 118 where it flows up wire G' to the battery, thereby completing the circuit.

Fig. 85. Illustrating Light Contact Points Fig. 85. Illustrating Light Contact Points

The operator at station 2, having given the signal, again throws his switch (D') back to the position shown in Fig. 84, and the operator at station 1 throws on his switch (D), so as to ring the bell in station 2, thereby answering the signal, which means that both switches are again to be thrown over so they contact with the battery wires (H and H'), respectively. When both are thus thrown over, the bells (G, G') are cut out of the circuit, and the batteries are both thrown in, so that the telephones are now ready for talking purposes.

Microphone.—Originally this form of telephone system was generally employed, but it was found that for long distances a more sensitive instrument was necessary.

Light Contact Points.—In 1877 Professor Hughes discovered, accidentally, that a light contact point in an electric circuit augmented the sound in a telephone circuit. If, for instance, ap. 119 light pin, or a nail (A, Fig. 85) should be used to connect the severed ends of a wire (B), the sounds in the telephone not only would be louder, but they would be more distinct, and the first instrument made practically, to demonstrate this, is shown in Fig. 86.

Fig. 86. Microphone Fig. 87. Transmitter
Fig. 86. Microphone Fig. 87. Transmitter

How to Make a Microphone.—This instrument has simply a base (A) of wood, and near one end is a perpendicular sounding-board (B) of wood, to one side of which is attached, by wax or otherwise, a pair of carbon blocks (C, D). The lower carbon block (C) has a cup-shaped depression in its upper side, and the upper block has a similar depression in its lower side. A carbon pencil (E) is lightly held within these cups, so that the lightest contact of the upper end of the pencilp. 120 with the carbon block, makes the instrument so sensitive that a fly, walking upon the sounding-board, may be distinctly heard through the telephone which is in the circuit.

Microphone the Father of the Transmitter.—This instrument has been greatly modified, and is now used as a transmitter, the latter thereby taking the place of the pin (A), shown in Fig. 85.

Automatic Cut-outs for Telephones.—In the operation of the telephone, the great drawback originally was in inducing users of the lines to replace or adjust their instruments carefully. When switches were used, they would forget to throw them back, and all sorts of trouble resulted.

It was found necessary to provide an automatic means for throwing in and cutting out an instrument, this being done by hanging the telephone on the hook, so that the act merely of leaving the telephone made it necessary, in replacing the instrument, to cut out the apparatus.

Before describing the circuiting required for these improvements, we show, in Fig. 87, a section of a transmitter.

A cup-shaped case (A) is provided, made of some insulating material, which has a diaphragm (B) secured at its open side. This diaphragm carries the carbon pencil (C) on one side and from the blocks which support the carbon pencilp. 121 the wires run to binding posts on the case. Of course the carbon supporting posts must be insulated from each other, so the current will go through the carbon pencil (C).

Complete Circuiting with Transmitter.—In showing the circuiting (Fig. 88) it will not be possible to illustrate the boxes, or casings, which receive the various instruments. For instance, the hook which carries the telephone or the receiver, is hinged within the transmitter box. The circuiting is all that it is intended to show.

Fig. 88. Complete Telephonic Circuit Fig. 88. Complete Telephonic Circuit

The batteries of the two stations are connected up by a wire (A), unless a ground circuit is used. The other side of each battery has a wire connection (B, B') with one terminal of the transmitter, and the other terminal of the transmitter has a wire (C, C') which goes to the receiver. From the other terminal of the receiver is a wire (D, D') which leads to the upper stop contact (E, E') ofp. 122 the telephone hook. A wire (F, F') from the lower stop contact (G, G') of the hook goes to one terminal of the bell, and from the other terminal of the bell is a wire (H, H') which makes connection with the line wire (A). In order to make a complete circuit between the two stations, a line wire (I) is run from the pivot of the hook in station 1 to the pivot of the hook in station 2.

In the diagram, it is assumed that the receivers are on the hooks, and that both hooks are, therefore, in circuit with the lower contacts (G, G'), so that the transmitter and receiver are both out of circuit with the batteries, and the bell in circuit; but the moment the receiver, for instance, in station 1 is taken off the hook, the latter springs up so that it contacts with the stop (E), thus establishing a circuit through the line wire (I) to the hook of station 2, and from the hook through line (F') to the bell. From the bell, the line (A) carries the current back to the battery of station (A), thence through the wire (B) to the transmitter wire (C) to receiver and wire (D) to the post (E), thereby completing the circuit.

When, at station 2, the receiver is taken off the hook, and the latter contacts with the post (E'), the transmitter and receiver of both stations are in circuit with each other, but both bells are cut out.


p. 123

CHAPTER XIIIToC

ELECTROLYSIS, WATER PURIFICATION, ELECTROPLATING

Decomposing Liquids.—During the earlier experiments in the field of electricity, after the battery or cell was discovered, it was noted that when a current was formed in the cell, the electrolyte was charged and gases evolved from it. A similar action takes place when a current of electricity passes through a liquid, with the result that the liquid is decomposed—that is, the liquid is broken up into its original compounds. Thus, water is composed of two parts, by bulk, of hydrogen and of oxygen, so that if two electrodes are placed in water, and a current is sent through the electrodes in either direction, all the water will finally disappear in the form of hydrogen and oxygen gases.

Making Hydrogen and Oxygen.—During this electrical action, the hydrogen is set free at the negative pole and the oxygen at the positive pole. A simple apparatus, which any boy can make, to generate pure oxygen and pure hydrogen, is shown in Fig. 89.

It is constructed of a glass or earthen jar (A), preferably square, to which is fitted a wooden topp. 124 (B), this top being provided with a packing ring (C), so as to make it air-tight. Within is a vertical partition (D), the edges of which, below the cap, fit tightly against the inner walls of the jar. This partition extends down into the jar a sufficient distance so it will terminate below the water level. A pipe is fitted through the top on each side of the partition, and each pipe has a valve. An electrode, of any convenient metal, is secured at its upper end to the top of the cap, on each side of the partition. These electrodes extend down to the bottom of the jar, and an electric wire connects with each of them at the top.

Fig. 89. Device for Making Hydrogen and Oxygen Fig. 89. Device for Making Hydrogen and Oxygen

If a current of electricity is passed through the wires and the electrodes, in the direction shownp. 125 by the darts, hydrogen will form at the negative pole, and oxygen at the positive pole. These gases will escape upwardly, so that they will be trapped in their respective compartments, and may be drawn off by means of the pipes.

Purifying Water.—Advantage is taken of this electrolytic action, to purify water. Oxygen is the most wonderful chemical in nature. It is called the acid-maker of the universe. The name is derived from two words, oxy and gen; one denoting oxydation, and the other that it generates. In other words, it is the generator of oxides. It is the element which, when united with any other element, produces an acid, an alkali or a neutral compound.

Rust.—For instance, iron is largely composed of ferric acid. When oxygen, in a free or gaseous state, comes into contact with iron, it produces ferrous oxide, which is recognized as rust.

Oxygen as a Purifier.—But oxygen is also a purifier. All low forms of animal life, like bacteria or germs in water, succumb to free oxygen. By free oxygen is meant oxygen in the form of gas.

Composition of Water.—Now, water, in which harmful germs live, is one-third oxygen. Nevertheless, the germs thrive in water, because the oxygen is in a compound state, and, therefore, notp. 126 an active agent. But if oxygen, in the form of gas, can be forced through water, it will attack the germs, and destroy them.

Common Air Not a Good Purifier.—Water may be purified, to a certain extent, by forcing common air through it, and the foulest water, if run over rocks, will be purified, in a measure, because air is intermingled with it. But common air is composed of four-fifths nitrogen, and only one-fifth oxygen, and, as nitrogen is the staple article of food for bacteria, the purifying method by air is not effectual.

Pure Oxygen.—When, however, oxygen is generated from water, by means of electrolysis, it is pure; hence is more active and is not tainted by a life-giving substance for germs, such as nitrogen.

The mechanism usually employed for purifying water is shown in Fig. 90.

A Water Purifier.—The case (A, Fig. 90) may be made of metal or of an insulating material. If made of metal it must be insulated within with slate, glass, marble or hard rubber, as shown at B. The case is provided with exterior flanges (C, D), with upper and lower ends, and it is mounted upon a base plate (E) and affixed thereto by bolts. The upper end has a conically-formed cap (F) bolted to the flanges (C), and this has an outlet to which a pipe (G) is attached. Thep. 127 water inlet pipe (H) passes through the lower end of the case (A). The electrodes (I, J) are secured, vertically, within the case, separated from each other equidistant, each alternate electrode being connected up with one wire (K), and the alternate electrodes with a wire (L).

Fig. 90. Electric Water Purifier Fig. 90. Electric Water Purifier

p. 128

When the water passes upwardly, the decomposed or gaseous oxygen percolates through the water and thus attacks the germs and destroys them.

The Use of Hydrogen in Purification.—On the other hand, the hydrogen also plays an important part in purifying the water. This depends upon the material of which the electrodes are made. Aluminum is by far the best material, as it is one of nature's most active purifiers. All clay contains aluminum, in what is known as the sulphate form, and water passing through the clay of the earth thereby becomes purified, because of this element.

Aluminum Electrodes.—When this material is used as the electrodes in water, hydrate of aluminum is formed, or a compound of hydrogen and oxygen with aluminum. The product of decomposition is a flocculent matter which moves upwardly through the water, giving it a milky appearance. This substance is like gelatine, so that it entangles or enmeshes the germ life and prevents it from passing through a filter.

If no filter is used, this flocculent matter, as soon as it has given off the gases, will settle to the bottom and carry with it all decomposed matter, such as germs and other organic matter attackedp. 129 by the oxygen, which has become entangled in the aluminum hydrate.

Electric Hand Purifier.—An interesting and serviceable little purifier may be made by any boy with the simplest tools, by cutting out three pieces of sheet aluminum. Hard rolled is best for the purpose. It is better to have one of the sheets (A), the middle one, thicker than the two outer plates (B).

Fig. 91. Portable Electric Purifier Fig. 91. Portable Electric Purifier

Let each sheet be 1½ inches wide and 5½ inches thick. One-half inch from the upper ends of thep. 130 two outside plates (B, B) bore bolt holes (C), each of these holes being a quarter of an inch from the edge of the plate. The inside plate (A) has two large holes (D) corresponding with the small holes (C) in the outside plates. At the upper end of this plate form a wing (E), ½ inch wide and ½ inch long, provided with a small hole for a bolt. Next cut out two hard-rubber blocks (F), each 1½ inches long, 1 inch wide and ⅜ inch thick, and then bore a hole (G) through each, corresponding with the small holes (C) in the plates (B). The machine is now ready to be assembled. If the inner plate is ⅛ inch thick and the outer plates each 1/16 inch thick, use two small eighth-inchp. 131 bolts 1¼ inches long, and clamp together the three plates with these bolts. One of the bolts may be used to attach thereto one of the electric wires (H), and the other wire (I) is attached by a bolt to the wing (E).

Figs. 92-95. Details of Portable Purifier Figs. 92-95. Details of Portable Purifier

Such a device will answer for a 110-volt circuit, in ordinary water. Now fill a glass nearly full of water, and stand the purifier in the glass. Within a few minutes the action of electrolysis will be apparent by the formation of numerous bubbles on the plates, followed by the decomposition of the organic matter in the water. At first the flocculent decomposed matter will rise to the surface of the water, but before many minutes it will settle to the bottom of the glass and leave clear water above.

Purification and Separation of Metals.—This electrolytic action is utilized in metallurgy for the purpose of producing pure metals, but it is more largely used to separate copper from its base. In order to utilize a current for this purpose, a high ampere flow and low voltage are required. The sheets of copper, containing all of its impurities, are placed within a tank, parallel with a thin copper sheet. The impure sheet is connected with the positive pole of an electroplating dynamo, and the thin sheet of copper is connected with the negative pole. The electrolyte in the tank is ap. 132 solution of sulphate of copper. The action of the current will cause the pure copper in the impure sheet to disintegrate and it is then carried over and deposited upon the thin sheet, this action continuing until the impure sheet is entirely eaten away. All the impurities which were in the sheet fall to the bottom of the tank.

Other metals are treated in the same way, and this treatment has a very wide range of usefulness.

Electroplating.—The next feature to be considered in electrolysis is a most interesting and useful one, because a cheap or inferior metal may be coated by a more expensive metal. Silver and nickel plating are brought about by this action of a current passing through metals, which are immersed in an electrolyte.

Plating Iron with Copper.—We have room in this chapter for only one concrete example of this work, which, with suitable modifications, is an example of the art as practiced commercially. Iron, to a considerable extent, is now being coated with copper to preserve it from rust. To carry out this work, however, an electroplating dynamo, of large amperage, is required, the amperage, of course, depending upon the surface to be treated at one time. The pressure should not exceed 5 volts

p. 133

The iron surface to be treated should first be thoroughly cleansed, and then immediately put into a tank containing a cyanide of copper solution. Two forms of copper solution are used, namely, the cyanide, which is a salt solution of copper, and the sulphate, which is an acid solution of copper. Cyanide is first used because it does not attack the iron, as would be the case if the sulphate solution should first come into contact with the iron.

A sheet of copper, termed the anode, is then placed within the tank, parallel with the surface to be plated, known as the cathode, and so mounted that it may be adjusted to or from the iron surface, or cathode. A direct current of electricity is then caused to flow through the copper plate and into the iron plate or surface, and the plating proceeded with until the iron surface has a thin film of copper deposited thereon. This is a slow process with the cyanide solution, so it is discontinued as soon as possible, after the iron surface has been completely covered with copper. This copper surface is thoroughly cleaned off to remove therefrom the saline or alkaline solution, and it is then immersed within a bath, containing a solution of sulphate of copper. The current is then thrown on and allowed sop. 134 to remain until it has deposited the proper thickness of copper.

Direction of Current.—If a copper and an iron plate are put into a copper solution and connected up in circuit with each other, a primary battery is thereby formed, which will generate electricity. In this case, the iron will be positive and the copper negative, so that the current within such a cell would flow from the iron (in this instance, the anode) to the negative, or cathode.

The action of electroplating reverses this process and causes the current to flow from the copper to the iron (in this instance, the cathode).


p. 135

CHAPTER XIVToC

ELECTRIC HEATING, THERMO ELECTRICITY

Generating Heat in a Wire.—When a current of electricity passes through a conductor, like a wire, more or less heat is developed in the conductor. This heat may be so small that it cannot be measured, but it is, nevertheless, present in a greater or less degree. Conductors offer a resistance to the passage of a current, just the same as water finds a resistance in pipes through which it passes. This resistance is measured in ohms, as explained in a preceding chapter, and it is this resistance which is utilized for electric heating.

Resistance of Substances.—Silver offers less resistance to the passage of a current than any other metal, the next in order is copper, while iron is, comparatively, a poor conductor.

The following is a partial list of metals, showing their relative conductivity:

Silver    1.
Copper    1.04 to 1.09
Gold    1.38 to 1.41
Aluminum    1.64p. 136
Zinc    3.79
Nickel    4.69
Iron    6.56
Tin    8.9
Lead 13.2
German Silver 12.2 to 15

From this table it will be seen that, for instance, iron offers six and a half times the resistance of silver, and that German silver has fifteen times the resistance of silver.

This table is made up of strands of the different metals of the same diameters and lengths, so as to obtain their relative values.

Sizes of Conductors.—Another thing, however, must be understood. If two conductors of the same metal, having different diameters, receive the same current of electricity, the small conductor will offer a greater resistance than the large conductor, hence will generate more heat. This can be offset by increasing the diameter of the conductor. The metal used is, therefore, of importance, on account of the cost involved.

Comparison of Metals.—A conductor of aluminum, say, 10 feet long and of the same weight as copper, has a diameter two and a quarter times greater than copper; but as the resistance of aluminum is 50 per cent. more than that of silver, it will be seen that, weight for weight, copper isp. 137 the cheaper, particularly as aluminum costs fully three times as much as copper.

Fig. 96. Simple Electric Heater Fig. 96. Simple Electric Heater

The table shows that German silver has the highest resistance. Of course, there are other metals, like antimony, platinum and the like, which have still higher resistance. German silver, however, is most commonly used, although there are various alloys of metal made which have high resistance and are cheaper.

The principle of all electric heaters is the same,p. 138 namely, the resistance of a conductor to the passage of a current, and an illustration of a water heater will show the elementary principles in all of these devices.

A Simple Electric Heater.—In Fig. 96 the illustration shows a cup or holder (A) for the wire, made of hard rubber. This may be of such diameter as to fit upon and form the cover for a glass (B). The rubber should be ½ inch thick. Two holes are bored through the rubber cup, and through them are screwed two round-headed screws (C, D), each screw being 1½ inches long, so they will project an inch below the cap. Each screw should have a small hole in its lower end to receive a pin (E) which will prevent the resistance wire from slipping off.

The resistance wire (F) is coiled for a suitable length, dependent upon the current used, one end being fastened by wrapping it around the screw (C). The other end of the wire is then brought upwardly through the interior of the coil and secured in like manner to the other screw (D).

Caution must be used to prevent the different coils or turns from touching each other. When completed, the coil may be immersed in water, the current turned on, and left so until the water is sufficiently heated.

Fig. 97. Side view of resistance device Fig. 97. Resistance Device
Fig. 98. Top view of resistance device Fig. 98. Resistance Device

How to Arrange for Quantity of Currentp. 139 Used.—It is difficult to determine just the proper length the coil should be, or the sizes of the wire, unless you know what kind of current you have. You may, however, rig up your own apparatus for the purpose of making it fit your heater, by preparing a base of wood (A) 8 inches long, 3 inches wide and 1 inch thick. On this mount four electric lamp sockets (B). Then connect the inlet wire (C) by means of short pieces of wire (D) with all the sockets on one side. The outlet wire (E) should then be connected up with the other sides of the sockets by the short wires (F). If, now, we have one 16-candlepower lamp in one of the sockets, there is a half ampere going through the wires (C, F). If there are two lampsp. 140 on the board you will have 1 ampere, and so on. By this means you may readily determine how much current you are using and it will also afford you a means of finding out whether you have too much or too little wire in your coil to do the work.

Fig. 99. Plan View of Electric Iron Fig. 99. Plan View of Electric Iron

An Electric Iron.—An electric iron is made in the same way. The upper side of a flatiron has a circular or oval depression (A) cast therein, and a spool of slate (B) is made so it will fit into the depression and the high resistance wire (C) is wound around this spool, and insulating material, such as asbestos, must be used to pack around it. Centrally, the slate spool has an upwardly projecting circular extension (D) which passes through the cap or cover (E) of the iron. The wires of the resistance coil are then broughtp. 141 through this circular extension and are connected up with the source of electrical supply. Wires are now sold for this purpose, which are adapted to withstand an intense heat.

Fig. 100. Section of Electric Iron Fig. 100. Section of Electric Iron

The foregoing example of the use of the current, through resistance wires, has a very wide application, and any boy, with these examples before him, can readily make these devices.

Thermo Electricity.—It has long been the dream of scientists to convert heat directly into electricity. The present practice is to use a boiler to generate steam, an engine to provide the motion, and a dynamo to convert that motion into electricity. The result is that there is loss in the process of converting the fuel heat into steam; loss to change the steam into motion, and loss top. 142 make electricity out of the motion of the engine. By using water-power there is less actual loss; but water-power is not available everywhere.

Converting Heat Directly Into Electricity.—Heat may be converted directly into electricity without using a boiler, an engine or a dynamo, but it has not been successful from a commercial standpoint. It is interesting, however, to know and understand the subject, and for that reason it is explained herein.

Metals; Electric Positive-Negative.—To understand the principle, it may be stated that all metals are electrically positive-negative to each other. You will remember that it has hereinbefore been stated that if, for instance, iron and copper are put into an acid solution, a current will be created or generated thereby. So with zinc and copper, the usual primary battery elements. In all such cases an electrolyte is used.

Thermo-electricity dispenses with the electrolyte, and nothing is used but the metallic elements and heat. The word thermo means heat. If, now, we can select two strips of different metals, and place them as far apart as possible—that is, in their positive-negative relations with each other, and unite the end of one with one end of other by means of a rivet, and then heat the riveted ends, a current will be generated inp. 143 the strips. If, for instance, we use an iron in conjunction with a copper strip, the current will flow from the copper to the iron, because copper is positive to iron, and iron negative to copper. It is from this that the term positive-negative is taken.

The two metals most available, which are thus farthest apart in the scale of positive-negative relation, are bismuth and antimony.

Fig. 101. Thermo-Electric Couple Fig. 101. Thermo-Electric Couple

In Fig. 101 is shown a thermo-electric couple (A, B) riveted together, with thin outer ends connected by means of a wire (C) to form a circuit. A galvanometer (D) or other current-testing means is placed in this circuit. A lamp is placed below the joined ends.

Thermo-Electric Couples.—Any number of these couples may be put together and joined at each end to a common wire and a fairly large flow of current obtained thereby.

One thing must be observed: A current willp. 144 be generated only so long as there exists a difference in temperature between the inner and the outer ends of the bars (A, B). This may be accomplished by water, or any other cooling means which may suggest itself.


p. 145

CHAPTER XVToC

ALTERNATING CURRENTS, CHOKING COILS, TRANSFORMERS, CONVERTERS AND RECTIFIERS

Direct Current.—When a current of electricity is generated by a cell, it is assumed to move along the wire in one direction, in a steady, continuous flow, and is called a direct current. This direct current is a natural one if generated by a cell.

Alternating Current.—On the other hand, the natural current generated by a dynamo is alternating in its character—that is, it is not a direct, steady flow in one direction, but, instead, it flows for an instant in one direction, then in the other direction, and so on.

A direct-current dynamo such as we have shown in Chapter IV, is much easier to explain, hence it is illustrated to show the third method used in generating an electric current.

It is a difficult matter to explain the principle and operation of alternating current machines, without becoming, in a measure, too technical for the purposes of this book, but it is important to know the fundamentals involved, so that the operation and uses of certain apparatus, like the chokingp. 146 coil, transformers, rectifiers and converters, may be explained.

The Magnetic Field.—It has been stated that when a wire passes through the magnetic field of a magnet, so as to cut the lines of force flowing out from the end of a magnet, the wire will receive a charge of electricity.

Fig. 102. Cutting a Magnetic Field Fig. 102. Cutting a Magnetic Field

To explain this, study Fig. 102, in which is a bar magnet (A). If we take a metal wire (B) and bend it in the form of a loop, as shown, and mount the ends on journal-bearing blocks, the wire may be rotated so that the loop will pass through the magnetic field. When this takes place, the wire receives a charge of electricity, which moves, say, in the direction of the darts, and will make a complete circuit if the ends of the looped wire are joined, as shown by the conductor (D).

Action of the Magnetized Wire.—You will remember, also that we have pointed out how, when a current passes over a wire, it has a magnetic field extending out around it at all points, so that while it is passing through the magnetic field ofp. 147 the magnet (A), it becomes, in a measure, a magnet of its own and tries to set up in business for itself as a generator of electricity. But when the loop leaves the magnetic field, the magnetic or electrical impulse in the wire also leaves it.

The Movement of a Current in a Charged Wire.—Your attention is directed, also, to another statement, heretofore made, namely, that when a current from a charged wire passes by induction to a wire across space, so as to charge it with an electric current, it moves along the charged wire in a direction opposite to that of the current in the charging wire.

Now, the darts show the direction in which the current moves while it is approaching and passing through the magnetic field. But the moment the loop is about to pass out of the magnetic field, the current in the loop surges back in the opposite direction, and when the loop has made a revolution and is again entering the magnetic field, it must again change the direction of flow in the current, and thus produce alternations in the flow thereof.

Let us illustrate this by showing the four positions of the revolving loop. In Fig. 103 the loop (B) is in the middle of the magnetic field, moving upwardly in the direction of the curved dart (A), and while in that position the voltage, or thep. 148 electrical impulse, is the most intense. The current used flows in the direction of the darts (C) or to the left.

In Fig. 104, the loop (A) has gone beyond the influence of the magnetic field, and now the current in the loop tries to return, or reverse itself, as shown by the dart (D). It is a reaction that causes the current to die out, so that when the loop has reached the point farthest from the magnet, as shown in Fig. 105, there is no current in the loop, or, if there is any, it moves faintly in the direction of the dart (E).

Fig. 13-106. Illustrating Alternations Fig. 103-106. Illustrating Alternations

Current Reversing Itself.—When the loop reaches its lowest point (Fig. 106) it again comes within the magnetic field and the current commences to flow back to its original direction, as shown by darts (C)

p. 149

Self-Induction.—This tendency of a current to reverse itself, under the conditions cited, is called self-induction, or inductance, and it would be well to keep this in mind in pursuing the study of alternating currents.

You will see from the foregoing, that the alternations, or the change of direction of the current, depends upon the speed of rotation of the loop past the end of the magnet.

Fig. 107. Form for Increasing Alternations Fig. 107. Form for Increasing Alternations
Fig. 108. Form for Increasing Alternations Fig. 108. Form for Increasing Alternations

Instead, therefore, of using a single loop, we may make four loops (Fig. 107), which at the same speed as we had in the case of the single loop, will give four alternations, instead of one, and still further, to increase the periods of alternation, we may use the four loops and two magnets,p. 150 as in Fig. 108. By having a sufficient number of loops and of magnets, there may be 40, 50, 60, 80, 100 or 120 such alternating periods in each second. Time, therefore, is an element in the operation of alternating currents.

Let us now illustrate the manner of connecting up and building the dynamo, so as to derive the current from it. In Fig. 109, the loop (A) shows, for convenience, a pair of bearings (B). A contact finger (C) rests on each, and to these the circuit wire (D) is attached. Do not confuse these contact fingers with the commutator brushes, shown in the direct-current motor, as they are there merely for the purpose of making contact between the revolving loop (A) and stationary wire (D).

Fig. 109. Connection of Alternating Dynamo Armature Fig. 109. Connection of Alternating Dynamo Armature

Brushes in a Direct-Current Dynamo.—The object of the brushes in the direct-current dynamo, in connection with a commutator, is to convert this inductance of the wire, or this effort to reverse itself into a current which will go in onep. 151 direction all the time, and not in both directions alternately.

To explain this more fully attention is directed to Figs. 110 and 111. Let A represent the armature, with a pair of grooves (B) for the wires. The commutator is made of a split tube, the parts so divided being insulated from each other, and in Fig. 110, the upper one, we shall call and designate the positive (+) and the lower one the negative (-). The armature wire (C) has one end attached to the positive commutator terminal and the other end of this wire is attached to the negative terminal.

Fig. 110. Direct Current Dynamo Fig. 110. Direct Current Dynamo

One brush (D) contacts with the positive terminal of the commutator and the other brushp. 152 (E) with the negative terminal. Let us assume that the current impulse imparted to the wire (C) is in the direction of the dart (F, Fig. 110). The current will then flow through the positive (+) terminal of the commutator to the brush (D), and from the brush (D) through the wire (G) to the brush (E), which contacts with the negative (-) terminal of the commutator. This will continue to be the case, while the wire (C) is passing the magnetic field, and while the brush (D) is in contact with the positive (+) terminal. But when the armature makes a half turn, or when it reaches that point where the brush (D) contacts with the negative (-) terminal, and the brush (E) contacts with the positive (+) terminal, ap. 153 change in the direction of the current through the wire (G) takes place, unless something has happened to change it before it has reached the brushes (D, E).

Fig. 111. Circuit Wires in Direct Current Dynamo Fig. 111. Circuit Wires in Direct Current Dynamo

Now, this change is just exactly what has happened in the wire (C), as we have explained. The current attempts to reverse itself and start out on business of its own, so to speak, with the result that when the brushes (D and E) contact with the negative and positive terminals, respectively, the surging current in the wire (C) is going in the direction of the dart (H)—that is, while, in Fig. 110, the current flows from the wire (C) into the positive terminal, and out of the negative terminal into the wire (C), the conditions are exactly reversed in Fig. 111. Here the current in wire C flows into the negative (-) terminal, and from the positive (+) terminal into the wire C, so that in either case the current will flow out of the brush D and into the brush E, through the external circuit (G).

It will be seen, therefore, that in the direct-current motor, advantage is taken of the surging, or back-and-forth movement, of the current to pass it along in one direction, whereas in the alternating current no such change in direction is attempted.

Alternating Positive and Negative Poles.p. 154—The alternating current, owing to this surging movement, makes the poles alternately positive and negative. To express this more clearly, supposing we take a line (A, Fig. 112), which is called the zero line, or line of no electricity. The current may be represented by the zigzag line (B). The lines (B) above zero (A) may be designated as positive, and those below the line as negative. The polarity reverses at the line A, goes up to D, which is the maximum intensity or voltage above zero, and, when the current falls and crosses the line A, it goes in the opposite direction to E, which is its maximum voltage in the other direction. In point of time, if it takes one second for the current to go from C to F, on the down line, then it takes only a half second to go from C to G, so that the line A represents the time, and the line H the intensity, a complete cycle being formed from C, D, F, then through F, E, C, and so on.

Fig. 112. Alternating Polarity Lines Fig. 112. Alternating Polarity Lines

p. 155

How an Alternating Dynamo Is Made.—It is now necessary to apply these principles in the construction of an alternating-current machine. Fig. 113 is a diagram representing the various elements, and the circuiting.

Fig. 113. Alternating Current Dynamo Fig. 113. Alternating Current Dynamo

Let A represent the ring or frame containing the inwardly projecting field magnet cores (B). C is the shaft on which the armature revolves, and this carries the wheel (D), which has as many radially disposed magnet cores (E) as there are of the field magnet cores (B).

The shaft (C) also carries two pulleys with rings thereon. One of these rings (F) is for onep. 156 end of the armature winding, and the other ring (G) for the other end of the armature wire.

The Windings.—The winding is as follows: One wire, as at H, is first coiled around one magnet core, the turnings being to the right. The outlet terminal of this wire is then carried to the next magnet core and wound around that, in the opposite direction, and so on, so that the terminal of the wire is brought out, as at I, all of these wires being connected to binding posts (J, J'), to which, also, the working circuits are attached.

The Armature Wires.—The armature wires, in like manner, run from the ring (G) to one armature core, being wound from right to left, then to the next core, which is wound to the right, afterward to the next core, which is wound to the left, and so on, the final end of the wire being connected up with the other ring (F). The north (N) and the south (S) poles are indicated in the diagram.

Choking Coil.—The self-induction in a current of this kind is utilized in transmitting electricity to great distances. Wires offer resistance, or they impede the flow of a current, as hereinbefore stated, so that it is not economical to transmit a direct current over long distances. This can be done more efficiently by means of the alternating current, which is subject to far less loss than isp. 157 the case with the direct current. It affords a means whereby the flow of a current may be checked or reduced without depending upon the resistance offered by the wire over which it is transmitted. This is done by means of what is called a choking coil. It is merely a coil of wire, wound upon an iron core, and the current to be choked passes through the coil. To illustrate this, let us take an arc lamp designed to use a 50-volt current. If a current is supplied to it carrying 100 volts, it is obvious that there are 50 volts more than are needed. We must take care of this excess of 50 volts without losing it, as would happen were we to locate a resistance of some kind in the circuit. This result we accomplish by the introduction of the choking coil, which has the effect of absorbing the excessive 50 volts, the action being due to its quality of self-induction, referred to in the foregoing.

Fig. 114. Choking Coil Fig. 114. Choking Coil

In Fig. 114, A is the choking coil and B an arcp. 158 lamp, connected up, in series, with the choking coil.

The Transformer.—It is more economical to transmit 10,000 volts a long distance than 1,000 volts, because the lower the pressure, or the voltage, the larger must be the conductor to avoid loss. It is for this reason that 500 volts, or more, are used on electric railways. For electric light purposes, where the current goes into dwellings, even this is too high, so a transformer is used to take a high-voltage current from the main line and transform it into a low voltage. This is done by means of two distinct coils of wire, wound upon an iron core.

Fig. 115. A Transformer Fig. 115. A Transformer

In Fig. 115 the core is O-shaped, so that a primary winding (A), from the electrical source, can be wound upon one limb, and the secondary windingp. 159 (B) wound around the other limb. The wires, to supply the lamps, run from the secondary coil. There is no electrical connection between the two coils, but the action from the primary to the secondary coil is solely by induction. When a current passes through the primary coil, the surging movement, heretofore explained, is transmitted to the iron core, and the iron core, in turn, transmits this electrical energy to the secondary coil.

How the Voltage Is Determined.—The voltage produced by the secondary coil will depend upon several things, namely, the strength of the magnetism transmitted to it; the rapidity, or periodicity of the current, and the number of turns of wire around the coil. The voltage is dependent upon the length of the winding. But the voltage may also be increased, as well as decreased. If the primary has, we will say, 100 turns of wire, and has 200 volts, and the secondary has 50 turns of wire, the secondary will give forth only one-half as much as the primary, or 100 volts.

If, on the other hand, 400 volts would be required, the secondary should have 200 turns in the winding.

Voltage and Amperage in Transformers.—It must not be understood that, by increasing the voltage in this way, we are getting that muchp. 160 more electricity. If the primary coil, with 100 turns, produces a current of 200 volts and 50 amperes, which would be 200 × 50 = 10,000 watts, and the secondary coil has 50 turns, we shall have 100 volts and 100 amperes: 100 (V.) × 100 (A.) = 10,000 watts. Or, if, on the other hand, our secondary winding is composed of 200 turns, we shall have 400 volts and 25 amperes, 400 (volts) × 25 (amperes) also gives 10,000 watts.

Necessarily, there will be some loss, but the foregoing is offered as the theoretical basis of calculation.


p. 161

CHAPTER XVIToC

ELECTRIC LIGHTING

The most important step in the electric field, after the dynamo had been brought to a fairly workable condition, was its utilization to make light. It was long known prior to the discovery of practical electric dynamos, that the electric current would produce an intense heat.

Ordinary fuels under certain favorable conditions will produce a temperature of 4,500 degrees of heat; but by means of the electric arc, as high as six, eight and ten thousand degrees are available.

The fact that when a conductor, in an electric current, is severed, a spark will follow the drawing part of the broken ends, led many scientists to believe, even before the dynamo was in a practical shape, that electricity, sooner or later, would be employed as the great lighting agent.

When the dynamo finally reached a stage in development where its operation could be depended on, and was made reversible, the first active steps were taken to not only produce, but to maintain an arc between two electrodes.

It would be difficult and tedious to follow out thep. 162 first experiments in detail, and it might, also, be useless, as information, in view of the present knowledge of the science. A few steps in the course of the development are, however, necessary to a complete understanding of the subject.

Reference has been made in a previous chapter to what is called the Electric Arc, produced by slightly separated conductors, across which the electric current jumps, producing the brilliantly lighted area.

This light is produced by the combustion of the carbon of which the electrodes are composed. Thus, the illumination is the result of directly burning a fuel. The current, in passing from one electrode to the other, through the gap, produces such an intense heat that the fuel through which the current passes is consumed.

Carbon in a comparatively pure state is difficult to ignite, owing to its great resistance to heat. At about 7,000 degrees it will fuse, and pass into a vapor which causes the intense illumination.

The earliest form of electric lighting was by means of the arc, in which the light is maintained so long as the electrodes were kept a certain distance apart.

To do this requires delicate mechanism, for the reason that when contact is made, and the current flows through the two electrodes, which are connectedp. 163 up directly with the coils of a magnet, the cores, or armatures, will be magnetized. The result is that the electrode, connected with the armature of the magnet, is drawn away from the other electrode, and the arc is formed, between the separated ends.

As the current also passes through a resistance coil, the moment the ends of the electrodes are separated too great a distance, the resistance prevents a flow of the normal amount of current, and the armature is compelled to reduce its pull. The effect is to cause the two electrodes to again approach each other, and in doing so the arc becomes brighter.

It will be seen, therefore, that there is a constant fight between the resistance coil and the magnet, the combined action of the two being such, that, if properly arranged, and with powers in correct relation to each other, the light may be maintained without undue flickering. Such devices are now universally used, and they afford a steady and reliable means of illumination.

Many improvements are made in this direction, as well as in the ingredients of the electrodes. A very novel device for assuring a perfect separation at all times between the electrodes, is by means of a pair of parallel carbons, held apart by a non-conductor such as clay, or some mixture ofp. 164 earth, a form of which is shown in Fig. 116.

The drawing shows two electrodes, separated by a non-conducting material, which is of such a character that it will break down and crumble away, as the ends of the electrodes burn away.

Fig. 116. Parallel Carbons. Fig. 116. Parallel Carbons.

This device is admirable where the alternating current is used, because the current moves back and forth, and the two electrodes are thus burned away at the same rate of speed.

In the direct or continuous current the movementp. 165 is in one direction only, and as a result the positive electrode is eaten away twice as fast as the negative.

This is the arc form of lamp universally used for lighting large spaces or areas, such as streets, railway stations, and the like. It is important also as the means for utilizing searchlight illumination, and frequently for locomotive headlights.

Arc lights are produced by what is called the series current. This means that the lamps are all connected in a single line. This is illustrated by reference to Fig. 117, in which A represents the wire from the dynamo, and B, C the two electrodes, showing the current passing through from one lamp to the next.

Fig. 117. Arc-Lighting Circuit. Fig. 117. Arc-Lighting Circuit.

A high voltage is necessary in order to cause the current to leap across the gap made by the separation of the electrodes

p. 166

The Incandescent System.—This method is entirely different from the arc system. It has been stated that certain metals conduct electricity with greater facility than others, and some have higher resistance than others. If a certain amount of electricity is forced through some metals, they will become heated. This is true, also, if metals, which, ordinarily, will conduct a current freely, are made up into such small conductors that it is difficult for the current to pass.

Fig 118. Interrupted Conductor. Fig. 118. Interrupted Conductor.

In the arc method high voltage is essential; in the incandescent plan, current is the important consideration. In the arc, the light is produced by virtue of the break in the line of the conductor; in the incandescent, the system is closed at all times.

Supposing we have a wire A, a quarter of an inch in diameter, carrying a current of, say, 500 amperes, and at any point in the circuit the wire is made very small, as shown at B, in Fig. 118, it is obvious that the small wire would not be large enough to carry the current.

The result would be that the small connectionp. 167 B would heat up, and, finally, be fused. While the large part of the wire would carry 500 amperes, the small wire could not possibly carry more than, say, 10 amperes. Now these little wires are the filaments in an electric bulb, and originally the attempt was made to have them so connected up that they could be illuminated by a single wire, as with the arc system above explained, one following the other as shown in Fig. 117.

Fig. 119. Incandescent Circuit. Fig. 119. Incandescent Circuit.

It was discovered, however, that the addition of each successive lamp, so wired, would not give light in proportion to the addition, but at only about one-fourth the illumination, and such a course would, therefore, make electric lighting enormously expensive.

This knowledge resulted in an entirely new system of wiring up the lamps in a circuit. This is explained in Fig. 119. In this figure A represents the dynamo, B, B the brushes, C, D the two linep. 168 wires, E the lamps, and F the short-circuiting wires between the two main conductors C, D.

It will be observed that the wires C, D are larger than the cross wires F. The object is to show that the main wires might carry a very heavy amperage, while the small cross wires F require only a few amperes.

This is called the multiple circuit, and it is obvious that the entire amperage produced by the dynamo will not be required to pass through each lamp, but, on the other hand, each lamp takes only enough necessary to render the filament incandescent.

This invention at once solved the problem of the incandescent system and was called the subdivision of the electric light. By this means the cost was materially reduced, and the wiring up and installation of lights materially simplified.

But the divisibility of the light did not, by any means, solve the great problem that has occupied the attention of electricians and experimenters ever since. The great question was and is to preserve the little filament which is heated to incandescence, and from which we get the light.

The effort of the current to pass through the small filament meets with such a great resistance that the substance is heated up. If it is made ofp. 169 metal there is a point at which it will fuse, and thus the lamp is destroyed.

It was found that carbon, properly treated, would heat to a brilliant white heat without fusing, or melting, so that this material was employed. But now followed another difficulty. As this intense heat consumed the particles of carbon, owing to the presence of oxygen, means were sought to exclude the air.

This was finally accomplished by making a bulb of glass, from which the air was exhausted, and as such a globe had no air to support combustion, the filaments were finally made so that they would last a long time before being finally disintegrated.

The quest now is, and has been, to find some material of a purely metallic character, which will have a very high fusing point, and which will, therefore, dispense with the cost of the exhausted bulb. Some metals, as for instance, osmium, tantalum, thorium, and others, have been used, and others, also, with great success, so that the march of improvements is now going forward with rapid strides.

Vapor Lamps.—One of the directions in which considerable energy has been directed in the past, was to produce light from vapors. The Cooper Hewitt mercury vapor lamp is a tube filled with the vapor of mercury, and a current is sent throughp. 170 the vapor which produces a greenish light, and owing to that peculiar color, has not met with much success.

It is merely cited to show that there are other directions than the use of metallic conductors and filaments which will produce light, and the day is no doubt close at hand when we may expect some important developments in the production of light by means of the Hertzian waves.

Directions for Improvements.—Electricity, however, is not a cheap method of illumination. The enormous heat developed is largely wasted. The quest of the inventor is to find a means whereby light can be produced without the generation of the immense heat necessary.

Man has not yet found a means whereby he can make a heat without increasing the temperature, as nature does it in the glow worm, or in the firefly. A certain electric energy will produce both light and heat, but it is found that much more of this energy is used in the heat than in the light.

What wonderful possibilities are in store for the inventor who can make a heatless light! It is a direction for the exercise of ingenuity that will well repay any efforts

p. 171

Curious Superstitions Concerning Electricity

Electricity, as exhibited in light, has been the great marvel of all times. The word electricity itself comes from the thunderbolt of the ancient God Zeus, which is known to be synonymous with the thunderbolt and the lightning.

Magnetism, which we know to be only another form of electricity, was not regarded the same as electricity by the ancients. Iron which had the property to attract, was first found near the town of Magnesia, in Lydia, and for that reason was called magnetism.

Later on, a glimmer of the truth seemed to dawn on the early scientists, when they saw the resemblance between the actions of the amber and the loadstone, as both attracted particles. And here another curious thing resulted. Amber will attract particles other than metals. The magnet did not; and from this imperfect observation and understanding, grew a belief that electricity, or magnetism would attract all substances, even human flesh, and many devices were made from magnets, and used as cures for the gout, and to affect the brain, or to remove pain.

Even as early as 2,500 years before the birth of Christ the Chinese knew of the properties of the magnet, and also discovered that a bar of thep. 172 permanent magnet would arrange itself north and south, like the mariners' compass. There is no evidence, however, that it was used as a mariner's compass until centuries afterwards.

But the matter connected with light, as an electrical development, which interests us, is its manifestations to the ancients in the form of lightning. The electricity of the earth concentrates itself on the tops of mountains, or in sharp peaks, and accounts for the magnificent electrical displays always found in mountainous regions.

Some years ago, a noted scientist, Dr. Siemens, while standing on the top of the great pyramid of Cheops, in Egypt, during a storm, noted that an electrical discharge flowed from his hand when extended toward the heavens. The current manifested itself in such a manner that the hissing noise was plainly perceptible.

The literature of all ages and of all countries shows that this manifestation of electrical discharges was noted, and became the subject of discussions among learned men.

All these displays were regarded as the bolts of an angry God, and historians give many accounts of instances where, in His anger, He sent down the lightning to destroy.

Among the Romans Jupiter thus hurled forth his wrath; and among many ancient people, evenp. 173 down to the time of Charlemagne, any space struck by lightning was considered sacred, and made consecrated ground.

From this grew the belief that it was sacrilegious to attempt to imitate the lightning of the sky—that Deity would visit dire punishment on any man who attempted to produce an electric light. Virgil relates accounts where certain princes attempted to imitate the lightning, and were struck by thunderbolts as punishments.

Less than a century ago Benjamin Franklin devised the lightning rod, in order to prevent lightning from striking objects. The literature of that day abounds with instances of protests made, on the part of those who were as superstitions as the people in ancient times, who urged that it was impious to attempt to ward off Heaven's lightnings. It was argued that the lightning was one way in which the Creator manifested His displeasure, and exercised His power to strike the wicked.

When such writers as Pliny will gravely set forth an explanation of the causes of lightning, as follows in the paragraph below, we can understand why it inculcated superstitious fears in the people of ancient times. He says:

"Most men are ignorant of that secret, which, by close observation of the heavens, deep scholars and principal men of learning have found out,p. 174 namely, that they are the fires of the uppermost planets, which, falling to the earth, are called lightning; but those especially which are seated in the middle, that is about Jupiter, perhaps because participating in the excessive cold and moisture from the upper circle of Saturn, and the immoderate heat of Mars, that is next beneath, by this means he discharges his superfluity, and therefore it is commonly said, 'That Jupiter shooteth and darteth lightning.' Therefore, like as out of a burning piece of wood a coal flieth forth with a crack, even so from a star is spit out, as it were, and voided forth this celestial fire, carrying with it presages of future things; so that the heavens showeth divine operations, even in these parcels and portions which are rejected and cast away as superfluous."


p. 175

CHAPTER XVIIToC

POWER, AND VARIOUS OTHER ELECTRICAL MANIFESTATIONS

It would be difficult to mention any direction in human activity where electricity does not serve as an agent in some form or manner. Man has learned that the Creator gave this great power into the hands of man to use, and not to curse.

When the dynamo was first developed it did not appear possible that it could generate electricity, and then use that electricity in order to turn the dynamo in the opposite direction. It all seems so very natural to us now, that such a thing should practically follow; but man had to learn this.

Let us try to make the statement plain by a few simple illustrations. By carefully going over the chapter on the making of the dynamo, it will be evident that the basis of the generation of the current depends on the changing of the direction of the flow of an electric current.

Look at the simple horse-shoe magnet. If two of them are gradually moved toward each other, so that the north pole of one approaches the north pole of the other, there is a sensible attempt for them to push away from each other. If, however,p. 176 one of them is turned, so that the north pole of one is opposite the south pole of the other, they will draw together.

In this we have the foundation physical action of the dynamo and the motor. When power is applied to an armature, and it moves through a magnetic field, the action is just the same as in the case of the hand drawing the north and the south pole of the two approaching magnets from each other.

The influence of the electrical disturbance produced by that act permeated the entire winding of the field and armature, and extended out on the whole line with which the dynamo was connected. In this way a current was established and transmitted, and with proper wires was sent in the form of circuits and distributed so as to do work.

But an electric current, without suitable mechanism, is of no value. It must have mechanism to use it, as well as to make it. In the case of light, we have explained how the arc and the incandescent lamps utilize it for that purpose.

But now, attempting to get something from it in the way of power, means another piece of mechanism. This is done by the motor, and this motor is simply a converter, or a device for reversing the action of the electricity.

Attention is called to Figs. 120 and 121. Let us assume that the field magnets A, A are the positives,p. 177 and the magnets B, B the negatives. The revolving armature has also four magnet coils, two of them, C, C, being positive, and the other two, D, D, negative, each of these magnet coils being so connected up that they will reverse the polarities of the magnets.

Fig. 120. Action of Magnets in a Dynamo Fig. 121. Action of Magnets in a Dynamo
Figs. 120-121. Action of Magnets in a Dynamo

Now in the particular position of the revolving armature, in Fig. 120, the magnets of the armature have just passed the respective poles of the field magnets, and the belt E is compelled to turn the armature past the pole pieces by force in the direction of the arrow F. After the armature magnets have gone to the positions in Fig. 121, the positives A try to draw back the negatives D of the armature, and at the same time the negatives B repel the negatives D, because they are of the same polarities

p. 178

This repulsion of the negatives A, B continues until the armature poles C, D have slightly passed them, when the polarities of the magnets C, D are changed; so that it will be seen, by reference to Fig. 122, that D is now retreating from B, and C is going away from A—that is, being forced away contrary to their natural attractive influences, and in Fig. 123, when the complete cycle is nearly finished, the positives are again approaching each other and the negatives moving together.

Fig. 122.  Cycle Action in Dynamo Fig. 123. Cycle Action in Dynamo
Figs. 122-123. Cycle Action in Dynamo

In this manner, at every point, the sets of magnets are compelled to move against their magnetic pull. This explains the dynamo.

Now take up the cycle of the motor, and note in Fig. 124 that the negative magnets D of the armature are closely approaching the positive and negativep. 179 magnets, on one side; and the positive magnets C are nearing the positive and negatives on the other side. The positives A, therefore, attract the negatives D, and the negative B exert a pull on the positives C at the same time. The result is that the armature is caused to revolve, as shown by the dart G, in a direction opposite to the dart in Fig. 120.

Fig. 124. Action of Magnets in Motor Fig. 125. Action of Magnets in Motor
Figs. 124-125. Action of Magnets in Motor

When the pole pieces of the magnets C, D are about to pass magnets A, B, as shown in Fig. 125, it is necessary to change the polarities of the armature magnets C, D; so that by reference to Fig. 126, it will be seen that they are now indicated as C-, and D+, respectively, and have moved to a point midway between the poles A, B (as in Fig. 125), where the pull on one side, and the push onp. 180 the other are again the same, and the last Figure 127 shows the cycle nearly completed.

The shaft of the motor armature is now the element which turns the mechanism which is to be operated. To convert electrical impulses into power, as thus shown, results in great loss. The first step is to take the steam boiler, which is the first stage in that source which is the most common and universal, and by means of fuel, converting water into steam. The second is to use the pressure of this steam to drive an engine; the third is to drive the dynamo which generates the electrical impulse; and the fourth is the conversion from the dynamo into a motor shaft. Loss is met with at each step, and the great problem is to eliminate this waste.

Fig. 126. Positions of Magnets in Motor Fig. 127. Positions of Magnets in Motor
Figs. 126-127. Positions of Magnets in Motor

The great advantage of electrical power is not inp. 181 utilizing it for consumption at close ranges, but where it is desired to transmit it for long distances. Such illustrations may be found in electric railways, and where water power can be obtained as the primal source of energy, the cost is not excessive. It is found, however, that even with the most improved forms of mechanism, in electrical construction, the internal combustion engines are far more economical.

Transmission of Energy

One of the great problems has been the transmission of the current to great distances. By using a high voltage it may be sent hundreds of miles, but to use a current of that character in the cars, or shops, or homes, would be exceedingly dangerous.

To meet this requirement transformers have been devised, which will take a current of very high voltage, and deliver a current of low tension, and capable of being used anywhere with the ordinary motors.

The Transformer.—This is an electrical device made up of a core or cores of thin sheet metal, around which is wound sets of insulated wires, one set being designed to receive the high voltage, and the other set to put out the low voltage, as described in a former chapter

p. 182

These may be made where the original output is a very high voltage, so that they will be stepped down, first from one voltage to a lower, and then from that to the next lower stage. This is called the "Step down" transformer, and is now used over the entire world, where large voltages are generated.

Electric Furnaces.—The most important development of electricity in the direction of heat is its use in furnaces. As before stated, an intense heat is capable of being generated by the electric current, so that it becomes the great agent to use for the treatment of refractory material.

In furnaces of this kind the electric arc is the mechanical form used to produce the great heat, the only difference being in the size of the apparatus. The electric furnace is simply an immense form of arc light, capable of taking a high voltage, and such an arc is enclosed within a suitable oven of refractory material, which still further conserves the heat.

Welding By Electricity.—The next step is to use the high heat thus capable of being produced, to fuse metals so that they may be welded together. It is a difficult matter to unite two large pieces of metal by the forging method, because the highest heat is required, owing to their bulk, and in additionp. 183 immense hammers, weighing tons, must be employed.

Electric welding offers a simple and easy method of accomplishing the result, and in the doing of which it avoids the oxidizing action of the forging heat. Instead of heating the pieces to be welded in a forge, as is now done, the ends to be united are simply brought into contact, and the current is sent through the ends until they are in a soft condition, after which the parts are pressed together and united by the simple merging of the plastic condition in which they are reduced by the high electric heat.

This form of welding makes the most perfect joint, and requires no hammering, as the mass of the metal flows from one part or end to the other; the unity is a perfect one, and the advantage is that the metals can be kept in a semi-fluid state for a considerable time, thus assuring a perfect admixture of the two parts.

With the ordinary form of welding it is necessary to drive the heated parts together without any delay, and at the least cooling must be reheated, or the joint will not be perfect.

The smallest kinds of electric heating apparatus are now being made, so that small articles, sheet metal, small rods, and like parts can be united with the greatest facility.


p. 184

CHAPTER XVIIIToC

X-RAY, RADIUM, AND THE LIKE

The camera sees things invisible to the human eye. Its most effective work is done with beams which are beyond human perception. The photographer uses the Actinic rays. Ordinary light is composed of the seven primary colors, of which the lowest in the scale is the red, and the highest to violet.

Those below the red are called the Infra-red, and they are the Hertzian waves, or those used in wireless telegraphy. Those above the violet are called Ultra-violet, and these are employed for X-ray work. The former are produced by the high tension electric apparatus, which we have described in the chapter relating to wireless telegraphy; and the latter, called also the Roentgen rays, are generated by the Crookes' Tube.

This is a tube from which all the atmosphere has been extracted so that it is a practical vacuum. Within this are placed electrodes so as to divert the action of the electrical discharge in a particular direction, and this light, when discharged, is of such a peculiar character that its discovery made a sensation in the scientific world

p. 185

The reason for this great wonder was not in the fact that it projected a light, but because of its character. Ordinary light, as we see it with the eye, is capable of being reflected, as when we look into a mirror at an angle. The X-ray will not reflect, but instead, pass directly through the glass.

Then, ordinary light is capable of refraction. This is shown by a ray of light bending as it passes through a glass of water, which is noticed when the light is at an angle to the surface.

The X-ray will pass through the water without being changed from a straight line. The foregoing being the case, it was but a simple step to conclude that if it were possible to find a means whereby the human eye could see within the ultra-violet beam, it would be possible to see through opaque substances.

From the discovery so important and far reaching it was not long until it was found that if the ultra-violet rays, thus propagated, were transmitted through certain substances, their rates of vibration would be brought down to the speeds which send forth the visible rays, and now the eye is able to see, in a measure at least, what the actinic rays show.

This discovery was but the forerunner of a still more important development, namely, the discovery of radium. The actual finding of the metalp. 186 was preceded by the knowledge that certain minerals, and water, as well, possessed the property of radio-activity.

Radio-activity is a word used to express that quality in metals or other material by means of which obscure rays are emitted, that have the capacity of discharging electrified bodies, and the power to ionize gases, as well as to actually affect photograph plates.

Certain metals had this property to a remarkable degree, particularly uranium, thorium, polonium, actinium, and others, and in 1898 the Curies, husband and wife, French chemists, isolated an element, very ductile in its character, which was a white metal, and had a most brilliant luster.

Pitchblende, the base metal from which this was extracted, was discovered to be highly radio-active, and on making tests of the product taken from it, they were surprised to find that it emitted a form of energy that far exceeded in calculations any computations made on the basis of radio-activity in the metals hitherto examined.

But this was not the most remarkable part of the developments. The energy, whatever it was, had the power to change many other substances if brought into close proximity. It darkens the color of diamonds, quartz, mica, and glass. It changes some of the latter in color, some kinds beingp. 187 turned to brown and others into violet or purple tinges.

Radium has the capacity to redden the skin, and affect the flesh of persons, even at some considerable distance, and it is a most powerful germicide, destroying bacteria, and has been found also to produce some remarkable cures in diseases of a cancerous nature.

The remarkable similarity of the rays propagated by this substance, with the X-rays, lead many to believe that they are electrical in their character, and the whole scientific world is now striving to use this substance, as well as the more familiar light waves of the Roentgen tube, in the healing of diseases.

It is not at all remarkable that this use of it should first be considered, as it has been the history of the electrical developments, from the earliest times, that each successive stage should find advocates who would urge its virtues to heal the sick.

It was so when the dynamo was invented, when the high tension current was produced; and electrical therapeutics became a leading theme when transmission by induction became recognized as a scientific fact.

It is not many years since the X-rays were discovered,p. 188 and the first announcement was concerning its wonderful healing powers.

This was particularly true in the case of radium, but for some reason, after the first tests, all experimenters were thwarted in their theories, because the science, like all others, required infinite patience and experience. It was discovered, in the case of the X-ray, that it must be used in a modified form, and accordingly, various modifications of the waves were introduced, called the m and the n rays, as well as many others, each having some peculiar qualification.

In time, no doubt, the investigators will find the right quality for each disease, and learn how to apply it. Thus, electricity, that most alluring thing which, in itself, cannot be seen, and is of such a character that it cannot even be defined in terms which will suit the exact scientific mind, is daily bringing new wonders for our investigation and use.

It is, indeed, a study which is so broad that it has no limitations, and a field which never will be exhausted.

THE END


p. 189

GLOSSARY OF WORDS USED IN TEXT OF THIS VOLUMEToC

Acid.Accumulator material is sulphuric acid, diluted with water.
Active Material.That part of the material in accumulator plates which is acted upon by the electric current.
Accumulator.A cell, generally known as a storage battery, which while it initially receives a charge of electricity, is nevertheless, of such a character, owing to the active material of which it is made, that it accumulates, or, as it were, generates electricity.
Aerial Wire, or Conductor.The wire which, in wireless telegraphy, is carried up into the air to connect the antennæ with the receiving and sending apparatus.
Alarm, Burglar.A circulating system in a building, connected up with a bell or other signaling means.
Alloy.A mixture of two or more metals; as copper and zinc to make brass; nickel and zinc to form German silver.
Alternating Current.A current which goes back and forth in opposite directions, unlike a direct current which flows continuously in one direction over a wire.
Alternation.The term applied to a change in the direction of an alternating current, the frequency of the alternations ranging up to 20,000 or more vibrations per second.
Amber.A resin, yellow in color, which when rubbed with a cloth, becomes excited and gives forth negative p. 190electricity.
Ammeter.An instrument for measuring the quantity or flow of electricity.
Ampere.The unit of current; the term in which strength of the current is measured. An ampere is an electromotive force of one volt through a resistance of one ohm.
Annunciator.A device which indicates or signals a call given from some distant point.
Anode.The positive terminal in a conducting circuit, like the terminal of the carbon plate in a battery. It is a plate in an electroplating bath from which the current goes over to the cathode or negative plate or terminal.
Arc.A term employed to designate the gap, or the current which flows across between the conductors, like the space between the two carbons of an arc lamp, which gives the light.
Armature.A body of iron, or other suitable metal, which is in the magnetic field of a magnet.
Armature Bar.The piece which holds the armature. Also one of a series of bars which form the conductors in armature windings.
Armature Coil.The winding around an armature, or around the core of an armature.
Armature Core.The part in a dynamo or motor which revolves, and on which the wire coils are wound.
Astatic (Galvanometer).That which has no magnetic action to direct or divert anything exterior to it.
Atom.The ultimate particle of an elementary substance.
Attraction.That property of matter which causes particles to adhere, or cohere, to each other. It is known p. 191under a variety of terms, such as gravitation, chemical affinity, electro-magnetism and dynamic attraction.
Automatic Cut-out.A device which acts through the operation of the mechanism with which it is connected. It is usually applied to a device which cuts out a current when it overcharges or overloads the wire.
Bath.In electroplating, the vessel or tank which holds the electroplating solution.
Battery.A combination of two or more cells.
Battery, Dry.A primary battery in which the electrolyte is made in a solid form.
Battery, Galvanic.A battery which is better known by the name of the Voltaic Pile, made up of zinc and copper plates which alternate, and with a layer of acidulated paper between each pair of plates.
Battery, Storage.A battery which accumulates electricity generated by a primary battery or a generator.
Brush.A term applied to the conducting medium that bears against the cylindrical surface of a commutator.
Buzzer.An electric call produced by a rapidly moving armature of an electro-magnet.
Cable.A number of wires or conductors assembled in one strand.
Candle-power.The amount of light given by the legal-standard candle. This standard is a sperm candle, which burns two grains a minute.
Capacity.The carrying power of a wire or circuit, without heating. When heated there is an overload, or the capacity of the wire is overtaxed.
Capacity, Storage.The quantity of electricity in a secondary battery when fully charged, usually reckoned in ampere p. 192hours.
Carbon.A material, like coke, ground or crushed, and formed into sticks or plates by molding or compression. It requires a high heat to melt or burn, and is used as electrodes for arc lamps and for battery elements. It has poor conductivity, and for arc lamps is coated with copper to increase its conductivity.
Cell, Electrolytic.A vessel containing an electrolyte for electroplating purposes.
Charge.The quantity of electricity on the surface of a body or conductor.
Chemical Change.When a current passes through electrodes in a solution, a change takes place which is chemical in its character. Adding sulphuric acid to water produces heat. If electrodes of opposite polarity are placed in such an acid solution, a chemical change is produced, which is transformed into electricity.
Choking Coil.An instrument in a circuit which by a form of resistance regulates the flow of the current, or returns part of it to the source of its generation.
Counter-electromotive Force.Cells which are inserted in opposition to a battery to reduce high voltage.
Circuit, Astatic.A circuit in an instrument so wound that the earth's magnetism will not affect it.
Circuit Breaker.Any instrument in a circuit which cuts out or interrupts the flow of a current.
Circuit, External.A current flows through a wire or conductor, and also along the air outside of the conductor, the latter being the external circuit.
Circuit Indicator.An instrument, like a galvanometer, that shows the direction in which a current is flowing through a p. 193conductor.
Circuit, Return.Usually the ground return, or the negative wire from a battery.
Circuit, Short.Any connection between the mains or parallel lines of a circuit which does not go through the apparatus for which the circuit is intended.
Coherer.A tube, or other structure, containing normally high resistance particles which form a path or bridge between the opposite terminals of a circuit.
Coil.A wire, usually insulated, wound around a spool.
Coil, Induction.One of a pair of coils designed to change the voltage of a current of electricity, from a higher to a lower, or from a lower to a higher electro-motive force.
Coil, Resistance.A coil so wound that it will offer a resistance to a steady current, or reduce the flow of electricity.
Commutator.A cylinder on the end of the armature of a dynamo or motor and provided with a pair of contact plates for each particular coil in the armature, in order to change the direction of the current.
Compass.An apparatus which indicates the direction or flow of the earth's magnetism.
Condenser.A device for storing up electro-static charges.
Conductance.That quality of a conductor to carry a current of electricity, dependent on its shape for the best results.
Conduction.The transmission of a current through a rod, wire or conductor.
Conductivity.That quality which has reference to the capacity to conduct a current.
Conductor.Any body, such as a bar, rod, wire, or machine, which will carry a current.
Connector.A binding post, clamp, screw, or other means to hold p. 194the end of a wire, or electric conductor.
Contact.To unite any parts in an electric circuit.
Controller.The handle of a switchboard, or other contact making and breaking means in a circuit.
Converter.An induction coil in an alternating circuit for changing potential difference, such as high alternating voltage into low direct current voltage.
Convolution.To wind like a clock spring.
Core.The inner portion of an electro-magnet. The inside part of an armature wound with wire.
Core, Laminated.When the core is built up of a number of separate pieces of the same material, but not insulated from each other.
Coulomb.The unit of electrical quantity. It is the quantity passed by a current of one ampere intensity in one second of time.
Couple, Electric.Two or more electrodes in a liquid to produce an electric force.
Current, Alternating.A natural current produced by the action of electro-magnets. It is a succession of short impulses in opposite directions.
Current, Constant.A current which is uniformly maintained in a steady stream.
Current, Induced.A current produced by electro-dynamic induction.
Current Meter.An apparatus for indicating the strength of a current. An ammeter.
Current, Oscillating.A current which periodically alternates.
Current, Periodic.A periodically varying current strength.
Current, Undulating.A current which has a constant direction, but has a p. 195continuously varying strength.
Decomposition.The separation of a liquid, such as an electrolyte, into its prime elements, either electrically or otherwise.
Deflection.The change of movement of a magnetic needle out of its regular direction of movement.
Demagnetization.When a current passes through a coil wound on an iron core, the core becomes magnetized. When the current ceases the core is no longer a magnet. It is then said to be demagnetized. It also has reference to the process for making a watch non-magnetic so that it will not be affected when in a magnetic field.
Density.The quantity of an electric charge in a conductor or substance.
Depolarization.The removal of magnetism from a permanent magnet, or a horse-shoe magnet, for instance. It is generally accomplished by applying heat.
Deposition, Electrolysis.The act of carrying metal from one pole of a cell to another pole, as in electroplating.
Detector.Mechanism for indicating the presence of a current in a circuit.
Diaphragm.A plate in a telephone, which, in the receiver, is in the magnetic field of a magnet, and in a transmitter carries the light contact points.
Dielectric.A non-conductor for an electric current, but through which electro-static induction will take place. For example: glass and rubber are dielectrics.
Discharge.The current flowing from an accumulator.
Disintegration.The breaking up of the plate or active material.
Disruptive.A static discharge passing through a dielectric.
Duplex Wire.A pair of wires usually twisted together and insulated from each other to form the conducting p. 196circuit of a system.
Dynamic Electricity.The term applied to a current flowing through a wire.
Dynamo.An apparatus, consisting of core and field magnets, which, when the core is turned, will develop a current of electricity.
Earth Returns.Instead of using two wires to carry a circuit, the earth is used for what is called the return circuit.
Efficiency.The total electrical energy produced, in which that wasted, as well as that used, is calculated.
Elasticity.That property of any matter which, after a stress, will cause the substance to return to its original form or condition. Electricity has elasticity, which is utilized in condensers, as an instance.
Electricity, Atmospheric.Lightning, and, in short, any current or electrical impulse, like wireless telegraphic waves, is called atmospheric.
Electricity, Voltaic.Electricity with a low potentiality and large current density.
Electrification.The process of imparting a charge of electricity to any body.
Electro-chemistry.The study of which treats of electric and chemical forces, such as electric plating, electric fusing, electrolysis, and the like.
Electrode.The terminals of a battery, or of any circuit; as, for instance, an arc light.
Electrolyte.Any material which is capable of being decomposed by an electric current.
Electro-magnetism.Magnetism which is created by an electric current.
Electrometer.An instrument for measuring static electricity, differing from a galvanometer, which measures a current in a wire that acts on the magnetic needle p. 197of the galvanometer.
Electro-motive Force.(E. M. F.) Voltage, which is the measure or unit of e. m. f.
Electroscope.A device for indicating not only the presence of electricity, but whether it is positive or negative.
Electro-static Accumulator.Surfaces separated by a dielectric for opposite charging of the surface.
Element.In electricity a form of matter, as, for instance, gold, or silver, that has no other matter or compound. Original elements cannot be separated, because they are not made up of two or more elements, like brass, for instance.
Excessive Charge.A storage battery charged at too high a rate.
Excessive Discharge.A storage battery discharged at too high a rate.
Excessive Overcharge.Charging for too long a time.
Exciter.A generator, either a dynamo or a battery, for exciting the field of a dynamo.
Exhaustive Discharge.An excessive over-discharge of an accumulator.
F.The sign used to indicate the heat term Fahrenheit.
Fall of Voltage.The difference between the initial and the final voltage in a current.
Field.The space or region near a magnet or charged wire. Also the electro-magnets in a dynamo or motor.
Flow.The volume of a current going through a conductor.
Force, Electro-magnetic.The pull developed by an electro-magnet.
Frictional Electricity.A current produced by rubbing dissimilar substances together.
Full Load.The greatest load a battery, accumulator or dynamo p. 198will sustain.
Galvanic.Pertaining to the electro-chemical relations of metals toward each other.
Galvanizing.The art of coating one metal with another, such, for instance, as immersing iron in molten zinc.
Galvanometry.An instrument having a permanently magnetized needle, which is influenced by a coil or a wire in close proximity to it.
Galvanoscope.An instrument, like a galvanometer, which determines whether or not a current is present in a tested wire.
Generator.A term used to generally indicate any device which originates a current.
German Silver.An alloy of copper, nickel and zinc.
Graphite.One form of carbon. It is made artificially by the electric current.
Grid.The metallic frame of a plate used to hold the active material of an accumulator.
Gravity.The attraction of mass for mass. Weight. The accelerating tendency of material to move toward the earth.
Gutta Percha.Caoutchouc, which has been treated with sulphur, to harden it. It is produced from the sap of tropical trees, and is a good insulator.
Harmonic Receiver.A vibrating reed acted on by an electro-magnet, when tuned to its pitch.
High E. M. F.A term to indicate currents which have a high voltage, and usually low amperage.
Igniter.Mechanism composed of a battery, induction coil and a vibrator, for making a jump spark, to ignite gas, powder, etc.
I. H. P.Abbreviation, which means Indicated Horse Power.
Impulse.A sudden motion of one body acting against another. p. 199An electro-magnetic wave magnetizing soft iron, and this iron attracting another piece of iron, as an example.
Incandescence, Electric.A conductor heated up by a current so it will glow.
Induced Current.A current of electricity which sets up lines of force at right angles to the body of the wire through which the current is transmitted.
Induction, Magnetic.A body within a magnetic field which is excited by the magnetism.
Installation.Everything belonging to an equipment of a building, or a circuiting system to do a certain thing.
Insulation.A material or substance which resists the passage of a current placed around a conductor.
Intensity.The strength of a magnetic field, or of a current flowing over a wire.
Internal Resistance.The current strength of electricity of a wire to resist the passage.
Interrupter.A device in a wire or circuit for checking a current. It also refers to the vibrator of an induction coil.
Joint.The place where two or more conductors are united.
Joint Resistance.The combined resistance offered by two or more substances or conductors.
Jump Spark.A spark, disruptive in its character, between two conducting points.
Initial Charge.The charge required to start a battery.
Kathode, or Cathode.The negative plate or side of a battery. The plate on which the electro deposit is made.
Key.The arm of a telegraph sounder. A bar with a finger piece, which is hinged and so arranged that it will make and break contacts in an electric circuit.
Keyboard.A switch-board; a board on which is mounted a number p. 200of switches.
Kilowatt.A unit, representing 1,000 watts. An electric current measure, usually expressed thus: K.W.
Kilowatt Hour.The computation of work equal to the exertion of one kilowatt in one hour.
Knife Switch.A bar of a blade-like form, adapted to move down between two fingers, and thus establish metallic connections.
Laminated.Made up of thin plates of the same material, laid together, but not insulated from each other.
Lamp Arc.A voltaic arc lamp, using carbon electrodes, with mechanism for feeding the electrodes regularly.
Lamp, Incandescent.A lamp with a filament heated up to a glow by the action of an electric current. The filament is within a vacuum in a glass globe.
Leak.Loss of electrical energy through a fault in wiring, or in using bare wires.
Load.The ampere current delivered by a dynamo under certain conditions.
Low Frequency.A current in which the vibrations are of few alternations per second.
Magnet.A metallic substance which has power to attract iron and steel.
Magnet Bar.A straight piece of metal.
Magnet Coil.A coil of wire, insulated, surrounding a core of iron, to receive a current of electricity.
Magnet Core.A bar of iron adapted to receive a winding of wire.
Magnet, Field.A magnet in a dynamo. A motor to produce electric energy.
Magnet, Permanent.A short steel form, to hold magnetism for a long time.
Magnetic Adherence.The adherence of particles to the poles of a magnet. p. 201
Magnetic Attraction and Repulsion.That quality of a metal which draws metals. Also the pulling action of unlike poles for each other, and pushing away of like poles when brought together.
Magnetic Force.The action exercised by a magnet of attracting or repelling.
Magnetic Pole.The earth has North and South magnetic poles. The south pole of a magnetic needle is attracted so it points to the north magnetic pole; and the north pole of the needle is attracted to point to the south magnetic pole.
Magneto-generator.A permanent magnet and a revolving armature for generating a current.
Maximum Voltage.The final voltage after charging.
Molecule.Invisible particles made up of two or more atoms of different matter. An atom is a particle of one substance only.
Morse Sounder.An electric instrument designed to make a clicking sound, when the armature is drawn down by a magnet.
Motor-dynamo.A motor and a dynamo having their armatures connected together, whereby the motor is driven by the dynamo, so as to change the current into a different voltage and amperage.
Motor-transformer.A motor which delivers the current like a generator.
Needle.A bar magnet horizontally poised on a vertical pivot point, like the needle of a mariner's compass.
Negative Electricity.Amber, when rubbed, produces negative electricity. p. 202A battery has positive as well as negative electricity.
Negative Element.That plate in the solution of a battery cell which is not disintegrated.
Normal.The usual, or ordinary. The average. In a current the regular force required to do the work.
North Pole, Electric.The term applied to the force located near the north pole of the globe, to which a permanent magnet will point if allowed to swing freely.
O.Abbreviation for Ohm.
Ohm.The unit of resistance. Equal to the resistance of a column of mercury one square millimeter in cross section, and 106.24 centimeters in length.
Ohm's Law.It is expressed as follows:
  1. The current strength is equal to the electro-motive force divided by its resistance.
  2. The electro-motive force is equal to the current strength multiplied by the resistance.
  3. The resistance is equal to the electro-motive force divided by the current strength.
Overload.In a motor an excess of mechanical work which causes the armature to turn too slowly and produces heat.
Phase.One complete oscillation. The special form of a wave at any instant, or at any interval of time.
Plate, Condenser.In a static machine it is usually a plate of glass and revoluble.
Plate, Negative.The plate in a battery, such as carbon, copper or platinum, which is not attacked by the solution.
Plating, Electro-.The method of coating one metal with another by electrolysis.
Polarity.The peculiarity, in a body, of arranging itself with reference to magnetic influence.
Parallel.When a number of cells are coupled so that their p. 203similar poles are grouped together. That is to say, as the carbon plates, for instance, are connected with one terminal, and all the zinc plates with the other terminal.
Polarization.When the cell is deprived of its electro-motive force, or any part of it, polarization is the result. It is usually caused by coating of the plates.
Porosity.Having small interstices or holes.
Positive Current.One which deflects a needle to the left.
Positive Electricity.Any current flowing from the active element, such as zinc, in a battery. The negative electricity flows from the carbon to the zinc.
Potential, Electric.The power which performs work in a circuit.
Potential Energy.That form of force, which, when liberated, does or performs work.
Power Unit.The volt-amperes or watt.
Primary.The induction coil in induction machines, or in a transformer.
Push Button.A thumb piece which serves as a switch to close a circuit while being pressed inwardly.
Quantity.Such arrangement of electrical connections which give off the largest amount of current.
Receiver.An instrument in telephony and telegraphy which receives or takes in the sound or impulses.
Relay.The device which opens or closes a circuit so as to admit a new current which is sent to a more distant point.
Repulsion, Electric.That tendency in bodies to repel each other when similarly charged.
Resilience.The springing back to its former condition or position. p. 204Electricity has resilience.
Resistance.The quality in all conductors to oppose the passage of a current.
Resistance Coil.A coil made up of wire which prevents the passage of a current to a greater or less degree.
Resistance, Electrolytic.The counter force in an electrolyte which seeks to prevent a decomposing current to pass through it.
Resistance: Internal, External.The opposing force to the movement of a current which is in the cell or generator. This is called the internal. That opposite action outside of the cell or generator is the external.
Resonator, Electric.An open-circuited conductor for electrically resounding or giving back a vibration, usually exhibited by means of a spark.
Rheostat.A device which has an adjustable resistance, so arranged that while adjusting the same the circuit will not be open.
Safety Fuse.A piece of fusible metal of such resistance that it breaks down at a certain current strength.
Saturated.When a liquid has taken up a soluble material to the fullest extent it is then completely saturated.
Secondary.One of the two coils in a transformer, or induction coil.
Secondary Plates.The brown or deep red plates in a storage battery when charged.
Self-excited.Producing electricity by its own current.
Series.Arranged in regular order. From one to the other directly. If lamps, for instance, should be arranged in circuit on a single wire, they would be in series.
Series, Multiple.When lamps are grouped in sets in parallel, and p. 205these sets are then connected up in series.
Series Windings.A generator or motor wound in such a manner that one of the commutator brush connections is joined to the field magnet winding, and the other end of the magnet winding joined to the outer circuit.
Shunt.Going around.
Shunt Winding.A dynamo in which the field winding is parallel with the winding of the armature.
Snap Switch.A switch so arranged that it will quickly make a break.
Sounder.The apparatus at one end of a line actuated by a key at the other end of the line.
Spark Coil.A coil, to make a spark from a low electro-motive force.
Spark, Electric.The flash caused by drawing apart the ends of a conductor.
Specific Gravity.The weight or density of a body.
Static Electricity.Generated by friction. Also lightning. Any current generated by a high electro-motive force.
Strength of Current.The quantity of electricity in a circuit.
Synchronize.Operating together; acting in unison.
Terminal.The end of any electric circuit or of a body or machine which has a current passing through it.
Thermostat, Electric.An electric thermometer. Usually made with a metal coil which expands through the action of the electricity passing through it, and, in expanding, it makes a contact and closes a circuit.
Transformer.The induction coil with a high initial E. M. F. changes into a low electro-motive force.
Unit.A standard of light, heat, electricity, or of other p. 206phenomena.
Vacuum.A space from which all matter has been exhausted.
Vibrator.Mechanism for making and breaking circuits in induction coils or other apparatus.
Volt.The unit of electro-motive force.
Voltage.Electro-motive force which is expressed in volts.
Voltaic.A term applied to electric currents and devices.
Volt-meter.An apparatus for showing the difference of potential, or E. M. F. in the term of volts.
Watt.The unit of electrical activity. The product of amperes multiplied by volts.
Watt Hour.One watt maintained through one hour of time.
Waves, Electric Magnetic.Waves in the ether caused by electro-magnetic disturbances.
X-rays.The radiation of invisible rays of light, which penetrate or pass through opaque substances.
Yoke, or Bar.A soft iron body across the ends of a horseshoe magnet, to enable the magnet to retain its magnetism an indefinite time.
Zinc Battery.A battery which uses zinc for one of its elements.

p. 207

INDEXToC

A

  • Accumulated, 31.
  • Accumulation, 29.
  • Accumulator cell, 87.
  • Accumulators, 82, 88, 89.
  • Accumulators, plates, 83.
  • Acid, 34, 37, 125.
  • Acid maker, 125.
  • Acid, sulphuric, 31, 84.
  • Acidulated, 55.
  • Acidulated water, 34.
  • Acoustics, 110.
  • Actinic rays, 184, 185.
  • Actinium, 186.
  • Active element, 82.
  • Adjustable rod, 107.
  • Adjusting screw, 70, 71, 72, 73, 106.
  • Aerial wire, 108.
  • Agents, 13, 32.
  • Alarms, burglar, 11, 76, 80.
  • Alkali, 125.
  • Alkaline, 37.
  • Alternate, 127.
  • Alternating, 38, 149, 150, 153, 154, 155, 156.
  • Alternating current, 145.
p. 208
  • Armature brush, 48.
  • Armature post, 71.
  • Armature, vertical, 75.
  • Armature winding, 42, 43, 156.
  • Asbestos, 140.
  • Astatic galvanometer, 108.
  • Atmosphere, 184.
  • Attract, 30.
  • Attracted, 72.
  • Attraction, 21, 25.
  • Attractive, 178.
  • Automatic, 120.
  • Auxiliary, 44.
  • Awls, 14.

B

C

p. 209
p. 210
  • Current changing, 82.
  • Current conduction, 27.
  • Current, continuous, 164.
  • Current, direct, 145, 150.
  • Current direction, 50.
  • Current, exterior, 50, 150.
  • Current, reversing, 148.
  • Current strength, 7, 57.
  • Current testing, 143.
  • Cut-out, 120.
  • Cutter, 14.
  • Cutting, lines of force, 38.
  • Cylinder, 44.
  • Cylindrical, 43.

D

p. 211
  • Depression, 15, 140.
  • Detecting current, 49.
  • Detector, 49, 52, 54, 105.
  • Devices, measuring, 27.
  • Diagrams, 46, 48, 79, 89.
  • Diagrammatically, 81.
  • Diamagnetic, 19.
  • Diametrically, 114.
  • Diaphragm, 112, 113, 116, 120, 122.
  • Diamonds, 186.
  • Diluted, 86.
  • Direct current, 38, 140.
  • Direction of current, 50.
  • Direction of flow, 98.
  • Discharge, 172.
  • Disintegrate, 132.
  • Disk, 43.
  • Dissimilar, 37.
  • Disturbance, 176.
  • Dividers, 14.
  • Divisibility, 168.
  • Dot, 96, 97.
  • Dot and dash, 96.
  • Double click, 95.
  • Double line, 65.
  • Double-pole switch, 65.
  • Double-throw switch, 117.
  • Drawing, 20.
  • Drill, ratchet, 13.
  • Drops, 81.
  • Ductile, 186.
  • Duplex wire, 115.

E

p. 212
  • Engine energy, 170, 180.
  • Equidistant, 127.
  • Ether, 104.
  • Example, 61.
  • Excited, 47.
  • Extension plate, 103.
  • Exterior, 3.
  • Exterior magnetic, 27.
  • External, 37.
  • External circuit, 153.
  • External current, 50.
  • External resistance, 37.

F

  • Factor, 61.
  • Ferrous oxide, 125.
  • Field, 46, 47.
  • Field, dynamo, 40, 41.
  • Field magnet cores, 155.
  • Field, magnetic, 38.
  • Field of force, 33.
  • Field wire, 48.
  • Filament, 168, 169, 170.
  • Filter, 128.
  • Flat iron, 140.
  • Flocculent, 128.
  • Force, 50.
  • Formulated, 19.
p. 213
  • Friction, 32.
  • Frictional, 6, 7, 29.
  • Fuse, 169.

G

H

  • Hack-saw, 14.
  • Hammer, 13.
  • Heart-shaped switch, 77.
  • Heater, 136.
  • Heating, 13, 38.
  • Hertzian rays, 170.
  • Hertzian wave, 184.
  • High tension, 38, 102, 184.
  • High tension apparatus, 98.
  • High tension coils, 103.
  • High voltage, 158.
  • Horizontal bar, 46.
  • Horseshoe magnet, 22, 24, 175.
  • Hydrate of aluminum, 129.
  • Hydrogen, 35, 123, 125, 128.

I

p. 214

J

K

  • Key, 90, 91, 95.
  • Key, sending, 90.
  • Knob, 32.
  • Knob, terminal, 31.

L

  • Laboratory, 9.
  • Lead, 31, 136.
  • Lead, precipitated, 83, 85.
  • Lead, red, 83, 84.
  • Lever switching, 67.
  • Light, 104.
  • Light method, 56.
  • Lighting, 9, 38.
  • Lighting circuit, 48.
  • Lighting system, 82.
  • Lightning, 6, 171, 172, 173.
  • Lightning rod, 173.
  • Lime, chloride of, 84.
  • Line of force, 146.
  • Line wire, 122.
  • Line, magnetic, 22, 23.
  • Liquid, 32.
  • Litharge, 83.
  • Loadstone, 17.
  • Locomotives, 165.
  • Low tension, 38, 98, 102, 179.

M

  • Magnet bar, 20.
  • Magnet core, 16, 75, 93.
  • Magnet, electro, 59, 78.
  • Magnet, horseshoe, 22, 25, 175.
p. 215

N

p. 216

O

P

  • Packing ring, 124.
  • Paraffine, 56, 100, 101, 102.
  • Paraffine wax, 86.
  • Parallel, 87, 88, 89.
  • Parallel switch bar, 67.
  • Parallel wires, 28, 49.
  • Partition, 124.
  • Peon, 13.
p. 217

Q

R

p. 218

S

  • Sad-irons, 13.
  • Saline, 133.
  • Sanitation, 12.
  • Saturated, 85.
  • Screw, 15.
  • Screw, binding, 65, 66.
  • Screw-driver, 14.
  • Screw, set, 72.
  • Sealing wax, 53.
  • Secondary, 62, 98, 105, 158, 159, 160.
  • Secondary circuit, 99.
  • Secondary coil, 107, 108.
  • Self-induction, 149, 156.
  • Sender, 90, 97.
  • Sending apparatus, 106.
  • Sending key, 90.
  • Separately excited, 46.
p. 219
  • Stock contact, 121.
  • Storage, 82.
  • Storage battery, 107.
  • Storing, 82.
  • Substances, 135.
  • Sulphate, 55, 128, 133.
  • Sulphur, 19.
  • Sulphuric acid, 31, 84.
  • Sulphuric acid voltameter, 55, 57.
  • Superstition, 171, 173.
  • Surging, 153, 154.
  • Swinging magnet, 53.
  • Swinging switch blade, 67.
  • Switch blades, 66.
  • Switches, 65, 66, 70, 77, 78, 90, 117.
  • Switches, bar, 65, 68, 90, 91.
  • Switches, bar, parallel, 67.
  • Switches, heart-shaped, 78.
  • Switches, piece, 77.
  • Switches, reversing, 67.
  • Switches, sliding, 67, 80.
  • Switches, terminal, 8.
  • Switches, two-pole, 65.
  • System, circuiting, 79.

T

  • Tail-piece, 16.
  • Tantalum, 169.
  • Telegraph, 11, 90, 96.
p. 220

U

  • Ultra-violet, 185.
  • Uranium, 186.

V

W

p. 221
  • Wiring, 80.
  • Wiring, window, 77.
  • Workshop, 11, 17.
  • Wound, compound, 48.
  • Wound-series, 47.
  • Wound-shunt, 47.

X

Z


THE "HOW-TO-DO-IT" BOOKS


Carpentry for Boys

A book which treats, in a most practical and fascinating manner all subjects pertaining to the "King of Trades"; showing the care and use of tools; drawing; designing, and the laying out of work; the principles involved in the building of various kinds of structures, and the rudiments of architecture. It contains over two hundred and fifty illustrations made especially for this work, and includes also a complete glossary of the technical terms used in the art. The most comprehensive volume on this subject ever published for boys.


Electricity for Boys

The author has adopted the unique plan of setting forth the fundamental principles in each phase of the science, and practically applying the work in the successive stages. It shows how the knowledge has been developed, and the reasons for the various phenomena, without using technical words so as to bring it within the compass of every boy. It has a complete glossary of terms, and is illustrated with two hundred original drawings.


Practical Mechanics for Boys

This book takes the beginner through a comprehensive series of practical shop work, in which the uses of tools, and the structure and handling of shop machinery are set forth; how they are utilized to perform the work, and the manner in which all dimensional work is carried out. Every subject is illustrated, and model building explained. It contains a glossary which comprises a new system of cross references, a feature that will prove a welcome departure in explaining subjects. Fully illustrated.


Price 60 cents per volume

THE NEW YORK BOOK COMPANY

147 Fourth Avenue          New York

Transcriber's Note:

Every effort has been made to replicate this text as faithfully as possible, including obsolete and variant spellings and other inconsistencies. Obvious spelling/typographical and punctuation errors have been corrected after careful comparison with other occurrences within the text and consultation of external sources. Minor punctuation and printing errors have been amended without note.

The first page of the original book is an advertisement. The page was moved to the end of the text.

Two occurrences of 'Colorimeter' for 'Calorimeter' repaired.

Some hyphenation inconsistencies in the text were retained:
    16-candle-power and 16-candlepower,
    Electromotive and electro-motive,
    Electro-meter and Electrometer,
    Horseshoe and horse-shoe,
    Switchboard and switch-board.