Title: Scientific American Supplement No. 819, September 12, 1891
Author: Various
Release date: February 9, 2005 [eBook #14990]
Most recently updated: December 19, 2020
Language: English
Other information and formats: www.gutenberg.org/ebooks/14990
Credits: Produced by Juliet Sutherland and the PG Online Distributed
Proofreading Team at www.pgdp.net
All attempts to prepare gaseous fluids industrially were premature as long as there were no means of carrying them under a sufficiently diminished volume. For a few years past, the trade has been delivering steel cylinders that permit of storing, without the least danger, a gas under a pressure of from 120 to 200 atmospheres. The problem of delivery without pipe laying having been sufficiently solved, that of the industrial production of gases could be confronted in its turn. Liquefied sulphurous acid, chloride of methyl, and carbonic acid have been successively delivered, to commerce. The carbonic acid is now being used right along in laboratories for the production of an intense coldness, through its expansion. Oxygen and nitrogen, prepared by chemical processes, soon followed, and now the industrial electrolysis of water is about to permit of the delivery, in the same manner, of very pure oxygen and hydrogen at a price within one's reach.
Before describing the processes employed in this preparation, we must answer a question that many of our readers might be led to ask us, and that is, what can these gases be used for? We shall try to explain. A prime and important application of pure hydrogen is that of inflating balloons. Illuminating gas, which is usually employed for want of something better, is sensibly denser than hydrogen and possesses less ascensional force, whence the necessity of lightening the balloon or of increasing its volume. Such inconveniences become serious with dirigible balloons, whose surface, on the contrary, it is necessary to diminish as much as possible. When the increasing interest taken in aerostation at Paris was observed, an assured annual output of some hundreds of cubic meters of eras for the sole use of balloons was foreseen, the adoption of pure hydrogen being only a question of the net cost.
Pure or slightly carbureted hydrogen is capable of being substituted to advantage for coal gas for heating or lighting. Such an application is doubtless somewhat premature, but we shall see that it has already got out of the domain of Utopia. Finally the oxyhydrogen blowpipe, which is indispensable for the treatment of very refractory metals, consumes large quantities of hydrogen and oxygen.
For a few years past, oxygen has been employed in therapeutics; it is found in commerce either in a gaseous state or in solution in water (in siphons); it notably relieves persons afflicted with asthma or depression; and the use of it is recommended in the treatment of albumenuria. Does it cure, or at least does it contribute to cure, anæmia, that terrible affection of large cities, and the prime source of so many other troubles? Here the opinions of physicians and physiologists are divided, and we limit ourselves to a mention of the question without discussing it.
Only fifteen years ago it would have been folly to desire to obtain remunerative results through the electrolysis of water. Such research was subordinated to the industrial production of electric energy.
We shall not endeavor to establish the priority of the experiments and discoveries. The question was in the air, and was taken up almost simultaneously by three able experimenters—a Russian physicist, Prof. Latchinof, of St. Petersburg, Dr. D'Arsonval, the learned professor of the College of France, and Commandant Renard, director of the military establishment of aerostation at Chalais. Mr. D'Arsonval collected oxygen for experiments in physiology, while Commandant Renard naturally directed his attention to the production of pure hydrogen. The solutions of the question are, in fact, alike in principle, and yet they have been developed in a very different manner, and we believe that Commandant Renard's process is the completest from an industrial standpoint. We shall give an account of it from a communication made by this eminent military engineer, some time ago, to the French Society of Physics.
Transformations of the Voltameter.—In a laboratory, it is of no consequence whether a liter of hydrogen costs a centime or a franc. So long as it is a question of a few liters, one may, at his ease, waste his energy and employ costly substances.
The internal resistance of a voltameter and the cost of platinum electrodes of a few grammes should not arrest the physicist in an experiment; but, in a production on a large scale, it is necessary to decrease the resistance of the liquid column to as great a degree as possible—that is to say, to increase its section and diminish its thickness. The first condition leads to a suppression of the platinum, and the second necessitates the use of new principles in the construction of the voltameter. A laboratory voltameter consists either of a U-shaped tube or of a trough in which the electrodes are covered by bell glasses (Fig. 1, A and B). In either case, the electric current must follow a tortuous and narrow path, in order to pass from one electrode to the other, while, if the electrodes be left entirely free in the bath, the gases, rising in a spreading form, will mix at a certain height. It is necessary to separate them by a partition (Fig. 1, C). If this is isolating and impermeable, there will be no interest in raising the electrodes sensibly above its lower edge. Now, the nearer together the electrodes are, the more it is necessary to lower the partition. The extension of the electrodes and the bringing of them together is the knotty part of the question. This will be shown by a very simple calculation.

FIG. 1.—A, B, COMMONEST FORMS OF LABORATORY
VOLTAMETERS. C, DIAGRAM SHOWING ASCENT OF BUBBLES IN A VOLTAMETER.
The visible electrolysis of water begins at an E.M.F. of about 1.7 V. Below this there is no disengagement of bubbles. If the E.M.F. be increased at the terminals of the voltameter, the current (and consequently the production of gas) will become proportional to the excess of the value over 1.7 V; but, at the same time, the current will heat the circuit—that is to say, will produce a superfluous work, and there will be waste. At 1.7 V the rendering is at its maximum, but the useful effect is nil. In order to make an advantageous use of the instruments, it is necessary to admit a certain loss of energy, so much the less, moreover, in proportion as the voltameters cost less; and as the saving is to be effected in the current, rather than in the apparatus, we may admit the use of three volts as a good proportion—that is to say, a loss of about half the disposable energy. Under such conditions, a voltameter having an internal resistance of 1 ohm produces 0.65 liter of hydrogen per hour, while it will disengage 6.500 liters if its resistance be but 0.0001 of an ohm. It is true that, in this case, the current would be in the neighborhood of 15,000 amperes. Laboratory voltameters frequently have a resistance of a hundred ohms; it would require a million in derivation to produce the same effect. The specific resistance of the solutions that can be employed in the production of gases by electrolysis is, in round numbers, twenty thousand times greater than that of mercury. In order to obtain a resistance of 0.0001 of an ohm, it is necessary to sensibly satisfy the equation
20,000 l/s = 1/10,000
l expressing the thickness of the voltameter expressed in meters, and s being the section in square millimeters. For example: For l = 1/10, s = 20,000,000, say 20 square meters. It will be seen from this example what should be the proportions of apparatus designed for a production on a large scale.
The new principles that permit of the construction of such voltameters are as follows: (1) the substitution of an alkaline for the acid solution, thus affording a possibility of employing iron electrodes; (2) the introduction of a porous partition between the electrodes, for the purpose of separating the gases.
Electrolytic Liquid.—Commandant Renard's experiments were made with 15 per cent, solution of caustic soda and water containing 27 per cent. of acid. These are the proportions that give the maximum of conductivity. Experiments made with a voltameter having platinum electrodes separated by an interval of 3 or 4 centimeters showed that for a determinate E.M.F. the alkaline solution allows of the passage of a slighter intenser current than the acidulated water, that is to say, it is less resistant and more advantageous from the standpoint of the consumption of energy.
Porous Partition.—Let us suppose that the two parts of the trough are separated by a partition containing small channels at right angles with its direction. It is these channels alone that must conduct the electricity. Their conductivity (inverse of resistance) is proportional to their total section, and inversely proportional to their common length, whatever be their individual section. It is, therefore, advantageous to employ partitions that contain as many openings as possible.
The separating effect of these partitions for the gas is wholly due to capillary phenomena. We know, in fact, that water tends to expel gas from a narrow tube with a pressure inversely proportional to the tube's radius. In order to traverse the tube, the gaseous mass will have to exert a counter-pressure greater than this capillary pressure. As long as the pressure of one part and another of the wet wall differs to a degree less than the capillary pressure of the largest channel, the gases disengaged in the two parts of the trough will remain entirely separate. In order that the mixing may not take place through the partition above the level of the liquid (dry partition), the latter will have to be impenetrable in every part that emerges. The study of the partitions should be directed to their separating effect on the gases, and to their electric resistance. In order to study the first of these properties, the porous partition, fixed by a hermetical joint to a glass tube, is immersed in the water (Fig. 2). An increasing pressure is exerted from the interior until the passage of bubbles is observed. The pressure read at this moment on the manometer indicates (transformed above the electrolytic solution) the changes of level that the bath may undergo. The different porcelains and earths behave, from this point of view, in a very unequal manner. For example, an earthen vessel from the Pillivayt establishment supports some decimeters of water, while the porcelain of Boulanger, at Choisy-le-Roi, allows of the passage of the gas only at pressures greater than one atmosphere, which is much more than is necessary. Wire gauze, canvas, and asbestos cloth resist a few centimeters of water. It might be feared, however, that the gases, violently projected against these partitions, would not pass, owing to the velocity acquired. Upon this point experiment is very reassuring. After filling with water a canvas bag fixed to the extremity of a rubber tube, it is possible to produce in the interior a tumultuous disengagement of gas without any bubbles passing through.

FIG. 2.—ARRANGEMENT FOR THE STUDY OF CAPILLARY REACTION IN POROUS VESSELS.
From an electrical point of view, partitions are of very unequal quality. Various partitions having been placed between electrodes spaced three centimeters apart, currents were obtained which indicated that, with the best of porcelains, the rendering of the apparatus is diminished by one-half. Asbestos cloth introduces but an insignificant resistance.
To this inconvenience of porous vessels is added their fragility, their high price, and the impossibility of obtaining them of the dimensions that large apparatus would call for. The selection of asbestos cloth is therefore clearly indicated; but, as it does not entirely separate the gases, except at a pressure that does not exceed a few centimeters of water, it was always necessary to bring back the variation of the level to these narrow limits by a special arrangement. We cannot, in fact, expect that the entire piping shall be always in such conditions that no difference in pressure can occur. The levels are brought back to equality within the effective limits by interposing between the voltameter and the piping an apparatus called a compensator, which consists of two vessels that communicate in the interior part through a large tube. The gases enter each vessel through a pipe that debouches beneath the level of the water. If a momentary stoppage occurs in one of the conduits, the water changes level in the compensator, but the pressure remains constant at the orifice of the tubes. The compensator is, as may be seen, nothing more than a double Mariotte flask. When it is desired to obtain pure gases, there is introduced into the compensator a solution of tartaric acid, which retains the traces of alkalies carried along by the current of gas. The alkaline solution, moreover, destroys the ozone at the moment of its formation.
It will be seen that laboratory studies have furnished all the elements of a problem which is now capable of entering the domain of practice. The cheapness of the raw materials permits of constructing apparatus whose dimensions will no longer be limited except by reasons of another nature. The electrodes may be placed in proximity at will, owing to the use of the porous partition. It may be seen, then, that the apparatus will have a considerable useful effect without its being necessary to waste the electric energy beyond measure.
Industrial Apparatus.—We have shown how the very concise researches of Commandant Renard have fixed the best conditions for the construction of an industrial voltameter. It remains for us to describe this voltameter itself, and to show the rendering of it.

FIG. 3.—PLANT FOR THE INDUSTRIAL ELECTROLYSIS OF WATER.
The industrial voltameter consists of a large iron cylinder. A battery of such voltameters is shown to the left of Fig. 3, and one of the apparatus, isolated, is represented in Fig. 4. The interior electrode is placed in an asbestos cloth bag, which is closed below and tied at its upper part. It is provided with apertures which permit of the ascent of the gases in the interior of the cylinder. The apparatus is hermetically sealed at the top, the two electrodes being naturally insulated with rubber. Above the level of the liquid the interior electrode is continuous and forms a channel for the gas. The hydrogen and oxygen, escaping through the upper orifices, flow to the compensator. The apparatus is provided with an emptying cock or a cock for filling with distilled water, coming from a reservoir situated above the apparatus.
FIG. 4.—DETAILS OF AN INDUSTRIAL VOLTAMETER.
The constants of the voltameter established by Commandant Renard are as follows:
| Height of | external | electrode | 3.405 m. |
| " | internal | " | 3.290 m. |
| Diameter of | external | " | 0.300 m. |
| " | internal | " | 0.174 m. |
The iron plate employed is 2 millimeters in thickness. The electric resistance is about 0.0075 ohm. The apparatus gives 365 amperes under 2.7 volts, and consequently nearly 1 kilowatt. Its production in hydrogen is 158 liters per hour.
It is clear that, in an industrial exploitation, a dynamo working under 3 volts is never employed. In order to properly utilize the power of the dynamo, several voltameters will be put in series—a dozen, for example, if the generating machine is in proximity to the apparatus, or a larger number if the voltameters are actuated by a dynamo situated at a distance, say in the vicinity of a waterfall. Fig. 3 will give an idea of a plant for the electrolysis of water.
It remains for us to say a few words as to the net cost of the hydrogen and oxygen gases produced by the process that we have just described. We may estimate the value of a voltameter at a hundred francs. If the apparatus operates without appreciable wear, the amortizement should be calculated at a very low figure, say 10 per cent., which is large. In continuous operation it would produce more than 1,500 cubic meters of gas a year, say a little less than one centime per cubic meter. The caustic soda is constantly recuperated and is never destroyed. The sole product that disappears is the distilled water. Now one cubic meter of water produces more than 2,000 cubic meters of gas. The expense in water, then, does not amount to a centime per cubic meter. The great factor of the expense resides in the electric energy. The cost of surveillance will be minimum and the general expenses ad libitum.
Let us take the case in which the energy has to be borrowed from a steam engine. Supposing very small losses in the dynamo and piping, we may count upon a production of one cubic meter of hydrogen and 500 cubic decimeters of oxygen for 10 horse-power taken upon the main shaft, say an expenditure of 10 kilogrammes of coal or of about 25 centimes—a little more in Paris, and less in coal districts. If, consequently, we fix the price of the cubic meter of gas at 50 centimes, we shall preserve a sufficient margin. In localities where a natural motive power is at our disposal, this estimate will have to be greatly reduced. We may, therefore, expect to see hydrogen and oxygen take an important place in ordinary usages. From the standpoint alone of preservation of fuel, that is to say, of potential energy upon the earth, this new conquest of electricity is very pleasing. Waterfalls furnish utilizable energy in every locality, and, in the future, will perhaps console our great-grandchildren for the unsparing waste that we are making of coal.—La Nature.
[Continued from SUPPLEMENT, No. 818, page 13066.]
I will now invite your attention to the wind instruments, which, in Handel's time, were chiefly used to double in unison the parts of stringed instruments. Their modern independent use dates from Haydn; it was extended and perfected by Mozart, Beethoven, and Weber; and the extraordinary changes and improvements which have been effected during the present century have given wind instruments an importance that is hardly exceeded by that of the stringed, in the formation of the modern orchestra. The military band, as it now exists, is a creation of the present century.
The so-called wood wind instruments are the flute, oboe, bassoon, and clarinet. It is as well to say at once that their particular qualities of tone do not absolutely depend upon the materials of which they are made. The form is the most important factor in determining the distinction of tone quality, so long as the sides of the tube are equally elastic, as has been submitted to proof by instruments made of various materials, including paper. I consider this has been sufficiently demonstrated by the independent experiments of Mr. Blaikley, of London, and Mr. Victor Mahillon, of Brussels. But we must still allow Mr. Richard Shepherd Rockstro's plea, clearly set forth in a recently published treatise on the flute, that the nature and the substance of the tube, by reciprocity of vibration, exercise some influence, although not so great as might have been expected, on the quality of the tone. But I consider this influence is already acknowledged in my reference to equality of elasticity in the sides of the tube.
The flute is an instrument of embouchure—that is to say, one in which a stream of air is driven from the player's lips against an edge of the blow hole to produce the sound. The oboe and bassoon have double reeds, and the clarinet a single reed, made of a species of cane, as intermediate agents of sound production. There are other flutes than that of embouchure—those with flageolet or whistle heads, which, having become obsolete, shall be reserved for later notice. There are no real tenor or bass flutes now, those in use being restricted to the upper part of the scale. The present flute dates from 1832, when Theobald Boehm, a Bavarian flute player, produced the instrument which is known by his name. He entirely remodeled the flute, being impelled to do so by suggestions from the performance of the English flautist, Charles Nicholson, who had increased the diameter of the lateral holes, and by some improvements that had been attempted in the flute by a Captain Gordon, of Charles the Tenth's Swiss Guard. Boehm has been sufficiently vindicated from having unfairly appropriated Gordon's ideas. The Boehm flute, since 1846, is a cylindrical tube for about three-fourths of its length from the lower end, after which it is continued in a curved conical prolongation to the cork stopper. The finger holes are disposed in a geometrical division, and the mechanism and position of the keys are entirely different from what had been before. The full compass of the Boehm flute is chromatic, from middle C to C, two octaves above the treble clef C, a range of three octaves, which is common to all concert flutes, and is not peculiar to the Boehm model. Of course this compass is partly produced by altering the pressure of blowing. Columns of air inclosed in pipes vibrate like strings in sections, but, unlike strings, the vibrations progress in the direction of length, not across the direction of length. In the flute, all notes below D, in the treble clef, are produced by the normal pressure of wind; by an increasing pressure of overblowing the harmonics, D in the treble clef, and A and B above it, are successively attained. The fingerholes and keys, by shortening the tube, fill up the required intervals of the scale. There are higher harmonics still, but flautists generally prefer to do without them when they can get the note required by a lower harmonic. In Boehm's flute, his ingenious mechanism allows the production of the eleven chromatic semitones intermediate between the fundamental note of the flute and its first harmonic, by holes so disposed that, in opening them successively, they shorten the column of air in exact proportion. It is, therefore, ideally, an equal temperament instrument and not a D major one, as the conical flute was considered to be. Perhaps the most important thing Boehm did for the flute was to enunciate the principle that, to insure purity of tone and correct intonation, the holes must be put in their correct theoretical positions; and at least the hole below the one giving he sound must be open, to insure perfect venting. Boehm's flute, however, has not remained as he left it. Improvements, applied by Clinton, Pratten, and Carte, have introduced certain modifications in the fingering, while retaining the best features of Boehm's system. But it seems to me that the reedy quality obtained from the adoption of the cylindrical bore which now prevails does away with the sweet and characteristic tone quality of the old conical German flute, and gives us in its place one that is not sufficiently distinct from that of the clarinet.
The flute is the most facile of all orchestral wind instruments; and the device of double tonguing, the quick repetition of notes by taking a staccato T-stop in blowing, is well known. The flute generally goes with the violins in the orchestra, or sustains long notes with the other wood wind instruments, or is used in those conversational passages with other instruments that lend such a charm to orchestral music. The lower notes are not powerful. Mr. Henry Carte has, however, designed an alto flute in A, descending to violin G, with excellent results. There is a flute which transposes a minor third higher than the ordinary flute; but it is not much used in the orchestra, although used in the army, as is also a flute one semitone higher than the concert flute. The piccolo, or octave flute, is more employed in the orchestra, and may double the melody in the highest octave, or accentuate brilliant points of effect in the score. It is very shrill and exciting in the overblown notes, and without great care may give a vulgar character to the music, and for this reason Sir Arthur Sullivan has replaced it in the score of "Ivanhoe" by a high G flute. The piccolo is exactly an octave higher than the flute, excepting the two lowest notes of which it is deficient. The old cylindrical ear-piercing fife is an obsolete instrument, being superseded by a small army flute, still, however, called a fife, used with the side drum in the drum and fife band.
The transverse or German flute, introduced into the orchestra by Lulli, came into general use in the time of Handel; before that the recorders, or flute douces, the flute à bec with beak or whistle head, were preferred. These instruments were used in a family, usually of eight members, viz., as many sizes from treble to bass; or in three, treble, alto or tenor, and bass. A fine original set of those now rare instruments, eight in number, was shown in 1890 in the music gallery of the Royal Military Exhibition, at Chelsea; a loan collection admirably arranged by Captain C.B. Day. They were obtained from Hesse Darmstadt, and had their outer case to preserve them exactly like the recorder case represented in the painting by Holbein of the ambassadors, or rather, the scholars, recently acquired for the National Gallery. The flageolet was the latest form of the treble, beak, or whistle head flute. The whistle head is furnished with a cavity containing air, which, shaped by a narrow groove, strikes against the sharp edge and excites vibration in the conical pipe, on the same principle that an organ pipe is made to sound, or of the action of the player's mouth and lips upon the blowhole of the flute. As it will interest the audience to hear the tone of Shakespeare's recorder, Mr. Henry Carte will play an air upon one.
The oboe takes the next place in the wood wind band. The principle of sound excitement, that of the double reed, originating in the flattening of the end of an oat or wheat straw, is of great antiquity, but it could only be applied by insertion in tubes of very narrow diameter, so that the column of air should not be wider than the tongue straw or reed acting upon it. The little reed bound round and contracted below the vibrating ends in this primitive form permitted the adjustment of the lower open end in the tube, it might be another longer reed or pipe which inclosed the air column; and thus a conical pipe that gradually narrows to the diameter of the tongue reed must have been early discovered, and was the original type of the pastoral and beautiful oboe of the modern orchestra. Like the flute, the oboe has only the soprano register, extending from B flat or natural below middle C to F above the treble clef, two octaves and a fifth, which a little exceeds the flute downward. The foundation of the scale is D major, the same as the flute was before Boehm altered it. Triebert, a skillful Parisian maker, tried to adapt Boehm's reform of the flute to the oboe, but so far as the geometrical division of the scale was concerned, he failed, because it altered the characteristic tone quality of the instrument, so desirable for the balance of orchestral coloration. But the fingering has been modified with considerable success, although it is true by a much greater complication of means than the more simple contrivances that preceded it, which are still preferred by the players. The oboe reed has been much altered since the earlier years of this century. It was formerly more like the reed of the shawm, an instrument from which the oboe has been derived; and that of the present bassoon. It is now made narrower, with much advantage in the refinement of the tone. As in the flute, the notes up to C sharp in the treble clef are produced by the normal blowing, and simply shortening the tube by opening the sound holes. Beyond that note, increased pressure, or overblowing, assisted by a harmonic "speaker" key, produces the first harmonic, that of the octave, and so on. The lowest notes are rough and the highest shrill; from A to D above the treble clef, the tone quality of the oboe is of a tender charm in melody. Although not loud, its tone is penetrating and prominent. Its staccato has an agreeable effect. The place of the oboe in the wood wind band between the flute and the clarinet, with the bassoon for a bass, is beyond the possibility of improvement by any change.
Like the flute, there was a complete family of oboes in the sixteenth and early in the seventeenth century; the little schalmey, the discant schalmey, from which the present oboe is derived; the alto, tenor, pommer, and bass pommers, and the double quint or contrabass pommer.
In all these old finger hole instruments the scale begins with the first hole, a note in the bagpipe with which the drones agree, and not the entire tube. From the bass and double quint pommers came ultimately the bassoon and contra-bassoon, and from the alto pommer, an obsolete instrument for which Bach wrote, called the oboe di caccia, or hunting oboe, an appellation unexplained, unless it had originally a horn-like tone, and was, as it has been suggested to me by Mr. Blaikley, used by those who could not make a real hunting horn sound. It was bent to a knee shape to facilitate performance. It was not exactly the cor Anglais or English horn, a modern instrument of the same pitch which is bent like it, and of similar compass, a fifth below the usual oboe. The tenoroon, with which the oboe di caccia has been compared, was a high bassoon really on octave and a fifth below. It has been sometimes overlooked that there are two octaves in pitch between the oboe and bassoon, which has led to some confusion in recognizing these instruments. There was an intermediate instrument a third lower than the oboe, used by Bach, called the oboe d'amore, which was probably used with the cornemuse or bagpipe, and another, a third higher than the oboe, called musette (not the small bagpipe of that name). The cor Anglais is in present use. It is a melancholy, even mournful instrument, its sole use in the orchestra being very suitable for situations on the stage, the effect of which it helps by depressing the mind to sadness. Those who have heard Wagner's "Tristan und Isolde" will remember, when the faithful Kurwenal sweeps the horizon, and sees no help coming on the sea for the dying Tristan, how pathetically the reed pipe of a careless peasant near, played in the orchestra on a cor Anglais, colors the painful situation.
The bassoon is the legitimate bass to the oboe and to the wood wind in general. It was evolved in the sixteenth century from the pommers and bombards: the tenors and basses of the shawm or oboe family. With the older instruments, the reeds were not taken hold of immediately by the lips, but were held in a kind of cup, called pirouette, which only allowed a very small part of the reed to project. In the oboe and bassoon the player has the full control of the reed with the lips, which is of great importance, both in expression and intonation. The bassoon economizes length, by being turned back upon itself, and, from its appearance, obtains in Italy and Germany the satirical appellation of "fagotto" or "fagott." It is made of wood, and has not, owing to many difficulties as yet unsurmounted, undergone those changes of construction that have partly transformed other wood wind instruments. From this reason—and perhaps the necessity of a bassoon player becoming intimately familiar with his instrument—bassoons by some of the older makers—notably, Savory—are still sought after, in preference to more modern ones. The instrument, although with extraordinary advantages in tone, character, and adaptability, that render it valuable to the composer, is yet complicated and capricious for the performer; but its very imperfections remove it from the mechanical tendencies of the age, often damaging to art; and, as the player has to rely very much upon his ear for correct intonation, he gets, in reality, near to the manipulation of the stringed instruments. The bassoons play readily with the violoncellos, their united tone being often advantageous for effect. When not so used, it falls back into its natural relationship with the wood wind division of the orchestra. The compass of the bassoon is from B flat, an octave below that in the bass clef, to B flat in the treble clef, a range of three octaves, produced by normal pressure, as far as the bass clef F. The F below the bass clef is the true lowest note, the other seven semitones descending to the B flat being obtained by holes and keys in the long joint and bell. These extra notes are not overblown. The fundamental notes are extended as in the oboes and flutes by overflowing to another octave, and afterward to the twelfth. In modern instruments yet higher notes, by the contrivance of small harmonic holes and cross fingerings, can be secured. Long notes, scales, arpeggios, are all practicable on this serviceable instrument, and in full harmony with clarinets, or oboes and horns, it forms part of a rich and beautiful combination. There is a very telling quality in the upper notes of the bassoon of which composers have made use. Structurally, a bassoon consists of several pieces, the wing, butt, long joints, and bell, and when fitted together, they form a hollow cone of about eight feet long, the air column tapering in diameter from three-sixteenths of an inch at the reed to one and three-quarter inches at the bell end.
The bending back at the butt joint is pierced in one piece of wood, and the prolongation of the double tube is usually stopped by a flattened oval cork, but in some modern bassoons this is replaced by a properly curved tube. The height is thus reduced to a little over four feet, and the holes, assisted by the artifice of piercing them obliquely, are brought within reach of the fingers. The crook, in the end of which the reed is inserted, is about twelve inches long, and is adjusted to the shorter branch.
The contra-bassoon is an octave lower than the bassoon, which implies that it should go down to the double B flat, two octaves below that in the bass clef, but it is customary to do without the lowest as well as the highest notes of this instrument. It is rarely used, but should not be dispensed with. Messrs. Mahillon, of Brussels, produce a reed contra-bass of metal, intended to replace the contra-bassoon of wood, but probably more with the view of completing the military band than for orchestral use. It is a conical brass tube of large proportions, with seventeen lateral holes of wide diameter and in geometrical relation, so that for each sound one key only is required. The compass of this contra-bass lies between D in the double bass octave and the lower F of the treble clef.
The sarrusophones of French invention are a complete family, made in brass and with conical tubes pierced according to geometric relation, so that the sarrusophone is more equal than the oboe it copies and is intended, at least for military music, to replace. Being on a larger scale, the sarrusophones are louder than the corresponding instruments of the oboe family. There are six sarrusophones, from the sopranino in E flat to the contra-bass in B flat; and to replace the contra-bassoon in the orchestra there is a lower contrabass sarrusophone made in C, the compass of which is from the double bass octave B flat to the higher G in the bass clef.
Before leaving the double reed wind instruments, a few words should be said of a family of instruments in the sixteenth century as important as the schalmeys, pommers, and bombards, but long since extinct. This was the cromorne, a wooden instrument with cylindrical column of air; the name is considered to remain in the cremona stop of the organ. The lower end is turned up like a shepherd's crook reversed, from whence the French name "tournebout." Cromorne is the German "krummhorn;" there is no English equivalent known.
The tone, as in all the reed instruments of the period, was strong and often bleating. The double reed was inclosed in a pirouette, or cup, and the keys of the tenor or bass, just the same as with similar flutes and bombards, were hidden by a barrel-shaped cover, pierced with small openings, apparently intended to modify the too searching tone as well as to protect the touch pieces which moved the keys. The compass was limited to fundamental notes, and from the cylindrical tube and reed was an octave lower in pitch than the length would show. In all these instruments provision was made in the holes and keys for transposition of the hands according to the player's habit of placing the right or left hand above the other. The unused hole was stopped with wax. There is a fine and complete set of four cromornes in the museum of the Conservatoire at Brussels.
We must also place among double-reed instruments the various bagpipes, cornemuses, and musettes, which are shawm or oboe instruments with reservoirs of air, and furnished with drones inclosing single reeds. I shall have more to say about the drone in the third lecture. In restricting our attention to the Highland bagpipe, with which we are more or less familiar, it is surprising to find the peculiar scale of the chaunter, or finger pipe, in an old Arabic scale, still prevailing in Syria and Egypt. Dr. A.J. Ellis' lecture on "The Musical Scales of Various Nations," read before the Society of Arts, and printed in the Journal of the Society, March 27, 1885, No. 1688, vol. xxxiii., and in an appendix, October 30, 1885, in the same volume, should be consulted by any one who wishes to know more about this curious similarity.
We have now arrived at the clarinet. Although embodying a very ancient principle—the "squeaker" reed which our little children still make, and continued in the Egyptian arghool—the clarinet is the most recent member of the wood wind band. The reed initiating the tone by the player's breath is a broad, single, striking or beating reed, so called because the vibrating tongue touches the edges of the body of the cutting or framing. A cylindrical pipe, as that of the clarinet, drops, approximately, an octave in pitch when the column of air it contains is set up in vibration by such a reed, because the reed virtually closes the pipe at the end where it is inserted, and like a stopped organ pipe sets up a node of maximum condensation or rarefaction at that end. This peculiarity interferes with the resonance of the even-numbered partials of the harmonic scale, and permits only the odd-numbered partials, 1, 3, 5, and so on, to sound. The first harmonic, as we find in the clarinet, is therefore the third partial, or twelfth of the fundamental note, and not the octave, as in the oboe and flute.
In the oboe the shifting of the nodes in a conical tube open at its base, and narrowing to its apex, permits the resonance of the complete series of the harmonic scale, 1, 2, 3, 4, 5, and upward. The flute has likewise the complete series, because through the blowhole it is a pipe open at both ends. But while stating the law which governs the pitch and harmonic scale of the clarinet, affirmed equally by observation and demonstration, we are left at present with only the former when regarding two very slender, almost cylindrical reed pipes, discovered in 1889 by Mr. Flinders Petrie while excavating at Fayoum the tomb of an Egyptian lady named Maket. Mr. Petrie dates these pipes about 1100 B.C., and they were the principal subject of Mr. Southgate's recent lectures upon the Egyptian scale.
Now Mr. J. Finn, who made these ancient pipes sound at these lectures with an arghool reed of straw, was able upon the pipe which had, by finger holes, a tetrachord, to repeat that tetrachord a fifth higher by increased pressure of blowing, and thus form an octave scale, comprising eight notes. "Against the laws of nature," says a friend of mine, for the pipe having dropped more than an octave through the reed, was at its fundamental pitch, and should have overblown a twelfth.
But Mr. Finn allows me to say with reference to those reeds, perhaps the oldest sounding musical instruments known to exist, that his experiments with straw reeds seem to indicate low, medium, and high octave registers. The first and last difficult to obtain with reeds as made by us. He seeks the fundamental tones of the Maket pipes in the first or low register, an octave below the normal pitch. By this the fifths revert to twelfths. I offer no opinion, but will leave this curious phenomenon to the consideration of my friends, Mr. Blaikley, Mr. Victor Mahillon, and Mr. Hermann Smith, acousticians intimate with wind instruments.
The clarinet was invented about A.D. 1700, by Christopher Denner, of Nuremberg. By his invention, an older and smaller instrument, the chalumeau, of eleven notes, without producible harmonics, was, by an artifice of raising a key to give access to the air column at a certain point, endowed with a harmonic series of eleven notes a twelfth higher. The chalumeau being a cylindrical pipe, the upper partials could only be in an odd series, and when Denner made them speak, they were consequently not an octave, but a twelfth above the fundamental notes. Thus, an instrument which ranged, with the help of eight finger holes and two keys, from F in the bass clef to B flat in the treble had an addition given to it at once of a second register from C in the treble clef to E flat above it. The scale of the original instrument is still called chalumeau by the clarinet player; about the middle of the last century it was extended down to E. The second register of notes, which by this lengthening of pipe started from B natural, received the name of clarinet, or clarionet, from the clarino or clarion, the high solo trumpet of the time it was expected that this bright harmonic series would replace.
This name of clarinet, or clarionet, became accepted for the entire instrument, including the chalumeau register. It is the communication between the external air and the upper part of the air column in the instrument which, initiating a ventral segment or loop of vibration, forces the air column to divide for the next possible partial, the twelfth, that Denner has the merit of having made practicable. At the same time the manipulation of it presents a difficulty in learning the instrument. It is in the nature of things that there should be a difference of tone quality between the lower and upper registers thus obtained; and that the highest fundamental notes, G sharp, A and B flat, should be colorless compared with the first notes of the overblown series. This is a difficulty the player has to contend with, as well as the complexity of fingering, due to there being no less than eighteen sound holes. Much has been done to graft Boehm's system of fingering upon the clarinet, but the thirteen key system, invented early in this century by Iwan Muller, is still most employed. The increased complication of mechanism is against a change, and there is even a stronger reason, which I cannot do better than translate, in the appropriate words of M. Lavoix fils, the author of a well-known and admirable work upon instrumentation:
"Many things have still to be done, but inventors must not lose the point in view, that no tone quality is more necessary to the composer than that of the clarinet in its full extent; that it is very necessary especially to avoid melting together the two registers of chalumeau and clarinet, so distinct from each other. If absolute justness for these instruments is to be acquired at the price of those inestimable qualities, it would be better a hundred times to leave it to virtuosi, thanks to their ability, to palliate the defects of their instrument, rather than sacrifice one of the most beautiful and intensely colored voices of our orchestra."
There are several clarinets of various pitches, and formerly more than are used now, owing to the difficulty of playing except in handy keys. In the modern orchestra the A and B flat clarinets are the most used; in the military band, B flat and E flat. The C clarinet is not much used now. All differ in tone and quality; the A one is softer than the B flat; the C is shrill. The B flat is the virtuoso instrument. In military bands the clarinet takes the place which would be that of the violin in the orchestra, but the tone of it is always characteristically different. Although introduced in the time of Handel and Bach those composers made no use of it. With Mozart it first became a leading orchestral instrument.
The Basset horn, which has become the sensuously beautiful alto clarinet in E flat, is related to the clarinet in the same way that the cor Anglais is to the oboe. Basset is equivalent to Baryton (there is a Basset flute figured in Prætorius), and this instrument appears to have been invented by one Horn, living at Passau, in Bavaria, about 1770. His name given to the instrument has been mistranslated into Italian as Corno di Bassetto. There is a bass clarinet employed with effect by Meyerbeer in the "Huguenots," but the characteristic clarinet tone is less noticeable; it is, however, largely used in military bands. The Basset horn had the deep compass of the bass clarinet which separates it from the present alto clarinet, although it was more like the alto in caliber. The alto clarinet is also used in military bands; and probably what the Basset horn would have been written for is divided between the present bass and alto clarinets.
Preceding the invention of the sarrusophone, by which a perfected oboe was contrived in a brass instrument, a modified brass instrument, the saxophone, bearing a similar relation to the clarinet, was invented in 1846 by Sax, whose name will occur again and again in connection with important inventions in military band instruments. The saxophone is played like the clarinet with the intervention of a beating reed, but is not cylindrical; it has a conical tube like the oboe. The different shape of the column of air changes the first available harmonic obtained by overblowing to the octave instead of the twelfth; and also in consequence of the greater strength of the even harmonics, distinctly changing the tone quality. The sarrusophone may fairly be regarded as an oboe or bassoon; but the saxophone is not so closely related to the clarinet. There are four sizes of saxophone now made between high soprano and bass. Starting from the fourth fundamental note, each key can be employed in the next higher octave, by the help of other two keys, which, being opened successively, set up a vibrating loop. The saxophones, although difficult to play, fill an important place in the military music of France and Belgium, and have been employed with advantage in the French orchestra. The fingering of all saxophones is that attributed to Boehm.
The cup shaped mouthpiece must now take the place of the reed in our attention. Here the lips fit against a hollow cup shaped reservoir, and, acting as vibrating membranes, may be compared with the vocal chords of the larynx. They have been described as acting as true reeds. Each instrument in which such a mouthpiece is employed requires a slightly different form of it. The French horn is the most important brass instrument in modern music. It consists of a body of conical shape about seven feet long, without the crooks, ending in a large bell, which spreads out to a diameter of fifteen inches. The crooks are fitted between the body and the mouthpiece; they are a series of smaller interchangeable tubings, which extend in length as they descend in pitch, and set the instrument in different keys. The mouthpiece is a funnel shaped tube of metal, by preference silver; and, in the horn, is exceptionally not cup shaped, but the reverse: it tapers, as a cone, from three-quarters of an inch diameter to about a minimum of three-sixteenths of an inch, and is a quarter of an inch where the smaller end of the mouthpiece is inserted in the upper opening of the crook. The first horn has a mouthpiece of rather less diameter than the second. The peculiar mouthpiece and narrow tubing have very much to do with the soft voice-like tone quality of the horn. For convenience of holding, the tubing is bent in a spiral form. There is a tuning slide attached to the body, and, of late years, valves have been added to the horn, similar to those applied to the cornet and other wind instruments. They have, to a considerable extent, superseded hand stopping, by which expedient the intonation could be altered a semitone or whole tone, by depression of the natural notes of the instrument. In brass, or other instruments, the natural harmonics depend on the pressure of blowing; and the brass differs entirely from the wood wind, in this respect, that it is rare, or with poor effect, the lowest or fundamental note can be made to sound. Stopping the horn is done by extending the open hand some way up the bore; there is half stopping and whole stopping, according to the interval, the half tone or whole tone required. As may be imagined, the stopped notes are weak and dull compared with the open. On the other hand, the tubing introduced for valves not being quite conformable in curve with the instrument, and hampered with indispensable joins, unless in the best form of modern valve, affects the smoothness of tone. No doubt there has been of late years a great improvement in the manufacture of valves. Many horns are still made with crooks covering an octave from B flat to B flat, 8 feet 6 inches to 17 feet; but most players now use only the F crook, and trust to the valves, rather than to change the crooks, so that we lose the fullness of sound of those below F. The natural horn was originally in D, but was not always restricted to that key; there have been horns for F, G, high A, and B flat. This may, however, be said for the valve horn, that it does not limit or restrict composers in writing for the open or natural notes, which are always more beautiful in effect.
Valves were invented and first introduced in Prussia about A.D. 1815. At first there were two, but there are now generally three. In this country and France they are worked by pistons, which, when pressed down, give access for the air into channels or supplementary tubings on one side of the main bore, thus lengthening it by a tone for the first valve, a semitone for the second, and a tone and a semitone for the third. When released by the finger, the piston returns by the action of a spring. In large bass and contralto instruments, a fourth piston is added, which lowers the pitch two tones and a semitone. By combining the use of three valves, lower notes are obtained—thus, for a major third, the second is depressed with the third; for a fourth, the first and third; and for the tritone, the first, second, and third. But the intonation becomes imperfect when valves are used together, because the lengths of additional tubing being calculated for the single depressions, when added to each other, they are too short for the deeper notes required. By an ingenious invention of compensating pistons, Mr. Blaikley, of Messrs. Boosey's, has practically rectified this error without extra moving parts or altered fingering. In the valve section, each altered note becomes a fundamental for another harmonic scale. In Germany a rotary valve, a kind of stop cock, is preferred to the piston. It is said to give greater freedom of execution, the closeness of the shake being its best point, but is more expensive and liable to derangement. The invention of M. Adolphe Sax, of a single ascending piston in place of a group of descending ones, by which the tube is shortened instead of lengthened, met, for a time, with influential support. It is suitable for both conical and cylindrical instruments, and has six valves, which are always used independently. However, practical difficulties have interfered with its success. With any valve system, however, a difficulty with the French horn is its great variation in length by crooks, inimical to the principle of the valve system, which relies upon an adjustment by aliquot parts. It will, however, be seen that the invention of valves has, by transforming and extending wind instruments, so as to become chromatic, given many advantages to the composer. Yet it must, at the same time, be conceded, in spite of the increasing favor shown for valve instruments, that the tone must issue more freely, and with more purity and beauty, from a simple tube than from tubes with joinings and other complications, that interfere with the regularity and smoothness of vibration, and, by mechanical facilities, tend to promote a dull uniformity of tone quality.
Owing to the changes of pitch by crooks, it is not easy to define the compass of the French horn. Between C in the bass clef and G above the treble will represent its serviceable notes. It is better that the first horn should not descend below middle C, or the second rise above the higher E of the treble clef. Four are generally used in modern scores. The place of the horn is with the wood wind band. From Handel, every composer has written for it, and what is known as the small orchestra of string and wood wind bands combined is completed by this beautiful instrument.
The most prominent instruments that add to the splendor of the full orchestra are trumpets and trombones. They are really members of one family, as the name trombone—big trumpet—implies, and blend well together. The trumpet is an instrument of court and state functions, and, as the soprano instrument, comes first. It is what is known as an eight foot instrument in pitch, and gives the different harmonics from the third to the twelfth, and even to the sixteenth. It is made of brass, mixed metal, or silver, and is about five feet seven inches in real length, when intended for the key of F without a slide; but is twice turned back upon itself, the first and third lengths lying contiguous, and the second about two inches from them. The diameter is three-eighths of an inch along the cylindrical length; it then widens out for about fifteen inches, to form the bell.
When fitted with a slide for transposition—an invention for the trumpet in the last century—this double tubing, about five inches in length on each side, is connected with the second length. It is worked from the center with the second and third fingers of the right band, and, when pulled back, returns to its original position by a spring. There are five crooks. The mouthpiece is hemispherical and convex, and the exact shape of it is of great importance. It has a rim with slightly rounded surface. The diameter of the mouthpiece varies according to the player and the pitch required. With the first crook, or rather shank, and mouthpiece, the length of the trumpet is increased to six feet, and the instrument is then in the key of F. The second shank transposes it to E, the third to E flat, and the fourth to D. The fifth, and largest—two feet one and a half inches long—extends the instrument to eight feet, and lowers the key to C. The slide is used for transposition by a semitone or a whole tone, thus making new fundamentals, and correcting certain notes of the natural harmonic scale, as the seventh, eleventh, and thirteenth, which do not agree with our musical scale. Mr. W. Wyatt has recently taken out a patent for a double-slide trumpet, which possesses a complete chromatic scale. In the required length of slide the ear has always to assist. It is clear that the very short shifts of a double slide demand great nicety of manipulation. It is, of course, different with the valve trumpet. The natural trumpets are not limited to one or two keys, but those in F, E, E flat, D, B flat, and even A have been employed; but, usually, the valve trumpets are in F, and the higher B flat, with a growing inclination, but an unfortunate one, to be restricted to the latter, it being easier for cornet players. The tone of the high B flat trumpet cannot, however, compare with the F one, and with it the lowest notes are lost. Of course, when there are two or three trumpets, the high B flat one finds a place. However, the valve system applied to the trumpet is not regarded with satisfaction, as it makes the tone dull. For grand heroic effect, valve trumpets cannot replace the natural trumpets with slides, which are now only to be heard in this country.
The simple or field trumpet appears to exist now in one representative only, the E flat cavalry trumpet. Bach wrote for trumpets up to the twentieth harmonic—but for this the trumpet had to be divided into a principal, which ended at the tenth harmonic—and the clarino in two divisions, the first of which went from the eighth harmonic up to as high as the player could reach, and the second clarino, from the sixth to the twelfth. The use of the clarinet by composers about the middle of the last century seems to have abolished these very high trumpets. So completely had they gone, by the time of Mozart, that he had to change Handel's trumpet parts, to accommodate them to performers of his own time, and transfer the high notes to the oboes and clarinets.
Having alluded to the cornet à piston, it may be introduced here, particularly as from being between a trumpet and a bugle, and of four foot tone, it is often made to do duty for the more noble trumpet. But the distinctive feature of this, as of nearly all brass instruments since the invention of valves, tends to a compromise instrument, which owes its origin to the bugle. The cornet à piston is now not very different from the valve bugle in B flat on the one hand and from the small valve trumpet in the same key on the other. It is a hybrid between this high pitch trumpet and the bugle, but compared with the latter it has a much smaller bell. By the use of valves and pistons, with which it was the first to be endowed, the cornet can easily execute passages of consecutive notes that in the natural trumpet can only be got an octave higher. It is a facile instrument, and double tonguing, which is also possible with the horn and trumpet, is one of its popular means for display. It has a harmonic compass from middle C to C above the treble clef, and can go higher, but with difficulty. A few lower notes, however, are easily taken with the valves.
We now come to the trombones, grand, sonorous tubes, which, existing in three or four sizes since the sixteenth century, are among the most potent additions on occasion to the full orchestra. Their treble can be regarded as the English slide trumpet, but it is not exactly so. There appears to have been as late as Bach a soprano trombone, and it is figured by Virdung, A.D. 1511, as no larger than the field trumpet. The trumpet is not on so large a caliber, and in the seventeenth century had its own family of two clarinos and three tubas. The old English name of the trombone is sackbut. The old wooden cornet, or German zinke, an obsolete, cupped mouthpiece instrument, the real bass of which, according to family, is the now obsolete serpent, was used in the sixteenth and seventeenth centuries as the treble instrument in combination with alto, tenor, and bass trombones. The leading features of the trumpet are also found, as already inferred, in the trombone; there is the cupped mouthpiece, the cylindrical tubing, and, finally, a gradual increase in diameter to the bell. The slide used for the trumpet appears for four centuries, and probably longer, in the well known construction of the trombone. In this instrument it consists of two cylindrical tubes parallel with each other, upon which two other tubes communicating by a pipe at their lower ends curved in a half circle glide without loss of air. The mouthpiece is fitted to an upper end, and a bell to a lower end of the slide. When the slide is closed, the instrument is at its highest pitch, and as the column of air is lengthened by drawing the slide out, the pitch is lowered. By this contrivance a complete chromatic scale can be obtained, and as the determination of the notes it produces is by ear, we have in it the only wind instrument that can compare in accuracy with stringed instruments. The player holds a cross bar between the two lengths of the instrument, which enables him to lengthen or shorten the slide at pleasure, and in the bass trombone, as the stretch would be too great for the length of a man's arm, a jointed handle is attached to the cross bar. The player has seven positions, each a semitone apart for elongation, and each note has its own system of harmonics, but in practice he only occasionally goes beyond the fifth. The present trombones are the alto in E flat descending to A in the seventh position; the tenor in B flat descending to E; the bass in F descending to B, and a higher bass in G descending to C sharp. Wagner, who has made several important innovations in writing for bass brass instruments, requires an octave bass trombone in B flat; an octave lower than the tenor one, in the "Nibelungen." The fundamental tones of the trombone are called "pedal" notes. They are difficult to get and less valuable than harmonics because, in all wind instruments, notes produced by overblowing are richer than the fundamental notes in tone quality. Valve trombones do not, however, find favor, the defects of intonation being more prominent than in shorter instruments. But playing with wide bore tubas and their kindred is not advantageous to this noble instrument.
The serpent has been already mentioned as the bass of the obsolete zinken or wooden cornets, straight or curved, with cupped mouthpiece. It gained its serpentine form from the facility given thereby to the player to cover the six holes with his fingers. In course of time keys were added to it, and when changed into a bassoon shape its name changed to the Russian bass horn or basson Russe. A Parisian instrument maker, Halary, in 1817, made this a complete instrument, after the manner of the keyed bugle of Halliday, and producing it in brass called it the ophicleide, from two Greek words meaning serpent and keys—keyed serpent—although it was more like a keyed bass bugle. The wooden serpent has gone out of use in military bands within recollection, the ophicleide from orchestras only recently. It has been superseded by the development of the valved tubas. The euphonium and bombardon, the basses of the important family of saxhorns, now completely cover the ground of bass wind instrument music. The keyed bugle, invented by Joseph Halliday, bandmaster of the Cavan militia, in 1810, may be regarded as the prototype of all these instruments, excepting that the keys have been entirely replaced by the valve system, an almost contemporary invention by Stölzel and Blumel, in Prussia, in 1815. The valve instruments began to prevail as early as 1850. The sound tube of all bugles, saxhorns, and tubas is conical, with a much wider curve than the horn. The quality of tone produced is a general kind of tone, not possessing the individuality of any of the older instruments. All these valve instruments may be comprehended under the French name of saxhorn. There is a division between them of the higher instruments or bugles, which do not sound the fundamental note, and of the lower, or tubas, which sound it readily. Properly military band instruments, the second or bass division, has been taken over to the orchestra; and Wagner has made great use of it in his great scores. The soprano cornets, bugles, or flugelhorns and saxhorns are in E flat; the corresponding alto instruments in B flat, which is also the pitch of the ordinary cornet. The tenor, baryton, and bass instruments follow in similar relation; the bass horns are, as I have said, called tubas; and that with four valves, the euphonium. The bombardon, or E flat tuba, has much richer lower notes.
For military purposes, this and the contrabass—the helicon—are circular. Finally, the contrabass tubas in B flat, and in C, for Wagner, have immense depth and potentiality of tone; all these instruments are capable of pianissimo.
There are many varieties now of these brass instruments, nearer particulars of which may be found in Gevaert, and other eminent musicians' works on instrumentation. One fact I will not pass by, which is that, from the use of brass instruments (which rise in pitch so rapidly under increase of temperature, as Mr. Blaikley has shown, almost to the coefficient of the sharpening under heat in organ pipes) has come about that rise in pitch which, from 1816 to 1846—until repressed by the authority of the late Sir Michael Costa, and, more recently, by the action of the Royal Military College at Kneller Hall—is an extraordinary feature in musical history. All previous variations in pitch—and they have comprised as much as a fourth in the extremes—having been due either to transposition, owing to the requirements of the human voice, or to national or provincial measurements. The manufacture of brass instruments is a distinct craft, although some of the processes are similar to those used by silversmiths, coppersmiths, and braziers.
I have only time to add a few words about the percussion instruments which the military band permits to connect with the wind. Drums are, with the exception of kettle drums, indeterminate instruments, hardly, in themselves, to be regarded as musical, and yet important factors of musical and especially rhythmic effect. The kettle drum is a caldron, usually of brass or copper, covered with a vellum head bound at the edge round an iron ring, which fits the circle formed by the upper part of the metal body. Screws working on this ring tune the vellum head, or vibrating membrane as we may call it, by tightening or slackening it, so as to obtain any note of the scale within its compass. The tonic and dominant are generally required, but other notes are, in some compositions, used; even octaves have been employed. The use Beethoven made of kettle drums may be regarded among the particular manifestations of his genius. Two kettle drums may be considered among the regular constituents of the orchestra, but this number has been extended; in one remarkable instance, that of Berlioz in his Requiem, to eight pairs. According to Mr. Victor de Pontigny, whose article I am much indebted to (in Sir George Grove's dictionary) upon the drum, the relative diameters, theoretically, for a pair of kettle drums are in the proportion of 30 to 26, bass and tenor; practically the diameter of the drums at the French opera is 29 and 25¼ inches, and of the Crystal Palace band, 28 and 24¼ inches. In cavalry regiments the drums are slung so as to hang on each side of the drummers horse's neck. The best drum sticks are of whalebone, each terminating in a small wooden button covered with sponge. For the bass drum and side drum I must be content to refer to Mr. Victor de Pontigny's article, and also for the tambourine, but the Provencal tambourines I have met with have long, narrow sound bodies, and are strung with a few very coarse strings which the player sounds with a hammer. This instrument is the rhythmic bass and support to the simple galoubet, a cylindrical pipe with two holes in front and one behind, sounded by the same performer. The English pipe and tabor is a similar combination, also with one player, of such a pipe and a small drum-head tambourine. Lastly, to conclude percussion instruments, cymbals are round metal plates, consisting of an alloy of copper and tin—say 80 parts to 20—with sunk hollow centers, from which the Greek name. They are not exactly clashed together to elicit their sound, but rubbed across each other in a sliding fashion. Like the triangle, a steel rod, bent into the form indicated by the name, but open at one corner so as to make it an elastic rod, free at both ends; the object is to add to the orchestral matter luminous crashes, as it were, and dazzling points of light, when extreme brilliancy is required.
In conclusion, I must be allowed to express my obligations to Dr. W.H. Stone and Mr. Victor Mahillon, to Mr. Ebenezer Prout, Mr. Richard Shepherd Rockstro, Mr. Lavoix fils, and Dr. H. Riemann, whose writings concerning wind instruments have materially helped me; to Messrs. Boosey & Co., and to Messrs. Rudall, Carte & Co., for the loan of the instruments used in the illustrations; and also to Mr. D.J. Blaikley and Mr. Henry Carte, for valuable personal aid on the present occasion. Their kindness in reading through my manuscript—Mr. Blaikley throughout—and in offering friendly and generous criticisms; also their presence and assistance by trial of the various instruments, I cannot adequately thank them for, or sufficiently extol.
(In the course of this lecture, Mr. Henry Carte played upon a concert flute, also a B flat and a G flute, an eight-keyed flute, and a recorder. Mr. D.J. Blaikley continued the illustrations upon the oboe, bassoon, clarinet, French horn, slide trumpet, valve tenor horn, cornet à piston, B flat tenor slide trombone, B flat euphonium, B flat contrabass tuba, and B flat contrabass double slide trombone.)
The supply of compressed gas in metal cylinders has now assumed the proportions of an important industry, more especially since it was found possible, by the Brin process, to obtain oxygen direct from the atmosphere. The industry is not exactly a new one, for carbon dioxide and nitrous oxide (the latter for the use of dentists) have been supplied in a compressed state for many years. Now, with the creation of the modern amateur photographer, who can make lantern slides, and the more general adoption of the optical lantern for the purposes of demonstration and amusement, there has arisen a demand for the limelight such as was never experienced before, and as the limelight is dependent upon the two gases, hydrogen and oxygen, for its support, these gases are now supplied in large quantities commercially. At first the gas cylinders were made of wrought iron; they were cumbrous and heavy, and the pressure of the inclosed gas was so low that a receptacle to hold only ten feet was a most unwieldy concern. But times have changed, and a cylinder of about the same size, but half the weight, is now made to hold four times the quantity of gas at the enormous initial pressure of 1,800 pounds on every square inch. This means the pressure which an ordinary locomotive boiler has to withstand multiplied by twelve. The change is due to improved methods of manufacture and to the employment of mild steel of special quality in lieu of the wrought iron previously employed. The cylinders are now made without joint or seam, and the process of manufacture is most interesting. A short time ago we had an opportunity of watching the various necessary operations involved in making these cylinders at the Birmingham works of Messrs. Taunton, Delamard & Co., by whose courtesy we were enabled to make notes of the process.

FIG. 1.

FIG. 2.
Beginning with the raw material, we were shown a disk of metal like that shown in Fig. 1, and measuring thirty inches in diameter and three-quarters of an inch in thickness. From such a "blank" a cylinder destined to hold 100 feet of compressed gas can be constructed, and the first operation is to heat the "blank" in a furnace, and afterward to stamp it into the cup-like form shown in Fig. 2. To all intents and purposes this represents the end of a finished cylinder, but it is far too bulky to form the end of one of the size indicated; indeed, it in reality contains enough metal to make the entire vessel. By a series of operations it is now heated and drawn out longer and longer, while its thickness diminishes and its diameter grows less. These operations are carried out by means of a number of hydraulic rams, which regularly decrease in size. Fig. 3 roughly represents one of these rams with the plunger ready to descend and force its way into the partially formed red hot gas cylinder, C, and further into the well, W. The plunger may be compared to a finger and the cylinder to a glove, while the well may represent a hole into which both are thrust in order to reduce the thickness of the glove. With huge tongs the cylinder, fresh from the furnace, is placed in position, but just before the plunger presses into the red hot cup, one of the workmen empties into the latter a little water, so as to partially cool the bottom and prevent its being thrust out by the powerful plunger. Oil is also used plentifully, so that as the plunger works slowly down the red hot mass, it is surrounded by smoky flames. It presently forces the cylinder into the well, and when the end of the stroke is reached, a stop piece is inserted through an opening in the upper part of the well, so as to arrest the edge of the cylinder while the reverse action of drawing out the plunger is proceeded with. Directly the finger is drawn out of the glove—in other words, immediately the plunger is raised out of the cylinder—the latter drops down below with a heavy thud, still in a red hot condition.

FIG 3.
This operation of hot drawing is repeated again and again in rams of diminishing size until the cylinder assumes the diameter and length required. This hot drawing leaves the surface of the metal marked with longitudinal lines, not unlike the glacier scratches on a rock, albeit they are straighter and more regular. But the next operation not only obliterates these markings, and gives the metal a smooth surface like that of polished silver, but it also confers upon the material a homogeneity which it did not before possess, and without which it would never bear the pressure which it is destined to withstand when finished. This operation consists in a final application of the hydraulic ram while the metal remains perfectly cold, instead of red hot, as in the previous cases.
As the result of these various hydraulic operations, we have a perfectly formed cylinder closed at one end, and we now follow it into another department of the works, when its open end is once more brought in a furnace to a red heat. The object of this is to make the metal soft while the shoulder and neck of the vessel are formed. To accomplish this, the heated open end of the cylinder is laid horizontally upon a kind of semicircular cradle, and is held there by tongs handled by two men. Another workman places over the open end a die of the form shown in Fig. 4, and while the cylinder is slowly turned round in its cradle, two sledge hammers are brought down with frequent blows upon the die, closing in the end of the cylinder, but leaving a central hole as shown in Fig. 5. Further operations reduce the opening still more until it is closed altogether, and a projection is formed as shown at Fig. 6. This projection is now bored through, and the cylinder is ready for testing.

FIG. 4.

FIG. 5.

FIG. 6.
The cylinder is submitted to a water test, the liquid being forced in until the gauge shows a pressure of two tons to the square inch. Cylinders have been known to give way under this ordeal, but without any dangerous consequences. The metal simply rips up, making a report at the moment of fracture as loud as a gun. The wonderful strength of the metal employed may be gauged by the circumstance that the walls of the cylinder designed to hold 100 feet of gas are only five-sixteenths of an inch in thickness.
During the manufacture of the cylinder, as we have already indicated, much oil is used, and, so far as steel can be saturated with that fluid—in the popular sense—the metal is in that state. It is essential that this oil should be completely got rid of, and this is carefully done before the cylinder is charged with gas. Previous to such charging, the vessel has to be fitted with its valve. Of these valves there are three kinds, known respectively as the Brin, the Birmingham, and the Manchester. Each has its admirers, but we cannot here discuss their individual merits.
The charging of the cylinder is brought about by a powerful pump having three cylinders so arranged that the compressed contents of the first cylinder are still further compressed in the second, and still more highly in the third. The filling of a 100 ft. cylinder occupies about half an hour.—Photographic News.
Translated by S.E. Weber, V.S.1
Kind, gentle steed, nobly standing,
Four shoes will I put on your feet,
Firm and good, that you'll be fleet,
That is Donar's hammer saying.
To the woods and homeward go,
Always on the straight road thro',
Far from what is bad, still fleeing,
That is Donar's hammer saying.
Should wounds and pain become distressing,
Blood to blood shall flow,
Bone to bone shall grow,
That is Donar's hammer saying.
Carry the rider, true little steed,
Onward to all good luck bringing;
Carry him thence and back with speed,
That is Donar's hammer saying.
—Old Meresburger Song.
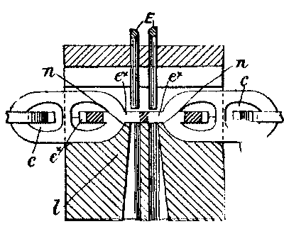
The horse appeared comparatively late in the group of domestic animals. In searching the monuments of the ancients, which have furnished the foundation for our present culture, that is, of the littoral inhabitants of the Mediterranean, and of the people of Mesopotamia, we find in Egypt the first traces of the horse. But even here it appears late, on the monuments of the first ruling patricians of human origin.2 Especially during the period of Memphis (I-X Dynasty), then under the rules of Thebes (XI-XVI Dynasty), there is no trace of the horse.
It is first in the transition period, from the late rule of Thebes (XVII-XX Dynasty) to the so-called period of Sut (XXI-XXX Dynasty) that there appears, in the wall pictures of the Pharaohs' tombs, representations of the horse. The oldest, now known, picture of the horse is found on the walls of the tombs of Seti I. (1458-1507 B.C.) under whose reign the Israelite wandered from Egypt. The horses of the mortuary pictures are very well drawn, and have an unmistakable oriental type. There has therefore undoubtedly existed in Egypt high culture, for over 4,000 years, without representation of the horse, which was the next animal domesticated after the cat.
From this time on we find the horse frequently represented both by the vainglorious despots of Mesopotamia and on the so-called Etruscan vases, which appeared after the influence of Greek art, when, on almost every urn, horses in lively action and in various forms of bodily development, almost always of an oriental type, are to be recognized. But neither here, nor in Homer, nor in the many later representations of the horse on the Roman triumphal arches, etc., are to be found horses whose hoofs have any trace of protection. Records, which describe to us the misfortunes of armies, whose horses had run their feet sore, we find on the contrary at a very early time, as in Diodorus, regarding the cavalry of Alexander the Great, in Xenophon, regarding the retreat of the ten thousand, in Polybius, regarding the cavalry of Hannibal in Etruria, etc. It is also known that the cavalry of the linguist King of Pontus, Mithridates the Great, at times and specially at the siege of Cyzicus were delayed, in order to let the hoofs of the horses grow.
On the contrary it seems strange that of the Huns alone, whose horsemen swept over whole continents from the Asiatic highlands like a thunderstorm, such trouble had not become known either through the numerous authors of the eastern and western Roman empire or from Gallia.
Horseshoeing, very likely, was invented by different nations at about the same period during the migration of the nations, and the various kinds of new inventions were brought together in Germany only, after each had acquired a national stamp according to climate and usefulness.
In this way come from the south the thin, plate-like horseshoes, with staved rim, covering the whole hoof; from the Mongolian tribes of middle Asia the "Stolleneisen" (calk shoe); while to our northern ancestors, and indeed the Normans, must be ascribed with great probability the invention of the "Griffeneisen" (gripe shoe), especially for the protection of the toes.
All varieties of the horseshoe of southern Europe are easily distinguished from the Roman so-called "Kureisen" (cure shoe), of which several have been unearthed at various excavations and are preserved at the Romo-Germanic Museum in Mentz (Mainz), Germany. The shoes, Figs. 1 and 2, each represent thin iron plates, covering the whole hoof, which in some cases have an opening in the middle, of several centimeters in diameter.

Fig. 1.
These plates, apparently set forth to suit oriental and occidental body conformation, are either directly provided with loops or have around the outer margin a brim several centimeters high, in which rings are fastened. Through the loops or rings small ropes were drawn, and in this way the shoe was fastened to the crown of the hoof and to the pastern. Sufficient securing of the toe was wanting in all these shoes, and, on account of this, the movement of the animal with the same must have been very clumsy, and we can see from this that the ropes must have made the crown of the hoof and pastern sore in a short time. One of these shoes3 evidently was the object of improvement, to prevent the animal from slipping as well as from friction, and we therefore find on it three iron cubes 1½ centimeters high, which were fastened corresponding to our toes and calks of to-day, and offer a very early ready proof, from our climatic and mountainous conditions, which later occur, principally in southern Germany, that this style of horseshoeing was not caused by error, but by a well founded local and national interest or want.

FIG. 2.
Aside from the so-called "Kureisen" (cure shoe) for diseased hoofs, we find very little from the Romans on horseshoeing or hoof protection, and therefore we must observe special precautions with all their literature on the subject. It is because of this that I excuse Prof. Sittl's communication in the preface of Winckelmann's "Geschichte der Kunst in Alterthum" (History of Ancient Art), which contains a notice that Fabretti, in some raised work in Plazzo Matti, of a representation of a hunt by the Emperor Gallienus (Bartoli Admirand Ant. Tab. 24), showed that at that time horseshoes fastened by nails, the same as to-day, were used (Fabretti de Column. Traj. C. 7 pag. 225; Conf. Montlanc. Antiq. Explic. T. 4, pag. 79). This statement proves itself erroneous, because he was not aware that the foot of the horse was repaired by an inexperienced sculptor.
How then did out of this Roman cure shoe develop the horseshoeing of southern Europe?
It was to be expected, with the Roman horseshoe, that the mode of fastening became unsatisfactory and necessitated a remedy or change. An attempt of this kind has been preserved in the so-called "Asiatischen Koppeneisensole" (Asiatic cap-iron-sole) (Fig. 3), which the Hon. Mr. Lydtin at Karlsruhe had made according to a model of the Circassian Horse Tribe Shaloks, and also according to the reverse of Lycian coins (called Triguetra).

FIG. 3.
This horseshoe plate, likely originating in the twelfth century, covers the whole surface of the sole, like the Roman shoes, with the exception of the wall region, which contains a rim 1 centimeter high, and above this rises at one side toward the heel three beak-like projections, about 4 centimeters high and 1 centimeter wide at the base, being pointed above and turned down, which were fastened in the wall of the hoof, in the form of a hook.
This mode of fastening evidently was also insufficient, and so the fastening of the shoe by nails was adopted. These iron plates used for shoes were too thin to allow nails with sunken heads to be used, so only nails with blades and cubical shaped heads were applicable. These nail heads, 6 to 8 in number, which left the toe and the back part of the heel free, served at the same time to secure the horse from slipping, which the smooth plates, covering the whole hoof surface, without doubt facilitated.

FIG. 4.
Shoes of this kind, after the old Roman style, with a very strong rim bent upward, likely proved very comfortable for the purpose of protection, in the Sierras of the Pyrenean peninsula, where they seem to have been in use for a long time; for in the twelfth century we find in Spain the whole form of the Roman shoe, only fastened by nails (Figs. 4 and 5). At first the shoe seems to have been cut off at the heel end, but as apparently after being on for some time, bruises were noticed, the shoe was made longer at the heel, and this part was turned up so as to prevent them from becoming loose too soon, as both the Spanish horseshoes of this period show, and the acquisition was even later transferred to England (Fig. 7).

FIG. 5.
The shoe containing a groove (Fig. 6), which we shall see later, made its appearance in Germany in the fifteenth century. From this time, according to our present knowledge, ceases the period of the Roman horseshoe. Its influence, however, lasted a great deal longer, and has even remained until our present day.

FIG. 6.
Its successor became partly the Arabo-Turkomanic and partly the Southwest European horseshoe.
For the descendants of the Numidian light cavalry, the Roman and old Spanish horseshoe was evidently too heavy for their sandy, roadless deserts, so they made it thinner and omitted the bent-up rim, because it prevented the quick movement of the horse. For the protection of the nail heads the outer margin of the shoe was staved, so as to form a small rim on the outer surface of the shoe, thus preventing the nail heads from being worn and the shoe lost too soon.

FIG. 7.

FIG. 8.

FIG. 9.
A horseshoe of that kind is shown by Fig. 8, which was used in North Africa in the twelfth century, and became the model for all forms of horseshoes of the Mahometan tribes. Even now quite similar shoes (Fig. 9) are made south and east from the Caspian Sea, at the Amu-Darja, in Samarkand, etc., which were probably introduced under Tamerlane, the conqueror of nearly the whole of Asia Minor in the fourteenth century.
The so-called "Sarmatische" (Sarmatian) horseshoe (Figs. 10 and 11), of South Russia, shows in its form, at the same time, traces of the last named shoe, however, greatly influenced by the Mongolian shoe, the "Goldenen Horde," which at the turn of the sixteenth to the seventeenth century played havoc at the Volga and the Aral. The unusual width of the toe, and especially the lightness of the iron, reminds us of the Turkomanic horseshoe, whereas, on the contrary, the large bean-shaped holes, as well as the calks, were furnished through Mongolian influence.

FIG. 10.
The Sarmatian tribes were principally horsemen, and it is not surprising, therefore, that the coat of arms of the former kingdom of Poland in the second and third quadrate shows a silver rider in armor on a silver running horse shod with golden shoes, and that at present about 1,000 families in 25 lineages of the Polish Counts Jastrzembiec Bolesezy, the so-called "Polnische Hufeisen Adel" (Polish Horseshoe Nobility), at the same time also carried the horseshoe on their coats of arms. The silver horseshoe in a blue field appears here as a symbol of the "Herbestpfardes" (autumnal horse), to which, after the christianization of Poland, was added the golden cross. The noblemen participating in the murder of the holy Stanislaus in 1084 had to carry the horseshoe reversed on their escutcheon.

FIG. 11.
From the African and Turkomanic horseshoe, through the turning up of the toes and heels, originated later the Turkish, Grecian and Montenegrin horseshoe of the present as shown by Fig. 12.

FIG. 12.
By the Moorish invasion in Spain, the Spanish-Gothic horseshoeing was also modified, through which the shoe became smooth, staved at the margin, very broad in the toe, and turned up at toe and heel, and at a later period the old open Spanish national horseshoe (Fig. 13) was developed. As we thus see, we can in no way deny the Arabian-Turkish origin of this shoe.

FIG. 13.
As France had received her whole culture from the south, and as the crusades especially brought the Roman nation in close contact with them for centuries, so it cannot appear strange that the old French horseshoe, a form of which has been preserved by Bourgelat and is represented by Fig. 14, still remained in the smooth, turned up in front and behind, like the shoe of the southern climates, with Asiatic traces, which hold on the ground, the same as all southern shoeing, by the nail heads.

FIG. 14.
The transit of the German empire, in order to keep up the historical course, once more brings us back to the middle of the fifth century. At this time Attila, the "Godegisel" (gods' scourge), left his wooden capitol in the lowlands near the river Theis, to go to the Roman empire and to the German and Gallican provinces, there to spread indescribable misery to the horrors of judgment day.
The following is a prayer in those days of horror:
"Kleiner Huf, kleines Ross,
Krummer Sabel, spitz Geschoss—
Blitzesschnell und sattlefest:
Schrim uns Herr von Hunnenpest."
We are at present reminded of those times of fright, when during the clearing and tilling of the soil, a small roughly made horseshoe is found in Southern Germany, about as far as the water boundary of the Thuringian forest, and occasionally on, but principally around Augsburg, and in France as far as the Loire.
These shoes, covering the margin or wall of the foot, show slight traces of having been beveled on the lower surface, and contain two bent calks very superficially placed. Occasionally they are sharpened and turned in two directions. The characteristic wide bean-shaped nail holes are conical on the inside, and are frequently placed so near the outer margin of the shoe that from the pressure the hoofs were likely to split open. The nail heads were shaped like a sleigh runner, and almost entirely sunk into the shoe. It evidently was not bent up at the toe, like the old form of these kinds of shoes.
These shoes, according to our conception of to-day, were so carelessly finished that in the scientific circles of historical researches they were, until very recently, looked upon as saddle mountings or something similar, and not as horseshoes.
This shoe was for some time, while it was plentifully found in France, regarded as of Celtic make; but this is certainly not the case, as it is of Hunish and Hungarian "nationalitat" (nationality). An exactly scientific proof, it is true, according to our present knowledge, cannot be furnished; however, it will stand well enough until the error is proved.
This peculiar kind of horseshoe has been found in South Germany and Northeast France, as far as the region of Orleans, where, as it has been proved, the Huns appeared. This, therefore, speaks for their descendants: 1st, the far extended and yet sharply limited places of finding the shoe; 2d, the small size corresponds to the historically proved smallness of the Hunish horse; 3d, the hasty and careless make, which does not indicate that it was made by settled workmen; 4th, the horseshoe (Fig. 15) bespeaks the Hunish workmanship of the present Chinese shoe, which, in making of the nail holes, shows to-day related touches of the productions of the Mongolian ancestors.

FIG. 15.
Aside from the peculiar shaped nail holes, the characteristic of the Hunish shoe consists in the changes of the calks for summer and winter shoeing, as well as in the sinking of the nail heads. The Huns, therefore, aside from the indistinctly marked attempts of the Romans in this direction, which are the only ones known to me, must be regarded as the inventors not only of the calks, but partly, next to the Normans, also of the sharpened winter shoeing, and of the not unimportant invention of sinking the nail heads observed in Fig. 15.
The Hunish shoeing was therefore an important invention for the Germans. After centuries later, wherever horseshoeing was practiced, it was done solely according to Hunish methods; whereby the shoe was very possibly made heavier, was more carefully finished and in course of time showed an attempt to bend the toe (Fig. 16a).

FIG. 16.

FIG. 16A.
In the Bomberg Dom we find an equestrian statue, not unknown in the history of art, which was formerly held to be that of Emperor Conrad III. At present however the opinion prevails generally that it represents "Stephen I., den Heiligen" (Stephen I., the Saint).
Stephen I., the first king of Hungary, formerly was a heathen, and was named "Najk." He reigned from 997 to 1038. His important events were the many victorious wars led against rebellious chieftains of his country, and he was canonized in 1087. His equestrian monument in Bomberg Dom was, in consequence, hardly made before the year 1087. Notwithstanding that the Huns had been defeated 500 years before on the plains of Catalania, the horse of the above mentioned monument carries, as I have convinced myself personally, Hunish horseshoes, modified, however, by blade-shaped calks just then coming into use. This is proof that, at least in Hungary, the Hunish method of shoeing was preserved an extraordinary long time. By this it has not become improbable that at least the many shoes of this kind which were found on the Lechfield come, not directly from the Huns, but from their successors, the Hungarians, whose invasions took place in the first half of the tenth century.
About the same time of the Hungarian invasions, the Normans began to disturb the southwestern part of Europe with their Viking expeditions. Their sea kings seem to have been equestrians at very early times, and to have had their horses shod, although perhaps only in winter; at least the excavation of the Viking ship in 1881 disclosed the remains of a horse which was shod. The shoeing consisted only of a toe protection—"Brodder" (Bruder, Brother)—provided with a small sharp calk, and fastened by two nails.
When later, in the year 1130, the Norwegian king Sigard Yorsalafar, during his journey to Jerusalem, entered Constantinople, his horse is said to have carried only the small toe-protecting shoes.
The art of horseshoeing, immediately after the migration of the nations, came near our improvement of the same to-day; especially near the reputed discoveries met with, which consist simply of iron protection for the margin of the hoof, fastened by nails. The heads were sunk into the shoe so as to increase its firmness. Special consideration was given to local and climatic conditions through the introduction of toes and heels.
The mechanism of the hoof also found remarkable consideration, inasmuch as they apparently avoided driving nails too close to the heel end of the shoe. Notwithstanding this early improvement in the art of horseshoeing, the Huns (as stated before) took a prominent part. It appears to have taken a long time after the migration of the nations for shoeing to become general, as is shown by various descriptions of tournaments, pictures of horses, etc.

FIG. 18.
We will mention in the first place the "Percival des Wolfram von Eschenbach," as well as "Christ von Troies," where there is a great deal said about horses, horse grooms, and tournaments, but nowhere in those works is any mention made of horseshoeing. Likewise is found the horse on the coat of arms of Wolfram von Eschenbach, in the Manessi collection in Paris, which was begun in Switzerland in the fourteenth century; but, although we find this horse most beautifully finished, it was not shod.

FIG. 19.
During the time of the crusades, 1096-1291, however, there appeared suddenly in Germany a plate-like horseshoe of southern character (Figs. 18 and 19), which was occasionally bent upward at the heel end, and was very heavy. The toe was very broad sometimes, and was also bent upward. In this form we have seen the shoes of the Balkan and Pyrean peninsula. The shoe was remarkably narrow at the heel, and was supplied with calks, which accounts for the highness of the back part of the shoe. Frequently we find one calk set diagonally, but the other drawn out wedge shaped, and sharp; so that there existed a great similarity between this iron shank and that used by Count Einsiedel for winter shoeing. Sometimes both shanks were sharpened in this way, or were provided with blade-shaped calks well set forward. The form of nail holes used was very characteristic of that of the Huns, but they were decidedly smaller and square, as were seen in the African shoe of the twelfth century. The nail heads were slightly sunk, which was according to southern customs.
That this shoe really belongs to the period of the crusades is proved by the numerous horse pictures which have been preserved from that time; of which we will mention the manuscript of Heinrich von Veldecka ("Eneidt")4 in the year 1180, which belongs to the most valuable parts of German history of art.
This south European Hunish horseshoe had remained the standard form during the middle ages and until the thirty years war, at least in South Germany. The shoe was continually improved, and reached its highest point of perfection about the time of the "Bauern-krieg" (Revolution of the Peasants), at a time when, under the leadership of the Renaissance, the whole art of mechanics, and especially that of blacksmithing, had taken an extraordinarily great stride (Figs. 20 and 21).

FIG. 20.

FIG. 21.
The shoe (Figs. 22 and 23) is found in Franconia, in all places where, in the sixteenth century, battles had been fought with the rebellious peasants. We may, therefore, be justified in fixing its origin mainly from that period, for which also speaks its high perfection of form. We find here still the bent-up heel and toe (the latter broad and thin) of the south European form.

FIG. 22

FIG. 23.
The staved rim of the Spanish Arabic Turkomanic shoe is observed to be undergoing a change to that of a groove. The broad surface of the shoe evidently led to the beveling of the same, so as to lessen sole pressure. The size of the nail holes remains still like that of the Huns; but the unsunk southern nail heads yet serve to improve the hold on the ground. The calks were next placed forward, perhaps from an uncultivated sense of beauty, or from the high bending up of the hind part of the shoe, which would necessitate a high and heavy unsightly calk.
From this time on horseshoeing in south Germany fell back very quickly, and loses all scientific holds of support after the thirty years war. In the mean time toe protection in the form of a calk had spread from the colder north over southern Germany; whereas this north German invention did not find favor in England in consequence of her mild oceanic climate.
Also, the calks in England, as well as in the southern countries, on the same ground, therefore, with good reason, could at no time be adopted. This did, however, not interfere with the use of the calk in the colder south Germany, where after a use of nearly 1,500 years it has maintained its local and climatic adaptation. Notwithstanding the occasional aping by foreigners, it has remained victorious in its original form, and has been chosen in many countries.
The historical development of the horseshoe in general, from about the time of Emperor Maximilian until the seven years war, furnishes a true picture of the confused condition of things at that period of time, which, to make intelligible, would require a separate and complete treatise. Interesting as it is to the scientist to follow up this development and mode of present German horseshoeing, which, aside from the national toe and calk, is the English form and has become influential, and with full right, for a periodical of this kind further, more comprehensive, statement would under all circumstances take up too much room; therefore I must drop the pen, although reluctantly.
From Theirarztliche Mittheilungen, organ des Vereins badischer Theirarzte, Karlsruhe, No. IV., April, 1891.—Veterinary Archives.
Until the time Menes, with whom historical times begin, ruled in Egypt among visionary heroes or mythological gods.
Not illustrated.
"Wanderungen des Aeneas" (Travels of Aeneas).
The present practice in making metal sheets is to cast ingots or slabs and then reduce these by repeated rollings and reheating. Attempts have been previously made to produce sheets directly from molten metal by pouring the metal: (1) between two revolving rollers; or (2) between a revolving wheel and the surface of an inclosing fixed semicircular segment. By these means none but very thin plates could be satisfactorily produced. In this invention by C.M. Pielsticker, London, the machinery consists of a large receiving roller of 5 ft. diameter more or less, and of a length equal to that of the plate to be produced. With this are combined small forming rollers arranged in succession part way round the periphery of the large roller, and revolving at the same rate as the large roller. The rollers can be cooled by a current of water circulating through them. The molten metal flows on to the surface of the large roller and is prevented from escaping sideways by flanges with which the large roller is provided. These flanges embrace the small rollers and are of a depth greater than that of the thickest plate which it is proposed to roll. The distance between the large roller and the small rollers can be adjusted according to the desired thickness of the plate. When dealing with metals of high melting point, such as steel, the first small roller is made of refractory material and is heated from inside by the flame of a blow pipe. The rollers are coated with plumbago or other material to prevent adhesion to the molten metal. In the case of metals of high melting point the machine is fed direct from a furnace divided into two compartments by a wall or bridge in which is a stopper which can be operated so as to regulate the flow of metal. When applied to forming sheets of glass, the rollers should be warmed by a blow pipe flame as above described, and the sheet of glass stretched and annealed as it leaves the last roller.
At the Royal Naval Exhibition, London, Messrs. William Reid & Co. are exhibiting their weldless steel chains, which we now illustrate.
Of the many advantages claimed for steel chains, it may be prominently noted that a very important saving of weight is effected on account of their possessing such a high breaking strain, compared with the ordinary welded iron chains. To illustrate this, it may be stated that a given length of the weldless steel chain is 35 to 40 per cent. less in weight than an equivalent length of iron chain, will stand the same breaking strain as the latter, and indeed, where steel of special quality is used in making the weldless chains, this difference can be increased as much as 70 to 80 per cent. Whereas superior iron chains break at a strain at 17 tons per square inch, these weldless steel chains will stand a strain of 28 to 30 tons, with 20 to 26 per cent. elongation.
Again, there is greater security in their use from the fact that there are no welds, and they give warning of the limit of strain to which they can bear being approached, by elongation, which can be carried to a considerable extent before the chain breaks. Moreover, over, in chains made by this process, the links are all exactly alike. Though the life of a weldless steel chain is said to be twice that of an ordinary one, the price per length is little more than that of best iron chains.
They are made in lengths of from 40 to 50 feet, being compressed from a solid rolled steel bar, the section of which is shaped like a four-pointed star. In the first place holes are pierced at intervals down the length of the bar, thus determining the length of the several links. Then the bar is notched between the holes so as to give the external form of the links. The next step is "flattening out," which presses the links into shape on their inner side, but leaves the openings still closed by a plate of metal. They are then stamped out so as to round them up, and the metal inside them is punched out, and the edges "cleaned," or trimmed off. The links are now parted from one another and stamped again, to insure equal thickness in all parts of the chain. The only processes now to be gone through are dressing and finishing. According to the die used, the shape of the links can be varied to suit any required pattern. The lengths of chain thus made are joined by spiral rings made of soft steel, the convolutions being afterward hammered together till they become solid. A ring of this description, ¾ inch diameter, underwent a strain of 46,200 lb., that is, 23 tons to the square inch, its elongation being 21 per cent.
These chains have passed satisfactorily the tests of the Bureau Veritas, and both that association and Lloyd's have accepted their use on the same conditions and under the same tests as ordinary chains.
So much for the general idea of punching steel chains. We will now describe a recent invention by which superior steel chains are produced, the author of which is Mr. Hippolyte Rongier, of Birmingham, Eng. He says:
My invention has for its object the manufacture of weldless stayed chains, whereof each link, together with its cross strut or stay, is made of one piece of metal without any weld or joint; and the invention consists in producing a chain of stayed links from a bar of cruciform section by the consecutive series of punching, twisting and stamping operations hereinafter described, the punching operations being entirely performed on the metal when in the cold state.
Figs. 1 to 10 show the progressive stages in the manufacture of the chain, and the remaining figures show the series of tools that are employed.

MANUFACTURE OF WELDLESS CHAINS.
The general method of operation of making stayed chains according to my invention is so far similar to the methods heretofore proposed for making unstayed chains from the bar of cruciform section that the links are formed alternately out of the one and the other pair of diametrically opposite webs of the rod, the links, when severed and completed, being already enchained together at the time of their formation. The successive operations differ, however, in many important practical respects from those heretofore proposed, as will appear from the following detailed description of the successive steps in the process illustrated by Figs. 1 to 10.
I will distinguish the one pair of diametrically opposite webs of the bar and the notches and mortises punched therein and the links formed therefrom from the other pair by an index figure 1 affixed to the reference letters appertaining thereto.
a a are one pair of diametrically opposite webs, and a' a' the other pair of webs of the bar.
The first operation illustrated in Fig. 1 is to punch out of the edge of one of the webs, a, a series of shallow notches, b, at equal intervals apart, corresponding to the pitch of the links to be formed out of that pair of webs and situated where the spaces will ultimately be formed between the ends of that series of links. The notches are made with beveled ends, and are no deeper than is absolutely necessary (for the purpose of a guide stop in the subsequent operations, as hereinafter described), so as to avoid, as far as possible, weakening the bar transversely. This operation is repeated upon one of the pairs of webs a'; but whereas in the first operation of notching the web the "pitch" of the notches is determined by the feed mechanism, in this second operation of notching the notches, b, cut in the web, a, serve as guides to influence and compensate for any inaccuracy of the feed mechanism, so that the second set of notches, b', shall be intermediate of and rigorously equidistant from the first set of notches, b. This compensation is effected by the notches, b, fitting on to a beveled stop on the bed of the punching tool by which the notches, b', are cut, the beveled ends of the notches, b, causing the bar under the pressure of the punch to adjust itself in the longitudinal direction (if necessary) sufficiently to rectify any inaccuracy of feed. These notches, b b', similarly serve as guides to insure uniformity of spacing in the subsequent operations of punching out the links.
The second operation (illustrated in Fig. 2) is to punch out of the pair of opposite webs, a a, pairs of oblong mortises—two pairs, c c, and one pair, d d. These three pairs of mortises (which might be punched at separate operations, but are preferably punched at one stroke of the press) are situated as close as possible up to the faces of the other pairs of webs, a' a', the pairs of mortises, c c, being so spaced as to correspond in position to the eyes of the links to be formed, to which they correspond approximately in form, while the pair, d, correspond in position to the notches, b, and therefore to the intervals by which the links formed out of the same pair of webs, a a, will be separated when completed. This operation is continued along the whole length of the pair of webs, a. It will be observed that a considerable thickness of metal is left at a* between the notches, b, and the mortises, d. This is of primary importance and is one of the essential features of my method of manufacture, inasmuch as by first punching out the mortises, d, the subsequent removal of the metal from between the outer ends of the links is greatly facilitated, while by leaving the solid metal, a*, the transverse strength of the webs, a a, is not materially diminished, so that when the operation of punching the mortises, c and d, in the other pair of webs, a', is performed the bar will not be bent and crippled, as would inevitably be the case were the whole of the metal opposite the notches, b, which is ultimately to be removed, to be punched out at so early a stage of the manufacture. The operation of punching the pairs of mortises, c' and d, having been repeated along the other pair of webs, a', it will be observed that like the notches, b, the mortises, c d, in the one pair of webs alternate with those, c' d', in the other pair of webs.
The third operation (illustrated in Fig. 3) is to elongate the mortises, c d, and bring the mortises, c c', more nearly to the final form. This is performed by punches similar to but larger (in the direction of the length of the rod) than those used in the second operation.
The third operation, which is repeated upon both pairs of webs, a a a' a', may be considered as a second stage of the second operation, it being preferable to punch out the mortises in two stages in order to remove sufficient metal without unduly straining the bar.
The fourth operation (illustrated in Fig. 4) consists in roughly shaping the ends of the links externally by punching out the portions, a*, of the webs, a, between the links lying in the same plane or formed out of the same pair of webs. This operation is repeated on the other pair of webs, a'. Up to this point a continuous core of metal has been left at the intersection of the two pairs of webs.
The fifth operation (illustrated in Fig. 5) consists in punching out the portions, e, of the core at each side of the cross stay of the link, so as to separate the cross stay from the outer ends of the adjacent links. This operation is performed by removing a portion only of the metal of the core which intervenes between the cross stay and the outer ends of the adjacent links enchained with the link under operation—that is to say, portions, e*, of the core are temporarily left attached to the outer ends of the links in order to avoid crippling or bending the bar, which might occur were the whole of this metal, which is ultimately to be removed, to be punched out at once, these portions, e*, being supported by the bed die in the operation of punching out the spaces, e, as hereinafter described. This operation having been repeated upon both pairs of webs, it will be observed that the rod-like form of the chain is now only maintained by the portion of the core at the points, f, where the inner side of the eye or bow of one link is united with that of the next one. The severing of these intervening portions of the core and the breaking up of the rod into the constituent links of the chain constitute the sixth operation.
The sixth operation (illustrated in Fig. 6) is performed by torsion, and for this purpose one end of the rod is held fixed while the other is twisted once or twice in opposite directions, until by fatigue of the metal at the points, f, the whole of the links are severed almost at the same instant, and a chain of roughly formed stayed links is produced.
The seventh operation (illustrated in Fig. 7) is to remove the superfluous projecting pieces of metal both from the inside and outside of the ends of the links. For this purpose the two ends of each link are operated on at the same time by two pairs of punches corresponding to the outline of the ends of the link.
The eighth operation (illustrated in Fig. 8) is to bring the ends of the links to their finished rounded form. This is performed by stamping both ends of each link at the same time between pairs of shaping dies or swages.
The ninth operation (illustrated in Fig. 9) is to bring the middle portion of each link—that is to say, the side members and the cross stay—to the finished rounded form, which is also performed by means of a pair of dies or swages.
The tenth and last operation (illustrated in Fig. 10) is to contract the link slightly in the lateral direction in order to correct any imperfections at the sides left by the two previous operations and bring the link to a more perfect and stronger form, as shown. This operation has the important result of strengthening the link considerably by contracting or rendering more pointed the arched form of the bow or end of the link, and also by thickening the metal at that part where the wear is greatest, this thickening of the metal at the ends of the link occurring in the direction of the line of strain (as indicated by x in Fig. 10) and being brought about by the compression or "upsetting" of the metal at the end of the link. It may be preferable to perform this operation immediately after the seventh operation, and I reserve the right to do so.
In the case of large cables only the metal is preferably heated for the eighth, ninth, and tenth operations.
I will now refer to the figures which illustrate the series of tools whereby the above mentioned operations are performed.
Fig. 1a shows a plan (the punch being in section) and Fig. 1b an elevation of the bed die of the tool by which the notches b of the first operation are performed. The feed mechanism is not shown, but might be of any ordinary intermittent kind. g is a groove in the bed, in which lies the lower vertical web of the rod, of cruciform section, the two horizontal webs lying upon the bed with the edge of the web to be notched lying just over the die, in which works the punch, B, of which B' is the cutting edge. The punch is operated in the usual way, its lower end, which does not rise out of the die, acting as a guide. B* is the beveled stop in the groove, g, which by fitting in the notches, b or b', corrects inaccuracies of the feed.

FIG. 1a.

FIG. 1b.
Fig. 2a is a sectional plan and Fig. 2b an elevation of the tool by which the second operation is performed, the same tool being also used for performing the third operation. (Illustrated in Fig. 3a.) h h are a pair of bed-dies having a space h' between them to receive the lower web of the bar, and having notches, C C and D D, in their inner ends, forming counterparts of the punches by which the pairs of mortises, c d, Fig. 2, are punched in the pair of webs lying upon the bed-dies, h. These bed-dies are fitted to slide a little in opposite directions upon a suitable bed plate and are caused by the inclined cams, i', on the guides, i, of the press head (which pass through corresponding apertures in the bed-dies, h) to approach each other at the moment the punches come down on the work, so as to grip the lower web of the rod and support the pair of webs being operated on close up to the sides of the lower web lying in the space h', while when the punches rise the bed-dies move apart, so that the web is quite free in said space h' and the rod may be easily fed forward for a fresh stroke of the press. B* is the beveled stop in the space, k', as in the tool first described. The bed-dies h have a second set of notches C' D' at their outer ends, similar to but longer than those C D, so that by reversing the bed-dies they will form counterparts for a second set of punches corresponding thereto for performing the third operation—i.e., enlarging the mortises, c d, as represented in Figs. 3 and 3a; or, instead of adapting the dies, h, to perform the two operations, separate tools may be used for the second and third operations.

FIG. 2a.

FIG. 2b.

FIG. 3a.
Fig. 4a is an elevation and Fig. 4b a sectional plan of the tool for performing the fourth operation—namely, removing the portion a*, Figs. 3, 3a, 4a, and 4b. This is done by a pair of punches, A*, corresponding in shape to the ends of the link in the rough and to the aperture shown in the bed-die, k, Fig. 4b, which has a groove, k', to admit the lower web of and to guide the rod. The beveled stop, B*, used in operating on the pair of webs, a, corresponds to the notches, b'; but in operating on the webs, a', the stop must be replaced by one corresponding to the aperture left by the removal of the portion, a*.
Fig. 5a is an elevation, Fig. 5b a plan, and Fig. 5c a longitudinal vertical section of the tool for performing the fifth operation, the work being shown in section in the latter figure. It consists of a bed-die, l, with groove, m, to receive the lower web, but terminating at a distance from the die apertures, so as to leave supports, n, for the parts, e*, of the rod to resist the downward pressure of the punches, E, which remove the portions, e, from each side of the cross stay, as shown in Figs. 5b and 5c. The correct position of the work in regard to the punches is insured by these supporting parts, n, which terminate the grooves, m.

FIG. 5c.
Fig. 6a is an elevation of the winch for performing the sixth operation.

FIG. 6a.
Fig. 7a is an elevation and Fig. 7b a plan of the tool for performing the seventh operation. P P are the punches for trimming the outside and Q Q those for trimming the inside of the ends of the links. The links adjacent to the one to be operated on are brought together into the position shown in dotted lines, the bed-die having an aperture in it to admit of this, so that both ends of the link to be trimmed may be operated on together.

The tool for performing the eighth operation consists of a pair of swages, the bottom one only being shown in Fig. 8a. The swages correspond to the intended rounded sectional form of the ends of the link, which is placed in position between the swages in a similar manner to that described for Fig. 7b, so that both ends are rounded or finished off at once.

FIG. 8a.
Fig. 9a is a plan of the bottom swage of the tool for performing the ninth operation, the upper swage corresponding thereto at least in so far as the middle part of the link to be operated on is concerned.

FIG. 9a.
The tool for performing the tenth operation is represented in elevation and plan in Figs. 10a and 10b. It consists of a pair of bed-dies, R, fitted to slide together and operated by the cams, s, on the guide rods, S, the operation being similar to that of the tool shown in Figs. 2a and 2b, except that there are no punches, and that the link which lies in the cavity of the dies is merely compressed in the lateral direction by the inward motion of the bed-dies.
My invention further comprises a modification of the above described process, which has for its object to enable the weldless stayed links to be made as short and particularly as narrow as may be necessary in order to adapt the chain to run over the sheaves of pulley blocks and to suit other purposes for which short-link welded chain has heretofore only been available.

FIGS. 10 through 12.
In the manufacture of chains by the aforesaid process of punching there is a practical minimum limit for the dimensions of the punches which cannot be reduced without compromising their efficiency, and consequently the width (and therefore the length) of the link must necessarily bear a certain proportion to the thickness of the web of metal out of which it is formed, since the breadth of the link depends on the length of the cross stay, which is determined by the breadth of the mortises forming the eyes of the link. The present modification enables these dimensions to be reduced without reducing the dimensions, and consequently the efficiency, of the punches which form the eyes of the link. The modification applies to what I have designated the fifth operation of the above described process; and it consists in punching out the middle of the cross stay (so as to leave only two short stumps jutting inward from the side members of the link), this operation serving to interrupt the continuity of the core, which was the object of the fifth operation. For this purpose I substitute for the pair of punches illustrated in Figs. 5a and 5c a single punch, which removes that part of the "core" of the cruciform bar which is situated at the middle of the strut. This tool is represented in Fig. 11, and the effect of its operation is shown in Fig. 12. The subsequent operations, herein designated the sixth, seventh, eighth, and ninth operations, are performed as hereinbefore described; but the tenth operation has the effect of closing together the two stumps, g g, until they abut together at the middle of the link and together constitute a cross strut or stay, which prevents any further lateral collapse of the link. In the operation of closing up the gap between the stumps, g g, the link is brought to the narrow form shown in Fig. 12, the eyes of the links being only just wide enough to receive the end of the adjacent link enchained therewith without gripping it. This operation is performed by a tool similar to that shown in Figs. 10a and 10b, above referred to.
The steam fire engine of which we give an engraving is one specially built for the Indian government by Messrs. Shand, Mason & Co., London. It has the distinction of being the first steam fire engine supplied for the province of Upper Burma, having been purchased primarily for the royal palace, and to serve for the protection of the cantonment of Mandalay. The engine is placed vertically in front of the boiler, and consists of a double acting pump with valves which can be taken out for renewal or examination in two or three minutes. The capacity is 200 gallons per minute, and the height of jet 140 ft. As shown in the engraving, the fore part of the machine forms a hose reel and tool box, and can be instantly separated from the engine to allow of the independent use of the latter at a fire.
The engine is constructed with wrought iron side frames, fore carriage and wheels, and steel axles, springs, etc. The tool box, coachman's seat, and other parts are of teak. It is provided with Messrs. Shand, Mason & Co.'s quick steaming boiler, in which 100 lb. pressure can be raised from cold water in from five to seven minutes, an extra large fire box for burning wood, with fire door at the back, feed pump, and injector, fresh water tank, coal bunker, and other fittings and arrangements for carrying the suction pipe. A pole and sway bars are fitted for two ponies, and wood cross bars to pass over the backs of the animals at the tops of the collars. Two men are carried on the machine, a coachman on the box seat and a stoker on the footboard at the rear of the engine. The whole forms a very light and readily transportable fire engine.—The Engineer.
France.—The history of the aerial postal service and of the carrier pigeons of the siege of Paris has been thoroughly written, and is so well known that it is useless to recapitulate it in this place. It will suffice to say that sixty-four balloons crossed the Prussian lines during the war of 1870-1871, carrying with them 360 pigeons, 302 of which were afterward sent back to Paris, during a terrible winter, without previous training, and from localities often situated at a distance of over 120 miles. Despite the shooting at them by the enemy, 98 returned to their cotes, 75 of them carrying microscopic dispatches. They thus introduced into the capital 150,000 official dispatches and a million private ones reduced by photo-micrographic processes. The whole, printed in ordinary characters, would have formed a library of 500 volumes. One of these carriers, which reached Paris on the 21st of January, 1871, a few days previous to the armistice, carried alone nearly 40,000 dispatches.
The pigeon that brought the news of the victory of Coulmiers started from La Loupe at ten o'clock in the morning on the tenth of November, and reached Paris a few minutes before noon. The account of the Villejuif affair was brought from Paris to Tourcoing (Nord) by a white pigeon belonging to Mr. Descampes. This pigeon is now preserved in a stuffed state in the museum of the city. The carrier pigeon service was not prolonged beyond the 1st of February, and our winged brothers of arms were sold at a low price at auction by the government, which, once more, showed itself ungrateful to its servants as soon as it no longer had need of their services. After the commune, Mr. La Perre de Roo submitted to the president of the republic a project for the organization of military dove cotes for connecting the French strongholds with each other. Mr. Thiers treated the project as chimerical, so the execution of it was delayed up to the time at which we saw it applied in foreign countries.
In 1877, the government accepted a gift of 420 pigeons from Mr. De Roo, and had the Administration of Post Offices construct in the Garden of Acclimatization a model pigeon house, which was finished in 1878, and was capable of accommodating 200 pairs.
At present, the majority of our fortresses contain dove cotes, which are perfectly organized and under the direction of the engineer corps of the army.
The map in Fig. 1 gives the approximate system such as it results from documents consulted in foreign military reviews.
According to Lieutenant Grigot, an officer of the Belgian army, who has written a very good book entitled Science Colombophile, a rational organization of the French system requires a central station at Paris and three secondary centers at Langres, Lyons and Tours, the latter being established in view of a new invasion.
As the distance of Paris from the frontier of the north is but 143 miles at the most, the city would have no need of any intermediate station in order to communicate with the various places of the said frontier. Langres would serve as a relay between Paris and the frontier of the northeast. For the places of the southeast it would require at least two relays, Lyons and Langres, or Dijon.

FIG. 1.—THEORETIC MAP OF THE FRENCH SYSTEM OF MILITARY DOVE COTES.
As Paris has ten directions to serve, it should therefore possess ten different dove cotes, of 720 birds each, and this would give a total of 7,200 pigeons. According to the same principle, Langres, which has five directions to provide for, should have 3,600 pigeons.
Continuing this calculation, we find that it would require 25,000 pigeons for the dove cotes as a whole appropriated to the frontiers of the north, northeast, east, and southeast, without taking into account our frontiers of the ocean and the Pyrenees.

FIG. 2.—BASKET FOR CARRYING PIGEONS.
A law of the 3d of July, 1877, supplemented by a decree of the 15th of November, organized the application of carrier pigeons in France.
One of the last enumerations shows that there exist in Paris 11,000 pigeons, 5,000 of which are trained, and, in the suburbs, 7,000, of which 3,000 are trained. At Roubaix, a city of 100,000 inhabitants, there are 15,000 pigeons. Watrelos, a small neighboring city of 10,000 inhabitants, has no less than 3,000 carrier pigeons belonging to three societies, the oldest of which, that of Saint-Esprit, was founded in 1869.
In entire France, there are about 100,000 trained pigeons, and forty-seven departments having pigeon-fancying societies.
Germany.—After the war of 1870, Prussia, which had observed the services rendered by pigeons during the siege of Paris, was the first power to organize military dove cotes.
In the autumn of 1871, the Minister of War commissioned Mr. Leutzen, a very competent amateur of Cologne, to study the most favorable processes for the recruitment, rearing, and training of carrier pigeons, as well as for the organization of a system of stations upon the western frontier.
In 1872, Mr. Bismarck having received a number of magnificent Belgian pigeons as a present, a rearing station was established at the Zoological Garden of Berlin, under the direction of Dr. Bodinas.
In 1874 military dove cotes were installed at Cologne, Metz, Strassburg, and Berlin. Since that time there have been organized, or at least projected, about fifteen new stations upon the frontier of France, upon the maritime coasts of the north, or upon the Russian frontier.
Berlin remains the principal rearing station, with two pigeon houses of 500 pigeons each; but it is at Cologne that is centralized the general administration of military dove cotes under Mr. Leutzen's direction. The other stations are directly dependent upon the commandant of the place, under the control of the inspector of military telegraphy. The Wilhelmshaven dove cote, by way of exception, depends upon the Admiralty. In each dove cote there is a subofficer of the engineer corps and an experienced civil pigeon fancier, on a monthly salary of ninety marks, assisted by two orderlies. In time of war, this personnel has to be doubled and commanded by an officer.
The amount appropriated to the military dove cotes, which in 1875 was about 13,000 francs, rose in 1888 to more than 60,000 francs.
As a rule, each dove cote should be provided with 1,000 pigeons, but this number does not appear to have been yet reached except at Thorn, Metz, and Strassburg.
Germany has not confined herself to the organization of military dove cotes, but, like other nations, has endeavored to aid and direct pigeon fancying, so as to be able, when necessary, to find ready prepared resources in the civil dove cotes. The generals make it their duty to be present, as far as possible, at the races of private societies, and the Emperor awards gold medals for flights of more than 120 miles.
On the 13th of January, 1881, nineteen of these societies, at the head of which must be placed the Columbia, of Cologne, combined into a federation. At the end of the year the association already included sixty-six societies. On the 1st of December, 1888, it included seventy-eight, with 52,240 carrier pigeons ready for mobilization.
The first two articles of the statutes of the Federation are as follows:
"I. The object of the Federation is to unite in one organization all societies of pigeon fanciers in order to improve the service of carrier pigeons, which, in case of war, the country must put to profit.
"II. The Federation therefore proposes: (a) To aid the activity of pigeon-fancying societies and to direct the voyages of the societies according to a determined plan; (b) to form itinerent societies and on this occasion to organize expositions and auction sales of pigeons; (c) to maintain relations with the Prussian Minister of War; (d) to obtain diminutions and favors for transportation; (e) to make efforts for the extermination of vultures; (f) to obtain a legal protection for pigeons; and (g) to publish a special periodical for the instruction of fanciers."
Italy.—The first military dove cote in Italy was installed in 1876 at Ancona by the twelfth regiment of artillery. In 1879, a second station was established at Bologna. At present there are in the kingdom, besides the central post at Rome, some fifteen dove cotes, the principal ones of which are established at Naples, Gaeta, Alexandria, Bologna, Ancona and Placenza. There are at least two on the French frontier at Fenestrella and Exilles, and two others in Sardinia, at Cagliari and Maddalena. The complete system includes twenty-three; moreover, there are two in operation at Massoua and Assab.
The cost of each cote amounts to about 1,000 francs. The pigeons are registered and taken care of by a pigeon breeder (a subofficer) assisted by a soldier. The head of the service is Commandant of Engineers Malagoli, one of the most distinguished of pigeon fanciers.
We represent in Fig. 2 one of the baskets used in France for carrying the birds to where they are to be set free.—La Nature.
We place on record the details of the first high speed twin screw steamer built for the service. Of this vessel, named the Tynwald, we give a profile and an engraving of stern, showing the method of supporting the brackets for propeller shafting.

The Tynwald is 265 feet long, 34 feet 6 inches beam, and 14 feet 6 inches depth moulded, the gross tonnage being 946 tons. The desire of the owners to put the vessel alternately on two distinct services required special arrangement of the saloons. Running between Liverpool and the island there was no necessity for sleeping accommodation, as the passage is made in about three hours; and the ship had to be suited to carry immense crowds. But as the owners wished on special occasions to run the vessel from Glasgow to Manxland it was necessary to so arrange the saloons as to admit of sleeping accommodation being provided on these occasions. On the Liverpool run the vessel will carry from 800 to 900 passengers. A spacious promenade is an indispensable desideratum, and the upper or shelter deck has been made flush from stem to stern, the only obstructions in addition to the engine and boiler casings, and the deck and cargo working machinery, being a small deck house aft with special state rooms, ticket and post offices, and the companion way to the saloons below. On the main deck forward is a sheltered promenade for second class passengers, while on the lower deck below are dining saloons, the sofas of which may be improvised for sleeping accommodation. At the extreme after end of the main deck is the first class saloon, with the ladies' room forward on the starboard side, and, there being no alley way forward, the ladies' lavatories are provided on the starboard side of the engine casing. On the port side are the gentlemen's lavatories, and smoking saloon and bar. The dining saloon is aft on the lower deck, with ladies' room forward. In the two saloons and ladies' rooms sofa berths can be arranged to accommodate 252 passengers. The crew and petty officers are accommodated in the forward part of the ship. As the profile shows, the vessel is divided by transverse bulkheads into seven watertight compartments, and there are double bottoms. She has six large boats and several rafts.
THE LIVERPOOL AND ISLE OF MAN TWIN SCREW STEAMER TYNWALD.
The twin screws are revolved by separate triple expansion engines, steam being supplied by two double-ended boilers. Each boiler is placed fore and aft, and each has a separate uptake and funnel. There are three stokeholds, and to ventilate them and supply sufficient air for the furnaces there is in each a 6 foot fan driven by an independent engine running at 250 revolutions. These have been supplied by Messrs. W.H. Allen & Co., London. The boilers are of steel and adapted for a working pressure of 160 lb. to the square inch. They are 16 feet in diameter and 18 feet long, and there are eight furnaces in each boiler, sixteen in all, the diameter of each furnace being 3 feet 4½ inches.
The cylinders of the main engines are 22 in., 36 in., and 57 in. in diameter respectively, with a piston stroke of 3 ft. The high-pressure cylinders are each fitted with a piston valve, and the intermediate and low-pressure cylinders with double-ported slide valves, all of which are worked by the usual double eccentric and link motion valve gear, by which the cut-off can be varied as required. All the shafting is forged of Siemens-Martin mild steel of the best quality, each of the three separate cranks being built up. The condensers are placed at the outsides of the engine room, and the air, feed, and bilge pumps are between the engines and the condensers and worked by levers from the low-pressure engine crosshead. There are two centrifugal pumps, each worked by a separate engine for circulating water through the condenser, and these are so arranged that they can be connected to the bilges in the event of an accident to the ship. In the engine room there is fitted an auxiliary feed donkey of the duplex type and made by the Fairfield Company.
This pump has all the usual connections, so that it can be used for feeding the boilers from the hot well, for filling the fresh water tanks, for pumping from the bilges, or from the sea as a fire engine. The engines are arranged in the ship with the starting platform between them; and the handles for working the throttle valves, starting valves, reversing gear (Brown's combined steam and hydraulic), and drain cocks are brought together at one end of the platform, so that the engineer in charge can readily control both engines. The two sets of engines are bound together by two beams bolted to the framing of each engine. This feature was introduced into the design for steadiness.
The method of supporting the propeller shaft brackets is interesting, and we reproduce a photograph that indicates the arrangement adopted. Instead of the A frame forming part of the same forging as the stern frame, the Fairfield Company have built up the supporting arms of steel plates riveted together, as is clearly shown. There is an advantage in cost and with less risk in undiscovered flaws in material.
An interesting change has been made in the steam pipes. Cases of copper steam pipes bursting when subjected to high pressure have not been infrequent, and Mr. A. Laing, the engineering director on the Fairfield Board, with characteristic desire to advance engineering practice, has been devoting much attention to this question lately. He has made very exhaustive tests with lap welded iron steam pipes of all diameters, but principally of 10 in. diameter and 3/8 in. thickness of material, made by Messrs. A. & J. Stuart & Clydesdale, Limited, and the results have been such as to induce him to introduce these into vessels recently built by the company. It may be stated that the pipes only burst at a hydraulic pressure of 3,000 lb. to the square inches.
The Tynwald was tried on the Clyde about a month ago, and on two runs on the mile, the one with and the other against the tide, the mean speed was 19.38 knots—the maximum was 19½ knots—and the indicated horse power developed was 5,200, the steam pressure being 160 lb., and the vacuum 28 lb. Since that time the vessel has made several runs from Liverpool and from Glasgow to the Isle of Man, and has maintained a steady seagoing speed of between 18 and 19 knots.—Engineering.
Mr. Jas. J. Shedlock, with the assistance of Mr. T. Denny, of Australia, has constructed on behalf of the Metallurgical Syndicate, of 105 Gresham House, London, an apparatus on a commercial scale, which, it is said, effects at the smallest expense, and with the best economical results, the entire separation of metals from their ores. In treating ores by this process, the stone is crushed in the usual way, either by rolls or stamps, the crushed ore being conveyed into an apparatus, where each atom is subjected to the action of gases under pressure, whereby the whole of the sulphur and other materials which render the ore refractory are separated. The ore is then conveyed into a vessel containing an absorbing fluid metal, so constructed that every particle of the ore is brought into contact with the metal. For the production of reducing gases, steam and air are passed through highly heated materials, having an affinity for oxygen, and the gases so produced are utilized for raising the ore to a high temperature. By this means the sulphur and other metalloids and base metals are volatilized and eliminated, and the gold in the ore is then in such a condition as to alloy itself or become amalgamated with the fluid metal with which it is brought into close contact. The tailings passing off, worthless, are conveyed to the dump.
The apparatus in the background is that in which the steam is generated, and which, in combination with the due proportion of atmospheric air, is first superheated in passing through the hearth or bed on which the fire is supported. The superheated steam and air under pressure are then forced through the fire, which is automatically maintained at a considerable depth, by which means the products of combustion are mainly hydrogen and carbonic oxide. These gases are then conveyed by means of the main and branch pipes to the cylindrical apparatus in the foreground, into which the ore to be acted upon is driven under pressure by means of the gases, which, being ignited, raise the ore to a high temperature. The ore is maintained in a state of violent agitation. Each particle being kept separate from its fellows is consequently very rapidly acted upon by the gases. The ore freed from its refractory constituents is then fed into a vessel containing the fluid metal, in which each particle of ore is separated from the others, and being acted upon by the fluid metal is absorbed into it, the tailings or refuse passing off freed from any gold which may have been in the ore.

APPARATUS FOR THE TREATMENT OF REFRACTORY ORES.
Quantities of refractory ores treated by this process are said to have demonstrated that the whole of the gold in the ore is extracted. The successful outcome of these trials is stated to have resulted in the Anglo-French Exploration Co. acquiring the right to work the process on the various gold fields of South Africa. It is anticipated that the process will thus be immediately brought to a test by means of apparatus erected on the gold fields under circumstances and conditions of absolute practical work. As is well known, gold-bearing ores in South Africa which are below the water line are, by reason of the presence of sulphur, extremely difficult to deal with, and are consequently of small commercial value. The gold in these ores, it is maintained, will, by the new process, be extracted and saved, and make all the difference between successful and unsuccessful mining in that country.
It will have been seen that the peculiar and essential features of the invention consist in subjecting every particle of the ore under treatment to the process in all its stages instead of in bulk, thereby insuring that no portion shall escape being acted upon by the gases and the absorbing metal. This is done automatically and in a very rapid manner. It is stated that this method of treatment is applicable to all ores, the most refractory being readily reducible by its means. The advantages claimed for this process are: simplicity of the apparatus, it being practically automatic; that every particle of the ore is separately acted upon in a rapid and efficient manner; that the apparatus is adaptable to existing milling plants; and that there is an absence of elaborate and expensive plant and of the refinements of electrical or chemical science. These advantages imply that the work can be done so economically as to commend the new process to the favorable consideration of all who are interested in mines or mining property.—Iron.
A number of years ago the author devised a method for refining silver bullion by sulphuric acid, in which iron was substituted for copper as precipitant of silver, the principal feature being the separation of pure crystals of silver sulphate. A full description of this process may be found in Percy's Metallurgy, "Silver and Gold," page 479. The process has been extensively worked in San Francisco and in Germany in refining bullion to the amount of more than a hundred million dollars' worth of silver. Its more general application has been hampered, however, by the circumstance that the patent had been secured by one firm which limited itself to its utilization in its California works. The patent having expired, the author lately introduced a modification of the process by which the apparatus and manipulations are greatly cheapened and simplified. In the following account is given a short description of the process in its present shape.
Preparing the Silver Sulphate.—The bullion, containing, essentially, silver, copper and gold, is dissolved by boiling with sulphuric acid in cast iron pots. The difference between the new process and the usual practice consists in the use of a much larger quantity of acid. Thus, in refining ordinary silver "dore," four parts of acid are used to one part of bullion. Of this acid one part is chemically and mechanically consumed in the dissolving process, and the remaining three parts are fully recovered and at once ready for reutilization, as will be described hereafter. In the usual process—understanding thereby, here and in the following, the process practiced at the United States mints, for instance—two parts of acid are employed for one of bullion; all of this is lost, partly through the dissolving and partly in being afterward mixed with water, previous to the precipitation of the silver by copper. Economy in acid being therefore imperative, the silver solution finally becomes much concentrated, and it requires high heat and careful management to finish the solution of the bullion. Bars containing more than about 10 per cent. of copper cannot be dissolved at all, owing to the separation of copper sulphate insoluble in the small amount of free acid finally remaining. The advantage gained by dissolving bullion with abundance of free acid in the improved process is so evident that it merely requires to be pointed out. For bullion containing 20 per cent. of copper the author employs six parts of acid to one of bullion; for baser metal still more acid, and so on, never losing more than the stochiometrical percentage of acid and recovering the remainder. In this description he, however, confines himself to the treatment of ordinary silver ore with less than 10 per cent. of copper.
In the diagram A A represent two refining pots, 4 ft. in diameter and 3 ft. in depth, each capable of dissolving at one operation as much as 400 pounds of bullion. The acid is stored in the cast iron reservoir, B, which is placed on a level sufficiently high to charge into A by gravitation, and is composed of fresh concentrated acid mixed with the somewhat dilute acid regained from a previous operation. After the bullion is fully dissolved all the acid still available is run from B into A A. The temperature and strength are thereby reduced, the fuming ceases, any still undissolved copper sulphate dissolves, and the gold settles. In assuming that the settling of the gold takes place in A itself, the author follows the practice of the United States mints. In private refineries, where refining is carried on continuously, the settling may take place in an intermediate vessel, and A A be at once recharged. Owing to the large amount of free acid present, the temperature must fall considerably before the separation of silver sulphate commences, and sufficient time may be allowed for settling if the intermediate vessel be judiciously arranged.

Separating the Silver Sulphate.—The clarified solution is siphoned off the gold from A A into C, which is an open cast iron pan, say 8 ft. by 4 ft. and 1 ft. deep. It is supported by means of a flange in another larger pan—not shown in the diagram—into which water may be admitted for cooling. Steam is blown into the acid solution, still very hot, as soon as C is filled. The steam is introduced about 1 in. below the surface of the liquid, blowing perpendicularly downward from a nozzle made of lead pipe through an aperture 1/8 in. in diameter. Under these circumstances the absorption of the steam is nearly perfect, and takes place without any splashing. The temperature rises with the increasing dilution, and may be regulated by the less experienced by manipulating the cooling tank. An actual boiling is not desired, because it protracts unnecessarily the operation by the less perfect condensation of the steam. No separation of silver sulphate occurs during this operation (and, consequently, there is no clotting of the steam nozzle), the large amount of free acid, combined with the increase of temperature, compensating for the diminution of the solubility of the sulphate by the dilution. The most important point in this procedure is to know when to stop the admission of steam. To determine this, the operator takes a drop or two of the solution upon a cold iron plate by means of a glass rod and observes whether after cooling the sample congeals partly or wholly into a white mass of silver bisulphate, or whether the silver separates as a monosulphate in detached yellow crystals, leaving a mother liquor behind. As soon as the latter point has been reached, steam is shut off and the solution is allowed to crystallize, cold water being admitted into the outer pan. The operator may now be certain that the liquid will no longer congeal into a soft mass of silver bisulphate, which on contact with water will disintegrate into powder, obstinately retaining a large amount of free acid; but the silver will separate as a monosulphate in hard and large yellow crystals retaining no acid and preserving their physical characteristics when thrown into water. After cooling to, say, 80° F., the silver sulphate will have coated the pan C about 1 in. thick. There will also be found a deposit of copper sulphate when the mother acid, after having been used over and over again, has been sufficiently saturated therewith. Lead sulphate separates in a cloud, which, however, will hardly settle at this stage.
The whole operation just described, which constitutes the most essential feature of the author's improvement upon his old process described in Dr. Percy's work, is a short one, as the acid requires by no means great dilution. The steam has merely to furnish enough water to dilute the free acid present to, say, 62° B. Areometrical determination is, of course, not possible, on account of the dissolved sulphates.
Reducing the Silver Sulphate to Fine Silver.—The mother acid is pumped from C to the reservoir, B, for this purpose an iron pipe connecting the top of B with a recess in the bottom of C. The tank, B, is cast as a closed vessel, with a manhole in the top, which is ordinarily kept closed by an iron plate resting on a rubber packing. The air is exhausted from B by a steam injector, and the acid rises from C and enters B without coming in contact with any valves. The volume of fresh commercial acid necessary for another dissolving operation, say 800 pounds, more or less, for refining 800 pounds of bullion in A A, is lifted from some other receptacle into B in the same manner. The mixture of the two acids in B now represents the volume of acid to be employed for dissolving and settling the next charge of 800 pounds of bullion in A A. In this reservoir, B, the cloud of lead sulphate mentioned above finds an opportunity for settling.
The crystals of silver sulphate are detached from C by an iron shovel and thrown into D. D is a lead lined tank about 4 ft. by 4 ft. and 3 ft. deep. It is divided into two compartments by means of a horizontal, perforated false bottom made of wood. From the lower compartment a lead pipe discharges into the lead lined reservoir, E. Warm distilled water is allowed to percolate the crystals until the usual ammonia test indicates that the copper sulphate has been sufficiently dissolved. Then the outflow is closed, sheets of iron are thrown on and into the crystals, the apparatus is filled with hot distilled water, and steam is moderately admitted into the lower compartment. Ferrous sulphate is formed, and in connection with the iron rapidly reduces the silver sulphate to the metallic state, the reduced silver retaining the heavy compact character of the crystals. When the reaction is completed, as indicated by the chlorine test, the liquid is discharged into E, the iron sheets are removed and the silver is sweetened either in the same vessel, D, or in a special filtering vessel which rests on wheels and may be run directly to the hydraulic press.
The vat, E, is the great reservoir where all liquids holding silver sulphate in solution are collected; for instance, that from sweetening the gold and from washing the tools. Sheets of iron here precipitate all silver and copper, and the resulting solution of ferrous sulphate is, with the usual precautions, discharged into the sewer. Occasionally when copper and silver have accumulated in E in sufficient amount the mass is thrown into D, silver sulphate crystals are added and sheet copper is thrown in, instead of sheet iron. There results a hot, neutral, concentrated solution of copper sulphate, which may be run at once into a crystallizing vat for the separation of commercial crystals of copper sulphate. It will be readily understood, of course, that if there should be any advantage in manufacturing that commercial article, besides the amount prepared as described, which represents merely the copper contained in the bullion, copper sheets may be regularly employed for reducing the silver sulphate in D. The author trusts that the practical refiner will recognize that the manufacture of commercial copper sulphate is thus effected in a more rational and economical manner than by the present method of evaporating from 25° B. to 35° B., and of saturating by oxidized copper, generally in a very incomplete manner, the large amount of free acid left from the refining by the usual process. However, the sale of copper sulphate is but rarely so profitable that a refinery should not gladly dispense with that troublesome and bulky manufacture, especially the government establishments, which, besides, waste much valuable space with the crystallizing vats.
The great saving in sulphuric acid, amounting to about 50 per cent. of the present consumption, has already been pointed out. Another advantage the author merely mentions, namely, the easier condensation of the sulphurous fumes in refineries situated in cities, because the larger amount of acid available for dissolving greatly facilitates working and makes the usual frequent admission of air into the refining pot for the purpose of stirring and testing unnecessary.
The more air is excluded from the refining fumes the easier they can be condensed.
Work may be carried on continuously, the vessels C and D being empty by the time a new solution is finished in A A. Thus, the plant shown in the diagram, covering 26 ft. by 16 ft., allows the refining of 40,000 ounces of fine silver in 24 hours; that is, four charges in A A of 800 pounds each.—F. Gutzkow, Eng. and Mining J.
As is usual at this season, casualties from drowning are of frequent occurrence. No class of emergencies is of a more startling character, and I think that a history of the case which I now present offers some peculiar features, and will not be without interest to physicians.
The accident which forms the subject of this paper occurred August 29, 1890, at South Harpswell, Casco Bay, Me., where I was passing my vacation.
At about 9.30 A.M., M. B——, an American, aged eighteen, the son of a fisherman, a young man of steady habits and a good constitution, with excellent muscular development, and who had never before required the aid of a physician, was seen by the residents of the village to fall forward from a skiff into the water and go down with uplifted hands. I could not learn that he rose at all after the first submersion. Two men were standing near a bluff which overlooked the bay, and after an instant's delay in deciding that an accident had occurred, they ran over an uneven and undulating pasture for a distance of two hundred and fifty paces to the shore. One of them, after a quick decision not to swim out to where the young man had fallen in and dive for him, removed trousers and boots and waded out five yards to a boat, which he drew into the shore and entered with his companion, taking him to a yacht which lay two hundred and forty yards from the shore, in the padlocked cabin of which was a boat hook. The padlock was unfastened, the boat hook taken, and they proceeded by the boat directly to where the young man lay. He was seen through the clear water, lying at a depth of nine feet at the bottom of the bay, on his back, with upturned face and arms extended from the sides of the body. He was quickly seized by the boat hook, drawn head upward to the surface, and with the inferior portion of the body hanging over the stern of the boat, and the superior supported in the arms of his rescuer, was rowed rapidly to the shore, where he was rolled a few times, and then placed prone upon a tub for further rolling. I was told that much water came from his mouth. Meantime I had been sent for to where I was sitting, one hundred and fifty-one yards from the scene, and I arrived to find him apparently lifeless on the tub, and to be addressed with the remark, "Well, doctor, I suppose we are doing all that can be done."
I have given these details, as from a study of them I was aided in deciding the time of submersion, as well as the intervals which transpired before the intelligent use of remedies. It is also remarkable that, notwithstanding all which has been written about ready remedies for drowning, no one present knew anything about them, although living in a seafaring community.
I immediately directed that the patient should at once be placed upon the ground, which was sloping, and arranged his rubber boots under the back of the head and nape of the neck, so that the head should be slightly elevated and the neck extended, while the head was turned somewhat upon the side, that fluids might drain from the mouth. The day was clear and moderately warm. Respiration had ceased, but no time was lost in commencing artificial respiration. The patient had on a shirt and pantaloons, which were immediately unbuttoned and made loose, and placing myself at his head, I used the Silvester method, because I was more accustomed to it than any other. It seems to me more easy of application than any other, and I have often found it of service in the asphyxia of the newly born.
The patient's surface was cold, there was extensive cyanosis, and his expression was so changed that he was not recognized by his fellow townsmen, but supposed to be a stranger. The eyelids were closed, the pupils contracted, and the inferior maxilla firmly set against the superior. One of the men who had brought him ashore had endeavored to find the heart's impulse by placing his hand upon the chest, but was unable to detect any motion.
I continued the artificial respiration from 9.45 until 10, when I directed one of his rescuers to make pressure upon the ribs, as I brought the arms down upon the chest. This assistance made expiration more complete. When nature resumed the respiratory act I am unable to say, but the artificial breathing was continued in all its details for three-quarters of an hour, and then expiration was aided by pressure on the chest for half an hour longer. Friction upward was also applied to the lower extremities, and the surface became warm about half an hour after the beginning of treatment.
About twenty minutes after ten, two hypodermic syringefuls of brandy were administered, but I did not repeat this, since I think alcohol is likely to increase rather than diminish asphyxia, if given in any considerable quantity. A thermometer, with the mercury shaken down below the scale, at this time did not rise. At 11.8 the pulse was 82; respiration, 27; temperature, 97.
After a natural respiration had commenced, the wet clothing was removed, and the patient was placed in blankets. Ammonia was occasionally applied to the nostrils, since, although respiration had returned, there was no sign of consciousness; the natural respiration was at first attended by the expulsion of frothy fluid from the lips, which gradually diminished, and auscultation revealed the presence of a few pulmonary rales, which also passed away. There were efforts at vomiting, and pallor succeeded cyanosis; there were also clonic contractions of the flexors of the forearm. The pupils dilated slightly at about one hour after beginning treatment. Unconsciousness was still profound, and loud shouting into the ear elicited no response. Mustard sinapisms were applied to the præcordium, and the Faradic current to the spine.
Coffee was also administered by a ready method which, as a systematic procedure, was, I believe, novel when I introduced it to the profession in the Medical Record, in 1876. I take the liberty of referring to this, since I think it is now sometimes overlooked. It was described as follows:
"A simple examination which any one can make of his own buccal cavity will show that posterior to the last molar teeth, when the jaws are closed, is an opening bounded by the molars, the body of the superior, and the ramus of the inferior maxilla. If on either side the cheek is held well out from the jaw, a pocket, or gutter, is formed, into which fluids may be poured, and they will pass into the mouth through the opening behind the molars, as well as through the interstices between the teeth. When in the mouth they tend to create a disposition to swallow, and by this method a considerable quantity of liquid may be administered."
After I had worked with the patient in the open air, for four and three-quarter hours, he was carried to a cottage near by and placed, still unconscious, in bed. There had been an alvine evacuation during the time in which he lay in the blankets.
Consciousness began to return in the early part of the following morning, and with its advent it was discovered that the memory of everything which had occurred from half an hour previous to the accident, up to the return of consciousness, had been completely obliterated. With this exception the convalescence was steady and uncomplicated, and of about a week's duration. From a letter which I recently received from my patient, I learned that the lapse of memory still remains.
My experience with this case has taught me that, unless the data have been taken very accurately, we cannot depend upon any statements as to the time of submersion in cases of drowning. My first supposition was that my patient had been from thirteen to fifteen minutes under water, but a careful investigation reduced the supposed time by one-half. This makes the time of submersion about six minutes, and that which elapsed before the intelligent use of remedies about three minutes longer.
For a long time the opinion of Sir Benjamin Brodie concerning the presence of water in the lungs of the drowned was accepted, who says "that the admission of water into the lungs is prevented by a spasm of the muscles of the glottis cannot, however, be doubted, since we are unable to account for it in any other manner."
Later experiments made by a committee of the Royal Medico-Chirurgical Society, of London, demonstrated, on the contrary, that "in drowned animals not only were all the air passages choked with frothy fluid, more or less bloody, but that both lungs were highly gorged with blood, so that they were heavy, dark colored, and pitted on pressure, and on being cut exuded an abundance of blood-tinged fluid with many air bubbles in it." Dr. R.L. Bowles1 also holds that the lungs of the drowned contain water, and supports his views by a list of cases. In his words, "These examples show very conclusively that in cases of drowning in man, water does exist in the lungs, that the water only very gradually and after a long time is effectually expelled, and that it is absolutely impossible that any relief should be afforded in that way by the Silvester method." Dr. Bowles believes that the method of Dr. Marshall Hall is superior to any other in this class of cases. He thinks that on account of the immediate adoption and continued use of the prono-lateral position, this method is more to be trusted than any other for keeping the pharynx clear of obstruction. "It also empties the stomach and gradually clears the lungs of the watery and frothy fluids, and will surely and gently introduce sufficient air at each inspiration to take the place of the fluid which has been expelled." In the light of even my limited experience I cannot but feel that Dr. Bowles' opinion concerning the Silvester method would admit of some modification. This is often the case with very positive statements concerning medical matters. In my own case the Silvester method answered well, but I was much impressed with Dr. Bowles' claims for the Marshall Hall method, and should bear them in mind were I called upon to attend another case of drowning.
I think it must be admitted that pulling the tongue forward as a means of opening the glottis, which has become a standard treatment in asphyxia, is unscientific, and not warranted by the results of experiments made to determine its value.2
Dr. Bowles also believes that "the safety of the patient is most perfectly secured by keeping him on one side during the whole treatment, one lung being thus kept quite free." With the account of my case I have brought forward such views of other writers as it seemed to me would be of practical service and throw light on a subject which is of great importance, since the yearly record of mortality from drowning is by no means inconsiderable. I think, however, that a knowledge of what ought to be done in cases of drowning should be much more generally diffused than is the case at present. It should be one of the items of school instruction, since no one can tell when such knowledge may be of immense importance in saving life, and the time lost in securing medical aid would involve a fatal result.
It is also very desirable that all doubt should be removed, by the decision of competent medical authorities, as to which "ready" method or methods are the best, since there are several in the field. With this should be decided what is the best means for securing patency of the air passages, and, in short, a very careful revision of the treatment now recommended for drowning, in order that there may be no doubt as to the course which should be adopted in such a serious emergency.—Medical Record.
Resuscitation of the Apparently Drowned, by R.L. Bowles, M.D., F.R.C.P., Medico-Chirurgical Transactions, vol. lxxii., 1889.
Dragging on the tongue's tip would not affect its base or the epiglottis sufficiently to make it a praiseworthy procedure. Medico-Chirurgical Transactions, vol. lxxii. See also Medical Record, April 4, 1891. Pulling out the tongue is a mistake, since irritation of nerves of deglutition stops the diaphragm.—Medical Times and Gazetteer.
The opening meeting of the British Association was held in Park Hall, Cardiff, August 18, where a large and brilliant audience assembled, including, in his richly trimmed official robes, the Marquis of Bute, who this year holds office as mayor of Cardiff. At the commencement of the proceedings Sir Frederick Abel took the chair, but this was only pro forma, and in order that he might, after a few complimentary sentences, resign it to the president-elect, Professor Huggins, the eminent astronomer, who at once, amid applause, assumed the presidency and proceeded to deliver the opening address.
Dr. Huggins said that the very remarkable discoveries in our knowledge of the heavens which had taken place during the past thirty years—a period of amazing and ever-increasing activity in all branches of science—had not passed unnoticed in the addresses of successive presidents; still, it seemed to him fitting that he should speak of those newer methods of astronomical research which had led to those discoveries, and which had become possible by the introduction into the observatory, since 1860, of the spectroscope and the modern photographic plate. Spectroscopic astronomy had become a distinct and acknowledged branch of the science, possessing a large literature of its own, and observatories specially devoted to it. The more recent discovery of the gelatine dry plate had given a further great impetus to this modern side of astronomy, and had opened a pathway into the unknown of which even an enthusiast thirty years ago would scarcely have dared to dream.
It was now some thirty years since the spectroscope gave us for the first time certain knowledge of the nature of the heavenly bodies, and revealed the fundamental fact that terrestrial matter is not peculiar to the solar system, but is common to all the stars which are visible to us. Professor Rowland had since shown us that if the whole earth were heated to the temperature of the sun, its spectrum would resemble very closely the solar spectrum. In the nebulæ, the elder Herschel saw portions of the fiery mist or "shining fluid," out of which the heavens and the earth had been slowly fashioned. For a time this view of the nebulæ gave place to that which regarded them as external galaxies—cosmical "sand heaps," too remote to be resolved into separate stars, though, indeed, in 1858, Mr. Herbert Spencer showed that the observations of nebulæ up to that time were really in favor of an evolutional progress. In 1864 he (the speaker) brought the spectroscope to bear upon them; the bright lines which flashed upon the eye showed the source of the light to be glowing gas, and so restored these bodies to what is probably their true place, as an early stage of sidereal life. At that early time our knowledge of stellar spectra was small. For this reason partly, and probably also under the undue influence of theological opinions then widely prevalent, he unwisely wrote in his original paper in 1864, that "in these objects we no longer have to do with a special modification of our own type of sun, but find ourselves in presence of objects possessing a distinct and peculiar plan of structure." Two years later, however, in a lecture before this association, he took a truer position. "Our views of the universe," he said, "are undergoing important changes; let us wait for more facts with minds unfettered by any dogmatic theory, and, therefore, free to receive the teaching, whatever it may be, of new observations."
Let them turn aside for a moment from the nebulæ in the sky to the conclusions to which philosophers had been irresistibly led by a consideration of the features of the solar system. We had before us in the sun and planets obviously not a haphazard aggregation of bodies, but a system resting upon a multitude of relations pointing to a common physical cause. From these considerations Kant and Laplace formulated the nebular hypothesis, resting it on gravitation alone, for at that time the science of the conservation of energy was practically unknown. These philosophers showed how, on the supposition that the space now occupied by the solar system was once filled by a vaporous mass, the formation of the sun and planets could be reasonably accounted for. By a totally different method of reasoning, modern science traced the solar system backward step by step to a similar state of things at the beginning. According to Helmholtz, the sun's heat was maintained by the contraction of his mass, at the rate of about 220 feet a year. Whether at the present time the sun was getting hotter or colder we did not certainly know. We could reason back to the time when the sun was sufficiently expanded to fill the whole space occupied by the solar system, and was reduced to a great glowing nebula. Though man's life, the life of the race perhaps, was too short to give us direct evidence of any distinct stages of so august a process, still the probability was great that the nebular hypothesis, especially in the more precise form given to it by Roche, did represent broadly, notwithstanding some difficulties, the succession of events through which the sun and planets had passed.

DR. WILLIAM HUGGINS, D.C.L., LL.D., PRESIDENT OF THE BRITISH ASSOCIATION.
Dr. Huggins is one of the most eminent astronomers of the present day, and his spectroscopic researches on the celestial bodies have had the most important results. He is a D.C.L. of Oxford, LL.D. of Cambridge, and Ph.D of Leyden. Dr. Huggins was born in 1824 and educated at the City of London School. He continued his studies, giving much of his time to experiments in natural philosophy and physical science. In 1855 Dr. Huggins erected a private observatory at his residence on Tulse Hill, where he has carried out valuable prismatic researches with the spectroscope.—Daily Graphic.
The nebular hypothesis of Laplace required a rotating mass of fluid which at successive epochs became unstable from excess of motion, and left behind rings, or more probably, perhaps, lumps, of matter from the equatorial regions. To some thinkers was suggested a different view of things, according to which it was not necessary to suppose that one part of the system gravitationally supported another. The whole might consist of a congeries of discrete bodies, even if these bodies were the ultimate molecules of matter. The planets might have been formed by the gradual accretion of such discrete bodies. On the view that the material of the condensing solar system consisted of separate particles or masses, we had no longer the fluid pressure which was an essential part of Laplace's theory. Faye, in his theory of evolution from meteorites, had to throw over his fundamental idea of the nebular hypothesis, and formulated instead a different succession of events of which the outer planets were formed last, a theory which had difficulties of its own. Professor George Darwin had recently shown, from an investigation of the mechanical conditions of a swarm of meteorites, that on certain assumptions a meteoric swarm might behave as a coarse gas, and in this way bring back the fluid pressure exercised by one part of the system on the other, which was required by Laplace's theory. One chief assumption consisted in supposing that such inelastic bodies as meteoric stones might attain the effective elasticity of a high order which was necessary to the theory through the sudden volatilization of a part of their mass at an encounter, by which what was virtually a violent explosive was introduced between the two colliding stones. Professor Darwin was careful to point out that it must necessarily be obscure as to how a small mass of solid matter could take up a very large amount of energy in a small fraction of a second.
The old view of the original matter of the nebulæ, that it consisted of a "fiery mist,"
"a tumultuous cloud,
Instinct with fire and niter,"
fell at once with the rise of the science of thermodynamics. In 1854, Helmholtz showed that the supposition of an original fiery condition of the nebulous stuff was unnecessary, since in the mutual gravitation of widely separated matter we had a store of potential energy sufficient to generate the high temperature of the sun and stars. We could scarcely go wrong in attributing the light of the nebulæ to the conversion of the gravitational energy of shrinkage into molecular motion. The inquisitiveness of the human mind did not allow us to remain content with the interpretation of the present state of the cosmical masses, but suggested the question—
What see'st thou else
In the dark backward and abysm of time?
What was the original state of things? How had it come about that by the side of ageing worlds we had nebulæ in a relatively younger stage? Had any of them received their birth from dark suns, which had collided into new life, and so belonged to a second or later generation of the heavenly bodies?
During the short historic period there was no record of such an event; still it would seem to be only through the collision of dark suns, of which the number must be increasing, that a temporary rejuvenescence of the heavens was possible, and by such ebbings and flowings of stellar life that the inevitable end to which evolution in its apparently uncompensated progress was carrying us could, even for a little, be delayed. We could not refuse to admit as possible such an origin for nebulæ. In considering, however, the formation of the existing nebulæ we must bear in mind that, in the part of the heavens within our ken, the stars still in the early and middle stages of evolution exceeded greatly in number those which appeared to be in an advanced condition of condensation. Indeed, we found some stars which might be regarded as not far advanced beyond the nebular condition. It might be that the cosmical bodies which were still nebulous owed their later development to some conditions of the part of space where they occurred, such as conceivably a greater original homogeneity, in consequence of which condensation began less early. In other parts of space condensation might have been still further delayed, or even have not yet begun. If light matter were suggested by the spectrum of these nebulæ, it might be asked further, as a pure speculation, whether in them we were witnessing possibly a later condensation of the light matter which had been left behind, at least in a relatively greater proportion, after the first growth of worlds into which the heavier matter condensed, though not without some entanglement of the lighter substances. The wide extent and great diffuseness of this bright-line nebulosity over a large part of the constellation of Orion might be regarded, perhaps, as pointing in this direction. The diffuse nebulous matter streaming round the Pleiades might possibly be another instance, though the character of its spectrum had not yet been ascertained.
Besides its more direct use in the chemical analysis of the heavenly bodies, the spectroscope had given to us a great and unexpected power of advance along the lines of the older astronomy. In the future a higher value might, indeed, be placed upon this indirect use of the spectroscope than upon its chemical revelations. By no direct astronomical methods could motions of approach or of recession of the stars be even detected, much less could they be measured. A body coming directly toward us or going directly from us appeared to stand still. In the case of the stars we could receive no assistance from change of size or of brightness. The stars showed no true disks in our instruments, and the nearest of them was so far off that if it were approaching us at the rate of a hundred miles in a second of time, a whole century of such rapid approach would not do more than increase its brightness by the one-fortieth part. Still it was formerly only too clear that, so long as we were unable to ascertain directly those components of the stars' motions which lay in the line of sight, the speed and direction of the solar motion in space, and many of the great problems of the constitution of the heavens must have remained more or less imperfectly known. Now the spectroscope had placed in our hands this power, which, though so essential, had previously appeared almost in the nature of things to lie forever beyond our grasp; it enabled us to measure directly, and, under favorable circumstances, to within a mile per second, or even less, the speed of approach or of recession of a heavenly body. This method of observation had the great advantage for the astronomer of being independent of the distance of the moving body, and was, therefore, as applicable and as certain in the case of a body on the extreme confines of the visible universe, so long as it was bright enough, as in the case of a neighboring planet.
By observations with the Potsdam spectograph, Professor Vogel found that the bright star of Algol pulsated backward and forward in the visual direction in a period corresponding to the known variation of its light. The explanation which had been suggested for the star's variability, that it was partially eclipsed at regular intervals of 68.8 hours by a dark companion large enough to cut off nearly five-sixths of its light, was, therefore, the true one. The dark companion, no longer able to hide itself by its obscureness, was brought out into the light of direct observation by means of its gravitational effects. Seventeen hours before minimum Algol was receding at the rate of about 24½ miles a second, while seventeen hours after minimum it was found to be approaching with a speed of about 28½ miles. From these data, together with those of the variation of its light, Vogel found, on the assumption that both stars have the same density, that the companion, nearly as large as the sun, but with about one-fourth his mass, revolved with a velocity of about fifty-five miles a second. The bright star of about twice the size and mass moved about the common center of gravity with the speed of about 26 miles a second. The system of the two stars, which were about 3¼ millions of miles apart, considered as a whole, was approaching us with a velocity of 2.4 miles a second. The great difference in luminosity of the two stars, not less than fifty times, suggested rather that they were in different stages of condensation, and dissimilar in density. It was obvious that if the orbit of a star with an obscure companion was inclined to the line of sight, the companion would pass above or below the bright star and produce no variation of its light. Such systems might be numerous in the heavens. In Vogel's photographs, Spica, which was not variable, by a small shifting of its lines revealed a backward and forward periodical pulsation due to orbital motion. As the pair whirled round their common center of gravity, the bright star was sometimes advancing, at others receding. They revolved in about four days, each star moving with a velocity of about 56 miles a second in an orbit probably nearly circular, and possessed a combined mass of rather more than two and one-half times that of the sun. Taking the most probable value for the star's parallax, the greatest angular separation of the stars would be far too small to be detected with the most powerful telescopes.
Referring to the new and great power which modern photography had put into the hands of the astronomer, the president said that the modern silver bromide gelatine plate, except for its grained texture, met his needs at all points. It possessed extreme sensitiveness, it was always ready for use, it could be placed in any position, it could be exposed for hours, lastly it did not need immediate development, and for this reason could be exposed again to the same object on succeeding nights, so as to make up by several installments, as the weather might permit, the total time of exposure which was deemed necessary. Without the assistance of photography, however greatly the resources of genius might overcome the optical and mechanical difficulties of constructing large telescopes, the astronomer would have to depend in the last resource upon his eye. Now, we could not by the force of continued looking bring into view an object too feebly luminous to be seen at the first and keenest moment of vision. But the feeblest light which fell upon the plate was not lost, but taken in and stored up continuously. Each hour the plate gathered up 3,600 times the light energy which it received during the first second. It was by this power of accumulation that the photographic plate might be said to increase, almost without limit, though not in separating power, the optical means at the disposal of the astronomer for the discovery or the observation of faint objects.
Two principal directions might be pointed out in which photography was of great service to the astronomer. It enabled him within the comparatively short time of a single exposure to secure permanently with great exactness the relative positions of hundreds or even of thousands of stars, or the minute features of nebulæ or other objects, or the phenomena of a passing eclipse, a task which by means of the eye and hand could only be accomplished, if done at all, after a very great expenditure of time and labor. Photography put it in the power of the astronomer to accomplish in the short span of his own life, and so enter into their fruition, great works which otherwise must have been passed on by him as a heritage of labor to succeeding generations. The second great service which photography rendered was not simply an aid to the powers the astronomer already possessed. On the contrary, the plate, by recording light waves which were both too small and too large to excite vision in the eye, brought him into a new region of knowledge, such as the infra-red and the ultra-violet parts of the spectrum, which must have remained forever unknown but for artificial help.
The present year would be memorable in astronomical history for the practical beginning of the photographic chart and catalogue of the heavens which took their origin in an international conference which met in Paris in 1887. The decisions of the conference in their final form provided for the construction of a great chart with exposures corresponding to forty minutes' exposure at Paris, which it was expected would reach down to stars of about the fourteenth magnitude. As each plate was to be limited to four square degrees, and as each star, to avoid possible errors, was to appear on two plates, over 22,000 photographs would be required. A second set of plates for a catalogue was to be taken, with a shorter exposure, which would give stars to the eleventh magnitude only. The plans were to be pushed on as actively a possible, though as far as might be practicable plates for the chart were to be taken concurrently. Photographing the plates for the catalogue was but the first step in this work, and only supplied the data for the elaborate measurements which would have to be made, which were, however, less laborious than would be required for a similar catalogue without the aid of photography.
The determination of the distances of the fixed stars from the small apparent shift of their positions when viewed from widely separated positions of the earth in its orbit was one of the most refined operations of the observatory. The great precision with which this minute angular quantity, a fraction of a second only, had to be measured, was so delicate an operation with the ordinary micrometer, though, indeed, it was with this instrument that the classical observations of Sir Robert Ball were made, that a special instrument, in which the measures were made by moving the two halves of a divided object glass, known as a heliometer, had been pressed into this service, and quite recently, in the skillful hands of Dr. Gill and Dr. Elkin, had largely increased our knowledge in this direction. It was obvious that photography might be here of great service, if we could rely upon measurements of photographs of the same stars taken at suitable intervals of time. Professor Pritchard, to whom was due the honor of having opened this new path, aided by his assistants, had proved by elaborate investigations that measures for parallax might be safely made upon photographic plates, with, of course, the advantages of leisure and repetition; and he had already by this method determined the parallax for twenty-one stars with an accuracy not inferior to that of values previously obtained by purely astronomical methods.
The remarkable successes of astronomical photography, which depended upon the plate's power of accumulation of a very feeble light acting continuously through an exposure of several hours, were worthy to be regarded as a new revelation. The first chapter opened when, in 1880, Dr. Henry Draper obtained a picture of the nebula of Orion; but a more important advance was made in 1883, when Dr. Common, by his photographs, brought to our knowledge details and extensions of this nebula hitherto unknown. A further disclosure took place in 1885, when the Brothers Henry showed for the first time in great detail the spiral nebulosity issuing from the bright star Maia of the Pleiades, and shortly afterward nebulous streams about the other stars of this group. In 1886 Mr. Roberts, by means of a photograph to which three hours' exposure had been given, showed the whole background of this group to be nebulous.
In the following year Mr. Roberts more than doubled for us the great extension of the nebular region which surrounds the trapezium in the constellation of Orion. By his photographs of the great nebula in Andromeda, he had shown the true significance of the dark canals which had been seen by the eye. They were in reality spaces between successive rings of bright matter, which appeared nearly straight, owing to the inclination in which they lay relatively to us. These bright rings surrounded an undefined central luminous mass. Recent photographs by Mr. Russell showed that the great rift in the Milky Way in Argus, which to the eye was void of stars, was in reality uniformly covered with them.
The heavens were richly but very irregularly inwrought with stars. The brighter stars clustered into well known groups upon a background formed of an enlacement of streams and convoluted windings and intertwined spirals of fainter stars, which became richer and more intricate in the irregularly rifted zone of the Milky Way. We, who formed part of the emblazonry, could only see the design distorted and confused; here crowded, there scattered, at another place superposed. The groupings due to our position were mixed up with those which were real. Could we suppose that each luminous point had no relation to the others near it than the accidental neighborship of grains of sand upon the shore, or of particles of the wind-blown dust of the desert? Surely every star from Sirius and Vega down to each grain of the light dust of the Milky Way had its present place in the heavenly pattern from the slow evolving of its past. We saw a system of systems, for the broad features of clusters and streams and spiral windings marking the general design were reproduced in every part. The whole was in motion, each point shifting its position by miles every second, though from the august magnitude of their distances from us and from each other, it was only by the accumulated movements of years or of generations that some small changes of relative position revealed themselves.
The deciphering of this wonderfully intricate constitution of the heavens would be undoubtedly one of the chief astronomical works of the coming century. The primary task of the sun's motion in space, together with the motions of the brighter stars, had been already put well within our reach by the spectroscopic method of the measurement of star motions in the line of sight. Astronomy, the oldest of the sciences, had more than renewed her youth. At no time in the past had she been so bright with unbounded aspirations and hopes. Never were her temples so numerous, nor the crowd of her votaries so great.
The British Astronomical Association formed within the year numbered already about 600 members. Happy was the lot of those who were still on the eastern side of life's meridian! Already, alas! the original founders of the newer methods were falling out—Kirchhoff, Angstrom, D'Arrest, Secchi, Draper, Becquerel; but their places were more than filled; the pace of the race was gaining, but the goal was not and never would be in sight. Since the time of Newton our knowledge of the phenomena of nature had wonderfully increased, but man asked perhaps more earnestly now than in his days, what was the ultimate reality behind the reality of the perceptions? Were they only the pebbles of the beach with which we had been playing? Did not the ocean of ultimate reality and truth lie beyond?
Presidential address before the British Association, Cardiff, 1891.
Having had occasion to cruise a considerable time over the Southern Ocean, I have had my attention directed to its prevailing winds and currents, and the way in which they affect its temperature, and also to the ice-worn appearance of its isolated lands.
It is now generally conceded that the lands situated in the high latitudes of the southern hemisphere have in the remote past been covered with ice sheets, similar to the lands which lie within the antarctic circle. The shores of Southern Chile, from latitude 40° to Cape Horn, show convincing evidence of having been overrun by heavy glaciers, which scoured out the numerous deep channels that separate the Patagonian coast from its islands. The Falkland Islands and South Georgia abound with deep friths; New Zealand and Kerguelen Land also exhibit the same evidence of having been ice-laden regions; and it is said that the southern lands of Africa and Australia show that ice accumulated at one time to a considerable extent on their shores. At this date we find the southern ice sheets mostly confined to regions within the antarctic circle; still the lands of Chile, South Georgia, and New Zealand possess glaciers reaching the low lands, which are probably growing in bulk; for it appears that the antarctic cold is slowly on the increase, and the reasons for its increase are the same as the causes which brought about the frigid period which overran with ice all lands situated in the high southern latitudes.
Why there should be a slow increase of cold on this portion of the globe is because of the independent circulation of the waters of the Southern Ocean. The strong westerly winds of the southern latitudes are constantly blowing the surface waters of the sea from west to east around the globe. This causes an effectual barrier, which the warm tropical currents cannot penetrate to any great extent. For instance, the tropical waters of the high ocean levels, which lie abreast Brazil in the Atlantic and the east coast of Africa in the Indian Ocean, are not attracted far into the southern sea, because the surface waters of the latter sea are blown by the westerly winds from west to east around the globe. Consequently the tropical waters moving southward are turned away by the prevailing winds and currents from entering the Southern Ocean. Thus the ice is accumulating on its lands, and the temperature of its waters slowly falling through their contact with the increasing ice; and such conditions will continue until the lands of the high southern latitudes are again covered with glaciers, and a southern ice period perfected. But while this gathering of ice is being brought about, the antarctic continent, now nearly covered with an ice sheet, will, through the extension of glaciers out into its shallow waters, cover a larger area than now; for where the waters are shoal the growing glaciers, resting on a firm bottom, will advance into the sea, and this advancement will continue wherever the shallow waters extend. Especially will this be the case where the snowfall is great.
Under such conditions, it appears that the only extensive body of shallow water extending from the ice-clad southern continent is the shoal channel which separates the South Shetlands from Cape Horn, which is a region of great snowfall. Therefore, should the antarctic ice gain sufficient thickness to rest on the bottom of this shallow sea, it would move into the Cape Horn channel, and eventually close it. The ice growth would not be entirely from the southern continent, but also from lands in the region of Cape Horn. Thus the antarctic continent and South America would be connected by an isthmus of ice, and consequently the independent circulation of the Southern Ocean arrested. Hence it will be seen that the westerly winds, instead of blowing the surface waters of the Southern Ocean constantly around the globe, as they are known to do to-day, would instead blow the surface waters away from the easterly side of the ice-formed isthmus, which would cause a low sea level along its Atlantic side, and this low sea level would attract the tropical waters from their high level against Brazil well into the southern seas, and so wash the antarctic continent to the eastward of the South Shetlands.
The tropical waters thus attracted southward would be cooler than the tropical waters of to-day, owing to the great extension of cold in the southern latitudes. Still they would begin the slow process of raising the temperature of the Southern Ocean, and would in time melt the ice in all southern lands. Not only the Brazil currents would penetrate the southern seas, as we have shown, but also the waters from the high level of the tropical Indian Ocean which now pass down the Mozambique Channel would reach a much higher latitude than now.
The ice-made isthmus uniting South America to the antarctic continent would on account of its location be the last body of ice to melt from the southern hemisphere, it being situated to windward of the tropical currents and also in a region where the fall of snow is great; yet it would eventually melt away, and the independent circulation of the Southern Ocean again be established. But it would require a long time for ice sheets to again form on southern lands, because of the lack of icebergs to cool the southern waters. Still, their temperature would gradually lower with the exclusion of the tropical waters, and consequently ice would slowly gather on the antarctic lands.
The above theory thus briefly presented to account for the climatic changes of the high southern latitudes is in full accord with the simple workings of nature as carried on to-day; and it is probable that the formation of continents and oceans, as well as the earth's motions in its path around the sun, have met with little change since the cold era iced the lands of the high latitudes.
At an early age, previous to the appearance of frigid periods, the ocean waters of the high latitudes probably did not possess an independent circulation sufficient to lower the temperature so that glaciers could form. This may have been owing to the shallow sea bottom south of Cape Horn having been above the surface of the water, the channel having since been formed by a comparatively small change in the ocean's level. For, while considering this subject, it is well to keep in mind that whenever the western continent extended to the antarctic circle it prevented the independent circulation of the Southern Ocean waters, consequently during such times ice periods could not have occurred in the southern hemisphere.
It will be noticed that according to the views given above, the several theories which have been published to account for great climatic changes neglect to set forth the only efficacious methods through which nature works for conveying and withdrawing tropical heat sufficient to cause temperate and frigid periods in the high latitudes. While lack of space forbids an explanation of the causes which would perfect an ice period in the northern hemisphere, I will say that it could be mainly brought about through the independent circulation of the arctic waters, which now largely prevent the tropical waters of the North Atlantic from entering the arctic seas, thus causing the accumulation of ice sheets on Greenland. But before a northern ice period can be perfected, it seems that it will need to co-operate with a cold period in the southern hemisphere; and in order to have the ice of a northern frigid period melt away, it would require the assistance of a mild climate in the high southern latitudes.—Science.
In the majority of refrigerating and ice machines ammonia gas is the substance used for producing the refrigeration, although there are other machines in which other material is employed, one of these being anhydrous sulphurous acid, which is also a gas. Ammonia of itself is a colorless gas, but little more than one half as heavy as air. In its composition ammonia consists of two gases, nitrogen and hydrogen, in the proportion by weight of one part nitrogen and three parts hydrogen. The gas hydrogen is one of the constituents of water and is highly inflammable in the presence of air or oxygen, while the other component of ammonia, nitrogen, forms the bulk or about four-fifths of the atmosphere. Nitrogen by itself is an inert gas, colorless and uninflammable. Ammonia, although composed of more than three-fourths its weight of hydrogen, is not inflammable in air, on account of its combination with the nitrogen. This combination, it will be understood, is not a simple mixture, but the two gases are chemically combined, forming a new substance which has characteristics and properties entirely different from either of the gases entering into its composition when taken alone or when simply mixed together without chemical combustion. Ammonia cannot be produced by the direct combination of these elements, but it has been found that it is sometimes made or produced in a very extraordinary manner, which goes to show that there is yet considerable to be learned in regard to the chemistry of ammonia. Animal or vegetable substances when putrefying or suffering destructive distillation almost invariably give rise to an abundant production of this substance.
The common method for the manufacture of ammonia is to produce it from the salt known as sal-ammoniac. Sal-ammoniac as a crystal is obtained in various ways, principally from the ammoniacal liquor of gas works, also from the condensed products of the distillation of bones and other animal refuse in the preparation of animal charcoal, and which is of a highly alkaline nature. This liquid is then treated with a slight excess of muriatic acid to neutralize the free alkali, and at the same time the carbonates and sulphides are decomposed with the evolution of carbonic acid and sulphureted hydrogen. All animal matter, the meat, bones, etc., contain considerable carbon, while the nitrogen from which the ammonia is produced forms a smaller portion of the substance. The object is then to get rid of the carbon and sulphur, leaving the nitrogen to combine, through chemical affinity, with a portion of the hydrogen of the water, the oxygen which is set free going to form the carbonic acid by combining with the carbon. The liquor after being neutralized is evaporated to dryness, leaving a crystallized salt containing a portion of tarry matter.
The salt is then purified by sublimation, that is, it is heated in a closed iron vessel until it is transformed into a gas which separates and leaves, in a carbonized state, all foreign substance. After this gas is cooled, it condenses and again forms crystals which are in a much purer condition. If necessary to further purify it, it is again sublimed. The iron vessels in which the sublimation takes place are lined with clay and covered with lead. The clay lining and lead covering are necessary, for if the gas evolved during the process of sublimation came in contact with the iron surface, the gas would be contaminated and the iron corroded. Sublimed sal-ammoniac has a fibrous texture and is tough and difficult to powder. It has a sharp, salty taste and is soluble in two and a half parts of cold and in a much smaller quantity of hot water. During the process of sublimation the ammonia is not decomposed. But there are several ways in which the gas may be decomposed, and a certain portion of it is decomposed in the ordinary use of it in refrigerating machines. If electric sparks are passed through the gas, it suffers decomposition, the nitrogen and hydrogen then being in the condition of a simple mixture. When decomposed in this manner, the volume of the gas is doubled and the proportion is found to be three measures of hydrogen to one of nitrogen, while the weight of the two constituents is in the proportion of three parts hydrogen to fourteen of nitrogen.
The ammonia gas may also be decomposed by passing through a red hot tube, and the presence of heated iron causes a slight degree of decomposition. This sal-ammoniac is powdered and mixed with moist slaked lime and then gently heated in a flask, when a large quantity of gaseous ammonia is disengaged. The gas must be collected over mercury or by displacement. The gas thus produced has a strong, pungent odor, as can easily be determined by any one working around the ammonia ice or refrigerating machines, for as our friend, Otto Luhr, says, "It is the worst stuff I ever smelled in my life." The gas is highly alkaline and combines readily with acids, completely neutralizing them, and the aqua ammonia is one of the best substances to put on a place burned by sulphuric acid, as has been learned by those working with that substance, for although aqua ammonia of full strength is highly corrosive and of itself will blister the flesh, yet when used to neutralize the effect of a burn from sulphuric acid its great affinity for the acid prevents it from injuring the skin under such conditions.
The distilled gas, such as has just been described, is the anhydrous ammonia used in the compressor system of refrigeration, while it is the aqua ammonia that is used in the absorption system of refrigeration. Aqua ammonia or liquor ammonia is formed by dissolving the ammonia gas in water. One volume of water will dissolve seven hundred times its bulk of this gas, and is then known as aqua ammonia, in contradistinction to anhydrous ammonia, the latter designating term meaning without water, while the term aqua is the Latin word for water.
Anhydrous ammonia, the gas, may be reduced to the liquid form at ordinary temperatures when submitted to a pressure of about 95 pounds. During the process of liquefaction the ammonia gives up a large amount of heat, which if absorbed or radiated while the ammonia is in the liquid condition, the gas when allowed to expand will absorb from its surroundings an amount of heat equal to that radiated, producing a very great lowering of temperature. It is this principle that is utilized in refrigeration and ice making. In the absorption system, where aqua ammonia is used, the liquor is contained in a retort to which heat is applied by means of a steam coil, and a great part of the gas which was held in solution by the water is expelled, and carries with it a small amount of water or vapor. This passes into a separator in the top of a condenser, from which the water returns again to the retort, the ammonia gas, under considerable pressure, passing into the coolers. These are large receptacles in which the gas is permitted to expand. By such expansion heat is absorbed and the temperature of the surroundings is lowered. From the coolers the gas returns to the absorber, from which it is pumped, in liquid form, into the retort, to be again heated, the gas expelled and the process repeated. As the gas passes through the different processes, being heated under pressure, cooled, expanded again, more or less decomposition takes place, presumably from a combination of a small portion of the nitrogen with vegetable, animal, or mineral matter that finds its way into the system. Such decomposition, with the loss of nitrogen, leaves a small portion of free hydrogen, which is the gas that can be drawn from the top of the absorber, ignited and burned. The presence of hydrogen gas in the absorber is not necessarily detrimental to the effectiveness of the system, but as hydrogen does not possess the qualities of absorbing heat in the same way and to the same extent as ammonia, the presence of hydrogen makes the operation of the apparatus somewhat less efficient.—Stationary Engineer.
The refrigerating apparatus illustrated and described in the SCIENTIFIC AMERICAN SUPPLEMENT of June 25, No. 812, is substantially that patented by Messrs. Erny, Subers & Hoos, of Philadelphia. The illustration was copied from their patents of November and February last.
Contained in SCIENTIFIC AMERICAN SUPPLEMENT during the past ten years, sent free of charge to any address. MUNN & CO., 361 Broadway, New York.
$2.50 a Year. Single Copies, 25 cts.
This is a Special Edition of the SCIENTIFIC AMERICAN, issued monthly—on the first day of the month. Each number contains about forty large quarto pages, equal to about two hundred ordinary book pages, forming, practically, a large and splendid Magazine of Architecture, richly adorned with elegant plates in colors and with fine engravings, illustrating the most interesting examples of modern Architectural Construction and allied subjects.
A special feature is the presentation in each number of a variety of the latest and best plans for private residences, city and country, including those of very moderate cost as well as the more expensive. Drawings in perspective and in color are given, together with full Plans, Specifications, Costs, Bills of Estimate, and Sheets of Details.
No other building paper contains so many plans, details, and specifications regularly presented as the SCIENTIFIC AMERICAN. Hundreds of dwellings have already been erected on the various plans we have issued during the past year, and many others are in process of construction.
Architects, Builders, and Owners will find this work valuable in furnishing fresh and useful suggestions. All who contemplate building or improving homes, or erecting structures of any kind, have before them in this work an almost endless series of the latest and best examples from which to make selections, thus saving time and money.
Many other subjects, including Sewerage, Piping, Lighting, Warming, Ventilating, Decorating, Laying out of Grounds, etc., are illustrated. An extensive Compendium of Manufacturers' Announcements is also given, in which the most reliable and approved Building Materials, Goods, Machines, Tools, and Appliances are described and illustrated, with addresses of the makers, etc.
The fullness, richness, cheapness, and convenience of this work have won for it the Largest Circulation of any Architectural publication in the world.
A Catalogue of valuable books on Architecture, Building, Carpentry, Masonry, Heating, Warming, Lighting, Ventilation, and all branches of industry pertaining to the art of Building, is supplied free of charge, sent to any address.
MUNN& CO., Publishers,
361 Broadway, New York.
In connection with the publication of the BUILDING EDITION of the SCIENTIFIC AMERICAN, Messrs. Munn & Co. furnish plans and specifications for buildings of every kind, including Churches, Schools, Stores, Dwellings, Carriage Houses, Barns, etc.
In this work they are assisted by able and experienced architects. Full plans, details, and specifications for the various buildings illustrated in this paper can be supplied.
Those who contemplate building, or who wish to alter, improve, extend, or add to existing buildings, whether wings, porches, bay windows, or attic rooms, are invited to communicate with the undersigned. Our work extends to all parts of the country. Estimates, plans, and drawings promptly prepared. Terms moderate. Address
MUNN & CO., 361 BROADWAY, NEW YORK.
Terms of Subscription, $5 a year.
Sent by mail, postage prepaid, to subscribers in any part of the United States or Canada. Six dollars a year, sent, prepaid, to any foreign country.
All the back numbers of THE SUPPLEMENT, from the commencement. January I, 1876, can be had. Price, 10 cents each.
All the back volumes of THE SUPPLEMENT can likewise be supplied. Two volumes are issued yearly. Price of each volume, $2.50 stitched in paper, or $3.50 bound in stiff covers.
COMBINED RATES.—One copy of SCIENTIFIC AMERICAN and one copy of SCIENTIFIC AMERICAN SUPPLEMENT, one year, postpaid, $7.00.
A liberal discount to booksellers, news agents, and canvassers.
MUNN & CO., Publishers,
361 Broadway, New York, N.Y.
Manufacturers, Agriculturists, Chemists, Engineers, Mechanics, Builders, men of leisure, and professional men, of all classes, need good books in the line of their respective callings. Our post office department permits the transmission of books through the mails at very small cost. A comprehensive catalogue of useful books by different authors, on more than fifty different subjects, has recently been published, for free circulation, at the office of this paper. Subjects classified with names of author. Persons desiring a copy have only to ask for it, and it will be mailed to them. Address,
MUNN & CO., 361 Broadway, New York.
MESSRS. MUNN & CO., in connection with the publication of the SCIENTIFIC AMERICAN, continue to examine improvements, and to act as Solicitors of Patents for Inventors.
In this line of business they have had forty-five years' experience, and now have unequaled facilities for the preparation of Patent Drawings, Specifications, and the prosecution of Applications for Patents in the United States, Canada, and Foreign Countries. Messrs. Munn & Co. also attend to the preparation of Caveats, Copyrights for Books, Labels, Reissues, Assignments, and Reports on Infringements of Patents. All business intrusted to them is done with special care and promptness, on very reasonable terms.
A pamphlet sent free of charge, on application, containing full information about Patents and how to procure them; directions concerning Labels, Copyrights, Designs, Patents, Appeals, Reissues, Infringements, Assignments, Rejected Cases. Hints on the Sale of Patents, etc.
We also send, free of charge, a Synopsis of Foreign Patent Laws, showing the cost and method of securing patents in all the principal countries of the world.
MUNN & CO., Solicitors of Patents,
361 Broadway, New York.
BRANCH OFFICES.—Nos. 622 and 624 F Street, Pacific Building, near 7th Street, Washington, D.C.